Организация ремонта и обслуживания теплообменников

  • Вид работы:
    Отчет по практике
  • Предмет:
    Другое
  • Язык:
    Русский
    ,
    Формат файла:
    MS Word
    75,05 Кб
  • Опубликовано:
    2014-10-15
Вы можете узнать стоимость помощи в написании студенческой работы.
Помощь в написании работы, которую точно примут!

Организация ремонта и обслуживания теплообменников

Содержание

Введение

. Характеристика предприятия и структурного подразделения

. Описание одной единицы технологического оборудования

. Организация ремонта и обслуживания единицы оборудования

.1 Организация ремонта по графику ППР

.2 Технология ремонта детали

. Организация монтажных работ

. Охрана труда и техника безопасности на участке

Литература

Введение

Производственная практика на предприятии имеет большое значение в процессе обучения студентов по специальности «Монтаж и техническая эксплуатация промышленного оборудования (по отраслям)».

Цели производственной практики:

закрепление и совершенствование приобретенных в процессе обучения профессиональных умений обучающихся по изучаемой профессии,

развитие общих и профессиональных компетенций, освоение современных производственных процессов,

адаптация обучающихся к конкретным условиям деятельности организаций различных организационно-правовых форм.

Задачи производственной практики:

получение навыков проведения работ по монтажу и ремонту промышленного оборудования

знакомство с методами восстановления деталей

получение навыков работы в коллективе и команде

получение навыков разборки и выбраковки деталей и узлов

1.      Характеристика предприятия и структурного подразделения

Трижды орденоносное Федеральное казённое предприятие "Завод имени Я.М. Свердлова" - крупнейшее в отрасли боеприпасов и спецхимии многопрофильное и градообразующее предприятие.

Промышленная площадка предприятия занимает территорию около 1400 га, на которой расположено более 900 зданий и сооружений.

Завод расположен практически на автомобильной трассе Нижний Новгород - Москва, вблизи от железнодорожной станции "Дзержинск" и портовой части города на реке "Ока".

Предприятие располагает развитой инфраструктурой, позволяющей ему функционировать практически в автономном режиме: обеспеченность собственными энергоресурсами (электроэнергия, пар, вода и др.), ремонтно - механическое и ремонтно-строительные базы, собственное железнодорожное и автомобильное обеспечение, более 117 км. ж/дорожных путей и 107 км. внутренних заводских автомобильных дорог. Протяженность инженерных коммуникаций: сетей водоснабжения - более 280 км; кабельных линий - более 580 км; сетей сжатого воздуха и отопления - 55 км. И многое другое.

Сегодня на предприятии работают более 6,5 тысяч человек. Предприятие ведет отсчет своей истории с 27 июня 1916 года, когда был Высочайше утвержден Указ о постройке "Нижегородского завода взрывчатых веществ".

Завод обладает уникальными мощностями и технологиями по выпуску всех основных видов боевых и взрывчатых веществ. Отработаны и действуют все существующие методы снаряжения - прессования, шнекования, заливки. Это позволяет снаряжать практически все виды боеприпасов: авиационные и артиллерийские снаряды, авиационные бомбы, в том числе корректируемые по цели, боевые части кумулятивных противотанковых управляемых ракет, боеприпасы для инженерных войск, в том числе для систем вертолетного минирования и самых современных противотанковых и противодесантных мин, боеголовок к ракетным комплексам ПВО.

За счет освоения новых образцов военной техники предприятие наращивает их выпуск и в настоящее время ведет серийное производство по более чем 90 номенклатурам продукции оборонного назначения.

Завод принимает активное участие в Федеральной целевой программе "Развития оборонно - промышленного комплекса до 2015 года", ряде программа по НИР и ОКР, в том числе по линии Росатома, ФЦП "Тополь-М", "Булава".

Около 80% производственных мощностей предприятия являются мобилизационными. ФКП "Завод имени Я.М.Свердлова" является крупнейшим производителем всех видов промышленных взрывчатых веществ, детонаторов, передаточных зарядов для горнорудной промышленности, специальных перфораторов для нефтегазодобывающей промышленности и других изделий для взрывных, сейсмических и геофизических работ.

На предприятии созданы большие мощности по производству различных модификаций эпоксидных, карбамидных, фенолформальдегидных смол, отвердителей, используемых в электротехнической, строительной промышленности, в производстве мебели и машиностроении. За последние годы созданы и наращивают мощности крупнотоннажные производства по выпуску нитробензола, этилацетата, уксусного ангидрида, сульфонола и других видов химической продукции, используемых в производстве нефтегазодобывающих компаниях, в производстве мебели, холодильников, синтетических волокон, эмалей, красок, стройиндустрии, синтетических моющих средствах.

Одним из важных направлений, созданных на предприятии, является машиностроение - крупнейшее в стране производство бытовых стиральных машин активаторного типа "ОКА" различных модификаций и накопительных водонагревателей различной емкости. Неоднократно бытовая техника, выпускаемая предприятием, становились Лауреатами и Дипломантами Российского конкурса "100 лучших товаров России".

Основные принципы, на которые ориентируется предприятие, - это высокое качество и постоянная работа по понижению затрат на производстве продукции, позволяющие достойно конкурировать в условиях жесткой борьбы на рынках сбыта.

Предприятие находится на новом этапе своего развития и ставит перед собой первоочередные задачи:

развитие завода, как объекта стратегического назначения, значимого в поддержании обороноспособности страны;

максимальное совершенствование уникальных и единственных в России технологий, обеспечивающих выполнение Федеральных целевых программ по созданию новых видов вооружений, освоение и наращивание выпуска новейших боеприпасов;

осуществление, опережающих на несколько лет от ранее принятых, темпов роста выпускаемой оборонной и гражданской продукции на базе создаваемого на предприятии научно - исследовательского направления деятельности и обширных маркетинговых исследований.

Сегодня ФКП "Завод имени Я.М.Свердлова" - мощное современное промышленное предприятие с великолепной социальной базой. Это и медико-санитарная часть, оснащенная необходимым диагностическим, лечебным оборудованием и тренажерными залами; санаторий - профилакторий на берегу реки "Ока", детский оздоровительный лагерь "Космос", Дом культуры и спорткомплекс "Уран", являющиеся центром культурной и спортивно- массовой работы и многое другое.

Производственная практика проходила в мастерских цеха № 81, где осуществляются ремонтные работы теплообменников.

2. Описание одной единицы технологического оборудования

Теплообменник F=15м2. Предназначенный для организации теплообмена жидких и газообразных сред в технологических процессах.

L=2630мм; H=900мм; D=400мм; Вес=670кг.

Изготовлен из 12Х18Н10Т. Завод изготовитель ФГУП Завод им Я.М. Свердлова цех машиностроения.

Теплообменник представляет собой цилиндрический сварной кожух, изготовленный из стали 12Х18Н10Т, распределительную камеру и двух крышек. Трубный пучок образован трубами, закрепленными в двух трубных решетках. Трубные решетки приварены к кожуху. Крышки, распределительная камера и кожух соединены фланцами. В кожухе и распределительной камере выполнены штуцера для ввода и вывода теплоносителей из трубного и межтрубного пространств. Перегородка в распределительной камере образует ходы теплоносителя по трубам. Для герметизации узла соединения продольной перегородки с трубной решеткой использована прокладка, уложенная в паз решетки. Трубный пучок так же снабжен перегородками в шахматном порядке, что бы перегородки н сдвигались под действием теплоносителя их соединяют с помощью стяжки. Полученная конструкция состоящая из кожуха и трубок закрывается днищами, которые присоединяют с помощью фланцев. На входе теплоносителя в штуцер расположенный в корпусе обязательно устанавливают обтекатель. Он используется для предотвращения быстрого износа трубок в том месте где происходит подача теплоносителя.

теплообменник ремонт пайка

3. Организация ремонта и обслуживания единицы оборудования

.1 Организация ремонта по графику ППР

Организация ремонта и обслуживания теплообменников осуществляется на предприятии в соответствии с графиком ППР:

Текущий ремонт.

Ремонт разрешается производить без освобождения от содержимого.

Проверяются внешним осмотром состояние наружной поверхности корпуса, крышки, штуцеров теплообменника.

При обнаружении дефектов теплообменник освобождается от содержимого, составляется акт на готовность к ремонту, дефекты устраняются.

При крупных дефектах теплообменник выводится на средний ремонт досрочно.

Проверить, подтянуть и, при необходимости, заменить крепежные детали и прокладки.

Проверить состояние коммуникаций. При необходимости произвести ремонт или замену отдельных участков трубопроводов. Заменить дефектные прокладки.

Запорную арматуру проверить на работоспособность. Производится подтягивание и перебивка сальников. Дефекты устраняются.

У теплообменников, имеющих предохранительные клапаны, проверить работоспособность предохранительного клапана.

Произвести проверку затяжки болтовых соединений фланцев коммуникаций, запорной арматуры.

Проверить состояние теплоизоляции (если она имеется). При необходимости произвести ее ремонт.

Проверить состояние защитных кожухов на агрессивных средах, если требуется - заменить.

Средний ремонт.

Средний ремонт производится при полностью освобожденном теплообменнике, составляется акт на готовность его к работе.

Средний ремонт включает в себя все работы текущего ремонта, а также следующие работы:

Произвести частичную разборку теплообменника (крышки, штуцера вскрываются).

Произвести визуально проверку состояния поверхности сварных швов корпуса, крышек, секционных перегородок в них, штуцеров и, в зависимости от характера дефектов, произвести ремонт (замена штуцеров на новые, подваривание мест коррозии или замена отдельных частей стенок корпуса и крышек вставкой).

Произвести проверку состояния трубных решеток, концов труб, их развальцовки или сварных швов (в соответствии с конструктивным исполнением). Выявленные дефекты устранить.

Произвести гидроопрессовку межтрубного пространства давлением согласно требованиям чертежа. Для выявления дефектных труб и дефектов в корпусе.

Дефектные трубы заменить на новые, если это возможно. При невозможности замены - дефектные трубы заглушить с обоих концов металлическими пробками (из этого же металла, что и трубы).

Теплообменники, бывшие в контакте с продуктом, ремонтируемые с применением сварки, подвергаются перед ремонтом обжигу на специальной площадке обжига.

В теплообменниках, бывших в контакте с продуктом или жидкостями, или парами его содержащими, трубки глушить запрещается.

Проверить коммуникации теплообменника. Изношенные трубы, патрубки, отводы отремонтировать или заменить новыми.

Произвести ревизию запорной арматуры со вскрытием. Дефекты устранить.

При наличии предохранительного клапана - произвести ревизию со вскрытием, смазать, отрегулировать.

Произвести смену всего изношенного крепежа. Прокладки заменить.

Произвести сборку теплообменника.

При наличии предохранительного клапана его разобрать, отревизировать, смазать, отрегулировать и опломбировать на давление сброса согласно «Правил устройства и безопасной эксплуатации сосудов, работающих под давлением».

Теплообменник проверить на герметичность рабочим давлением. Дефекты устранить.

Капитальный ремонт.

Капитальный ремонт проводится при полностью освобожденном теплообменнике, составляется акт на готовность его к ремонту.

Капитальный ремонт теплообменника заключается в полной разборке теплообменника и включает в себя все требования среднего ремонта, а также ремонт или замену частей корпуса, крышек, трубных решеток, замена дефектных труб, трубных пучков или всей трубчатки, ремонт или замену запорной арматуры, трубопроводов.

У теплообменника, имеющего теплоизоляцию, производится ее ремонт или замена при необходимости.

Производится смена прокладок и всего изношенного крепежа.

После сборки производится опрессовка межтрубного пространства и трубчатки. Дефекты устраняются.

Все работы проводятся в соответствии с дефектной ведомостью.

Техническое обслуживание.

Для поддержания теплообменника в постоянной готовности к действию и обеспечения его нормальной работы необходимо проводить техническое обслуживание теплообменника.

К техническому обслуживанию теплообменника допускаются лица, изучившие устройство, правила безопасности при его работе, требования настоящего руководства, а также инструкцию по эксплуатации обслуживаемого ими оборудования и свойства применяемых материалов.

Техническое обслуживание теплообменника производится в процессе эксплуатации. Своевременное и качественное выполнение мероприятий по техническому обслуживанию предупреждает появление неисправностей и отказов в работе и обеспечивает высокий уровень эксплуатационной надежности теплообменника.

Все неисправности, выявленные в процессе технического обслуживания, должны быть устранены, замечания о техническом состоянии теплообменника и его составных частей занесены в журнал учета технического обслуживания, в паспорт на теплообменник и в сервисную книжку (выдается официальным сервисным

При проведении технического обслуживания необходимо соблюдать следующие меры:

Эксплуатационные ограничения

Подготовка теплообменника к работе, запуск в работу, остановка и обслуживание во время эксплуатации должны проводиться в совокупности с выполнением указаний соответствующих разделов руководства по эксплуатации и инструкций по эксплуатации циркуляционного контура штатной системы, в которой предусмотрена его установка.

Теплообменник предназначен для эксплуатации при заданных значениях расходов, температур, давлений, типа теплоносителя, указанных в паспорте (формуляре) на теплообменник и на табличке. Работоспособность теплообменника при иных условиях эксплуатации не гарантируется.

Запрещается использование в процессах теплообмена сред, соприкосновение которых при определенной концентрации приводит к самовоспламенению, взрыву и т.п.

Для защиты теплообменника во время запуска в работу и его эксплуатации комплектом пускозащитного оборудования системы, в которой он устанавливается, должны быть предусмотрены:

защита от гидравлического удара;

защита от пульсации давления;

защита от превышения давления выше максимального значения;

защита от повышенной вибрации теплообменника;

защита от попадания инородных тел во внутренние полости;

защита от воздействия солнечных лучей, источников ультрафиолетового излучения (сварки) и озона.

Теплообменник чувствителен к гидравлическому удару. Гидравлический удар может произойти при регулировании, ремонтах, запуске насосов и т.д. Для того чтобы исключить гидравлический удар, рекомендуется использовать дросселирование пневматических клапанов, устанавливать реле запаздывания в электрической сети управления, организовывать автоматический запуск насосов только при закрытой арматуре (на закрытую задвижку).

При наличии в системе поршневых, шестеренных насосов, дозирующих устройств и т.п., необходимо исключить возможность передачи пульсации давления и вибраций на пластинчатый теплообменник, так как это может вызвать усталостные трещины в пластинах, что приведет к выходу теплообменника из строя.

Защита от превышения давления должна обеспечиваться технологической схемой системы, в которой предусмотрена эксплуатация теплообменника.

При эксплуатации теплообменника необходимо защитить пакет пластин и прокладок от воздействия солнечных лучей, иных источников ультрафиолетового излучения (например, сварки) и озона установкой защитного экрана (п. 2.2.11).

При проведении гидравлических испытаний разница давлений между полостями теплообменника не должна превышать рабочего давления, но не более 1,2 МПа

Теплообменники не являются источником опасных и вредных производственных факторов, предусмотренных ГОСТ 12.0.003.

Теплообменники в процессе эксплуатации должны быть снабжены необходимыми контрольно-измерительными приборами.

Воздух рабочей зоны при эксплуатации теплообменников не должен содержать вредных веществ, превышающих ПДК, установленные ГОСТ 12.1.005 для веществ с классом опасности по ГОСТ 12.1.007.

Монтаж, ремонт, демонтаж теплообменника должен производиться специалистом, имеющим соответствующую форму допуска по технике безопасности.

Очистка теплообменников наиболее эффективная и применяется в том случае, если степень загрязнения теплообменников оценена как сильная. Это может быть связано с тем, что каналы полностью забиты отложениями. В подобных случаях производители советуют прибегнуть к разборному методу, который гарантированно удаляет любые загрязнения. Запланированное профилактическое обслуживание является менее болезненными значительно продлевая их срок службы. Одновременно улучшается и производительность. Основными признаками необходимости проведения технического обслуживания являются: увеличение потерь давления, не обеспечение температурного графика по отношению к паспортным значениям. Заключение технических специалистов - необходима чистка теплообменников. Своевременная и регулярная процедура удаления отложений, накипи, грязи, микроорганизмов аппаратов любого типа значительно продлевает срок службы, что обходится значительно дешевле его капитального ремонта. Ничто не обходится так дорого, как незапланированные остановки производства. Однако этих издержек можно избежать, так как многое можно спланировать перед тем, как проблема станет реальностью. Необходимо всего лишь заранее наметить план профилактических мероприятий. Например, уплотнения подвергаются износу. Однако, если их вовремя заменить, то можно избежать утечек, приводящих к различным издержкам. Пластины могут загрязняться. Накипь отрицательно влияет на передачу тепла и ухудшает качество работы. В отдельных случаях возросшее падение давления может вызвать серьезные проблемы. Чистку теплообменника необходимо производить в отключенном состоянии.

Для осуществления длительной работоспособности в процессе эксплуатации при обработке среды, загрязненной или выделяющей отложения на стенках аппарата, необходимо производить периодические осмотры и очистку поверхностей.

.2 Технология ремонта детали

Своевременная промывка трубчатых теплообменников увеличивает их производительность и продлевает срок использования. Пластинчатые и трубчатые теплообменники относятся к виду поверхностных, а это значит, что смешивание теплоносителей внутри них не предусмотрено. Вода или какие-либо иные жидкости разделены твердыми перегородками, поэтому перемешиваться не могут. В смесительных теплообменниках все происходит наоборот.

При эксплуатации трубчатых теплообменников, если Вы хотите чтобы они прослужили как можно дольше, следует строго соблюдать определенные правила. Главная опасность, которая подстерегает практически все теплообменники, независимо от конструктивных особенностей, это образование накипи и известковых отложений на внутренних стенках пластин, труб и остальных элементов. Причиной здесь является недостаточное качество исходной воды, а именно, большое содержание в ней солей жесткости. А это значит, необходимо постоянное обслуживание теплообменников <#"809842.files/image001.jpg">

Рис. 1 Соединение теплообменной трубки с трубной доской при помощи пайки

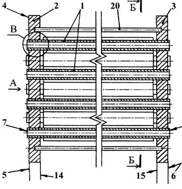
Рис. 2 Общий вид теплообменной секции трубчатого теплообменника

Бывший в употреблении теплообменник разбирают до выделения из его состава теплообменной секции 4, собранной с использованием технологии пайки. После чего секцию 4 подвергают очистке от загрязнений.

Секцию 4 располагают, например, трубной доской 3 вверх и греют до температуры, когда припой начинает плавиться. В зависимости от припоя, это, как правило, чуть меньше или чуть больше 550°С. По достижении заданной температуры трубная доска 3 снимается с труб 1. После этого начинают последовательно греть паяные соединения трубной доски 2. По мере их нагревания трубы 1 последовательно вынимаются и складируются.

После разборки теплообменной секции 4 теплообменные трубы 1 и трубные доски 2 и 3 окончательно очищаются, например, механически от остатков припоя и любыми другими способами от остальных загрязнений. Очистке подвергаются и внутренние 12, и наружные 13 поверхности труб 1, поверхности 5 и 14, 6 и 15 и все отверстия 10 трубных досок 2 и 3. В отверстиях 10 со стороны поверхностей 5 и 6, при необходимости, выполняют фаски 19, функция которых обеспечить протекание клея в кольцевой зазор 9. Изношенные сверх меры теплообменные трубы 1 выбраковываются и заменяются на новые. Если нет труб 1 на замену изношенным, то также готовят специальные заглушки для незанятой части отверстий 10.

5. Охрана труда и техника безопасности на участке

К работе допускаются лица не моложе 18 лет и прошедшие инструктаж.

Перед началом работы на проектируемом участке необходимо проверить исправность оборудования, приспособлений и инструмента, ограждений, защитного заземления, вентиляции.

Проверить правильность складирования заготовок и полуфабрикатов. Во время работы необходимо соблюдать все правила использования технологического оборудования. Соблюдать правила безопасной эксплуатации транспортных средств, тары и грузоподъемных механизмов, соблюдать указания о безопасном содержании рабочего места.

В аварийных ситуациях необходимо неукоснительно выполнять все правила регламентирующие поведение персонала при возникновении аварий и ситуаций, которые могут привести к авариям и несчастным случаям. По окончании работы должно быть выключено все электрооборудование, произведена уборка отходов производства и другие мероприятия, обеспечивающие безопасность на участке.

Участок должен быть оснащен необходимыми предупредительными плакатами, оборудование должно иметь соответствующую окраску, должна быть выполнена разметка проезжей части проездов. Сам участок должен быть спланирован согласно требованиям техники безопасности, а именно соблюдение: ширины проходов, проездов, минимальное расстояние между оборудованием. Все эти расстояния должны быть не менее допустимых.

Основными профилактическими мероприятиями являются герметизация производственного оборудования, также пользоваться индивидуальными средствами защиты органов дыхания (фильтрующиеся и изолирующие противогазы).К фильтрующим относятся промышленные противогазы ДОТ-600, БКФ, респираторы. К изолирующим СИЗ относятся промышленные противогазы. К специальным средствам защиты кожи относятся пасты, мази, кремы. Для защиты глаз применяют защитные очки, щитки, маски.

Воздействие керосина на человека:

Действие сходно с бензином, сильнее раздражает слизистые оболочки и кожу. При работе с керосином наблюдались головные боли, головокружение, потеря аппетита, расстройство пищеварения, кожный зуд, жжение в глазах, бессоница, боли в области сердца, в конечностях и спине, легкий кашель и отдышка, общее чувство слабости и недомогания. При объективном исследовании - сильное похудание, учащённый пульс, значительное малокровне, небольшой лейкоцитоз, иногда некоторая эонофилия, поносы, психическое угнетение, раздражение кожи, часто фурункулы. При поподании струи керосина под давление на пальцы рук в первые часы ощущается боль и онемение, через 2-3 часа появляется резкий отек, на месте попадании струи - точечьное отверстие. Резкие боли и отек держится 8-10 дней. Возможен некроз повреждении ткани до секвестра.

предельно допустимая концетрация 300 мг/м3

индустриальные масла ( смазочные ) [7]

Первая помощь при потере сознания необходимо :

Не дать человеку упасть. Помутнения сознания, зачастую, приводит к летальному исходу в результате полученных травм, которые человек зарабатывает в результате падения. Оберегайте голову и спину.

Вызовите скорую помощь. Определить на все 100%, что именно привело к обмороку, может только профессионал. Если проблема не в банальной резкой нехватки крови в сосудах мозга, то стандартной первой помощи может оказаться не достаточно для того чтобы вернуть человека в чувства. В этих случаях каждая минута может оказаться решающей. Такая мера предосторожности лишней точно не будет.

При потере сознания в первую очередь страдает мозг от нехватки крови и кислорода. Этот факт так же может привести к серьезным осложнениям или даже к смерти. После вызова скорой помощи вам необходимо уложить пострадавшего на ровную горизонтальную поверхность и для большего поступления крови к мозгу опустить голову ниже уровня туловища.

Обеспечьте пострадавшему свободный доступ к кислороду. Откройте окна, снимите с него тесную одежду.

Окажите первую «психологическую помощь». Очень часто, пострадавший впадает в панику. Испуг может спровоцировать спазмы артерий в головном мозге, что значительно уменьшит поступления крови к нему. При отсутствии дыхания немедленно приступить к проведению искусственного дыхания.

Литература

. Брадис В.М. Четырехзначные математические таблицы М.: Просвещение, 1990. - 95 с.

. Дытнерский Ю.И. Основные процессы и аппараты химической технологии. М.: Химия, 1991. - 496 c.

. Касаткин А.Г. Оновные процессы и аппараты химической технологии. М.:Химия, 1971. - 753 с.

. Кувшинский М.Н. Соболева А.П. Курсовое проектирование по предмету "процессы и аппараты химической промышленности", М.: Высшая школа, 1980. - 223 с.

. Лазарев Н.В., Левина Э.Н. Вредные вещества в промышленности. Химия, 1983. - 590 с.

. Медведев В.С. Охрана труда и противопожарная защита в химической промышленности. М.: Химия, 1989. - 288 с.

. Павлов К.Ф., Романков П.Г., Носков А.А. Примеры и задачи по курсу процессов и аппаратов химической технологии. - Л.: Химия, 1987. - 576 с.

. Плановский А.Н. Процессы и аппараты химической технологии. - М.: Химия, 1967. - 848 с.

. Романков П.Г., Курочкина М.И. Примеры и задачи по курсу "Процессы и аппараты химической промышленности". - Л.: Химия, 1984. - 229 с.

Похожие работы на - Организация ремонта и обслуживания теплообменников

 

Не нашли материал для своей работы?
Поможем написать уникальную работу
Без плагиата!
Без нейросетей!