Выбор центробежного насоса для заданных условий работы
Выбор центробежного
насоса для заданных условий работы
Подобрать насос для подачи воды из
приемного водоема в напорный резервуар. Геометрическая высота подачи Нг=z2-z1=15 м. Абсолютное давление на свободной поверхности в водоеме р1=98,1
кПа; в напорном резервуаре р2=200 кПа. Подача воды составляет Q=0,07 м3/с. Диаметр
всасывающего трубопровода dвс=300 мм; длина линии
всасывания Lвс=5 м. Местные
сопротивления на всасывающем трубопроводе: приемный клапан с защитной сеткой ζп.к.=6; два отвод (колено) - ζотв=0,8; монтажная задвижка
(полностью открытая) ζзадв=0,1. Диаметр напорного
трубопровода dн=200 мм, длина Lн=80 м. Местные сопротивления на напорном трубопроводе:
регулирующая задвижка (полностью открытая) ζзадв=0,1; три отвода - ζотв=1,2; водомерная диафрагма внутри трубы с отношением площадей 0,6
- ζдиафр=2; выход в бак под уровень - ζвых=1. Шероховатость труб -
∆э=0,14 мм. Температура воды 12оС.
Исходные данные
|
№ вар
|
Нгеом, m
|
Р1,кПа
|
Р2,
кПа
|
Колено Всасывающее
|
Колено Нагнит ания
|
Q,
м3/с
|
Dвс, мм
|
Dн,
мм
|
Lвс,
м
|
Lн,
м
|
, мм
|
|
6
|
15
|
98.1
|
200
|
2
|
3
|
0.07
|
300
|
200
|
5
|
80
|
0.14
|
Полученные результаты
№ вар Vвс м/с Vн м/с Reвс *105 Reн
*105
вс
нhмн
мhмвс
мhлн
|
м
|
|
|
|
|
|
|
6
|
0.99
|
2.23
|
2.17
|
3.25
|
0.0184
|
0.0191
|
7.64
|
0.3
|
4.3
|
|
hлвс
м
|
∑h,
м
|
Hст
м
|
S,
с/м2
|
Hпотерь
м
|
Марка насоса
|
|
8.9
|
21.14
|
25.4
|
691.53
|
28.8
|
К 290/30 n=1450
об/мин
|
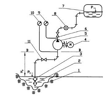
Принципиальная схема насосной
установки: 1 - расходный резервуар; 2 - фильтр; 3 - обратный (приемный) клапан;
4 - электродвигатель; 5 - насос; 6 - регулирующая задвижка; 7 - напорный
резервуар; 8 - водомерная диафрагма; 9 - манометр; 10 - вакуумметр; 11 -
монтажная задвижка
Гидравлический расчет трубопроводной
системы насосной установки.
Найдем средние скорости:
на линии всасывания
на напорной линии
Определим режим
движения, для чего вычислим число Рейнольдса:
Reвс=

= 
= 2,17*105;
Reн=

= 
= 3,25*105;
Таким образом, режим движения на
линии всасывания и нагнетания - турбулентный.
Определим коэффициент
трения по длине, используя обобщенную формулу: λ= 
0.25,
тогда
λвс=

0.25=
0,0184; λн= 
0.25=
0,0191;
Определим суммарные
гидравлические потери в системе:
Σhw =
+ 
+ 
+ 
= 
+ 
= 
+
= 
+
= 691,53 Q2

= 
= 25,4 м
Запишем уравнение
характеристики сети:

= 25,4
+ 
Q2;
При требуемой по условию
задачи подаче Q=70 л/с потребный
напор составит: 
= 24,5 + 
= 28,8 м вод ст.
По сводному графику
рабочих полей лопастных насосов устанавливаем, что напор Н=28,8 м и
подачу Q=70 л/с обеспечивает насос типа К290/30 при n=1450 об/мин.
Строим характеристику сети, для
этого вычисляем Hсети задаваясь величинами Q:
|
Q
л/с
|
0
|
10
|
20
|
30
|
40
|
50
|
60
|
70
|
80
|
90
|
|
Hсети,
м
|
25,4
|
25,5
|
25,7
|
26
|
26,5
|
27,1
|
27,9
|
28,8
|
29,8
|
31
|
Строим характеристику насоса
|
Q,
л/с
|
0
|
10
|
20
|
30
|
40
|
50
|
60
|
70
|
80
|
90
|
100
|
|
Ннасос, м
|
34
|
34,3
|
34,7
|
35
|
34,8
|
34
|
33
|
31
|
29
|
26
|
22
|
Нанесем данные таблицы
на график с характеристикой насоса. Точка пересечения характеристики сети 
=ʄ(Q) c характеристикой насоса 
=ʄ(Q) есть рабочая точка данной насосной установки.
Hа=29
м, Qа= 77 л/с - рабочая точка лежит в рабочей зоне, следовательно насос
выбран правильно.
Определение параметров
рабочей точки при параллельном и последовательном соединении двух одинаковых
(выбранных) насосов.
Последовательное
соединение
|
0
|
10
|
20
|
30
|
40
|
50
|
60
|
70
|
80
|
90
|
100
|
120
|
|
68
|
68,6
|
69,4
|
70
|
69,6
|
68
|
66
|
62
|
58
|
52
|
44
|
34
|
22
|
характеристика насоса
|
0
|
10
|
20
|
30
|
40
|
50
|
60
|
70
|
80
|
90
|
100
|
110
|
120
|
|
25,4
|
25,5
|
25,7
|
26
|
26,5
|
27,1
|
27,9
|
28,8
|
29,8
|
31
|
31,4
|
32,9
|
34,5
|
характеристика сети
Параллельное соединение
|
0
|
20
|
40
|
60
|
80
|
100
|
120
|
140
|
160
|
180
|
200
|
|
34
|
34,3
|
34,7
|
35
|
34,8
|
34
|
33
|
31
|
29
|
26
|
22
|
характеристика насоса
|
0
|
20
|
40
|
80
|
100
|
120
|
140
|
160
|
180
|
200
|
|
25,4
|
25,7
|
26,5
|
27,9
|
29,8
|
31,4
|
34,5
|
38,1
|
42,2
|
46,9
|
52,2
|
характеристика сети
Определение напора и мощности при
уменьшении подачи на 20% при регулировании следующими способами:
а) дросселированием
Дроссельное регулирование
осуществляется введением дополнительного гидравлического сопротивления в напорную
линию трубопровода. С этой целью установим в непосредственной близости от
насоса дроссель (задвижку).
Тогда характеристика сети будет
иметь вид:
Нсети = Нст
+
Q2
Нсети = Нст
+ 27406,22Q2
Нсети
= 25.4 + 691,53Q2
Q
= 56 л/с => H = 27.6 м вод ст
Мощность
Данный способ очень
прост, но ведет к снижению экономичности, т. к. часть создаваемого напора идет
на преодоление гидравлических потерь в дросселе.
б) изменением частоты
вращения:
Этот способ
регулирования приводит к изменению характеристики насоса и, следовательно,
рабочего режима.
Произведем пересчет
характеристик по формулам подобия, зная что подача уменьшилась на 20%:
частота вращения n2= 1192 об/мин.
напор насоса:
мощность насоса:
в) обточкой колеса:
Заключается в уменьшении
наружного диаметра рабочего колеса.
Для расчета требуемых
параметров воспользуемся формулами подобия:
=>
Кавитационный расчет насосов.
Допускаемый кавитационный запас
составляет:

= (1,2
1,3)
Критический
кавитационный запас определим по формуле С.С. Руднева:

=
4.3=

4/3=2,788
м,
насосный установка гидравлический
центробежный
Тогда 
= 
;
где n - число оборотов рабочего
колеса, об/мин;- подача насоса, м3/с;
C - кавитационный коэффициент
быстроходности, равный для обычных насосов С = 1000;
Из условий бескавитационной работы
насоса определяется допускаемая геометрическая высота всасывания из открытого
резервуара:

,
где 


Допустимая
вакуумметрическая высота всасывания при бескавитационной работе насоса и
всасывании из открытого резервуара:

.
Библиографический список
1. Идельчик, И.Е. Справочник по гидравлическим
сопротивлениям / И.Е. Идельчик. - М.: Машиностроение, 1992. - 672 с.
. Н.Е. Лаптева ЛОПАСТНЫЕ ГИДРОМАШИНЫ Учебное
электронное текстовое издание Подготовлено кафедрой «Гидравлика» Научный
редактор: доц., канд. техн. наук А.В. Некрасов.