Аналіз формозміни металу та удосконалення технології деформування заготовок при виробництві штамповано-катаних коліс

  • Вид работы:
    Магистерская работа
  • Предмет:
    Другое
  • Язык:
    Украинский
    ,
    Формат файла:
    MS Word
    4,07 Мб
  • Опубликовано:
    2013-07-01
Вы можете узнать стоимость помощи в написании студенческой работы.
Помощь в написании работы, которую точно примут!

Аналіз формозміни металу та удосконалення технології деформування заготовок при виробництві штамповано-катаних коліс

РЕФЕРАТ

Об'єкт дослідження - технологія деформування заготовок залізничних коліс і методи її розрахунку.

Ціль роботи - аналіз формозміни металу при деформуванні заготовок залізничних коліс на пресах та розробка нового способу штампування заготовок, що забезпечує стабільність розмірів заготовок під прокатку.

Методи дослідження і апаратура - математичне моделювання, персональний комп’ютер.

Результати та їх новина - розроблено новий спосіб штампування заготовок залізничних коліс, що забезпечує стабільність розмірів заготовок під прокатку.

Рекомендації щодо використання - для використання на пресово-прокатних лініях ВАТ "Iнтерпайп - НТЗ" і ВАТ "Виксунський металургійний завод".

Область використання - чорна металургія, штампування заготовок залізничних коліс.

Економічна ефективність - очікуваний ефект, отриманий за рахунок зниження відсотка браку коліс за дефектом «косина маточини», дорівнює 350,25 тис. грн.

КОЛІСНА ЗАГОТОВКА, ШТАМПУВАННЯ, МАТОЧИНА, СИЛОВІ ПАРАМЕТРИ, МОДЕЛЮВАННЯ, ФОРМОЗМІНЕННЯ, ЗНИЖЕННЯ БРАКУ, КУПОЛОПОДІБНІСТЬ, ПРЕС

ВСТУП

Виробництво штамповано-катаних залізничних коліс в умовах України здійснюється на пресово-прокатній лінії колесопрокатного цеху ВАТ «Інтерпайп-НТЗ». Обсяги виробництва не тільки покривають потреби України в даному виді продукції, але і відвантажуються споживачам у країнах СНД і далекого зарубіжжя.

Слід зазначити, що в України є значні виробничі потужності з виробництва штамповано-катаних коліс широкого розмірного і марочного сортаменту. Разом з тим досягнутий в Україні рівень виробництва коліс багато в чому поступається закордонним аналогам, як через знос основних фондів та відсталості застосовуваних технологій, так і через використання зливків з мартенівської сталі, що піддаються різанню на злиткорозрізних верстатах з подальшою ламкою на пресах на окремі заготовки .

Технічно можливий на сьогоднішній день обсяг виробництва коліс на рік значно перевищує внутрішні потреби України в даному виді металопродукції. Так склалося історично, ще з часів СРСР. Тому більшість замовлень на колеса українського виробництва є експортними. Їх отримання здійснюється на тендерній основі в умовах жорсткої конкурентної боротьби підприємств-виробників даного виду продукції. Низька конкурентоспроможність залізничних коліс вітчизняного виробництва пов'язана, в першу чергу, з високою металоємкістю їх виробництва. Остання обумовлена значною величиною допусків на штампування і прокатку заготовок коліс і подальшим підвищеним обточуванням чорнових коліс при механічній обробці. Тому, тема цієї роботи, спрямована на вдосконалення технології деформування заготовок залізничних коліс в плані підвищення стабільності їх розмірів, а, отже, зниження витратного коефіцієнта металу, є актуальною.

1. СУЧАСНИЙ СТАН ВИРОБНИЦТВА КОЛІС МЕТОДАМИ ОБРОБКИ ТИСКОМ

Щорічно у світі виробляється 3 - 3,5 млн. штампованих і штамповано-катаних залізничних коліс. Найбільшими виробниками коліс є Росія, Україна, США, Китай, Німеччина та Індія. Технології штампування і прокатки залізничних коліс на підприємствах, які їх виготовляють, мають ряд відмінностей [1 - 4]. Необхідно встановити як позитивні сторони даних технологій, так і їх недоліки для подальшого врахування при вирішенні завдань ресурсозбереження в колесопрокатному виробництві України. Останнім часом набули широкого розповсюдження методи комп'ютерного аналізу проектованих калібрувань [5 - 12 і др.]. Тому також необхідно встановити межі застосування цих методів і особливості їх застосування для вирішення завдань колесопрокатного виробництва. Напрямок справжніх досліджень пов'язаний з вдосконаленням способів деформування заготовок коліс на пресах в плані підвищення стабільності їх розмірів на основі аналізу формозміни металу і силових параметрів при штампуванні заготовок шляхом математичного моделювання.

1.1 Аналіз технології деформування заготовок при виробництві залізничних коліс

Найбільш широке застосування одержали методи виробництва залізничних коліс на основі операцій штампування і прокатки. При цьому використовують від двох до чотирьох гідравлічних пресів і колесопрокатний стан (КПС) горизонтального або вертикального типів. Основними виробниками коліс в Україні та Росії є ВАТ «Інтерпайп - НТЗ» і ВАТ «Виксунський металургійний завод» (ВМЗ), на яких річний об’єм виробництва зріс в останні роки до 550 тис. коліс і 800 тис. коліс, відповідно. Третім великим виробником коліс є російський ВАТ «Нижнєтагільський металургійний комбінат» (НТМК). На ньому завершена корінна реконструкція колесопрокатного цеху (КПЦ), який забезпечує виробництво 630 тис. коліс на рік з урахуванням вимог міжнародних стандартів [13-15]. У 2005 р. на ВАТ «НТМК» розпочато освоєння нових обладнання та технологій.

В Україні функціонує один спеціалізований цех з випуску залізничних коліс, що входить до складу «Інтерпайп - НТЗ». Аналогічний йому цех по складу обладнання пресово-прокатної лінії і використовуваної технології перебуває в Росії, на ВАТ «ВМЗ». Пресово-прокатні лінії цих цехів були введені в експлуатацію в сімдесятих роках минулого століття [24, 25]. Більший обсяг виробництва коліс на ВАТ «ВМЗ» багато в чому визначається наявністю стабільних замовлень на колеса Æ957 мм для потреб внутрішнього ринку Росії. Технологічна схема виробництва масових залізничних коліс Æ957 мм по ГОСТ 9036-88 представлена на рис. 1.1. Вихідні заготовки для їх виготовлення в умовах ВАТ «Інтерпайп - НТЗ» і ВАТ «ВМЗ» отримують із злитків, відлитих зі спокійної мартенівської сталі у виливниці сифонним способом [2,3,19]. Передбачено використання декількох злитків, наприклад, круглого поперечного перерізу, що має діаметр ~ Æ500 мм, корисну довжину 2150 мм, зі сталі марок 1 і 2 по ГОСТ 10791-89. Висота і діаметр одержуваних з нього заготовок рівні (317 - 327) мм і (488 - 497) мм, відповідно. В умовах ВАТ «ВМЗ» використовуються також нові малоконусні злитки Æ470 мм і довжиною 2700 мм. Для їх надрізання використовуються злиткорозрізні верстати. Процес подальшого ламання злитків на пресі силою 4 МН здійснюють подачею робочого клину в зазор між заготовками. Наявність у заготовок шийок (див. рис.1.1), які залишаються після ламання надрізаних злитків, призводить до овальності заготовок на початкових етапах їх деформації і до дефекту у коліс, який називається «складка маточини». Значне розкидання з геометрії виливниць і низька точність різання на злиткорозрізних верстатах впливають на різновіс заготовок [2,3,20,21], який може досягати 25-30 кг. Він обумовлює, як відомо, нестабільність маси за елементами колісної заготовки [20,21]. Як наслідок, відбувається переповнення штампа, а потім і калібру, що призводить до нестабільності розмірів прокатаних чорнових коліс, утворенню товстого диска в маточині, заходів і інших дефектів [19,21,22].

Застосування металу в злитках і велика ширина різання (18 мм) в значній мірі визначають високий витратний коефіцієнт металу, що перевищує 1,45. Так втрати металу за рахунок прибуткової і донної частин першого з зазначених злитків, а також залишку та стружки, одержуваних при його поріззанні, близькі до 20%. Втрати придатного металу становлять (6-7)% [2, 3].

Провідні світові виробники коліс, у тому числі і ВАТ «НТМК», широко використовують безперервнолитий метал, що забезпечує стабільність структурного стану і рівня властивостей у всіх виробах даної партії [1, 23].


В умовах ВАТ «ВМЗ» експлуатуються сучасні дискові пилки, що мають ширину різання 11 мм, що безумовно знижує втрати металу. На ВАТ «НТМК» експлуатація дискових пилок була розпочата ще раніше, до зупинки цеху на докорінну реконструкцію. При їх використанні перенастроювання на інші профілерозміри коліс виконується практично миттєво, а різновіс заготовок не перевищує (0,3-0,5)% від маси заготовок при використанні круглих безперервнолитих заготовок і (0,5-1,0)% - малоконусних злитків. Перехід на точні малоконусні злитки або безперервнолиті штанги, а також використання дискових пилок для їх різання не тільки визначає зниження втрат металу, але також дає точні по масі заготовки, які можуть служити основою для вдосконалення технологічних схем та калібрування інструменту деформації з метою підвищення якості коліс [ 2,3,23].

Нагрівання заготовок в умовах ВАТ «НТЗ» і ВАТ «ВМЗ» виконують у двох кільцевих нагрівальних печах, що мають діаметри 30 м. У першій печі здійснюється попереднє нагрівання, а в другій - остаточне до температури (1250 - 1260)° С. При виробництві коліс Æ957 мм застосовують посад по 5 заготовок у ряд. Нагріті заготовки по рольгангу від печі подаються до камери гідрозбиву окалини з їхніх торцевих поверхонь водою високого тиску (1,8 - 2,0) МПа.

Всі преса (див. рис. 1.1), що входять до складу пресово-прокатної лінії, є чотирьохколонними з архітравом і встановленою на фундаменті станиною. Між станиною і архітравом розташована траверса, яка переміщається по колонам преса. На пресі силою 20 МН при температурі металу (1205-1225)° С відбувається попередня осадка заготовок з метою видалення окалини з їх бічних поверхонь. Робочий цикл осадочного преса зусиллям 20 МН складається з опускання траверси до зіткнення із заготовкою, робочого ходу - осадки заготовки гладкими плитами (швидкість осадки V = 0,06 м/с) і підйому траверси у вихідне положення. Нерівномірне нагрівання і наявність шийок у заготовок призводять до овальності заготовок, тобто до їх асиметрії.

На ряді підприємств, наприклад, «Вальдюнес» (Франція) операція осадки виконується у підвісному технологічному кільці для формування бічної поверхні заготовки. Відомі технічні рішення, наприклад [24, 25], в яких пропонується на даному етапі використовувати верхнє плаваюче технологічне кільце. Ця пропозиція має перспективу, так як будучи встановленим на пресі силою 20 МН, воно не приведе до запресовування окалини і, забезпечивши формовку бічної поверхні заготовки, по-перше, практично виключить її асиметрію і, по-друге, після кантування вже на наступному пресі силою 50 МН гарантує центрування заготовки в нижньому технологічному кільці. Але для реалізації даної технології прес силою 20 МН повинен бути дообладнаним верхнім виштовхувачем. На деяких підприємствах, наприклад, «Бохумер-Вірейн» (Німеччина) осадка заготовок виконується на гладких плитах з формуванням намітки під прошивку. Але в цьому випадку для забезпечення симетрії заготовок необхідно: по-перше, мати точні по масі заготовки без шийок (з різновісом не більше 0,5%); і по-друге, забезпечити рівномірне нагрівання заготовок [1, 26-28] . А це не прості завдання, причому потрібна ще й стабільна щільність металу по висоті злитків. З зазначеними завданнями заводи України та Росії тільки починають стикатися.

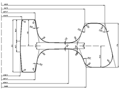
В умовах ВАТ «Інтерпайп - НТЗ» і ВАТ «ВМЗ» після попередньої осадки заготовка подається по рольгангу до кантувача для кантування на 180°. Потім піддається очищенню металевими щітками і по рольгангу подається до пресу силою 50 МН. На даному пресі деформація металу, що має температуру (1180 - 1200)° С, проводиться з метою його регламентованого розподілу між периферійною і центральною частинами заготовки. Технологічний цикл роботи преса включає: подачу заготовки на стіл преса; опускання траверси до зіткнення верхньої плити з торцем заготовки; робочий хід-осадку (V = 0,06 м / с) заготовки в нижньому плаваючому технологічному кільці; підйом траверси; центровку технологічного кільця центруючих механізмом; подачу під верхню плиту преса пуансона і опускання траверси; робочий хід-розгонку металу; підйом траверси і повернення пуансона в початкове положення, підйом заготовки виштовхувачем і видачу її маніпулятором на рольганг для транспортування до формувального пресу силою 100 МН. Контур перетину одержаної заготовки представлений на рис.1.2, на якому заготовка показана в перший момент контакту з верхнім і нижнім формувальними штампами преса.

Осадка заготовки на пресі силою 50 МН у нижньому плаваючому технологічному кільці забезпечує формовку бічної поверхні заготовки і це є позитивний моментом технології. Але центровка технологічного кільця і розгонка металу пуансоном збільшують час технологічного циклу. Крім того, розгонка заготовки пуансоном неминуче вносить у неї асиметрію [2,20,24,25,29]. Має недоліки і конфігурація самої заготовки. З рис.1.2. видно, що її висота в зоні майбутньої маточини в кілька разів менше висоти даної маточини. Наприклад, для коліс Æ957 мм дана висота заготовки дорівнює 80 мм при висоті маточини 210 мм. Тобто, для заповнення такої маточини з низької заготовки, по-перше, потрібна значна сила штампування і, по-друге, при цьому виникають розтягуючі напруги, які можуть призвести до розтину дефектів сталеплавильного походження [30,31,32]. Це відноситься також і до обода (див. рис. 1.2).

Недоліком способу є те, що використовувана для формування в штампах заготовка має однакову висоту в зоні обода й прилеглої до нього частини диска. Це призводить до того, що периферійна порожнина формувальних штампів заповнюється металом не повністю, і заготовки мають верхній торець обода у вигляді купола з нестабільними розмірами по периметру, обумовленими неточним центруванням заготовок щодо інструмента деформації, як на етапі розгону, так і перед формуванням у штампах. Внаслідок цього співвідношення.

Рисунок 1.2 - Існуюча на ВАТ «Інтерпайп-НТЗ» і ВАТ «ВМЗ» технологія штампування колісних заготовок на формувальному пресі силою 100 МН: а - перший момент штампування; б - проміжна стадія штампування; в - останній момент штампування

об'ємів металу в ободі із зовнішньої й внутрішньої сторін заготовки колеса будуть уже не такими, як у розрахованих калібровцi й режимі обтисків заготовки у валках колесопрокатного стану. Тому прокатка таких заготовок характеризується перетіканням металу з однієї частини профілю в іншу. Крім того, нерівномірність ширини обода заготовки, що надходить до стану, є причиною пробуксовок приводних похилих валків і нерівномірного розширення металу по периметру заготовки на початковій стадії прокатки. Усе це призводить до збільшення циклу прокатки, сприяє появі дефектів на ободі й гребені і викликає надмірний ексцентриситет обода щодо маточини колеса [40].

На ряді підприємств, наприклад «Бохумер Вірейн», операції осадки та розгонки поєднані за рахунок використання верхньої фігурної плити, що забезпечує одержання в центрі заготовки виїмки, яка і дає регламентований розподіл металу. Але, як зазначалося вище, тут використовуються точні за масою і осесиметричні заготовки. Крім того, маніпулятор встановлює їх строго по осі верхньої фігурної плити. Така заготовка також у зоні маточини має незначну висоту. Але за рахунок використання якісного безперервнолитого металу дефектів при формуванні обода і маточини не отримують [33-37].

Відомо технологічне рішення [12], що передбачає формовку на пресі 50 МН всього обода і маточини з верхньої або нижньої сторони заготовки. У цьому випадку не ясно, яким чином центруется заготовка на пресі 50 МН, так як центровка нижнього технологічного кільця вже не передбачена. Формування обода і маточини з нижньої сторони заготовки на пресі 50 МН небажане, тому що можливе запресовування окалини. Крім того, за даним рішенням неможлива центровка заготовки верхнім формувальним кільцем в штампах преса 100 МН, так як вона в перший же момент фіксується верхнім і нижнім штампами.

У статті [30] для умов роботи на ВАТ «ВМЗ» як з точними заготовками, так і з існуючими, запропоновано виконувати на пресі силою 50 МН попереднє формування пуансоном частини обода і маточини з верхньої сторони заготовки (рис. 1.3).

У цьому випадку збільшується висота заготовки в зоні майбутніх маточини і обода. Діаметр пуансона тут необхідний більший, ніж за існуючою технологією. Наприклад, при виробництві коліс Ø957 мм його потрібно буде збільшити з Ø500 мм до Ø630 мм. Це призведе до необхідності реконструкції окремих елементів важільного механізму пуансонодержача.

Проаналізуємо існуючу технологію штампування колісних заготовок на формувальному пресі силою 100 МН ВАТ «ВМЗ» (див. рис.1.2). Деформація металу на даному пресі при температурі, рівній (1165-1175)° С, проводиться з метою отримання колісної заготовки з остаточними розмірами маточини і прилеглої до неї частини диска, а також підготовки обода з прилеглою до нього частиною диска для подальшої прокатки на КПС.

Рисунок 1.3 - Технологічна схема розгонки метала пуансоном з попереднім формуванням частини обода і маточини на пресі силою 50 МН: 1 - заготовка після осадки у нижньому плаваючому технологічному кільці; 2 - заготовка після розгонки та попереднього формування частини обода і маточини з її верхньої сторони

Технологічна схема штампування колісної заготовки показана на рис. 1.2. Вона має такі недоліки. По-перше, трьохважелевий центрувач не забезпечує збіг осі заготовки з віссю формувальних штампів. Зміщення осей на практиці може досягати (3-5) мм [30]. А штампування асиметрично покладеної заготовки дає нестабільні розміри колісної заготовки і, відповідно, прокатаного з неї чорнового колеса [22]. По-друге, заповнення металом обода з зовнішнього боку колісної заготовки (див. рис.1.2) особливо при штампуванні легковагих заготовок може бути неповним. Це пов'язано з тим, що в глухих порожнинах штампів сили тертя і тиску протидіють течії металу [30,39].

На ряді підприємств, що виробляють колеса, наприклад, «Бонатранс» (Чехія), «Бохумер-Вірейн», «Вальдюнес»виконують суміщення операцій осадки, розгонки і формування колісних заготовок на двох або трьохпозиційному пресі. При цьому знижується продуктивність ліній та річний об’єм виробництва до ~ (150-200) тис. коліс [40]. Перевагою використовуваних на зазначених підприємствах технологій штампування колісних заготовок є центровка заготовки, отриманої після розгонки, за її бічною конічною поверхнею в формувальному кільці, яке також представляє собою конічну поверхню [2,30]. Причому дане формувальне кільце, на відміну від технологій ВАТ «ВМЗ» і ВАТ «НТЗ», входить до складу нижнього формувального штампа. При цьому, хоча й ускладнюється процес видалення води, залишків оливи та вторинної окалини з нижнього формувального штампа, але зате підвищується симетрія колісних заготовок.

Представляє інтерес штампування заготовок після розгонки, у яких виконано попереднє формування частини обода і маточини (див. рис. 1.3). Штампування таких заготовок показане на рис.1.4. У цьому випадку забезпечується гарантоване заповнення обода з зовнішнього боку колісної заготовки у зв'язку з тим, що туди подається відразу не менше 75% маси металу від необхідної [30]. Верхній штамп своїм формувальним кільцем виконує самоцентрування заготовки. Це можливо у зв'язку з тим, що завдяки показаній на рис.1.4 конфігурації заготовки, саме формувальне кільце має перший контакт з нею. При цьому заготовка не затискається верхнім і нижнім штампами в перший момент контакту, як це відбувається за існуючою технологією (див. рис.1.2). Недолік відомого способу полягає в тому, що він не дозволяє усунути куполоподібнiсть обода з наступної причини. Для центрування покладеної на нижній штамп заготовки верхнім формувальним кільцем її діаметр повинен бути достатньо великим, щоб забезпечувати можливість зсуву заготовки в горизонтальній площині перед початком штампування. Разом з тим контакт заготовки з формувальним кільцем у перший момент штампування є й негативним фактором, тому що це спричиняє швидке зростання поверхні контакту заготовки з формувальним кільцем, внаслідок чого сили тертя починають.

Рис.1.4 - Технологічна схема самоцентрування заготовки у формувальних штампах преса силою 100МН: а - асиметрично покладена в формувальні штампи заготовка після її центрування трьохважелевим центрувачем; б - заготовка після центрування верхнім формувальним кільцем

справляти суттєву протидію плину металу у верхню частину периферійної порожнини штампів ще до початку обтиснення заготовки в зоні диска. Тому й у даному способі не вирішене завдання усунення браку прокатаних заготовок коліс, пов'язаного з поганим оформленням верхнього торця обода заготовок, що надходять до колесопрокатного стану після формування в штампах.

До недоліків відомого технічного рішення також належить, те, що практично неможливо створити умови, при яких перед операцією розгонки буде мати місце точний збіг зовнішнього діаметра заготовки після осадки у верхньому технологічному кільці із внутрішнім діаметром нижнього технологічного кільця, встановленого, як правило, на іншому пресі. Проблематичність створення таких умов у кожному робочому циклі обумовлена, насамперед, коливаннями внутрішніх діаметрів використовуваних технологічних кілець, які, як відомо, у процесі роботи перетерплюють пружні, а, іноді, і пружно-пластичні деформації різної величини залежно від неминучих коливань технологічних факторів, таких як маса вихідних заготовок, ступінь розігріву кілець, умови їх охолодження й змащення. Таким чином, укладена в нижнє технологічне кільце заготовка після попередньої осадки завжди більше або, що частіше, менше його внутрішнього діаметра. Наступна розгонка металу призведе до одержання асиметричної заготовки, оскільки виконане на цьому етапі центрування нижнього технологічного кільця по осі преса не забезпечує центрування заготовки, що знаходиться в ній, щодо даного кільця.

При використанні по даному способу двох операцій осадки й розганяльного пуансона замість верхньої фасонної плити необхідність центрування заготовки після попередньої осадки в нижньому технологічному кільці зникає. Однак, це також приводить до одержання асиметричних заготовок після розгонки. Асиметрія в цьому випадку пов'язана з недосконалістю самого способу розгонки, у якому передбачено використання поворотного пристрою, що подає пуансон під верхню обтискну плиту преса після операції другої осадки. Практика показала, що при такому способі розгонки точна подача пуансона на вісь преса в кожному робочому циклі практично не досяжна. Саме тому заготовки після розгонки поворотним пуансоном мають нестабільні від штампування до штампування розміри.

В остаточному підсумку, асиметричність заготовок після операції розгонки неминуче веде до одержання асиметрії у відштампованих з них заготовках з ободом, диском і маточиною. Причому операція формування цю асиметрію не усуває, а в ряді випадків - збільшує, навіть при забезпеченні точного центрування заготовок щодо формувальних штампів.

.2 Аналіз методів розробки технології деформування заготовок коліс

Основоположні принципи розробки калібровок інструменту деформації пресів і КПС розроблені головним чином М.Ю. Шифріним [40]. У роботі [19] систематизована інформація з даних питань для умов виробництва коліс в 80-х роках і представлена докладна методика розрахунку калібровок по всій пресовопрокатної лінії. У наступних роботах наведені приватні рекомендації щодо розрахунку калібровок для окремих видів інструменту деформації пресів і КПС.

У сучасних умовах актуально освоювати виробництво нових типів коліс в стислі терміни і без досвідчених прокаток, які пов'язані з втратами ресурсів і робочого часу, які призводять до зниження рентабельності виробництва. Створення ресурсозберігаючих технологій багато в чому визначається глибиною опрацювання проектованих калібрувань. Вирішення цих завдань практично нездійсненно без застосування сучасних методів комп'ютерного автоматизованого проектування та математичного моделювання процесів обробки металів тиском (ОМТ).

В даний час при аналізі процесів ОМТ широке поширення одержали методи математичного моделювання, засновані на методі кінцевих елементів (МКЕ). Як правило, ці методи реалізовані у вигляді пакетів прикладних програм, які знайшли застосування і при аналізі технологій деформування заготовок залізничних коліс [41-45 и др.]. Разом з тим, в технічній літературі недостатньо висвітлена проблема оцінки точності одержуваних результатів моделювання і ступеня їх відповідності даним експериментальних досліджень процесів штампування і прокатки заготовок коліс.

Відомо, що опір деформації є важливою характеристикою деформованого металу. Слід зазначити, що в існуючих методиках розрахунку параметрів процесу штампування і прокатки колісних заготовок [19, 40, 46] при розрахунку напруги плинності металу не враховують той факт, що має місце знеміцнення металу заготовки внаслідок динамічної рекристалізації. Тому в розрахунках використовують явно завищені значення напруги плинності, отримані, наприклад, на основі методики Л.В. Андреюк [47, 48] і методу термомеханічних коефіцієнтів [49].

Аналіз праць з дослідження опору металу деформації виконаний в [52 - 55]. При цьому показано, що опір металу деформації повинна визначатися не тільки як функція температури, ступеня і швидкості деформації, але також має враховуватися хімічний склад сталі та її разупрочнение при гарячому деформуванні за рахунок протікання процесів динамічного повернення, динамічної та статичної рекристалізації.

У сучасних технологіях виготовлення коліс, що застосовуються на підприємствах провідних світових виробників коліс [1, 15 та ін], передбачено обов'язкове використання точних за масою вихідних заготовок (максимальне розходження заготовок за масою не більше 1%), одержуваних шляхом порізання злитків або безперервнолитих заготовок дисковими пилками. Використовувані при цьому способи деформування заготовок дозволяють отримувати точні і стабільні розміри чорнових коліс. Очевидно, що доцільність застосування методів кінцево-елементного моделювання для аналізу таких технологій буде визначатися точністю прогнозу формозміни металу і силових параметрів при штампуванні та прокатки заготовок коліс.

Сучасні програмні комплекси кінцево-елементного моделювання мають, як правило, широкий набір функціональних можливостей. Однак, при роботі з ними не виключена можливість одержання неадекватних і, в ряді випадків, некоректних рішень, що суперечать закономірностям аналізованих процесів, встановлених експериментальним шляхом. Причому, факти отримання негативних результатів кінцево-елементного моделювання зовсім не говорять про неспроможність такого підходу до вирішення крайових задач ОМТ та, відповідно, використовуваних пакетів програм. Вони лише вказують на необхідність врахування специфіки досліджуваних технологічних процесів при виборі параметрів кінцево-елементної моделі, способу завдання крайових умов та налаштувань розрахунку.

Таким чином, необхідно визначення ступеня впливу параметрів кінцево-елементних моделей процесів деформування заготовок залізно-дорожніх коліс на точність розрахунку формозміни металу і силових параметрів.

Висновки

. Сучасне виробництво штамповано-катаних коліс в Україні характеризується підвищеною металоємкістю виробництва, пов'язаною з неточністю розмірів і маси заготовок, що отримуються після різання і ламання злитків, а також з незадовільною центровкою заготовок на пресах. У зв'язку з цим існує актуальна науково-технічна задача вдосконалення технології виробництва коліс в частині його забезпечення точними за масою заготовками і створення способів їх деформування з високою точністю і стабільністю розмірів.

. Виконано порівняльний аналіз технологій штампування і прокатки коліс в Україні (ВАТ «Інтерпайп - НТЗ») та Росії (ВАТ «ВМЗ») по відношенню до технологій провідних зарубіжних виробників коліс. Основні переваги сучасних технологій, що визначили на даних підприємствах високу якість коліс і зниження витрат металу, в першу чергу пов'язані з істотним зменшенням асиметрії колісних заготовок і чорнових коліс по всій пресово-прокатної лінії і переходом на точні за масою заготовки.

. Показано, що, крім різновіса вихідних заготовок, нестабільність розмірів заготовок коліс при їх штампуванні за відомими для умов ВАТ «Інтерпайп - НТЗ» і ВАТ «ВМЗ» способами, пов'язана з відсутністю умов точного центрування заготовок при їх розгонці і формуванні, а також нерівномірним заповненням глухих кутів верхнього формувального штампа в зоні обода. Це призводить до того, що периферійна порожнина формувальних штампів заповнюється металом не повністю, і заготовки мають верхній торець обода у вигляді купола з нестабільними розмірами по периметру. Внаслідок цього співвідношення об’ємів металу в ободі із зовнішньої й внутрішньої сторін заготовки колеса будуть вже не такими, як у розрахованих калібровці й режимі обтиснень заготовки у валках колесопрокатного стану. Тому прокатка таких заготовок характеризується перетіканням металу з однієї частини профілю в іншу. Крім того, нерівномірність ширини обода надходячої до стану заготовки є причиною пробуксовок приводних похилих валків і нерівномірного розширення металу по периметру заготовки на початковій стадії прокатки. Все це призводить до збільшення циклу прокатки, сприяє появі закатів на ободі і гребені і викликає підвищений ексцентриситет обода щодо маточини колеса. Тому актуальна розробка нових способів штампування заготовок, що забезпечує стабільність їх розмірів під прокатку.

. В даний час при аналізі процесів деформування заготовок коліс широке поширення одержали методи математичного моделювання, засновані на методі кінцевих елементів. Разом з тим, в технічній літературі недостатньо висвітлена проблема оцінки точності одержуваних результатів моделювання і ступеня їх відповідності даним експериментальних досліджень процесів штамповки і прокатки заготовок коліс. Показана необхідність подальшого розвитку використовуваних в даний час моделей, наприклад, моделі напруги плинності сталі коліс у частині опису процеса знеміцнення гарячого металу, пов'язаного з протіканням в ньому процесів повернення, статичної та динамічної рекристалізації. Актуально виконати аналіз впливу параметрів кінцево-елементної моделі на точність розрахунку формозміни металу і сил при штампуванні заготовок залізничних коліс.

Відповідно до виконаного аналізу технічної літератури були поставлені мета і завдання магістерської роботи.

Метою роботи є аналіз формозміни металу при деформуванні заготовок залізничних коліс на пресах та розробка нового способу штампування заготовок, що забезпечує стабільність розмірів заготовок під прокатку.

Для досягнення зазначеної мети були поставлені та вирішені наступні задачі:

виконати аналіз впливу параметрів кінцево-елементних моделей на точність розрахунку формозміни металу і сил при штампуванні заготовок залізничних коліс;

виконати математичне моделювання процесів осадки, розгонки і формування в штампах заготовок коліс для нестаціонарного теплового режиму заготовки та з урахуванням знеміцнення металу при гарячій деформації;

розробити для умов промислового виробництва коліс України новий спосіб деформування заготовок, що забезпечує точність центрування заготовок при їх розгонці й формуванні в штампах і гарантоване заповнення глухих кутів формувальних штампів;

виконати розрахунок техніко-економічної ефективності роботи.

2. ТЕОРЕТИЧНІ ДОСЛІДЖЕННЯ ПРОЦЕСІВ ДЕФОРМУВАННЯ МЕТАЛА ПРИ ВИРОБНИЦТВІ КОЛІС

Дослідження, виконані в даному розділі, присвячені постановці й способу реалізації задачі моделювання процесів теплообміну й деформації в заготовках залізничних коліс при їхньому транспортуванні по пресово-прокатній лінії й деформуванні на пресах. Дослідження мають своєю метою одержання адекватного математичного опису основних закономірностей вищевказаних процесів по існуючій у колесопрокатних цехах ВАТ Інтерпайп - НТЗ" і ВАТ "ВМЗ" технології. Даний підхід буде використаний, як для аналізу існуючих режимів деформування заготовок, так і для оцінки ефективності нових, запропонованих у рамках розділа 3 даної роботи, технологічних рішень. В основі даних досліджень лежить визначення ступеня впливу параметрів кінцево-елементних моделей процесів деформування заготовок коліс на точність розрахунків формозміни металу й силових параметрів.


Насамперед , слід зазначити, що до складу пресово-прокатних ліній по виробництву залізничних коліс входять, як правило, від двох до чотирьох пресів і колесопрокатний стан вертикального або горизонтального типу. Заготовка при цьому може перебувати на лінії 5 хвилин і більше, а час пауз між двома послідовними операціями гарячого деформування може становити більше 10 секунд. Очевидно, що в таких умовах деформації на величину напруження плину металу () поряд із процесами зміцнення суттєвий вплив повинні справляти процеси знеміцнення. Опираючись на результати експериментальних досліджень по вивченню впливу умов деформації на величину  сталей [15, 59], а, також враховуючи тривалість пауз між операціями деформування й температуру металу (1000 - 1250°С), можна з достатнім ступенем точності затверджувати, що деформаційне зміцнення металу за одну операцію частково знімається в результаті динамічної рекристалізації й остаточно, - у результаті статичної рекристалізації, що протікає в заготовці під час міждеформаційних пауз.

Проведені авторами [74, 75] теоретичні дослідження процесів штампування й прокатки заготовок коліс показали, що накопичена деформація в окремих елементах заготовки може досягати 1 і більше за один технологічний перехід. Виконані для колісної марки сталі розрахунки дозволили встановити, що якщо не враховувати знеміцнення металу в результаті динамічної рекристалізації, то значення при температурі 1000-1250°С і ступені деформації 0,5-0,8 буде завищено в середньому на 10-25%, залежно від швидкості деформації (рис. 2.1). При екстраполяції значень у напрямку підвищення ступеня деформації вищевказана величина завищення також буде збільшуватися. При моделюванні це призводить до суттєвого перевищення розрахункової сили деформування над експериментально зафіксованою її величиною в умовах дослідно-промислового виробництва коліс. Причому, це в тому випадку, коли в якості вихідних даних задаються швидкості або переміщення інструмента деформації.

Коли ж у якості вихідних даних задають закон зміни сил, що діють на заготовку з боку інструмента деформації, то результати розрахунків покажуть кінцеву формозміну заготовки, що не відповідає даним експериментальних вимірів заготовок. Причина такої невідповідності - досягнута при моделюванні межа по силі деформування. Наприклад, при моделюванні процесу штампування заготовки під прокатку буде мати місце незадовільне заповнення порожнин формувальних штампів при товщині диска в маточині більше необхідної.

Рисунок 2.1 - Розрахункові криві плину сталі коліс марки 2 (ГОСТ 10791-2004 ) при температурі 1100°С і швидкості деформації 5 с-1

При моделюванні процесу прокатки заготовок використання завищених значень призводить до невиконання розмірів чорнового колеса, перш за все по величині його розкочування по діаметру. Тобто, в цьому випадку сил прокатки буде недостатньо, щоб реалізувати при моделюванні маючі місце на практиці радіальні та осьові обтиснення заготовки при тих же температурно-швидкісних параметрах процесу. Природно, що такі результати моделювання, не будуть адекватно відображати закономірності реальних процесів деформації заготовок коліс.

Істотний вплив на величину напруги текучості металу (а, отже, і на параметри формозміни) також надає хімічний склад сталі коліс, марочний сортамент якої постійно зазнає змін. Тому при створенні кінцево-елементної моделі, необхідний облік впливу процентного вмісту елементів у сталі (у тому числі домішок) на величину .

Важливе значення при моделюванні має розмір використовуваних елементів сітки у поверхневих шарах заготовки. Найчастіше елементи з розміром ребра більше 5 мм не можуть якісно описати контур перерізу заготовки колеса, особливо на останніх стадіях її формоутворення. Використання великої кінцево-елементної сітки крім незадовільного опису формозміни окремих елементів заготовки призводить до зміни об’єму заготовки, як в цілому, так і по окремих її елементах. Причому вказана зміна об’єму може спостерігатися і в меншу сторону і у велику. Причому, навіть у тих випадках, коли візуально спотворення вихідної геометрії (рис. 2.2) не спостерігається, відхилення від початкового об'єму заготовки може бути істотним.

Рисунок 2.2 - Контур перетину заготовки після преса 100 МН, на основі якого будується твердотільна модель заготовки

Отже, при розбитті заготовки сіткою кінцевих елементів має місце штучний перерозподіл об’єму металу за елементами заготовки, який вже не буде відповідати вихідному його розподіленню, закладеному при розрахунку калібровки.

При використанні МКЕ для аналізу процесів ОМТ коливання об’єму деформуємої заготовки - це характерне явище. При моделюванні процесів деформування заготовок залізничних коліс ці коливання необхідно обов'язково враховувати. Так, наприклад, на рис. 2.3а представлена кінцево-елементна модель заготовки після преса 100 МН з досить грубою сіткою, яка, в той же час, не дає суттєвого викривлення вихідної геометрії (див. рис. 2.2). Разом з тим, відхилення по масі (об’єму) від твердотільної заготовки при цьому становить -1,090452 кг (0,01452 * 107 мм³) при щільності металу в гарячому стані r = 7510 кг/м³. При більш дрібній сітці (рис. 2.3б) аналогічне відхилення складає -0,295143 кг (-0,00393 * 107 мм³).

Рисунок 2.3 - Кінцево-елементна модель заготовки після преса 100 МН: а - кількість елементів - 80 852 (мінімальний розмір елемента - 5 мм, максимальний - 25 мм); б - кількість елементів - 409 348 (мінімальний розмір елемента - 4,64 мм , максимальний - 9,28 мм)

Виконані нами розрахунки показали, що якщо на кожному етапі моделювання окремо взятої операції деформування (яких може бути більше трьох) нехтувати зазначеними вище коливаннями об’єму, то на завершальній стадії формоутворення маса заготовки колеса може змінитися більш ніж на 5 кг. Природно, що отримані в цьому випадку результати моделювання будуть малопридатні для аналізу формозмінення металу при штампуванні та прокатці точних за масою заготовок.

Крім вищесказаного, відносно великий розмір елементів контактного шару заготовки (наприклад, як на рис. 2.2) може стати причиною прослизання привідних прокатних валків по поверхні заготовки навіть при завданні великих значень напруження контактного тертя, аж до величини межі плинності деформованого металу на зсув. Зазначені тут проблеми при використанні МКЕ для моделювання процесів деформування заготовок коліс можуть бути усунені шляхом подрібнення сітки кінцевих елементів, принаймні, поверхневого шару заготовки. Ступінь подрібнення і глибина даного шару в кожному конкретному випадку визначаються з практичних міркувань з урахуванням багатоперехідного процесу формоутворення чорнового колеса.

Відповідальним етапом створення кінцево-елементної моделі є завдання умов контактної взаємодії заготовки колеса з інструментом деформації. Виконані авторами [74, 75] дослідження показали, що величину напруги тертя () доцільно задавати як частину від напруження плинності контактного шару металу на зсув (), оскільки використання моделей тертя, заснованих на визначенні в залежності від величини контактного тиску (), призводить до штучного завищення  до величини  і більше. Це може мати місце при моделюванні, як операцій штампування, так і прокатки заготовок, окремі етапи яких, в силу різних причин, характеризуються високими значеннями .

Принципове значення при моделюванні процесів деформування заготовок коліс має точність відтворення швидкісних параметрів процесів штампування і прокатки, від яких певною мірою залежать силові параметри та параметри формозміни металу. З метою вивчення даного питання проведено ряд досліджень. З одного боку був проведений аналіз силових і швидкісних параметрів штампування заготовок залізничних коліс на основі експериментальної інформації, отриманої в умовах промислового виробництва коліс [69, 70]. Паралельно виконувалися роботи по кінцево-елементному моделюванню процесів осадки, розгонки, формування в штампах заготовок коліс з урахуванням процесів теплообміну оброблюваного металу з навколишнім середовищем, як при деформації, так і під час міждеформаційних пауз. Виконані дослідження показали наступне. При моделюванні операцій штампування завдання деякої середньої швидкості руху інструменту деформації (як правило, завищеної) призводить до зростання  деформованого металу і, як наслідок, до деякого підвищення сили штампування (на 3 - 5%). Також було встановлено, що найбільш точного обліку швидкісних параметрів штампування можна добитися шляхом встановлення крайових умов завдання на основі експериментальної інформації про зміну тиску робочої рідини в гідроциліндрах робочого ходу рухомих траверс пресів в залежності від часу.

2.2 Постановка задачі математичного моделювання процесу деформування заготовок коліс на пресах і спосіб її реалізації

Моделювання виконане для нестаціонарного теплового режиму заготовки. Тобто виконували розрахунок температурного поля заготовки при її охолодженні на повітрі, при транспортуванні між агрегатами пресово-прокатної лінії й у процесі її деформування на пресах.

Моделювання виконане для нестаціонарного теплового режиму заготовки. Температурне поле заготовки при цьому описувалося диференціальним рівнянням теплопровідності Фур'є [63]

(2.1)

де  - температура метала, °С;

 - тривалість процесу, с;

 - температуропровідність, м2/с, ( - коефіцієнт теплопровідності, Вт/м2*°С,  - щільність матеріалу, кг/м3, с - питома теплоємність матеріалу, Дж/(кг*°С));

 - незалежні просторові змінні.

Також були задані умови, що дозволяють виділити з нескінченної кількості рішень рівняння (2.1), яке однозначно характеризує даний процес. До цих умов належить початкова умова

,(2.2)

характеризуюча розподіл температури у заготовці в початковий момент часу, і закон взаємодії між навколишнім середовищем і поверхнею заготовки, і граничні умови [64].

Як відомо [64] процес конвективного теплообміну між поверхнею тіла і навколишнім середовищем описують температурні граничні умови третього роду. Процес теплообміну при цьому описувався законом Ньютона, який має наступний вигляд [64]:

,(2.3)

де  - проекція вектора теплового потоку на напрям зовнішньої нормалі до поверхні тіла, Вт/м2;

 - коефіцієнт теплообміну, Вт/(м2*°С) (для умов вільної конвекції брали = 100 Вт/(м2*°С));

 - температура поверхні тіла і навколишнього середовища відповідно, °С.

Умова (2.3) описує процес теплопередачі, при якому кількість тепла, що передається в одиницю часу з одиниці поверхні тіла в навколишнє середовище, прямо пропорційна різниці температур поверхні тіла і навколишнього середовища.

Приймемо постійну температуру навколишнього середовища і постійність коефіцієнта . У цьому випадку для розрахунку процесу теплопередачі при транспортуванні заготовки за рахунок випромінювання і вимушеної конвекції застосована гранична умова третього роду [64], яку й використовували при моделюванні.

Крім того, враховано неоднорідність вихідних температурних умов між деформуємою заготовкою та різними елементами інструменту деформації. Це дозволило в значній мірі наблизити математичну модель до реального технологічного процесу, що протікає в певних виробничих умовах.

У даній роботі розглянута технологія виготовлення заготовок чорнових коліс Ø957 мм. Дані колеса виготовляють з колісної сталі марки 2 (ГОСТ 10791-2004). На рисунку 2.4 наведені теплофізичні властивості сталі 60, що використовуються при моделюванні. Ступінь чорноти стали - 0,7.

Відомо, що в процесі гарячого деформування металів переважають пластичні деформації, а пружні деформації малі, і ними можна знехтувати [65]. Тому при моделюванні даного процесу для заготовки використовували жорсткопластичну модель матеріалу.

Пресовий інструмент та прокатні валки в процесі деформування мають більш низьку температуру в порівнянні із заготовкою та більшу твердість, у зв'язку з чим деформації інструменту невеликі, і ними можна знехтувати.

Рисунок 2.4 - Теплофізичні властивості сталі, що використовуються при моделюванні: а - графік залежності теплоємності (N/mm²/°C) від температури; б - залежність питомої теплопровідності ((N/(sec*K)) від температури (°С)

Тому для моделювання інструмента була обрана жорстка недеформуєма модель матеріалу.

Відповідно до викладеного вище, заготовка буде деформуватися тільки пластично, а реологія металу буде визначатися кривою течії, відповідно до вказаної залежності напруження течії () від ступеня деформації (), швидкості деформації () і температури ():

.(2.4)

Відповідні реологічні криві (рис. 2.5) в досліджуваному діапазоні температур (1000 - 1280 °С), необхідні для реалізації процесу моделювання, були побудовані з використанням методик, викладених у роботах [52-55] і на основі процентного вмісту елементів у сталі, наведеного в табл. 2.1.

Рисунок 2.5 - Криві течії колісної сталі марки 2 при температурі 1200°С: а - при = 0,5с-1; б - при = 10с-1

Таблиця 2.1 - Хімічний склад у % колісної сталі марки 2

C

Si

Mn

Ni

S

P

Cr

V

Cu

0.6

0.335

0.7

0.1

0.035

0.035

0.1

0

0.1


В якості закону контактного тертя прийнята зсувна модель тертя:

, (2.5)

де  - напруга тертя, МПа;

 - межа текучості матеріалу заготовки при зсуві, МПа.

Значення фактора тертя вибрали для умов контактної взаємодії заготовки зі штамповим оснащенням за наявності технологічних мастил ( = 0,3).

При моделюванні був використаний автоматичний режим генерації кінцево-елементної сітки. При цьому досить коректно враховувалася умова непроникності металу заготовки крізь стінки інструменту.

Процес моделювання полягав у наступному. Комп'ютерна програма вирішувала залежні від часу нелінійні задачі, генеруючи серію рішень на дискретних збільшеннях за часом. На кожному часовому кроці, на основі заданих граничних умов, термомеханічних властивостей матеріалу заготовки та рішень на попередніх кроках, визначалися значення швидкості, переміщення і температури кожного вузла кінцево-елементної сітки. Інші параметри, такі як напруження і деформації, знаходилися як похідні від цих величин і перераховувалися на кожному часовому кроці.

Поведінка матеріалу в процесі вирішення описується за допомогою діа-грами «дійсні напруження-деформація». У комп'ютерній програмі напруження та деформації використовувані в діаграмі «напруження-деформація» - це еквівалентні напруження або напруження по Мізесу (рівняння (2.6)) та еквівалентні деформації (рівняння (2.7).

. (2.6)

, (2.7)

де σx σy σz - осьові напруження;

τxy τyz τzx - тангенціальні напруження;

εx εy εz - осьові деформації.

При моделюванні використовується концепція напруження течії. Оскільки матеріал деформується пластично, сума напружень визначається з покрокової суми деформації по кривій напруження течії (щодо зони пластичності на діаграмі дійсних напружень - дійсних деформацій).

Розрахунок течії металу проводиться на основі принципу мінімальної роботи, який звучить так: розподіл швидкості, який прогнозує найнижчу величину потрібної роботи, є найкращою апроксимацією реального розподілу швидкості. Тобто, метал тече в напрямку найменшого опору.

Принцип мінімальної роботи може бути виражений математично, у вигляді функції [65]:

  


де p - робота;

 - напруження течії;

 - швидкість еквівалентних деформацій;

d - варіація;- об’єм;- сили;- переміщення;- площа поверхні;

К - константа.

Рівняння 2.8 - це спрощений баланс між масовими силами (перший член) і силами зчеплення поверхонь (другий член). Спосіб запису цього рівняння через швидкості представлений у рівнянні 2.9. Рішення в швидкостях може бути отримано тільки тоді, коли варіація в функціоналі дорівнює нулю. У функціоналі також присутній додатковий член, який описує нестисливість в рішенні. Він отриманий шляхом інтегрування швидкості об'ємної деформації і множенням на велику константу. Рішення прагне підтримувати низькі значення об'ємної швидкості деформацій для того, щоб значення цього інтеграла було близько до нуля.

Таким чином, проведене кінцево-елементне рішення, можна розділити на наступні етапи:

. Введення геометрії та граничних умов.

. Генерація початкового наближення поля швидкостей (для першого кроку).

. Розрахунок поведінки елементів, базуючись на полі швидкостей та інших змінних (деформації, температурі і т.д.).

. Розрахунок силових граничних умов.

. Складання і розв'язання матриці рівнянь.

. Розрахунок помилки.

. Якщо помилка велика, повернення на крок 3, інакше перехід на крок 8.

. Оновлення геометрії.

. Розрахунок зміни температури.

. Розрахунок нових швидкостей, якщо необхідно.

Якщо виконується критерій зупинки - розрахунок завершений, інакше перехід на крок 3.

Грунтуючись на вищевикладеному було вироблено математичне моделювання процесів осадки, розгонки, формування в штампах заготовок коліс з урахуванням процесів теплообміну оброблюваного металу з навколишнім середовищем, як при деформації, так і під час междеформаціонних пауз, а також з урахуванням теплового ефекту пластичної деформації. Вихідні дані для моделювання задавалися на основі фактичної експериментальної інформації по деформаційним, силовим і швидкісним параметрам штампування вищевказаних заготовок коліс, отриманої в умовах промислового виробництва коліс на пресопрокатній лінії ВАТ «ВМЗ» [71].

Вихідні дані для моделювання:

) діаметр заготовки - 482 мм;

) висота заготовки - 347 мм;

) температура заготовки при видачі з печі - 1280 °С;

) температура інструменту деформації пресів - 300 °С;

) швидкість переміщення траверс на пресах (рис. 2.6) задавали на основі даних розрахунків параметрів гідравлічних пресів, викладених у роботі [19].

Рисунок 2.6 - Графіки швидкостей (мм/с) у залежності від часу (с) рухомих траверс пресів, що використовуються при моделюванні: а - прес силою 20 МН; б - прес силою 50 МН; в - прес силою 100 МН

2.3 Результати математичного моделювання

На першому етапі досліджень було виконано моделювання процесу охолодження заготовки на повітрі при її транспортуванні по рольгангу від печі до осадочного пресу силою 20 МН. Зміна температурного поля заготовки в процесі охолодження показано на рис. 2.7. Відповідно до застосованої технології заготовка, після укладання її на нижню обтискну плиту, ще деякий час, протягом якого опускають траверсу преса з верхньою обтискною плитою, остигає. Розподіл температур у заготовки після її витримки на нижній плиті преса зусиллям 20 МН представлений на рис. 2.8.

Після того, як верхня обтискна плита увійшла в контакт із заготовкою виробляють вільну осадку заготовки до певної висоти 120 - 122 мм, контрольованої системою автоматики. Результати моделювання процесу осадки заготовки, зокрема температурне поле в перерізі заготовки, представлені на рис. 2.9.

Рисунок 2.7 - Розподіл температури в заготовці після транспортування від печі до пресу силою 20МН (час транспортування - 25с)

Рисунок 2.8 - Розподіл температури у заготовці після витримки заготовки на нижній плиті преса силою 20МН (час витримки - 5с)

Рисунок 2.9 - Розподіл температури у заготовці після осадки на пресі силою 20МН

Після вільної осадки заготовка подається на прес силою 50 МН для осадки в плаваючому технологічному кільці. На рисунках 2.10 і 2.11 наданий розподіл температури у заготовці після транспортування від преса 20МН до пресу 50 МН і витримці заготовки на нижній обтискний плиті преса зусиллям 50 МН. Тут слід зазначити, що перед пресом 50 МН заготовку, відповідно до технологічної інструкції, кантуют на 180° для вирівнювання температури з верхньої та нижньої сторін заготовки. При моделюванні цього не робили, тому що температура заготовки з верхньої та нижньої її сторін перед пресом 50 МН практично не відрізнялися, що пов'язано з однаковими умовами охолодження всіх сторін заготовки, що задаються при розрахунках. В умовах реального виробництва нижній торець заготовки охолоджується сильніше, що пов'язано з його контактом з роликами рольганга при транспортуванні заготовки, а також з витримкою на пресі 20 МН. Змоделювати реальні умови теплообміну на нижньому торці заготовки за рахунок поперемінного охолодження на повітрі і контакту з роликами рольгангу дуже складно. Тому при розрахунках було введено допущення про рівномірність умов охолодження верхнього та нижнього торців заготовки при її транспортуванні по рольгангу.

Рисунок 2.10 - Розподіл температури у заготовці після транспортування від преса силою 20МН до пресу силою 50 МН (час транспортування - 8 с)

Рисунок 2.11 - Розподіл температури у заготовці після витримки заготовки на нижній плиті преса силою 50МН (час витримки - 7с)

Після укладання заготовки на обтискну плиту виконують центровку технологічного кільця по осі преса і виконують опускання траверси преса до входження в контакт конусної плити із заготовкою. Глибина впровадження конусної плити при розрахунках дорівнювала 38 мм. Розподіл температури у заготовці після її розгонки на пресі силою 50 МН представлений на рис. 2.12.

Рисунок 2.12 - Розподіл температури у заготовці після розгонки на пресі силою 50 МН

Після операції розгонки заготовка подається на формувальний прес силою 100 МН. На рисунках 2.13 і 2.14 представлено розподіл температури у заготовці після транспортування від преса 50 МН до пресу 100 МН.

Опусканням траверси преса з верхнім формувальним штампом здійсню-ють остаточну формовку маточини з прилеглою частиною диска і попередню (для подальшої прокатки) обода з прилеглою частиною диска. Розподіл температури у заготовці після її формування в штампах на пресі силою 100 МН представлений на рис. 2.15.

Рисунок 2.13 - Розподіл температури в заготовці після її транспортування від преса силою 50 МН до пресу силою 100 МН (20с)

Рисунок 2.14 - Розподіл температури в заготовці після її витримки на нижній плиті преса силою 100МН (чася витримки - 8,5 с)

Рисунок 2.15 - Розподіл температури після формування на пресі силою 100 МН

На рис. 2.16 показана картина формозміни металу в останній момент формування заготовки в штампах за існуючою технологією.

Рисунок 2.16 - Заповнення порожнин формувальних штампів металом

З рис. 2.16 видно, що периферійна порожнина штампів, що формує верхній торець обода під прокатку, заповнюється металом не повністю і нерівномірно (рис. 2.17). Причина такої нерівномірності - велика висота периферійної порожнини і напрямок сил тертя на контакті заготовки з формувальним кільцем, що перешкоджають течії металу в напрямку верхніх глухих кутів штампа. Внаслідок цього відформовані заготовки мають верхній торець обода у вигляді купола з нестабільними розмірами по периметру, зумовленими неточною центровкой заготовок щодо інструмента деформації, як на етапі розгонки, так і перед формуванням у штампах.

Рисунок 2.17 - Поверхні контакту металу з верхнім формувальним штампом

Відсутність плоского верхнього торця обода разом з нестабільністю розмірів обода надходячих до прокатного стану заготовок є причиною пробуксовок приводних похилих валків і нерівномірного розширення металу по периметру заготовки на початковій стадії прокатки - осадки обода похилими валками та зіткнення похилих валків з поверхнею відштампованої частини диска рис. 2.18 - 2.19.

залізничний колесо виробництво штампування

Рисунок 2.18 - Початковий момент осадки обода по ширині похилими валками

Рисунок 2.19 - Останній момент осадки обода по ширині - зіткнення похилих валків з поверхнею відштампованої частини диска

На рис. 2.18 - 2.19 прийняті наступні позначення: 1-заготовка колеса перед прокаткою, 2 - верхній похилий валок, 3 - нижній похилий валок, 4 - натискний валок, 5 - корінний валок; 6 - заготовка колеса в кінці операції осадки обода по ширині.

Висновки

. Встановлено вплив основних параметрів кінцево-елементних моделей, а також способів завдання крайових умов на точність розрахунку формозміни металу і сил при штампуванні та прокатці заготовок коліс. Показано, що вносимі при створенні моделей спрощення поставленої задачі можуть призводити до істотних спотворень результатів розрахунку, роблячи їх малопридатними для практичного використання при аналізі технологій деформування заготовок залізничних коліс.

. Виконані для колісної марки сталі розрахунки дозволили установити, що якщо не враховувати знеміцнення металу в результаті динамічної рекристалізації, наприклад шляхом використання методик Л.В. Андреюк або В.І. Зюзіна, то значення при температурі 1000 - 1250°С і ступені деформації 0,5-0,8 буде завищено в середньому на 10-25%, залежно від величини швидкості деформації. При екстраполяції значень в напрямку підвищення ступеня деформації вищевказана величина завищення також буде збільшуватися. При моделюванні це призводить до суттєвого перевищення розрахункової сили деформування над експериментально зафіксованою її величиною в умовах дослідно-промислового виробництва коліс. Причому, це в тому випадку, коли в якості вихідних даних задаються швидкості або переміщення інструменту деформації. Коли ж в якості вихідних даних задають закон зміни сил, що діють на заготовку з боку інструменту деформації, то результати розрахунку покажуть кінцеве формозмінення заготовки, що не відповідає даним експериментальних вимірів заготовок. Причина такої невідповідності - досягнута при моделюванні межа по силі деформування. Наприклад, при моделюванні процесу штампування заготовки під прокатку буде мати місце незадовільне заповнення порожнин формувальних штампів при товщині диска у маточині більше потрібної.

. Виконано дослідження впливу розміру використовуваних елементів сітки у поверхневих шарах заготовки. Встановлено, що елементи з розміром ребра більше 5 мм не можуть якісно описати контур перерізу заготовки колеса, особливо на останніх стадіях її формоутворення. Використання великої кінцево-елементної сітки крім незадовільного опису формозміни окремих елементів заготовки приводить до зміни об’єму заготовки, як в цілому, так і по окремих її елементах. Виконані розрахунки показали, що якщо на кожному етапі моделювання окремо взятої операції деформування (яких може бути більше трьох) нехтувати зазначеними вище коливаннями об’єму, то на завершальній стадії формоутворення маса заготовки колеса може змінитися більш ніж на 5 кг. Отримані в цьому випадку результати моделювання будуть малопридатні для аналізу формозміни металу при штампуванні точних за масою заготовок.

. Встановлено, що при моделюванні операцій штампування завдання деякої середньої швидкості руху інструменту деформації (як правило, завищеної наприклад, 60 мм/с) призводить до зростання деформованого металу і, як наслідок, до підвищення сили штампування (на 3 - 5%). Також було встановлено, що найбільш точного опису швидкісних параметрів штампування можна добитися шляхом завдання крайових умов задачі на основі експериментальної інформації про зміну тиску робочої рідини в гідроциліндрах робочого ходу траверс або на основі відомих розрахункових даних цих пресів, з урахуванням особливостей їх гідросистеми, що впливає на час розгону траверс і швидкість установленого руху.

. На основі методу кінцевих елементів виконана постановка і реалізація задачі математичного моделювання процесів осадки, розгонки, формування в штампах заготовок коліс за існуючою в колесопрокатний цехах ВАТ «Інтерпайп - НТЗ» і ВАТ «ВМЗ» технологією. При цьому був передбачений розрахунок теплообміну оброблюваного металу з навколишнім середовищем, як при деформації, так і під час междеформаціонних пауз, а також з урахуванням теплового ефекту пластичної деформації. Отримані на основі даного підходу результати моделювання в цілому правильно відображають основні закономірності аналізованих процесів, в частині формозміни металу, температури заготовок за технологічними переходами і силових параметрів, встановлених на основі експериментальної інформації, отриманої в умовах промислового виробництва коліс.

. Результати математичного моделювання показали, що периферійна порожнина штампів на пресі силою 100 МН, формуюча верхній торець обода під прокатку, заповнюється металом не повністю і нерівномірно. Внаслідок цього відформовані заготовки мають верхній торець обода у вигляді купола з нестабільними розмірами по периметру, що є причиною пробуксовок приводних похилих валків і нерівномірного розширення металу по периметру заготовки на початковій стадії прокатки заготовки в колесопрокатному стані.

3. УДОСКОНАЛЕННЯ СПОСОБУ ШТАМПУВАННЯ ЗАГОТОВОК КОЛІС

Результати досліджень, представлені в розділах 1 і 2, дозволяють зробити висновок про те, що при виробництві штамповано-катаних залізничних коліс визначальний вплив на стабільність процесу прокатки і розміри прокатаних заготовок надає не тільки режим обтиснень на КПС і калібрування інструмента деформації, а й реальні геометричні параметри обода заготовки після її формування в штампах преса зусиллям 100 МН, і головним чином коливання цих параметрів. Тому наступним етапом цієї роботи була розробка способу штампування заготовок коліс, що дозволяє з одного боку, стабілізувати розміри заготовок на пресах за рахунок підвищення точності їх центрування, а з іншого - створити умови формовки заготовок в штампах, що забезпечують гарантоване заповнення глухих кутів верхнього штампа, формують обід з зовнішнього боку колеса.

3.1 Розробка нового способу штампування заготовок коліс із ободом, диском і маточиною

В основу вдосконалення способу виробництва заготовок залізничних коліс із ободом, диском і маточиною, в якому шляхом зсуву заготовки технологічним кільцем, її вигину з наступним формуванням похилих поверхонь на верхній і нижній сторонах периферійної частини заготовки на стадії розгонки досягається підвищення стабільності розмірів заготовок після формування в штампах і усунення куполоподібності ободу із зовнішньої сторони колеса за рахунок забезпечення точності центрування заготовок при розгонці й реалізації примусового плину металу в кути периферійної порожнини формувальних штампів. Це дозволить зменшити допуски на штампування й прокатку заготовок, зменшити кількість браку на прокаті, і, як наслідок, знизити металоємність виробництва штамповано-катаних коліс.

Схеми деформування заготовок на заготовочному та формувальному пресах за пропонованим способом наведені на рис. 3.1-3.2.

Рисунок 3.1 - Схеми деформування заготовок на заготовочному пресі за пропонованим способом: а - початковий етап зрушення заготовки верхнім технологічним кільцем; б - заключний момент центрування заготовки верхнім технологічним кільцем; в - проміжний етап розгонки, що характеризується згинанням заготовки й плином металу з її центральної частини в периферійну; г - заключний етап розгонки, що характеризується формуванням похилих поверхонь на верхній і нижній сторонах периферійної частини заготовки.

На рис. 3.1-3.2 прийняті наступні позначення: 1 - заготовка; 2 - нижня конусна плита; 3 - верхнє технологічне кільце; 4 - верхня фасонна плита; 5 - заготовка на проміжній стадії розгонки; 6 - заготовка після розгонки; 7 - верхній формувальний штамп; 8 - нижній формувальний штамп; 9 - заготовка на проміжній стадії формування в штампах; 10 - заготовка колеса з ободом, диском і маточиною після формування в штампах; 11 - витиснення маточини.

Рисунок 3.2 - Схеми деформування заготовок на формувальному пресі за пропонованим способом: а - початковий момент формування заготовки з ободом диском і маточиною у формувальних штампах; б - проміжний етап формування, що характеризується осьовим обтиском заготовки в зоні обода; в - заключний момент формування заготовки з ободом диском і маточиною у формувальних штампах.

Реалізація пропонованого способу полягає в наступному.

Заготовку 1, отриману вільною осадкою у технологічному кільці, або іншим способом, нагріту до температури гарячої пластичної деформації, подають на нижню конусну плиту 2 преса. На наступному етапі виконують опускання траверси до зіткнення якої-небудь частини бічної поверхні заготовки 1 з технологічним кільцем 3. Потім, у процесі опускання траверси преса, заготовку 1, довільно покладену на нижню плиту 2, зрушують верхнім технологічним кільцем 3 до збігу осі заготовки з віссю преса (інструмента деформації преса).

Після суміщення осей заготовки 1 і преса й утворення контакту технологічного кільця з усією бічною поверхнею заготовки (фіг. 2) виконують її вигин з наступним плином металу із центральної частини заготовки 5 у периферійну (фіг. 3) і формуванням похилих поверхонь на верхній і нижній сторонах периферійної частини заготовки 6 (фіг. 4).

Реалізацією зрушення заготовки технологічним кільцем забезпечують точне центрування заготовки на етапі розгонки й, як наслідок, рівномірне виконання елементів профілю заготовки по периметру. У такий спосіб виключають одержання асиметричних заготовок коліс при розгонці.

Виконання при розгонці вигину заготовки з наступним формуванням похилих поверхонь на верхній і нижній сторонах периферійної частини заготовки досягають на етапі формування реалізації процесу змушеного плину металу в кути формувальних штампів у зоні обода. Рекомендований кут нахилу утворених поверхонь у периферійній частині заготовки до горизонталі, з точки зору уникнення штампувальних дефектів, становить 25 - 45º. Ця рекомендація стосується i до верхньої, і до нижньої сторін заготовки.

Доцільно, але не обов'язково, на етапі розгонки виконувати формування частини маточини з верхньої сторони заготовки, як це показано на фіг. 3 і фіг. 4. Це дозволяє вже на етапі формування виконувати точне центрування заготовки 6 у нижньому штампі по конічній зовнішній поверхні попередньо підготовленої маточини (фіг. 5). Якщо при розгонці відсутнє формування частини маточини, то замість верхньої фасонної плити 4 (фіг. 1 - 4) використовують обтискну плиту.

Після виконання операції розгонки отриману заготовку 6 кантують на 180º і передають для наступного формування заготовки 10 з ободом, диском і маточиною у формувальних штампах 7 і 8. При цьому на проміжній стадії формування за пропонованим способом створюються умови заповнення периферійної порожнини штампів, при яких має місце осьове обтиснення заготовки в зоні обода (фіг. 6) при припустимій на більшості формувальних пресів силі штампування (до 90 МН). Ці умови реалізуються за рахунок подачі у формувальні штампи заготовки 6 з похилими поверхнями на верхній і нижній сторонах її периферійної частини, профіль якої зігнуто у напрямку верхнього штампа 7. При цьому має місце захід металу в периферійну порожнину верхнього штампа 7 ще до початку обтиску заготовки 6. Крім того, з боку нижнього штампа 8 створюється підпір периферійної частини заготовки, що сприяє плину металу в глухі кути вищевказаної порожнини верхнього штампа протягом усього процесу формування. Така схема деформування дозволяє домогтися гарантованого заповнення металом усіх кутів периферійної порожнини формувальних штампів з утворенням плоских торцевих поверхонь обода (фіг. 7).

У процесі формування в заготовці крім обода диска й маточини також формують витиснення 11 маточини, яке видаляють після прокатки й вигину диска заготовки. Формування витиснення і його видалення за пропонованим способом може також виконуватися до розгонки, наприкінці розгонки або наприкінці операції формування заготовки в штампах.

Застосування пропонованого способу виробництва заготовок залізничних коліс із ободом, диском і маточиною дозволить зменшити кількість браку на прокаті, пов'язаного з асиметрією заготовок на пресах і незадовільним заповненням металом формувальних штампів у зоні обода.

3.2 Аналіз формозміни металу та силових параметрів процесу штампування заготовок за новим способом

На рис. 3.3 - 3.4 наведені результати математичного моделювання процесів штампування заготовок коліс на пресах силою 50 МН (рис. 3.3) та силою 100 МН (рис. 3.3) за способом, що пропонується. Як видно з графіків сили, необхідні для деформування заготовок на обох пресах не перевищують припустимі.

Рисунок 3.3 - Формозміна металу та графік сили при штампуванні заготовок коліс на пресі силою 50 МН

Крім того, на пресі силою 100 МН є запас по силі за рахунок реалізації вільного заповнення центральної порожнини формувальних штампів, що формує маточину. При цьому розміри маточини відповідають існуючій калібровці (середня її висота дорівнює 208 мм).

Рисунок 3.4 - Формозміна металу та графік сили при формовці заготовок коліс в штампах за новим способом

Аналіз заповнення периферійної порожнини формувальних штампів (рис. 3.4, 3.5) показує що за інших рівних умов ступінь заповнення глухих кутів штампів за пропонованим способом значно краще, ніж за існуючим способом (див. рис. 2.17), за рахунок чого форма верхнього торця обода заготовки після штампування наближається до плоскої.

Рисунок 3.5 - Поверхні контакту заготовки з верхнім формувальним штампом за новим способом

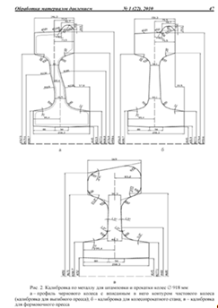
3.3 Приклад реалізації пропонованого способу штампування заготовок коліс на пресово-прокатних лініях ВАТ «Інтерпайп-нтз» і ВАТ «ВМЗ»

Реалізацію пропонованого способу виробництва заготовок залізничних коліс із ободом, диском і маточиною, покажемо на прикладі виготовлення заготовок Æ830 мм для чорнових коліс із плоскоконiчним диском Æ957 мм на пресово-прокатних лініях ВАТ “Iнтерпайп - НТЗ" і ВАТ "Виксунський металургійний завод". Склад основного технологічного обладнання даних ліній і застосовувана технологія деформування заготовок ідентичні. Колеса Æ957 мм складають основу проектних сортаментів указаних вище пресово-прокатних ліній.

Вихідні заготовки масою 485 кг, отримані шляхом різки злитка діаметром 500 мм, нагрівають у кільцевій печі до температури 1220 - 1260°С. Видалення окалини з торцевих поверхонь заготовок здійснюють у камері гiдрозбиву окалини. Вільну осадку заготовок до висоти ~ 120 - 122 мм проводять обтискними плитами на пресі силою 20 МН. Перед заготовочним пресом силою 50 МН заготовку кантують на 180°.

Після подачі заготовки на нижню конусну плиту преса виконують опускання траверси до зіткнення верхнього технологічного кільця із заготовкою. Діаметр технологічного кільця в його основі прийнятий рівним Æ762 мм, величина технологічного уклону кільця - 14°. Спочатку зіткнення технологічного кільця із заготовкою відбувається не по всій її бічній поверхні, тому що має місце децентрування при довільному укладанні заготовки на нижню плиту. Потім, у процесі опускання траверси, виконують зсув заготовки технологічним кільцем до збігу осі заготовки з віссю преса. Після виконання точного центрування заготовки, подальшим опусканням траверси виконують вигин заготовки з наступним формуванням похилих поверхонь на верхній і нижній сторонах периферійної її частини. Висота заготовки після розгонки в області витиснення маточини становить 61 мм. Кут, утворений похилою поверхнею на нижній стороні периферійної частини заготовки з горизонталлю, рівний 28°.

У процесі розгонки виконують формування частини маточини з верхньої сторони заготовки. Висота заготовки в зоні маточини дорівнює 105 мм.

Після операції розгонки заготовку кантують на 180° і подають на нижній штамп формувального преса силою 100 МН, де її центрують у нижньому штампі по зовнішній конічній поверхні попередньо сформованої маточини. Потім опусканням траверси виконують формування заготовки з ободом диском і маточиною. Геометричні параметри формувальних штампів, використовувані для деформування заготовок по пропонованому способу, відповідають використовуваній на пресово-прокатних лініях ВАТ “Iнтерпайп - НТЗ" і ВАТ “Виксунський металургійний завод" калібровцi інструмента деформації формувального преса. Так, після операції формування, висота заготовки в зоні маточини дорівнює 210 мм, середня товщина диска - 25 мм, висота заготовки в зоні обода - 176 мм.

Після виконання формування траверсу піднімають у початкове положення, а відштамповану заготовку за допомогою виштовхувачей видаляють зі штампів і переміщають перекладувачем на рольганг, по якому вона транспортується до колесопрокатного стану.

Висновки

. Вдосконалено спосіб виробництва заготовок залізничних коліс із ободом, диском і маточиною, в якому шляхом зсуву заготовки технологічним кільцем, її вигину з наступним формуванням похилих поверхонь на верхній і нижній сторонах периферійної частини заготовки на стадії розгонки досягається підвищення стабільності розмірів заготовок після формування в штампах і усунення куполоподібності ободу із зовнішньої сторони колеса за рахунок забезпечення точності центрування заготовок при розгонці й реалізації примусового плину металу в кути периферійної порожнини формувальних штампів.

. Визначено умови формування заготовок в штампах, що забезпечують гарантоване заповнення глухих кутів верхнього штампа, формують обід з зовнішнього боку колеса. Виконано аналіз формозміни металу і силових параметрів штампування заготовок у формувальних штампах за новим способом. Показано, що при допустимій на більшості формувальних пресів силі (62,4 МН) метал заповнює глухі кути центральної периферійної порожнини формувальних штампів з отриманням відбитку на торці обода від верхнього штампа.

. Виконаний аналіз і представлений приклад практичної реалізації пропонованого способу в умовах промислового виробництва коліс на пресовопрокатних лініях ВАТ "Iнтерпайп - НТЗ" і ВАТ "Виксунський металургійний завод". Показано, що застосування пропонованого способу виробництва заготовок залізничних коліс із ободом, диском і маточиною дозволить зменшити кількість браку при прокатці, пов'язаного з асиметрією заготовок на пресах і незадовільним заповненням металом формувальних штампів у зоні обода. Це дозволить зменшити допуски на штампування й прокатку заготовок, зменшити кількість браку при прокатці, і, як наслідок, знизити металоємність виробництва штамповано-катаних коліс.

4. БЕЗПЕКА РЕАЛIЗАЦIЇ ЗАПРОПОНОВАНИХ ЗАХОДІВ У ВИРОБНИЧИХ УМОВАХ

В ході дипломної роботи були виконані теоретичні дослідження процесу штампування колісних заготовок (розділ 2.2). Для виконання теоретичних досліджень була розроблена математична модель з використанням комп'ютерного моделювання процесу, що вивчається. Тому колесопрокатний цех має бути обладнаний сучасним комп’ютерним устаткуванням. При виконанні розрахунків під час комп'ютерного моделювання необхідно дотримуватися правил охорони праці відповідно до НПАОП 0.00-1.31-99.

Комп'ютер, як і будь-який інший електронний прилад, має ряд небезпечних факторів. Такими факторами є електронебезпечність, пожежонебезпека, електромагнітне випромінювання й інші. Для зниження чи запобігання впливу небезпечних і шкідливих факторів необхідно дотримувати: санітарні правила і норми, гігієнічні вимоги до персональних комп'ютерів і організації роботи.

Час роботи за комп'ютером передбачається в межах 1,5-2 годин з періодичними 10-20хв перервами. Монітор комп'ютера, як основне джерело випромінювання, необхідно розташувати не менше ніж у 40-50 см від очей працюючого, оптимальним буде відстань в 1 м. При такій відстані шкідливі впливи електромагнітних хвиль знижуються. Робоче місце має бути зручним, сидіння працюючого необхідно розташовувати так, щоб голова користувача персонального комп'ютера знаходилась ледве вище, ніж монітор. Основним обладнанням робочого місця користувача комп'ютером є: клавіатура, робочий стіл, стілець (крісло), пюпітр, підставка для ніг, шафи, полки й ін. Площа приміщення на одне робоче місце повинна бути 6 м², об'єм - 20 м³, з урахуванням максимального числа працюючих. Щодо вікон робоче місце доцільно розміщати таким чином, щоб природнє світло падало на нього збоку, переважно ліворуч.

Рівні шуму на робочих містах з відеотерміналами й ЕОМ, визначені ДСН 3.3.6-037-99. Для забезпечення нормованих рівнів шуму у виробничих приміщеннях і на робочих місцях застосовуються шумопоглинальні засоби, вибір яких ґрунтується спеціальними інженерно-акустичними розрахунками. Як засіб шумопоглинання застосовують негорючі або важкогорючі спеціальні перфоровані плити, панелі, мінеральна вата з максимальним коефіцієнтом звукопоглинання в межах частот 31,5 - 8000 Гц, або інші матеріали аналогічного призначення, дозволені для обробки приміщень органами державного санітарно-епідеміологічного нагляду. Крім того, необхідно застосовувати підвісні стелі з аналогічними властивостями.

Рівні електромагнітного випромінювання й магнітних полів повинні відповідати вимогам ГОСТ 12.1.006-84(1999) "ССБТ. Электромагнитные поля радиочастот. Допустимые уровни на рабочих местах и требования к проведению контроля", ДсанПіН № 239-96 "Державні санітарні норми і правила захисту населення від впливу електромагнітних випромінювань". Рівні інфрачервоного випромінювання не повинні перевищувати граничних відповідно до ГОСТ 12.4.123-83 і ДСН № 3.3.6.042-99 з урахуванням площі тіла, що опромінюється. Рівні ультрафіолетового випромінювання не повинні перевищувати припустимих відповідно до СН № 4557-88(ДНАОП 0.03-3.17-88) "Санитарные нормы ультрафиолетового излучения в производственных условиях". Гранично припустима напруженість статичного поля на робочих місцях не повинна перевищувати рівнів, наведених у ГОСТ 12.1.045-84(2001) "ССБТ Электростатические поля. Допустимые уровни на рабочих местах и требования к проведению контроля". Потужність експозиційної дози рентгенівського випромінювання на відстані 0,05 м від екрана й корпуса відеотермінала при будь-яких положеннях регулюючих обладнань відповідно до Норм радіаційної безпеки України (НРБУ), затвердженими постановою державного санітарного лікаря Міністерства охорони здоров'я України від 12.07.2000 №116, не повинна перевищувати 7,74 • 10 у степ. -12 А/кг, відповідного до еквівалентної дози 0,1 мБер/година, (100 мкр/година). Відповідно до ГОСТ 12.1.005-88 вміст озону в повітрі робочої зони не повинне перевищувати 0,1 мг/м³; зміст оксидів азоту - 5 мг/ куб. м; зміст пилу - 4 мг/куб. м. При використанні одним працівником декількох відеотерміналів або персональних ЕОМ санітарно-гігієнічні параметри виробничого середовища на робочому місці користувача повинні відповідати указаним вище вимогам.

Приміщення, де передбачається тривала робота за комп'ютером, повинне бути добре освітлено, щоб не напружувати зір. Відповідно до гігієнічних норм освітлення на поверхні столу і клавіатурі бажано щоб було не менш 300 люкс, а вертикальна освітленість екрана 100-250 люкс. Як джерела висвітлення рекомендується застосовувати люмінесцентні лампи типу ЛБ зі світильниками серії ЛПО36. Обов'язковим параметром такого приміщення є вентиляція. Необхідність постійної циркуляції повітря дуже важлива. У приміщеннях, яких знаходиться такі пристрої як сканер, лазерний принтер, факс, копіювальний пристрій, вентиляція просто обов’язкова. Іонізоване повітря, виходить у процесі роботи цих пристроїв украй шкідливе для здоров’я людини. При постійному поглинанні іонізованого повітря людина почуває утому, нездужання і сонливість. Розташування таких пристроїв у приміщенні повинне бути строго погоджене з правилами пожежної безпеки.

Користуванні засобами обчислювальної техніки і периферійним устаткуванням кожен працівник має уважно й обережно звертатися з електропроводкою. При виникненні пожежонебезпечної ситуації чи пожежі персонал має вжити заходів для його ліквідації, одночасно сповісти про пожежу адміністрацію. При виявленні ознак горіння (дим, запах гару) треба відключити апаратуру, знайти джерело займання і вжити заходів для його ліквідації, повідомити керівника робіт. У разі виникнення пожежі необхідно вжити заходів для евакуації людей і приступити до гасіння первинними засобами пожежогасіння (вуглекислотний вогнегасник, азбестову або вовняну ковдру). Якщо не вдається локалізувати вогнище загоряння, потрібно повідомити за телефоном 01 у пожежну частину. Приміщення з електроустаткуванням повинні бути оснащені вогнегасниками типу ВВК-2 чи ВВК-3.

Таким чином, запропоновані вище заходи дозволять уникнути життєво небезпечних ситуацій на виробництві, а також суттєво поліпшити загальні умови праці на робочих місцях підприємства.

5. ТЕХНІКО-ЕКОНОМІЧНА ЕФЕКТИВНІСТЬ РОБОТИ

Оцінка очікуваного економічного ефекту виконана стосовно до умов виробництва залізничних коліс Ø957 мм в колесопрокатному цеху ВАТ «ВМЗ».

Практична реалізація запропонованого в роботі способу штампування заготовок коліс дозволить підвищити точність центрування заготовок на пресах силою 50 МН і 100 МН, а також знизити овальність заготовок при прокатці, яка з'являється при завданні до стану заготовок з різноширінністю обода, пов'язаної з неточністю центрування заготовок і незадовільним заповненням глухих кутів периферійної порожнини штампів. Таким чином, запропонований спосіб дозволить знизити відсоток браку коліс по дефекту «косина маточини», який проявляється після операції вигінання диска на пресі силою 35 МН. Цей дефект з'являється в результаті надходження на прес заготовок зі значним зміщенням осі маточини і підвищеним ексцентриситетом обода щодо маточини в прокатаних заготовках [40]. При вигинанні диска таких заготовок відбувається підминання торця маточини - непереборний дефект навіть при механічній обробці. Відбраковані колеса продають за ціною металобрухту (Цмб = 7500 руб.). Ціна придатних коліс (Колеса для вагонів залізничних 957/175 ГОСТ 10791-2004) виробництва ВАТ «ВМЗ» прийнята 19172 руб. Курс рубля Російської Федерації прийнято за даними НБУ на 19.12.2010 - 0,25967.

Плановане зниження браку по дефекту «косина маточини» - 50%. Розрахунок виконаний на основі даних, представлених у таблиці 5.1.

Очікуваний річний економічний ефект розрахований за формулою

 тис. грн.

Найменування показників

Позначення

Значення показників

Річний обсяг виробництва коліс, (шт.)

500000


Зниження відсотка браку по дефекту «косина маточини», (%)

0,035


Витрати на модернізацію (монтаж кантувача колісної заготовки перед пресом 100МН), тис. грн.

Зм

100

Вартість втрат від браку, тис. грн/шт

3,03



Очікуваний річний економічний ефект отримано за рахунок зниження відсотка браку по дефекту профілю «косина маточини».

Строк окупності проекту:

року.

ВИСНОВКИ

. Встановлено вплив основних параметрів кінцево-елементних моделей, а також способів завдання крайових умов на точність розрахунку формозміни металу і сил при штампуванні заготовок коліс. Показано, що вносимі при створенні моделей спрощення поставленої задачі можуть призводити до істотних спотворень результатів розрахунку, роблячи їх малопридатними для практичного використання при аналізі технологій деформування заготовок залізничних коліс.

. Результати математичного моделювання штампування заготовок за існуючою технологією показали, що периферійна порожнина штампів на пресі 100 МН, формуюча верхній торець обода під прокатку, заповнюється металом не повністю і нерівномірно. Внаслідок цього відформовані заготовки мають верхній торець обода у вигляді купола з нестабільними розмірами по периметру, що є причиною пробуксовок приводних похилих валків і нерівномірного розширення металу по периметру заготовки на початковій стадії прокатки заготовки в колесопрокатному стані.

. Вдосконалено спосіб виробництва заготовок коліс, в якому шляхом зсуву заготовки технологічним кільцем, її вигину з наступним формуванням похилих поверхонь на верхній і нижній сторонах периферійної частини заготовки на стадії розгону досягається підвищення стабільності розмірів заготовок після формування в штампах і усунення куполоподібності ободу із зовнішньої сторони колеса за рахунок забезпечення точності центрування заготовок при розгонці й реалізації примусового плину металу в кути периферійної порожнини формувальних штампів. Виконано аналіз формозміни металу і силових параметрів штампування заготовок у формувальних штампах за новим способом. Показано, що при допустимій на більшості формувальних пресів силі (62,4МН) метал заповнює глухі кути центральної периферійної порожнини формувальних штампів з отриманням відбитку на торці обода від верхнього штампа.

. Практична реалізація запропонованих науково - технічних заходів щодо вдосконалення технології виробництва заготовок коліс зажадає капіталовкладень у розмірі 100 тис. грн. Очікуваний ефект отриманий за рахунок зниження відсотка браку коліс за дефектом «косина маточини» рівний 350,25 тис. грн. Термін окупності проекту 0,3 року.

ПЕРЕЛІК ПОСИЛАНЬ

1. ОАО «Нижнеднепровский трубопрокатный завод» в свете современных мировых тенденций развития производства железнодорожных колес / А.И. Козловский, В.П. Есаулов, А.В. Шрамко, Л.В. Голубева // Металлургическая и горнорудная промышленность. - 2004. - № 1. - С. 8-13.

. Яковченко, А.В. Пути снижения расхода металла при производстве цельнокатаных колес / А.В. Яковченко, Б.А. Перков, Д.В. Корж и др. // Металлургическая и горнорудная промышленность. - 2002. - № 4. - С. 42-44.

. Современное оборудование и способы порезки слитков на отдельные заготовки железнодорожных колес и бандажей / Е.И. Шифрин, А.В. Шрамко, В.Л. Мережко, Л.В. Голубева // Металлургическая и горнорудная промышленность. - 2004. - № 1. - С. 48-52.

. Анализ течения метала и причин образования поверхностных дефектов при многопереходной штамповке полнопрофильных заготовок железнодорожных колес / Ю.С. Пройдак, Х. Дыя, В.Н. Данченко, А.В. Шрамко, А.В. Ашкелянец // ХI Miedzynarodova konferencja naukowa “Nove technologie i osiagniecia w metalurgii i inzynierii materialowej”, 17 - 18 May 2010, Poland, Czestochowa: Politechnika Czestochowska, 2010. - Nr. 2. - p.8 - 21.

. Яковченко А.В. Экспериментально-теоретический метод компьютерного проектирования калибровок для прокатки железнодорожных колес / А.В. Яковченко, А.В. Луговой, Н.И. Ивлева // Металл и литье Украины. - 2004. - № 1-2. - С. 59-63.

. Яковченко, А.В. Метод автоматизированного проектирования штампованно-катаных колес для разработки технологии их производства / А.В. Яковченко, Н.И. Ивлева, А.В. Луговой // Удосконалення процесів і обладнання обробки тиском в металургії і машинобудуванні: Тематич. зб. наук. пр. - Краматорськ, 2002. - С. 485-490.

. Яковченко А.В. Проектирование процессов горячей пластической деформации металла при производстве штампованно-катаных колес большого диаметра / А.В. Яковченко, Б.А. Перков, И.И. Харина и др. // Сучасні проблеми металургії. Наукові вісті. Том 5. Пластична деформація металів. - Дніпропетровськ: “Системні технології”, 2002. - С. 267-269.

. Физическое моделирование многоступенчатой деформации стали в процессе прокатки заготовок железнодорожных колес / А.А. Миленин, А.Г. Ступка, В.А. Гринкевич, В.Н. Данченко // Металлургическая и горнорудная промышленность. - 2005. - № 2. - С. 37-40.

. Гринкевич, В.А. Компьютерное моделирование деформации железнодорожных колес без диска / В.А. Гринкевич, А.Г. Палиенко, А.Г. Ступка и др. // Металлургическая и горнорудная промышленность. - 2005. - № 5. - С. 33-36.

. Гринкевич В.А. Компьютерное моделирование процессов штамповки железнодорожных колес малого диаметра / В.А. Гринкевич, В.Н. Данченко, А.А. Миленин и др. // Металл и литье Украины. - 2004. - № 12. - С. 44-46.

. Исследование течения металла при формовке железнодорожных колес / А.В. Шрамко, В.А. Афанасьев, А.Г. Ступка, Д.В. Сорокин колес // Удосконалення процесів і обладнання обробки тиском в металургії і машинобудуванні: Тематич. зб. наук. пр. - Краматорськ, 2006. - С. 307-311.

. Миленин А.А. Совершенствование технологии штамповки заготовок железнодорожных колес с помощью математической модели / А.А. Миленин, В.Н. Данченко, А.В. Шрамко и др. // Металлургическая и горнорудная промышленность. - 2005. - № 6. - С. 33-37.

. Дерябин, А.А. Ужесточение требований к качеству железнодорожных колес в проекте нового межгосударственного стандарта и меры по их обеспечению на НТМК / А.А. Дерябин, А.В. Кушнарев, В.А. Рабовский и др. // Сталь. - 2004. № 5. - С. 93-94.

. Баранов И.В. Реконструкция колесопрокатного цеха Нижнетагильского металлургического комбината / И.В. Баранов, М.А. Карасев, В.Ф. Писцов // Кузнечно-штамповочное производство. - 2001. - № 5. - С. 45-47.

. Копперс У. Производство железнодорожных колес на высоком техническом уровне / У. Копперс, М. Кунц, М. Линденблатт // Черные металлы. 2006. - № 3. - С. 75 - 79.

. Башилов Г.Н. Производство цельнокатаных железнодорожных колес / Г.Н. Башилов, В.П. Васильковский, Р.Я. Каневский // Пути оптимизации параметров машин: Сб. статей. - Свердловск: УНЦ АН СССР, 1984. - С. 39-52.

. Розенталь Ф.Е. Комплексный технологический процесс производства колес в условиях нового колесопрокатного цеха / Ф.Е. Розенталь, И.Г. Узлов, А.М. Токмаков и др. // Производство железнодорожных рельсов и колес: Темат. отрасл. сб. - Харьков: УкрНИИМЕТ, 1973. - С. 104-106.

. Шифрин М.Ю. Производство цельнокатаных колес и бандажей. / М.Ю. Шифрин, М.Я. Соломович - М.: Металлургиздат, 1954. - 425 с.

. Бибик Г.А. Производство железнодорожных колес / Г.А. Бибик, А.М. Иоффе, А.В. Праздников и др. - М.: Металлургия, 1982. - 232 с.

. Тубольцев Ю.Г. Тенденции развития колесопрокатного производства на ОАО НТЗ / Ю.Г. Тубольцев // Металлургическая и горнорудная промышленность. - 2002. - № 8-9. - С. 483-487.

. Шифрин М.Ю. О влиянии разновеса заготовок на размерные отклонения ступицы и диска колеса / М.Ю. Шифрин // Производство железнодорожных рельсов и колес: Отрасл. сб. научн. тр. - Харьков: УкрНИИМЕТ, 1979. - № 7. - С. 107-112.

. Шифрин М.Ю. Дефекты цельнокатаных колес / М.Ю. Шифрин. - М.: Металлургиздат, 1959. - 202 с.

. Кузовков А.Я. Опыт производства железнодорожных колес из непрерывнолитой заготовки / А.Я. Кузовков, Л.К. Федоров, А.А. Фетисов и др. // Сталь. - 1998. - № 6. - С. 12-14.

. А.с. 525496 СССР, МКИ В 21 Н 1/04. Способ изготовления заготовок для цельнокатаных колес / М.С. Валетов, И.С. Зархин, Ю.Г. Тубольцев и др. (СССР). - № 2080180/27; Заявл. 02.12.74; Опубл. 25.08.76, Бюл. № 31. - 4 с.

. А.с. 650704 СССР, МКИ В 21 Н 1/04. Способ изготовления заготовок для цельнокатаных колес / А.Т. Есаулов, А.Ф. Гринев, М.И. Староселецкий и др. (СССР). - № 2504184/25-27; Заявл. 04.07.77; Опубл. 05.03.79, Бюл. № 9. - 4 с.

. Влияние формы слитка на температурное состояние заготовок при производстве железнодорожных колес / В.А. Тюрин, А.Н. Исайкин, П.Л. Алексеев, А.С. Гриншпон // Сталь. - 2003. - № 11. - С. 50-52.

. Влияние температурно-деформационных параметров на уровень механических свойств колес, упрочненных с прокатного нагрева / В.А. Тарасова, А.И. Роньжин, А.А. Яндимиров, С.А. Королев // Сучасні проблеми металургії. Наукові вісті. Том 5. Пластична деформація металів. - Дніпропетровськ: “Системні технології”, 2002. - С. 320-326.

. Tarasova V.A. Temperature-deformation parameters influence on mechanical properties of wheels, quenched in as-rolled condition / V.A. Tarasova, A.I. Ronzhin, S.A. Korolev and others // Proceedings of “V International Scientific Conference for Middle and Eastern European Countries”. - Katowice, 2002.

. Совершенствование процессов обработки металлов давлением при производстве колес в условиях ОАО «Нижнеднепровский трубопрокатный завод» / В.А. Яровой, А.В. Белущенко, И.М. Иващенко, А.И. Донской // Сучасні проблеми металургії. Наукові вісті. Том 8. Пластична деформація металів. - Дніпропетровськ: “Системні технології”, 2005. - С. 557-560.

. Яковченко А.В. Совершенствование технологии штамповки колесных заготовок и железнодорожных колес / А.В. Яковченко, С.А. Снитко // Наукові праці ДонНТУ. Металургія. - Донецьк: ДонНТУ, 2005. - Вип. 102. - С. 97-104.

. Копыский Б.Д. Исследование качества цельноштампованных колес / Б.Д. Копыский, О.А. Ганаго, Ю.П. Кузько и др. // Новое в обработке металлов давлением. - М.: ВЗМИ, 1976. - Т. 46. - С. 45-55.

. Узлов И.Г. Структурное состояние колесной стали и уровень характеристик вязкости разрушения в цельнокатаных колесах / И.Г. Узлов, Л.А. Моисеева, А.И. Бабаченко и др. // Металлургическая и горнорудная промышленность. - 1999. - № 5. - С. 79-81.

. Опарина А.А. Опыт производства железнодорожных колес по стандарту UIC 812-3 / А.А. Опарина, А.А. Фетисов, В.В. Тимофеев и др. // Сталь. - 2002. - № 4. - С. 83-84.

. Баринова Г.П. Оптимизация неметаллических включений в железнодорожных колесах повышенной эксплуатационной стойкости / Г.П. Баринова, О.С. Калинина, А.А. Кононов и др. // Сталь. - 2003. - № 5. - С. 67-69.

. Узлов И.Г. Новые требования к чистоте транспортного металла по неметаллическим включениям / И.Г. Узлов, Л.А. Моисеева, А.А. Дерюгин // Металл и литье Украины. - 2003. - № 11 - 12. - С. 24-26.

. Узлов И.Г. Прогрессивные процессы производства и качество железнодорожных колес / И.Г. Узлов // Сталь. - 2003. - № 5. - С. 69-72.

. Филиппов Г.А. Современные тенденции развития металлопродукции для железнодорожного транспорта / Г.А. Филиппов, В.А. Синельников // Высокотехнологичное оборудование для металлургической промышленности: Сб. тр. междунар. научн.-практ. конф. - Москва: ВНИИметмаш, 2004. - С. 307-315.

. Яковченко А.В. Новые технологические схемы и калибровки для производства колес из точных и уменьшенных по массе заготовок / А.В. Яковченко, С.А. Снитко, Хасан Собхи // Ресурсозберігаючі технології виробництва та обробки тиском матеріалів у машинобудуванні: Зб. наук. пр. - Луганськ, 2005. - С. 100-107.

. Шифрин М.Ю. Рациональный режим осадки обода колесной заготовки / М.Ю. Шифрин // Сталь. - 1993. - № 5. - С. 52-54.

. Шифрин М.Ю. Резервы производительности и выхода годного при прокатке колес / М.Ю. Шифрин. - М.: Металлургия, 1989. - 144 с.

. Кушнарев А.В. Совершенствование технологии производства железнодорожных колес на основании математического моделирования процесса формоизменения металла при штамповке / А.В. Кушнарев, А.А. Богатов, А.А. Киричков // Современные технологии производства транспортного металла: материалы конференции «Трансмет - 2007». - Екатеринбург, 2007: УГТУ-УПИ, 2008. - С. 253-255.

. Яковченко А.В. Моделирование формоизменения металла и силы при штамповке колесных заготовок / А.В. Яковченко, С.А. Снитко, А.С. Волков и др. // Наукові праці ДонНТУ. Металургія. Випуск 102. - Донецьк, ДонНТУ, 2005. - С. 124 - 135.

. Голышков Р. Оптимизация технологических процессов колесопрокатного производства с помощью программного комплекса DEFORM / Р. Голышков, А. Латаев, А. Харламов // САПР и графика. - 2006.-№ 7.-С. 73-75.

. Голышков Р.А. Исследование процесса производства железнодорожных колес методом конечных элементов / Р.А. Голышков, Е.В. Галкин, А.А. Харламов // Металлургия машиностроения. - 2008. - № 3 - С. 21-25.

. Яковченко А.В. Проектирование профилей и калибровок железнодорожных колес / А.В. Яковченко, Н.И. Ивлева, Р.А. Голышков. - Донецк: Донецкий национальный технический университет, 2008. - 491с.

. Андреюк Л.В. Аналитическая зависимость сопротивления деформации сталей и сплавов от их химического состава / Л.В. Андреюк, Г.Г. Тюленев // Сталь. - 1972. - № 9. - С. 825-829.

. Андреюк Л.В. Аналитическая зависимость сопротивления деформации сталей и сплавов от их химического состава / Л.В. Андреюк, Г.Г. Тюленев, Б.С. Прицкер // Сталь. - 1972. - № 6. - С. 522-523.

. Третьяков А.В. Механические свойства металлов и сплавов при обработке давлением / А.В. Третьяков, В.И. Зюзин. - М.: Металлургия, 1973. - 224 с.

. Николаев В.А. Расчет истинного предела текучести при горячей деформации металла / В.А. Николаев // Металлургическая и горнорудная промышленность. - 1999. - № 1. - С. 26-28.

. Солод В.С. Математическое моделирование сопротивления деформации при горячей прокатке углеродистых сталей / В.С. Солод, Я.Е. Бейгельзимер, Р.Ю. Кулагин // Металл и литье Украины. 2006. - № 7-8. - С. 52 - 56.

. Medina S.F. General expression of the Zener-Hollomon parameter as a function of the chemical composition of low alloy and microalloyed steels / S.F. Medina, C.A. Hernandez // Acta Mater. - 1996. - Vol. 44. - No. 1. - P. 137-148.

. Medina S.F. Modeling austenite flow curves in low alloy and microalloyed steels / S.F. Medina, C. A. Hernandez, J.Ruiz // Acta Mater. - 1996. - Vol. 44. - No. 1. - P. 155-163.

. Medina S.F. Influence of chemical composition on peak strain of deformed austenite in low alloy and microalloyed steels / S.F. Medina, C.A. Hernandez // Acta Mater. - 1996. - Vol. 44. - No. 1. - P. 149-154.

. Миленин А.А. Разработка и внедрение модели формоизменения металла при горячей деформации для повышения механических свойств железнодорожных колес : отчет о НИР, рук. А.А.Миленин. - Днепропетровск: НМетАУ, 2005. - 85 с. - № ГР 0103U002286.

. Козловский А.И. Производство и качество железнодорожных колес / А.И. Козловский, И.Г. Узлов // Металлургическая и горнорудная промышленность. - 2001. - № 7. - С. 66-69.

. Sitarz M. Railway wheel sets certification / M. Sitarz, T. Wojdyla, K. Chrusik // Proceedings of “V International Scientific Conference for Middle and Eastern European Countries”. - Katowice, 2002.

. Снiтко С.О. Спосiб виготовлення колicних заготовок з ободом, диском i маточиною / С.О. Снiтко, О.В. Яковченко. - 2009.

. Узлов И.Г. Экспериментальное производство железнодорожных колес повышенной износостойкости / И.Г. Узлов, К.И. Узлов, А.И. Козловский и др. // Металлургическая и горнорудная промышленность. - 2004. - №1. - С. 44-47.

. Особенности деформирования железнодорожных колес с плоскоконическими и криволинейными дисками / А.Я. Кузовков, В.Г. Кривоногов, И.Л. Пашолок, Ю.П. Петренко // Сталь. - 2002. - № 3. - С. 84-87.

. Тубольцев Ю.Г. Совершенствование технологии и расширение сортамента производства железнодорожных колес в условиях колесопрокатного цеха / Ю.Г. Тубольцев, А.В. Белущенко, В.В. Ганжа и др. // Металлургическая и горнорудная промышленность. - 2001. - № 7. - С. 70-72.

. Уонг Х. Справочник. Основные формулы и данные по теплообмену для инженеров / Х. Уонг. - М.: Атомиздат, 1979. - 216 с.

. Гун, Г.Я. Теоретические основы обработки металлов давлением / Г.Я. Гун. - М.: Металлургия, 1980. - 456 с.

. Компьютерное моделирование процессов обработки металлов давлением. Численные методы / В.Н. Данченко, А.А. Миленин, В.И. Кузьменко, В.А. Гринкевич. - Днепропетровск: «Системные технологии», 2005. - 448 с.

. Есаулов В.П. О некоторых проблемах взаимодействия колесо - рельс. Сообщение 2 / В.П. Есаулов, А.И. Козловский // Металлургическая и горнорудная промышленность. - 2001. - № 5. - С. 92-94.

. Петренко Ю.П. Освоение производства цельнокатаных колес для высокоскоростных электровозов / Ю.П. Петренко, А.М. Шегусов, В.Д. Шестак и др. // Сталь. - 2000. - № 5. - С. 42-43.

. Копперс У. Производство железнодорожных колес на высоком техническом уровне / У. Копперс, М. Кунц, М. Линденблатт // Черные металлы. 2006. - № 3. - С. 75 - 79.

. Богатов А.А. Механические свойства и модели разрушения металлов / А.А. Богатов. - Екатеринбург: ГОУ ВПО УГТУ-УПИ, 2002. - 329 с.

. Андреюк Л.В. Об учете упрочнения стали при дробной деформации / Л.В. Андреюк, А.А. Гурков , Г.Г. Тюленев // Сталь. 1972. - № 9. - С. 245 - 246.

. Яковченко А.В. Экспериментальные исследования силовых параметров и совершенствование процессов штамповки колесных заготовок / А.В. Яковченко, С.А. Снитко, Хасан Собхи // Удосконалення процесів і обладнання обробки тиском в металургії і машинобудуванні: Тематич. зб. наук. пр. - Краматорськ, 2006. - С. 302 - 306.

. Снитко С.А. Метод совершенствования калибровок, освоенных в условиях промышленного производства штампованно-катаных колес / С.А. Снитко, А.В. Яковченко, Н.И. Ивлева // Удосконалення процесів і обладнання обробки тиском в металургії і машинобудуванні: Тематич. зб. наук. пр. - Краматорськ, 2007. - С. 211 - 216.

. Снитко С.А. Анализ силовых и скоростных параметров прокатки колес / С.А. Снитко // Наукові праці ДонНТУ. Металургія: Зб. наук. пр. - Донецьк, 2008. - Вип. 10 (141). - С. 163 - 172.

. Снитко С.А. Влияние параметров конечно-элементных моделей на точность расчета формоизменения металла и сил при штамповке и прокатке заготовок железнодорожных колес / С.А. Снитко, А.А. Дужуржи // Обработка материалов давлением: сб. науч. тр., Краматорск: ДГМА, 2010. - Вып.1(22) - С. 44 - 48.

. Snitko Sergey. Features finite-element simulation of the deformation exact mass railway wheel billets / Sergey Snitko, Alexander Duzhurzhi // The Sixth International Conference on Physical & Numerical Simulation of Materials Processing. - November 16-19, 2010, China, Guilin. - p. 111.

ДОДАТОК А

Демонстраційний матеріал













ДОДАТОК Б

Копії публікацій за темою роботи











Похожие работы на - Аналіз формозміни металу та удосконалення технології деформування заготовок при виробництві штамповано-катаних коліс

 

Не нашли материал для своей работы?
Поможем написать уникальную работу
Без плагиата!
Без нейросетей!