Усовершенствование технологии, оборудования и инструмента для изготовления детали 'Зенкер улиточный 150'
Федеральное агентство по образованию
Государственное образовательное
учреждение высшего профессионального образования
БРЯНСКИЙ ГОСУДАРСТВЕННЫЙ ТЕХНИЧЕСКИЙ
УНИВЕРСИТЕТ
Кафедра «Металлорежущие станки и
инструменты»
УТВЕРЖДАЮ:
Зав. кафедрой
д.т.н., профессор
_____________А.В.
Хандожко
«_____»_______________2007г.
ДИПЛОМНАЯ РАБОТА
Документы текстовые
МСиИ. 2007. 03ИСМП. Б. ПЗ
Всего 92 листов
Руководитель
д.т.н.
Агафонов В.В.
«____»________
______2007г.
Студент
группы 03-ИСМП
Лакалина Н.Ю.
«____»______________
2007г.
Брянск 2007
Содержание
Аннотация
Введение
. Технологический раздел
.1 Базовый технологический процесс
.2 Критический анализ базового технологического процесса
.3 Краткие сведения о детали. Анализ технических
требований чертежа
.4 Материал детали и его свойства
.5 Анализ технологичности конструкции детали
.6 Определение типа производства
.7 Выбор вида и метода получения заготовки
.8 Определение операционных размеров
.9 Анализ ПГД станков базового ТП
.10 Проектный вариант технологического процесса
.11 Подробная разработка наиболее ответственных операций
проектируемого технологического процесса
.12 Назначение режимов резания на остальные операции
технологического процесса
. Конструкторский раздел
.1 Анализ ПГД станков проектного ТП
.2 Модернизация ПГД станка с ЧПУ 2С132ПМФ2
.3 Выбор режущего и вспомогательного инструментов для
горизонтально-фрезерных операций
. Организационно-экономический раздел
.1 Технико-экономическое сравнение вариантов
технологических процессов изготовления детали “Зенкер улиточный ∅150”
.2 Общие требования и средства обеспечения безопасности труда
при работе на металлорежущих станках
.3 Требования и средства безопасности, обусловленные
специфическими особенностями станка 2С132МФ2
.4 Обеспечение электробезопасности
.5 Анализ шума, вибраций на рабочих местах
Заключение
Список литературы
Аннотация
Дипломный проект состоит из графической части (10,25 листов формата А1) и
пояснительной записки (документов текстовых).
В технологическом разделе проекта представлен заводской вариант ТП,
произведен критический анализ заводского вариантов ТП по результатам которого
разработан проектный ТП механической обработки детали Зенкер улиточный.
Произведен анализ технологичности конструкции детали, определен тип
производства рассматриваемой детали по проектному варианту технологического
процесса, произведен расчет припусков на обработку, режимов резания, технически
обоснованных норм времени на наиболее ответственные операции ТП изготовления
Зенкера улиточного. Также произведен анализ станков базового ТП.
В графической части проекта представлен чертеж усовершенствованной
конструкции детали Зенкера улиточного, операционные эскизы механической
обработки детали, анализ ПГД станков базового и проектного вариантов
технологического процесса, модернизация ПГД станка мод.2С132МФ2,
технико-экономическое сравнение базового и проектного вариантов технологических
процессов.
В конструкторском разделе проекта представлен анализ станков проектного
варианта ТП, модернизация ПГД станка мод.2С132МФ2, выбор режущего и
вспомогательного инструмента для горизонтально-фрезерной операции.
В организационно-экономическом разделе проекта произведено сравнение
проектного варианта технологического процесса изготовления детали с заводским.
Определена себестоимость изготовления Зенкера улиточного по базовому и
проектному вариантам технологического процесса. Также в данном разделе
рассмотрены вопросы безопасности производства.
Введение
Темой дипломной работы является усовершенствование технологии,
оборудования и инструмента для изготовления детали “Зенкер улиточный
” черт. 01-2334-4028. Годовая
программа выпуска - 550 шт.
Разработанный технологический процесс должен соответствовать уровню и
требованиям развития машиностроения на современном этапе.
Одним из важнейших направлений развития технологии механической обработки
на данном этапе является интенсификация технологических процессов на основе
применения режущих инструментов из новых материалов, расширение области
применения оборудования с ЧПУ, повышение размерной и геометрической точности,
достигаемой при обработке.
Важное значение имеет при проектировании технологических процессов
уменьшение времени на механическую обработку, а также времени, затрачиваемого
на вспомогательные функции (разметку, выверку и т.д.). Решить данную задачу
поможет применение станков с ЧПУ, широко используемых в дипломном проекте,
однако применять станки с ЧПУ надо в разумных приделах. Наиболее эффективно их
применение там, где требуется обработка по контуру сложных криволинейных
поверхностей, отверстий, имеющихся в детали в больших количествах.
Применение новых технологий, станков с ЧПУ, специальных режущих
инструментов - все это составляющие элементы одной главной задачи - изготовить
качественную деталь с требуемыми параметрами и минимальной себестоимостью.
.
Технологический раздел
.1 Базовый технологический процесс
Таблица 1 - Заводской вариант технологического процесса
|
№
|
Операция
|
Содержание операции
|
Наименование оборудования
|
|
005
|
Токарно-винторезная
|
Точить торец заготовки предварительно и окончательно.
Точить наружный диаметр с припуском 0,5 мм под шлифование. Сверлить,
зенкеровать, развернуть отв. ø 27Н8. Расточить отверстие 37,6+0,1,расточить
фаску 0,7×45°, расточить канавку 3 мм,ø39, расточить фаску 0,5×45°
|
Станок мод.16К20
|
|
010
|
Токарно-винторезная
|
Точить торец заготовки предварительно и окончательно в р-р
60,5-0,2, точить ø49, угол 15°,точить наружный ø151-0,2, расточить фаску
|
Станок мод.16К20
|
|
015
|
Радиально-сверлильная
|
Сверлить, зенкеровать 2 отв. Ø18В12, зенковать фаски 0,5×45°
|
Станок мод.2А55
|
|
020
|
Разметочная
|
Разметить контур ø50, размер 40, разметить зубья, угол
65°, разметить торцевую поверхность обнижения угол 80°, размер 24, разметить
паз 36×90°
|
Разметочная плита
|
|
025
|
Горизонтально-фрезерная
|
Фрезеровать зубья по разметке угловой фрезой <65°,
фрезеровать передний угол 25°
|
Станок мод.6М82
|
|
030
|
Вертикально-фрезерная
|
Фрезеровать по разметке обнижение 80°, размер 40, ø50
|
Станок мод.6Н13П
|
|
035
|
Токарно-затыловочная
|
Затыловать резцом задние поверхности и стружечные канавки
(размер 20 - падение затылка)
|
Станок мод.1811
|
|
040
|
Горизонтально-фрезерная
|
Фрезеровать паз 36×90°
|
Станок мод.6М82
|
|
045
|
Термическая
|
Калить 62…65 HRC
|
_____
|
|
050
|
Внутри-шлифовальная
|
Шлифовать торец в размер 60 Ra=1,25, шлифовать отв.ø38Н7 Ra=1,25
|
Станок мод.3А228
|
|
055
|
Заточная
|
Заточить передние грани <25° Ra=0,63
|
Станок мод.3Е642
|
|
060
|
Токарно-затыловочная
|
Затыловать шлифовальным кругом задние поверхности Ra=0,63
|
Станок мод.1811
|
|
065
|
Кругло-шлифовальная
|
Шлифовать ø150-0,1, угол 2° Ra=0,63
|
Станок мод.3Б151
|
|
070
|
Слесарная
|
Притупить острые кромки, маркировать: № чертежа, ø150,
Р6М5
|
Слесарный верстак
|
|
075
|
Контрольная
|
Отсутствие заусенцев, острых кромок, наличие всех фасок,
отверстий, наличие маркировки Шероховатость обработанных поверхностей Клеймо
ОТК
|
Контрольная плита
|
1.2 Критический анализ базового технологического процесса
В процессе изготовления данной детали используется имеющийся в наличии
станочный парк. Некоторые операции выполняются на универсальных станках.
В условиях серийного производства, а также его полной автоматизации не
рекомендуется применение станков с ручным управлением. В последнее время в
условиях переналаживаемого серийного производства широко используют станки с
ЧПУ.
Использование ЧПУ в станках позволяет:
повысить производительность станка в 1,5 - 5 раз по сравнению с
аналогичными станками с ручным управлением;
сочетать гибкость универсального оборудования с точностью и
производительностью станка-автомата, что и позволяет решать вопрос комплексной
автоматизации единичного и серийного производства;
качественно перевооружать машиностроение на базе современной электроники
и вычислительной техники;
снижать потребность в квалифицированных рабочих - станочниках;
сокращать время пригоночных работ в процессе сборки;
сокращать сроки подготовки и перехода на изготовление новых деталей
благодаря централизованной записи программ и более простой и универсальной
технологической оснастке;
снижать продолжительность цикла изготовления деталей.
Все выпускаемое оборудование с ЧПУ ориентировано на минимальное участие
человека в процессе производства и на обеспечение максимального использования
его в составе гибких производственных систем различного назначения.
В современных инструментальных системах наибольшее распространение
получили режущие инструменты с неперетачиваемыми быстросменными пластинами из
твердого сплава. Это позволяет отказаться от переточек, снятия режущего
инструмента со шпинделя станка при замене или повороте пластин. В связи с чем,
понижается себестоимость механической обработки деталей.
Так же, качественная оценка детали показала, что для достижения высокого
уровня технологичности конструкции изделия возникает необходимость переработать
инструмент так, чтобы поверхности были бы удобны и технологичны при
механической обработке, без изменения их функционального назначения.
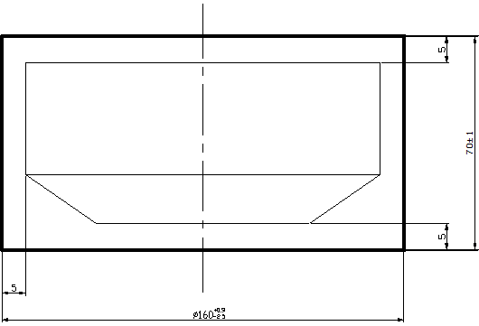
.3 Краткие сведения о детали. Анализ технических требований чертежа
Деталь “Зенкер улиточный
” (черт. 01-2334-4028) представляет собой тело вращения типа
“фланец”. Эта деталь предназначена для рассверливания глубоких отверстий с
на
. Она является режущим инструментом
по типу сверл для рассверливания отверстий. При работе зенкер подвергается
нагрузкам на изгиб и кручение.
К данному инструменту предъявляются следующие технические требования:
. Твердость 62…65HRC,
что соответствует номинальной твердости режущего инструмента;
. Неуказанные предельные отклонения размеров: отверстий по Н14,
валов по h14, остальных ±IT14/2;
. Остальные технические требования по ГОСТ1677-75;
. Маркировать 01-2334-4028
.
Шероховатость и точность назначены обоснованно. Имеется возможность для
проверки универсальным мерительным инструментом и калибрами.
Наиболее ответственными поверхностями являются опорный торец, отверстие
и режущие кромки.
.4 Материал детали и его свойства
Деталь “Зенкер улиточный
” изготавливается из стали Р6М5 (ГОСТ 19265-85) - это
теплостойкая сталь повышенной твердости (быстрорежущая сталь).
Таблица 2 - Химический состав стали Р6М5 (%)
|
Марка стали
|
С
|
W
|
Mo
|
Cr
|
V
|
Co
|
|
Р6М5
|
0,80-0,88
|
5,5-6,5
|
5,0-5,5
|
3,8-4,4
|
1,7-2,1
|
-
|
Таблица 3 - Механические свойства стали Р6М5
|
Марка стали
|
г/см3
|
|
|
|
Твердость
|
|
|
После отжига
|
После карбидной закалки
|
После отжига
|
После карбидной закалки
|
После отжига
|
После карбидной закалки
|
После отжига (HB)
|
После закалки и отпуска (HRCэ)
|
|
Р6М5
|
8,15
|
600-650
|
450-480
|
6-8
|
10-12
|
17-21
|
19-25
|
255
|
64
|
Таблица 4 - Технологические свойства стали Р6М5
|
Марка стали
|
Пластичность при температуре, С
|
|
|
Склонность к перегреву
|
Склонность к обезуглероживанию
|
|
900
|
1000
|
1100
|
1200
|
|
|
|
|
|
Р6М5
|
9,5
|
9,4
|
7,4
|
5,2
|
1,0
|
0,8
|
Да
|
Повышенная
|
|
Примечание. - коэффициент обрабатываемости твердосплавным резцом стали
в состоянии поставки; - коэффициент шлифуемости стали в термически обработанном
состоянии.
|
.5 Анализ технологичности конструкции детали
Дадим качественную оценку технологичности детали:
. Деталь прочная и жесткая;
. Все поверхности детали легко доступны для обработки;
. Точность обрабатываемых поверхностей не превышает 7 квалитета,
что позволяет использовать станки нормальной точности;
. Шероховатость обрабатываемых поверхностей не ниже Ra0,63 мкм, что позволяет не
использовать дорогостоящих отделочных и доводочных операций;
. Конструкция детали позволяет использовать принцип единства и
преемственности баз.
Однако конструктивно неверно выполнены сопряжения базового торца зенкера
(размер 40,
и R5) с
поверхностью угла 80º. Эти поверхности механической обработкой получить
затруднительно. Технологически трудоемко выполнить закрытую фаску 1,5×45º на нерабочей поверхности угла 80º.
Представляется
невозможным выполнить фаски на затылованной поверхности в виду ее
криволинейности. Конструктивно неверно выполнена подточка сопряжения режущей
кромки, так как в данном случае она является концентратором напряжений и
значительно снижает прочность режущего клина.
Дадим количественную оценку технологичности детали:
где
- число конструктивных элементов детали с унифицированными
размерами;
- общее число конструктивных элементов детали.
Вывод: качественная оценка детали показала, что для достижения высокого
уровня технологичности конструкции изделия возникает необходимость переработать
инструмент так, чтобы поверхности были бы удобны и технологичны при
механической обработке, без изменения их функционального назначения.
.6 Определение типа производства
В машиностроении существуют три основных типа производства: единичное,
серийное и массовое.
Ориентировочно тип производства определяется по массе детали и годовой
программе выпуска.
При массе детали
и годовой программе выпуска
по табл. 3.1 [5, c.24] тип
производства определяется как среднесерийный. В серийном производстве детали
изготавливаются периодически повторяющимися партиями при ограниченной
номенклатуре изделий.
Размер n операционной партии деталей в штуках определяется по следующей
упрощенной формуле:
где
- годовая программа выпуска деталей;=3…8дн - количество дней
запаса, на которые должны быть изготовлены детали. Принимаем t=5 дн;
Фу - число рабочих дней в году (Фу=253дн при двух днях отдыха в неделю и
продолжительности рабочей смены 8ч) [ 7, c.30].
.7 Выбор вида и метода получения заготовки
Для данной детали в качестве заготовки возможно использовать:
прокат;
поковку;
штамповку.
В заводском варианте технологического процесса в качестве заготовки
используется поковка, полученная свободной ковкой на молотах. В разрабатываемом
варианте технологического процесса предлагается использовать заготовку из
проката
.
Проведем технико-экономическое обоснование выбора заготовки. Обоснование
выполним по коэффициенту использования материала (Ким) и по
стоимости вариантов изготовления заготовки (Сзаг) [1, с.66].
. Коэффициент использования материала
где Мд - масса детали, кг;
Мз - масса заготовки, кг.
. Стоимость вариантов изготовления заготовки
где С - базовая стоимость 1т заготовок, руб.;
Мз - масса заготовки, кг;
Мд=8,6кг - масса детали;
Sотх - стоимость 1т отходов (стружки),
руб.;
Таблица 5 - Сравнительная
|
Вид заготовки
|
Ким
|
Сзаг , руб.
|
|
Поковка
|
0,58
|
5605
|
|
Прокат
|
0,75
|
3717
|
Исходя из данных сравнительной таблицы, выбираем заготовку в виде
проката, так как у нее больше коэффициент использования материала и меньше
стоимость изготовления заготовки.
Эскизы заготовок:
Рисунок 1 - Заготовка - поковка
Рисунок 2 - Заготовка - прокат
.8 Определение операционных размеров
В данном пункте производим размерный анализ проектируемого
технологического процесса механической обработки детали «Зенкер улиточный
».
Целью размерного анализа технологического процесса является определение
операционных размеров детали (S) и размеров заготовки, с учетом величины
снимаемого припуска (Z) и конструкторских размеров (А).
Исходными данными для проведения размерного анализа является
разработанный технологический процесс механической обработки детали, величины
конструкторских размеров детали (А), а также величина минимального
технологического припуска (Zmin) на обработку элементарной поверхности
на каждом переходе.
Вычерчиваем совмещенный эскиз детали и заготовки (рис. 3), на котором
указываем размеры детали (А), заданные конструктором. В соответствии с
разработанным технологическим процессом обработки детали «Зенкер улиточный
» на детали условно наносим припуски
(Z).
Обрабатываемые поверхности детали, заготовки нумеруют, затем строят
исходное дерево (рис. 4), в котором отражена связь между обрабатываемыми
поверхностями, операционными размерами (S) и размерами заготовки (В).
Затем строят производное дерево (рис. 5), в котором отражена связь между
обрабатываемыми поверхностями, размерами детали и операционными припусками.
Совмещенный граф (рис. 6) отражает связь между обрабатываемыми
поверхностями, операционными размерами, размерами заготовки, размерами детали и
операционными припусками.
Используя совмещенный граф, составляем технологические размерные цепи.
Производим расчет составленных технологических цепей методом полной
взаимозаменяемости.
Рисунок
3 - Размерная схема
Рисунок
4 - Исходное дерево
Рисунок
5 - Производное дерево
Рисунок
6 - Совмещенный граф
Замыкающим звеном в данной цепи является размер [А2].
Замыкающим звеном в данной цепи является размер [А1].
Ужесточаем допуск на технологический размер S6.
Таким образом,
Замыкающим звеном в данной цепи является размер [А3].
Таким образом,
Назначаем допуск на выполнение операционного размера S5:
Таким образом,
Определим номинальный размер припуска и его наибольшее значение:
Назначаем допуск на выполнение операционного размера S2:
Таким образом,
Определим номинальный размер припуска и его наибольшее значение:
Назначаем
допуск на выполнение операционного размера S1:
Таким
образом,
Определим
номинальный размер припуска и его наибольшее значение:
Назначаем
допуск на выполнение размера B1:
Таким
образом,
Определим
номинальный размер припуска и его наибольшее значение:
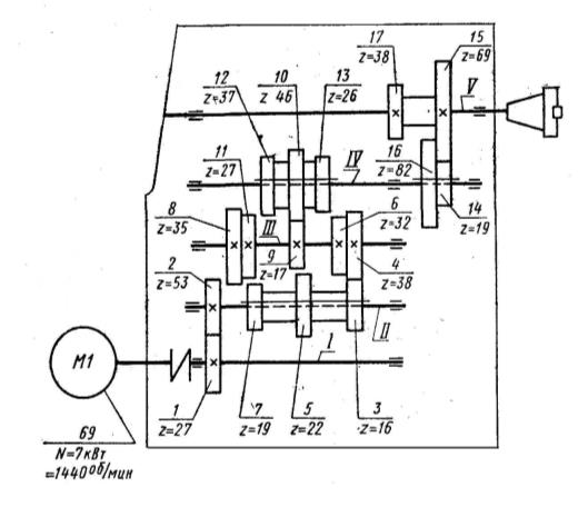
.9 Анализ ПГД станков базового ТП
1.9.1 Токарно-винторезный
станок 16К20
Назначение: станок предназначен для выполнения различных токарных
операций, а также для нарезания резьбы: метрической, дюймовой, модульной,
питчевой и специальной.
Краткая техническая характеристика:
Таблица 6
|
Пределы частот вращения шпинделя Число скоростей шпинделя
Мощность ЭД Число оборотов в минуту ЭД Масса
|
12,5-1600 мин-1 22 10 кВт 1460 мин-1
3685 кг
|
Анализ ПГД:
Кинематическая схема
Рисунок 7
РС:
;
УКБ:
;


;
;
Расчетный
диапазон регулирования ЧВШ:
;
;
;
.
Стандартный
ряд ЧВШ
n, мин-1:
12,5; 16; 20; 25; 31,5; 40; 50; 63; 80;100; 125; 160; 200; 250; 315; 400; 500;
630; 800; 1000; 1250; 1600.
Анализ
структуры множительных механизмов ПГД
Таблица
7
|
Конструктивный порядок групп передач и количество передач в
группе
|
1 группа Р1=2
|
2 группа Р2=3
|
3 группа Р3=2
|
3' группа Р'3=2
|
|
Передаточные отношения передач в группе    
|
|
|
|
|
|
Знаменатель геометрического ряда группы передач   
|
|
|
|
|
Кинематический
порядок и характеристика групп передач
Основная
группа
|
X1=11-я множительная X2=22-я множительная X3=62'-я множительная X3'=4
|
|
|
|
|
Структурная формула ПГД
1=
21×32×26=12
+
Z2= 21×32×24=12-2=10
____________________
частоты вращения шпинделя
Строим график ЧВШ ПГД:
Рисунок 8
Расчетная ЧВШ (np):
;
Расчетное
значение крутящего момента (Мкр.р.):
Промежуточные
точки:
М125=764
Нм; М250=382 Нм; М630=152 Нм.
Расчет
мощности:
Промежуточные
точки:
Р16=4
кВт; Р25=6,3 кВт; Р31,5=8 кВт.
Строим
график мощности и крутящего момента от ЧВШ
Рисунок 9
1.9.2 Радиально-сверлильный
станок 2А55
Назначение: станок предназначен для сверления в сплошном материале,
рассверливания, зенкерования, развертывания, подрезки торцев в обоих
направлениях, нарезания резьбы машинными метчиками и других подобных операций.
Краткая техническая характеристика:
Таблица 8
|
Пределы частот вращения шпинделя Число скоростей шпинделя
Пределы подач Мощность ЭД Число оборотов в минуту ЭД Масса
|
31,5-1600 мин-1 18 0,05 - 2,2 мм/об 4,5 кВт 1440
мин-1 4100 кг
|
Анализ ПГД:
Кинематическая схема
Рисунок 10
РС:
УКБ:
Общая
кинематическая цепь:
;
;
;
Расчетный
диапазон регулирования ЧВШ:
;
;
;
Стандартный
ряд ЧВШ
n, мин-1:
31,5; 40; 50; 63; 80;100; 125; 160; 200; 250; 315; 400; 500; 630; 800; 1000;
1250; 1600.
Анализ структуры множительных механизмов ПГД
Таблица 9
|
Конструктивный порядок групп передач и количество передач в
группе
|
1 группа Р1=3
|
2 группа Р2=3
|
3 группа Р3=2
|
|
Передаточные отношения передач в группе   
|
|
|
|
|
Знаменатель геометрического ряда группы передач  
|
|
|
|
Кинематический
порядок и характеристика групп передач
1-я
множительная X1=3Основная группа
X2=12-я
Структурная формула ПГД
Z= 33×31×29=18.
Строим график ЧВШ ПГД:
Рисунок 11
Расчетная ЧВШ (np):
;
Расчетное
значение крутящего момента (Мкр.р.):
Промежуточные
точки:
М125=345
Нм; М250=172 Нм; М630=68 Нм.
Расчет
мощности:
Промежуточные
точки:
Р40=2,3
кВт; Р50=2,9 кВт; Р63=3,6 кВт.
Строим
график мощности и крутящего момента от ЧВШ
Рисунок 12
1.9.3 Универсальный
горизонтально-фрезерный станок 6М82
Назначение: станок предназначен для выполнения широкого круга операций.
Он позволяет обрабатывать наружные и внутренние фасонные поверхности, прорезать
прямые и винтовые канавки, фрезеровать резьбы и зубья зубчатых колес.
Краткая техническая характеристика:
Таблица 10
|
Пределы частот вращения шпинделя Число скоростей шпинделя
Мощность ЭД Число оборотов в минуту ЭД
|
31,5-1600 мин-1 18 7 кВт 1440 мин-1
|
Анализ ПГД:
Кинематическая схема
Рисунок 13
РС:
УКБ:
Общая
кинематическая цепь:
;
;
;
Расчетный
диапазон регулирования ЧВШ:
;
;
;
Стандартный
ряд ЧВШ
n, мин-1:
31,5; 40; 50; 63; 80;100; 125; 160; 200; 250; 315; 400; 500; 630; 800; 1000;
1250; 1600.
Анализ структуры множительных механизмов ПГД
Таблица 11
|
Конструктивный порядок групп передач и количество передач в
группе
|
1 группа Р1=3
|
2 группа Р2=3
|
3 группа Р3=2
|
|
Передаточные отношения передач в группе   
|
|
|
|
|
Знаменатель геометрического ряда группы передач  
|
|
|
|
Кинематический
порядок и характеристика групп передач
Основная
группа
X1=11-я множительная X2=32-я
Структурная формула ПГД
Z= 31×33×29=18.
Строим график ЧВШ ПГД:
Рисунок 14
Расчетная ЧВШ (np):
;
Расчетное
значение крутящего момента (Мкр.р.):
Промежуточные
точки:
М125=345
Нм; М250=172 Нм; М630=68 Нм.
Расчет
мощности:
Промежуточные
точки:
Р40=2,3
кВт; Р50=2,9 кВт; Р63=3,6 кВт.
Строим
график мощности и крутящего момента от ЧВШ
Рисунок 15
.10 Проектный вариант технологического процесса
Таблица 12 - Проектный вариант технологического процесса
|
№
|
Операция
|
Содержание операции
|
Наименование оборудования
|
|
005
|
Токарная с ЧПУ
|
Точить торец заготовки предварительно Точить торец
заготовки окончательно Точить наружный диаметр с припуском 0,3 мм под
шлифование. Центровать отв. Ø10 Сверлить отв. Ø25
Расточить отв.ø37,6+0,1 Расточить отв.ø
27Н8, расточить фаски
0,7×45°,
0,5×45° Расточить
канавку 3 мм,ø39
|
Станок мод. 16К20Ф3.С32
|
|
010
|
Токарная с ЧПУ
|
Точить угол 15° Точить ø49 Точить торец Расточить фаску 1,5×45°
|
Станок мод. 16К20Ф3.С32
|
|
015
|
Сверлильная с ЧПУ
|
Сверлить и зенкеровать 2 отв. Ø18В12 Зенковать фаски 0,5×45°
в 2х отв.
|
Станок мод. 2С132МФ2
|
|
020
|
Горизонтально-фрезерная
|
Фрезеровать стружечные канавки зубьев с поворотом заготовки
угловой фрезой с фрезерованием переднего угла 25°
|
Станок мод.6М82
|
|
025
|
Фрезерная с ЧПУ
|
Фрезеровать 2 обнижения глубиной 5 мм, выдерживая размер 50
мм
|
Станок мод. 6520Ф3-36
|
|
030
|
Фрезерная с ЧПУ
|
Фрезеровать паз 36×90°
|
Станок мод. 6520Ф3-36
|
|
035
|
Токарно-затыловочная
|
Затыловать резцом задние поверхности и стружечные канавки
|
Станок мод.1811
|
|
040
|
Термическая
|
Калить 62…65 HRC
|
Электрические печи-ванны
|
|
045
|
Пескоструйная
|
Пескоструить кругом для очистки от окалины
|
Пескоструйная камера
|
|
050
|
Внутри-шлифовальная
|
Шлифовать ø38Н7, торец (Ra=1,25)
|
Станок мод.3А228
|
|
055
|
Заточная
|
Заточить передние грани <25° (Ra=0,63)
|
Станок мод.3Е642
|
|
060
|
Кругло-шлифовальная
|
Шлифовать ø150-0,1, угол 2° (Ra=0,63)
|
Станок мод.3Б151
|
|
065
|
Токарно-затыловочная
|
Затыловать задние поверхности и фаску шлифовальным кругом
|
Станок мод.1811
|
|
070
|
Слесарная
|
Притупить острые кромки, маркировать электрографом: №
чертежа, ø150, Р6М5
|
Верстак слесарный
|
|
075
|
Контрольная
|
Проверить технические требования чертежа, размеры и
шероховатость обработанных поверхностей (согласно ГОСТ1677-75)
|
Контрольная плита
|
.11 Подробная разработка наиболее ответственных операций
проектируемого технологического процесса
В этом пункте пояснительной записки разработаем операции, на которых
формируются режущие кромки инструмента. На этих операциях получаются
поверхности, лимитирующие качество детали в целом, поэтому их следует
разработать подробно.
Операция 020 Горизонтально-фрезерная
Оборудование: станок мод. 6М82;
Технологические базы: торец, отверстие
;
Содержание операции: фрезеровать стружечные канавки зубьев с поворотом
заготовки угловой фрезой с фрезерованием переднего угла 25°;
Приспособление специальное поворотное с гидроприводом;
Режущий инструмент: фреза угловая специальная
с неперетачиваемыми быстросменными
пластинами из твердого сплава Т15К6;
Измерительный инструмент: шаблон на профиль канавки
специальный, штангенциркуль ШЦ I - 0,1 - 125 ГОСТ 166-89.
СОТС: 5-8% Укринол-1;
Режимы резания:
. Подача
.
Скорость резания - окружная скорость фрезы, м/мин,
v=690; q=0,2;
x=0,3; y=0,4; u=0,1; p=0; m=0,35.
Т=240мин
- среднее значение периода стойкости фрезы.
Общий
поправочный коэффициент на скорость резания, учитывающий фактические условия
резания:
,
где
Кмv -
коэффициент, учитывающий качество обрабатываемого материала;
;
Кпv=1,0
- коэффициент, учитывающий состояние поверхности заготовки;
Киv=1,0
- коэффициент, учитывающий материал инструмента.
;
Частота
вращения шпинделя:
По
паспорту станка 6М82: nст=80мин-1.
Действительная
скорость резания:
.
Сила резания.
Главная
составляющая силы резания при фрезеровании - окружная сила, Н:
,
где
z - число зубьев фрезы; n - частота
вращения фрезы, об/мин.
КМр
- поправочный коэффициент на качество обрабатываемого материала;
.
Cр=261; x=0,9; y=0,8; u=1,1; q=1,1; w=0,1.
.
.
Мощность резания (эффективная), кВт
.
Расчет
технически обоснованной нормы времени:
Заготовка:
материал - сталь Р6М5 ГОСТ 19205-88. Предел прочности -
. Масса детали - Мд=8,6кг.
Способ
установки: вручную, на торец и цилиндрический и ромбический пальцы с креплением
рукояткой гидропривода.
Размер
партии: nд=11 шт.
Содержание
операции по переходам:
Переход
1 Установить, закрепить, снять заготовку после обработки
[ 12, c.168,169]
Переходы
2,3 Фрезеровать 2 стружечные канавки.
Длина
обработки l=60 мм.
Недоход
фрезы
[12, c.193]
где
- диаметр фрезы;
-
глубина паза.
Перебег
фрезы
[12,
с.193]
Общая
длина
Частота
вращения шпинделя n=80мин-1.
Подача
на зуб
.
Количество
зубьев Z=6.
Подача
на оборот
Машинное
время
Вспомогательное
время на поворот заготовки
[12,
с.208]
Вспомогательное
время, связанное с переходом
[12,
с.208]
Всего
вспомогательного времени
Время
на обслуживания рабочего места и на естественные надобности исполнителя
принимаем по табл.72 [ с.209]
.
Определяем
норму штучного времени
[12,
с.193]
Определяем
норму штучно-калькуляционного времени
где
Тп.з. - подготовительно-заключительное время, мин, на партию запуска
заготовок в производство nз, шт;
[12,
с.204]
Операция
055 Заточная
Оборудование:
станок мод. 3Е642;
Технологические
базы: торец, отверстие
;
Содержание
операции: заточить передние грани угла 25° (Ra0,63);
Приспособление:
оправка шпиндельная специальная, большая универсальная головка при станке;
Режущий
инструмент: шлифовальный круг
24А 40
СМ1 6К 35м/с А 1кл ГОСТ 2424-83;
Измерительный
инструмент: угломер 2 ГОСТ 5378-88, образцы шероховатости ГОСТ9378-75;
СОТС:
б/о;
Режимы
резания:
Скорость
круга
Поперечная
подача
;
Продольная
подача
Способ
установки: вручную на оправку и с установкой в универсальную головку.
Содержание
операции по переходам:
Переход
1 Установить, закрепить, снять заготовку после обработки.
[ 12, c.168,169]
Переходы
2,3 Заточить передние поверхности
Припуск
на заточку
;
Длина
шлифования
Количество
двойных ходов
Машинное
время
где
k=1,5 - коэффициент, учитывающий точность шлифования.
Вспомогательное
время на поворот заготовки
Вспомогательное
время, связанное с переходом
Всего
вспомогательного времени
Время
на обслуживания рабочего места и на естественные надобности исполнителя
принимаем
.
Определяем
норму штучного времени
Определяем
норму штучно-калькуляционного времени
где
Тп.з. - подготовительно-заключительное время, мин, на партию запуска
заготовок в производство nз, шт;
Операция
065 Токарно-затыловочная
Оборудование:
станок мод. 1811;
Технологические
базы: отверстие
, отв.
, торец;
Содержание
операции: затыловать задние поверхности
шлифовальным кругом, затыловать фаску
;
Приспособление:
оправка шпиндельная специальная;
Режущий
инструмент: шлифовальный круг
24А 40
СМ1 6К 35м/с А 1кл ГОСТ 2424-83;
Измерительный
инструмент: ШЦ I-0,1-125 ГОСТ166-89, образцы шероховатости ГОСТ 9378-75;
СОТС:
б/о;
Способ
установки: вручную на оправку с базированием на отв.
, торец и отв.
с
креплением гаечным ключом гайки.
Содержание
операции по переходам:
Переход
1 Установить, закрепить, снять заготовку после обработки.
[ 12, c.168,169]
Переход
2,3 Затыловать задние поверхности зубьев
.
Скорость
резания
[ 9, с.169];
Частота
вращения детали
Частота
вращения круга 
Машинное
время
[ 8,
с.615]
где
L=0,2 мм - припуск под затылование шлифовальным кругом.
k=1,5 [с.615].
Переходы
4,5 Затыловать фаску
.
;
L=0,2 мм;
Всего
машинного времени
Вспомогательное
время, связанное с переходом
[12,
с.254]
Всего
вспомогательного времени
Время
на обслуживания рабочего места и на естественные надобности исполнителя
принимаем
[12, с.255].
Определяем
норму штучного времени
Определяем
норму штучно-калькуляционного времени
где
Тп.з. - подготовительно-заключительное время, мин, на партию запуска
заготовок в производство nз, шт;
.12 Назначение режимов резания на остальные операции технологического
процесса
На остальные операции, разработанные в технологическом процессе,
назначаем режимы резания по нормативно-справочной литературе. Назначенные
режимы резания заносим в таблицы, приведенные ниже.
Токарная с ЧПУ
Таблица 13
|
№ пер.
|
t
|
Sz
|
So
|
Vs
|
V
|
n
|
i
|
To
|
|
2
|
4
|
-
|
0,4
|
64
|
80,4
|
160
|
1
|
1,28
|
|
3
|
1,0
|
-
|
0,2
|
40
|
100,5
|
200
|
1
|
2,05
|
|
4
|
4,0
|
-
|
0,4
|
64
|
76,4
|
160
|
1
|
0,73
|
|
5
|
0,7
|
-
|
0,2
|
40
|
34,6
|
200
|
1
|
1,175
|
|
6
|
5
|
-
|
0,2
|
100
|
15,7
|
500
|
1
|
0,12
|
|
7
|
7,5
|
-
|
0,5
|
100
|
15,7
|
200
|
1
|
0,68
|
|
8
|
4,5
|
-
|
0,2
|
126
|
69,2
|
630
|
1
|
0,13
|
|
9
|
1,3
|
-
|
0,2
|
126
|
72,4
|
630
|
1
|
0,6
|
|
10
|
3
|
-
|
0,1
|
63
|
77,1
|
630
|
1
|
0,1
|
|
11
|
0,5
|
-
|
0,05
|
40
|
94,4
|
800
|
1
|
2,0
|
Токарная с ЧПУ
Таблица 14
|
№ пер.tSzSoVsVniTo
|
|
|
|
|
|
|
|
|
|
2
|
5
|
-
|
0,4
|
64
|
75,3
|
160
|
4
|
3,43
|
|
3
|
1
|
-
|
0,2
|
40
|
94,2
|
200
|
1
|
1,5
|
|
4
|
4
|
-
|
0,4
|
200
|
76,9
|
500
|
1
|
0,125
|
|
5
|
1
|
-
|
0,2
|
126
|
96,9
|
630
|
1
|
0,2
|
|
6
|
4,5
|
-
|
0,1
|
63
|
71,2
|
630
|
1
|
0,158
|
Сверлильная с ЧПУ
Таблица 15
|
№ пер.tSzSoVsVniTo
|
|
|
|
|
|
|
|
|
|
2,3
|
8,5
|
-
|
0,4
|
126
|
16,8
|
315
|
1
|
0,95
|
|
5,4
|
0,5
|
-
|
1,0
|
315
|
17,8
|
315
|
1
|
0,38
|
|
6,7
|
0,8
|
-
|
0,1
|
31,5
|
19,3
|
315
|
1
|
0,31
|
Горизонтально-фрезерная
Таблица 16
|
№ пер.tSzSoVsVniTo
|
|
|
|
|
|
|
|
|
|
2
|
42
|
0,18
|
1,08
|
86,4
|
62,8
|
80
|
1
|
3,74
|
Фрезерная с ЧПУ
Таблица 17
|
№ пер.tSzSoVsVniTo
|
|
|
|
|
|
|
|
|
|
2,3
|
5
|
0,2
|
0,8
|
128
|
30,1
|
160
|
2
|
2,89
|
Фрезерная с ЧПУ
Таблица 18
|
№ пер.tSzSoVsVniTo
|
|
|
|
|
|
|
|
|
|
2
|
4
|
0,15
|
0,45
|
101,25
|
71,1
|
500
|
1
|
0,44
|
Токарно-затыловочная
Таблица 19
|
№ пер.tSzSoVsVniTo
|
|
|
|
|
|
|
|
|
|
2,3
|
12
|
-
|
1,0
|
16
|
8
|
16
|
5
|
5,0
|
|
4,5
|
2,8
|
-
|
0,5
|
8
|
8
|
16
|
1
|
0,35
|
|
6…8
|
2,7
|
-
|
0,5
|
8
|
6,3
|
16
|
1
|
0,48
|
Внутришлифовальная
Таблица 20
|
№ пер.
|
t
|
Vs
|
nz
|
Sдв.х.
|
Vsz
|
V
|
n
|
i
|
To
|
|
2
|
-
|
23,8
|
200
|
0,003
|
0,6
|
14,6
|
8000
|
1
|
1,06
|
|
3
|
-
|
67,9
|
135
|
0,005
|
0,675
|
20,9
|
4000
|
1
|
0,44
|
Заточная
Таблица 21
|
№ пер.tS хS
2хSоVsVniTo
|
|
|
|
|
|
|
|
|
|
|
2
|
-
|
-
|
0,01
|
-
|
16
|
23,5
|
3000
|
1
|
1,875
|
Круглошлифовальная
Таблица 22
|
№ пер.tVs1nzSoVs2VniTo
|
|
|
|
|
|
|
|
|
|
|
2
|
-
|
23,5
|
50
|
0,005
|
0,25
|
35
|
1670
|
1
|
1,2
|
Токарно-затыловочная
Таблица 23
|
№ пер.tS oVsV1n1V2n2iTo
|
|
|
|
|
|
|
|
|
|
|
2,3
|
-
|
0,005
|
0,08
|
7,5
|
16
|
23,5
|
3000
|
1
|
3,75
|
|
4,5
|
-
|
0,07
|
0,16
|
7,5
|
16
|
23,5
|
1
|
1,875
|
.
Конструкторский раздел
.1 Анализ ПГД станков проектного ТП
2.1.1 Токарный
станок с ЧПУ 16К20Ф3.С32
Назначение: станок предназначен для токарной обработки наружных и
внутренних поверхностей заготовок типа тела вращения в один или несколько
рабочих ходов в замкнутом полуавтоматическом цикле.
Краткая техническая характеристика:
Таблица 24
|
Пределы частот вращения шпинделя Число скоростей шпинделя
Мощность ЭД Число оборотов в минуту ЭД nэ max nэ ном
|
22,4-2400 мин-1 б/с 11 кВт 3500 мин-1
1000 мин-1
|
Анализ ПГД:
Кинематическая схема
Рисунок 16
Диапазон регулирования ЧВШ:
;
Число
ступеней ЧВШ при
:
;
Стандартный
ряд ЧВШ
n, мин-1:
22,4; 23,6; 25-…-31,5-…- 40-…- 50-…- 63-…- 80-…-100-…- 125-…- 160-…- 200-…-
250-…- 315-…- 400-…- 500-…- 630-…- 800-…- 1000-…- 1250-…- 1600-…-2000; 2120;
2240.
Расчетная ЧВШ (np):
1) По рекомендации ЭНИМС
;
2) Фактическая, обеспечиваемая приводом станка
РС:
УКБ:
Диапазон
регулирования ЧВШ:
) При
постоянной мощности:
) При
постоянном моменте:
Диапазон регулирования ЭД:
1) При
постоянной мощности:
) При
постоянном моменте:
;
Необходимое число ступеней дополнительной АКС для расширения диапазона Rэ(Р) ЭД до величины диапазона Rn(P) ЧВШ:
. На
станке
.
Передаточные
отношения передач, выраженные через
:
Определение
значений крутящего момента и минимальной мощности:
Промежуточные точки:
М200=525 Нм; М335=314 Нм; М630=167 Нм; М1250=84
Нм.
Промежуточные точки:
Р31,5=3,6 кВт; Р50=5,8 кВт; Р80=9,3 кВт.
Строим график ЧВШ ПГД и график мощности и крутящего момента от ЧВШ:
Рисунок 17
2.1.2 Вертикально
- фрезерный станок с крестовым столом и ЧПУ 6520Ф3-36
Назначение: станок предназначен для фрезерования по программе
разнообразных заготовок сложной формы торцовыми, конусными, угловыми и
фасонными фрезами. Класс точности станка Н.
Краткая техническая характеристика:
Таблица 25
|
Пределы частот вращения шпинделя Число скоростей шпинделя
Мощность ЭД Число оборотов в минуту ЭД31,5-1600 мин-1 18 4 кВт 950
мин-1
|
|
Анализ ПГД:
Кинематическая схема
Рисунок 18
РС:
УКБ:
Общая
кинематическая цепь:

;
;
;
Расчетный
диапазон регулирования ЧВШ:
;
;
;
Стандартный
ряд ЧВШ
n, мин-1:
31,5; 40; 50; 63; 80;100; 125; 160; 200; 250; 315; 400; 500; 630; 800; 1000;
1250; 1600.
Анализ структуры множительных механизмов ПГД
Таблица 26
|
Конструктивный порядок групп передач и количество передач в
группе
|
1 группа Р1=3
|
2 группа Р2=3
|
3 группа Р3=2
|
4группа Р4=2
|
|
Передаточные отношения передач в группе    
|
|
|
|
|
|
Знаменатель геометрического ряда группы передач   
|
|
|
|
|
Кинематический
порядок и характеристика групп передач
Основная
группа
|
X1=11-я множительная X2=32-я множительная X3=32'-я множительная X4=6
|
|
|
|
|
деталь чертеж режущий операция
Структурная формула ПГД
Строим
график ЧВШ ПГД:
Рисунок
19
Расчетная
ЧВШ (np):
;
Расчетное
значение крутящего момента (Мкр.р.):
Промежуточные
точки:
М100=382
Нм; М160=240 Нм; М315=121 Нм; М630=60 Нм.
Расчет
мощности:
Промежуточные
точки:
Р40=2
кВт; Р50=2,5 кВт; Р63=3,2 кВт.
Строим
график мощности и крутящего момента от ЧВШ
Рисунок 20
2.1.3 Станок
вертикальный координатно-сверлильный с ЧПУ и автоматической сменой инструмента
2С132ПМФ2
Назначение: станок предназначен для позиционной обработки призматических
и корпусных деталей: сверление, рассверливание, зенкерование, развертывание,
растачивание, нарезание резьбы, зенкование, а также несложные фрезерные
операции.
Краткая техническая характеристика:
Таблица 27
|
Пределы частот вращения шпинделя Число скоростей шпинделя
Мощность ЭД Число оборотов в минуту ЭД nэ max nэ ном
|
28-3500 мин-1 б/с 11 кВт 3500 мин-1
1060 мин-1
|
Анализ ПГД:
Кинематическая схема
Рисунок 21
Диапазон регулирования ЧВШ:
;
Число
ступеней ЧВШ при
:
;
Стандартный
ряд ЧВШ
n, мин-1:
28; 30; 31,5-…- 40-…- 50-…- 63-…- 80-…-100-…- 125-…- 160-…- 200-…- 250-…-
315-…- 400-…- 500-…- 630-…- 800-…- 1000-…- 1250-…- 1600-…-2000-…-2500-…-3150;
3350; 3550.
Расчетная ЧВШ (np):
3) По рекомендации ЭНИМС
;
4) Фактическая, обеспечиваемая приводом станка
РС:
УКБ:
Диапазон
регулирования ЧВШ:
) При
постоянной мощности:
) При
постоянном моменте:
Диапазон регулирования ЭД:
3) При
постоянной мощности:
) При
постоянном моменте:
Необходимое
число ступеней дополнительной АКС для расширения диапазона Rэ(Р) ЭД до величины диапазона Rn(P) ЧВШ:
. На
станке
.
Передаточные
отношения передач, выраженные через
:
Определение
значений крутящего момента и минимальной мощности:
Промежуточные точки:
М200=525 Нм; М400=263 Нм; М1600=66 Нм.
Промежуточные точки:
Р40=3,3 кВт; Р63=5,25 кВт; Р100=8,3 кВт.
Строим график ЧВШ ПГД и график мощности и крутящего момента от ЧВШ:
Рисунок 22
.2 Модернизация ПГД станка с ЧПУ 2С132ПМФ2
2.2.1 Критический
анализ базового ПГД станка 2C132ПМФ2
и цели его модернизации
Анализ базового ПГД выявил следующие его недостатки:
недостаточный диапазон регулирования ЧВШ в области максимальных значений;
не обеспечивается рекомендуемая расчетная ЧВШ;
в диапазоне Rn(P) имеется «разрыв» от 450 до 1060, где полная мощность
не используется.
Целью модернизации является устранение указанных недостатков с
минимальными изменениями конструкции ПГД и минимальными затратами.
2.2.2 Корректировка
диапазона регулирования ЧВШ модернизированного ПГД
По рекомендации ЭНИМС при модернизации ПГД диапазон ЧВШ увеличивается на
25-50% в сторону максимальных частот.
Примем среднее значение коэффициента изменения диапазона Кув=1,4.
Тогда рекомендуемый диапазон ЧВШ модернизированного ПГД
;
Принимаем
минимальную ЧВШ модернизированного ПГД
. Тогда
максимальная ЧВШ
;
по нормали станкостроения Н11-1-72 принимаем nmax=4500 мин-1.
Окончательное значение диапазона ЧВШ
.
Расчетная
ЧВШ по рекомендации ЭНИМС
Принимаем
стандартное значение nР=140 мин-1.
2.2.3 Выбор
современного электродвигателя ПГД
Выбираем ЭД типа 4ПФ - широко регулируемый ЭД постоянного тока с
расширенным диапазоном регулирования с постоянной мощностью.
Двигатель выбираем ЭД по следующим критериям:
1. Мощность ЭД ПГД
, где
;
2. Желательное значение максимальной частоты вращения ЭД:
,где
-
максимальное передаточное отношение АПК базового ПГД.
.
Максимальное значение диапазона регулирования ЭД при постоянной мощности:
.
Максимальное значение КПД ЭД:
Из
справочника по электрическим машинам под редакцией И.В. Копылова, т.1 с учётом
1 критерия выбираем ряд ЭД и заносим их в таблицу:
Таблица
28
|
№
|
Тип ЭД
|
   
|
|
|
|
|
|
1
|
4ПФ132М
|
11
|
4500
|
1060
|
4,25
|
78,5
|
|
2
|
4ПФ132L
|
11
|
4500
|
800
|
5,6
|
76
|
|
3
|
4ПФ132М
|
11
|
4500
|
1090
|
4,1
|
80
|
|
4
|
4ПФ160S
|
11
|
4000
|
530
|
7,5
|
70,5
|
|
5
|
4ПФ132L
|
11
|
5000
|
825
|
6,0
|
78
|
Из таблицы выбираем электродвигатель 4ПФ132L.
Определяем необходимое число ступеней дополнительной АПК
модернизированного ПГД по формуле:
, где
;
.
.
Принимаем
.
2.2.4 Расчет
структуры модернизированного ПГД
С учетом желательности минимальных изменений конструкции ПГД строим
график ЧВШ с сохранением трехваловой структуры АПК с двухступенчатой группой
передач с передаточным отношением передач АПК базового ПГД.
Рисунок 23
Анализ показывает, что проектный вариант структуры ПГД обеспечивает
требуемые технические характеристики модернизированного привода не полностью: в
диапазоне ЧВШ при постоянной мощности имеется разрыв.
Для
удаления этого разрыва следует изменить передаточное отношение
на
, исходя
из желательности неизменяемого межцентрового расстояния. При подборе чисел
зубьев должно выполняться условие
Для
подбора чисел зубьев решаем систему:
Решив
систему, получаем
и
.
Фактическая
расчетная ЧВШ
по
нормали станкостроения Н11-1-72 принимаем nр=140 мин-1.
Для
построения графиков зависимости эффективной мощности и крутящего момента от ЧВШ
определяем:
значение
расчетного крутящего момента и минимальное его значение
промежуточные
точки:
М250=420,2Нм;
М500=210,1Нм; М1250=84Нм
минимальное
значение мощности
Промежуточные
точки
Р40=3,1кВт;
Р63=5 кВт; Р100= 7,85 кВт
Рисунок
24
Рисунок
25 - Графики ЧВШ, мощности и крутящих моментов модернизированного ПГД.
2.3 Разработка конструкций режущего и вспомогательного инструментов
для фрезерных операций
2.3.1 Разработка
конструкции РИ для фрезерования стружечных канавок зубьев
Для фрезерования стружечных канавок зубьев зенкера улиточного проектируем
угловую фрезу с неперетачиваемыми быстросъемными пластинами из твердого сплава
типа Т15К6.
В качестве аналога принимаем специальную фрезу фирмы SANDVIK Coromant (дисковую угловую фрезу).
Преимуществом данной фрезы является разделение снимаемого припуска на 3 элемента:
- торцевая пластина R5;
,3- радиальные пластины (верхняя и нижняя).
Это позволяет улучшить стружкообразование, увеличить подачу на зуб фрезы
и скорость резания. Применение твердого сплава, по сравнению с быстрорежущей
сталью, также позволяет увеличить указанные параметры резания.
Марка твердого сплава пластин GC235 (SANDVIK)(примерно соответствует твердому
сплаву Т15К6). Тип пластины LNE-нейтральная
(применяется как правая, так и левая).
Рисунок 26
Ширина пластины: s=14,287 мм;
Длина пластины: l=28,575 мм;
Толщина пластины: iW=9,525 мм;
Радиус при вершине пластины (поз.3): rε=5 мм.
Пластины имеют 4 режущие кромки, которые при затуплении можно менять
путем поворота этих пластин.
Крепление пластин осуществляется винтом с тороидальной головкой, которая
уперается в фаску отверстия пластины.
Задний угол у всех пластин равен 5°,передний угол равен 5°30'.
Преимущество фрез с неперетачиваемыми быстросъемными пластинами из
твердого сплава по сравнению с цельными или с напайными пластинами из твердого
сплава в постоянных параметрах режущей кромки, в отсутствие необходимости их
переточки, в возможности замены или переустановки пластин, не снимая инструмент
со станка.
Корпус изготавливается из инструментальной легированной стали типа 9ХС
ГОСТ 1435-85 и термообрабатывается до HRC 50…55.
Диаметр отверстия под оправку - ø 60Н6.
Диаметр фрезы:
.
С
учетом угла 61°30' фрезы принимаем по стандартному ряду Dфр=250мм.
2.3.2 Разработка
конструкции вспомогательного инструмента
В качестве вспомогательного инструмента для угловой фрезы Dфр=250мм применяется оправка с
поддерживающей втулкой и хвостовиком конусностью 7:24 для горизонтально -
фрезерных станков ГОСТ 15068-78.
Рисунок 27
Условное обозначение: Оправка 6225-0187 ГОСТ 15068-75.
Оправка имеет хвостовик с конусностью 7:24 №50, который вставляется в
шпиндель станка, посадочный диаметр под фрезу d=60мм. Длина оправки L=870мм.
Данная оправка состоит из самой оправки, комплекта проставочных колец,
буксы, гайки и двух шпонок. Комплект проставочных колец позволяет устанавливать
фрезу в определенное место относительно шпинделя и серьги станка с учетом
жесткости обработки.
2.3.3 Разработка
конструкции РИ для фрезерования паза 36×90°
Для фрезерования паза 36×90° глубиной 4+0,5мм
проектируем специальную концевую фрезу с быстросменными неперетачиваемыми
пластинами из твердого сплава типа Т15К6. В качестве аналога принимаем концевую
фрезу для фасок T-MAX 45° фирмы SANDVIK Coromant.
Фреза состоит из корпуса с конусом Морзе №4, трех пластин четырехгранной
формы с задними углами α=11°, главным углом в плане φ=45°.
Корпус изготавливается из инструментальной легированной стали типа 9ХС
ГОСТ 1435-85 и термообрабатывается до HRC 50…55.
Крепление пластин также осуществляется винтом с тороидальной головкой.
Данной фрезой обрабатывается одновременно дно паза и углы 45° в размер
36мм. Также ее можно использовать для торцевого фрезерования.
.
Организационно-экономический раздел
3.1 Технико-экономическое сравнение вариантов технологических
процессов изготовления детали “Зенкер улиточный
”
В дипломном проекте технико-экономическое сравнение вариантов
технологических процессов производим по технологической себестоимости
изготовления детали.
где М - затраты на основные материалы без стоимости отходов с
транспортно-заготовительными расходами;
З - основная и дополнительная зарплата производственных рабочих с
начислениями;
НР - накладные расходы, состоящие из цеховых расходов, общезаводских
расходах, управленческих расходов и внепроизводственных расходов.
. Затраты на основные материалы
Заводской вариант техпроцесса
где
- стоимость 1т поковок на ЗАО УК БМЗ на 01.01.07;
- масса заготовки поковки.
Стоимость отходов
где
- стоимость 1т отходов на ЗАО УК БМЗ на 01.01.07;
- масса детали.
Транспортно-заготовительные расходы принимаем по данным ЗАО УК БМЗ в
размере
от стоимости заготовки.
Проектный вариант техпроцесса
где
- стоимость 1т отходов на ЗАО УК БМЗ на 01.01.07;
- масса заготовки из проката.
Стоимость отходов
. Заработная плата производственных рабочих на операцию
где
- основная заработная плата с учетом
премии при сдельно-премиальной
системе оплаты, руб
где
- часовая тарифная ставка соответствующего разряда работы,
руб;
- штучно-калькуляционное время для данной операции, мин;
, руб - дополнительная зарплата основных рабочих, т.е. оплата
отпусков и т.д.;
- начисление на зарплату по социальному страхованию - по
данным ЗАО УК БМЗ
от
.
. Накладные расходы
где ЦР - цеховые расходы, принимаемые по данным ЗАО УК БМЗ в размере
от
;
ОР - общезаводские расходы, принимаем в размере
от
;
УР - управленческие расходы, принимаем в размере
;
ВР - внепроизводственные расходы, принимаем равными
от
.
Расчет заработной платы основных производственных рабочих по заводскому
варианту сводим в таблицу .
Расчет заработной платы основных производственных рабочих по проектному
варианту сводим в таблицу .
. Составление калькуляции полной себестоимости детали
Составляем калькуляцию полной себестоимости изготовления детали по
заводскому и проектному варианту техпроцессов механической обработки детали
“Зенкер улиточный
” и составляем таблицу .
Таблица 29 - Заработная плата основных производственных рабочих по
заводскому варианту техпроцесса
|
№ опер.
|
Наименование операции
|
Станок
|
Рзряд
|
|
|
|
|
|
|
005
|
Токарно-винторезная
|
16К20
|
5
|
22,44
|
16,5
|
9,40
|
1,12
|
4,19
|
|
010
|
Токарно-винторезная
|
16К20
|
4
|
19,7
|
10,0
|
4,59
|
0,55
|
2,05
|
|
015
|
Радиально-сверлильная
|
2А55
|
4
|
19,7
|
4,0
|
1,84
|
0,22
|
0,82
|
|
020
|
Разметочная
|
Р.п.
|
19,7
|
10,0
|
4,59
|
0,55
|
2,05
|
|
025
|
Горизонтально-фрезерная
|
6М82
|
4
|
19,7
|
10,0
|
4,59
|
0,55
|
2,05
|
|
030
|
Вертикально-фрезерная
|
6Н13П
|
4
|
19,7
|
6,5
|
2,98
|
0,35
|
1,32
|
|
035
|
Токарно-затыловочная
|
1811
|
5
|
24,44
|
9,5
|
5,41
|
0,65
|
2,41
|
|
040
|
Горизонтально-фрезерная
|
6М82
|
4
|
19,7
|
12,5
|
5,74
|
0,68
|
2,56
|
|
045
|
Термическая
|
-
|
-
|
-
|
-
|
-
|
-
|
-
|
|
050
|
Внутри-шлифовальная
|
3А228
|
5
|
24,44
|
3,0
|
1,71
|
0,20
|
0,76
|
|
055
|
Заточная
|
3Е642
|
5
|
24,44
|
4,0
|
2,28
|
0,27
|
1,01
|
|
060
|
Токарно-затыловочная
|
1811
|
5
|
24,44
|
9,0
|
5,13
|
0,61
|
2,29
|
|
065
|
Кругло-шлифовальная
|
3Б151
|
5
|
24,44
|
2,5
|
1,42
|
0,17
|
0,63
|
|
070
|
Слесарная
|
Сл.в.
|
4
|
19,7
|
5,0
|
2,29
|
0,27
|
1,02
|
|
075
|
Контрольная
|
К.п.
|
-
|
-
|
-
|
-
|
-
|
-
|
|
|
|
|
|
102,5
|
51,97
|
6,19
|
21,11
|
Таблица 30 - Заработная плата основных производственных рабочих по
проектному варианту техпроцесса
|
№ опер.
|
Наименование операции
|
Станок
|
Рзряд
|
|
|
|
|
|
|
005
|
Токарная с ЧПУ
|
16К20Ф3.С32
|
3
|
16,22
|
14,18
|
5,36
|
0,64
|
2,39
|
|
010
|
Токарная с ЧПУ
|
16К20Ф3.С32
|
3
|
16,22
|
8,66
|
3,27
|
0,39
|
1,46
|
|
015
|
Сверлильная с ЧПУ
|
2С132МФ2
|
2
|
13,56
|
2,79
|
0,88
|
0,10
|
0,39
|
|
020
|
Горизонтально-фрезерная
|
6М82
|
3
|
16,22
|
8,51
|
3,22
|
0,38
|
1,43
|
|
025
|
Фрезерная с ЧПУ
|
6520Ф3-36
|
3
|
16,22
|
4,91
|
1,86
|
0,22
|
0,82
|
|
030
|
Фрезерная с ЧПУ
|
6520Ф3-36
|
3
|
16,22
|
0,81
|
0,3
|
0,36
|
0,26
|
|
035
|
Токарно-затыловочная
|
1811
|
4
|
19,70
|
8,16
|
3,75
|
0,45
|
1,67
|
|
040
|
Термическая
|
-
|
-
|
-
|
-
|
-
|
-
|
-
|
|
045
|
Песвкоструйная
|
-
|
-
|
-
|
-
|
-
|
-
|
-
|
|
050
|
Внутри-шлифовальная
|
3А228
|
4
|
19,70
|
2,12
|
0,97
|
0,11
|
0,43
|
|
055
|
Заточная
|
3Е642
|
4
|
19,70
|
3,42
|
1,57
|
0,18
|
0,69
|
|
060
|
Кругло-шлифовальная
|
3Б151
|
4
|
19,70
|
1,68
|
0,77
|
0,09
|
0,34
|
|
065
|
Токарно-затыловочная
|
1811
|
4
|
19,70
|
7,43
|
3,41
|
0,40
|
1,52
|
|
070
|
Слесарная
|
Сл.в.
|
2
|
11,03
|
5,0
|
1,28
|
0,15
|
0,57
|
|
075
|
Контрольная
|
К.п.
|
-
|
-
|
-
|
-
|
-
|
-
|
|
|
|
|
|
67,67
|
26,64
|
3,47
|
11,97
|
Таблица 31 - Калькуляция полной себестоимости изготовления детали “Зенкер
улиточный
”
|
№ п/п
|
Наименование статей расходов
|
Технологический процесс
|
Примечание
|
|
|
базовый
|
проектный
|
|
|
1
|
Материалы основные
|
5624
|
3726
|
|
|
2
|
Транспортно-заготовительные расходы
|
123,72
|
81,97
|
2,2% от п.9
|
|
3
|
Итого материалов
|
5747,72
|
3807,97
|
|
|
4
|
Отходы
|
19,22
|
8,99
|
|
|
5
|
Итого материалов за вычетом отходов
|
5728,50
|
3798,98
|
|
|
6
|
Зарплата основная
|
51,97
|
26,64
|
|
|
7
|
Зарплата дополнительная
|
6,19
|
3,47
|
|
|
8
|
Начисления на зарплату
|
21,11
|
11,97
|
|
|
9
|
Цеховые расходы
|
116,41
|
5967
|
224% от п.6
|
|
10
|
Общезаводские расходы
|
84,19
|
43,15
|
162% от п.6
|
|
11
|
Управленческие расходы
|
25,98
|
13,32
|
50% от п.6
|
|
12
|
Итого общезаводских расходов
|
6034,35
|
3957,20
|
|
|
13
|
Внепроизводственные расходы
|
1508,58
|
989,30
|
25% от
п.12
|
|
14
|
Полная себестоимость
|
7542,93
|
4946,50
|
|
. Определение оптовой цены
, руб.
где Н - накопленная нормативная прибыль, 25% от
по ЗАО УК БМЗ.
руб.
. Рентабельность изготовления деталей
. Условно-годовая экономия
, руб.,
где N=550 шт - годовая программа
руб.
. Относительное снижение трудоемкости
. Рост производительности труда
. Относительное снижение себестоимости
. Прибыль от реализации годовой программы деталей
руб.
.2 Общие требования и средства обеспечения безопасности труда при работе
на металлорежущих станках
Безопасность при работе на металлорежущих станках достигается комплексом
мероприятий, основными из которых являются; оснащение станков средствами
безопасности в процессе их проектирования и изготовления; осуществление
необходимых мероприятий при организации рабочего места станочника; строгое
соблюдение требований техники безопасности и гигиены труда при работе на
станках.
Общие требования безопасности, предъявляемые к металлорежущим станкам.
Основным руководством по обеспечению безопасности при проектировании станков и
их модернизации является ГОСТ 12.2.009-75 «Станки металлообрабатывающие. Общие
требования безопасности». ГОСТ требует, чтобы передачи (ременные, цепные,
зубчатые и др.), расположенные вне корпуса станка, были ограждены сплошными, с
жалюзи или сетчатыми укрытиями в зависимости от необходимости наблюдения за
ограждаемым механизмом. Предусматривается окраска в сигнальные цвета подвижных
сборочных единиц и ограждающих устройств. В целях удобства и безопасности труда
предъявляется ряд требований к органам управления станками, например снабжение
органов управления надежными фиксаторами, исключающими самопроизвольное их
перемещение и случайное включение; оснащение их соответствующими блокировками,
исключающими возможность несовместимых движений сборочных единиц; обеспечение усилий
на рукоятки и рычаги органов управления, не превышающих 40 Н (4 кгс) при
постоянном ручном управлении, а для включаемых не более 25 раз в смену - не
более 80 Н (8 кгс); снабжение органов управления поясняющими надписями и
символами и ряд других важных требований.
ГОСТ 12.2.009-75 предъявляет требования к устройствам для установки,
закрепления деталей и инструмента на станках. В частности, вращающиеся
устройства (патроны, поводки, планшайбы и др.) должны иметь гладкие наружные
поверхности, а при наличии выступающих частей или углублений они должны иметь
ограждения.
Предъявляется требование к электрическим, гидравлическим и пневматическим
зажимам в отношении обеспечения безопасности в случае неожиданного прекращения
подачи электроэнергии, падения давления масла или воздуха в гидравлических или
пневматических приводах. Предъявляется также важное требование об оснащении
некоторых станков индивидуальным подъемным устройством для установки заготовок
массой более 8 кг, инструментов и приспособлений массой более 20 кг.
ГОСТ 12.2.009-75 предъявляет требования к оснащению станков устройствами
для отсоса из зоны обработки загрязненного воздуха (пыль, мелкая стружка,
вредные для здоровья аэрозоли), включая пылестружкоприемники и отсасывающие
агрегаты. В приложении к ГОСТу даются примеры решения этой проблемы. В ГОСТе
изложены требования к ограничению шума и вибрации станков, к рациональному
устройству местного освещения, к решению задач электробезопасности, а также
специфические требования безопасности по группам станков - токарных, фрезерных,
сверлильных, шлифовальных и др.
Примеры конкретных технических средств безопасности применительно к
соответствующим группам металлорежущих станков (токарные, фрезерные,
сверлильные и др.) рассмотрены ниже (см. гл. 3).
Мероприятия безопасности при организации труда на рабочем месте
станочника. При организации труда станочника необходимо предусматривать
комплекс мероприятий, обеспечивающих высокую производительность и полную
безопасность работы. Основные из этих мероприятий следующие:
) рациональная планировка рабочего места, обеспечивающая взаимосвязь
основного и вспомогательного оборудования, естественное и искусственное их
освещение в соответствии с действующими нормами, возможность поддержания
зрительной связи между работающими на участке, а также нормы рабочей площадки и
разрывов между станками;
) организация бесперебойного питания рабочего места необходимыми
материалами, инструментами, а также удаления (транспортировки) с рабочего места
готовых изделий и отходов в виде стружки;
) технический инструктаж станочника мастером или бригадиром,
обеспечивающий наиболее производительные и безопасные приемы работы; этот
инструктаж должен проводиться в соответствии с инструкциями по безопасности
труда станочников.
В соответствии с нормами технологического проектирования и правилами
безопасности металлорежущие станки следует располагать так, чтобы на участке по
возможности не было встречных и перекрещивающихся грузопотоков. Разрывы между
станками определяются в зависимости от наличия и числа рабочих мест в проходе,
от размера станков и обрабатываемых деталей, а также от других специфических
условий работы.
При размещении станков не допускается ставить их вплотную к стенам,
колоннам и друг к другу торцовыми или задними сторонами. Необходимо
предусматривать разрывы, обеспечивающие безопасные условия наладки, смазки и
ремонта станка. Величина таких разрывов должна быть не менее 500 мм.
При определении разрывов между станками и необходимой рабочей зоной
должны быть дополнительно учтены максимальный вылет подвижных столов, ползунов
и других частей станка, а также площадь для вспомогательных устройств
(стеллажей для заготовок и готовых изделий, инструментальных шкафчиков и др.).
При определении безопасной ширины проезда между станками следует
учитывать особенности транспортных средств, характер их движения (встречное или
одностороннее), наличие или отсутствие рабочих мест в проезде. При колесном
транспорте (тележки, электрокары и др.) минимальная ширина проезда должна
рассчитываться, исходя из ширины тележки и необходимых разрывов'между
тележками, а также тележкой и станком, границей рабочей зоны и тележкой. Эти
разрывы должны быть не менее 200 мм при условии, что,транспортируемые детали не
выступают за габариты тележки.
Для создания высокопроизводительных и безопасных условий труда станочника
большое значение имеет наличие на рабочем месте рациональных вспомогательных
устройств (инструментальных шкафчиков, полок, тары и т. п.) для хранения
заготовок, готовых изделий, инструментов и приспособлений. Отсутствие
вспомогательного оборудования, его нерациональное устройство или неправиль-.
нос расположение приводят к захламленности и загрязнению рабочего места, что
препятствует росту производительности труда и способствует возникновению
несчастных случаев.
Наиболее рациональными являются типовые решения организации рабочих мест,
разработанные Государственным проектно-технологическим и экспериментальным
институтом «Оргстанкинпром» применительно к единичному, серийному и
крупносерийному производству, а также оргоснастка (инструментальные тумбочки,
приемные столы, верстаки и т. д.) из унифицированных узлов.
Для обеспечения безопасности при перемещений заготовок и готовых изделий
следует всемерно стремиться к механизации межоперационных транспортных
операций.
В тех случаях, когда общецеховые подъемно-транспортные устройства
применять нецелесообразно, следует предусматривать индивидуальные
подъемно-загрузочные устройства. Выбор типа таких устройств зависит от
конструкции станка, габаритов, массы заготовки и расстояния, на которое она
перемещается.
Правила техники безопасности запрещают производить измерение деталей на
ходу станка, так как это связано с опасностью травмирования рабочих режущим
инструментом, обрабатываемой деталью или приспособлениями. При измерении
размеров обрабатываемых деталей станок необходимо останавливать. Однако частые
остановки и пуски станка вредно отражаются на механизмах и увеличивают время
обслуживания станка. Поэтому следует как можно шире внедрять приборы
автоматического контроля в процессе резания.
В системе мероприятий, направленных на профилактику производственного
травматизма, значительное место занимают средства индивидуальной защиты.
При работе на станках наиболее широкое применение находят защитные очки,
индивидуальные щитки и спецодежда, которая предназначается для защиты рабочих
от воздействия масла, эмульсий и других жидкостей, применяемых при обработке
металлов резанием. Защитные очки и индивидуальные щитки предназначаются главным
образом для защиты органов зрения от механического и теплового воздействия
различных' факторов производственной обстановки. Применение очков и щитков
предупреждает ранение глаз отлетающими частицами обрабатываемой детали и
инструмента (стружка, абразивная пыль, различные металлические осколки), ожоги
глаз раскаленными частицами металлов.
Очень важно обеспечить правильный подбор очков и надлежащую их
конструкцию. Для лиц с нарушенной остротой зрения (близорукость или
дальнозоркость), выполняющих точные работы - шлифование, точение и др., -
желательно защитные функции очков сочетать с коррегированием зрения, т. е.
подбирать оптические стекла.
Средства индивидуальной защиты глаз необходимо применять особенно в тех
случаях, когда станки не снабжены устройством, автоматически отводящим стружку
из зоны резания, или ограждением зоны резания, препятствующим рассеиванию
стружки в направлении станочника.
Искусственное освещение металлорежущих станков. Одним из факторов,
способствующих росту производительности труда и предупреждающих травматизм на
производстве, является хорошее освещение рабочих мест.
Особенно важное значение имеет искусственное освещение для предприятий,
где работа требует большого напряжения зрения и выполняется в вечернюю или
ночную смену. К этой категории работ относится обработка металлов резанием.
Недостаточная освещенность, необходимость рассматривать обрабатываемую
деталь и измерительный инструмент, чрезмерно приближая их к глазам, может
привести к близорукости. Недостаточная освещенность различных зон станка
заставляет станочника близко наклоняться к детали в процессе ее обработки, а
также к вращающимся и перемещающимся частям станка при его наладке. Это может повлечь
за собой травмирование рабочего стружкой, обрабатываемой деталью, инструментом
и т. д.
Искусственное освещение металлорежущих станков должно выполняться в
строгом соответствии с требованиями действующих норм как в части выбора системы
освещения, так и в части соблюдения норм освещенности рабочих зон станочника.
Для металлорежущих станков необходимо предусматривать комбинированную систему
освещения, т. е. сочетание общего и местного освещения.
Большинство металлорежущих станков имеет три основные зоны зрительной
работы: а) зону обработки детали и контрольных промеров ее; б) зону лимбов; в)
зону расчетной таблицы режимов резания. Нормы освещенности этих зон
определяются отраслевыми нормами для станкостроительной и инструментальной
промышленности.
Местное освещение станка должно быть безопасным. В соответствии с
требованиями ГОСТ 12.2.009-75 для питания пристроенных светильников местного
освещения следует применять лампы накаливания напряжением не более 42 В (24 В
для станков, устанавливаемых в металлообрабатывающих цехах, и. не более 12 В
для станков, устанавливаемых в металлургических цехах).
Конструкция кронштейна местного освещения должна обеспечивать фиксацию
светильника во всех требуемых положениях без дополнительных операций по его
закреплению. Подводка электрических проводов к светильнику осуществляется
внутри кронштейна. Открытая проводка не допускается. Конструкция узлов и
шарниров кронштейна должна исключать перекручивание и перетирание проводов, и
попадание на них применяемых при обработке жидкостей (эмульсии, масла и др.).
.3 Требования и средства безопасности, обусловленные специфическими
особенностями станка 2С132МФ2
К станкам сверлильной группы, имеющим специфические особенности с точки
зрения техники безопасности, относятся вертикально-сверлильные,
радиально-сверлильные и специальные, в том числе агрегатно-сверлильные.
Наибольшего внимания в отношении безопасности работы заслуживают
вертикально-сверлильные станки, используемые в условиях непосредственного
контакта станочника со станком. Такие станки имеются на предприятиях всех
отраслей промышленности.
При работе на сверлильных станках наибольшую опасность для рабочих
представляют вращающиеся части станка - шпиндель, патрон, сверло. Эти детали и
устройства при отсутствии мер предосторожности могут захватить одежду или
волосы станочника. Несчастные случаи возможны при недостаточно надежном
креплении обрабатываемой детали на столе станка, а также инструмента (сверла) и
при поломке сверла в связи с нарушением правил эксплуатации станка или несоблюдением
режимов резания при глубоком сверлении. Поломки сверла происходят в основном
при сверлении с ручной подачей полых деталей после выхода сверла из отверстия
(поэтому при сверлении полых деталей следует пользоваться автоматической
подачей и применять подкладки); при встрече сверла с раковиной или твердым
включением; при засорении канавок сверла плотно набившейся стружкой, особенно
при глубоком сверлении.
При сверлении на большую глубину вязких металлов спиральными сверлами
стружка из-под сверла выходит двумя длинными спиралями, которые вращаются
вместе со сверлом и могут нанести ранения работающему на станке.
При сверлении сталей спиральными сверлами целесообразно применять
средства дробления стальной стружки. Дробление может осуществляться сверлами со
стружкодробящими канавками или прерывистой подачей сверла. Дробление стружки
при прерывистой ручной подаче сверла не требует специальных устройств. При
известном навыке рабочего стружка из-под сверла при такой подаче выходит
небольшими отрезками, не представляющими опасности с точки зрения травмирования
рабочего.
При сверлении хрупких материалов, например чугуна, бронзы и
неметаллических материалов без СОЖ, рабочая зона загрязняется мелкой стружкой и
пылью обрабатываемого материала, которые могут привести к травме глаз.
ГОСТ 12.2.009-75 в серийном и массовом производстве рекомендуется
применять для одношпиндельных, многошпиндельных и агрегатных сверлильных
станков пылестружкоотсасывающие устройства. На рис. 23 показаны схема
устройства и внешний вид щелевого пылестружкоприемника для одношпиндельных
сверлильных станков.
При организации работы на сверлильных станках и в процессе ее выполнения
необходимо иметь в виду следующее. Патрон для закрепления сверла не должен
иметь на наружных поверхностях выступающих частей. Механизм крепления сверла
должен обеспечивать надежный зажим, прочное центрирование и быструю смену
инструмента; при сверлении отверстий в громоздких деталях, когда затруднительно
пользоваться зажимными приспособлениями, следует предусматривать устройства,
исключающие проворачивание деталей, что особенно опасно при заедании сверла.
Эти устройства могут делаться в зависимости от формы и размеров обрабатываемой
детали или в виде направляющих угольников, или в виде шпилек, укрепляемых на
столе станка сзади обрабатываемой детали. При сверлении отверстий в деталях
малого размера следует пользоваться ручными зажимами; удерживать деталь
непосредственно в руках (без зажима) опасно. Уборку станка от стружки следует
производить только предназначенной для этого щеткой.
При работе на сверлильных станках необходимо строго соблюдать правила
ношения личной одежды и спецодежды, К работе на сверлильных станках не должны
допускаться станочники без головного убора, в неряшливо надетой одежде и без
защитных очков.
.4 Обеспечение электробезопасности
Согласно паспортным данным, применяемое технологическое оборудование
использует электрическую энергию напряжением сети 220 или 380V. Поэтому существует опасность
поражения рабочих электрическим током. Проходя через организм человека,
электрический ток производит термическое, электролитическое и биологическое
воздействие. Все это многообразие действий приводит к двум видам поражений:
электрическим травмам (электрические ожоги, электрические знаки,
металлизация кожи, механические повреждения);
электрическим ударам (четыре степени ударов).
Опасность поражения электрическим током возможна при:
случайном прикосновении или приближении на опасное расстояние к
токоведущим частям, находящимся под напряжением;
появлении напряжения на металлических конструктивных частях
электрооборудования;
появлении напряжения на отключенных токоведущих частях на которых
работают люди, вследствие ошибочного включения электроустановки;
при возникновении шагового напряжения на поверхности земли в результате возникновения
контакта проводника с землей.
Должны быть предусмотрены следующие меры защиты от поражения
электрическим током:
защитное заземление с величиной сопротивления не более 4 Ом;
надежная изоляция токоподводящих проводов от воздействия масла, стружки и
механических повреждений путем заключения их в трубы;
электроаппаратура и токоведущие части надежно изолированы и укрыты в
корпусах станков и в специальных закрытых шкафах;
применение электронных устройств, автоматически отключающих оборудование
при возникновении опасности поражения человека электрическим током;
применение двойной изоляции токоведущих частей;
периодическая проверка целостности защитного заземления;
заземляющий провод надежно присоединен к станинам станков с помощью гайки
и контргайки.
периодическая проверка (не реже 2-х раз в год) целостности изоляции и
измерение сопротивления изоляции прибором мегомметром;
проведение организационных мер по безопасной эксплуатации
электроустановок.
.5 Анализ шума, вибраций на рабочих местах
Станочное и технологическое оборудование является источником шума и
вибраций. Эти факторы отрицательно влияют на организм человека, вызывая
психические и физиологические нарушения, снижает работоспособность и создает
предпосылки для возникновения общих и профессиональных заболеваний и
производственного травматизма. По характеру спектра шумы делятся на
широкополостные и тональные. По временным характеристикам шумы делятся на
постоянные и непостоянные. Согласно ГОСТ 12.1003-83, допустимый уровень шума
составляет 80 дБ..
Шум влияет отрицательно на организм человека. Основное отрицательное
влияние оказывает на ЦНС, что ведет к усталости, а, следовательно, к
производственной травме.
Вибрации отрицательно воздействуют на организм человека, могут привести к
профессиональным заболеваниям - виброболезни. Локальные вибрации вызывают спазм
сосудов на фалангах пальцев, кистей, предплечья и охватывают сосуды сердца. Это
приводит к нарушению кровоснабжения конечностей, происходят нарушения
чувствительности кожи, окостенения сухожилий мышц, отложения солей в суставах.
Источником вибраций может быть неотбалансированные вращающиеся части
станков, инструмента (шлифовальных кругов), вибрации в процессе резания.
Суммарное время работы в контакте с ручными машинами не должно превышать 2/3 рабочей
смены. При этом продолжительность одноразового непрерывного воздействия
вибраций не должно превышать 15-20 мин. Суммарное время работы с
виброинструментами при 8-ми часовом рабочем дне и 5-ти дневной рабочей неделе
не должно превышать для слесарей 30% сменного рабочего времени.
Для уменьшения вибраций станки устанавливают на индивидуальные фундаменты
или монтируют на виброгасящих опорах.
Заключение
В результате дипломного проектирования был разработан проектный вариант
технологического процесса механической обработки деталей Зенкер улиточный,
проведено усовершенствование конструкции детали, произведен анализ
технологического оборудования, проведена модернизация ПГД станка мод.2С132МФ2,
подобран прогрессивный инструмент на фрезерную операцию. В экономическом
разделе проекта были определены основные организационно-экономические
показатели заводского и проектного вариантов технологических процессов.
Применение производительного оборудования позволило снизить себестоимость
детали Зенкер улиточный на 34,42% по отношению к заводскому варианту
технологического процесса.
Применение автоматизированного оборудования позволило сократить расходы
на заработную плату основных производственных рабочих, так как работа на таком
оборудовании при обработке рассматриваемых деталей не требует высокой
квалификации рабочего.
В случае внедрения разработанного технологического процесса в
производство ожидаемый годовой экономический эффект составит 1 428 036 рублей.
Список литературы
1. Геллер
Ю.А. Инструментальные стали / Ю.А. Геллер. - 5-е изд., перераб. и доп. - М.:
Металлургия, 1983 - 526с.
. Данилевский
В.В. Технология машиностроения: учебник для техникумов / В.В. Данилевский - М.:
Высшая школа, 1977 - 479с.
. Добрыднев
И.С. Курсовое проектирование по предмету “Технология машиностроения”: учебн.
пособие для техникумов / И.С.Добрыднев - М.: Машиностроение, 1985 - 184с.
. Локтева
С.Е. Станки с программным управлением и промышленные работы: учебник для
машиностроительных вузов / С.Е. Локтева - 2-е издание, переработанное и
дополненное - М.: Машиностроение, 1986 - 320с.
. Металлорежущие
станки: Учебник для машиностроительных вузов / под ред. В.Е. Пуша - М.:
Машиностроение, 1985-575 с.
. Мовчин
В.Н. Сборник задач по техническому нормированию труда в механических цехах:
учебн. пособие для техникумов / В.Н. Мовчин, С.В. Мовчин - М.:
Машиностроение,1992 - 272с.
. Нефедов
Н.А. Дипломное проектирование в машиностроительных техникумах: учебн. пособие
для техникумов - М.: Высшая школа, 1986 - 239с.
. Обработка
металлов резанием. Справочник / под ред. А.А.Панова - М.: Машиностроение, 1988
- 736с.
. Попов
С.А. Заточка режущего инструмента / С.А. Попов, Л.Г. Дибнер, А.С. Каменкович -
М.: Высшая школа, 1970 - 320с.
. Справочник
по электрическим машинам: Т.1. / под общей ред. И.В. Копылова, Б.К. Клокова -
М.: Энергоатомиздат, 1988 - 456с.
. Справочник
технолога - машиностроителя: Т.2./под редакцией А.Г. Косиловой - М.:
Машиностроение, 1986 - 496 с.
. Справочник
инструментальщика / Ординарцев И.А. и др. - Л.: Машиностроение, 1987 - 846с.
. Технология
изготовления режущего инструмента / А.И. Барсов, А.В. Иванов, К.И. Кладова и
др. - М.: Машиностроение, 1979 - 135с.
. Технология
машиностроения: Сборник задач и упражнений: Учеб. пособие / В.И. Аверченков и
др.; Под общ. ред. В.И. Аверченкова и Е.А. Польского. - 2-е изд., перераб. и
доп. - М.: ИНФРА-М, 2005 - 288с.
. Толченов
Т.В. Техническое нормирование станочных и слесарно-сборочных работ / Т.В.
Толченов - М.: Машгиз, 1956 - 400с.