Изготовления чашки дифференциала левая автомобиля ЗИЛ 5301
Изготовления
чашки дифференциала левая автомобиля ЗИЛ 5301
Содержание
Введение
1. Технологическая часть
1.1 Условия работы детали
1.2 Анализ технических условий на изготовление детали
1.3 Выбор типа и организационной формы производства
1.4 Анализ технологичности конструкции изделия
1.5 Обоснование и выбор метода получения заготовки. Расчет
коэффициента использования материала. Характеристики материала изделия.
1.6 Анализ базового технологического маршрута обработки изделия
1.7 Анализ схемы базирования и закрепления изделия
1.8 Обоснование выбора методов обработки
1.9 Обоснование и выбор оборудования
1.10 Обоснование и выбор инструмента. Характеристики инструмента.
Схемы
1.11 Анализ средств и методов контроля заданных чертежом параметров
изделия
1.12 Карта технологического маршрута обработки изделия
1.13 Расчет припусков и предельных размеров на обработку изделия.
Карта расчетов припусков
1.14 Расчет режимов резания
1.15 Обоснование выбора средств транспортировки изделия
1.16 Описание плана расположения оборудования
2. Конструкторская часть
2.1 Режущий инструмент
2.2 Обоснование и выбор зажимного приспособления
2.3 Описание контрольного приспособления
.
Специальный вопрос
4. Организационно-экономическая часть
.1
Теоретические основы планирования и технологическая подготовка производства
.2
Сравнительный анализ основных технико-экономических показателей производства
5. Безопасность и экологичность проекта
5.1 Анализ негативных факторов технологического процесса
5.2 Электробезопасность производственных систем
Список литературы
Приложение
Введение
Машиностроение - комплекс отраслей тяжелой
промышленности, изготавливающий орудия труда, а также предметы потребления и
продукцию оборонного назначения.
Уровень развития машиностроения определяет производительность
труда в целом, качество продукции других отраслей промышленности, темпы
развития технического прогресса.
Машиностроение - техническая основа
интенсификации экономического роста.
Целью данного проекта является
усовершенствование существующего технологического процесса изготовления чашки
дифференциала левой автомобиля ЗИЛ 5301 за счет замены режущего инструмента и
повышения эффективности обработки поверхности.
Проект предусматривает внедрение более
совершенных и менее энергоемких технологий, что влечет за собой сокращение
времени обработки, снижение себестоимости и увеличение годового экономического
эффекта. деталь чашка дифференциал автомобиль
В проекте разработана методика выбора
оптимального метода механической обработки поверхности, за счет замены двух
режущих инструментов на один комбинированный.
1. Технологическая
часть
.1 Условия работы
детали
Чашка дифференциала левая автомобиля ЗИЛ 5301 -
корпусная деталь, входящая в состав дифференциала заднего моста. Выполняет
функции буфера, предотвращающие проскальзывание колес автомобиля при повороте,
число оборотов колес (полуосей) заднего моста на единицу длинны пути,
преодолеваемого автомобилем, разное.
Крутящий момент от двигателя через сцепление и
коробку передач по средствам карданного вала передается на ведущую коническую
шестерню редуктора, от ведущей конической шестерни крутящий момент передается
на ведомую коническую шестерню, жестко закрепленную с чашкой дифференциала
левой. Вращение дифференциала происходи за счет крестовины, сателлита, полуоси,
передается на колесо.
Дифференциал в сборе устанавливается на ведомую
шестерню заднего моста и во время работы вращается вместе с ней.
.2 Анализ
технических условий на изготовление детали
Анализ технических условий на изготовление
изделий на изготовление изделия.
Точность характеризуется квалитетом, обычно 7-8.
) диаметр основных отверстий выполняется по 6-11
квалитету (Тi). Шероховатость этих отверстий: Ra=2,5 -0,16мкм - 7Ti, Ra=0,08мкм
- 6Ti.
) для обычных корпусов (средней точности) 1/2Td
(поле допуска на d).
) отклонение от соосности обычно не превышает
половины поля допуска на диаметр меньшего отверстия d.
) Ta - допуск на межосевое расстояние самой
передачи.
) отклонение от параллельности основных
отверстий (0,02…0,05)мм/100мм.
) отклонение от перпендикулярности торцовых
плоскостей к осям основных отверстий (0,01…0,1)мм/100мм Ra=1,25-6,3мкм.
) отклонение от плоскостности или от
прямолинейности (0,01…0,1)мм/на всей длине детали. Ra=(0,63-6,3)мкм для
основных плоскостей призматического типа.
) отклонение от параллельности или
перпендикулярности плоскостей (0,01…0,1)мм на всей длине.
) линейные размеры обрабатываются по 9-11
квалитету. Точность (0,1…0,25).
Техническими требованиями предъявляемыми к
производству чашки дифференциала левой являются: высокая прочность, высокая
точность т.к. деталь ответственная
Материал детали - ВЧ40 (или КЧ40), 150НВ
Заготовка получается литьем.
.3 Выбор типа и
организационной формы производства
Тип производства в машиностроении определяет
содержание, количество и последовательность выполнения операций
технологического процесса обработки деталей или сборки, применяемое
оборудование, оснастку, режущий и вспомогательный инструмент и средства
контроля и автоматизации, а также фору организации этих процессов.
Объем выпуска чашки дифференциала левой - 30000
шт. в год.
Сначала рассчитываем программу запуска заготовок
- ПЗ , шт.
ПЗ = П + (ПH
БЗ )/100 + (ПH БН )/100 + (ПH
БЧ )/100,
П - заданная программа выпуска детали, шт.;
БЗ - брак заготовительных цехов, % (1 - 3%);
БН - брак на наладку оборудования, % (0,5 - 1%);
БЧ - запасные части, % (10 - 20%).
ПЗ = 30000 + (30000H2
)/100 + (30000H0,75)/100 + (30000H15
)/100=
=35325 шт.
Рассчитываем такт выпуска деталей:
ТВЫП =(60 H
FД H
m)/ ПЗ, где:
FД - действительный годовой фонд времени работы
оборудования в 1 смену, час; FД = 3546 час.- число смен работы.
Д = FН HK, где
Н - номинальный фонд работы оборудования,
К - коэффициент полезного использования
оборудования (0,8…0,9)
Н = [ДК - (ДВ + ДП)] tC HC,
ДК - число календарных дней в году,
ДВ - число выходных дней в году,
ДП - число праздничных дней в году,-
продолжительность смены в часах,- число рабочих смен.Н = [365 - (117 + 6)] 8 H1
= 1936 часД = FН H K = 1936H0,85
= 1646 час
ТВЫП =(60 H 1646 H
1)/ 35325 = 2,8
Рассчитываем значение коэффициента закрепления
операций:
КЗО = NОП /NР , где:
ОП - число всех технологических операций,
выполняемых на участке или в цехе в течение месяца, шт;Р - число рабочих мест.
Так как годовая программа выпуска чашки
дифференциала левой автомобиля 5301 равна 30000шт., то производство является
серийным
.4 Анализ
технологичности конструкции изделия
Разработка нового изделия - сложная инженерная
задача, связанная не только с достижением требуемого технического уровня, но и
с приданием его конструкции таких свойств, которые обеспечивают максимально
возможное снижение затрат труда, материалов и энергии на его изготовление,
техническое обслуживание. Технологичность конструкции изделия выражает не
функциональные свойства изделия, а его конструктивные особенности. Конструкцию
изделия характеризуют в общем случае состав и взаимное расположение
поверхностей, схема устройства изделия в целом, форма и расположение
поверхностей деталей и соединений, их состояние, размеры, материалы и информационной
выразительности.
Чашка дифференциала левая - корпусная деталь,
для нее характерно наличие опорных протяженных и точных поверхностей, точных
основных отверстий, координированных между собой и относительно базовых
поверхностей второстепенных крепежных, смазочных и других отверстий. Чашка
дифференциала это деталь фланцевого типа.
В машиностроение для получения заготовок
корпусных деталей широко используется серый чугун, модифицированный и ковкий
чугуны, углеродистые стали. Чугунные и стальные заготовки получают литьем.
1.5 Обоснование и
выбор метода получения заготовки. Расчет коэффициента использования материала.
Характеристики материала изделия
Выбор заготовки заключается в последовательном
определении её вида и способа изготовления, на основании которых оформляют
заказ и разрабатывают технологический процесс изготовления её изготовления.
Исходные данные для выбора: чертёж детали с
техническими требованиями на изготовление, с указанием её массы и марки
материала; годовой объём выпуска, на основании которого делается заключение о
предполагаемом типе производства, данные о технологических возможностях и
ресурсах производства.
В машиностроение для получения заготовок
корпусных деталей широко используется серый чугун, модифицированный и ковкий
чугуны, углеродистые стали. Чугунные и стальные заготовки получают литьем.
Чашка дифференциала - это ответственная деталь
(Материал ВЧ 40 (или КЧ 40), 150 НВ) получается литьем в песчано-глинистые
формы, технические требования, предъявляемые к производству:
Высокая прочность
Высокая точность
Литье в песчано-глинистые формы - это процесс
получения отливок путем свободной заливки расплавленного металла в песчаные
формы. Песчано-глинистые форма - разовая литейная форма изготавливаемая из
песка, глины, с различными добавками. В зависимости от метода упрочнения
различают: сухую, сырую, подсушенную глинистые формы.
К исп.мат. =Вес детали/Вес заготовки =
4,58/8,72=0,53
В чугунах содержание трех основных элементов:
углерод, кремний и марганец, должно быть в предложенных пределах для того,
чтобы обеспечить наилучшие условия для достижения необходимых свойств.
Для марки ВЧ 40 в соответствии со стандартом
ISO, уровень содержания кремния должен быть до 2.5 % (максимум) для получения
хороших показателей ударной вязкости. Для оптимальной обработки ВЧ, содержание
серы в базовом металле должно быть ограничено 0.020 % (максимум), обеспечивая
конечное содержание серы в обработанном ВЧ максимум 0.015 %. Кроме того, фосфор
во всех марках ВЧ необходимо поддерживать на уровне менее 0.03 %.
.6. Анализ базового
технологического маршрута обработки изделия
Обработки чашки дифференциала левой
|
№
оп.
|
Название
операции.
|
Оборудование.
|
|
005Т
|
Транспортирование
|
Подвесной
грузонесущий конвейер
|
|
010
|
Токарная
|
Токарный.
8-ми шпиндельный. п/а мод. 1283 “Красный пролетарий”
|
|
015
|
Токарная
|
Токарный.
8-ми шпиндельный. п/а мод 1282 “Красный пролетарий”
|
|
020
|
Агрегатная
|
Агрегатный
станок мод. 11А968
|
|
025
|
Промывка
|
Промывочная
машина
|
|
030К
|
Приемочный
контроль
|
|
|
035
|
Сборка
|
Стол
для сборки
|
|
040
|
Агрегатная
|
Специальный.
сверл. 6-ти позиционный. санок с поворотным столом мод.3А-943М
|
|
045
|
Шлифовальная
|
Торцекруглошлифовальный
п/а мод. 3Т161
|
|
050
|
Шлифовальная
|
Торцекруглошлифовальный
п/а мод. 3Т161
|
|
055
|
Шлифовальная
|
Торцекруглошлифовальный
п/а мод. 3Т161
|
|
060К
|
Операционный
контроль
|
|
|
065
|
Агрегатно-сверлильная
|
Агрегатно-сверлильный
4-х сторонний станок мод.8А659
|
|
070К
|
Операционный
контроль
|
|
|
075
|
Разборка
|
Стол
для сборки
|
|
080
|
Слесарная
|
Стол
для сборки
|
|
085
|
Фрезерная
|
|
|
090
|
Слесарная
|
Стол
для сборки
|
|
095
|
Операционный
контроль
|
|
|
100
|
Промывка
|
Промывочная
машина
|
|
105
|
Сборка
|
Стол
|
|
110
|
Транспортирование
|
Подвесной
грузонесущий конвейер
|
1.7 Анализ схемы
базирования и закрепления изделия
При высоких требованиях к точности
обработки для базирования заготовок необходимо выбрать такую схему базирования,
которая обеспечит наименьшую погрешность
.
Для повышения точности обработки
необходимо применить принцип совмещения баз. Так же целесообразно соблюдать
принцип постоянства баз. При перемене баз в ходе технологического процесса
точность обработки снижается из-за погрешности взаимного расположения базовых
поверхностей.
Установочной черновой базой на
первой операции является торец и поверхности чашки дифференциала.
На черновых и получистовых операциях
базами являются внутренний диаметр. На чистовых операциях базами служат
отверстие чашки дифференциала.
Базирование по отверстию должно
обеспечить получение наиболее точных размеров, связывающих диаметр начальной
окружности с центром базового отверстия.
.8 Обоснование
выбора методов обработки.
Большинство поверхностей чашки дифференциала
левой заднего моста подвергаются лезвийной обработке. Так как многие
поверхности детали не являются особо ответственными. Они подвергаются только
токарной черновой обработке в среднем до шероховатости Ra=6,3 мкм. Исключение
внутреннего диаметра, которые подвергаются черновому, получистовому и чистовому
растачиванию, а также развертыванию. Поверхности полуось заднего моста
растачиваются до Ra=2,5.
Сверление, зенкерование и развертывание
производится на агрегатных станках.
.9 Обоснование и
выбор оборудования
Чашка дифференциала левая обрабатывается с
установкой их в специальное приспособление без разметки с использованием метода
автоматического получения размера.
Плоскости у чашки дифференциала обрабатывают
торцовым точением.
При получение чашки дифференциала используется
точение поверхностей.
Обработка основных отверстий.
Применяют агрегатные многошпиндельные
многосторонние станки. Обработку ведут при параллельных или
параллельно-последовательных схемах расточки.
Требуемое положение осей отверстий
обеспечивается обработкой с направлением и без направления инструмента.
Сверление и зенкерование выполняют при жёстком
соединении со шпинделем, о развёртывание и растачивание при плавающем
соединении.
Часто применяют комбинированные режущие
инструменты (на одной оси: сверло, зенкер и развёртка).
Обработка крепёжных отверстий. Применяют
агрегатные многошпиндельные многосторонние станки. Обработка: 3 операции:
сверление, снятие заходной фаски в отверстии и нарезание резьбы.
При получение чашки дифференциала используются
токарные 8 шпиндельные полуавтоматы (2 шт.) для обработки поверхностей и
агрегатный станок для сверления отверстия и нарезания резьбы.
После агрегатных станков производится шлифование
поверхности на торцекруглошлифовальном станке.
.10 Обоснование и
выбор инструмента. Характеристики инструмента. Схемы
Все виды режущего инструмента состоят из 2-х
основных частей - рабочей части, содержащей лезвия и выглаживатели (при их
наличии), и крепежной части, предназначенной для установки и крепления режущего
инструмента в технологическом оборудовании или приспособлением.
Рабочая часть режущего инструмента, применяемого
при токарной обработке поверхностей чашки дифференциала, изготовлена из
быстрорежущего сплава ВК6.
При обработке отверстий по базовому
технологическому процессу (сверление отверстий, нарезание резьбы) применяются
сверла из быстрорежущей стали Р6М5, развертки Р6М5 Данный материал характеризуется
повышенной прочностью, более узким интервалом закалочных температур, повышенной
склонностью к обезуглероживанию и выгоранию молибдена.
Стойкость режущего инструмента в технологическом
процессе варьируется от 50 до 260 мин.
Для режущего инструмента характерен износ по
задней поверхности при малых подачах и обработке хрупких материалов (таких как
чугун). По мере увеличения скорости резания и подачи появляется износ передней
поверхности в виде лунки. Износ по задней поверхности - основная причина потери
инструментом его режущих свойств.
1.11 Анализ средств
и методов контроля заданных чертежом параметров изделия
Приемочный контроль проводят с целью установить
пригодности к поставке или использованию получаемого изделия, отсутствие в нем
дефектов. Первый этап контроля это визуальный контроль - контролируется внешний
вид детали.
Второй этап - проверка основных отверстий
пробками, третий - контрольное приспособление проверяет радиусы, четвертый-
проверка штангенинструментом.
1.12 Карта
технологического маршрута обработки изделия
|
Базовый
процесс
|
Проектируемый
процесс
|
|
№
опер.
|
Наименование
операций
|
Оборудование
|
Приспособления
|
Режущий
инструмент
|
Средства
измерения
|
№
опер.
|
Наименование
операций
|
Оборудование
|
Приспособления
|
Режущий
инструмент
|
Средства
измерения
|
|
005Т
|
Транспортирование
|
Подвесной
конвейер
|
|
|
|
005Т
|
Транспортирование
|
Подвесной
конвейер
|
|
|
|
|
010
|
Токарная
черновая
|
Токарный
многошпиндельный п/а
|
Патрон
|
Резцы
|
|
010
|
Токарная
черновая
|
Токарный
многошпиндельный п/а
|
Патрон
|
Резцы
|
|
|
015
|
Токарная
черновая
|
Токарный
многошпиндельный п/а
|
Патрон
|
Резцы
|
|
015
|
Токарная
черновая
|
Токарный
многошпиндельный п/а
|
Патрон
|
Резцы
|
|
|
020
|
Агрегатная
|
Агрегатный
станок
|
Оправка
|
Сверло,
ценковка-зен ковка
|
|
020
|
Агрегатная
|
Агрегатный
станок
|
Оправка
|
Сверло,
ценковка-зен ковка
|
|
|
025
|
Промывка
|
Мойка
|
|
|
|
025
|
Промывка
|
Мойка
|
|
|
|
|
030К
|
Контрольная
|
|
Комплект
спецприборов
|
030К
|
Контрольная
|
|
Комплект
спецприборов
|
|
035
|
Сборка
|
|
Комплект
спецприборов
|
035
|
Сборка
|
|
Комплект
спецприборов
|
|
040
|
Агрегатная
|
Агрегатный
станок
|
|
Сверло,
зенкер, метчик
|
|
040
|
Агрегатная
|
Агрегатный
станок
|
|
Сверло,
зенкер, метчик
|
|
|
045
|
Шлифовальная
|
Торцекруглошлифовальный
станок
|
|
Шлиф.
круг
|
К-ш
алмазный
|
045
|
Шлифовальная
|
Торцекруглошлифовальный
станок
|
Шлиф.
круг
|
|
К-ш
алмазный
|
|
050
|
Шлифовальная
|
Торцекруглошлифовальный
станок
|
|
Шлиф.
круг
|
К-ш
алмазный
|
050
|
Шлифовальная
|
Торцекруглошлифовальный
станок
|
Шлиф.
круг
|
|
К-ш
алмазный
|
|
055
|
Шлифовальная
|
Торцекруглошлифовальный
станок
|
|
Шлиф.
круг
|
К-ш
алмазный
|
055
|
Шлифовальная
|
Торцекруглошлифовальный
станок
|
Шлиф.
круг
|
|
К-ш
алмазный
|
|
060К
|
Операционный
контроль
|
|
Комплект
спецприборов
|
060К
|
Операционный
контроль
|
|
Комплект
спецприборов
|
|
065
|
Сверлильная
|
Сверлильный
станок
|
|
Сверло
|
|
065
|
Агрегатно-сверлильная
|
Агрегатно
сверлильный станок
|
|
Сверло
-развертка
|
|
|
070
|
Расточная
|
Расточной
станок
|
|
Резец
|
|
|
|
|
|
|
|
|
075К
|
Операционный
контроль
|
|
Комплект
спецприборов
|
070К
|
Операционный
контроль
|
|
Комплект
спецприборов
|
|
080
|
Разборка
|
|
Комплект
спецприборов
|
075
|
Разборка
|
|
Комплект
спецприборов
|
|
085
|
Слесарная
|
|
|
|
|
080
|
Слесарная
|
|
|
|
|
|
090
|
Фрезерная
|
|
|
|
|
085
|
Фрезерная
|
|
|
|
|
|
095
|
Слесарная
|
|
|
|
|
090
|
Слесарная
|
|
|
|
|
|
100
|
Операционный
контроль
|
|
Комплект
спецприборов
|
Операционный
контроль
|
|
Комплект
спецприборов
|
|
105
|
Промывка
|
Промывочная
машина
|
|
|
Термометр
|
100
|
Промывка
|
Промывочная
машина
|
|
|
Термометр
|
|
110
|
Сборка
|
|
Комплект
спецприборов
|
105
|
Сборка
|
|
Комплект
спецприборов
|
|
115
|
Транспортирование
|
Подвесной
конвейер
|
|
|
|
110
|
Транспортирование
|
Подвесной
конвейер
|
|
|
|
1.13 Расчет
припусков и предельных размеров на обработку изделия. Карта расчетов припусков
Расчет припусков на обработку ступицы заднего
колеса ведется методом автоматического получение размера. Колебание размера
обрабатываемой поверхности заготовки в пределах допуска на её изготовление
создает колебания величины припуска от min до max.
Припуски на механическую обработку приведены в
ГОСТ 26645-85. При назначении припусков учитывают маршрут изготовления
поверхности детали, что делает обоснованным определение размеров заготовки.
Припуски на обработку (на сторону) назначают на
каждую обрабатываемую поверхность дифференцировано:
При отсутствии необходимости в повышении
точности размеров, формы и расположения обрабатываемой поверхности, для
устранения дефектов и уменьшения шероховатости литой поверхности назначают
минимальный литейный припуск;
При необходимости повышения точности
обрабатываемого элемента отливки для устранения погрешностей размеров, формы и
расположения, дефектов и неровностей обрабатываемой поверхности назначают общий
припуск;
Общие припуски на поверхности вращения и
противоположные поверхности, используемые в качестве взаимных баз при
обработке, назначают по половинным значениям общих допусков отливки на
соответствующие диаметры или расстояния между поверхностями отливки;
При индивидуальной обработке заготовок с
установкой их, с выверкой обрабатываемой поверхности припуски назначают по
половинным значениям допуска формы и расположения поверхности при односторонних
отклонениях её формы и расположения и полному допуску формы и расположения при
двухсторонних отклонениях и расположения обрабатываемой поверхности
относительно номинальной поверхности детали.
Минимальный припуск на обработку внутреннего
диаметра E52 вращения равен:
2Zmin =2(Rz i-1 +Ti-1 + ρ2
i-1 + ξ2
yi )
где Rz i-1 - высота микронеровностей на
предшествующем переходе,- глубина поверхностного дефектного слоя на предшествующем
периоде,
ρi-1 - суммарное значение
пространственных отклонений для элементарной поверхности на предшествующем
переходе,
ξyi - погрешность
установки заготовки на выполняемом переходе.
Маршрут на обработку растачиваемой поверхности E52:
Растачивание - черновое;
получистовое.
Припуск на черновое растачиваниеi-1 = 300 мкм. =
300 мкм.
ρi-1 = ρ2кор
+ ρ2см
ρсм = 800 мкм
ρкор = Δк
L = 0,8 270 = 216 мкм
Δк = 0,8 мкм/мм; L =
250 мм (наибольший размер отливки)
ρi-1 = 2162 + 8002 = 829
мкм
ξ = 250 мкм
Zmin =2(300 + 300 + 8292 + 2502 ) = 2932 мкм
Припуск на получистовое растачиваниеi-1 = 50
мкм. = 50 мкм.
ρi-1 = ky ρзаг
=0,06
ρзаг = Δк
L = 0,8 250 = 216 мкм
Δк = 0,8 мкм/мм; L =
250 мм (наибольший размер отливки)
ξ = 0, т.к при
переходе от одной позиции к другой сохраняется постоянство баз
ρi-1 = ky ρзаг
=0,06 216 = 10 мкм
Zmin =2(50 + 50 + 13 2) = 226 мкм
.14 Расчет режимов
резанья
Операция 010 Токарная, оборудование - токарный
вертикальный 8-ми шпиндельный полуавтомат модели 1283.
Заготовка: Чашка дифференциала левая, материал -
чугун ВЧ 40позиция
Загрузочная: установить и закрепить заготовку до
обработки. Открепить и снять деталь после обработки.позиция
Подрезать торец фланца Æ242
мм предварительно до Æ 166 мм, выдержав размер 18 мм
до торца бобышек.
Определяем длину рабочего хода по формуле:
Р.Х. = Lрез + y + Lдоп. = 242 - 166/2 + 2 = 38
+2 = 40 мм
Подрезать торец предварительно, выдержав размер
39,5 мм до торца Æ242 мм.
Определяем длину рабочего хода по формуле:
LР.Х. = Lрез + y + Lдоп. = (166 -128,5)/2 + 2 =
18,75 +2 = 20,75 мм
Принимаем 21 мм.
Подрезать торец Æ90
мм предварительно, выдержав размер 38,8 мм до торца.
Определяем длину рабочего хода по формуле:
Р.Х. = Lрез + y + Lдоп. = (90 - 54)/2 + 2 = 18
+2 = 20 мм
Расточить отверстие замка предварительно до Æ128,5
мм на глубину 5,0…5,3 мм от торца.
Определяем длину рабочего хода по формуле:
Р.Х. = Lрез + y + Lдоп. = 5+ 2 = 7 мм
Лимитирующим инструментом является первый резец
с наибольшим рабочим ходом равным 40 мм
Назначение подачи суппорта на оборот шпинделя S0
в мм/об. Справочник «Режимы резания металлов» под ред. Ю.В. Барановского. Карта
Т-2 стр. 23.= 0,8 мм/об.
Назначаем стойкость инструмента по нормативам,
карта Т-3, стр.26, для наладок с большим количеством инструмента,
многошпиндельных станков рекомендуют: Тр в минутах - 100 минут.
Расчет скорости резания V м/мин. и число
оборотов шпинделя n в минуту.
Определяем рекомендуемую скорость резания по
нормативам карта Т-4 стр.29…34 Справочник «Режимы резания металлов» под ред.
Ю.В. Барановского.таб. = 160 м/мин.
Определяем рекомендуемую скорость резания по
формуле:
= V таб. ´К1´К2´К3=
160´
1,0´1,25´1,0
= 200 м/мин., где
К1 - коэффициент, зависящий от обрабатываемого
материала.
К2 - коэффициент, зависящий от стойкости
инструмента и марки твердого сплава, Т15К6.
К3 - коэффициент, зависящий от вида обработки -
простое точение.
Определяем рекомендуемую частоту вращения
шпинделя по формуле:
По паспорту станка принимаем n = 400
мин-1
Рекомендуется частоту вращения
шпинделя принимать по паспорту станка с приближением ± 10%.
Определяем действительную скорость
резания по формуле:
Расчет основного машинного времени
обработки:
позиция
Расточить отверстие Æ52 мм
окончательно на глубину 34 мм.
Расточить предварительно отверстие Æ 56,00…56,74
мм на глубину 32 мм от торца Æ90
мм. Угол 45° обеспечить
инструментом. Резцы находятся на одной расточной оправке.
Определяем длину рабочего хода по
формуле:
Р.Х. = Lрез + y + Lдоп. = 242 -
166/2 + 2 = 34 +2 = 36 мм
. Точить предварительно шейку «С» до
Æ
160,1…160,26 мм на длине 39,5 мм до торца Æ 242 мм.
Определяем длину рабочего хода по
формуле:
Р.Х. = Lрез + y + Lдоп. = 39,5 + 2 =
38 +2 = 41,5 мм.
. Точить выступ сферы Æ
108,00…108,87 мм окончательно. Обеспечить шероховатость поверхности Ra = 12,5
мкм.
Определяем длину рабочего хода по
формуле:
Р.Х. = Lрез + y + Lдоп. = 22,5 + 2 =
24,50 мм
Расточить сферу предварительно до R
58 мм по копиру.
Определяем длину рабочего хода по
формуле:
LР.Х. = Lрез + y + Lдоп. = 22,5 + 2
= 24,50 мм
Точить окончательно наружный Æ 155…156 мм,
выдержав размер 20 мм от торца Æ242
мм.
Определяем длину рабочего хода по
формуле:
Р.Х. = Lрез + y + Lдоп. = 20,0 + 2 =
22,0 мм
Лимитирующим инструментом является
первый резец с наибольшим рабочим ходом равным 41,5 мм.
Назначение подачи суппорта на оборот
шпинделя S0 в мм/об. Справочник «Режимы резания металлов» под ред. Ю.В.
Барановского. Карта Т-2 стр. 23.= 0,8 мм/об.
Назначаем стойкость инструмента по
нормативам, карта Т-3, стр.26, для наладок с большим количеством инструмента,
многошпиндельных станков рекомендуют: Тр в минутах - 100 минут.
Расчет скорости резания V м/мин. и
число оборотов шпинделя n в минуту.
Определяем рекомендуемую скорость
резания по нормативам карта Т-4 стр.29…34 Справочник «Режимы резания металлов»
под ред. Ю.В. Барановского.таб. = 230 м/мин.
Определяем рекомендуемую скорость
резания по формуле:
= V таб. ´К1´К2´К3= 230´ 0,8´1,25´0,9 = 207
м/мин., где
К1 - коэффициент, зависящий от
обрабатываемого материала.
К2 - коэффициент, зависящий от
стойкости инструмента и марки твердого сплава, Т15К6.
К3 - коэффициент, зависящий от вида
обработки - растачивание.
Определяем рекомендуемую частоту
вращения шпинделя по формуле:
По паспорту станка принимаем n = 400
мин-1
Рекомендуется частоту вращения
шпинделя принимать по паспорту станка с приближением ± 10%.
Определяем действительную скорость
резания по формуле:
Расчет основного машинного времени
обработки:
позиция
Подрезать торец фланца Æ 242 до Æ 160 мм,
выдержав размер 17,5 мм до торца бобышек.
Определяем длину рабочего хода по
формуле:
Р.Х. = Lрез + y + Lдоп. = 242 -
160/2 + 2 = 41 +2 = 43 мм
Подрезать окончательно торец «У»,
выдержав размер 39,35…39,30 мм до торца фланца Æ242 мм, обеспечить шероховатость Ra
=2,5 мкм.
Определяем длину рабочего хода по
формуле:
Р.Х. = Lрез + y + Lдоп. = 34 +2 = 36
мм
Подрезать торец Æ 90 мм,
выдержав размер 38,85…38,912 мм до торца.
Обеспечить шероховатость поверхности
Ra = 2,5 мкм. Биение торца относительно поверхностей «П» и «У» не более 0,04
мм.
Определяем длину рабочего хода по
формуле:
Р.Х. = Lрез + y + Lдоп. = 22 +2 = 24
мм.
Расточить отверстие замка «П» до Æ
129,50…129,70 мм окончательно на глубину 4,0…4,3 мм от торца «У». Обеспечить
шероховатость поверхности Ra = 12,5 мкм.
Определяем длину рабочего хода по
формуле:
Р.Х. = Lрез + y + Lдоп. = 4,3 + 2 =
6,3 мм
Лимитирующим инструментом является
первый резец с наибольшим рабочим ходом равным 41,5 мм.
Назначение подачи суппорта на оборот
шпинделя S0 в мм/об. Справочник «Режимы резания металлов» под ред. Ю.В.
Барановского. Карта Т-2 стр. 23.= 0,6 мм/об.
Назначаем стойкость инструмента по
нормативам, карта Т-3, стр.26, для наладок с большим количеством инструмента,
многошпиндельных станков рекомендуют: Тр в минутах - 100 минут.
Расчет скорости резания V м/мин. и
число оборотов шпинделя n в минуту.
Определяем рекомендуемую скорость
резания по нормативам карта Т-4 стр.29…34 Справочник «Режимы резания металлов»
под ред. Ю.В. Барановского.таб. = 260 м/мин.
Определяем рекомендуемую скорость
резания по формуле:
= V таб. ´К1´К2´К3= 260´ 0,9´1,25´0,9 = 210,6
м/мин., где
К1 - коэффициент, зависящий от
обрабатываемого материала.
К2 - коэффициент, зависящий от
стойкости инструмента и марки твердого сплава, Т15К6.
К3 - коэффициент, зависящий от вида
обработки - растачивание.
Определяем рекомендуемую частоту
вращения шпинделя по формуле:
По паспорту станка принимаем n = 420
мин-1
Рекомендуется частоту вращения
шпинделя принимать по паспорту станка с приближением ± 10%.
Определяем действительную скорость
резания по формуле:
Расчет основного машинного времени
обработки:
позиция
Точить шейку «С» до Æ
159,0…158,74 мм, выдержав размер 39,2 мм до торца Æ 242 мм.
Определяем длину рабочего хода по
формуле:
Р.Х. = Lрез + y + Lдоп. = 39,2 +2 =
41,2 мм
Расточить отверстие до Æ 57,0…57,3
мм на глубину 33 мм от торца Æ
90 мм, угол 45° обеспечить
инструментом, шероховатость Ra =2,5 мкм.
Определяем длину рабочего хода по
формуле:
Р.Х. = Lрез + y + Lдоп. = 33 +2 = 35
мм
Проточить отверстие замка Æ
129,0…129,25 мм, на глубину 4,0…4,3 мм от торца «У».
Определяем длину рабочего хода по
формуле:
Р.Х. = Lрез + y + Lдоп. = 4,3 +2 =
6,3 мм.
Расточить фаску 1,0 ´45° в отверстии замка «П».
Определяем длину рабочего хода по
формуле:
Р.Х. = Lрез + y + Lдоп. = 1,0 + 1,6
= 2,6 мм
Лимитирующим инструментом является
первый резец с наибольшим рабочим ходом равным 41,2 мм.
Назначение подачи суппорта на оборот
шпинделя S0 в мм/об. Справочник «Режимы резания металлов» под ред. Ю.В.
Барановского. Карта Т-2 стр. 23.= 0,45 мм/об.
Назначаем стойкость инструмента по
нормативам, карта Т-3, стр.26, для наладок с большим количеством инструмента,
многошпиндельных станков рекомендуют: Тр в минутах - 100 минут.
Расчет скорости резания V м/мин. и
число оборотов шпинделя n в минуту.
Определяем рекомендуемую скорость
резания по нормативам карта Т-4 стр.29…34 Справочник «Режимы резания металлов»
под ред. Ю.В. Барановского. V таб. = 320 м/мин.
Определяем рекомендуемую скорость
резания по формуле:
= V таб. ´К1´К2´К3= 320´ 0,85´1,0 ´ 0,9 = 244,8
м/мин., где
К1 - коэффициент, зависящий от
обрабатываемого материала.
К2 - коэффициент, зависящий от
стойкости инструмента и марки твердого сплава, Т15К6.
К3 - коэффициент, зависящий от вида
обработки - растачивание.
Определяем рекомендуемую частоту
вращения шпинделя по формуле:
По паспорту станка принимаем n = 480
мин-1
Рекомендуется частоту вращения
шпинделя принимать по паспорту станка с приближением ± 10%.
. Определяем действительную скорость
резания по формуле:
7. Расчет основного машинного
времени обработки:
позиция
Расточить отверстие Æ 57,50…57,62
мм на глубину 33 мм до торца Æ
90 мм. Угол 45° обеспечить
инструментом.
Определяем длину рабочего хода по
формуле:
Р.Х. = Lрез + y + Lдоп. = 33 +2 = 35
мм
Точить полуокончательно поверхность
сферы до R 59,7…59,62 мм, шероховатость Ra =3,2 мкм.
Определяем длину рабочего хода по
формуле:
Р.Х. = Lрез + y + Lдоп. = 22,5 +2 =
24,5 мм
Проточить шейку «С» Æ 158,2…158,3
мм.
Определяем длину рабочего хода по
формуле:
Р.Х. = Lрез + y + Lдоп. = 39,2 +2 =
41,2 мм.
Проточить отверстие замка «П» Æ 129,6…129,7
мм.
Определяем длину рабочего хода по
формуле:
Р.Х. = Lрез + y + Lдоп. = 4,3 + 2 =
6,3 мм
Лимитирующим инструментом является
третий резец с наибольшим рабочим ходом равным 41,2 мм.
Назначение подачи суппорта на оборот
шпинделя S0 в мм/об. Справочник «Режимы резания металлов» под ред. Ю.В.
Барановского. Карта Т-2 стр. 23.= 0,45 мм/об.
Назначаем стойкость инструмента по
нормативам, карта Т-3, стр.26, для наладок с большим количеством инструмента,
многошпиндельных станков рекомендуют: Тр в минутах - 100 минут.
Расчет скорости резания V м/мин. и
число оборотов шпинделя n в минуту.
Определяем рекомендуемую скорость
резания по нормативам карта Т-4 стр.29…34 Справочник «Режимы резания металлов»
под ред. Ю.В. Барановского.таб. = 320 м/мин.
Определяем рекомендуемую скорость
резания по формуле:
= V таб. ´К1´К2´К3= 320´ 0,85´1,0 ´ 0,9 = 244,8
м/мин., где
К1 - коэффициент, зависящий от
обрабатываемого материала.
К2 - коэффициент, зависящий от
стойкости инструмента и марки твердого сплава, Т15К6.
К3 - коэффициент, зависящий от вида
обработки - растачивание.
Определяем рекомендуемую частоту
вращения шпинделя по формуле:
По паспорту станка принимаем n = 480
мин-1
Рекомендуется частоту вращения
шпинделя принимать по паспорту станка с приближением ± 10%.
6. Определяем действительную
скорость резания по формуле:
. Расчет основного машинного времени
обработки:
позиция
Расточить окончательно сферу до R
59,913…59,987 мм. Обеспечить шероховатость поверхности Ra = 2,5 мкм. Биение
поверхности сферы относительно «П» и «У» не более 0,04 мм.
Определяем длину рабочего хода по
формуле:
Р.Х. = Lрез + y + Lдоп. = 22,4 + 2 =
24,5 мм
Назначение подачи суппорта на оборот
шпинделя S0 в мм/об. Справочник «Режимы резания металлов» под ред. Ю.В.
Барановского. Карта Т-2 стр. 23.= 0,45 мм/об.
Назначаем стойкость инструмента по
нормативам, карта Т-3, стр.26, для наладок с большим количеством инструмента,
многошпиндельных станков рекомендуют: Тр в минутах - 100 минут.
Расчет скорости резания V м/мин. и
число оборотов шпинделя n в минуту.
Определяем рекомендуемую скорость
резания по нормативам карта Т-4 стр.29…34 Справочник «Режимы резания металлов»
под ред. Ю.В. Барановского.таб. = 320 м/мин.
Определяем рекомендуемую скорость
резания по формуле:
= V таб. ´К1´К2´К3= 320´ 0,85´1,0 ´ 0,9 = 244,8
м/мин., где
К1 - коэффициент, зависящий от
обрабатываемого материала.
К2 - коэффициент, зависящий от
стойкости инструмента и марки твердого сплава, Т15К6.
К3 - коэффициент, зависящий от вида
обработки - растачивание.
Определяем рекомендуемую частоту
вращения шпинделя по формуле:
По паспорту станка принимаем n = 480
мин-1
Рекомендуется частоту вращения
шпинделя принимать по паспорту станка с приближением ± 10%.
Определяем действительную скорость
резания по формуле:
Расчет основного машинного времени
обработки:
позиция
Развернуть окончательно Æ
58,000…58,134 мм, выдержать размер 33,0 мм до торца Æ 90 мм с
образованием фаски под углом 45°.
Обеспечить шероховатость поверхности Ra = 1,6 мкм, шероховатость поверхности
проверять в ЦЛИК один раз в месяц. Биение относительно поверхностей «П» и «У»
не более 0,04 мм.
Определяем длину рабочего хода по
формуле:
Р.Х. = Lрез + y + Lдоп. = 33 + 2 =
35 мм
Назначение подачи суппорта на оборот
шпинделя S0 в мм/об. Справочник «Режимы резания металлов» под ред. Ю.В.
Барановского. Карта Т-2 стр. 23.= 0,85 мм/об.
Назначаем стойкость инструмента по
нормативам, карта Т-3, стр.26, для наладок с большим количеством инструмента,
многошпиндельных станков рекомендуют: Тр в минутах - 100 минут.
Расчет скорости резания V м/мин. и
число оборотов шпинделя n в минуту.
Определяем рекомендуемую скорость
резания по нормативам карта Т-4 стр.29…34 Справочник «Режимы резания металлов»
под ред. Ю.В. Барановского.таб. = 160 м/мин.
Определяем рекомендуемую скорость
резания по формуле:
V = V таб. ´К1´К2´К3= 160´ 0,85´1,0 ´ 0,9 = 122,4
м/мин., где
К1 - коэффициент, зависящий от
обрабатываемого материала.
К2 - коэффициент, зависящий от
стойкости инструмента и марки твердого сплава, Т15К6.
К3 - коэффициент, зависящий от вида
обработки - развертывание.
Определяем рекомендуемую частоту
вращения шпинделя по формуле:
По паспорту станка принимаем n = 630
мин-1
Рекомендуется частоту вращения
шпинделя принимать по паспорту станка с приближением ± 10%.
Определяем действительную скорость
резания по формуле:
Расчет основного машинного времени
обработки:
Проверочный расчет по мощности
резания - Карта Т-5 стр. 35,36.= PZ табл. ´ К1 ´ К2 = S617
´ 0,7 ´ 0,9 = 388,7
кгс.
К1 - Коэффициент, зависящий от
обрабатываемого материала (0,7);
К2 - коэффициент, зависящий от
скорости резания и переднего угла при точении (0,9).
Расчет мощности резания в кВт ведем
по формуле:
Мощность главного привода станка
мод. 1283 составляет 17 кВт.
,8 N СТ ³ N РЕЗ.
,8´17 = 13,6 > 12,4 кВт.
Нормирование операции:
Сумма основного и вспомогательного
времени составляет время оперативной работы.
Норма штучного времени определяется
по формуле:
ТШТ. = ТО + ТВ + ТОБС. + ТОТД. мин.
ТО - основное машинное
(технологическое) время, мин.
ТВ - вспомогательное время, мин.
ТОБС. - время обслуживания рабочего
места, мин.
ТОТД. - время на отдых и
естественные надобности, мин.
Вспомогательное время.
Вспомогательное время складывается
из следующих элементов, определяемых по таблицам нормативов
(Общемашиностроительные нормативы режимов резания и времени на механическую
обработку):
- время на установку, крепления и
открепления и снятие деталей;
- время на установку и снятие
инструмента;
- время на установку и снятие
вспомогательного инструмента;
- время на отдельные приёмы, связанные
с выполнением операции;
- время на очистку от стружки
инструмента и посадочных поверхностей приспособления;
- время на контрольные промеры.
Значения всех этих составляющих приводятся в
соответствующем нормативном справочнике.
Максимальное основное (технологическое) время
механической обработки на пятой и шестой позициях составляет ТО = 0,191 минут.
Вспомогательное время складывается из следующих
элементов, определяемых по таблицам нормативов (Общемашиностроительные
нормативы режимов резания и времени на механическую обработку):
- время на установку, крепления и
открепления и снятие деталей;
- время на установку и снятие
инструмента;
- время на установку и снятие
вспомогательного инструмента;
- время на отдельные приёмы, связанные
с выполнением операции;
- время на очистку от стружки
инструмента и посадочных поверхностей приспособления;
- время на контрольные промеры.
Значения всех этих составляющих приводятся в
соответствующем нормативном справочнике.
Вспомогательное время для данной операции по
нормативным документам составляет ТВ = 0,064 минуты.
Время на обслуживание рабочего места. Нормативы
этого времени установлены в процентном отношении от операционного времени и
предусматривают выполнение следующей работы.
По техническому обслуживанию рабочего места:
- смену инструмента вследствие
затупления;
- регулировку, смазку и подналадку
станка в процессе работы;
- сметание стружки в процессе работы.
По организационному обслуживанию рабочего места:
- осмотр и опробование оборудования;
- заливку охлаждающей жидкости в
процессе работы;
- раскладку инструмента в начале
работы и уборку его по окончании работы;
- смазку и очистку станка;
- получение инструктажа в течение
рабочего дня.
, мин,
Где аОБС. - величина процента от
оперативного времени (принимается по нормативам).
Время на отдых и естественные
надобности рассчитываются по формуле:
, мин
Где аОТД. - величина процента от
оперативного времени (принимается по нормативам).
Тогда штучное время операции:
ТШТ. = ТО + ТВ + ТОБС. + ТОТД. =
0,191 +0,064 + 0,031 + 0,02 = 0,306 мин.
Операция 040 Агрегатная,
оборудование - агрегатная станок мод.3А943М
Заготовка: Чашка дифференциала
левая, материал - чугун ВЧ 40позиция
Загрузочная: установить и закрепить
заготовку до обработки. Открепить и снять деталь после обработки.позиция
Сверлить 8 сквозных отверстий Ø9,5 мм
расположенных на Ø138
мм
на глубину 107 мм.
Определяем длину рабочего хода по
формуле:
Р.Х. = Lрез + Lп + Lдоп. =
107+5+5=117 мм
Тр = Тм*λ
λ= Lp / Lрх = 107/117=0,91
т.к. λ>0,7 принимаем
Тр=Тм=140 мин
Назначение подачи суппорта на оборот
шпинделя S0 в мм/об. Справочник «Режимы резания металлов» под ред. Ю.В.
Барановского..= 0,11 мм/об.
по паспорту станка принимаем S0 =
0,12 мм/об.
Расчет скорости резания V м/мин. и
число оборотов шпинделя n в минуту.
Определяем рекомендуемую скорость
резания по нормативам Справочник «Режимы резания металлов» под ред. Ю.В.
Барановского.таб. = 18 м/мин.
Определяем рекомендуемую скорость
резания по формуле:
= V таб. ´К1´К2´К3=
18х1,0х0,95х0,9=15,4 м/мин., где
К1 =1.
К2 =0,95
К3 =0,9.
Определяем рекомендуемую частоту
вращения шпинделя по формуле:
По паспорту станка принимаем n = 500
мин-1
Рекомендуется частоту вращения
шпинделя принимать по паспорту станка с приближением ± 10%.
Расчет основного машинного времени
обработки:
Проверочный расчет по мощности
резания
о = Pо табл. ´ Кр =
2,5х0,65 = 1,625 кН.
Расчет мощности резания в кВт ведем
по формуле:
IV позиция
Ценковать торцы 4-х Ø28 мм с
одновременным снятием фасок 1х45˚ с отверстии Ø9,5.
Инструмент ценковка-зенковка
материал ВК-8.
Определяем длину рабочего хода по
формуле:
Р.Х. = Lрез + y + Lдоп. = 2+3+0=5 мм
Тр = Тм*λ = 150х0,4=60
(мин)
λ= Lp / Lрх = 2/5=0,4
Тм=150 мин
Назначение подачи суппорта на оборот
шпинделя S0 в мм/об. Справочник «Режимы резания металлов» под ред. Ю.В.
Барановского. S0 = 0,23 мм/об.
по паспорту станка принимаем S0 =
0,12 мм/об.
Расчет скорости резания V м/мин. и
число оборотов шпинделя n в минуту.
Определяем рекомендуемую скорость
резания по нормативам Справочник «Режимы резания металлов» под ред. Ю.В.
Барановского.таб. = 25 м/мин.
Определяем рекомендуемую скорость
резания по формуле:
= V таб. ´К1´К2´К3=
25х1,2х1,3х1,05=40,95 м/мин., где
К1 =1,2.
К2 =1,3
К3 =1,05.
Определяем рекомендуемую частоту
вращения шпинделя по формуле:
По паспорту станка принимаем n = 250
мин-1
Рекомендуется частоту вращения
шпинделя принимать по паспорту станка с приближением ± 10%.
Определяем действительную скорость
резания по формуле:
Расчет основного машинного времени
обработки:
Проверочный расчет по мощности
резания
о = Pо табл. ´ Кр =
0,12х(24-14)=1,2 кН.
Расчет мощности резания в кВт ведем
по формуле
позиция
Ценковать 8 сквозных отверстий Ø16,65/12,3
мм
расположенных на Ø138
мм.
Инструмент зенкер ступенчатый
материал Р6М8.
Определяем длину рабочего хода по
формуле:
Р.Х. = Lрез + y + Lдоп. = 107+5+5=117мм
Тр=Тм*λ
λ= Lp/Lрх =107/117=
0,91
т.к. λ>0,7 принимаем
Тр=Тм=140 мин
Назначение подачи суппорта на оборот
шпинделя S0 в мм/об. Справочник «Режимы резания металлов» под ред. Ю.В.
Барановского. S0 = 0,4 мм/об.
по паспорту станка принимаем S0 =
0,12 мм/об.
Расчет скорости резания V м/мин. и
число оборотов шпинделя n в минуту.
Определяем рекомендуемую скорость
резания по нормативам Справочник «Режимы резания металлов» под ред. Ю.В.
Барановского.таб. = 23 м/мин.
Определяем рекомендуемую скорость
резания по формуле:
= V таб. ´К1´К2´К3=
23х1,0х1,6х0,9=33,1 м/мин., где
К1 =1,0.
К2 =1,6
К3 =0,9.
Определяем рекомендуемую частоту
вращения шпинделя по формуле:
По паспорту станка принимаем n = 500
мин-1
Рекомендуется частоту вращения
шпинделя принимать по паспорту станка с приближением ± 10%.
Определяем действительную скорость
резания по формуле:
Расчет основного машинного времени
обработки:
Проверочный расчет по мощности
резания
о = Pо табл. ´ Кр =
0,12х(24-14)=1,2 кН.
Расчет мощности резания в кВт ведем
по формуле:
позиция
Нарезать резьбу М12х1,25 -7Н на 8
отверстиях глубина 34 мм инструмент метчик материал Р6М8.
Определяем длину рабочего хода по
формуле:
Р.Х. = Lрез + y + Lдоп. =
34+8+0=42мм
Рекомендуемая скорость резания: V. =
5,4 м/мин., шаг P=1,25
Стойкость метчиков Т (стр. 90)
Т=4,25- погонных метров детали до
переточки, при а=0,027 и твердости НВ=140-200
Толщина среза стружки определяется
по формуле:
Крутящий момент (стр. 91)
Для Р=1,25 иДн=12 мм
Мкр=26Н*м
Расчет мощности резания в кВт ведем
по формуле:
По паспорту станка принимаем n = 90
мин-1
Корректируем скорость резания по
принятой частоте вращения шпинделей:
Основное время То (мин)
При нарезание резьбы машинными
метчиками основное время равно:
=1,82+1,76+1,76+1,51+1,92=8,77кВТ
Проверка мощности резания по
мощности движения шпинделя коробки
≤1,2 х
хη
=8,77 кВт
=10кВт
,77≤9,6 обработка возможно,
т.к. мощность шпиндельной коробки достаточна.
.15 Обоснование
выбора средств транспортировки изделия
Для транспортировки чашки дифференциала
используется подвесной конвейер т.к. деталь не большая по габаритам, но
тяжелая.
Подвесной конвейер служит для непрерывного
транспортирования штучных грузов (иногда насыпных грузов в таре) по замкнутому
контуру сплошной пространственной трассы. Подвесным конвейер называется потому,
что перемещаемые им грузы находятся на подвесках, движутся по подвесному пути.
Благодаря подвесной гибкости пути конвейер может
обслуживать большое количество транспортно технологических операций в одном или
нескольких цехах.
Путь конвейера можно опустить вниз до
необходимого уровня в местах загрузки и разгрузки.
.16 Описание плана
расположения оборудования
На участке обработки чашки
дифференциала левой устанавливается 8 станков, пункты контроля, а так же стол
для сборки. Исходя из этого определяем ориентировочную площадь участка
. Размеры
площади участка уточняются расстановкой оборудования при планировке.
Оборудование на участке расположено
по ходу технологического процесса вдоль пролета с накопителем.
Связь между всеми видами
оборудования осуществляется подвесным конвейером, предназначенными для
транспортировки деталей.
2. Конструкторская
часть
.1 Режущий
инструмент
При производстве чашки дифференциала основная
часть обработки приходится на токарную и агрегатно-сверлильную.
При получение используются следующие виды
резцов.
Токарные резцы.
Токарные резцы предназначены для обработки
наружных и внутренних поверхностей. Они применяются для обработки поверхностей
(межторцовая поверхность), цилиндрических и фасонных (конус), нарезания резьбы
и т.д.
Выполнение различных работ резцами на станках
токарных групп.
Есть Прямые резцы и Отогнутые резцы.

Виды токарных резцов
|
Наружное
обтачивание
|
|

|
|
|
Подрезание
уступа Прорезание
канавки
|
|
Обтачивание радиусной галтели.
Растачивание
отверстия.
Резцы с твердосплавными пластинами - Т15К6
Чашка дифференциала корпусная деталь содержащая
большое количество крепежных и технологических отверстий, исходя из этого в
технологическом процессе большое место занимает агрегатно-сверлильные операции.
Свёрла предназначены для сверления отверстий в
сплошном материале, для рассверливания уже имеющихся отверстий, для сверления
конических углублений, например, для центров.
Наиболее применимы спиральные
свёрла.
Соотношение длины и диаметра не более 5/1. Если
более чем 5/1, то возникают трудности с эвакуацией стружки.
Свёрла используются для обработки отверстий под
зенкерование, развёртывание, нарезание резьбы метчиком
Отличие сверления от других операций: на
поперечной режущей кромке Vрезания=0.
Зенкеры широко распространены в машиностроении,
особенно в крупносерийном и массовом производстве. Зенкерами обрабатывают более
точные отверстия после сверления (потом развёртка).
В технологическом процессе изготовления
отверстий зенкеры имеют промежуточное значение между сверлом и развёрткой,
соответственно производится и его конструктивное оформление.
-режущая или заборная часть;
-калибрующая часть;
-рабочая часть;
-шейка;
-хвостовик.
Длина режущей части 1 зависит от
глубины резания, калибрующая часть 2 придаёт правильное направление зенкера.
Хвостовик 5 служит для закрепления зенкера в станке.
Зенкер не работает в сплошном
материале (предназначен для обработки отверстий) следовательно, отпадает
необходимость в оформлении заострённой вершины с поперечной кромкой. Это
обеспечивает зенкеру лучшие условия резания на всём протяжении режущей кромки.
Развёртка предназначена для
изготовления более точных отверстий и обеспечивает высокое качество
обрабатываемых материалов.
Развёртка состоит из режущей,
калибрующей частей, шейки и хвостовика.
- направляющий конус;
- режущая часть;
- калибрующая часть;
- обратный конус;
- хвостовик;
- рабочая часть;
- шейка.
Калибрующая часть служит для
направления инструмента и используется, как запас на переточку. Она обеспечивает
заданную форму отверстия, его точные размеры и требуемую шероховатость.
Калибрующая часть машинной развёртки
- короткий цилиндрический участок, предназначенный для калибрования отверстий,
и конический участок с утонением по направлению к хвостовику. Утонение служит
для уменьшения трения развёртки по поверхности отверстия. Оно составляет
0,04-0,06 мм. Его не делают при повышенных требованиях к точности
обрабатываемого отверстия.
Увеличение длины калибрующей части
приводит к более тяжёлой работе развёртки. Рекомендуется применять короткие
развёртки.
Зубья развёртки могут быть
расположены параллельно оси или под наклоном.
Развёртки с винтовыми зубьями
обеспечивают высокую точность и имеют более высокую стойкость.
Развёртки с прямыми и наклонными
зубьями в большинстве случаев обеспечивают требуемую точность и качество
обработки.
Изготовление, заточка и контроль
развёрток с прямыми и наклонными зубьями значительно проще, чем с винтовыми.
Направление винтовых зубьев делается обратным направлению вращения для предупреждения
самозатягивания развёртки, а также выхода её хвостовика из шпинделя.
Угол наклона канавки выбирается в
зависимости от обработки материала (сталь→7-8°).
Все описанные инструменты
используются в технологическом процессе получения чашки дифференциала.
При обработке комплекта чашек
дифференциала резьба нарезается только в левой чашке. Резьба нарезается
метчиком Р6М5. Нарезаемая резьба не превышает нормальную длину (LN) по ГОСТ
16093 - 8, находящуюся в приделах от 2,25·Рd0.2 до 6,7·Рd0.2, где Р и
d - шаг и номинальный диаметр резьбы.
Твердость заготовки - 207НВ.
Инструмент - Р6М5, твердость 62….65
HRC.
Степень точности нарезаемой резьбы -
6.
Несоосность инструмента и заготовки d=0.1мм. мах.
Рекомендуемая толщина среза стружки
«а»: 0.04 - 0.07 мм - для чугуна.
Применение СОЖ.
.2 Обоснование и
выбор зажимного приспособления
Обработка данной детали производится на операции
010. Токарная на токарно-винторезном полуавтомате мод. 1К282 завода «Красный
пролетарий» (Москва)
Базой для установки служит внутренний диаметр,
Станочное приспособление - трех кулачковый
патрон для установки и закрепления чашки дифференциала левой автомобиля
ЗИЛ-5301 Приспособление состоит из корпуса, оправки, кольца, втулки,
переходника.
Погрешность установки
есть
отклонение фактически достигнутого положения заготовки при установе в станочное
приспособление от требуемого.
возникает вследствие не совмещения
измерительных и технологических баз, неоднородности качества поверхностей
заготовок, неточности качества поверхностей заготовок , неточности изготовления
и износа базовых поверхностей приспособления, нестабильности сил закрепления и
т.д.
где:
- погрешность установки заготовки;
- погрешность базирования;
- погрешность закрепления.
= 0, так как совпадают установочная
и измерительная база с зажимной поверхностью.
Надежность закрепления заготовок
(заготовка имеет главное движение - вращательное) обеспечивается тождеством:
где Мзаж - момент зажима,
создаваемый зажимным элементом приспособления.
- сумма моментов резания,
возникающая при обработке заготовки;
К - коэффициент запаса, учитывающий
нестабильность силовых воздействий на заготовку
К- коэффициент запаса, определяемый
по формуле: К - К0К1К2К3К4...Кn,
М = Рz• r;
Величину коэффициента запаса
используют при расчете силы зажима заготовки в приспособлении и представляют в
виде произведения первичных коэффициентов К0, К1, К2 и т.д.:
К0 - гарантированный коэффициент
запаса рекомендуется во всех случаях брать равным1.5, Ко=1.5;
К1 учитывает неровности на
обрабатываемой поверхности, приводящие к увеличению силы резания при черновой
обработке, К1 = 1.2, а при чистовой и отделочной К1 = 1;- учитывает увеличение
сил резания от затупления инструмента,
К2 = 1.0... 1.8, причем большие
значения выбирают при фрезеровании и протягивании;
К3 - учитывает условия обработки при
прерывистом резании, при этом
К3 = 1.2;
К4 - характеризует стабильность
развиваемой зажимной силы. Для ручных зажимных устройств К4 = 1.3. Для
пневматических, гидравлических и других устройств, развивающих постоянную силу
зажима, К4 = 1.0;
К5 - характеризует только ручные
зажимные устройства. При удобном расположении рукоятки К5 = 1.0. При неудобном
расположении рукоятки К5 = 1.2,
К6 - учитывает только наличие
моментов, стремящихся повернуть заготовку на базовой плоскости. При установке
на точечные опоры К6 = 1.0. При установке на планки, при котором учитывается
нестабильность расположения точек контакта, К6=1.5.
Для нашего случая: К =
К0К1К2КЗК4К5К6 = 1.5*1.0*1,05*1,0*1,3*1*1 = 2.05
Подставляя числовые значения в
формулу (1), получим необходимую величину силы зажима:
Определяем Мзаж, создаваемый
приспособлением
тр - сила трения, возникающая при
зажиме заготовки одним кулачком
=2,5 Кн=0.16 - коэффициент трения
между кулачком и заготовкой (сталь по чугуну)
=0,75-коэффициент, учитывающий
уменьшение Fшф в связи с наличием пружин возврата кулачков=2.5 - коэффициент
выигрыша в силе при наличии пружинтр=2,5*0,16*0,75*2,5=0,75 кнк=7 - количество
кулачков оправки
Определяем суммарный момент резания,
возникающий при обработке заготовки:
- сила резания, возникающая от
первого резца
- сила
резания, возникающая от второго резца= 102мм= 70 мм
Данные
для коэффициентов берем из справочника инженера-технолога=300=1=0.75=-0,15
n=0.75
КMP=(86/75)0.75=1,1
1
Кр
= 1,1*0,89*1*1*1=0,98= 2 мм= 0.111 мм/об= 293 1/мин
=
10*300*21*0.1110.75*93,840,15*0.98=198,8 Н= 10*300*21*0.1110.75*66,7,15*0.98=209,34
Н
Определяем
коэффициент запаса, создаваемый разработанным в проекте станочным
приспособлением:
,88>2.5
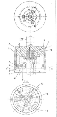
Рис.2.1
Патрон
Описание
работы приспособления:
Станочное
приспособление (патрон 71П-845) на операции Токарная для обработки заготовки
чашки дифференциала состоит из корпуса 4 в котором монтируется кулачковая
оправка..
Работа
кулачковой оправки осуществляется следующим образом: при движении штока «на
зажим заготовки» скосы штока равномерно раздвигают кулачки в радиальном
направлении, происходит центрирование и закрепление заготовки»
Сама
оправка 16 представляет собой корпус с установочной шейкой под заготовку,
центральное отверстие для фиксации и направления штока; пазами для фиксации и
направления кулачков, а также имеет опорный торец.
Разработанное
в проекте станочное приспособление обеспечивает высокую точность центрирования
и надежность зажима заготовок чашки дифференциала, а также является
универсальным.
Универсальность
достигается путем замены многокулачковой оправки на оправки других
типоразмеров, что позволяет производить обработку заготовок других изделий на
конкретном станке.
.3 Описание
контрольного приспособления
Контроль качества изделий очень важен в
современном машиностроении. Применение универсальных измерительных инструментов
и калибров малопроизводительно, и не всегда обеспечивает нужную точность и удобство
контроля, а в условиях поточно-автоматизированного производства вообще
неприемлемо.
Контрольные приспособления применяют для
проверки заготовок, деталей и узлов машины.
Погрешность измерения в зависимости от
назначения изделия допускают в пределах 8÷30% поля
допуска на контролируемый объект.
На выбор схемы измерения большое влияние
оказывает заданная производительность контроля. При 100% проверки деталей в
поточном производстве время контроля не должно превышать темпа работы поточной
линии.
Контрольные приспособления служат для проверки
точности выполнения размеров, формы и взаимного расположения поверхностей
детали. Точность контрольного приспособления в значительной степени зависит от
принятого метода измерения, степени совершенствования конструкции приспособления
и точности изготовления его элементов.
Активные устанавливают на станках, они
контролируют детали в процессе обработки, давая сигнал на органы станка или
рабочему на прекращение обработки или изменение условий ее выполнения при
появлении брака.
Контрольное приспособление состоит из
установочных, зажимных, измерительных и вспомогательных элементов,
смонтированных на корпусе приспособления.
На установочные элементы (опоры) ставят
проверяемую деталь своими измерительными базами для проведения контроля. Для
установки применяют постоянные опоры со сферическими и плоскими головками,
опорные пластины, а также специальные детали (секторы, кольца и т. д.) в
зависимости от конфигурации детали.
Для обработки чашки дифференциала применяют
приспособление с активный контролем.
3. Специальный
вопрос
.1 Обработка
отверстий комбинированным инструментом
Рассмотрим способ обработки отверстий в
корпусных деталях комбинированным инструментом не требующим его замены так как
применяемый инструмент предъявляет собой комбинацию сверла и развертки.
По исследовательским данным качество поверхности
отверстий обработанных комбинированным инструментом выше чем у отверстий
обработанных традиционным способом.
Применение комбинированного инструмента
сокращает время вспомогательных и основных операций и следовательно снижает
стоимость обработки.
Расчет режимов резанья предлагаемого варианта
инструмента.
Операция 065
Агрегатная - сверлильная, оборудование:
агрегатно-сверлильный станок 4-х сторонний мод.6А946
Заготовка: Чашка дифференциала левая, материал -
чугун ВЧ 40
Сверлить окончательно 4 отв. Ø21,5
мм
Инструмент сверло Ø21,5 мм
материал- твердый сплав ВК8
Определяем длину рабочего хода головки LР.Х , мм
(Карта С-1, стр. 66):
Р.Х. = Lрез + Lп + Lдоп. = 18+8+9=35 мм,
Где Lрез=18мм, длинна резания
Lп =8 мм, величина подвода врезания и перебега
инструмента (приложение 5 стр119)доп = 9 мм, дополнительная длинна хода
вызванная особенностями наладки и конфигурации детали
Определяем стойкости инструмента, мин (Карта С-2
стр 68):
Стойкость инструмента определяется по формуле:
Тр= Тм*λ
Тм - Стойкость в минута основного времени работы
станка, Тм=140 мин
λ- коэффициент времени
резания
λ=Lp/Lрх= 18/35=0,51
Тр=Тм*λ=140*0.51=71.4 мин
Назначение подачи суппорта на оборот шпинделя S0
в мм/об. Справочник «Режимы резания металлов» под ред. Ю.В. Барановского.(Карта
С-3 стр.69).
Определение рекомендуемой подачи S0 =0,25 мм/об
Группа подачи III, диаметр обработки D= 21.5 мм
По паспорту станка принимаем S0 = 0,17 мм/об.
Расчет скорости резания V м/мин. и число
оборотов шпинделя n в минуту.(карта С-4, стр 72)
Определяем рекомендуемую скорость резания по
нормативам Справочник «Режимы резания металлов» под ред. Ю.В. Барановского.таб.
= 20 м/мин.
При сверлении деталей из чугуна скорость резания
определяется по формуле:
V = V таб. ´К1´К2´К3=
20*1,2*1,2*1=28,8 м/мин., где
таб.=20 м/мин- скорость резанья по таблице,
группа III при отношению глубины сверления к диаметру до 3мм
К1 =1,2.-коэффициент зависящий от
обрабатываемого материала, обработка ВЧ 40 НВ 10-200, Сверло ВК8;
К2 =1,2 - коэффициент зависящий от отношения
принятой подачи к подаче, рекомендуемой картой С-3;
К3 =1 - коэффициент зависящий от стойкости
инструмента.
Определяем рекомендуемую частоту вращения
шпинделя по формуле:
По паспорту станка принимаем n = 315
мин-1
Рекомендуется частоту вращения
шпинделя принимать по паспорту станка с приближением ± 10%.
Определяем действительную скорость
резания по формуле:
Расчет основного машинного времени
обработки:
Проверочный расчет по мощности
резания
Pо = Pо табл. ´ Кр =
5,5*0,65 = 3,6 кН.
Расчет мощности резания в кВт ведем
по формуле:
Обработка возможна, т.к мощность
электоро- двигателя привода сверлильного головки достаточна.
Применение такой технологии
обработки приводит к снижению затрат более чем на 30% по сравнению с
традиционными способами получения отверстий.
Схема базирования сверла.
Наиболее сложная и дорогостоящая
деталь или звено МРС - это чаще всего металлорежущий инструмент (МРИ),
расположенный в непосредственном соприкосновении с замыкающим звеном -
заготовкой в многозвенной системе технологической наладки.
Исполнительная поверхность МРИ в
рабочем процессе формирует поверхность резания (ГОСТ 25762-83 "Обработка
резанием") и создает форму и размеры обрабатываемой поверхности заготовки
с помощью кинематики резания в векторном силовом поле, определяемом режимами
резания, условиями рабочего процесса и конкретной конструкцией всей
многозвенной системы.
Факторов, влияющих на состояние
звеньев и всей МРС, много, поэтому в теории и практике расчетов качественных
показателей исходят из наиболее приемлемого положения, т.е. учета доминирующих
факторов, обусловливающих качественные показатели работы МРС в конкретных
условиях при заданных границах допуска на определенный показатель.
Из сказанного следует, что для
определения формы и размеров конкретной детали необходимо провести векторный
анализ силового поля, в котором функционирует деталь, в том числе и МРИ, в
сочетании с выбором комплекта баз.
Для анализа векторного силового поля
был выбран осевой МРИ - спиральное сверло. Несмотря на сложность описания
закономерности вращающегося силового поля осевого МРИ, этот вид инструмента с
осевой подачей имеет наиболее стабильное направление потока силового поля за
счет того, что векторы основных сил и моментов на рабочей поверхности МРИ
(сверл, зенкеров, зенковок, разверток, цековок, метчиков и других инструментов
с жестким закреплением) направлены вдоль их геометрической оси, за исключением
сил и моментов, образующихся в результате размерных отклонений. Однако
непростым является вопрос о физической сущности самих векторов, направление
которых бывает выбрано условно.
Например, вектор момента импульса
при вращательном движении задается, исходя из направления условного вектора
угловой скорости ω.
Имеют
ли физическую, т.е. силовую сущность такого рода векторы? Оказывается, имеют,
так как в сочетаниях с условными и реальными векторами изменяют направление
других векторов силового поля.
У осевого МРИ вектор крутящего
момента радиальных пар сил направлен вдоль геометрической оси без учета
погрешностей установки, то пара сип расположена строго перпендикулярно этой
оси.
На основе анализа векторного
силового поля спирального сверла, сделан выбор главной базы - установочной для
осевого МРИ с жестким закреплением.
Разработаны новые конструкции
инструмента и патронов. Для осевого МРИ с патроном (рис. 3.1) скрытые базы,
выраженные в явных через поверхность конуса Морзе и представленные опорными
точками I, II, III, IV в качестве двойной направляющей базы, а также опорными
точками V, VI в качестве опорных баз (рис. 3.1, б), заменены явными базами:
плоской установочной - база С; двойной опорной - база В и опорной - база Е (см.
рис. 1,а).
Рассмотрим патрон для жесткого
крепления сверл, зенкеров и другого осевого МРИ с закрытой базой, в основном
крупных размеров.
Сверло с закрытой базой показано на
рис. 3.2, а патрон для его закрепления - на рис. 3.3. Патрон имеет конус Морзе
для установки на станках отечественного производства из-за отсутствия у них
вспомогательной плоской базы. Корпус 1 патрона устанавливается и закрепляется в
шпинделе станка при точно пригнанных поверхностях шпинделя и патрона с выверкой
по биению поверхностей Б и В не более 0,005 мм. Корпус 1 соединен резьбой с
гайкой 2, в гладкой части которой вставлен корпус 3 с кронштейнами, а со
стороны торца гайки винтами 5 закреплена крышка-кольцо 4. На свободных концах
трех кронштейнов с внешней стороны установлены штыри 6 с поворотным диском 7, а
с внутренней стороны - точечные опоры в виде винтов со сферическими головками
8, закрепленных на концах кронштейнов гайками 9. Как показали испытания,
сферические головки патрона должны опираться на пружинящие шайбы для
равномерного распределения давления этих головок на диск хвостовика осевого
МРИ. В центральной расточке корпуса 1 помещен цилиндрик 11 с выступающим над
установочной базой (плоскостью Д) радиусным диском (базой Г), закрепленный в
корпусе патрона винтом 10. На плоскости Д корпуса имеются три шпонки 12, а на
кольцевой его выточке три упора 13. Выполнены также четыре отверстия 14 под
ключ для завинчивания и свинчивания гайки с корпуса. Работает патрон следующим
образом.
Хвостовик осевого МРИ с закрытой
базой вводится в пазы между кронштейнами при предварительном свинчивании гайки
2 с корпуса на величину 0,5-1,0 мм относительно диска инструмента. Диск 7
повернут по часовой стрелке до упоров 13, и хвостовик МРИ с закрытой базой
свободно устанавливается на плоскую базу Д с вхождением радиусного диска
цилиндрика в торцовую расточку и шпонок в пазы инструмента. При повороте диска
7 против часовой стрелки до упоров 13 три точечные опоры кронштейнов
располагаются над секторами диска хвостовика инструмента, предназначенными для
приложения усилий зажима.
Рис. 3.1. Базовые
поверхности спирального сверла
а - новой конструкции, б - традиционной
конструкции: 1 - рабочая часть сверла диаметром d; 2 - шейка диаметром d, и
длиной t, 3 - диск; 4 - радиусный буртик диаметром D на диске
Рис. 3.2.
Спиральное сверло с закрытой двойной опорной базой В 1 - шейка, 2 - диск
Риc.3.3. Патрон для
закрепления сверла с закрытой базой
Зажим выполняется свинчиванием гайки 2 с помощью
ключа, входящего цилиндрическим элементом в отверстия
в патроне (или в ручную) в сторону,
противоположную вращению шпинделя станка. Далее поворачивается диск 7 по
часовой стрелке до упоров 13, и МРИ свободно вынимается из патрона.
Стабильность точности базирования и установки
достигается сохранением качества базовых поверхностей патрона и МРИ от
повреждений в работе и при транспортировке при такого рода конструкции.
Точность двойной опорной базы у МРИ и патрона обеспечивает точность межосевых
расстояний при обработке, поэтому этот вид базы лучше выполнять закрытым.
Радиусный поясок (опорные точки IV, V) в патроне
на рис.3.3 и цилиндрический поясок у МРИ на рис.3.2 формируют двойную опорную
базу. У инструмента первой конструкции радиусный буртик был выполнен на диске
хвостовика, а цилиндрический поясок - в расточке патрона. За счет сочетания
этих двух видов поверхностей формируется двойная опорная база при определенных
размерных параметрах и допусках на них.
Конструкцию сверл с плоской базой можно
упростить путем удаления пазов в диске хвостовика, заменив их глухими
отверстиями в торце диска, но для этого следует предусмотреть зажимные
поворотные рычаги в патроне. Для автоматизированного серийного производства
такие конструкции патронов давно созданы, а для индивидуального производства автор
предлагает свои разработки, которые решают этот вопрос при несложных
конструкциях патрона.
Испытания сверл с плоской установочной базой в
сравнении со сверлами с конусом Морзе выявили новые, неизвестные до сих пор
результаты работы осевых МРИ с конусным хвостовиком. При достаточной, на первый
взгляд, надежности закрепления инструмента по конусу Морзе и малом радиальном
биении при установке его в шпинделе станка положение оси (геометрической и оси
вращения) этого инструмента постоянно меняется, что связано с перезакреплением
вследствие изменения величины и направления динамических факторов в рабочем
процессе.
Из этого следует, что крепление МРИ силами
трения при динамических нагрузках недопустимо.
В предлагаемых автором конструкциях крепежных
патронов конус Морзе оставлен как связующее звено патрона со станком при
отсутcутствии у станка вспомогательной плоской базы. Конус Морзе в этом случае
выполняется по номеру конуса Морзе шпинделя станка и крепится до установки в
него МРИ, что позволяет не только строго выверить его положение, но и надежно
(ударно-механически) закрепить патрон в шпинделе станка, предотвращая
раскрепление в рабочем процессе. Такое положение сохраняется только до создания
плоской установочной базы у шпинделя станка.
Сверла с плоской установочной базой
изготавливались по опытной технологии, так как для заточки режущей части
инструмента от плоской базы, что определено в технологии как необходимое
условие, нет
- соответветствующего приспособления у
станков
- инструментального производства.
Опытная технология предусматривала изготовление
и закрепление специальной насадки на сточенный хвостовик сверла, полученного
традиционной технологией.
Безусловно, эта технология несколько снизила
качественные параметры сверла с плоской установочной базой. При определенных,
принятых в методике эксперимента средствах удалось достичь практически равных
параметров радиального биения сверл старой и новой конструкции при установке в
шпиндель станка.
Эксперименты со сверлами старой и новой
конструкций ставили целью выявления стабильности положения геометрической оси
сверл при различных условиях, изменении обрабатываемого материала, изменении
или постоянстве установки при сверление очередного отверстия, сверлении при
различной степени затупления сверл по задней поверхности и др. Приведены
графики изменения положения оси сверл по величине разбиения ∆d отверстия
при сверлении стали сверлами.
Условия сверления; материал заготовки - сталь
30, сверла d = 12 ± 0,02 мм из стали Р6М5; режимы резания n= 90 мин-1, S0 =
0,14 мм/об, глубина 10 мм на проход; при сверлении первого отверстия имело
место затупления по задней поверхности h=0.4мм, а при сверлении последнего
h=1.2-1.3мм переустановки сверл, но с измерения при начальной установке,
которое не превышало для обоих видов сверл 0.13-0,16 мм Как видно из графиков,
стабильность положения оси сверла новой конфигурации почти в 2 раза выше
стабильности положения оси сверла новой конструкции, т.е. 0,6/0,35 =1,71 раза.
Векторный анализ совместно с базовым для других МРИ позволит в ряде случаев не
только вид базовых поверхностей, но так же, как и в случае векторного анализа
осевого инструмента, получить новые сведения, меняющие представление о
характере геометрических параметров и об удельном весе тех или иных
погрешностей в конструкции МРИ, в том числе и его режущей части.
Например, для спиральных сверл выявлен характер
действия составляющей Р силы резания Р. Р создает крутящий момент на плече
диаметра перемычки с направлением, противоположным моментам других пар
сопротивления резанию или совпадающим с направлением момента на шпинделе
станка. Предположение, что действие Р направлено навстречу друг другу с двух
зубьев, обоснованно лишь в конструкциях сверл с расположением двух режущих
кромок зубьев на одном диаметре. Такие конструкции используются редко.
Анализируя теоретическую схему базирования
спирального сверла или другой детали по конусной базирующей поверхности, т.е.
поверхности, где размещен комплект из трех баз, становится очевидной неверность
выбора такого вида поверхности для обеспечения строгого направления соединяемых
деталей по их осям. Двойная направляющая база, с помощью которой придается
заданное направление оси, не реализуется на такого вида поверхности из-за
связей, налагаемых другими базами.
Векторно-базовый анализ для любой детали может
служить обоснованием выбора рациональности ее конструкции, так как положение
базовых поверхностей детали (инструмента) определяется динамикой рабочего
процесса на исполнительной поверхности и в то же время создает условия для
нормального ее функционирования.
Выбор конструкции сами базовых поверхностей, а
так же возможно адаптивное управление их положением с изменением условий
рабочего процесса машины позволяет не только обеспечить стабильность работы, но
и может стать основной для дальнейшего усовершенствования конструкции элементов
самой исполнительной поверхности.
Методы и устройства для удаления заусенцев после
механической обработки.
В современном машиностроении наблюдается четкая
тенденция к повышению точности обработки и уменьшению шероховатости
поверхности. Большое значение приобретает так же внешнетоварная и декоративная
отделка. В отечественной промышленности, как и в мировой, неуклонно растет
объем применения точных заготовок и технологических процессов на основе
минимальных припусков на обработку. Доля зачистных, шлифовальных, полировальных
и других финишных методов обработки, в процессе выполнения которых окончательно
формируются качественные характеристики поверхностного слоя деталей, которые в
большинстве случаев и обуславливают их эксплуатационные свойства, в настоящее
время неуклонно растет.
Заусенцы в металлообработке образуются при
первом соприкосновении режущего инструмента и детали, в течение всей обработки,
при разъединении режущего инструмента и детали.
На удаление заусенцев приходится от 1 до 15 %
всех производственных затрат, а в некоторых случаях трудоемкость доходит до
% трудоемкости изготовления деталей.
Затраты на ручное удаление заусенцев у многих
деталей сложной формы равны или даже превышают затраты на всю предыдущую
обработку деталей. Учитывая операции зачистки поверхностей, уменьшение
шероховатости, удаление окалины, подготовку поверхности с гальванопокрытиями,
затраты еще более возрастают и в ряде случаев достигают 75 % всей стоимости.
В ряде случаев при выполнении металлорежущих
операций имеется возможность предотвращать образование заусенцев, удалять
заусенцы на последующих Проблема зачистки детали является актуальной для всех
машиностроительных отраслей промышленности.
В данной работе рассмотрены некоторые вопросы
механизма образования заусенцев, предотвращение и уменьшение заусенцев,
приведены методы и оборудование для удаления заусенцев.
Различают четыре основных вида образования
заусенцев.
При первом соприкосновении инструмента и детали
материал вдавливается и начинает перемещаться в направлении, противоположном
движению инструмента - образуется заусенец входа.
В процессе механической обработки, когда режущая
кромка инструмента выходит за пределы заготовки, стружка не отрезается, а
сгибается и образуется завитой заусенец, особенно при обработке вязких
металлов.
При отрыве стружки от обрабатываемой
поверхности, при многих металлорежущих операциях, чаще всего при торцевом
фрезеровании образуются заусенцы отрыва.
При неполном отрезании металла, при любой операции
резания, чаще всего при токарной обработке образуются заусенцы среза.
Уменьшить величину заусенцев можно своевременной
и качественной заточкой инструмента, рабочих элементов штампов изменением
конструкции инструмента, последовательности и режимов обработки, измерением
конструкции детали.
Например, большие заусенцы образуются при
подрезке торца отливок, штамповок. Фаска или радиус, полученные при
изготовлении заготовки литьем или штамповкой, значительно уменьшают величину
заусенцев. Конструкция инструментов позволяет также уменьшить или предотвратить
образование заусенцев.
Так, применение комбинированных инструментов для
одновременного растачивания или сверления отверстий, подрезка его торца или
округление кромки, снятие фаски удаляют одновременно и заусенцы.
Применение комбинированного сверла или зенковки
исключает операцию по удалению заусенцев на кромках верхней части
просверленного отверстия.
При точении целесообразно применять схему
обработки, исключающую образование заусенцев.
Одним из путей полного устранения заусенцев
является применение электрохимической, электроискровой, электронно-лучевой,
лазерной и др. методов обработки. Однако во многих случаях исключить полностью
образование заусенцев в процессе обработки не предоставляется возможным. Методов
удаления заусенцев довольно много.
Выбор метода опирается на знание принципов
каждою из них и их технологических возможностей.
Все они основываются на всевозможных
воздействиях на обрабатываемую деталь: гравитационных центробежных, абразивных,
вибрационных, ультразвуковых, химических и др.
Галтовка во вращающихся барабанах применяется
для зачистки
заусенцев, шлифования и полирования деталей,
очистки поверхности.
Объемная виброабразиваная электорохимическая
обработка. Деталь находится под комплексным электрическим, химическим,
механическим воздействием.
Центобежно-планетарная обработка. Детали и
абразивные частицы помещают в контейнеры, которые закреплены на вращающейся
планшайбе.
Электрохимическая обработка метал удаляется под
действием постоянного тока проходящему через электролитический раствор.
Из анализа способов отделочно-зачистной
обработки в свободных абразивных средах видно, что каждый из них имеет те или
иные преимущества и недостатки. При выборе способа отделочно-зачистной
обработки для каждой конкретной детали необходимо учитывать технические
требования к качеству поверхности и поверхностного слоя детали, материал, форму
и конструктивные особенности детали, производственную программу выпуска, и
другие факторы. В ряде случаев одна и та же деталь может быть обработана
несколькими способами. Тогда выбор способа определяется исходя их
технико-экономических соображений.
4.
Организационно-экономическая часть
.1 Теоретические
основы планирования и технологическая подготовка производства
Технологическая подготовка производства (ТПП) -
это совокупность мероприятий, обеспечивающих технологическую готовность
производства (наличие полного комплекта технологической документации и средств
оснащения), необходимых для выпуска заданного объема продукции, установленного
качества с установленными технико-экономическими показателями.
Организация и управление ТПП регламентируется
различными стандартами, установленными как в пределах государства, так и различными
международными нормами.
Основными задачами ТПП являются:
Непрерывная разработка и внедрение более
усовершенствованных изделий и технологических процессов их изготовления.
Создание предпосылок для рентабельной работы
предприятия. повышение эффективности технологической подготовки производства
(сокращение трудоемкости, длительности и стоимости подготовки производства).
Основные стадии ТПП включают четыре этапа:
Разработка технологических маршрутов и
процессов.
Проектирование и изготовление технологической
оснастки
Отладка технологических процессов и сдача
производственным цехам.
Организация освоения нового технологического
процесса и производства новых видов изделий техники.
ТПП, как и другой комплекс работ, требует
предварительного планирования.
4.1.1 Метод
сетевого планирования и разработка сетевого графика технологической подготовки
производства получения чашки дифференциала левой
Одним из наиболее предпочтительных методов
планирования является метод сетевого планирования. При выполнении сложных
задач, когда различными исполнителями производится большое число работ,
планирование и управление процессом ТПП может выполняться с помощью метода
сетевого планирования и управления.
Основная задача и цель построения сетевого
графика заключается в определении длины критического пути и расчета затрат на
ТПП в данном случае.
Критическим путем называется промежуток времени,
за который предполагается выполнить весь комплекс работ по ТПП.
Затраты на ТПП связаны с определением затрат на
основные и вспомогательные материалы, используемые при технологической
подготовке производства, затраты, связанные с заработной платой всех участников
и разработчиков ТПП, амортизацией используемых основных средств и прочих
расходов, определяемой спецификой технологической подготовки производства.
Сетевой график - это модель построения процесса
разработки и создания некоторого объекта, изображающая весь комплекс
взаимосвязанных работ и их результатов в виде ориентированного графа.
Основная задача и цель построения сетевого
графика заключается в определении длины критического пути и расчета затрат на
ТПП в данном случае.
Сетевой график наглядно показывает логическую
последовательность и взаимосвязь всех действий и процессов, которые должны быть
реализованы при проведении ТПП и для достижения поставленной цели.
Событие - это факт начала или окончания
какой-либо работы. Оно не имеет продолжительности во времени и всегда
формируется при постановке задачи прошедшим временем.
Работа - это процесс или конкретное действие,
приводящее к достижению определенного результата.
Работа характеризуется продолжительностью во
времени и всегда связана с расходованием каких-либо ресурсов.
Работа всегда имеет трактовку, которая
раскрывает ее содержание. Работа имеет протяженность во времени и связана с использованием
ресурсов.
При расчете и оформлении сетевого графика каждой
работе присваивается шифр. Шифр работы устанавливает взаимосвязь между работами
и событиями.
Построение сетевого графика проводится в
несколько этапов:
) Устанавливается перечень работ и мероприятий ,
связанных с технологической подготовкой производства и определяется логическая
последовательность их выполнения;
) Заполняется таблица по перечню работ и событий
ТПП с определением трудоемкости, числа исполнителей и продолжительностью;
) Строится сетевой график, после которого
присваивается номера событий, а каждой работе соответствующий код.
Перечень работ и событий ТПП получения чашки
дифференциала левой
Таблица 4.1
|
№работы
|
Код
Работы
|
Работа
|
Трудоем-кость
чел*час
|
Кол.
исполни-телей
|
Продолжи-тельность
[час]
|
Код
событий
|
Событие
|
|
|
|
|
|
|
1
|
Техническое
задание на совершенствование техпроцесса выдано
|
|
1
|
1-2
|
Проработка
технического задания
|
10
|
2
|
5
|
2
|
Техническое
задание проработано
|
|
2
|
2-3
|
Подбор
документации по базовому техпроцессу
|
4
|
2
|
2
|
3
|
Документация
подобрана
|
|
3
|
2-4
|
Поиск
аналога
|
5
|
1
|
5
|
4
|
Анализ
произведен
|
|
4
|
4-5
|
Анализ
существующего варианта оборудования
|
5
|
1
|
5
|
5
|
Анализ
проведен
|
|
5
|
5-6
|
Выявление
недостатков в существующем техпроцессе
|
10
|
2
|
5
|
6
|
Недостатки
выявлены
|
|
6
|
3-7
|
Анализ
базового оборудования
|
10
|
2
|
5
|
7
|
Анализ
проведен
|
|
7
|
6-8
|
Определение
типа производства
|
5
|
1
|
5
|
8
|
Тип
производства определен
|
|
8
|
7-9
|
Анализ
технологичности конструкции изделия
|
10
|
2
|
5
|
9
|
Анализ
проведен
|
|
9
|
9-10
|
Определение
материала будущего изделия
|
4
|
1
|
4
|
10
|
Материал
определен
|
|
10
|
10-11
|
Анализ
способа получения заготовки
|
4
|
1
|
4
|
11
|
Анализ
проведен
|
|
11
|
8-12
|
Выбор
технологического маршрута обработки
|
8
|
2
|
4
|
12
|
Маршрут
выбран
|
|
12
|
11-12
|
Фиктивная
работа
|
0
|
0
|
0
|
12
|
Маршрут
выбран
|
|
13
|
12-13
|
Выбор
технологических баз
|
8
|
2
|
4
|
13
|
Технол.
базы выбраны
|
|
14
|
13-14
|
Анализ
методов обработки
|
8
|
2
|
4
|
14
|
Анализ
проведен
|
|
15
|
14-15
|
Определение
межоперационных припусков
|
4
|
1
|
4
|
15
|
Припуски
определены
|
|
16
|
14-16
|
Выбор
оборудования
|
8
|
2
|
4
|
16
|
Оборудование
выбрано
|
|
17
|
16-17
|
Подбор
режущего инструмента
|
6
|
2
|
3
|
17
|
Режущий
инструмент подобран
|
|
18
|
15-17
|
Фиктивная
работа
|
0
|
0
|
0
|
17
|
Режущий
инструмент подобран
|
|
19
|
17-18
|
Проектирование
чертежей наладок
|
10
|
2
|
5
|
18
|
Проектирование
проведено
|
|
20
|
17-19
|
Расчет
количества оборудования
|
4
|
1
|
4
|
19
|
Расчет
произведен
|
|
21
|
19-20
|
Выбор
межоперационного транспорта и его маршрута
|
6
|
2
|
3
|
20
|
Выбор
сделан
|
|
22
|
18-21
|
Выбор
средств по сбору и транспортировке стружки
|
4
|
1
|
4
|
21
|
Выбор
произведен
|
|
23
|
20-22
|
Расчет
необходимой площади участка
|
6
|
2
|
3
|
22
|
Расчет
произведен
|
|
24
|
22-23
|
Разработка
планировки участка цеха
|
8
|
2
|
8
|
23
|
Планировка
разработана
|
|
25
|
21-24
|
Расчет
режимов резания и норм выполнения операций
|
8
|
2
|
4
|
24
|
Расчет
произведен
|
|
26
|
23-24
|
Фиктивная
работа
|
0
|
0
|
0
|
24
|
Расчет
произведен
|
|
27
|
24-25
|
Задание
по выбору технологической оснастки
|
6
|
2
|
3
|
25
|
Оснастка
выбрана
|
|
28
|
25-26
|
Проектирование
чертежей оснастки
|
10
|
2
|
5
|
26
|
Чертежи
разработаны
|
|
29
|
24-27
|
Выбор
средств БЖД
|
6
|
1
|
6
|
27
|
Выбор
сделан
|
|
30
|
26-28
|
Согласование
технол. проекта
|
4
|
1
|
4
|
28
|
Проект
согласован
|
|
31
|
27-28
|
Фиктивная
работа
|
0
|
0
|
0
|
28
|
Проект
согласован
|
|
32
|
28-29
|
Сравнительный
технико-экономический анализ производства
|
4
|
1
|
4
|
29
|
Анализ
произведен
|
|
33
|
29-30
|
Обработка
пробной партии
|
4
|
4
|
1
|
30
|
Пробная
партия изготовлена
|
|
34
|
30-31
|
Корректировка
технол. процесса по результатам обработки пробной партии
|
6
|
2
|
3
|
31
|
Корректировка
произведена
|
|
35
|
31-32
|
Сдача
техпроцесса в эксплуатацию
|
2
|
2
|
1
|
32
|
Техпроцесс
принят в эксплуатацию
|
|
|
Итого
|
197
|
53
|
126
|
|
|
4.1.2 Расчет
основных параметров сетевого графика
Определение сроков выполнения всего комплекса
работ и определение исходных данных для проведения оптимизации этих сроков.
Расчет ведется по основным элементам сетевого графика: расчет параметров
событий и расчет параметров работ.
Расчет параметров событий
Рассчитывают 3 основных параметра:
Ранний срок свершения события
- это
время, необходимое для выполнения всех работ, предшествующих данному событию.
Он характеризуется величиной наиболее длительного отрезка пути от исходного
события до данного события.
r - номер работы сетевого графика;-
продолжительность работы r;,j - ранний срок свершения события i,
соответствующего работе r;
Поздний срок свершения события - это
дата наиболее позднего из допускаемых сроков свершения события, поэтому его
увеличение вызывает задержку наступления завершающего события сети.
,j - это поздний срок свершения
события j, последующего за работой r.
Резерв времени события - показывает
промежуток времени, на который может быть задержано свершение данного события
без увеличения срока завершения разработки проекта в целом.
Расчет параметров событий
Таблица 4.2
|
Номер
события Nc
|
Ранний
срок свершения события Tpji
|
Поздний
срок свершения события Tnji
|
Резерв
времени Rtij
|
|
1
|
0
|
0
|
|
2
|
5
|
5
|
0
|
|
3
|
7
|
10
|
3
|
|
4
|
10
|
10
|
0
|
|
5
|
15
|
15
|
0
|
|
6
|
20
|
20
|
0
|
|
7
|
12
|
15
|
3
|
|
8
|
25
|
25
|
0
|
|
9
|
17
|
20
|
3
|
|
10
|
22
|
25
|
3
|
|
11
|
26
|
29
|
3
|
|
12
|
29
|
29
|
0
|
|
13
|
33
|
33
|
0
|
|
14
|
37
|
37
|
0
|
|
15
|
41
|
44
|
3
|
|
16
|
41
|
41
|
0
|
|
17
|
44
|
44
|
0
|
|
18
|
49
|
54
|
5
|
|
19
|
48
|
48
|
0
|
|
20
|
51
|
51
|
0
|
|
21
|
53
|
58
|
5
|
|
22
|
54
|
54
|
0
|
|
23
|
62
|
62
|
0
|
|
24
|
62
|
62
|
0
|
|
25
|
65
|
65
|
0
|
|
26
|
70
|
70
|
0
|
|
27
|
68
|
74
|
6
|
|
28
|
74
|
74
|
0
|
|
29
|
78
|
78
|
0
|
|
30
|
79
|
79
|
0
|
|
31
|
82
|
82
|
0
|
|
32
|
83
|
83
|
0
|
Из расчета следует, что свершение событий № 3,
7, 9, 10, 11, 15, 18, 21, 27 может быть задержано соответственно на 3, 3, 3, 3,
3, 3, 5, 5, 6 часов без увеличения срока завершения разработки проекта в целом.
Расчет параметров работ
Для расчета основных параметров работ в сетевом
графике исходными данными являются параметры событий.
Рассчитывают 6 параметров работ:
1) Ранний срок начала работы
) Ранний срок окончания работы
) Поздний срок начала работы
) Поздний срок окончания работы
) Полный резерв времени работы
это срок, на который можно
передвинуть данную работу, не изменяя времени критического пути.
) Свободный резерв времени работы
Это срок, на который можно
передвинуть окончание данной работы, не влияя на изменение характеристик,
проходящего через эту работу пути.
Расчет параметров работ.
Таблица 4.3
|
№
работы
|
Код
работы
|
Продолжительность
|
Раннее
начало
|
Раннее
окончание
|
Позднее
начало
|
Позднее
окончание
|
Полный
резерв
|
Свободный
резерв
|
|
1
|
1-2
|
5
|
0
|
5
|
0
|
5
|
0
|
0
|
|
2
|
2-3
|
2
|
5
|
5
|
7
|
10
|
3
|
0
|
|
3
|
2-4
|
5
|
5
|
5
|
10
|
10
|
0
|
0
|
|
4
|
4-5
|
5
|
10
|
10
|
15
|
15
|
0
|
0
|
|
5
|
5-6
|
5
|
15
|
15
|
20
|
20
|
0
|
0
|
|
6
|
3-7
|
5
|
7
|
10
|
12
|
15
|
3
|
0
|
|
7
|
6-8
|
5
|
20
|
20
|
25
|
25
|
0
|
0
|
|
8
|
7-9
|
5
|
12
|
15
|
17
|
20
|
3
|
0
|
|
9
|
9-10
|
4
|
17
|
20
|
22
|
25
|
4
|
1
|
|
10
|
10-11
|
4
|
22
|
25
|
26
|
29
|
3
|
0
|
|
11
|
8-12
|
4
|
25
|
25
|
29
|
29
|
0
|
0
|
|
12
|
11-12
|
0
|
26
|
29
|
29
|
29
|
3
|
3
|
|
13
|
12-13
|
4
|
29
|
29
|
33
|
33
|
0
|
0
|
|
14
|
13-14
|
4
|
33
|
33
|
37
|
37
|
0
|
0
|
|
15
|
14-15
|
4
|
37
|
37
|
41
|
44
|
3
|
0
|
|
16
|
14-16
|
4
|
37
|
37
|
41
|
41
|
0
|
0
|
|
17
|
16-17
|
3
|
41
|
41
|
44
|
44
|
0
|
0
|
|
18
|
15-17
|
0
|
41
|
44
|
44
|
44
|
3
|
3
|
|
19
|
17-18
|
5
|
44
|
44
|
49
|
54
|
5
|
0
|
|
20
|
17-19
|
4
|
44
|
44
|
48
|
48
|
0
|
0
|
|
21
|
19-20
|
3
|
48
|
48
|
51
|
51
|
0
|
0
|
|
22
|
18-21
|
4
|
49
|
54
|
53
|
58
|
5
|
0
|
|
23
|
20-22
|
3
|
51
|
54
|
54
|
0
|
0
|
|
24
|
22-23
|
8
|
54
|
54
|
62
|
62
|
0
|
0
|
|
25
|
21-24
|
4
|
53
|
58
|
62
|
62
|
5
|
5
|
|
26
|
23-24
|
0
|
62
|
62
|
62
|
62
|
0
|
0
|
|
27
|
24-25
|
3
|
62
|
62
|
65
|
65
|
0
|
0
|
|
28
|
25-26
|
5
|
65
|
65
|
70
|
70
|
0
|
0
|
|
29
|
24-27
|
6
|
62
|
62
|
68
|
74
|
6
|
0
|
|
30
|
26-28
|
4
|
70
|
70
|
74
|
74
|
0
|
0
|
|
31
|
27-28
|
0
|
68
|
74
|
74
|
74
|
6
|
6
|
|
32
|
28-29
|
4
|
74
|
74
|
78
|
78
|
0
|
0
|
|
33
|
29-30
|
1
|
78
|
78
|
79
|
79
|
0
|
0
|
|
34
|
30-31
|
3
|
79
|
79
|
82
|
82
|
0
|
0
|
|
35
|
31-32
|
1
|
82
|
82
|
83
|
83
|
0
|
0
|
Найденные величины полного резерва для работ №
2, 6, 8, 9, 10, 12, 15, 18, 19, 22, 25, 29, 31 показывают, что на сроки 3, 3,
3, 4, 3, 3, 3, 3, 5, 5, 5, 6, 6 часов соответственно можно передвинуть
соответствующие работы, не изменяя времени критического пути.
Найденные величины свободного резерва для работ
№ 9, 12, 18, 25, 31 показывают, что на сроки 1, 3, 3, 5, 6 можно передвинуть
окончания соответствующих работ, не влияя на изменение характеристик,
проходящих через эти работы путей.
В результате расчета основных параметров событий
сетевого графика мы находим различные пути от исходного до завершающего
события.
В сетевом графике различают 2 вида пути: полный
и критический.
Полный путь (Ln) - это любая непрерывная
последовательность событий и работ на сетевом графике от исходного до
завершающего события.
Продолжительность полного пути
- арифметическая сумма
продолжительностей работ, составляющих путь.
Критический путь (Lкр) - полный
путь, имеющий наибольшую продолжительность.
Изменения в продолжительности любой
работы, лежащей на критическом пути, соответствующим образом меняет срок
наступления завершающего события. Поэтому при расчете параметров сетевого
графика часто рассчитывают резерв времени пути.
=
5+5+5+5+5+4+4+4+4+0+4+3+3+8+0+3+5+4+4+1+3+1 =77 ч
=
5+2+5+5+5+4+0+4+4+4+0+5+4+4+6+0+4+1+3+1 =66 ч
=
5+5+5+5+5+4+4+4+4+3+4+3+3+8+0+3+5+4+4+1+3+1=83 ч
=
5+5+5+5+5+4+4+4+4+0+5+4+4+3+5+4+4+1+3+1 =75 ч
=
5+2+5+5+5+4+0+4+4+4+3+4+3+3+8+0+6+0+4+1+3+1 =74 ч
=
5+2+5+5+5+4+0+4+4+4+3+4+3+3+8+0+6+0+4+1+3+1=74 ч
=5+5+5+5+5+4+4+4+4+3+4+3+3+8+0+6+0+4+1+3+1
=77 ч
= 83-77=6 ч
= 83-66=17 ч
= 0 ч
= 83-75=8 ч
= 83-74=7 ч
= 83-74=7 ч
= 83-77=6 ч
Найденные величины резервов
показывают, на какую величину можно изменить продолжительность работ на
соответствующем пути, не вызывая изменения продолжительности критического пути,
а следовательно, не изменяя дату достижения конечной цели.
4.1.3 Составление
сметы затрат на технологическую подготовку производства
Затраты на основные материалы:
Патрия 10 штук.
Материал- Чугун ВЧ 40
Стоимость материала- 5.8 руб/кг.
Стоимость отходов- 0.58 руб/кг.
Вес детали- 4.58 кг.
Вес заготовки- 8.72 кг.
Отход = 8.72х10-4.58х10=41.4 кг.
Стоимость материала = 8.72х10х5.8= 505.76 руб.
Стоимость отходов=41.4х0.58=24.01 руб.
Чистая стоимость = 505.76-24.01=481.75 руб.
Основная заработная плата
, где
Ti - трудоёмкость работ, чел∙час; -
среднечасовая ставка, руб.; - категория исполнителя.
Инженер-19 дней, оклад- 5100, премия - 30%.
Конструктор-3 дня, оклад- 5500, премия - 30%.
Наладчик-2 дня, оклад- 5800, премия - 40%.
Фо=7439 руб.
Дополнительная заработная плата
Фд = ФО *∙КД
Кд - коэффициент, учитывающий размер
дополнительной заработной платы (Кд = 0,2)
Фд=0.2 х 7439 = 1487,8 руб.
Единый социальный налог
ФЕСН= (Фо + ФД) х0,26
Фесн= 0.26 х (7439 + 1487,8) = 2321 руб.
Косвенные расходы.
Косвенные расходы определяются 200% от основной
заработной платы:
Кос.расх.= 2 х 7439= 14878 руб.
Представленная смета затрат не охватывает всех
статей и является укрупненной.
Таблица 4.4
|
Статья
затрат
|
Сумма
затрат [тыс.руб.]
|
Структура
затрат [%]
|
|
Стоимость
основных материалов
|
0,481
|
1,81
|
|
Основная
з/п
|
7,439
|
27,96
|
|
Дополнительная
з/п.
|
1,4878
|
5,59
|
|
Единый
социальный налог
|
2,321
|
8,72
|
|
Косвенные
расходы
|
14,878
|
55,92
|
|
Итого:
|
26,607
|
100,00
|
Затраты на технологическую подготовку
производства включают затраты на основные материалы, основную заработную плату,
дополнительную заработную плату, ЕСН, косвенные расходы и составляют 26, 607
тыс. руб.
4.2 Сравнительный
анализ основных технико-экономических показателей производства чашки
дифференциала левой
.2.1 Исходные
данные вариантов технологии
В предлагаемом варианте технологического
процесса механической обработки чашки дифференциала (левой) автомобиля 5301
предлагается заменить операции сверления и растачивания на операцию с
использованием комбинированного инструмента - сверло - развертка.
Годовой выпуск деталей 25000 шт. Остальные
исходные данные приведены в таблице 4.5.
Таблица 4.5
|
№
п/п
|
Исходные
показатели
|
Ед.
изме- рения
|
Варианты
|
|
|
|
Базовый
|
Новый
|
|
|
|
Модели
станков
|
|
|
|
6А-946
|
СТ
1917
|
8А659
|
|
1
|
2
|
3
|
4
|
5
|
6
|
|
1
|
Годовая
программа выпуска
|
шт.
|
25000
|
30000
|
|
2
|
Трудоёмкость
обработки tшт.к:
|
мин.
|
3,64
|
2,23
|
3,74
|
|
Итого
штучно-калькуляционное время
|
|
5,87
|
3,74
|
|
3
|
Количество
приспособлений
|
шт.
|
10
|
-
|
|
4
|
Класс
точности станка
|
|
н
|
н
|
н
|
н
|
|
5
|
Габариты
станка (длина х ширина)
|
|
2,2х1,4
|
2,4х1,5
|
5,2×3,8
|
|
6
|
Площадь,
занимаемая станком, S
|
м2
|
3,08
|
3,6
|
19,76
|
|
7
|
Площадь,
занимаемая устройством , Sy
|
м2
|
-
|
-
|
-
|
-
|
|
8
|
Установленная
мощность электродвигателя, Nд
|
кВт
|
6
|
10
|
21
|
|
9
|
Срок
службы станка до капитального ремонта
|
лет
|
7
|
8
|
9
|
|
Категория
сложности ремонта станка механической части (число единиц ремонтной
сложности)
|
р.е.
|
10,0
|
11,5
|
14,0
|
|
10
|
электрической
части
|
р.е.
|
14,0
|
13,5
|
32,0
|
|
11
|
Оптовая
цена станка Цоб
|
руб.
|
100
000
|
80
000
|
400
000
|
|
12
|
Количество
станков, обслуживаемых одним рабочим
|
|
1
|
1
|
2
|
|
|
|
|
|
|
|
|
4.2.2 Расчёт
капитальных вложений, необходимых для реализации избранного варианта технологии
Количество оборудования d-го типоразмера,
занятого выполнением i-той операции:
, где
tштi - норма штучно-калькуляционного времени на
выполнение i-й оперции, мин/шт.;
Кв.н. - коэффициент, учитывающий выполнение норм
времени (Кв.н. = 1,18);д - действительный годовой фонд времени работы единицы
оборудования, час.;
Кз.о. - коэффициент загрузки оборудования.
Сб0id = 25000*5,87/1,18*4015*0,8*60 = 0,64,
принимается 1 станок;
Сн0id = 30000*3,74/1,18*4015*0,8*60 = 0,32,
принимается 1 станок;
Коэффициент занятости оборудования изготовлением
данной детали:
Кб1з.о. = 25000*3,64/1,18*4015*0,8*60
= 0,4;
Кб2з.о. =
25000*2,23/1,18*4015*0,8*60 = 0,24;
Кн1з.о. =
30000*3,742/1,18*4015*0,8*60 = 0,32;
Балансовая стоимость оборудования:
, где
коэффициент,
учитывающий затраты на доставку и монтаж оборудования ( = 1,1);-
количество операций технологического процесса;- количество оборудования,
занятого выполнением i-той операции изготовления детали;
СОid - принятое количество единиц
технологического оборудования d- го типоразмера, занятого выполнением i-ой
операции;
КЗОid - коэффициент занятости
технологического оборудования d-ого типоразмера выполнением i-ой операции;
ЦОБid - оптовая цена единицы
оборудования, руб.
Кбб.о = 1,1*(100 000*0,4 + 80
000*0,24) = 65 120 руб.
Кнб.о = 1,1*(400 000*0,32) = 140 800
руб.
Стоимость здания, занимаемого
оборудованием:
, где
Цпл - средняя стоимость 1 м2 общей
площади здания, руб.;- габариты оборудования (длина * ширина), м2;-
коэффициент, учитывающий дополнительную площадь;
Кзпid - коэффициент занятости
площади для изготовления данной детали.
Кбпл =
700*(3,08*4,5*0,4+3,6*4,5*0,24) = 6 602 руб.
Кнпл = 700*19,76*2,5*0,32 = 11 066
руб.
Стоимость служебно-бытовых объектов:
Кбсб = 7*1000*0,4+7*1000*0,24 = 4
480 руб.
Кнсб = 7*1000*0,5*0,32 = 1 120 руб.
Базовый вариант предусматривает
занятость двух рабочих, а новый вариант технологии - обслуживание двух станков
одним рабочим.
Стоимость приспособлений:
Кпр = ∑*∑*Цпрid*nid
Кбпр = 1000*10 = 10 000 руб.
Кнпр = 0 руб.
Затраты на подготовку программ:
Кmn = Sn*b
Кбпр = 0 руб.
Кнпр = 200*1=200 руб.
Капитальные вложения по вариантам:
, где
КБО - балансовая стоимость
оборудования;
КПЛ - стоимость здания, занимаемого
оборудованием;
КСБ - стоимость служебно-бытовых
объектов;
КПР - стоимость приспособлений;
КТП - затраты на технологическую
подготовку производства, проектирование технологического процесса.
К1 = 65 120 + 6 602 + 4 480 + 10 000
= 86 202 руб.
К2 = 140 800 + 11 066 + 1 120 + 200
+ 26 607 = 179 793 руб.
4.2.3 Планирование
себестоимости годового выпуска изделий
Заработная плата основных рабочих:
, где
Квн - коэффициент, учитывающий средний процент
выполнения технически основанных норм (принимается равным 1,18);
Кпр - коэффициент, учитывающий приработок
рабочих;шт - норма штучно-калькуляционного времени на выполнение i-ой операции,
мин/шт.;- количество операций технологического процесса;- часовая тарификация
ставка работы, выполняемой на i-ой операции, руб.;бo =
1,18*1,2*1,356*25000*24*(60/60) = 1 152 057 руб.нo
=1,18*1,2*1,356*30000*24*(20/50) = 552 987 руб.
Амортизация оборудования:
, где
а - норма амортизационных
отчислений, принимаемая в размере 15% от балансовой стоимости оборудования.
Агод = 65 120 *15/100 = 9 768 руб.
Агод =140 800*15/100 =21 120 руб.
Амортизация и ремонт приспособлений:
пр = (1/Tпр + φр/100)*∑∑*Цпрid*Пkl
Ремонт оборудования:
, где
мрем ,Wэрем - нормативы годовых
затрат на все виды ремонта осмотры и межремонтное обслуживание соответственно
механической и электрической частей оборудования;
Кмех, Кэ - категория сложности
ремонта механической и электрической части оборудования, р.е.;
т - коэффициент, учитывающий
класс точности ремонтируемого оборудования.бp =
(474*10+132*14)*0,4+(444*11,5+122,4*13,5)*0,24 = 4 257 руб.нp =
(420*14+114*32)*0,32 = 3 049 руб.
Техническое обслуживание и ремонт
устроийств:бу = 0 руб.ну = 5 180 руб.
Амортизация и содержание площади:
, где
Ппл - годовые затраты на амортизацию
и содержание площадей в расчете на 1м2 площади, руб.;- площадь участка цеха,
м2;
Аб пл = 1000*3,08*0,4+1000*3,6*0,24
= 2 096 руб.
Ан пл = 1000*19,76*0,32 = 6 323 руб.
Силовая и технологическая
электроэнергия:
, где
д - суммарная мощность
электродвигателей, кВт;
КN - коэффициент загрузки
электродвигателей оборудования по мощности;
Код - коэффициент одновременной
работы электродвигателей оборудования;
Кw - коэффициент, учитывающий потери
в сети;
Квр - коэффициент загрузки
оборудования по времени;д - действительный годовой фонд часов работы
оборудования;
Цэ - стоимость 1 кВт/ч
электроэнергии, руб.(0,79);
Кзо - коэффициент занятости
технологического оборудования;
н - коэффициент полезного
действия электродвигателей оборудования (н = 0,65).бэ=
(6*0,7*0,4*1,05*0,8*4015*1,02*0,4+10*0,6*0,4*1,05*0,8*4015*1,02*0,24)/0,65 = 6
604 руб.нэ = (21*0,65*0,45*1,05*0,8*4015*1,02*0,32)/0,65 = 10 402 руб.
Себестоимость по изменяющимся
статьям затрат по вариантам технологических процессов:
, где
ом - основные материала;,Lв -
заработная плата основных и вспомогательных рабочих соответственно;
Ао - амортизация оборудования;пр -
амортизация технологической оснастки и затраты на ее ремонт;у - износ и
содержание управляющих программ;и - затраты, связанные с эксплуатацией
инструмента;э - силовая и технологическая электроэнергия;р - текущий ремонт
межремонтное обслуживание оборудования;ру - техническое обслуживание и ремонт
устройств с ЧПУ;
Апл - амортизация и содержание
площадей.
С1 = 1 152 057 + 9 768 + 5 500 +4
257 + 2 096 +6 604 = 1 180 282 руб.
С2 = 552 987+ 21 120+ 3 049 + 5 180+
6 323 +10 402 = 612 448 руб.
4.2.4 Определение
экономической эффективности
1. Годовой экономический эффект
, где
(С1+Ен*К1) и (С2+Ен*К2) -
приведенные затраты на годовой выпуск деталей по базовой и новой технологиям;
С1 и С2 - себестоимость годового
выпуска деталей по базовой и новой технологиям;
К1 и К2 - капитальные вложения по
базовой и новой технологиям;и N2 - годовой выпуск деталей по базовой и новой
технологиям;
Ен - нормативный коэффициент
экономической эффективности капитальных вложений (Ен = 0,11).
Э = (1 180 282 + 0,11*86
202)*30000/25000 - (612 448 +0,11*179 793) =
= 1 437 027 - 648 407 = 788 620руб.
. Срок окупаемости дополнительных
капитальных вложений:
=((179 793-86 202)*30000/25000)/((1
180 282/25000 - 612 448 /30000)*30000)=
= 1 123 090/804 000 = 1,4 года
4.2.5 Сводные
показатели эффективности вариантов технологий
Показатели экономической эффективности
проектируемого варианта технологического процесса даны в таблице 4.6.
Таблица 4.6
Показатели проектируемого варианта технологии
|
Наименование
показателей
|
Ед.измерения
|
Технологический
процесс
|
|
|
базовый
|
проектируемый
|
|
1
|
2
|
3
|
4
|
|
Годовой
выпуск деталей
|
шт.
|
25
000
|
30
000
|
|
Капитальные
вложения, всего, в т.ч. стоимость:
|
руб.
|
86
202
|
179
793
|
|
а)
оборудования;
|
руб.
|
65
120
|
140
800
|
|
б)
здания, занимаемого оборудованием
|
руб.
|
6
602
|
11
066
|
|
в)
служебно-бытовых помещений
|
руб.
|
4
480
|
1
120
|
|
г)
приспособлений
|
руб.
|
10
000
|
-
|
|
д)
подготовки программ
|
руб.
|
-
|
200
|
|
е)
затраты на ТПП
|
руб.
|
-
|
26
607
|
|
Дополнительные
капитальные вложения
|
руб.
|
-
|
93
591
|
|
Себестоимость
годового выпуска деталей по изменяющимся элементам (статьям) затрат, всего, в
т.ч.
|
руб.
|
1
180 282
|
612
448
|
|
а)
заработная плата
|
руб.
|
1
152 057
|
552
987
|
|
б)
амортизация оборудования
|
руб.
|
9
768
|
21
120
|
|
в)
амортизация и ремонт приспособлений
|
руб.
|
5
500
|
-
|
|
г)
износ и содержание управляющих программ
|
руб.
|
-
|
13
387
|
|
д)
ремонт оборудования
|
руб.
|
4
257
|
3
049
|
|
е)
техническое обслуживание и ремонт устройств с ЧПУ
|
руб.
|
-
|
5
180
|
|
ж)
амортизация и содержание площадей
|
руб.
|
2
096
|
6
323
|
|
з)
силовая и технологическая электроэнергия
|
руб.
|
6
604
|
10
402
|
|
Себестоимость
одной детали
|
руб.
|
47,2
|
20,4
|
|
Экономия
от снижения себестоимости годового выпуска деталей
|
руб.
|
-
|
804
000
|
|
Годовой
экономический эффект
|
руб.
|
-
|
788
620
|
|
Срок
окупаемости дополнительных капитальных вложений
|
лет
|
-
|
1,4
|
Проектируемый технологический процесс позволяет:
производить точную обработку деталей без
использования специальных приспособлений;
сократить число станочников за счёт выполнения
всех операций по программе;
уменьшить трудоёмкость ремонта и обслуживания
оборудования за счёт сокращения количества оборудования;
получить годовой экономический эффект в размере
788 620 руб.;
окупить дополнительные капитальные вложения
менее чем за 1,4 года.
5. Безопасность и
экологичность проекта
.1 Анализ
негативных факторов технологического процесса получения чашки дифференциала
левой
.1.1 Микроклимат
Показателями, характеризующими микроклимат,
являются:
) температура воздуха;
) относительная влажность воздуха;
) скорость движения воздуха;
) интенсивность теплового излучения.
Нормы производственного микроклимата установлены
ГОСТ 12.1.005-88, СанПин 22.4.584-96. Они едины для всех производств и всех
климатических зон. Параметры микроклимата в рабочей зоне должны соответствовать
оптимальным или допустимым микроклиматическим условиям. Оптимальные условия
обеспечивают нормальное функционирование организма без напряжения механизмов
терморегуляции. При допустимых условиях микроклимата возможно некоторое
напряжение системы терморегуляции без нарушения здоровья человека.
Параметры температуры, влажности и скорости
движения воздуха регламентируются с учетом тяжести физического труда: легкая,
средняя и тяжелая работа. Помимо этого, учитывается сезон года: холодный период
года характеризуется среднесуточной температурой наружного воздуха ниже +10°С и
теплый период с температурой +10°С и выше.
В соответствии с ГОСТ 12.1.005-008 на участке
должна сроответствовать данным приведенным в таблице 5.1.:
Таблица 5.1
|
№
п/п
|
Показатели
характеризующие микроклимат
|
Холодный
сезон
|
Теплый
сезон
|
|
1
|
Температура
воздуха
|
18-20°С
|
20-22°С
|
|
2
|
Относительная
влажность воздуха
|
40-60%
|
40-60%
|
|
3
|
Скорость
движения воздуха
|
0,2
м/с
|
0,3
м/с
|
Для соответствия показателей нормативам на
производстве существует приточно-вытежная вентиляция.
5.1.2 Освещение
В производственных помещениях предусматривается
естественное, искусственное и совмещенное освещение.
При работе в темное время в производственных
помещениях используют искусственное освещение.
Помимо этого, присутствует аварийное освещение
(включаемое при внезапном отключении рабочего освещения). Аварийное освещение
обеспечивает освещенность не менее 2 лк внутри здания.
В соответствии со строительными нормами и
правилами СНиП 23-05-95 «Нормы проектирования. Естественное и искусственное
освещение» освещение должно обеспечить: санитарные нормы освещенности на
рабочих местах 200 лк, равномерную яркость в поле зрения, отсутствие резких
теней и блескости, постоянство освещенности по времени и правильность
направления светового потока.
Фактическая освещенность в производственном
помещении должна быть больше на 10 -15% или строго равна нормативной
освещенности.
При выборе источников искусственного освещения
должны учитываться их электрические, светотехнические, конструктивные,
эксплуатационные и экономические показатели. На практике используются два вида
источников освещения: лампы накаливания и газоразрядные. Для соответствия
нормам можно предложить использовать газоразрядные лампы которые имеют световую
отдачу 80-85 лм/Вт, а натриевые лампы 115-125 лм/Вт и срок службы 15-20
тыс.часов, они могут обеспечить любой спектр.