Типы механизированного инструмента

  • Вид работы:
    Учебное пособие
  • Предмет:
    Другое
  • Язык:
    Русский
    ,
    Формат файла:
    MS Word
    3,23 Мб
  • Опубликовано:
    2013-06-21
Вы можете узнать стоимость помощи в написании студенческой работы.
Помощь в написании работы, которую точно примут!

Типы механизированного инструмента

1. Устройство РМ для строительно-монтажных работ

.1 Общие сведения о РМ и их классификация

Классификация РМ

РМ (механизированный инструмент) - подкласс технологических машин со встроенными двигателями, при работе которых их вес полностью или частично воспринимается руками оператора, производящего подачу и управление машиной. Для этого подкласса машин характерны определенные признаки: наличие встроенного двигателя, восприятие хотя бы части их веса оператором при работе, осуществление подачи и управления за счет мускульной силы оператора.

РМ обычно весит от 1,5 до 10 кг. Для приведения в действие рабочего органа РМ, часто называемого инструментом, используют главным образом пневматический или электрический привод (реже гидравлический), от двигателя внутреннего сгорания или порохового заряда.

По назначению различают свыше 100 видов РМ, которые в соответствии с классификацией образуют самостоятельные группы.

Классификация РМ осуществляется по ряду классификационных признаков, объединенных в два укрупненных: 1 - назначение и области применения; 2 - конструктивное исполнение.

. По первому признаку осуществляют деление РМ на группы. Назначения РМ соответствуют видам выполняемых с их помощью основйых технологических операций (сверления, шлифования, фрезерования, пиления, резания, вырубки, затяжки резьбовых соединений, забивки дюбелей, гвоздей; установки заклепок, отбойки, бурения, уплотнения и других), осуществляемых посредством реализации следующих процессов: резания, удара, обработки давлением, проникания, гибки и других, а также их комбинаций.

Область применения РМ определяет виды обрабатываемых ими материалов (металл, дерево, грунт, камень, бетон и т.д.) и выполняемых работ:

-        обработка поверхностей и кромок изделий;

-        образование углублений (отверстий, пазов, борозд);

-        сборка изделий и конструкций;

-        разделение материалов, изделий и конструкций;

-        уплотнение материалов.

Учет указанных классификационных признаков применительно к подклассам строительных дорожных машин (СДМ), определяемых их назначением, позволяет выявить роль и место конкретной РМ в том «№ ином СТП.

Для более эффективного использования при выполнении различных видов строительно-монтажных работ(СМР) РМ объединяют в технологические наборы(комплекты) средств механизации по видам работ, куда дополнительно включают строительно-отделочные машины, вибровозбудители и другие средства малой механизации.

. По признаку конструктивного исполнения РМ определяют*

по конструктивному исполнению привода - траекторию движения инструмента, принцип действия РМ и режим ее работы.

Исполнение привода зависит от видов используемых в нем двигателя, трансмиссии и системы управления.

Двигатель РМ монтируется в отдельном корпусе, являющемся для части машин несущим элементом конструкции. Форма корпуса во многом определяет внешний вид РМ. В общем случае двигатель оснаиГен системами пуска, реверса, автоматического управления режимом, а для ряда электрических машин - также системой подавления радиопомех. В указанном исполнении его называют приводным модулем.

По виду привода РМ делят на электрические, пневматические, гидравлические, с двигателями внутреннего сгорания (моторизованные), пиротехнические.

Наиболее широкое распространение получили электрические двигатели переменного тока следующих типов: коллекторные однофазные с частотой тока 50 Гц, асинхронные трехфазные с частотой тока 50 Гц, асинхронные трехфазные с короткозамкнутым ротором с частотой тока 50 и 200 Гц, электромагнитные однофазные.

В последнее время получают применение и коллекторные электродвигатели постоянного тока с питанием от аккумуляторных батарей или бортовой сети напряжением до 12 В.

Наиболее широко используются коллекторные однофазные электродвигатели переменного тока с напряжением питания 220 В и частотой тока 50 Гц, полезной мощностью до 1100 Вт и более. На их основе выполняются РМ с двойной или полной изоляцией. Двойной называют комбинацию рабочей (основной) и дополнительной изоляции корпусных деталей РМ от возможных неисправностей электрических цепей приводного модуля. Дополнительная изоляция осуществляется путем выполнения корпусных и других частей приводного модуля из пластмассовых материалов. РМ с полной изоляцией обеспечивают защиту оператора не только от неисправности электрических цепей приводного модуля, но также и от непредвиденного взаимодействия инструмента РМ с деталями обрабатываемого объекта, находящимися под напряжением. Полная изоляция РМ реализуется на базе двойной изоляции при выполнении всех корпусных деталей из пластмасс.

Развитие систем управления приводов РМ позволяет дополнительно классифицировать их по наличию электронных устройств регулирования частоты вращения и устройств автоматического управления и стабилизации режимов их работы.

Среди пневматических и гидравлических двигателей наиболее широко применяют двигатели ротационного типа, реверсивные и нереверсивные, а также поршневые со свободным поршнем и поршнем со штоком.  ,

Поршневые двигатели разделяют по числу камер на двухкамерные, с камерой рабочего и обратного хода поршня и трехкамерные, имеющие, кроме того, аккумулирующую камеру.

Поршневые двигатели со свободным поршнем разделяют также по виду распределителя энергоносителя, обеспечивающего его подачу и удаление из камер: клапанные, золотниковые, бесклапанные или беззолотниковые, в которых распределение осуществляется поршнем - ударником; дроссельные и другие.

Двигатели внутреннего сгорания и пиротехнические используются в РМ/с целью обеспечения их автономности в питании. В качестве двигателей внутреннего сгорания (ДВС) используют карбюраторные двигатели, работающие на смеси бензина и воздуха. Пиротехнический привод обеспечивает работу РМ от энергии сгорания пороха, пороховых патронов, которые могут комплектоваться в обоймы для обеспечения удобства и достижения более высокой производительности.

Виды используемых двигателя и трансмиссии влияют на кинематику и динамику движения рабочего органа РМ.

В зависимости от вида привода, определяющего траекторию (вращательная (круговая), возвратно-поступательная, орбитальная, комбинированная) и характер движения инструмента (неколебательное: непрерывное, прерывистое, колебательное или вибрационное), РМ по принципу действия разделяют на вращательные (пилы дисковые, рубанки, фрезерные машины и т.д.), вибрационные (ножевые, вырубные ножницы по металлу, плоскошлифовальные, ножовочные пилы и т.д.) и ударные - с поступательными и вращательными ударами (молотки, ломы, гайковерты и т.д.). Среди вибрационных и ударных РМ выделяют виброударные. В ряде случаев РМ по принципу действия делят на непрерывно-силовые и импульсно-силовые (вибрационного и ударного действия).

Различают следующие разновидности режимов работы РМ:

-        реверсивные и нереверсивные;

-        односкоростные и многоскоростные;

-        с плавным и дискретным изменением скорости (обычно 2-скоростные);

многорежимные, имеющие, обычно, вращательный и ударновращательный (перфораторы, сверлильные машины), а также вибрационный и виброударный режимы (ручные виброплиты).

Электрические РМ работают, как правило, в 1 или 2 из 8 нормированных для электроприводов режимах работы: продолжительном номинальном режиме S1 и повторно-кратковременном номинальном режиме S3 с продолжительностью включения (ПВ) до 60% (режим S3 характерен для РМ ударного действия);

по конструктивному исполнению РМ в целом (внешнему виду) характерные особенности, а для электрических РМ - и класс защиты от поражения током.

Рис. 1. Формы рукояток РМ

- пистолетного типа заднего расположения; 2 - то же центрального расположенное дополнительной верхней рукоятью; 3 - замкнутого типа заднего расположения; 4 - то же открытого типа; 5-е рукояткой-корпусом; 6 - замкнутого типа верхнего расположения; 7 - то же открытого типа; 8 - открытого типа заднего расположения (удлиненная).

РМ подразделяют:

по взаимному расположению продольных осей двигателя и инструмента (РМ вращательного действия) на прямые (при параллельности или совпадении указанных осей) и угловые (при их расположении под углом друг 1 другу);

по форме и расположению основных рукояток на корпусе - с рукояткой пистолетного, замкнутого, открытого, прямого типов; с нижним, задним, верхним расположением рукояток (рис. 1.1).В отдельных конструкциях РМ | пневмомолотки, ручные глубинные вибровозбудители и другие) рукоятка крепится к корпусу машины с помощью удлиненной штанги, обеспечивающей удобство при работе. РМ могут иметь дополнительные рукоятки. Ряд РМ малых типоразмеров не имеет рукояток. В этом случае удержание машины оператором осуществляется непосредственно за корпус РМ, Пневмо- и гидропробойники также не имеют рукояток из-за отсутствия в них необходимости, сила тяжести при работе воспринимается грунтовым массивом;

по форме и материалу корпусных деталей, определяющих удельные показатели РМ, свойства эстетичности, комфортности, а для электрических РМ - и безопасность оператора. Различают РМ с металлическим корпусом и с пластмассовым корпусом, выполненным из композиционных материалов, обеспечивающих дополнительную изоляцию оператора от поражения его электротоком. Габаритные размеры РМ, имеющих форму, близкую к цилиндрической, характеризуют условным диаметром - диаметром описываемой окружности в сечении двигателя 1 и длиной;

по классам защиты от поражения электрическим током - I, II и III классов.

РМ I класса питаются от сети напряжением свыше 42 В и имеют только рабочую изоляцию. Они обязательно имеют устройство для заземления металлических деталей, доступных для прикосновения. Их подключение к сети питания осуществляют через защитно - отключающее устройство (ЗОУ), снимающее напряжение с источника питания РМ в случае достижения определенной силы тока утечки в металлические детали, доступные для прикосновения. Для работы с РМ I класса используют индивидуальные средства защиты: диэлектрические перчатки, боты, коврики.

Рис. 2. Обозначение двойной изоляции (а) на электрических РМ II класса, брызгозащищенного (б) и водонепроницаемого (в) исполнений

РМ II класса питаются от сети напряжением свыше 42 В (обычно 220 В) и имеют либо двойную изоляцию (в этом случае их маркируют знаком, показанным на рис. I.2, а), либо усиленную рабочую, эквивалентную двойной. При работе их подключают непосредственно к сети. не заземляя и не используя индивидуальных средств зашиты, кроме случаев работы в помещениях повышенной опасности.

РМ III класса питаются от сети пониженного напряжения (ниже 42 В), либо от общей электрической сети с использованием трансформаторов и преобразователей частоты тока до 200 Гц, либо от аккумуляторных батарей.

По степени зашиты от воздействия жидкости электрические РМ имеюn следующие исполнения: незащищенные, брызгозащищенные и водонепроницаемые. Последние два варианта исполнения имеют маркировку, показанную на рис. I.2, б, в.

Брызгозащищенной называют машину, имеющую приспособление, исключающее попадание брызг жидкости внутрь ее.

Водонепроницаемой называют машину, защищенную даже при погружении ее в воду от проникания внутрь воды.

Преимущественное распространение получили РМ II и III классов. В настоящее время все шире выпускаются РМ с полной изоляцией;

по возможности перемещения на переносные и передвижные. Опорный контур переносных РМ обычно включает оператора. Передвижные РМ имеют самостоятельный опорный контур, обеспечивающий их устойчивое положение при работе без оператора. Некоторые из этих РМ имеют механизм передвижения, что, строго говоря не соответствует их включению в подкласс РМ по отдельным признакам (восприятие хотя бы части их веса оператором и осуществление их подачи за счет его мускульной силы). Наметившаяся тенденция использования в таких машинах дистанционной автоматизированной и автоматической систем управления преобразует эти машины в роботизированные системы.

Индексация РМ в настоящее время не является единой и определяется их разработчиками и изготовителями. Наиболее широко используется индексация Всесоюзного научно-исследовательского ин-1 етшута строительного механизированного инструмента (ВНИИСМИ). Она включает буквенную часть, характеризующую вид привода- инструмента (ИЭ - электрический, ИГ - гидравлическим, ИП - пневматический, ИД - моторизованный с ДВС), и цифровую, состоящую из четырех цифр, две первые из которых соответствуют номерам группы и подгруппы в базовой классификационной таблице; две последние цифры характеризуют регистрационный номер модели, увеличивающийся по мере их создания. Буквы после цифр обозначают порядковую модернизацию машины и вид ее специального исполнения. Например, буква Э обозначает наличие электронного регулятора частоты вращения.

В базовой классификационной таблице основные виды РМ разделены на группы по их назначению и размещены в шести первых группах. Остальные группы сформированы следующим образом.

Седьмая - отведена под много шпиндельные агрегаты (сверлильные, гайко- и винтозавертывающие, резьбонарезные); восьмая - под насадки и инструментальные голо/вки, в том числе с приводом через гибкие валы. В девятой группе представлены универсальные приводы и вспомогательное оборудование. В качестве универсальных приводов нашли широкое применение следующие:

вращательного типа, выполненные по схеме двигатель-редуктор-

щпиндель;

поступательного типа на базе пневмо- и гидроцилиндров, имеющих поршень со штоком (низкочастотные) и свободный поршень (высокочастотные, ударные).

Вспомогательное оборудование разделено по назначению на виды:

для удержания и подачи РМ (подвески, стойки, подставки, опорные колонки с устройствами подачи);

для обеспечения выполнения технологических операций и заточки инструмента (воздуходувки, торсионы, шарниры, станки заточные, трчила);

для питания двигателей и их аварийного отключения (преобразователи, аккумуляторы, ЗОУ).

Десятая группа классификационной таблицы является резервной. В каждой группе предусмотрено по девять подгрупп для учета конструктивных особенностей РМ.

В классификационной таблице, на основе которой проводится индексация, отсутствуют отдельные виды РМ, попадающие под приведенное выше определение РМ (ручные глубинные вибровозбудители, ручные виброплиты, ручные машины для перекусывания и гибки арматуры и т.д.), поскольку они включены в другие подклассы СДМ. Кроме этого ряд видов РМ, приведенных в классификационной таблице: шлифовальная с гибким валом, станки сверлильные переносные, пневмопробойники и некоторые другие не отвечают всем отличительным признакам определения РМ, однако их присутствие целесообразно.

В силу того, что СММ активно используются в СТП, строителям удобно классифицировать РМ на группы по области их применения: общего применения, для обработки металла, для обработки дерева, для работ по грунту, камню, бетону; для сборочных работ, а создателям машин 1 по ввду привода и принципу действия.

Привод РМ

Определяющим направлением совершенствования РМ является повышение их энерговооруженности при ограничении массы. Таким образом, показатель удельной мощности (на единицу массы) является важной характеристикой РМ. Выполнение отмеченного условия в случае применения двигателей повышенной мощности возможно при использовании высокооборотных (высокочастотных) двигателей применении пластмассовых корпусных деталей и других высококаственных материалов.

Электропривод

Все виды применяемых в электроприводе электродвигателей выполнены для следующих режимов работы: продолжительного (S1) и повторно-кратковременного (S3) с ПВ 40 и 60% и продолжительностью одного цикла 2 мин (ГОСТ 183-66). Для режима S3 может быть принята и иная продолжительность цикла, например, 10 мин, обязательной соответствующей отметкой в технической документаций на машину.

Электроприводы на базе однофазных коллекторных двигателей (КН коллекторные нормальной частоты) имеют активное применен*^ в ручных электрических машинах (65%). Эти двигатели с мягкой внешней механической характеристикой способны выдерживать кратковременные перегрузки, работать при значительных колебаниях» напряжения сети, устойчиво работать в режиме частых пусков.

Коллекторные электродвигатели создаются и серийно осваиваются только с двойной и полной изоляцией с применением пластмассовых корпусов, с армированием или без него. Они имеют пластмасс вый корпус, в который вмонтированы статор и якорь (рис. I.3). В осевом направлении статор фиксируется в корпусе пластмассовой, диафрагмой. Вал двигателя установлен в подшипниках переднего промежуточного подшипникового щита (промщита) и заднего подшипникового щита. Выходной конец вала выполняется либо в виде зубчатого колеса, либо с другими элементами для взаимодействия с редуктором машины. Аксиальная вентиляция двигателя осуществляется вентилятором, выполненным из пластмассы. В ручке электропривода размещены устройство для подавления помех теле- и радиоприему, выключатель, регулятор частоты вращения (при регулируемом приводе).

Подача тока в обмотки электродвигателей осуществляется с помощью пусковых устройств-выключателей. Токоподводящие контакты в них размещены в пластмассовом корпусе. Размыкание осуществляется курком.

На рис. I.4 показаны конструкции наиболее распространенных выключателей. В РМ с электроприводом серии КН-И, оснащенным электронными регуляторами частоты вращения вала двигателя, управление осуществляется оператором с помощью регулировочного винта расположенного на торце курка выключателя. Выбор места расположения выключателя на корпусе РМ определяется следующим требованием техники безопасности: при установке РМ выключатель не должен срабатывать.

Перечислим основные направления развития электропривода серии КЯ:

расширение типоразмерных рядов двигателей по величине полезно# мощности (110…2500 Вт и более) при повышении номинальной частоты вращения якорей (15…25000 мин-1 и более) и увеличении КПД двигателей.

Важное значение имеет создание двигателей с полезной мощностью от 1100 Вт и выше, которые используются для мощных шлифовальных машин с отрезными кругами, рубанков, вырубных ножниц для листовой стали толщиной свыше 4,5 мм, цепных пил и других видов РМ;

создание реверсивных двигателей.

Совершенствование таких механизмов расширяет технологические возможности РМ. Так, например, сверлильная машина, выполненная на базе электрического реверсивного двигателя с регулятором частоты вращения, может использоваться как шуруповерт.

Реверсивные двигатели целесообразно использовать также в гайковертах;

развитие регулируемого привода с использованием микропроцессоров;

создание электродвигателей постоянного тока с питанием от аккумуляторных батарей.

Рис. 3. Электропривод на базе однофазного коллекторного двигателя.

- промежуточный подшипниковый щит; 1 - армирующая втулка;

- вентилятор; 4 - диафрагма; 5 - корпус двигателя; 6 - статор;

- якорь; 8 - щеткодержатель; 9 - щетка; 10 - рукоятка; 11 - нажимной рычаг 12 - подшипник; 13 - пружина щеткодержателя; 14 - направляющая втулка; 15 - электронный блок управления (выключатель); 16 - фильтр подавления радиопомех; 17 - токоподводящий шнур; 18 - изоляционная втулка


Рис. I.4. Курковые выключатели электрических РМ: конструктивные схемы нерегулируемого (а) и регулируемого Гб) выключателей* в - принципиальная схема электронного регулятора частоты вращения вала двигателя; 1 - траверса; 2 - контакт; 3 - блок; 4,10 - пружины; 5 - стакан; 6 - рычаг* 7 - пластина; 8 - корпус; 9 - ось; 11 - курок; 12 - крышка; 13 - «фиксатор;! 4 - рычаг реверса; 15 - переменный резистор; 16 - печатная плата; 17 - ползун переменного резистора; 18 - ползун курка; 19 - регулировочный винт

Остановимся подробнее на реализации двух последних направлений развития привода с коллекторным однофазным двигателем [66,76]. Эти двигатели имеют высокую частоту вращения холостого хода, что является причиной повышенного расхода энергии и значительного шума, и мягкую внешнюю механическую характеристику, не Позволяющую поддерживать данную частоту вращения под нагрузкой.

Поэтому для более эффективного использования электропривода на базе двигателей КН и большего соответствия режима работы двигателя условиям работы РМ заданного типа его оснащают электронными устройствами в виде регуляторов частоты вращения (сверлильные машины, шуруповерты и т.д.) и стабилизаторов частоты вращения (шлифовальные машины). Повышается надежность работы электродвигателя, поскольку исключаются перегрузки по току при пусковых режимах.

Современные электронные регуляторы частоты вращения основаны на применении управляемых полупроводниковых вентилей (тиристоров и симисторов) с достаточно простыми схемами фазового управления углом открытия вентиля. Простота конструкции и управления обеспечивает широкое использование этих приборов в различных регуляторах. Основными их недостатками являются сравнительно высокие тепловые потери из-за наличия остаточного напряжения на переходах и необходимость принудительного отключения. (В последнее время стали применять новые элементы регулятора и, в частности, силовые транзисторы, обладающие существенными преимуществами перед тиристорами.)

Основными видами стабилизаторов являются одно- и двухполупериодные с использованием противоЭДС в качестве напряжения обратной связи, а также двухпериодные с датчиком частоты вращения в цепи обратной связи. Стабилизаторы с обратной связью по противоЭДС обладают простотой схемного и конструктивного решений. Однако они либо не обеспечивают регулирование по всему диапазону, либо не гарантируют стабильность частоты вращения (при двухпериодном регулировании). Стабилизаторы с датчиком в цепи обратной связи обеспечивают стабильность частоты вращения и обладают высоким быстродействием. Единственным недостатком таких стабилизаторов является конструктивное усложнение машины из-за необходимости встраивания датчика частоты вращения в конструкцию двигателя. Идеальным решение^ был бы стабилизатор, осуществляющий дэухполупериодное регулирование без датчика в цепи обратной связи, но обеспечивающий высокую стабильность частоты вращения. Однако имеющиеся схемные решения таких стабилизаторов практической реализации пока не получили.

Большое разнообразие конструкций электронных регуляторов сводится к нескольким основным решениям:

курковые регуляторы, встроенные в выключатель;

стабилизаторы, встроенные в рукоятку или корпус двигателя;

стабилизаторы и курковые регуляторы, встроенные в корпус выключателя, с вынесенным на отдельном радиаторе тиристором, размещенным в воздушном потоке.

Опыт создания и эксплуатации РМ показал, что электронное регулирование следует развивать, используя стабилизаторы частоты вращения, в первую очередь в РМ, оснащенных высокоскоростным коллекторным приводом с полезной мощностью не менее 250 Вт для сверлильных машин и лобзиков, а также не менее 800 Вт в шлифовальных машинах. Кроме того, необходимо создание двухполупериодного куркового регулятора частоты вращения для широкого применения в различных электрических РМ. Микропроцессоры в РМ Используются для решения задач ввода и индикации рабочих параметров для программирования активного контроля рабочего процесса.

В настоящее время ведутся работы по применению микропроцессоров с большими наборами жестких программ и & перенастраиваемыми программами, обеспечивающих автоматическое регулирование рабочих процессов.

Все шире развивается новое направление - разработка и выпуск электрических РМ различного назначения с электроприводом постоянного тока, питающимся от аккумуляторов. Это объясняется появлением малогабаритных никель-кадмиевых аккумуляторных батарей ёмкостью 1,2…2 А • ч и более при напряжении одного элемента 1,2 В. Применение этих элементов позволяет выпускать электрические РМ на напряжение от 3,6 до 24 В, полезной мощностью до 165 Вт и более. Объем производства таких машин составляет более 2 млн шт. в год, а номенклатура охватывает практически всю номенклатуру традиционного электроинструмента.

В качестве привода электрических РМ применяют коллекторные - электродвигатели с возбуждением от постоянных магнитов. При этом диапазон электродвигателей по напряжению составляет от 3,1 до 36 В, по полезной мощности - от 4,6 до 79,1 Вт, по частоте вращения якоря на холостом ходу - от 4200 до 25800 мин-1, под нагрузкой - от 3500 до 19000 мин'1. Величина токов холостого хода от 0,085 до 1,8 А, а под нагрузкой - от 0,43 До 13,1 А. КПД электродвигателей колеблется от 53,8 до 76,8%, а масса - от 49 дб 205 г.

В зависимости от выполняемой технологической операции, типа и назначения машины и ее технических характеристик время работы за одну зарядку аккумулятора может составить от 3 до'35 мин, а максимальные диаметры сверления по стали находятся в диапазоне от 3,5 до 32 мм, по древесине - от 10 до 35 мм. Наиболее важной характеристикой этих машин, определяющей их технологические возможности, является энергоемкость аккумуляторов. Так, при увеличении энергоемкости батарей & I раза эффективность работы машины увеличиваете^ примерно вдвое.

Все электрические РМ с питанием от аккумуляторных батарей комплектуются зарядными устройствами, позволяющими проводить зарядку от 45 мин до 3 ч»

Увеличивается производство РМ с электроприводом на базе асинхронных двигателей. Асинхронные двигатели в сравнении с коллекторными однофазными имеют более высокую надежность (ориентировочный ресурс работы 700 в сравнении с 400 ч у двигателей серии КН), обусловленную простотой конструкции самого двигателя, более низкий уровень Звуковой мощности, не создают радиопомех.

Электроприводы на базе асинхронных электродвигателей нормальной частоты серии АН-I продолжают выпускать в традиционном исполнении, без принципиального отличия от электродвигателей общепромышленного применения. Форма корпуса определяется конструктивными особенностями электрической РМ. В основном эти Электроприводы применяются в мощных молотках (ломах), перфораторах, гайковертах, для переносных заточных станков. В последнее время намечена тенденция применения двойной изоляции в этих электроприводах за счет использования пластмассовой втулки между валом и пакетом ротора, либо наличия пластмассового шкива, изолирующего шпиндель машины от ротора, и дополнительной изоляции пакета статора.

Для асинхронных электроприводов повышенной частоты (серии АЛ-III), не уступающих однофазным коллекторным приводам по энергетическим параметрам и превосходящих их по удельной мощности, используются специальные статические полупроводниковые преобразователи частоты (на тиристорах и транзисторах), отличающиеся от традиционных электромашиных большой долговечностью, меньшими габаритами и массой.

По электроприводам на базе асинхронного электродвигателя повышенной частоты намечены тенденции увеличения номинальных напряжений, в частности, в нашей стране - перевод с 36 до 42 В, за рубежом - применение напряжений 42, 72, 135, 265 В. Это объясняется необходимостью снижения потерь энергии в подводящих проводах выключателях, штепсельных соединениях, что в конечном итоге уменьшает падение напряжения на клеймах машин и способствует облегчению условий их пуска.

Важным также является выбор оптимальной частоты тока. Критерием оптимизации является масса привода машины (двигателя и редуктора). По данным фирмы Bosch (ФРГ)» значение оптимальной частота для двигателей этой фирмы приближается к 300 Гц. Прогнозируется увеличение производства асинхронных электродвигателей повышенной частоты в связи с налаживанием и расширением выпуска статических преобразователей частоты.

Следует отметить также, что в производстве всех типов электродвигателей явно прослеживается тенденция унификации. В частности, по типоразмерам железа статора и якоря в двигателях серии КН на базе одного типоразмера железа - выпускать до трех и более электродвигателей различной мощности.

Необходимо отметить высокую степень механизации практически всех операций по изготовлению электродвигателей и особенно намоточно-изолированных работ, присоединения обмоточных проводов к коллектору посредством сварки, автоматическую балансировку, пропитку обмоток и контроль основных технологических операций. Все это позволяет в значительной мере повысить производительность труда при высоком качестве изготовления.

Развитие электромагнитного привода происходит в направлении расширения его возможностей за счет изменения частоты тока сети. Эго обеспечивается с помощью встроенных и выносных электронных блоков.

Проведение таких работ позволило расширить технологические возморюсти РМ, выполненных на базе электромагнитного привода. ^

В настоящее время разработана конструкция молотка с энергией удара 15 Дж, частотой удара 25 Гц и массой 10 кг (ИГД СО АН РФ)» пистолета для забивки крепежа с регулируемой энергией удара 5…22 Дж, частотой 0,5…4,0 Гц и массой 2,5 кг (Новосибирский электротех - нический институт) [39].

Анализируя отмеченные тенденции, можно прогнозировать расширение использования электромагнитного привода и в других видах РМ.

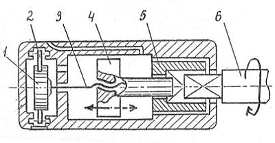
Пневмо- и гидропривод

Пневмопривод наряду с электроприводом долгое время используется в РМ различного технологического назначения. В РМ вращательного типа наиболее широкое применение нашли двигатели ротационного типа (рис.I.5), а в машинах поступательного типа - цилиндры со штоковым поршнем и цилиндры со свободным поршнем. С указанными типами привода выполнено большинство отечественных и зарубежных пневматических РМ. Объемные пневмо- и гидродвигатели способны выдерживать значительные перегрузки и перегрев, как электродвигатели, легко осуществляют реверсирование, обладают хорошими возможностями управления скоростью движения выходного звена (часто за счет дросселирования потока рабочего тела-энергоносителя).


Рис. 5. Привод РМ с ротационным пневмодвигателем: а - конструктивная схема ротационного пластинчатого пневмодвигателя; б - общий вид привода РМ с пистолетной рукояткой: I - до модернизации; II - после, модернизации; 1 - ротор пневмодвигателя; 2 - подшипник ротора; 3 - задняя крышка пневмодвигателя; 4 - статор пневмодвигателя; 5 - пускореверсирующее устройство; 6 - шток пускового клапана; 7 - шариковый клапан

В качестве энергоносителя используется сжатый воздух давлением До 0,7 МПа и минеральное масло давлением 10 МПа и выше.

Рассмотрим подробнее работу двигателя со свободным поршнем - Ударником, используемого в РМ ударного действия.

Он включает в себя ударный механизм с органом управления Потоком энергоносителя, поступающего от силового оборудования (компрессора или насосной установки). Ударный механизм (поршень-ударник и наковальня в виде хвостовика рабочего инструмента) расположен в цилиндрическом корпусе. Функции ударника - нанесение периодических ударов по хвостовику инструмента в результате совершения возвратно-поступательного движения внутри цилиндра. Движение к месту удара называют прямым ходом, а от места удара - обратным. Таким образом, время цикла определяют как сумму времени прямого и обратного ходов (Тц = tn x + to x), частота ударов f = 1/Тц. Временем удара пренебрегают ввиду его малости в сравнении с величиной Тц. Частота ударов современных РМ составляет до 30 с-1.

Периодическое движение ударника при прямом и обратном ходах осуществляется за счет его силового возбуждения, которое создается разностью усилий от давления рабочего тела, действующих на ударник со стороны его заднего и переднего торцов. Организация цикла движения ударника осуществляется распределительным устройством (РУ). В большинстве типов РМ ударного действия используются автоматические РУ, а в ряде других (гвозде- и скобозабивные молотки) - РУ с ручным управлением. Вместе с системой каналов и проточек, выполненных в корпусе и цилиндре, РУ образует орган (систему) управления двигателем (рис. I.6).

Рис. 6. Принципиальная схема органа управления:

Ра, РБ, Рс - давления в камерах прямого, обратного ходов ударника и сливной камере гидропневматического ударного механизма.

Рассмотрим основные виды РУ на примере пневматических РМ ударного действия, отличающихся разнообразием их использования (рис. 7).

В пневматических РМ ударного действия используются поршневые дйигатели со свободным поршнем, оснащенные одним из видов автоматических воздухораспределительных устройств: клапанных, золотниковых, поршневых, дроссельных и других.


Рис. 7. Принципиальные схемы пневматических ударных механизмов с различными видами воздухораспределительных устройств:

- цилиндр; 2 - ударник; 3 - хвостовик инструмента; 4 - 3-ступенчатый трубчатый золотник; 5 - сегментный пластинчатый клапан; 6 - дисковый пластинчатый клапан; 7,8 - микрозолотники; 9 - дроссели; 10 - шариковый клапан

Название первых трех видов воздухораспределительных устройств соответствует названию детали (распределительного элемента), изменение положения которой обеспечивает поочередное соединение камер прямого (А) и обратного (Б) хода поршневого двигателя с напорной магистралью и атмосферой. Распределительный элемент в виде клапана или золотника представляет собой соответственно пластину или полый цилиндр с рядом выступов и находится в распределительной коробке, расположенной в верхней части ствола, соединенной с рабочей камерой прямого хода (поршневое воздухораспределение осуществляется непосредственно поршнем-ударником при его движении и называется часто бесклапанным или беззолотниковым).

Распределительный элемент имеет два положения, при которых реализуются прямой и обратный ходы поршня-ударника. Изменение положения распределительного элемента происходит дважды в течение ударного цикла - в конце прямого и обратного ходов ударника в результате нарушения его равновесного состояния. Это связано с резким падением давления в одной из рабочих камер, соединением ее через выхлопной канал с атмосферой и плавным его повышением в другой камере в результате уменьшения объема замкнутого пространства.

Наиболее широкое распространение в пневматических РМ ударного действия получили клапанная и золотниковая системы воздухо - распределения. Последняя является более экономичной (обеспечивает меньший расход воздуха при одинаковых выходных параметрах), создает меньший шум при работе, но более трудоемка в изготовлении.

Дроссельное воздухораспределение обеспечивается с помощью калиброванных каналов (дросселей), по которым одновременно в камеры прямого и обратного ходов происходит непрерывная подача из напорной магистрали потока сжатого воздуха (см. рис. I.7). Опорожнение камер осуществляется попеременно через выхлопной канал, открываемый поршнем-ударником.

Преимуществом машин с данным воздухораспределительным устройством является простота их запуска, а недостатком - повышенный расход воздуха.

В гидравлических РМ ударного действия наиболее широко используются золотниковые РУ. Сам ударный механизм имеет обычно камеру рабочего хода (гидравлическую или пневматическую), управляемую камеру обратного хода (гидравлическую) и вспомогательную (сливную) камеру. Несмотря на то, что наличие вспомогательной камеры увеличивает общую длину механизма, это способствует уменьшению потерь энергии на удаление обработанной жидкости. Эффект применения вспомогательной камеры тем выше, чем больше длина сливного трубопровода.

Условия работы РМ предполагают Использование рукавов значительной длины при коэффициенте приведенной массы жидкости µж= mж / mуд > 0,5 (mж I приведенная масса жидкости; mуд - масса ударника).

Отметим основные тенденции развития пневмо- и гидропривода РМ. |

Снижение удельной мощности РМ связано в первую очередь с увеличением используемого давления рабочего тела. Для пневматических машин оптимальным считают давление 1,2…2,0; для гидравлических - 30…40 МПа. Пневматические машины и устройства с величиной давления в указанных пределах уже используются в промышленности. Переход на такое давление в строительстве в большей степени является организационно-технической, чем научно-технической проблемой. Высокий уровень развития техники и технологии гидропривода, р. также имеющиеся разработки отдельных видов средств малой механизации подтверждают реальность создания гидравлических РМ с давлением рабочего тела до 40 МПа. Использование давления 32…40 МПа позволяет создавать гидравлические РМ не только с питанием от выносных насосных установок, но и со встроенным электрогидроприводом.

Особое значение приобрело применение пластмасс в пневматических РМ. Разработанные впервые в нашей стране технология и специальные пресс-формы позволили изготовлять из композиционных полимерных материалов важнейшие детали этих машин, включая корпусные, практически без дополнительной механической обработки. Резко снизилась трудоемкость изготовления, улучшились вибрационные, шумовые и теплоизоляционные характеристики, уменьшились массы машин.

Ведутся работы по использованию для отдельных видов РМ высокоскоростного (вихревого) трубопривода взамен ротационного. Так, в НПО РИТМ на базе этого привода созданы высокоскоростные пневматические шлифовальные машины мощностью 1,5…2,0 кВт. По данным разработчиков, результаты проведенных экспериментальных исследований позволяют прогнозировать следующие характеристики перспективной модели торцевой шлифовальной машины: удельная мощность - 0,5 кВт/кг (0,35 кВт/кг у лучших современных зарубежных и отечественных образцов); окружная скорость рабочей кромки инструмента - 80 м/с (50…60 м/с у существующих пневмомашин); соответствие нормам вибрации за счет рационального перераспределения виброспектра турбопривода, повышение эффективности использования абразивного инструмента и возможность введения автобалансирующих устройств.

Рис. 8. Обобщенная перспективная схема УПМ с автоматической системой

Другим важнейшим направлением развития пневмо- и гидроприводов РМ является автоматизация их систем управления на базе микропроцессорной техники, обеспечивающая реализацию улучшенного рабочего цикла и требования вибро- и шумобезопасности.

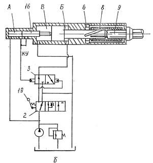
В качестве примера на рис.I.8 в соответствии с [69] представлена обобщенная перспективная схема ударной пневматической машины (УПМ) с АСУ подачей сжатого воздуха. В качестве объекта управления (ОУ) принята силовая система воздухораспределения УПМ, управления включающая исполнительные механизмы (ИМ) и воздухораспределители (РО). Ударный механизм машины в зависимости от структуры АСУ может входить или не входить в ОУ. Дискретный управляющий автомат (УА) представляет собой преобразователь входных сигналов, поступающих от датчиков (Д) Х;, хх (тильда означает, что переменная может быть     с отрицательным знаком), от средств вычислительной техники (СВТ) и человека-оператора, в выходные двоичные сигналы zij, и т.д., организующие работу исполнительных механизмов. Для оптимизации рабочего процесса введены средства регулирования (Р), обеспечивающие их датчики, и СВТ. Источник питания (ИП) АСУ - автономный. В случае необходимости он может быть совмещен с источником энергоносителя (ИЭ) УПМ непосредственно или через преобразователь. Пуск машины осуществляется оператором через УА или систему пуска (СП). Отдельные элементы этой схемы могут быть реализованы в машинах ближайшего будущего поэтапно.

Привод от ДВС и пороховых зарядов

СММ, созданные с указанными видами привода, обладают свойствами автономности, что дает возможность использовать их вне зависимости от стационарных источников питания. Наряду с традиционными видами СММ: трамбовками, виброплитами, молотками, перфораторами, выполненными на базе ДВС, в последнее время разработаны машины для разделительных операций.

Важным представляется решение вопроса о создании пневматических и гидравлических РМ с автономным источником питания, в частности от пороховых зарядов.

Особенности исполнения трансмиссий

Исполнение трансмиссий привода РМ определяется требуемой траекторией и характером движения инструмента. Приводы большинства видов РМ непрерывного действия выполняются с использованием различных мелкомодульных редукторов с общим передаточным числом до 25. Приводы ряда типов шлифовальных машин выполняются в безредуКторном исполнении (в шлифовальных машинах с гибким валом, шуруповертах используют кулачковые предохранительные муфты).

В приводах РМ вибрационного и ударного действия используются преобразовательные (эксцентриковые, кривошипно-шатунные, с плавающей шайбой и т.д.) и ударные механизмы осевого и вращательного типов, а также ударно-поворотные (рис. 1.9…1.15) механизмы.

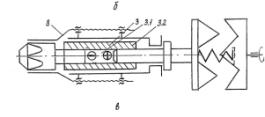
Рис. I.9. Схема привода РМ с эксцентриковым преобразовательным! механизмам (виброножницы):

,2 - неподвижный и подвижный ложи;

- ползун; 4 - эксцентриковый вал;

- редуктор; 6 - двигатель

Большинство видов РМ имеют одну силовую цепь передачи энергии от двигателя инструменту и лишь перфораторы и отдельные конструкции сверлильных машин - две. В этом случае планетарные передачи используются для автоматической регулировки энергопотоков по обеим цепям.

Рис. 10. Схема привода РМ с кривошипно-шатунным преобразовательным и пружинным ударным механизмом: а - электрической трамбовки; б - электрического молотка;


- кривошипно-шатунный механизм; 2 - цилиндр;

пружина растяжения-сжатия; 4 - штоковая часть рабочего органа; 5 - рабочий орган (трамбующий «башмак», пика); 6 - ударник

Рис. 11. Схема привода РМ с кривошипно-шатунным преобразовательным и компрессионно-вакуумным ударным механизмом с подвижным направляющим цилиндром (электромолоток): а - принципиальная схема привода; положения деталей при ударном (б) и безударном (в) режимах работы: 1 - хвостовик инструмента; 2 - ударник; 3 - корпус машины; 4 - подвижный направляющий цилиндр с - окнами; 5 - шатун; 6 - редуктор; 7 - двигатель; 8 - кривошип; 9 - держатель


Рис. 12. Компрессорно-вакуумный ударный механизм с неподвижным направляющим цилиндром: а - принципиальная схема: 1 - инструмент; 2 - ударник (боек); 3 - окно;

- поршень; 5 - цилиндр; 6 - кривошипно-шатунный механизм; схемы компенсации утечек воздуха в воздушной камере: поршневые: одинарная (б), двойная (в); г - бойковая (двойная); г - радиус кривошипа; Но - начальная длина воздушной подушки; щ - угловая скорость вращения кривошипа

Наиболее широкое применение в РМ ударного действия нашли пружинный, компрессионно-вакуумный, пружинно-воздушный и фугальный ударные механизмы.

Пружинные ударные механизмы по направлению действия основной составляющей ударного импульса разделяют на осевые, используемые в молотках, перфораторах, трамбовках, сверлильных машинах, и вращательные, используемые в ударных гайковертах.

В большинстве ударных механизмов пружина обеспечивает аккумулирование энергии при обратном ходе ударника с целью ее реализации при прямом ходе. Наибольшее применение пружинные ударные механизмы нашли в трамбовках и гайковертах.

В молотках и перфораторах чаще других используются компрес - сионно-вакуумные ударные механизмы (КВУМ).

В них объем воздуха между торцевой поверхностью (см. рис. 1.11) ударника и поверхностью подвижного цилиндра или поршня (см. рис. 1.12) называют воздушной камерой (подушкой). Упругие свойства воздуха выполняют роль механической пружины.

Для восполнения утечек воздуха из воздушной камеры в течение рабочего цикла имеется система компенсации утечек воздуха (СКУВ).

Рис. 13. Схемы привода РМ с механизмами ударно-вращательного действия, обеспечивающего передачу энергопотока инструменту по двум силовым цепям: ударной и вращательной (электрические перфораторы): а - с одним; б - с двумя двигателями

Рис. 14. Принцип действия ударно-вращательного механизма (сверлильная ручная машина)

Рис. 15. Схема ударно-поворотного механизма пневматических ручных перфораторов, обеспечивающего поворот инструмента при обратном ходе ударника:

- храповое колесо; 2 - защелка; 3 - стержень с винтовой нарезкой; 4 - ударник; 5 - поворотная букса; 6 - инструмент (бур)

Она выполняется в виде выхлопных окон, каналов, проточек в стенкй'х цилиндра, поршня или в ударнике на одном (одинарная) или двух (двойная) уровнях и включается в действие в моменты времени, соответствующие нахождению поршня (поршневые СКУВ) или ударника (бойковые СКУВ) в одном (одинарные) или обоих (двойные) крайних положениях. СКУВ обеспечивает также переход с одного режима работы на другой (с режима холостого хода - на ударный и наоборот) и поддержание стабильного виброударного режима при изменении характеристик обрабатываемых материалов. Так, например, переход с ударного режима работы на безударный (холостой  ход) без выключения двигателя КВУМ (см. рис. I.11) осуществляется следующим образом. В момент прекращения нажатия на рукоятку машины рабочий орган машины опускается, и держатель занимает положение, показанное на рис. I.11 в. Ударник смещается до упора в корпус машины, не касаясь торца рабочего инструмента. При этом воздушная подушка через окно или паз в подвижном цилиндре сообщается с атмосферой, что препятствует созданию вакуума в полости над ударником. Для обеспечения нормальной работы механизма необходимо, чтобы при его конструировании были соблюдены следующие соотношения:

b = r (1,45…1,65);

с = b - г (0…0,3);                                                                  (I.1)

d > с + (5…10) мм.

Здесь r - радиус кривошипа.

В пружинно-воздушных ударных механизмах поршень упруго соединен с ползуном механической пружиной. Размах колебаний поршня - более 2г. Это обеспечивает стабильную работу, а также большее значение энергии единичного удара.

Принцип действия ударно-вращательного механизма (УВМ) сверлильной машины наглядно поясняется рис. 1.14. Ударно-поворотные механизмы нашли широкое применение в пневматических перфораторах. Они обеспечивают равномерное разрушение породы по окружности шпура. Принцип их действия (см. рис. 1.15) основан на вращении ударника совместно с буром при холостом ходе ударника, когда храповое колесо застопорено. При прямом ходе ударника поворота бура происходить не будет ввиду отсутствия вращения ударника относительно продольной оси стержня, что обеспечивается совместным вращением ударника и храпового колеса со стержнем.

1.2 Силовое оборудование РМ

Силовое оборудование пневматических РМ

Энергоносителем пневматических РМ является сжатый воздух давлением 0,5…0,7 МПа. Питание машин сжатым воздухом осуществляется от компрессорных установок (или! станций) через воздушные трубопроводы.

Компрессорные установки состоят непосредственно из компрессора, приводимого в движение обычно электродвигателем или ДВС, ресивера и воздухоподготовительной аппаратуры. По компоновке в зависимости от габаритов и массы компрессорные установки разделяют на переносные, передвижные с расходом по свободному воздуху Q до 1,0 м3/мин и самоходные с расходом Q до 10 м3/мин.

Очистка воздуха, поступающего в компрессор, например, в компрессорную установку С0-204, может быть двухступенчатой с использованием воздухоочистителя центробежного типа с бункером для сбора пыли (первичная очистка) и контактного фильтра (вторичная очистка).

Часто используемыми являются поршневые, а также ротационные и винтовые компрессоры с воздушной или масляной принудительными системами охлаждения.

Компрессорные установки и станции оснащают АСУ режимом работы (или включения-выключения) двигателя в зависимости от количества потребляемого воздуха из ресивера.

Транспортирование сжатого воздуха от ресивера к потребителю осуществляется по системе трубопроводов (магистральной, ответвлений) длиной до нескольких сот метров и гибким шлангам (длиной до 10 м), к которым присоединяют потребители сжатого воздуха - ручные машины. Для магистрального трубопровода и трубопроводов ответвлений обычно используют стальные газовые трубы, соединяемые между собой с помощью муфт или сварки. Для соединения трубопроводов, гибких резиновых шлангов и ручных машин используется различная арматура (колена, тройники, ниппели, быстросъемные соединения); для компенсации теплового расширения воздуха устанавливают компенсаторы. С целью удаления конденсата, образующегося в результате охлаждения паров, содержащихся в сжатом воздухе, Трубопроводы устанавливают с уклоном 1:40 в сторону ресивера. Непосредственно перед подключением гибких шлангов устанавливается воздухоподготовительная аппаратура - фильтр-влагоотделитель, регулятор давления, маслораспылитель, обеспечивающая необходимый состав и характеристики воздуха перед его поступлением к ручным машинам. Фильтр-влагоотделитель в результате сепарации и фильтрации сжатого воздуха задерживает твердые частицы размерами до 0,05 мм и частицы влаги.

Регуляторы давления обеспечивают изменение давления воздуха в диапазоне 0,2…0,7 МПа путем его дросселирования на выпуске. Маслораспылитель обеспечивает внесение в сжатый воздух распыленного масла для смазки трущихся поверхностей деталей двигателя РМ.

Силовое оборудование гидравлических РМ

Питание ручных гидравлических машин (РГМ) может осуществляться от гидросистем строительных машин или от специальных малогабаритных насосных станций.

В /первом случае в зависимости от числа и типов РГМ подбирают нужную строительную машину. Во втором случае используют малогабаритные насосные станции, которые в основном проектируют и создают под конкретные типы РГМ.

Наиболее широкое распространение получила схема с постоянным давлением рабочей жидкости на входе в РГМ, работающая от насоса с постоянной производительностью. Это объясняется стабильностью рабочего процесса, возможностью одновременного питания нескольких РГМ, а также достоинствами используемой гидроаппаратуры.

Малогабаритные насосные станции выпускаются в наземном (общего применения) и подземном исполнениях. Их основные характеристики (давление рабочего тела р, МПа и расход (подача) Q. л/мин) зависят от того, для работы с какими машинами они предназначены: гидропробойниками, молотками и перфораторами, ножницами или гайковертами. Диапазон изменения основных параметров: Р=16…40 МПа; Q = 1,6…40 л/мин. Масса станций от 30…40 до 300 кг.

2. РМ для монтажных работ

РМ общего назначения

Применяют для механизированного выполнения операций сверления (сверлильные машины), шлифования и полирования (шлифовальные машины), фрезерования (фрезерные машины), обработки различных материалов: металла, дерева, бетона и других.

Сверлильные машины

Машины этого типа (рис. 1.16…1.18) предназначены для образования отверстий в различных материалах: машинами непрерывного действия обрабатываются металлы, дерево, пластмассы, каменные материалы, а машинами ударного действия - бетон. Главным параметром является максимальный диаметр рассверливаемого отверстия (Дmaxдо 32 мм).

С увеличением рассверливаемого отверстия с 9 до 32 мм значение номинальной потребляемой мощности увеличивается примерно от 300…400 до 1000 Вт, а частота вращения снижается от 700…1400 до 125…300 мин-1.

Поузловое исполнение силовой цепи привода машин вращательного действия: двигатель-редуктор-шпиндель с устройством для крепления инструмента. В качестве двигателей наиболее широко используются электрические коллекторные и асинхронные двигатели повышенной частоты, а также ротационные пневмодвигатели. Редукторы производятся в ступенчатом и планетарном исполнениях. С целью расширения диапазона обрабатываемых материалов они имеют двухскоростной привод с плавным регулированием скорости вращения, а также двухрежимный привод с вращательным и ударно-вращательным режимом работы. Реализация ударно-вращательного режима осуществляется с помощью кулачковых ударных механизмов.

Сверлильные машины выпускают как в прямом, так и в угловом исполнениях с использованием автоматических устройств управления, и без них.

Инструментом сверлильных машин являются сверла, обеспечивающие процесс резания у машин непрерывного действия и резания и скола - у машин ударного действия. В зависимости от обрабатываемого материала используются сверла с различной геометрией режущих органов; при ударном сверлении они оснащаются пластиной из твердосплавного материала.

Способы крепления инструмента в сверлильных РМ:

с помощью кулачковых патронов, наиболее часто закрепляемых на шпинделе резьбовым соединением или насаживаемых на его внешний конус (для сверл диаметром

непосредственно в шпинделе машины, выполненном обычно с внутренним конусом Морзе для сверл диаметром свыше 12…16 мм. Применение алмазного инструмента позволяет сверлильным машинам непрерывного действия обрабатывать бетонные и железобетонные материалы. В таких машинах обязательным является устройство для подвода воды в зону сверления. Установка их на опорные рамы и оснащение ряда конструкций податчиками значительно расширяет диаметры просверливаемых отверстий (Дmaхдо 370 мм и выше).

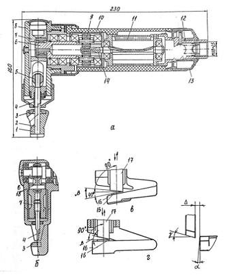
Рис. I. 16. Машина ручная сверлильная электрическая ИЭ-1202А: 1 - патрон; 2 - шпиндель; 3 - редуктор; 4 - корпус; 5 - электродвигатель типа KH-II; 6 - основная рукоятка; 7 - токопроводящий кабель; 8 - выключатель; 9 - механизм переключения скоростей

В настоящее время в указанном исполнении получили широкое распространение установки (станки) для сверления отверстий в железобетоне.

Помимо основной операции с применением специального инструмента сверлильные машины осуществляют операции развертывания и зенкования.

При использовании таких машин в быту их комплектуют набором сменных насадок для различных работ.

Шлифовальные машины

В зависимости от вида применяемого инструмента эти машины выполняют одну из следующих операций: зачистку, шлифование, полирование при взаимодействии режущих поверхностей зерен инструмента с обрабатываемой поверхностью материала: металла, дерева, цемента, бетона и каменных материалов.

Вид и характеристики абразивного инструмента определяются свойствами обрабатываемых материалов.

Большинство шлифовальных машин выполняют в переносном исполнении, однако отдельные их виды, используемые при обработке больших площадей мозаичных и бетонных покрытий, - также и в передвижном (мозаично-шлифовальные).

Рис. 17. Машина ручная сверлильная электрическая ударно-вращательная (ИЭ-1505Э):

- сверлильный патрон; 2 - втулка; 3 - ударник; 4 - наковальня; 5 - шпиндель; 6 - корпус; 7 - редуктор; 8 - подшипник скольжения; 9 - электродвигатель типа KH-II; 10 - рукоятка основная; 11 - выключатель; 12 - винт для фиксации выбранного предела частоты вращения; 13 - вал якоря электродвигателя; 14 - блок шестерен; 15 - зубчатое колесо; 16 - механизм переключения режима работы

Наиболее широкое применение нашли шлифовальные машины непрерывного действия с круговой траекторией движения инструмента - круга, характеризуемого максимальным диаметром Дmax. Они выполняются в прямом и угловом исполнениях, с движением инструмента - ленты, характеризуемой размерами ее рабочей поверхности, по замкнутому контуру. Поуэяовое исполнение силовой цепи привода: двигатель-редуктор-шпиндель или шкив (для ленточных машин).

В шлифовальных машинах с круговой траекторией движения инструмента (прямых, угловых, а также с гибким валом) прочность круга определяется из условия его максимально возможной частоты вращения, что соответствует холостому ходу работы. Шлифовальные машины с целью реализации наиболее производительных режимов, близких к максимально возможным, имеют стабилизаторы частоты вращения:, электронные - в электрических и пневматические с центробежным регулятором - в пневматических машинах.

Рис. 18. Машина ручная сверлильная электрическая с приспособлением для сверления отверстий в железобетоне (ИЭ-1029):

- приспособление для сверления алмазным инструментом; 2 - корпус редукгора; 3 - вентилятор; 4 - диафрагма; 5 - рукоятка; 6 - корпус электродвигателя;

- статор; 8 - ротор; 9 - шарикоподшипник; 10 - грудной упор; 11 - задняя ручка; 12 - выключатель; 13 - токоподводящий кабель; 14 - курок; 15 - ручка;

- промежуточный щит.

Прямая шлифовальная машина (рис. 1.19) имеет две рукоятки (рукоять корпуса привода и рукоять корпуса шпинделя). Оператор отделен от вращающегося инструмента (максимально допустимая линейная скорость вращения круга - до 80 м/с) защитным кожухом.

Эти машины наиболее часто используются с абразивными цилиндрическими кругами.

Угловая шлифовальная машина (рис. 1.20) имеет меньшие осевые габариты ввиду отсутствия удлиненного шпинделя. Вторая рукоять у нее расположена на корпусе шлифовальной головки. Операции зачистки и полировки осуществляются с помощью инструмента: чашечных абразивных кругов, металлических щеток, подкладных эластичных кругов с абразивной шкуркой' Эти машины часто используются с отрезными кругами, предназначены для выполнения разделительных операций по металлу (в основном), камню, бетону.

Обычно рабочей частью инструмента является его радиальная поверхность, реже - торцевая (торцевые шлифовальные машины).

Машины с гибким валом (рис. I.21) состоят из двух узлов: шлифовальной головки и привода, соединенных с помощью гибкого вала. При работе оператор удерживает в руках шлифовальную головку, оснащенную двумя рукоятками, расположенными на корпусе шпинделя и защитного кожуха.

Двигатель (обычно электрический, 3 класса по электробезопасности), имеющий на выходном валу муфту одностороннего действия, обеспечивающую правильную работу гибкого вала, является выносным и устанавливается на опорной поверхности вблизи объекта работ.

Ленточно-шлифовальные машины также относятся к машинам непрерывного действия, однако с движением инструмента (абразивной ленты) по замкнутому контуру. Лента натягивается между двумя шкивами, один из которых является приводным, а второй - натяжным. Главные параметры этих машин - размеры ленты и скорость ее движения. Используются при обработке дерева.

Плоскошлифовальные машины (рис. I.22) являются машинами вибрационного действия. Рабочий орган этого типа машин - платформа (главный параметр - размеры рабочей платформы) с устройством для крепления шлифовальной ленты, совершающая под действием привода с вибровозбудителями эксцентрикового или профильного типов орбитальные вибрационные движения по обрабатываемой поверхности материала с ходом 2…4 мм, происходящие в плоскости, перпендикулярной продольной оси привода. Удержание машины оператором обеспечивается за рукояти, расположенные на ее корпусе.

Рис. 19. Машина ручная шлифовальная пневматическая прямая (радиального шлифования, ИП-2014Б):

- кожух; 2 - шлифовальный круг; 3 - фланец; 4 - шпиндель; 5 - виброгасящие накладки; 6 - корпус шпинделя; 7 - пневмодвигатель; 8 - центробежный регулятор частоты вращения; 9 - корпус; 10 - переключатель

Рис. 20. Машина ручная шлифовальная электрическая угловая (радиального шлифования, ИЭ-2107):

- шпиндель; 2 - вал ротора электродвигателя; 3 - электродвигатель серии KH-II; 4 - рукоятка привода;

- токопроводящий кабель; 6 - выключатель; 7 - корпус машины; 8 - защитный кожух; 9 - рабочий орган

Рис. 21. Машина шлифовальная электрическая с гибким валом (ИЭ-8201Б):

- выносной электродвигатель с подставкой (серии АП-1П); 2 - кулачковая муфта одностороннего действия; 3 - гибкий вал; 4 - прямая головка радиального шлифования: 4.1 - защитный кожух; 4.2 - дополнительная рукоятка; 4.3 - основная рукоятка (виброизолированная);

.4 - шпиндель; 4.5 - шлифовальный круг; 4.6 - упорный фланец; 4.7 - прижимной фланец; 4.8 - винт; 4.9 - гайка; 5 - угловая головка торцевого шлифования: 5.1 - основная рукоятка (виброизолированная); 5.2 - шпиндель; 5.3 - упорный фланец;

прижимной фланец; 5.5 - шлифовальный круг; 5.6 - защитный кожух; 5.7 - корпус

Эти машины используются при обработке металлических и деревянных поверхностей.

Все типы шлифовальных машин оснащены быстросъемными устройствами для инструмента. С целью улучшения условий работы оператора многие модели оснащены пылеотсасывающими устройствами.

Фрезерные машины

Фрезерные машины вращательного действия обеспечивают обработку поверхностей материалов (металла, дерева, пластмасс и т.д.) с целью образования в них углублений различной формы и обработки кромок методом фрезерования (в результате фрезерования).

Рабочим инструментом являются различные виды фрез, в соответствии с которыми обеспечивается радиальное или торцевое фрезерование. Наиболее широко используются машины с пальцевыми концевыми фрезами, крепящимися к шпинделю цанговыми захватами, так называемого верхнего фрезерования; подача машины осуществляется сверху. Фрезерная машина в этом случае представляет собой фрезерную головку, размещенную на цилиндрических направляющих; установленных на опорной раме-основании, имеющей центральное отверстие для прохода фрезы. Машина имеет боковые рукояти для ее подачи оператором. Мощность привода от 600 до 2000 Вт. Наиболее часто используется электропривод.

Фрезерные машины оснащены электронной системой защиты от перегрузок, устройством плавного регулирования частоты вращения, а также устройствами точной и быстрой установки глубины фрезерования.

Разновидностью фрезерных Машин для обработки каменных материалов являются бороздоделы (см. бороздоделы).

Пилы

PM этого типа предназначены для разделения материалов путем их разрезки (распиловки) многолезвийным режущим инструментом. Ввиду различных свойств разделяемых материалов используются разные виды инструмента, различающиеся геометрическими параметрами, а также устанавливаемыми режимами резания. Нашли применение пилы по металлу, дереву, камню (камнерезные) и другие их разновидности.

Основными видами инструмента являются жесткие пильные диски и полотна, используемые соответственно в машинах с круговым и возвратно-поступательным движением инструмента, а также замкнутые ленточные полотна, канаты и цепи, используемые в машинах, с движением инструмента по замкнутому контуру.

В» зависимости от вида инструмента различают следующие типы пил: дисковые, ножовочные, цепные, ленточные и канатные. Наиболее широкое применение нашли-Пилы первых трех типов.

Дисковые ручные пилы

Это РМ вращательного действия, предназначенные для выполнения разделительных операций инструментом в форме диска. Их главными параметрами являются глубина пропила и диаметр пильного диска. Максимальная глубина пропила наиболее мощных пил - обычно до 400 мм, что обеспечивает широкие технологические возможности: резку уголков, швеллеров, труб, рельсов, изделий из бетона и железобетона. Отдельные конструкции пил оснащены устройствами регулировки глубины пропила и плоскости реза.

В качестве привода используется элекгро-, пневмопривод, привод с ДВС и в последнее время - гидропривод.

Пйльные диски с режущей частью в виде зубьев бывают цельными из углеродистой инструментальной стали и со вставными зубьями из быстрорежущей стали или твердых сплавов.

Часто используются абразивные отрезные круги - дисковые фрезы с множеством режущих зубьев - зерен, скрепленных связкой, с распо-

ложенными между ними порами, куда попадает снимаемая стружка. При данном способе резки отсутствует необходимость охлаждения в результате отвода тепла из зоны контакта в стружку и материал круга. Абразивная резка более экономична и производительна.

В настоящее время используется также алмазный инструмент.

Ножовочные ручные пилы

Это РМ, предназначенные для выполнения разделительных операций, рабочим органом в виде ножовочного полотна с горизонтальным (ножовка) или вертикальным (лобзик) расположением. Подача машин осуществляется в направлении, перпендикулярном ножовочному полотну, в плоскости его расположения при прямолинейной резке и под некоторым углом к ней, определяемым его жесткостью и геометрией при фасонной (криволинейной) резке. Последнее характерно для машин с гибким ножовочным полотном.

К основным параметрам машин относят размеры разделяемых изделий или материалов, ширину (глубину) пропила, а также величину хода и частоту ходов ножовочного полотна. Величина хода составляет от 20 до 60 мм, а частота до 350 мин'1 при обработке металла и до 3800 мин-1 при обработке дерева. Машины с гибким ножовочным полотном, осуществляющие фасонную резку, характеризуются также величиной минимального радиуса резания, зависящего от вида обрабатываемого материала и составляющего для древесины и пластмасс

мм. В приводе машин наиболее часто используются электро- и пневмодвигатели вращательного действия, кривошипно-шатунные и эксцентриковые преобразовательные механизмы, обеспечивающие возвратно-поступательное движение ползуна с закрепленным на нем ножовочным полотном. Отдельные конструкции машин имеют два ножовочных полотна, движущихся навстречу друг другу. При использовании ножовочных ручных пил для резки металлических труб и профиля различной формы их комплектуют специальными зажимными приспособлениями. В зависимости от характеристик разделяемого материала применяют разные виды ножовочных полотен.

Цепные ручные пилы

Такие РМ предназначены в основном для поперечной распиловки древесины инструментом в виде цепи с режущими и скалывающими звеньями, движущейся по замкнутой траектории между ведущей и натяжной звездочками рабочей шины. Наиболее широко в них используются двухтактные ДВС и электрические коллекторные двигатели с двойной изоляцией. Основными параметрами цепных пил являются наибольший диаметр распиливаемой древесины, длина рабочей шины, ширина пропила, скорость движения цепи. Современные цепные пилы обеспечивают распиловку древесины диаметром до 600 мм и более.

В последнее время производят цепные пилы с гидроприводом. Оснащение их цепями, режущие части зубьев которых выполнены из вольфрама, значительно расширяет технологические возможности. В таком исполнении цепные пилы с электро- и гидроприводом используют для резания кирпичной кладки, раствора и других материалов.

РМ для обработки металла

Машины этого типа служат для обработки металла резанием и давлением. При обработке резанием реализуются следующие операции: сверление, фрезерование, шлифование, шабрение, полирование, опиливание, нарезание резьб, резка (механическая) и другие. При обработке давлением - развальцовка, вырубка.

Указанные операции выполняются следующими видами РМ: при образовании и обработке отверстий - сверлильными, резьбонарезными, шлифовальными, фрезерными; при обработке поверхностей, кромок изделий и материалов - шлифовальными, полировальными, шаберами, кромкорезами, труборезами и т.д.; при разделении изделий и материалов - ножницами, труборезами, пилами по металлу и другими.

Для выполнения ряда операций используются РМ общего назначения, оснащенные инструментом по металлу.

Ножницы

Ножницы - РМ, предназначенные для разделения материалов и изделий в результате реализации процессов резки или вырубки. В зависимости от принципа действия различают ножницы непрерывносилового действия, называемые специальными, и вибрационные.

Специальные ножницы используют в основном для разделения (перекусывания) изделий в виде арматуры, фасонных прокатных профилей металла, деталей резьбовых соединений, канатов и т.д.

При работе этими машинами технологическая операция осуществляется за один цикл.

Их главными параметрами являются максимальное усилие резания и толщина разделяемого изделия, определяемая ходом подвижного рабочего органа, а также время рабочего цикла. Наиболее широко используются ножницы специальные с усилием резания до 150 кН при ходе подвижного ножа до 20…25 мм. Время рабочего цикла составляет 3…5 с.

С целью создания на режущих рабочих органах значительных усилий чаще всего используется гидропривод. Конструктивно эти машины представляют собой силовые цилиндры с автоматическим распределителем потока рабочей жидкости, обеспечивающим обратный ход штока с крепящимся к нему подвижным ножом. Второй, неподвижный нож расположен на скобе, прикрепляемой к корпусу машины. Конструкция режущего узла обеспечивает уравновешивание рабочих усилий в плоскости резания.

По конструктивному исполнению различают ножницы специальные с выносной и встроенной насосной установками. В первом случае для их работы используются гидростанции Или гидросистемы строительных машин.

Во втором случае насосная часть и первичный двигатель расположены непосредственно в корпусе ножниц. В качестве первичного двигателя наиболее часто используют электродвигатели полезной мощностью до 750 Вт.

Кроме гидравлических имеются также ножницы с пневмоприводом и с механическим приводом, где в качестве основной передачи используется шариковинтовая пара.

Специальные ножницы оснащаются сменными насадками, расширяющими их технологические возможности.

Ножницы по металлу

Предназначены для разделения листового металла с пределом прочности до 40 МПа, толщиной до 6,0 мм. Их подвижный рабочий орган совершает возвратно-поступательные движения с частотой

Гц и размахом колебаний, несколько меньшим максимальной толщины разделяемого листа (рис. 1.23).

По виду используемой энергии в приводе ножницы бывают электрические и пневматические, а по виду рабочих органов, определяющих вид обработки металла (резанием, давлением) - ножевые (прорезные рассматриваются как частный случай ножевых) и вырубные.

Разновидностью вырубных ножниц являются кромкорезы - машины, обеспечивающие подготовку кромок деталей под сварку, с толщиной обрабатываемого листа до 30 мм.

Ножевые ножницы обладают более высокой скоростью резания, не дают отхода материала в стружку, однако они обеспечивают отрезку полос только с краев, несколько изгибая их.

Вырубные ножницы осуществляют раскрой листа в произвольном месте с минимальным радиусом резки, что обеспечивает их использование для вырубки отверстий различной формы в гладких и гофрированных листах.

Рис. I.23. Ножницы ручные пневматические:

а, 6 - вырубные; в, г - ножевые;

- держатель матрицы; 2 - шток; 3 - матрица; 4 - пуансон; 5 - траверса; 6 - водило; 7 - ползун; 8 - корпус головки; 9 - планетарный редуктор; 10 - корпус рукоятки; 11 - пневмодвигатель; 12 - пусковое устройство; 13 - ручка пускового устройства; 14 - вал ротора; 15 - неподвижный нож; 16 - держатель (улитка); 17 - ползун с подвижным ножом; 18 - качающаяся обойма; р - угол створа; у - задний угол; Л - зазор между ножами; а - передний угол

Ножницы относятся к машинам вибрационного типа с кинематически жестким приводом, выполненным по схеме двигатель-редуктор - преобразовательный механизм-подвижный рабочий орган. В электрических ножницах применяют электрические коллекторные двигатели нормальной частоты, а в пневматических - ротационные нереверсивные.

Редуктор выполняется ступенчатого или планетарного типа и вместе с двигателем составляет конструктивный приводной узел машины.

Другим узлом является рабочая головка, в которой расположен преобразовательный механизм, обычно эксцентрикового типа, и ползун, на котором закреплен подвижный рабочий орган (нож для ножниц ножевого типа и пуансон - для вырубных). Этот узел имеет отдельный корпус, к нему крепится неподвижный рабочий орган (нож - для ножевых и матрица - для вырубных ножниц). Оси вращения привода и перемещения подвижного рабочего органа перпендикулярны, что предопределяет угловую форму ножниц. Машины меньших типоразмеров (для толщины листов до 1,6 мм) могут не иметь рукояти. В этом случае удержание машины оператором осуществляется за корпус приводного узла. Машины больших типоразмеров оснащают рукоятями верхнего расположения, обычно замкнутого типа.

Рабочие органы ножниц имеют специальную геометрию, обеспечивающую эффективное выполнение рабочего процесса.

Наряду с выполнением разделительных операций ножницы могут использоваться для гибки листового металла. В этом случае они комплектуются специальными рабочими органами.

Труборезы

Обеспечивают резку диаметром до 1200 мм и снятие фасок под сварку. Их рабочим инструментом являются резцы и абразивные отрезные круги.

Труборезы с рабочим инструментом в виде резцов имеют электрический или пневматический двигатель минимальной мощности 600 Вт и рабочую головку с планшайбой, на которой крепятся резцы. Труборез через имеющееся в планшайбе отверстие одевается на трубу и закрепляется на ней вручную с помощью механизма крепления. Вращение планшайбы и радиальная подача резцов осуществляются от привода. Труборезы такого типа обрабатывают трубы из углеродистой и нелегированных сталей с диаметрами 15…20 и 245…273 мм и толщиной стенок 5…25 мм. Масса трубореза такой конструкции до 26 кг. Труборезы с рабочим инструментом в виде абразивного круга чаще всего выполняются на базе шлифовальных электрических РМ, расположенных на специальных каретках, оснащенных механизмом их крепления на поверхности трубы радиальной подачи и обкатки трубореза вокруг обрабатываемой трубы. Труборезы в таком исполнении, обеспечивают обработку труб диаметром 150… 1200 мм с толщиной стенки до 15 мм.

Резьбонарезные машины

Предназначены для нарезания резьб в сквозных и глухих отверстиях диаметром до 16 мм. Глубина нарезания резьб в глухих отверстиях контролируется автоматически с помощью упорного устройства. Рабочим инструментом машин являются специальные метчики, обеспечивающие выполнение операции за один проход. Их крепят в патроне, насаживаемом на шпинделе.

Резьбонарезные машины выпускают с электро- и пневмоприводом вращательного типа. В них используются редукторы ступенчатого и планетарного типов, обеспечивающие наряду с кулачковой муфтой обратное направление вращения шпинделя с инструментом с целью его выворачивания при изменении оператором направления подачи машины.

Развальцовочные машины

Производят развальцовку труб диаметром до 108 мм. Выполняются в угловом исполнении с реверсивным приводом вращательного типа. Процесс реверсирования обеспечивается двигателем или специальной кулачковой муфтой.

Шаберы

РМ с рабочим инструментом в виде шабера, совершающего воз - вратно-поступательное движение с размахом порядка 20 мм и частотой 20 Гц; служат для чистовой обработки поверхностей и кромок деталей. Привод - редукторный с преобразовательным механизмом эксцентрикового типа. В отличие от ножниц ось движения ползуна, к которому крепится рабочий инструмент (обычно под углом до 40°), параллельна оси вращения двигателя и несколько смещена вниз.

Зачистные молотки

Это РМ виброударного действия, предназначенные главным образом для очистки труднодоступных металлических поверхностей и кромок с помощью двух видов инструментов: зубила (зубильно-зачистной молоток) и пучка стальных подвижных игл, встроенных в промежуточный поршень, на который воздействует ударник (пучковый зачистной молоток).

Наибольшее распространение получили пневматические зачистные молотки, представляющие собой двухкамерные поршневые машины ударного действия.

В зачистных молотках с энергией удара А = 1,0…2,0 Дж и частотой ударов f= 60 Гц используется в основном система воздухораспределения за счет движения поршня-ударника, называемая часто поршневой (беззолотниковой или бесклапанной).

При большей энергии удара (А = 6…8 Дж) используются золотниковые и клапанные системы распределения воздуха.

В качестве систем виброзащиты используют пневмопружинную (для зубильных зачистных молотков) в большинстве конструкций пневматических машин ударного действия и стержневую (для пучкового зачистного молотка), в которой ударный узел машины прикреплен к виброизолирующей рукоятке при помощи двух стержней.

Рубильные молотки

РМ виброударного действия - рубильные молотки предназначены для рубки металла, разделки мест под сварку, зачистки сварных швов и выполнения других работ инструментом, называемым зубилом.

Наибольшее распространение получили пневматические ручные молотки, представляющие собой двухкамерные поршневые машины со свободным поршнем, имеющие главным образом клапанную систему воздухораспределения.

Обновные параметры пневматических рубильных молотков: энергия единичного удара А = 8…56 Дж; частота ударов f = 40… 10 Гц, ударная мощность Nyfl = 320…560 Вт, удельный расход воздуха Q = = 2; 0…2,2 (м3/мин)/кВт, масса от 5,5 до 11 кг.

Форма машины цилиндрическая. Перевод машины в рабочий режим осуществляется при нажатии оператора на руИгргку. В передней части корпуса расположен манипулятор, с его помощью оператор второй рукой управляет рабочим процессом. Манипулятор через поводок связан с ловителем, в котором крепится инструмент, и кроме функции управления выполняет также защитную функцию от получения травм и вибрации, обеспечивает защиту обеих рук оператора.

В последнее время созданы конструкции ручных молотков с гидроприводом.

РМ для обработки дерева

Обработка изделий из дерева и древесины производится с целью образования в них отверстий, пазов, подготовки поверхностей, разделения на части и осуществляется либо РМ общего назначения с применением необходимого инструмента и соответствующих режимов обработки, либо специальными машинами. Некоторые виды специальных машин: дисковые, ножовочные, цепные пилы - имеют сходное устройство с соответствующими РМ общего назначения, а другие: долбежники, рубанки, паркетострогальные и паркетошлифовальные РМ - характерное для данной группы РМ. (Формально паркетострогальные и паркетошлифовальные машины входят в подкласс машин для строительно-отделочных работ, имеющих индексацию СО - ..'.) Режимы работы деревообрабатывающих машин характеризуются высокими скоростями резания (30…50 м/с) и возможностью более оперативной подачи, чем у РМ, применяемых для обработки металла, за счет двигателей потребляемой мощностью свыше 600 Вт.; Наиболее широко используются электрические РМ. Они работают в, режимах S1 с ПВ 40 и 60%, имеют защитные кожухи рабочих органов и пылесборные устройства. Характерной операцией при обработке древесины является строжка (строгание).

Строгальные РМ

Строгальные машины вращательного действия предназначены для строжки древесных изделий и полов барабанным рабочим органом с ножевым режущим инструментом, приводимым в движение от электрического двигателя через ременную передачу. Они выполняются в переносном и передвижном исполнениях.

Рубанки

Это переносные строгальные РМ, выполняемые, в основном, на базе асинхронных трехфазных (AHI) и коллекторных однофазных (KH-II) электродвигателей полезной мощностью от 250 до 1100 Вт и выше. Их рабочий орган смонтирован на опорной плите, в передней части которой расположена подвижная опора, служащая регулятором глубины строгания. В передней части рубанка также имеется устройство для выброса стружки. Выполнение рабочего процесса происходит в результате периодической подачи машины вдоль обрабатываемой поверхности материала или, при установке рубанка лыжами вверх, - при периодической подаче материала. Главными параметрами рубанка являются ширина строгания, составляющая 75, 100 и 160 мм, и глубина строгания за один проход - 1…3 мм.

Паркетострогальные машины

Это передвижные РМ, выполняемые на базе асинхронных трехфазных электродвигателей напряжением 380 В. Их рабочий орган (рис 1.24), оснащённый несколькими ножами (3, 6), установлен в передней части корпуса, имеющего для перемещения два колеса и опорный ролик. Колеса расположены на поворотной траверсе, шарнирно прикрепленной к корпусу, и могут поворачиваться вместе с ней, меняя глубину строгания. Управление осуществляет оператор посредством гайки винтовой передачи пульта управления, расположенного на рукояти подпружиненной тяги. Отвод стружки из рабочей зоны производится воздушным потоком, создаваемым вентилятором через отверстия в задней части корпуса. Ширина полосы строгания около 360 мм, а глубина 13 мм.

Рис. 24. Машина для строжки деревянных полов СО-97А:

- опорный ролик; 2 - барабан; 3 - корпус; 4 - винт крепежный; 5 - сухарь; 6 - нож; 7 - регулировочный винт натяжения ремня; 8 - электродвигатель; 9 - поворотная траверса; 10 - рукоять с пультом управления; 11 - тяга; 12 - пружина; 13 - колесо

Работы производят последовательно продольными и поперечными проходами. В первом случае снимается стружка толщиной 1,0…3,0, а во втором - 0,511,0 мм. Производительность машин - до 60 м2

Паркетошлифовальные РМ

Паркетошлифовальные машины вращательного действия предназначены для шлифования паркетных и дощатых полов рабочим органом барабанного или дискового типов с закрепленным на нем инструментом в виде шлифовальной шкурки. В их приводе используются однофазные и трехфазные асинхронные двигатели переменного тока частотой 50 Гц, напряжением 220 и 380 В и клиноременные передачи. Машины обычно выполняют в передвижном исполнении и оборудуют пылеотсасывающим устройством и пылесборником.

В паркетошлифовальных машинах барабанного типа рабочий орган расположен в передней части корпуса, установленного на колесах. Устройства регулировки степени прижатия шлифовального барабана к обрабатываемой поверхности пола или отсоса пыли такие же, как в гиркетострогальных машинах. Внешняя поверхность барабана обрезинена с целью плотного прилегания шкурки, заправляемой в имеющиеся прорези и закрепляемой эксцентриковыми зажимами. Производительность машин при ширине барабана 200 мм обставляет 40…60 м2/ч.

Паркетошлифовальные машины дискового типа имеют рабочий орган в виде диска с обрезиненной поверхностью (инструмент - шкурка), расположенный почти параллельно поверхности пола. Это позволяет использовать их в труднодоступных местах: вблизи стен, под батареями отопления и в других. Производительность машин при диаметре диска около 200 мм составляет Др id м2/ч.

Долбежники

Долбежники - РМ для выборки пазов и гнезд прямоугольной формы в деревянных изделиях, представляющие собой разновидность цепных пил, размещенных на опорных стойках, с возможностью их вертикальной подачи вниз оператором с помощью рычажной рукоятки. Перемещение машины в исходное положение осуществляется пружинами возврата. Крепление долбежника к обрабатываемому материалу осуществляется зажимным устройством. В приводе долбежника чаще всего используются электрические асинхронные двигатели. Основными его параметрами являются размеры получаемых пазов, глубина которых определяется величиной подачи, длина - поперечным размером рабочей шины, а ширина - числом цепей инструмента - долбежной цепи.

Машины для сборочных работ

Резьбозавертывающие машины

Предназначены для сборки резьбовых соединений. Распространение получили гайковерты и шуруповерты. В эту группу входят также шпильковерты, муфтоверты для завертывания и отвертывания винтов, шпилек, трубных муфт.

Гайковерты

Гайковерт - РМ группы резьбозавертывающих машин. Различают гайковерты статического и ударного действия.

Рис. 25. Ударные ручные гайковерты: частоударные: а - электрический ИЭ-3113А; б - пневматический И П-3127; редкоударные: в-электрический ИЭ-3122; г - пневматический ИП-3124; 1 - ключ; 2 - шпиндель; 3 - корпус; 4 - УВМ; 5 - дополнительная рукоятка; 6 - редуктор; 7 - двигатель; 8 - основная рукоятка; 9 - курок • Начало


Рис. 25. Окончание

Гайковерты статического действия - машины непрерывносилового действия с приводом вращательного типа на базе элекгро- и пневмодвигателей, а также импульсно-силового действия, безударные с поршневым гидродвигателем возвратно-поступательного типа. Гайковерты вращательные используют для затяжки резьбовых соединений диаметром до 16 мм ввиду ограничения на размеры и массу машины, а также на величину реактивного момента, воспринимаемого оператором. Из-за большой массы машины требуется специальная подвеска, в связи с чем вращательные гайковерты чаще используются в цехах.

Гайковерты с поршневым гидродвигателем возвратнопоступательного типа ввиду использования высокого давления в гидросистеме (до 30…40 МПа) имеют незначительные габариты и массы и при этом обеспечивают затяжку резьбовых соединений диаметром до 200 мм. При затяжке резьбовых соединений гайковерты не удерживаются оператором (их иногда называют переносными), а устанавливаются таким образом, что реактивный момент воспринимается монтируемыми узлами конструкции.

Гайковерты статического действия обладают постоянным крутящим моментом, что обеспечивает возможность осуществления ими тарированной затяжки резьбовых соединений.

Гайковерты ударного действия разделяют на частоударные (f > 5 Гц, обычно-20…30 Гц) и редкоударные (f < 5 Гц), рис. 1.25.

Частоударные гайковерты имеют вращательный привод, редукторный или безредукторный с УВМ, обеспечивающим преобразование непрерывного вращения на входе в ударные импульсы на выходе. Тангенциальная составляющая ударных импульсов на плече их приложения обеспечивает затяжки резьбовых соединений. Начальная стадия - заворачивание происходит в непрерывном вращательном режиме.

Несмотря на многообразие конструкций УВМ по принципу возбуждения виброударного режима, они бывают 2 типов: с силовым и кинематическим возбуждением. Первые используются в машинах с электро-, а вторые - с пневмоприводом. Они используются обычно для затяжки резьбовых соединений диаметром до 20 (элекгро) и 36 мм (пневмо).

В сравнении с Гайковертами статическими вращательного типа эти машины имеют более высокие удельные характеристики, оператор легко удерживает их в руках (отсутствует реактивный статический момент). Недостатки: вибрация корпуса машины, передаваемая оператору, для снижения которой используют известные методы виброзащиты, и непостоянство крутящего момента, затрудняющего процесс тарирования затяжки резьбовых соединений. Энергия единичного удара этих машин, определяемая произведением массы ударника (бойки) на квадрат угловой предударной скорости, зависит от динамических характеристик резьбового соединения и не является постоянной величиной, что затрудняет обеспечение тарированной затяжки по числу нанесенных ударов.

Гайковерты редкоударные обладают неизменным значением энергии единичного удара. Это обеспечивается за счет особой конструкции УВМ с центробежными массами, обусловливающими вывод бойка к месту удара, по достижению ими определенной скорости вращения.

Реализация ударного процесса с низкой частотой снимает проблему вибробезопасности и, кроме того, позволяет оператору производить отсчет числа ударов, необходимых для достижения тарированной затяжки. Число ударов, требуемое для затяжки конкретного резьбового соединения, определяется на пробном резьбовом соединении из группы аналогичных с помощью динамометрического ключа.

Привод УВМ таких гайковертов осуществляется от электрических, пневматических, ротационных двигателей и от объемного гидропривода.

Ориентировочный диапазон затягиваемых резьбовых соединений элекгро- и пневмогайкоБсртов по их диаметру - 16…60 мм.

Гайковерты редкоударные с гидрообъемным приводом используются для затяжки крупных резьбовых соединений диаметром 60… 200 мм и выполняются в переносном варианте.

Ударные гайковерты оснащаются специальными синхронизирующими устройствами, исключающими кромочные удары кулачков бойка и наковальни, что положительно сказывается на их прочности.

Обновными параметрами гайковертов ударного действия являются: диаметры затягиваемых резьбовых соединений, максимальный момент затяжки, время затяжки резьбового соединения, энергия единичного удара, частота ударов.

Главный параметр из перечисленных выше выбирается неоднозначно. Так, для гайковертов редкоударных им является энергия единичного удара, а для частоударных - максимальный момент затяжки и время затяжки резьбового соединения.

Гайковерты статического и ударного действия выполняются в прямом и угловом исполнениях.

Шуруповерты (винтоверты)

Используются при сборочно-разборочных работах, в том числе при монтаже перегородок из сухой гипсовой штукатурки по металлическому, деревянному и асбестоцементному каркасу.

Шуруповерты имеют электрический реверсивный привод на базе коллекторных двигателей с двойной изоляцией мощностью до 420 Вт (рис. 26).

Рис. 26. Электрический ручной шуруповерт: а - конструктивная схема машины с боковым расположением пружины в муфте предельного момента; б - принципиальная схема шпиндельного узла с переходником и сменным рабочим инструментом; в-принципиальная схема машины с муфтой предельного момента, с центральным расположением пружины и шпиндельным магнитным узлом; 1 - ловитель; 2 - сменный рабочий инструмент:

,1 - отвертка с плоским шлицом; 2.2 - головка-ключ; 2.3 - отвертка с крестовым шлицом; 2.4 - переходник-удлинитель; 3 - устройство подмагничивания инструмента: 3.1 - постоянный стержневой магнит; 3.2 - корпус магнита - бронзовая втулка; 4 - шпиндель; 5 - кулачковая муфта предельного момента; 6 - редуктор;

- электропривод на базе однофазного коллекторного двигателя типа КН-И;

- регулировочный упор

Привод может включать блок электронного регулирования частоты вращения п =(0…0,75) пном с ограничителем максимальной частоты вращения.

В трансмиссию машины входит ступенчатый редуктор и кулачковая муфта предельного момента, обеспечивающая передачу вращения шпинделю, на котором расположен узел крепления сменного инструмента. В состав его входят сам шпиндель, постоянный стержневой магнит и корпус магнита, выполненный в виде магнитоизолирующей бронзовой втулки, служащей также для крепления в нем сменного инструмента с помощью специального стопорного кольца.

В качестве сменного инструмента используют отвертки под плоский и крестовой шлиц, а также головку-ключ. Плоская отвертка выполняется в специальном корпусе, где она устанавливается с помощью упругого элемента, обеспечивающего возможность ее осевого перемещения с целью более удобного захвата шлица винта. Магнитные силовые линии, замыкаясь на головке крепежного изделия, удерживают его на конце инструмента, в ряде конструкций машин (зарубежного производства) подача крепежных элементов осуществляется автоматически из сменных кассет, содержащих 100…150 элементов, закрепленных на пластмассовой ленте, свернутой в рулон. Высокая степень универсальности достигается применением удлинителей, переходных втулок, а также номенклатурой патронов для крепления инструмента.

Кроме куркового выключателя и переключателя реверса органы управления включают:

регулируемый упор, которым является специальная накидная или упорная втулка, дающий возможность оператору устанавливать необходимую величину заглубления винта;

устройство включения кулачковой муфты предельного момента посредством приложения оператором осевого усилия к корпусу машины!'

устройство для регулирования величины крутящего момента, реализуемого на инструменте, выполненное в виде регулирующей втулки, расположенной на корпусе машины, и изменяющего усилие предварительного поджатия пружины кулачковой муфты.

Монтажные сборочные молотки (пистолеты)

Используются для забивки крепежных элементов: гвоздей, скоб, дюбелей.

Рабочий процесс осуществляется в результате одноразового ударного взаимодействия поршня-ударника с крепежным элементом, расположенным в стволе. Производительность молотков определяется возможностями оператора. В качестве привода наиболее часто используется двигатель со свободным поршнем-ударником.

Рис. 27. Пороховой строительно-монтажный пистолет ПЦ-84:- конструктивная; II - принципиальная схемы; III - основные типы дюбелей (а - дюбель-гвоздь; б - дюбель-винт; в-дюбель-гвоздь для металла; г - дюбель - винт для металла; д - оконцевание полиэтиленовым наконечником); 1 - прижим;

дюбель; 2.1. - головка дискообразная; 2.2. - стержень; 2.3. - оживальная часть; 2.4 - шайба; 2.5 - полиэтиленовый наконечник; 2.6 - головка винтовая; 3 - направляющая втулка; 4 - наконечник; 5 - поршень; 6 - амортизатор; 7 - рассекатель; 8 - выхлопная камера; 9 - муфта; 10 - ствол; 11 - короб; 12 - патрон; 13 - спусковой рычаг; 14 - рукоятка; 15 - патронник; 16 - соединительный шарнир

Пороховые молотки

Пороховые молотки (строительно-монтажные пистолеты) обеспечивают забивку дюбелей различного исполнения (дюбель-винт, дюбель-гвоздь) в бетон до марки 400 включительно, сталь с пределом прочности до 450 МПа, кирпич. Выбор патронов производится в соответствии с размерами забиваемых дюбелей и механическими свойствами строительных оснований (рис. 1.27).

Пороховые молотки комплектуются сменными стволами и поршневыми группами, предназначенными под определенный размер дюбеля.

Пневматические молотки (гвозде- и скобозабивные пистолеты)

Обеспечивают забивку гвоздей и скоб в деревянное, древесноволокнистое, древесно-стружечное, цементно-стружечное и другие основания (рис. 28).


Рис. 28. Гвоздезабивной пневматический пистолет ИП-4402:

- амортизатор; 2 - шток; 3 - корпус; 4 - цилиндр; 5 - поршень;

- тарельчатый клапан; 7 - крышка; 8 - гильза клапана; 9 - пусковой штифт; 10 - коромысло; 11 - пусковая скоба; 12 - штуцер; 13 - магазин; 14 - стержень; 15 - скоба; 16 - ствол; 17 - предохранитель

Возврат поршня-ударника происходит за счет давления воздуха в аккумулирующих камерах. Молотки оснащены предохранительным устройством, исюпочающим выстрел без упора в основание.

Электромагнитные молотки

Электромагнитные молотки с частотой питания ниже 50 Гц (получаемой с помощью встроенных или выносных компактных электронных преобразователей) используются для забивки дюбелей в основание из различных материалов (рис. I.29). Предусмотрена возможность за счет изменения частоты тока, например, от 0,5 до 4,0 Гц, менять энергию единичного удара от 22 до 5 Дж.

Машины всех указанных видов выполняются обычно с рукоятками пистолетного ти

па, а пиротехнические молотки - также и с удлиненными рукоятками (пороховые колонки).

Перечисленные виды монтажных молотков оснащают обоймами для крепежа и патронов.

Рис. 29. Электромагнитный монтажный пистолет:

- силовая катушка; 2 - пружин

- винт; 4 - опорная пята; 5 - центрирующая шайба; 6 - дюбель-гвоздь; 7 - направляющая втулка; 8 - корпус; 9 - выключатель; 10 - рукоятка; 11 - полюс катушки; 12 - якорь-боек; предназначенная для уста - 13 - возвратная пружина

Клепальные молотки

Клепальный молоток - РМ виброударного действия, предназначенная для установки заклепок диаметром 36 мм в результате их пластического деформирования (осаживания), с образованием замыкающей головки инструментом, называемым обжимкой. Наибольшее распространение получили пневматические клепальные молотки, являющиеся поршневыми двухкамерными машинами, обычно с клапанной системой воздухораспре - деления (рис. 30).

Имеется две группы клепальных молотков: для расклепывания заклепок в холодном и горячем состояниях.

Основные параметры клепальных молотков: для первой группы (материал заклепок - алюминиевые сплавы и сталь Ст1КП): энергия единичного удара А - до 13 Дж; частота ударов f - 30..45 Гц; ударная мощность Nуд - до 400 Вт; удельный расход воздуха Q = = 2,45» ' (м3/мин)/ кВт.

Для второй группы (материал заклепок-сталь 20 КП): А = 22,5…..170 Дж; f = 18…8 Гц; Nудl = 400…560 Вт; Q = 2,45 (м3/мин)/кВт.

Форма машины цилиндрическая с задним расположениям рукоятки. Удлиненный корпус машины выполняет роль ложемента для второй руки оператора, поддерживающего клепальный молоток в процессе работы.

Рис. 30. Пневматический клепальный молоток (типа КЕ): 1 - рукоятка с пусковым устройством; 2 - воздухораспределительное устройство золотникового типа; 3 - ствол с ударной парой; 4 - концевая букса

Система виброзащиты - пневмопружинная.

В последнее время созданы клепальные молотки с гидроприводом.

3. РМ Для обработки строительных материалов, грунта и бетона

Машины этого класса обеспечивают механизацию процессов бойки породы (отбойные молотки, ломы), образования цилиндриче ских углублений: отверстий, шпуров и скважин (перфораторы, пробойники, машины для алмазного сверления), уплотнения строитель ных материалов (виброплиты, трамбовки, вибровозбудители).

Условно указанные типы машин массой до 30 кг относят к категории легких, а свыше 30 - до 150…200 кг (РМ для уплотнения строительных материалов) - к категории тяжелых. Последние являются са - мопередвигающимися: оператор перед (или при) выполнением рабочего процесса задает направление их Перемещения. Перемещение осуществляется за счет привода рабочего органа и имеет характер виброперемещения. Для транспортировки таких машин на строительном объекте их устанавливают на специально предусмотренные металлические или пневмоколеса (трамбовки, виброплиты) или перевозят на тележках (пробойники). РМ, включенные в эту группу, относят к машинам вибрационного (главные параметры - величина вынуждающей силы Р, Н: амплитуды и частоты колебаний рабочего органа) и ударно-вибрационного, или виброударного действия (главные параметры - энергия единичного удара А, Дж; частота ударов f, Гц; ударная мощность N = Af, Вт). Данная группа РМ может быть дополнена сверлильными машинами ударнр-вращательного действия, бороздоде - лами и т.д.

РМ для отбойки и бурения пород

Эти машины имеют общее название - молотки, которое уточняется в зависимости от области их применения, определяемой энергией единичного удара А, Дж (молотки монтажные строительные - А = = 1…25 Дж, молотки отбойные, бетоноломы и перфораторы - А = = 40… 150 Дж и выше) и видом выполняемой операции: разрушение породы, камня, бетона или образование шпуров.

Перфораторы в отличие от других типов молотков, имеющих только одну силовую цепь передачи энергий инструменту в виде периодических осевых (продольных) ударных импульсов, могут иметь две цепи: ударную и непрерывную (вращательную).

В указанных видах молотков осуществляется виброударное взаимодействие инструмента с обрабатываемым объектом вследствие пе риодических ударов, наносимых в осевом направлении по его хвосто вой части ударником (бойком), приводимым в движение злектромеха ническим, электромагнитным, пневматическим или гидравлически приводом.

В этих машинах реализуются одноударные периодические движения ударника с периодом, равным или кратным периоду вынуждающей силы.

Молотки монтажные строительные

Это РМ виброударного действия, предназначенные для пробивки пород, ниш, борозд в кирпиче, бетоне марки 200, ударного разрушения мерзлых и твердых материалов (А - до 15…25 Дж) с помощью инструмента, называемого пикой.

Эти машины выполняются с электромеханическим, электромагнитным и реже с пневматическим приводом.

Рис. I.31. Электрический молоток ИЭ-4218 (с компрессорным вакуумным ударным механизмом):

- букса; 2 - переходник; 3 - амортизатор; 4 - боек; 5 - кожух; 6 - ствол;

- поршень; 8 - палец; 9 - шатун; 10 - корпус; 11,20 - крышки; 12 - кривошип; 13 - щит промежуточный; 14 - электродвигатель; 15 - основная рукоятка с выключателем; 16 - вал ротора; 17 - цилиндрическая шестерня; 18 - коническая шестерня; 19 - ведомая коническая шестерня; 21 - сегмент; 22 - втулка;

- пика; 24 - дополнительная рукоятка

Молотки с электромеханическим приводом выполняются на базе коллекторных и асинхронных нормальной частоты двигателей. Они имеют обычно кривошипно-шатунный преобразовательный механизм и пружинный, компрессионно-вакуумный или, редко, пружинновоздушный ударный механизм (рис. 1.31).

Молотки с электромагнитным приводом с питанием от переменного тока частотой 50 Гц имеют незначительную энергию единичного удара (А = 2,5… 4,8 Дж), в связи с чем используются на работах по пробивке борозд в кирпиче. Повышение энергии удара молотков связано с возможностью снижения их частоты и, следовательно, частоты переменного тока. Разработка компактных электронных преобразователей частоты тока позволила создать машины с энергией единичного удара 15 Дж при частоте ударов 25 Гц и с изменяемой энергией удара

…22 Дж при частоте тока 4,0…0,5 Гц.

Машины имеют основную рукоять замкнутого типа, расположенную в задней части корпуса, и дополнительную рукоятку.

Молотки монтажные строительные могут комплектоваться дополнительными видами инструмента. Все электрические молотки имеют двойную или полную изоляцию.

Молотки отбойные

Отбойные молотки (ломы) с энергией единичного удара от

…100 Дж предназначены для отделения от массива горных пород, разрыхления мерзлых грунтов, разрушения бетона (отбойки) в результате взаимодействия с обрабатываемым объектом инструмента в виде пики, долота или лопаты (рис. 1.32).

Отбойные молотки и бетоноломы имеют сходную конструкцию, но в силу больших значений основных параметров последние используются на более тяжелых работах. Они имеют большие габариты и массу и предназначены для работы инструментом вниз. Кроме указанных видов инструментов они могут комплектоваться и другим рабочим инструментом: бучардой, предназначенной для обработки и зачистки каменных и бетонных поверхностей и выполненной в виде плиты (башмака) с расположенными на ней рабочими зубцами; трамбующей плитой, предназначенной для уплотнения грунта в труднодоступных местах и выполненной в виде плиты (башмака) с гладкой рабочей поверхностью.

В этих молотках наиболее широко используется пневмо- и гидропривод.

Молотки с пневматическим и гидравлическим приводом имеют двигатель со свободным поршнем-ударником, оснащенный одной из автоматических распределительных систем: клапанной, золотниковой, дроссельной и т.д.

Работа молотков осуществляется в режимах холостого и рабочего ходов поршня-ударника. Переход с одного режима на другой осуществляет оператор в результате приложения к корпусу молотка осевого усилия нажатия.


Рис. 32. Пневматический отбойный молоток типа МО-39 (с клапанным воздухораспределительным устройством): а - конструктивная; б - принципиальная схемы; 1 - рукоятка; 2 - вставка;

- пружина; 4 - вентиль; 5 - штуцер; 6 - промежуточное звено; 7 - тарельчатая пружина; 8 - клапанная коробка; 9 - кольцевой клапан; 10 - седло клапана;

- штиф; 12 - стопорное кольцо; 13 - ствол; 14 - поршень-ударник; 15 - перемычка; 16 - букса; 17 - пружина; 18 - пика; 19 - фиксатор; 20 - заглушка;

- ниппель; 22 - накидная гайка; 23 - пружинная шайба; 24 - кольцо; 25 - резиновый амортизатор; А, Б - камеры рабочего и обратного ходов

Пневматические отбойные молотки и ломы имеют двухкамерный двигатель со свободным поршнем, оснащенный в основном клапанной или золотниковой системой воздухораспределения. Последняя является более экономичной (обеспечивает расход воздуха при одинаковых выходных параметрах), создает, меньший шум при работе, но более трудоемкой в изготовлении.

Диапазон основных параметров:

для отбойных молотков: А = 30…45 Дж (63 Дж), f = 25… 18 Гц Nуд = 750…800 Вт, Q = 1,5 (м3/мин)/кВт, m до 8 кг.

для бетоноломов: А = 90…150 Дж, f =. 19,5…10 Гц, Nуд= 1800…1500 Вт; Q до 1,8 (м3/мин)/кВт, m до 40.кг.

Гидравлические отбойные молотки и ломы имеют в основном ударный механизм со вспомогательной камерой, гидравлической камерой рабочего и управляемой камерой обратного хода ударника. Ударник имеет ступенчатую цилиндрическую форму с передней ударной частью и задней, управляющей потоками жидкости в рабочей камере.

В этих машинах рабочая камера соединена с напорной магистралью в течение рабочего цикла движения поршня-ударника (см. разд. И, гл. З, § 7). Другое конструктивное решение молотка (лома) представлено на рис. 1.33. Здесь камера обратного хода постоянно соединена с напорной магистралью, а организация цикла движения поршня-ударника осуществляется клапаном. В его левом положении (см. рис. 1.33), при котором происходит обратный ход поршня - ударника, обеспечивается соединение напорной магистрали с камерами Б, В; сливной - с камерами А, Д, У, а в правом, при прямом ходе поршня-ударника, - напорная магистраль соединена с камерами А, Б, В; сливная - с камерами У, Д.

Перемещение клапана вправо производится поршнем-ударником в конце его обратного хода, а влево - за счет сил давления в камере У при ее соединении с напорной магистралью через камеру А в момент удара поршня-ударника по инструменту.

Диапазон основных параметров по условным группам:

-легкие массой 9,1…16 кг: А = 40…48 Дж; f = 38…23 Гц; Nуд =1,1…1,5 кВт; Q = 22…35 л/мин; Р = 8…10 МПа;

-средние массой 16…24 кг: А = 71…83 Дж; f = 32…16,5 Гц; Nуд= = 1,4…2,2 кВт; Q = 22…35 л/мин; Р = 8…10 МПа;

- тяжелые массой 28…35 кг: А = 120… 170 Дж; f = 25… 13 Гц; Nуд = 2,1…3 кВт; Q = 24…28 л/мин; Р = 10…11 МПа.

Гидравлические отбойные молотки имеют форму корпуса, близкую к цилиндрической, с ориентировочным соотношением длины к условному диаметру ствола в пределах 6… 12 и, как правило, с задним расположением основной рукояти. Ряд молотков имеет удлиненную рукоять. Форма рукояти может быть замкнутой, открытой, прямой.

Молотки и бетоноломы оснащены системой виброзащиты, выполненной в форме винтовой пружины из стального каната, установленной между рукоятью и ударным механизмом.

Бурильные машины

Бурильные машины (перфораторы) ручные или переносные массой 10…30 кг предназначены для бурения шпуров глубиной до 3 м,

Рис. 33. Гидравлический бетонолом ИГ-4601:

инструмент; 2 - корпус; 3 - поршень-ударник; 4 - отверстие запуска бетонолома; 5, - клапан; 6 - втулка; 7 - рукоятка; 8 - пружиновоздушный аккумулятор;

- держатель инструмента; А, Б, В, Д, У - камеры: рабочего и обратного ходов поршня - ударника, вспомогательная, дроссельная, управления


Рис.I.34. Пневматический ручной перфоратор: а - конструктивная; б - принципиальная схемы; в…д - схемы установки перфораторов в забое; 1 - наконечник для подвода промывочной жидкости (воды); 2 - головка; 3 - воздухораспределительное устройство; 4 - цилиндр; 5 - храповое устройство; 6 - винтовой стержень (винт); 7 - поршень-ударник; 8 - направляющая втулка; 9 - патрон; 10 - поворотная букса; 11 - буродержатель; 12 - гранбукса; 13 - гайка с винтовой нарезкой; 14 - стяжные болты; 15 - масленка;

- рукоять пускового крана сжатого воздуха; 17 - устройство для крепления перфоратора к пневмоподдержке; 18 - двухручковая рукоять; 19 - бур. Начало


Рис. 35. Гидравлический ручной перфоратор ПРГ-18КБ: а - конструктивная; б - принципиальная схемы; 1 - рукоять удержания; 2 - золотник пусковой; 3 - золотник управления; 4 - корпус; 5 - поршень-ударник;

- храповое устройство; 7 - ствол; 8 - поворотная букса; 9 - буровая штанга;

- буродержатель; 11 - устройство промывки шпура; 12 - диск шпоночный;

- втулка; 14 - гильза плунжерная; 16 - плунжер рабочего хода; 17 * стакан; 18 - плунжер управления; 19 - рукоять управления; 20 - пружина; А, Б, В-камеры: рабочего, обратного ходов и вспомогательная; КУ - канал управления; 1р.х - длина рабочего хода поршня-ударника



Рабочим инструментом является бур с закрепленной на нем буровой коронкой. Различают бурильные молотки с непрерывным и прерывистым вращением бура.

Бурильные молотки с непрерывным вращением бура имеют две цепи передачи энергии: вращательную и ударную. Некоторые конструкции машин имеют для каждой из цепей индивидуальный двигатель. Однако чаще используется один двигатель для питания обеих цепей.

Наличие двух силовых цепей предопределяет возможность реализации нескольких режимов работы: вращательного, ударного, комбинированного. В последнем случае важным является вопрос автоматической поддержки рационального соотношении эйергопотоков, передаваемых по каждой из цепей. С этой целью используются различные структуры схем автоматизированного привода.

Рис. 36. Устройство для промывки (а - центральная, б 1 боковая) шпуров:

- пробка; 2 - уплотнительный сальник; 3 - центральная трубка; 4 - хвостовик бурового инструмента; 5 - канал для подвода промывочной жидкости; 6 - штуцер подачи жидкости

механизированный монтажный инструмент

Бурильные машины с прерывистым вращением бура работают в ударном режиме и обеспечивают поворот бура с целью равномерного разрушения забоя по всему периметру шпура. Прерывистость вращения обеспечивается обычно с помощью геликоидальной пары с храповым механизмом при обратном ходе ударника.

Для очистки забоя используют воду или воздух. В зависимости от места подачи различают центральную и боковую промывку (продувку) (рис. 136).

При центральной промывке осуществляется подача воды через осевой канал (диаметром 6…7 мм) буровой штанги и поршня - ударника.

При Соковой промывке подача происходит через муфту с уплотнением, одеваемую на хвостовик бура.

В электрических бурильных молотках удаление породы осуществляется по винтовой поверхности бура.

Наибольшее распространение нашли пневматические бурильные молотки и в последнее время - гидравлические; реже применяются Электрические, бензиновые.

Ударная мощность ручных и переносных бурильных молотков

,6…2,1 кВт, крутящий момент 12… 18 Н м., расход воздуха 2,5…3,5 м3/мин

Похожие работы на - Типы механизированного инструмента

 

Не нашли материал для своей работы?
Поможем написать уникальную работу
Без плагиата!
Без нейросетей!