Разработка комплекта передвижного инструментально-раздаточного пункта для путевых работ
Введение
Транспортные войска являются специальными войсками и предназначены для
транспортного обеспечения Вооруженных Сил Республики Беларусь других войск и
воинских формирований.
Одной из основных задач возложенных на Транспортные войска является
обеспечение технического прикрытия и восстановления объектов, участков железной
дороги.
В общем, комплексе работ по строительству и восстановлению железной
дороги одной из важнейших и трудоемких составных частей является процесс
сооружения и восстановления железнодорожного пути.
От состояния путевого хозяйства зависит работоспособность железной
дороги, а его устойчивое функционирование невозможно без применения передовых
ресурсосберегающих технологий и высокопроизводительной техники как в мирное,
так и в военное время.
Однако существующие машины и механизмы еще не в полном объеме
обеспечивают механизацию всех работ и вряд ли в обозримом будущем появятся
машины или комплексы машин, полностью исключающие ручной труд, как при
содержании железнодорожного пути, так и при строительных и
ремонтно-восстановительных путевых работах.
При планировании действий железнодорожных подразделений транспортных
войск на выполнение мероприятий технического прикрытия и восстановления
железнодорожных участков и объектов одним из решающим фактором является оценка
их производственных возможностей на период выполнения поставленной задачи.
Основные объемы работ по обеспечению мероприятий технического прикрытия,
восстановления и строительства железнодорожного пути войска выполняют
механизированным способом, поэтому их производственный потенциал или
производственные возможности зависят, в первую очередь, от наличия современных
высокопроизводительных, работоспособных машин и механизированного инструмента.
Исходя из этого, тема дипломного проекта является актуальной, так как в
настоящее время реальное состояние технического оснащения механизированным
инструментом железнодорожных подразделений транспортных войск значительно
снижает уровень их производственных возможностей и ставит под сомнение выполнение
задач по штатному предназначению, особенно при действиях их в боевой обстановке
и при решении задач ликвидации последствий чрезвычайных ситуаций природного и
техногенного характера на железной дороге, когда необходимо в короткие сроки
решить задачи по штатному предназначению, когда невозможно и экономически не
выгодно применять путевые машины тяжелого и легкого типа.
Важность проведения исследования по данной теме дипломного проекта
высока, так как выбор механизированного инструмента и создания передвижного
раздаточного инструментального пункта, путем комплектования его единичными
образцами для оснащения частей и соединений войск представляет собой сложную
экономическую и управленческую задачу. От правильного выбора номенклатуры
ручных машин, обоснованного расчета потребности в них для выполнения различных
технологических операций производственного процесса, зависит в значительной
степени эффективность применения комплексов мелкого механизированного
инструмента, а в целом способность выполнять задачи железнодорожными
подразделениями транспортных войск по штатному предназначению. Учет влияния
ряда таких факторов, как перечень и объемы подлежащих работ, принятые
технологический процесс и уровень механизации работ позволит правильно
определить выбор механизированного инструмента по назначению. Выполнение данной
работы даст возможность определить номенклатурный и численный состав комплекта
механизированного инструмента и на практике реализовать, путем технического
оснащения железнодорожных подразделений транспортных войск.
Сравнительная оценка железнодорожных подразделений транспортных войск
Республики Беларусь с аналогичными подразделениями Белорусской железной дороги,
зарубежных государств по техническому оснащению мелким механизированным
инструментом, показывает, что они значительно уступают им по технической
оснащенности современным ручным механизированным инструментом.
Результаты проведенного анализа Департаментом транспортного обеспечения
технического уровня и научно-производственных возможностей отечественных
предприятий оборонного сектора экономики, других предприятий и организаций
различных форм собственности по разработке и изготовлению, путевого
механизированного инструмента, показал, что практически в республике нет таких
предприятий и организаций, за исключением ЗАО НПО «Вектор», выпускающего
рельсосверлильные станки. Комплектование подразделений Белоруской железной
дороги производится в основном за счет закупки на заводах Российской Федерации,
Украины.
Определение по стоимостным показателям занимают не значительную часть в
экономическом эффекте, который будет за счет технического оснащения
железнодорожных подразделений транспортных войск комплектами современного
механизированного путевого инструмента, в результате чего в несколько раз
увеличатся производственные возможности подразделений, повышается их
автономность, мобильность, способность выполнить задачи по штатному
предназначению в установленные сроки. Кроме того, данные комплектации ПИРП
могут широко применятся при текущем содержании железнодорожного пути в мирное
время подразделениями Белорусской железной дороги. Все это подтверждает
технико-экономическую обоснованность данной работы.
1.
Тактико-техническое обоснование дипломного проекта
1.1 Анализ штата и табеля путевых подразделений транспортных войск
Республики Беларусь
Начальным этапом формирования оргструктур является определение требований
к ним. Они вытекают из целей (задач) и условий функционирования транспортных
войск в современных операциях. Кроме того, эти требования определяются военно-географическими
особенностями региона боевых действий и экономическими возможностями
государства по оснащению, содержанию и мобилизационному развертыванию ВС РБ.
К числу основных требований, предъявляемых к оргструктурам транспортных
войск (ОСТВ) в современных операциях, относятся:
. Соответствие организационно-штатных структур соединений и частей
транспортных войск и их возможностей содержанию и объему решаемых ими задач.
. Способность соединений, частей (подразделений) выполнять задачи в
различных физико-географических и транспортных условиях.
. Высокая мобильность соединений и частей транспортных войск, которая
состоит в их способности осуществлять перемещение и развертывание в новом
районе в требуемые сроки.
. Способность оргструктур выполнять поставленные задачи в условиях
недопоставок личного состава и требуемых видов техники, а также возможной
замены одних табельных средств, техники и имущества другими.
. Высокая живучесть соединений и частей транспортных войск в условиях
применения противником новейших видов оружия, а также действий
десантно-диверсионных сил и бандформирований.
. Универсальность оргструктур, позволяющая выполнять задачи не только по
прямому предназначению, но и другие "родственные" мероприятия
транспортного обеспечения.
. Автономность организационных структур, заключающаяся в их способности
самостоятельно выполнять задачи транспортного обеспечения на изолированных
направлениях в отрыве от основной группировки транспортных войск.
. Унификация штатов частей (подразделений) с целью обеспечения
возможности формирования более крупных оргструктур по блочно-модульному
принципу.
. Способность организационных структур адаптироваться (приспосабливаться)
к изменению условий функционирования в сроки, соизмеримые с реализацией целей,
поставленных задач и условий их выполнения.
Однако для формирования новых или совершенствования существующих
организационных структур транспортных войск определение требований к ним
является необходимым, но недостаточным условием их создания. Чтобы построить
структуру, отвечающую сформулированным требованиям необходимо знать принципы
такого построения. В настоящее время в теории управления транспортными войсками
установлены следующие принципы организационного построения соединений и частей.
. Соответствие оргструктур целям (задачам) для решения которых эти
структуры созданы.
. Относительная оптимальность соединений и частей транспортных войск.
. Пропорциональность (сбалансированность) состава и оснащения структурных
подразделений.
. Иерархичность организационных структур транспортных войск, отражающая
разнообразие решаемых ими задач и обеспечивающая необходимые условия для
успешного управления соединением, частью, подразделением.
5. Согласованность возможностей органов управления оргструктуры с ее
составом, оснащением и способами функционирования
. Специализация организационных структур транспортных войск
7. Блочно-модульный принцип построения ОСТрВ
. Совершенствование оргструктур в зависимости от количественного и
качественного роста технического оснащения транспортных войск.
Отдельный путевой железнодорожный батальон предназначен для
восстановления (укладки) верхнего строения пути, восстановления (строительства)
малых искусственных сооружений и выполнения небольших по объёму
рассредоточенных земляных работ. Может привлекаться к расчистке пути от завалов
и перешивке пути, объектов локомотивного и вагонного хозяйства, а также других
станционных устройств. При оснащении батальона табельной техникой и
укомплектованности личным составом по штату, его производственные возможности
(в сутки) составляют:
укладка и балластировка пути - 2,5 км, восстановление пути - 3,5 км;
восстановление малых искусственных сооружений - 12 м;
выполнение земляных работ - 3 тыс. м. куб.
При выполнении батальоном боевых задач по заграждению железных дорог он
способен подготовить за 1,5...2 суток и содержать 4...8 районов (очагов)
заграждений, при этом обеспечить подготовку к разрушению 4..6 больших и средних
мостов, до 30 км верхнего строения пути, установить до 200 мин замедленного
действия (МЗД) на 1-2 фронтальных железнодорожных направлениях.
На основании изученного материала о штате и табеле к штату путевых
подразделений ТВ РБ можно сделать следующие выводы. Основным путевым
подразделением транспортных войск является отдельный 71 путевой железнодорожный
батальон, дислоцирующийся на базе 30 краснознамённой отдельной железнодорожной
бригады. В данном подразделении на сегодняшний день имеется 2 путевые роты, 1
рота земляных работ и 1 мостовая рота.
Основными задачами путевых рот являются:
. Восстановление и строительство железнодорожных и станционных
объектов;
. Сооружение верхнего строения пути;
. Мероприятия по техническому прикрытию ж/д объектов;
. Мероприятия по маскировке ж/д объектов;
. Укладка и балластировка пути;
. Сборка и установка стрелочных переводов;
. Балластировка и выправка стрелочных переводов;
На основании полученного задания, существует потребность рассмотреть штат
подразделения включительно до численности взвода. Типичный штат путевого взвода
выглядит следующим образом:
Командир взвода, заместитель командира взвода, командиры отделения,
старшие монтёры пути, монтёры пути, электрики, теодолитчики, водители. Итого 28
человек.
Ещё одним путевым подразделением транспортных войск является путевое
отделение в составе монтажного взвода мобильно - восстановительного батальона
30 краснознамённой отдельной железнодорожной бригады. В его состав входят
командир отделения, монтёры и старшие монтёры пути. Итого 8 человек. Данное
подразделение выполняет такие же задачи, как и основные путевые подразделения,
но в меньшем объёме из-за меньшей штатной численности.
.2 Анализ организации работ при выполнении строительства и восстановления
верхнего строения пути железнодорожного узла
В данном разделе рассмотрим основные технологические карты и планы производства
робот по строительству и восстановлению верхнего строения пути железнодорожного
узла.
План производства работ - основной рабочий документ командира при
выполнении задач по строительству, восстановлению, техническому прикрытию
железнодорожных узлов и объектов. Данный документ утверждается старшим
начальником. В нём указываются сроки выполнения задач, необходимые силы для
выполнения задач, средства механизации и другой инструмент, затраты в ГСМ и
других расходных материалах.
Расчистка и планировка площадки.
При расчистке мест укладки убираются оставшиеся
элементы разобранного стрелочного перевода, обломки путевой решетки и другие
оставшиеся после разрушения предметы. Работы по уборке отдельных элементов
производятся при помощи кранов и вручную. Способ уборки определяется весом
подлежащих удалению предметов, наличием средств механизации и возможности их
переброски к месту работ.
После расчистки производится срезка балластного слоя,
которая может выполняться тракторным дозировщиком, бульдозером, автогрейдером,
а при небольших объемах работ и вручную.
Во всех случаях балласт срезается на 3-5 см ниже
уровня нижней постели переводных брусьев и размещается рядом с площадкой в
валках. Вслед за срезкой балласта производят планировку площадки. Поверхность
спланированной площадки должна быть горизонтальной или иметь соответствующий
уклон в одну сторону, в зависимости от поперечного профиля станционных путей.
Как известно, стрелочные переводы могут быть полностью
или частично разобраны, разрушены подрыванием, причем подрываются или все
металлические элементы перевода или отдельные из них. Восстановление полностью
разобранных переводов сводится к укладке их вновь и может производиться
вручную, с использованием средств малой механизации и механизированным
способом.
Восстановление стрелочных переводов механизированным
способом.
Сущность механизированной укладки стрелочных переводов
состоит в том, что стрелочный перевод предварительно собирается на базе. Там же
его расчленяют для возможности транспортировки на четыре части-блока.
Сборка стрелочных переводов на базе. Стрелочные
переводы собираются на звеносборочной базе, для сборки переводов в конце базы
выделяют специальные секции. Количество секций определяется объемом работ и
суточной производительностью базы. Секция состоит из двух стендов правого и
левого, на которых одновременно ведется сборка двух соответствующих переводов.
Сборка производится командой из 20-ти человек, состоящей из 3-х групп:
− транспортной, в составе 5 человек (машинист
крана, помощник машиниста и 3 путейца);
− монтажной, в составе 5 человек (моторист
электростанции и 4-е путейца);
− сборочной, в составе 10 человек (моторист
компрессора и 4-е путейца).
Машины и механизмы:
кран грузоподъемностью 16-25 т 1
электростанция АБ-4Т/230 1
эл. рельсорезный станок 1
электросверлильный станок 2
эл. шурупно-гаечный ключ 2
костылезабивщик 2
Транспортировка стрелочных переводов может
осуществляться железнодорожным или автомобильным транспортом. Перед погрузкой
на платформу или автотранспорт (трейлер) стрелочный перевод расчленяется на
-ре блока: стрелку, переводные пути, крестовину и
хвостовое звено. Т.к. хвостовое звено не габаритное, то оно расшивается и
перевозится отдельными элементами.
Погрузка на транспортные средства производится
автомобильными или железнодорожными кранами.
Расчистка площадки для укладки стрелочного перевода
оставшихся разрушенных элементов производится при помощи кранов, тракторов и
вручную. После расчистки производит срезка балластного слоя, затем
автогрейдером или вручную производятся планировочные работы.
Восстановление стрелочных переводов раздельным
способом.
Перед укладкой производятся подготовительные работы:
расчистка площадки, срезка балластного слоя, разбивка стрелочного перевода и
завоз элементов стрелочного перевода на место укладки. После выполнения
подготовительных работ начинается непосредственно укладка стрелочного перевода.
При этом рабочие процессы производятся в следующей последовательности:
1. Проверяется комплектность переводных брусьев;
. Производится раскладка переводных брусьев;
. Укладываются металлические части;
. Сбалчиваются стыки;
5 Зашивается стрелочный перевод;
6. Производится балластировка;
. Выполняют отделочные работы.
Восстановление стрелочного перевода с укладкой его на
шпалах.
При временном восстановлении стрелочных переводов в
случае отсутствия переводных брусьев прибегают к укладке переводов на шпалах.
Шпалы располагают применительно к типовой эпюре. Под крестовиной следует по
возможности укладывать переводные брусья. При их отсутствии допускается
сращивание шпал с перекрытием стыков поверху металлическими накладками.
В средней части перевода, где шпалы встречаются под
углом, их концы для удобства размещения стесывают на клин и антисептируют.
Технология укладочных работ стрелочного перевода на
шпалах такая же, как и при укладке перевода на брусьях с применением средств
малой механизации.
Восстановление стрелочного перевода путем надвижки
В условиях восстановления нередко встречаются с такими
случаями, когда на восстанавливаемых путях переводы разрушены, а на второстепенных
путях, не подлежащих восстановлению переводы сохранились. При этом перекладку
сохранившихся отдельных переводов можно производить рассмотренными выше
способами.
Однако возможна перекладка перевода без разборки путем
передвижки трактором или локомотивом по путям. Для этого стрелочный перевод
домкратами вырывается из балласта со стороны тягового агрегата. Тросом с
наружной стороны охватываются 5-6 брусьев, остальные брусья закрепляются
противоугонами.
Укладка стрелочных переводов с помощью надвижки
применяется также при сборке в стороне на путях.
1.2 Анализ потребности в средствах механизации путевых работ при
строительстве и восстановлении верхнего строения пути железнодорожного узла
Основные объемы работ по обеспечению мероприятий технического прикрытия,
восстановления и строительства железнодорожного пути войска выполняют
механизированным способом, поэтому их производственный потенциал или
производственные возможности зависят, в первую очередь, от наличия современных
высокопроизводительных, работоспособных машин и механизированного инструмента.
Оснащение войск современным механизированным инструментом и станками,
которые в максимальной степени приспособлены к эффективному выполнению
поставленных задач по содержанию, ремонту и восстановлению железнодорожного
пути, значительно повысят их производственные возможности.
В настоящее время реальное состояние технического оснащения
механизированным инструментом железнодорожных подразделений транспортных войск
значительно снижает уровень их производственных возможностей и ставит под
сомнение выполнение задач по штатному предназначению, особенно при действиях их
в боевой обстановке и при решении задач ликвидации последствий чрезвычайных
ситуаций природного и техногенного характера на железной дороге, когда
необходимо в короткие сроки решить задачи по штатному предназначению, когда
невозможно и экономически не выгодно применять путевые машины тяжелого и
легкого типа.
Выбор механизированного инструмента и создание передвижного раздаточного
инструментального пункта, путем комплектования его единичными образцами для
оснащения частей и соединений войск представляет собой сложную экономическую и
управленческую задачу. От правильного выбора номенклатуры ручных машин,
обоснованного расчета потребности в них для выполнения различных
технологических операций производственного процесса, зависит в значительной
степени эффективность применения комплексов мелкого механизированного
инструмента, а в целом способность выполнять задачи железнодорожными
подразделениями транспортных войск по штатному предназначению.
Сравнительная оценка железнодорожных подразделений транспортных войск
Республики Беларусь с аналогичными подразделениями Белорусской железной дороги,
зарубежных государств по техническому оснащению мелким механизированным
инструментом, показывает, что они значительно уступают им по технической
оснащенности современным ручным механизированным инструментом.
Обозначим некоторые основные этапы производства работ по строительству и
восстановлению верхнего строения пути ж/д узла.
Классификация путевого инструмента:
По назначению:
·
для работы с
рельсами - рельсорезные, рельсосверлильные, шлифовальные станки;
·
работы со
шпалами, скреплениями - инструмент гаечный и шуруповерты, костыльный инструмент
и др.;
·
работы по подъемке
и выправке пути в профиле и в плане - домкраты, рихтовщики, разгоночные
приборы, шпалоподбойки и др.
По виду использования энергии:
- электрифицированный, пневматический,
гидравлический и моторизованный с двигателями внутреннего сгорания.
За последнее десятилетие механизированный путевой
инструмент претерпел определенные конструктивные и технологические изменения,
при этом принцип действия, как правило, не изменился.
Восстановление верхнего строения пути является одним из важнейших и
трудоемких видов работ на восстанавливаемом участке, обеспечивающим возможность
открытия движения поездов с установленной техническими требованиями скоростью в
сжатые сроки. Такая задача может быть решена при максимальном использовании
различных средств механизации на всех рабочих операциях технологического цикла
от сборки звеньев пути до завершения балластировочных работ.
При сборке рельсошпальной решетки на железобетонных шпалах будет
применяться шуруповерт, предназначенный для завинчивания и отвинчивания гаек
клеммных и закладных болтов рельсовых скреплений, завертывания и отвертывания
путевых шурупов, а также он может быть использован для сверления отверстий в
деревянных шпалах под костыли и шурупы.
Для соединения рельсов между собой с помощью накладок предназначен
электрогаечный ключ. С помощью этого ключа можно завинчивать и отвинчивать
гайки стыковых болтов всех типов.
Балластировка пути производится с использованием гидравлического путевого
инструмента, к которому относятся: гидравлический домкрат, гидравлический
рихтовщик и гидравлический разгоночный прибор.
Для уплотнения балласта под шпалами применяются электрошпалоподбойки.
При разборке железнодорожного пути на деревянных шпалах для отделения
рельсов от шпал применяются электрогидравлические костылевыдергиватели.
При оторцовке концов рельсовых рубок для подготовки их к стыковке с
помощью накладок, а также для их сварки применяются рельсорезные станки.
При временном и краткосрочном восстановлении верхнего строения пути для
оторцовки рельсовых рубок и образования отверстий под стыковые болты
используются пороховые рельсоломы и дыропробойники.
Работы по замене путевой решетки организуются поточным методом и
выполняются специализированными командами в следующей последовательности:
Ø расчистка пути от разрушенных элементов верхнего строения
пути;
Ø срезка балластного слоя со сдвижкой его на бровку земляного
полотна;
Ø разбивка оси пути;
Ø укладка путевой решетки звеньями;
Ø балластировка и выправка пути;
Ø контроль качества работ.
Расчистка пути заключается в уборке рельсов с пришитыми к ним кусками
шпал за пределы габарита; эта работа может выполняться путерасчистителями,
бульдозерами, автокранами или тракторами.
Путерасчиститель, смонтированный на базе трактора
Т-130 или Т-170, расчищает полосу шириной до 6,1 м. Отвал путерасчистителя
имеет 5 зубьев, концы которых, проходя под обломками шпал, приподнимают
разрушенные рельсы и шпалы (балласт просыпается между зубьями), а крылья
путерасчистителя сдвигают обломки на обочину.
1 этап - подготовительные работы по строительству ж/д узла.
На данном этапе работ производится рекогносцировка местности, с
дальнейшей вырубкой лесного массива, выкорчевкой пней, устройство подъездных
путей для автомобильного транспорта. Для этих целей существует необходимость в
применении корчевателей, рыхлителей, кусторезов. В дальнейшем для планировки,
разработки выемок и сооружения насыпей - бульдозеры, экскаваторные комплексы,
автогрейдеры, скреперы.
этап - этап производства основных работ.
На данном этапе существует потребность в механизированном путевом
инструменте следующих наименований: теодолит, нивелир - для точной разбивки ж/д
узла и контроля за ходом выполнения работ. Домкраты -для удержания рельсо -
шпальной решётки в заданном положении; рельсосверлильный, рельсошлифовальный,
рельсорезный станки - для производства работ с рельсами; шуруповёрт, гайковёрт,
кастылезабивщики и кастылевыдёргиватели - для соединения между собой элементов
верхнего строения пути; клещи для переноски рельс, клещи для переноски шпал,
разгонщики - для формирования необходимых зазоров между рельсами в плане пути;
ломы, рихтовщики - для выравнивания и перемещения РШР; шпало - и
электрошпалоподбойки - предназначены для уплотнения балласта под шпалами при
всех видах ремонта, текущего содержания, строительства и восстановления железных
дорог; арматура кабельная, электростанции дизельные и бензиновые - для
обеспечения электрической энергией механизированного путевого инструмента;
всевозможные типы лебёдок.
этап - заключительный этап работ.
На данном этапе основными инструментами являются путеизмерительные
приборы и инструменты, а так же теодолиты и нивелиры.
В целях соблюдения правил техники безопасности в условиях работы на
железнодорожных объектах необходимым условием производства работ являются
наличие сигнальных жилетов - на каждого рабочего, сигнальные рожки и флажки,
сигнальные путевые знаки.
2. Анализ ПИРП для путевых работ, стоящего на
вооружении в подразделениях транспортных войск Республики Беларусь и
обоснование целесообразности оптимизации его комплектации применительно к штату
подразделения (взвода)
.1 Анализ ПИРП для путевых работ, стоящего на
вооружении в подразделениях транспортных войск Республики Беларусь
Существующий передвижной инструментально - раздаточный
пункт для путевых работ имеется на базе 71 отдельного путевого железнодорожного
батальона. Данная единица техники представлена в виде двухосного прицепа с
закрытым кунгом. В кунге распологается механизированный инструмент для
выполнения путевых работ по зашивке и балластировке верхнего строения пути.
Данный ПИРП разрабатывался для производства работ
одной из рот путевого батальона. Соответственно его комплектация по сей день
существует применительно к штату путевой роты. В связи с изменениями в штатной
численности основных подразделений транспортных войск Республики Беларусь и
повышением их мобильности и универсальности, существует потребность в
перекомплектации существующей базы механизированного инструмента, находящегося
в составе передвижного инструментально - раздаточного пункта для путевых работ.
В настоящее время существует потребность в создании подразделений и
инструментов для них, способных выполнять задачи по штатному предназначению
независимо от основного подразделения. Для этих целей необходимо создание
передвижного инструментально - раздаточного пункта который обеспечит:
1. Возможность автономной работы взвода в условиях
отрыва от основного подразделения.
2. Всестороннее обеспечения необходимым
инструментом для выполнения задач по строительству и восстановлению верхнего
строения пути.
. Удобное и безопасное перемещение необходимого
инструмента на значительное расстояние.
. Возможность устранения неполадок, связанных с
незначительными отказами инструмента.
. Комплектацию инструмента, необходимую для
бесперебойной и поэтапной работы личного состава согласно штата взвода
На данном этапе дипломного проекта предлагаю рассмотреть номенклатуру
механизированного путевого инструмента, находящегося в составе ПИРП для путевых
работ. На сегодняшний день комплектация ПИРП имеет набор инструментов для
выполнения как для зашивки пути, так и балластировки.
Комплектация ПИРПа для балластировки Таблица 1
|
№ п/п
|
Наименования
|
Количество
|
|
1
|
Электростанция
|
2
|
|
2
|
Домкраты путевые
|
24
|
|
3
|
Электрошпалоподбойки
|
20
|
|
4
|
Рихтовщики гидравлические
|
20
|
|
5
|
Ломы лапчатые
|
4
|
|
6
|
Молотки костыльные
|
4
|
|
7
|
Тележки путевые
|
2
|
|
8
|
Лопаты
|
20
|
|
9
|
Вилы щебёночные
|
20
|
|
10
|
ЦУП
|
3
|
|
11
|
ПРП - 1
|
1
|
|
12
|
Рулетка
|
3
|
|
13
|
Кабельная сеть с коробкой
|
2
|
|
14
|
Сигнальные жилеты
|
150
|
|
15
|
Сигнальные рожки и флажки
|
6 к-ов
|
|
16
|
Сигнальные путевые знаки
|
2 к- та
|
Комплектация ПИРПа для зашивки пути Таблица 2
|
№ п/п
|
Наименование
|
Количество
|
|
1
|
Электростанция
|
2
|
|
2
|
Станок рельсорезный
|
2
|
|
3
|
Станок рельсосверлильный
|
2
|
|
4
|
Станок шлифовальный
|
1
|
|
5
|
Электрокастылевыдёргиватели
|
2
|
|
6
|
Электрокастылезабивщики
|
4
|
|
7
|
Электрогайковёрты
|
2
|
|
8
|
Разгонщики зазоров
|
2
|
|
9
|
Ломы лапчатые
|
12
|
|
10
|
Ломы остроконечные
|
12
|
|
11
|
Молотки костыльные
|
10
|
|
12
|
Ключи стыковые
|
12
|
|
13
|
Кувалды 1,5 - 2 кг
|
8
|
|
14
|
Шаблоны глухие
|
6
|
|
15
|
ЦУП
|
1
|
|
16
|
Рельсоносы
|
12
|
|
17
|
Шпалоносы
|
12
|
|
18
|
Тележки путевые
|
2
|
|
19
|
Домкраты путевые
|
4
|
|
20
|
Лопаты
|
20
|
|
21
|
Электросверлильный станок
по дереву
|
2
|
|
22
|
Термометр
|
1
|
|
23
|
Металлические зазорники
|
2 к- та
|
|
24
|
Рулетка
|
2
|
|
25
|
Кабельная сеть с коробкой
|
2
|
|
26
|
Сигнальные жилеты
|
150
|
|
27
|
Сигнальные рожки и флажки
|
6 к- ов
|
|
28
|
Сигнальные путевые знаки
|
2 к- та
|
Итоговый состав комплекта передвижного инструментального раздаточного
пункта для выполнения путевых работ Таблица 3
|
№ п/п
|
Наименование
|
Количество
|
|
1
|
Электроагрегат трехфазный
мощностью 4 кВт. 230 В
|
4
|
|
2
|
Станок рельсорезный
|
2
|
|
3
|
Станок рельсосверлильный
|
2
|
|
4
|
Станок рельсошлифовальный
|
1
|
|
5
|
Костылезабивщик
|
4
|
|
6
|
Шпалоподбойка
|
20
|
|
7
|
Костылевыдергиватель
|
2
|
|
8
|
Ключ путевой электрический
|
2
|
|
9
|
Шуруповерт
|
2
|
|
10
|
Электросверлилка
|
2
|
|
11
|
Разгонщик стыковых зазоров
рельс
|
2
|
|
12
|
Рихтовщик
|
12
|
|
13
|
Лом лапчатый
|
16
|
|
14
|
Лом остроконечный
|
12
|
|
15
|
Молоток костыльный ручной
|
14
|
|
16
|
Ключи гаечные путевые
|
12
|
|
17
|
Кувалда 1,5 - 2 кг
|
4
|
|
18
|
Шаблон путевой рабочий
|
6
|
|
19
|
Шаблон путевой контрольный
ЦУП
|
4
|
|
20
|
Прибор контроля рихтовки
пути ПРП, ПРПМ
|
2
|
|
21
|
Клещи для переноски рельс
|
12
|
|
22
|
Клещи для переноски шпал
|
|
23
|
Тележка путевая
однорельсовая
|
4
|
|
24
|
Домкраты путевые
|
28
|
|
25
|
Лопаты штыковые
|
20
|
|
26
|
Лопаты совковые
|
20
|
|
27
|
Вилы для щебня
|
20
|
|
28
|
Термометр для измерения
температуры рельс
|
1
|
|
29
|
Металлические зазорники
|
2
|
|
30
|
Рулетка 5 м
|
2
|
|
31
|
Рулетка 10 м
|
1
|
|
32
|
Рулетка 30 м
|
2
|
|
33
|
Кабельная сеть с
соединительной коробкой
|
4
|
|
34
|
Сигнальные жилеты
|
120
|
|
35
|
Сигнальные флажки, рожок
(свисток)
|
12
|
|
36
|
Сигнальные путевые знаки
|
4
|
|
37
|
Кран козловой ручной для
смены и транспортировки рельс
|
2
|
На данном этапе анализа инструментального раздаточного пункта можно
сделать некоторые выводы:
. Данная комплектация ПИРП для путевых работ не отвечает
необходимым требованиям для всестороннего обеспечения взводов, выполняющих
работы по строительству и восстановлению верхнего строения путей в отрыве от
основного подразделения.
. Существующая комплектация передвижного инструментального
раздаточного пункта была разработана для выполнения основных работ путевой
ротой, что невозможно в современных условиях, требующих повышенной оптимизации
и автономной работы взводов в отдельности.
. Все необходимые инструменты и механизмы выпускались и стоят на
вооружении ещё со времен Советского союза. Наблюдается как физический, так и
моральный износ механизированного оборудования. Необходима замена существующего
механизированного путевого инструмента для путевых работ на более новые образцы
как отечественного, так и зарубежного производителя.
. На основании произведённого анализа, выяснилось, что
существующая комплектация ПИРП не предполагает наличие инструмента для
выполнения мелкого текущего ремонта некоторых простейших элементов конструкции
механизированного инструмента. Что предполагает разработку предложений по
составлению набора инструментов для решения данной проблемы.
. Как мы видим из таблицы 1 и 2, существует необходимость в
объединении механизированного путевого инструмента, использующегося для зашивки
и балластировки пути в единый комплекс, способный выполнять данные операции,
без простоя и полного взаимодействия людских затрат на всех этапах работ.
.2 Обоснования целесообразности оптимизации комплектации ПИРП
применительно к штату подразделений (взвода)
На данном этапе развития Транспортных войск, перспективными направлениями
в строительстве и развитии Вооружённых сил Республики Беларусь, является повышение
мобильности и автономности подразделений, занимающихся восстановлением
разрушенных объектов и строительством новых, необходимых для текущего
использования.
Мировая практика ведения боевых действий показывает, что первыми
объектами, подвергающимися нападению противника, являются здания, сооружения,
сообщения, непосредственно отвечающие за предоставление населению и войскам
энергии, связи, водоснабжения, а так же сообщений в виде автомагистралей,
железнодорожных станций, путей, мостов, как известно, являющимися главными
артериями любого государства.
В современных условиях военного противостояния появилась острая
необходимость в комплектовании отдельных небольших мобильных подразделения для
выполнения задач, связанных с восстановлением и строительством объектов на
удалении друг от друга.
Так, существующая на сегодня комплектация передвижного инструментального
раздаточного пункта не соответствует вышеперечисленным требованиям. Выполнения
многих операций не требуют использования такого количества личного состава.
Так, появляется проблема простоя личного состава, который при правильном
распределении может в это же время выполнять работы на других объектах. Так же
для такого количества личного состава необходимо затратить большее количество
техники при его перевозке.
Исходя из этого одним из важнейших мероприятий в области повышения
технического уровня по содержанию железнодорожного пути,
ремонтно-восстановительных путевых работ, является механизация ручных операций
путем широкого внедрения в технологический процесс эффективных средств малой
механизации - ручного механизированного инструмента и станков. Поэтому широкое
внедрения мелкого механизированного инструмента в производственном процессе
задача долговременная.
При планировании действий железнодорожных подразделений транспортных
войск на выполнение мероприятий технического прикрытия и восстановления
железнодорожных участков и объектов одним из решающих факторов является оценка
их производственных возможностей на период выполнения поставленной задачи.
Расширение использования механизированного инструмента способствует
сокращению доли ручного труда путевых работ на различных их видах, повышению
производительности труда отдельных военнослужащих, а также производственных
возможностей частей и соединений в целом, и является серьезным резервом
сокращения доли ручного руда в производственном процессе.
Основные объемы работ по обеспечению мероприятий технического прикрытия,
восстановления и строительства железнодорожного пути войска выполняют
механизированным способом, поэтому их производственный потенциал или
производственные возможности зависят, в первую очередь, от наличия современных
высокопроизводительных, работоспособных машин и механизированного инструмента,
что на данном этапе не обеспечивает существующая комплектация инструментального
раздаточного пункта.
Оснащение войск современным механизированным инструментом и станками,
которые в максимальной степени приспособлены к эффективному выполнению
поставленных задач по содержанию, ремонту и восстановлению железнодорожного
пути, значительно повысят их производственные возможности.
В настоящее время реальное состояние технического оснащения
механизированным инструментом железнодорожных подразделений транспортных войск
значительно снижает уровень их производственных возможностей и ставит под
сомнение выполнение задач по штатному предназначению, особенно при действиях их
в боевой обстановке и при решении задач ликвидации последствий чрезвычайных
ситуаций природного и техногенного характера на железной дороге, когда необходимо
в короткие сроки решить задачи по штатному предназначению, когда невозможно и
экономически не выгодно применять путевые машины тяжелого и легкого типа.
Выбор механизированного инструмента и создание передвижного раздаточного
инструментального пункта, путем комплектования его единичными образцами для
оснащения частей и соединений войск представляет собой сложную экономическую и
управленческую задачу. От правильного выбора номенклатуры ручных машин,
обоснованного расчета потребности в них для выполнения различных
технологических операций производственного процесса, зависит в значительной
степени эффективность применения комплексов мелкого механизированного
инструмента, а в целом способность выполнять задачи железнодорожными
подразделениями транспортных войск по штатному предназначению.
3. Выполнение сравнительного анализа средств механизации, которыми
комплектуется ПИРП для путевых работ, и обоснование целесообразности выполнения
их замены
.1 Анализ средств механизации, которыми комплектуется ПИРП для путевых
работ
На данном этапе дипломного проектирования произведём анализ средств малой
механизации, которой комплектуется ПИРП для путевых работ.
.1.1 Механизированный путевой инструмент для работы с рельсами
Для работы с рельсами используются три основных типа станков:
рельсорезные;
рельсосверлильные;
рельсошлифовальные.
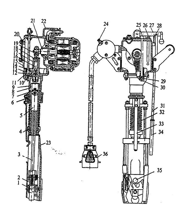
.1.1.1 Рельсорезный станок РМ-3
Предназначен для резки рельсов всех типов. Рельс
режется ножовочным полотном, закрепленным в рамке пильного механизма 3, 6
(рисунок 3.1). Рамка шарнирно связана с кривошипно-шатунным механизмом 13 и
совершает возвратно-поступательное движение. Кривошипно-шатунный механизм
приводится в действие от асинхронного электродвигателя 5 мощностью 1 кВт.
Рисунок 3.1 - Схема рельсорезного станка РМ-3
Электродвигатель вмонтирован в червячный редуктор 10,
имеющий упорный подшипник 11 и соединен с валом червяка специальной втулкой 9.
На вал червячного колеса насажен кривошип, передающий усилие на пильную рамку с
ножовочным полотном.
Нажим ножовочного полотна на рельс регулируется
перестановкой грузов 4, закрепляемых на рейке направляющей призмы 5
грузодержателя. В нерабочем положении пильная рамка удерживается стойкой 7 с
фиксатором. Рельсорезный станок закрепляется за головку рельса зажимным
приспособлением 1, состоящим из скобы, винта и ручки, тут же крепится бачок 2
для охлаждающей жидкости.
Станок крепится на раме 15, имеет ролики 14 для перемещения по рельсу и
рукоятку 12 для поддержки при транспортировании.
Таблица 4 - техническая характеристика рельсорезного станка РМ-3
|
Показатель
|
Значение показателя для
станка
|
|
Тип двигателя
|
ДВС «Урал-2»
Электродвигатель
|
|
Мощность двигателя, кВт
|
1
|
|
Напряжение, В
|
220
|
|
Частота, Гц.
|
50
|
|
Число двойных ходов
ножовочного полотна, м
|
44
|
|
Ход ножовочного полотна, м
|
0,217
|
|
Максимально допустимая
окружная скорость, м/с
|
-
|
|
Диаметр диска, мм
|
-
|
|
Инструмент
|
Ножовочное полотно
|
|
Подача инструмента
|
Грузами
|
|
Время резания рельса Р65,
с:
|
1200
|
|
Масса, кг
|
104
|
|
Обслуживающая команда, чел
|
2
|
.1.1.2 Рельсосверлильный станок 1024В
Рельсосверлильный станок 1024В (рисунок 3.2) состоит
из рамы с рельсовым зажимом и подающим механизмом, мотор-редуктора с
электродвигателем 4 и двухступенчатого редуктора 5.
Рисунок 3.2 - схема рельсосверлильного станка 1024В
В горловине корпуса редуктора расположен шпиндель б с конусом Морзе.
Наличие этого конуса позволяет применять сверла различного диаметра.
Сверло подают вручную винтовым механизмом 1 с трещоточным ключом 2. Гайка
винта подачи закреплена в траверсе направляющих штанг 13, по которым
перемещается редуктор с двигателем. При работе станок крепится за подошву
рельса неподвижным 11 и подвижным 10 упорами. Подвижной упор перемещают
механизмом 9. Бачок 7 с жидкостью для охлаждения укреплен на головке рельса при
помощи скобы 8. Подключение станка производится токоприемником 3.
Станок 1024В предназначен для сверления отверстий под
стыковые болты в незакаленных рельсах типов от Р43 до Р75 как лежащих в пути,
так и подготавливаемых к укладке. Станок облегченный, с ручной подачей сверла.
В качестве режущего инструмента могут использоваться стандартные сверла из
быстрорежущей стали.
Сверла большого диаметра устанавливают непосредственно в шпинделе станка,
который имеет внутренний конус Морзе, а для сверл меньшего диаметра используют
переходные втулки. В комплект поставки станка входит переходная втулка с
наружным и внутренним конусами Морзе необходимых размеров.
Таблица 5 - техническая характеристика рельсосверлильного станка 1024В
|
Показатель
|
Значение показателя для
станка
|
|
Мощность электродвигателя,
кВт
|
1,0
|
|
Напряжение, В
|
220
|
|
Частота, Гц
|
50
|
|
Частота вращения шпинделя,
об/мин
|
93
|
|
Подача сверла, мм/мин
|
15
|
|
Время сверления отверстия в
рельсе, мин: Р75
|
|
|
Масса комплекта с кабельной
вилкой, кг
|
40
|
.1.1.3 Рельсошлифовальный станок РТ-3
Рельсошлифовальный станок РТ-3 (рисунок 3.3) состоит из рамы 3 с
выключателем 2, привода шлифовального круга 5, поддерживающих роликов 8 с
зажимом 7 и рамки 9. На раме установлены два подвижных ролика 11 для подъема и
опускания шлифовального круга. Ролики управляются ручкой маховика 1. Привод
шлифовального круга 5 состоит из ползуна 10, электродвигателя 4, кронштейна со
шлифовальным кругом в закрытом кожухе 14. Вращение от электродвигателя на вал
шлифовального круга передается через клиноременную передачу. Шлифовальный круг
перемещается в поперечном направлении по штангам рычагом 6; угол наклона круга
относительно вертикальной плоскости изменяется ручкой 12; поперечный ход круга
350 мм. Для переноски используются ручки 13.
Рисунок 3.3 - Схема рельсошлифовального станока РТ-3
Таблица 6 - техническая характеристика рельсошлифовального станка РТ-3
|
Показатель
|
Значение показателя для
станка
|
|
Мощность электродвигателя,
кВт
|
1,0
|
|
Напряжение, В
|
220
|
|
Частота, Гц
|
50
|
|
Частота вращения шпинделя,
об/мин
|
93
|
|
Подача сверла, мм/мин
|
15
|
|
Время сверления отверстия в
рельсе, мин: Р75
|
|
|
Масса комплекта с кабельной
вилкой, кг
|
40
|
.1.2 Механизированный путевой инструмент для работы со шпалами и
скреплениями
Надежность пути во многом зависит от качества прикрепления рельсов к
подкладкам и шпалам, а также от степени затяжки болтов в рельсовых стыках. Эти
операции при текущем содержании пути по трудоемкости составляют до 7-8%, а при
капитальном ремонте - 3 - 3,5% общего объема работ.
Основными эксплуатационными параметрами средств малой
путевой механизации следует считать производительность и потребляемую мощность
двигателя. Эти два показателя определяют в основном целесообразность
использования механизма в технологию строительства, текущего содержания или
ремонтов пути.
.1.2.1 Инструмент гаечный, шуруповёрты,
костылезабивщики, костылевыдёргиватели
Электрогаечным ключом ЭК-1М (рисунок 3.4) завинчивают и
отвинчивают гайки стыковых болтов на рельсах Р43, Р50 и Р65.
Он состоит из редуктора с электродвигателем 5, двух
рукояток 3 для удержания ключа в процессе работы, переключателя 4 с вилкой 6,
тележки с роликами 1 для перемещения ключа, рукоятки 7 для удержания ключа при
транспортировке по рельсу на тележке. Тележка оборудована устройством для
принудительного прижима стыкового болта, что обеспечивает работу ключа на всех
типах рельсов. Ролики тележки имеют изолирующие втулки.
Рисунок 3.4 - Схема электрогаечного ключа ЭК-1М
Вращение вала электродвигателя 5 передается головке 11
ключа и через конический редуктор 8 к основному узлу инструмента -
преобразователю, который изменяет непрерывно действующий крутящий момент в ударно-импульсный.
Преобразователь состоит из приводного кулака , закрепленного на горизонтальном
валу, молотка 10, свободно насаженного на этот же вал и соединенного с головкой
ключа при помощи кулачков, распорной спиральной пружины 12, отжимающей молоток
в сторону головки ключа, и двух шариков 13, расположенных в наклонных (по
отношению к вертикальной оси) профильных вырезах цилиндрического выступа
кулака. Шарики зажаты профильными вырезами на внутренней поверхности молотка,
направленными противоположно выступам кулака.
Такое закрепление шариков связывает кулак и молоток. К
тележке молоток подвешен на шарнире 2. С увеличением момента сил сопротивления
при завинчивании гайки, а также при большом моменте этих сил в начале
отвинчивания угловые скорости вращения головки ключа и молотка различны.
Поэтому молоток начинает навинчиваться на кулак, смещаемый шариками,
находящимися в наклонных вырезах. Молоток перемещается в сторону, преодолевая
сопротивление спиральной пружины, и кулачки его выходят из зацепления с кулачками
головки ключа. При уменьшении крутящего момента сил сопротивления и
соответственно осевой распорной силы спиральная пружина, действуя на молоток,
сдвигает его в сторону головки ключа и выключает кулачковое соединение. В этом
случае молоток оказывает ударно-импульсное воздействие на головку ключа и
гайку. Так, последовательно включая и выключая кулачковое соединение,
преобразователь обеспечивает завинчивание и отвинчивание гайки болта.
Таблица 7 Техническая характеристика электрогаечного
ключа ЭК-1М
|
Параметр
|
Значение показателя для
станка
|
|
Тип электродвигателя
|
Асинхронный
короткозамкнутый, обдуваемого исполнения
|
|
Мощность номинальная, кВт
|
0,4
|
|
Напряжение, В
|
220
|
|
Ток, А
|
1,8
|
|
Частота, Гц
|
50
|
|
Соединение фаз
|
«Звезда»
|
|
Частота вращения ротора,
об/мин
|
2760
|
|
Номинальный коэффициент
мощности
|
0,82
|
|
Частота вращения шпинделя,
об/мин
|
660
|
|
Крутящий момент, Н·м: при
завинчивании при отвинчивании
|
580 580
|
|
Частота соударений
кулачков, уд/мин
|
1320
|
|
Время завертывания шурупов
в шпалы, с: мягких пород дерева твердых пород дерева (забивки и выдергивания
костыля)
|
до 4
|
|
Габаритные размеры, мм:
длина ширина высота
|
607 545 720
|
|
Масса комплекса (без масла
в редукторе, кабеля и кабельной вилки), кг
|
22
|
.1.2.2 Шуруповёрт ШВ-2
Шуруповерт ШВ-2 предназначен для завертывания и отвертывания путевых
шурупов, завинчивания и отвинчивания гаек клеммных и закладных болтов рельсовых
скреплений, а также сверления отверстий в шпалах под шурупы и костыли. Он
относятся к механизмам непрерывного действия и используется при текущем
содержании пути, всех видах ремонтов и строительстве железных дорог.
Рисунок 3.5 -Схема устройства ШВ-2
Таблица 8 - техническая характеристика шуруповёрта
ШВ-2
|
Параметр
|
Значение показателя для
станка
|
|
Тип электродвигателя
|
Асинхронный
короткозамкнутый, обдуваемого исполнения
|
|
Мощность номинальная, кВт
|
1,0
|
|
Напряжение, В
|
220
|
|
Ток, А
|
4,5
|
|
Частота, Гц
|
50
|
|
Соединение фаз
|
«Звезда»
|
|
Частота вращения ротора,
об/мин
|
1410
|
|
Номинальный коэффициент
мощности
|
0,82
|
|
Частота вращения шпинделя,
об/мин
|
480 для сверла
|
|
Крутящий момент, Н·м: при
завинчивании при отвинчивании
|
450 500
|
|
Время завертывания шурупов
в шпалы, с: мягких пород дерева твердых пород дерева (забивки и выдергивания
костыля)
|
8 14
|
|
Время завинчивания и
отвинчивания, с
|
до 5
|
|
Габаритные размеры, мм:
длина ширина высота
|
1000 1800 700
|
|
Масса комплекса (без масла
в редукторе, кабеля и кабельной вилки), кг
|
63
|
.1.2.3 Костылезабивщик ЭПК-3
Электропневматический костылезабивщик ЭПК-3 (рисунок
3.6) забивает костыли в шпалы. Состоит из электродвигателя 1, конического
редуктора 2, кривошипно-шатунного механизма 4, 5, подвижного цилиндра 6 со
свободно движущимся поршнем - бойком 8, узла амортизаторов (резиновые кольца
11, разъемные втулки 14, пружина) с рабочим инструментом выключателя. Кривошипно-шатунный
механизм преобразует вращательное движение в возвратно-поступательное цилиндра
6. В процессе движения поршня вверх между подвижным цилиндром и свободно
движущимся поршнем-бойком (находящимся в нем) возникает разряжение,
заставляющее боек двигаться за цилиндром, при ходе цилиндра вниз происходит
встречное движение его с бойком. Воздух, сжимаясь в подвижном цилиндре,
заставляет боек остановиться, а затем двигаться с ускорением вниз.
Рисунок 3.6 - Схема электропневматический
костылезабивщик ЭПК-3
Компенсационная система костылезабивщика состоит из
кольцевой выточки 7, отверстия 9 в цилиндре каналов 15 в поршне-бойке. Воздух
пополняется каждый раз при совмещении верхнего пояса бойка с отверстиями на
цилиндре. Чтобы перевести молоток с холостого хода на рабочий режим, при
включенном электродвигателе нажимают на забойник 13; поршень-боек вследствие
разряжения воздуха в цилиндре поднимается. Во время работы молоток удерживается
за рукоятки 3, в одну из которых вмонтирован выключатель. Для перевода молотка
на холостой ход, прекращают нажатие на его ручку, тогда под действием пружины
12 стержень 10 забойника выдвигается из костылезабивщика, поршень-боек
опускается и не подхватывается цилиндром.
Таблица 9 - техническая характеристика
костылезабивщика ЭПК-3
|
Параметр
|
Значение показателя для
станка
|
|
Тип электродвигателя
|
Асинхронный
короткозамкнутый, закрытого исполнения
|
|
Мощность номинальная, кВт
|
0,75
|
|
Напряжение, В
|
220
|
|
Частота, Гц
|
50
|
|
Частота вращения ротора,
об/мин
|
2800
|
|
Номинальный коэффициент
мощности
|
0,82
|
|
Частота соударений
кулачков, уд/мин
|
1100
|
|
Время завертывания шурупов
в шпалы, с: мягких пород дерева твердых пород дерева (забивки и выдергивания
костыля)
|
- 3-5
|
|
Габаритные размеры, мм:
длина ширина высота
|
9,7 415 240
|
|
Масса комплекса (без масла
в редукторе, кабеля и кабельной вилки), кг
|
24
|
3.1.2.3 Костылевыдёргиватель КВД-1
Костылевыдергиватель КВД-1 (рисунок 3.7) предназначен
для выдергивания костылей при текущем содержании, всех видах ремонтов, реконструкции,
строительстве и восстановлении железных дорог.
Рисунок 3.7 - Схема устройства костылевыдёргивателя КВД-1
Для захвата костыля губки клещей устанавливаются на
головку костыля и производится нажим на ручки костылевыдергивателя. При этом
губки расходятся. Для извлечения костыля из шпалы прекращается нажатие на
ручки, благодаря чему губки клещей сходятся и захватывают костыль за головку.
Передача усилия от гидравлического цилиндра к
выдергиваемому костылю происходит через две регулируемые тяги 3, ввернутые
одними концами в клещевой захват, а другими - в муфту 6, которая соединена с
гидравлическим цилиндром. Во время выдергивания костыля корпус
костылевыдергивателя вместе с электродвигателем перемещается вверх.
Таблица 10 Техническая характеристика костылевыдёргивателя КВД-1
|
Параметр
|
Значение показателя для
станка
|
|
Тип электродвигателя
|
Асинхронный
короткозамкнутый, закрытого исполнения
|
|
Мощность номинальная, кВт
|
-
|
|
Напряжение, В
|
220
|
|
Частота, Гц
|
50
|
|
Частота вращения ротора,
об/мин
|
2800
|
|
Номинальный коэффициент
мощности
|
0,82
|
|
Время завертывания шурупов
в шпалы, с: мягких пород дерева твердых пород дерева (забивки и выдергивания
костыля)
|
- 5
|
|
Габаритные размеры, мм:
длина ширина высота
|
9,7 415 240
|
|
Масса комплекса (без масла
в редукторе, кабеля и кабельной вилки), кг
|
22,5
|
3.1.3 Механизированный инструмент для подъемки и
выправки пути в профиле и в плане
Трудоемкость работ по подъемке и выправке пути высока
и не всегда эти работы могут быть выполнены машинным способом, поэтому
механизированный инструмент для их выполнения необходим. По назначению
механизированный инструмент для подъемки и выправки пути в плане и профиле
подразделяется на следующие категории: домкраты - для подъемки пути; рихтовщики
- для подъемки и сдвижки пути; разгонщики - для регулировки зазоров в стыковом
и бесстыковом пути; шпалоперегонщики - для восстановления эпюры шпал;
шпалоподбойки - для распределения балласта под нижней постелью шпал и его
уплотнения.
.1.3.1 Домкраты
а) домкрат реечный ДР-5
Домкрат реечный ДР-8М (рисунок 3.9) предназначен для
подъема различных грузов и конструкций, а также железнодорожного пути при
строительно-монтажных, ремонтных и других работах. Он неприхотлив в любых
условиях эксплуатации благодаря использованию зубчатого зацепления с храповым
предохранительным механизмом.
Таблица 11 - техническая характеристика реечного домкрата ДР-5
|
Показатель
|
Значение показателя для
домкрата
|
|
Грузоподъемность, т (на
головку)
|
5
|
|
Грузоподъемность, т (на
лапу)
|
5
|
|
Усилие на рукоятке, Н (кгс)
|
150 (15)
|
|
Высота от подошвы до
грузовой лапы, мм
|
90
|
|
Рабочий ход, мм
|
350
|
|
Габаритные размеры, мм
|
300х350х710
|
|
Масса, кг
|
35
|
|
Цена за инструмент, у.е.
|
225
|
б) Домкрат ДГУ-10
Домкрат ДГУ-10 предназначен для ремонта и текущего содержания пути.
Конструкция домкрата обеспечивает возможность работы в любом пространственном
положении. Наличие сменной опоры расширяет эксплуатационные возможности
домкрата. Конструкция гидронасоса позволяет устанавливать нейтральное положение
оси рукоятки в удобное для работы положение. Раздвижная рукоятка привода
обеспечивает приложение к ней оптимального усилия качания.
Таблица 12 - техническая характеристика домкрата ДГУ-10
|
Показатель
|
Значение показателя для
домкрата
|
|
Грузоподъемность, т по оси
гидроцилиндра
|
10
|
|
Грузоподъемность, т (на
лапу)
|
8
|
|
Усилие на рукоятке, Н (кгс)
|
147 (15)
|
|
Рабочий ход, мм
|
90
|
|
Габаритные размеры, мм
|
340х220х510
|
|
Масса, кг
|
20
|
|
Цена за инструмент, у.е.
|
475
|
3.1.3.2 Рихтовщик ГР-12
Рихтовщик ГР-12 предназначен для рихтовки железнодорожного пути и стрелочных
переводов, уложенных на деревянных и железобетонных шпалах при текущем
содержании и ремонте пути
Таблица 13 - техническая характеристика рихтовщика ГР-12
|
Показатель
|
Значение показателя для
домкрата
|
|
Распорная сила, кН
|
60
|
|
Ход штока, м
|
0,1
|
|
Усилие на рукояти насоса,
кН
|
155
|
|
Масса, кг
|
16
|
|
Габаритные размеры, мм
|
550x170x400
|
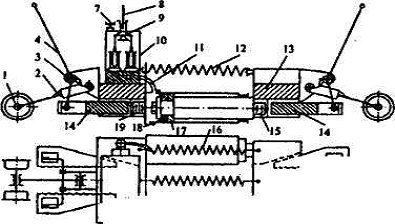
3.1.3.3 Разгоночный прибор РН-01
Гидравлический разгоночный прибор РН-01 (рисунок 3.12)
предназначен для разгонки зазоров в рельсовых стыках при укладке и текущем
содержании пути. Он состоит из двух корпусов с возвратными пружинами, двух
распорных гидравлических цилиндров и резервуара с гидроприводом. Действие
прибора основано на том, что концы двух рельсов, жестко соединенных на стыке
клинозажимным устройством с обоими корпусами прибора, раздвигаются распорным
устройством, увеличивая зазор в стыке.
Рисунок 3.12 - Схема гидравлического разгоночного
прибора РН-01
Распорное устройство прибора выполнено в виде двух
корпусов, соединенных поршневой штангой, и снабжено ручным насосом с масляным
резервуаром. Корпуса 6 и 13 прибора РН-01 закрепляют клиньями 14 при помощи
рычагов 4. При повороте этих рычагов прибор приводят в транспортное положение,
поднимая на ролики 1. На приборе установлены четыре насоса; их приводят в
действие попарно рычагом 5. Распорное усилие создается гидравлическими
цилиндрами 16. Оба цилиндра расположены на уровне зажимных клиньев - это
позволяет предотвратить возникновение изгибающего момента. Корпуса прибора,
связанные между собой тремя пружинами, возвращаются в исходное положение после
разгона стыка и снятия гидравлического давления в цилиндрах. Перемещается
прибор от стыка к стыку на роликах.
Таблица 14 - техническая характеристика разгоночного
прибора РН-01
|
Показатель
|
Значение показателя для
домкрата
|
|
Распорное усилие, кН
|
250
|
0,15
|
|
Величина раздвижки (с
перехватом), м
|
0,3
|
|
Усилие на рукояти привода
гидронасоса, Н
|
180
|
|
Масса, кг
|
78
|
|
Габаритные размеры, мм
|
100х32х35
|
.1.3.4 Электрошпалоподбойка ЭШП-9М3
Предназначена для уплотнения балласта под шпалами в тех случаях, когда
невозможно или экономически нецелесообразно использовать большие путевые машины
непрерывного действия из-за малых объемов работ, их разбросанности и т.д.
Качественное уплотнение за счет максимальной передачи энергии колебаний
балласту при минимальной вибрации на рукоятках, обеспечиваемой тройной системой
амортизации.
Наличие выключателя позволяет уменьшить вибрационную нагрузку на
оператора, создает комфортность в работе.
На валу электродвигателя насажен дебаланс 2 с
вынуждающей силой 2450 Н. Под действием этой силы возникает вибрация подбойки,
которая передается через корпус вибратора на жесткое подбивочное полотно с
наконечником, которое создает текучесть щебеночного балласта и уплотняет его
под шпалой. Для заземления шпалоподбойки кабель имеет четвертую жилу с
оболочкой другого цвета, чем у остальных жил. Время подбивки шпалы зависит от
высоты подъемки пути и состояния балластного слоя.
Таблица 15 - техническая характеристика электрошпалоподбойки ЭШП-9М
|
Показатель
|
Значение показателя для
домкрата
|
|
Тип движетеля
|
Трехфазный
электродвигатель, 220В,
|
|
Частота,Гц
|
50
|
|
Мощность на валу при 2800
об/мин,кВт
|
0,37
|
|
Возмущающая сила дебаланса,
Н
|
2500
|
|
Масса, кг
|
18,5
|
|
Габаритные размеры, мм
|
1200х200х575
|
|
Цена на оборудование, у.е.
|
|
.1.4 Электроагрегат трёхфазный АБ-4 мощностью 4 кВт, 230 В
Передвижные электростанции АБ и АД могут использоваться в качестве
основного или резервного источника для питания электроэнергией широкой гаммы
трехфазных и однофазных потребителей, в т. ч. механизированного инструмента и
бытовых электроприборов, в ситуациях, когда питание от стационарной сети
невозможно: на железнодорожных перегонах, в промышленности и строительстве, при
дорожных и ремонтных работах, на транспорте, в передвижных и стационарных
мастерских, в аварийных службах, для загородных домов, дач, в сельском и
коммунальном хозяйстве, торговле, медицине, в чрезвычайных ситуациях.
Таблица 16 - техническая характеристика электростанции АБ-4
|
ПоказательЗначение
показателя для домкрата
|
|
|
Тип агрегата
|
АБ-4
|
|
Тип двигателя
|
УМЗ
|
|
Мощность двигателя, л.с.
|
8
|
|
Расход топлива, л/ч
|
2,3
|
|
Объем топливного. бака, л
|
6
|
|
Марка топлива (бензин)
|
А-80
|
|
Мощность, кВт,
|
4
|
|
Масса, кг
|
96
|
|
Габариты, мм
|
880x 555x 490
|
Остальной инструмент, приведённый в таблице 3, которым комплектуется ПИРП
для путевых работ, не нуждается в замене на другие образцы, так как они
являются простейшими приборами для ремонта и содержания пути. Их замена не
является критерием по повышению производительности и улучшения экономической
составляющей производства путевых работ.
.2 Анализ средств механизации для путевых работ, предлагаемых
отечественными и зарубежными производителями.
В данном разделе дипломного проекта рассмотрим различные модели механизированного
путевого инструмента, который предлагают отечественные и зарубежные
производители, что понадобиться для дальнейшего сопоставления результатов
анализа существующего инструмента с мировыми аналогами.
3.2.1 Рельсорезные станки
Рисунок 3.15 - схема устройство рельсорезного станка
РМ-5Г
Таблица 3.2.1
Техническая характеристика рельсорезного станока РМ5ГМ
|
Отличительные особенности
станка
|
Ножовочный с избирательным
гидроприжимом
|
|
Рельсы, для которых
предназначен станок
|
Всех типов, кроме
объемнозакаленных
|
|
Количество розеток для
подключения второй арматуры
|
1
|
|
Инструмент
|
Ножовочное полотно 400 и
450 мм
|
|
Стойкость инструмента,
количество резов
|
5
|
|
Время резания рельса Р65,
мин
|
11
|
|
Тип приводного двигателя
|
Трехфазный асинхронный
электродвигатель (220 В, 50 Гц)
|
|
Мощность, кВт
|
1,5
|
|
Частота вращения вала
двигателя, об/мин
|
1400
|
|
Габаритные размеры станка,
м
|
1,47x0,505x0,46
|
|
Масса, кг
|
90
|
Таблица 3.2.2 - техническая характеристика рельсорезного станока РМК-М
|
Отличительные особенности
станка
|
Абразивно-отрезной, с
выбором траектории резания
|
|
Рельсы, для которых
предназначен станок
|
Всех типов, кроме
объемнозакаленных
|
|
Инструмент
|
Отрезной круг: 350x3,5x32
мм, 80 м/с
|
|
Время резания рельса Р65,
мин
|
3
|
|
Тип приводного двигателя
|
Бензодвигатель
"Урал-2Т Электрон"
|
|
Мощность, кВт
|
3,7
|
|
Габаритные размеры станка,
м
|
780x560x470
|
|
Масса, кг
|
35
|
Таблица 3.2.3 Техническая характеристика рельсорезного станока РА-2
|
Отличительные особенности
станка
|
Абразивно-отрезной с
жесткой схемой резания
|
|
Рельсы, для которых
предназначен станок
|
Всех типов, включая
объемнозакаленные
|
|
Инструмент
|
Отрезной круг 400x4x32 мм
|
|
Стойкость инструмента,
количество резов
|
3
|
|
Время резания рельса Р65,
мин
|
1
|
|
Номинальная частота
вращения шпинделя, об/мин
|
3280
|
|
Тип приводного двигателя
|
Трехфазный асинхронный
электродвигатель 4A100L2У3 (220/380 В, 50 Гц)
|
|
Мощность, кВт
|
5,5
|
|
Частота вращения вала
двигателя, об/мин
|
2880
|
|
Габаритные размеры станка,
м
|
1,06x0,6x1,03 (без тележки)
|
|
Масса, кг
|
83 (без тележки)
|
Таблица 3.2.4 - техническая характеристика рельсорезного станка
"Partner"
|
Инструмент
|
Ножовочное полотно 400 и
450 мм
|
|
Диаметр
|
350 мм (14’’), 400 мм
(16’’)
|
|
Глубина резания
|
125 мм (5’’), 145 мм (6’’)
|
|
Двигатель
|
с воздушным охлаждением,
двухтактный
|
|
Рабочий объем
|
119см3
|
|
Мощность
|
5,8 кВт
|
|
Габаритные размеры станка,
м
|
1,47x0,505x0,46
|
|
Масса без топлива и
режущего диска, но включая приспособление RA 10
|
20,5 кг (14’’), 21,2 кг
(16’’)
|
Таблица 3.2.5 Техническая характеристика рельсорезного станка РР 80
|
Отличительные особенности
станка
|
Абразивно-отрезной,
позволяет выбирать предпочтительную схему резания
|
|
Рельсы, для которых
предназначен станок
|
Всех типов, включая
объемнозакаленные
|
|
Инструмент
|
Отрезной круг 400x4x32 мм
|
|
Стойкость инструмента,
количество резов
|
4
|
|
Время резания рельса Р65,
мин
|
2
|
|
Номинальная частота
вращения шпинделя, об/мин
|
3870
|
|
Тип приводного двигателя
|
Внутреннего сгорания
"Stihl TS 760"
|
|
Мощность, кВт
|
4,8 после 5-15 заправок
бака
|
|
Габаритные размеры станка,
м
|
0,74x0,735x0,515
|
|
Масса, кг
|
31
|
.2.2 Рельсосверлильные станки
Таблица 3.2.6 Техническая характеристика рельсосверлильного станка СТР-1
|
Отличительные особенности
станка
|
Автоматическая подача и
отключение после завершения сверления и возврата шпинделя в исходное
положение
|
|
Тип двигателя
|
Электродвигатель, по заказу
двигатель внутреннего сгорания
|
|
Мощность двигателя, кВт
|
1,5
|
|
Тип рельсов, для работы с
которыми используется станок
|
Р50, Р65, Р75, включая
объемно-закаленные Р43, Р50, Р65, Р75, исключая
|
|
Диаметр сверления, мм
|
36
|
|
Устанавливаемый инструмент
|
Сверла с крепящимися
винтами сменными многогранными твердосплавными пластинами
|
|
Способ установки
инструмента
|
Непосредственно в шпинделе
станка с передней стороны до установки станка на рельс
|
|
Диаметр присоединительного
отверстия шпинделя или быстросменных переходных втулок, мм
|
32
|
|
Частота вращения шпинделя,
об/мин
|
270
|
|
Подача, мм/об
|
0,06
|
|
Ход шпинделя, мм
|
29
|
|
Время сверления рельса Р65,
мин
|
2(цикл)
|
|
Габаритные размеры, м 1
|
0,735x0,32x0.25
|
|
Масса, кг
|
40
|
Таблица 3.2.7 - Техническая характеристика рельсосверлильного станка
РСМ1М
|
Отличительные особенности
станка
|
Новая технология,
обеспечивающая: 1. сверление отверстия; 3. одновременное двустороннее снятие
фасок; 2. упрочнение отверстия раскаткой
|
|
Тип двигателя
|
Электродвигатель, по заказу
двигатель внутреннего сгорания
|
|
Мощность двигателя, кВт
|
1,7
|
|
Тип рельсов, для работы с
которыми используется станок
|
Р43, Р50, Р65, Р75, включая
объемнозакаленные
|
|
Диаметр сверления, мм
|
36
|
|
Размер двусторонней фаски,
мм
|
36
|
|
Технические характеристики
|
|
|
Устанавливаемый инструмент
|
Сверла с твердосплавной
напаянной пластиной; стандартные сверла из быстрорежущей стали
|
|
Способ установки
инструмента
|
Непосредственно в шпинделе
станка с передней стороны до установки станка на рельс
|
|
Внутренний конус Морзе
шпинделя или быстросменных переходных втулок
|
4
|
|
Частота вращения шпинделя,
об/мин
|
175
|
|
Подача, мм/об
|
0,087
|
|
Ход шпинделя, мм
|
ПО
|
|
Время сверления рельса Р65,
мин
|
2
|
|
Габаритные размеры, м 1
|
0,9x0,48x0,41
|
|
Масса, кг
|
58
|
Таблица 3.2.8 - Техническая характеристика рельсосверлильного станка
СТР-2
|
Тип двигателя
|
Электродвигатель, по заказу
двигатель внутреннего сгорания
|
|
Мощность двигателя, кВт
|
1,7
|
|
Тип рельсов, для работы с
которыми используется станок
|
Р50,Р65, Р75, включая
объемнозакаленные
|
|
Диаметр сверления, мм
|
36
|
|
Размер двусторонней фаски,
мм
|
(1,5-2,0)х45°
|
|
Устанавливаемый инструмент
|
Сверла с крепящимися
винтами сменными многогранными твердосплавными пластинами; сверла с
твердосплавной напаянной пластиной; стандартные сверла из быстрорежущей стали
|
|
Способ установки
инструмента
|
В быстросменных переходных
втулках, с тыльной стороны шпинделя, не снимая станок с рельса
|
|
Диаметр присоединительного
отверстия шпинделя или быстросменных переходных втулок, мм
|
32
|
|
Частота вращения шпинделя,
об/мин
|
180/360
|
|
Подача, мм/об
|
0,089
|
|
Ход шпинделя, мм
|
31
|
|
Время сверления рельса Р65,
мин
|
2/1,0 (цикл)
|
|
Габаритные размеры, м 1
|
0,63x0,64x0,32
|
|
Масса, кг
|
55
|
Таблица 3.2.9 - техническая характеристика
рельсосверлильного станка PRO-36R
|
Двигатель
|
HONDA GXH 50
|
|
Мощность двигателя, кВт
|
1,5
|
|
Объём двигателя, см3
|
49,4
|
|
Объём топливного бака, л
|
0,5
|
|
Максимальный крутящий
момент
|
4500
|
|
Номинальные обороты на
холостом ходу, об/мин
|
265
|
|
Номинальные обороты под
нагрузкой, об/мин
|
180
|
|
Максимальный диаметр
отверстия, мм
|
36
|
|
Максимальная глубина, мм
|
50
|
|
Инструмент
|
Кольцевые фрезы с
твердосплавными пластинами, сверла
|
|
Крепление инструмента, мм
|
Weldon (19,05)
|
|
Система охлаждения
|
Интегрированная, СОЖ
|
|
Габаритные размеры, мм
|
435x345x480
|
|
Масса, кг
|
21,5
|
3.2.3 Рельсошлифовальные станки
Таблица 3.2.10 - техническая характеристика
рельсошлифовального станка МРШ3
|
Трехфазный
электродвигатель, 220В, 50 Гц, или бензодвигатель, мощность на валу при 2800
об/мин, кВт
|
0,4
|
|
Абразивный круг:
|
|
|
диаметр, мм
|
200
|
|
макс. допустимая окружная
скорость, м/с
|
40
|
|
Габаритные размеры станка,
мм
|
480х247х214
|
|
Масса, кг
|
11,5
|
Таблица 3.2.10 - техническая характеристика
рельсошлифовальной машины ШПШ
|
Трехфазный
электродвигатель, 220В, 50 Гц, мощность, кВт
|
1,7
|
|
Шлифовальный круг:
|
|
|
диаметр, мм
|
250
|
|
высота, мм
|
16
|
|
максимальная окружная
скорость, м/с
|
40
|
|
Габаритные размеры станка,
мм
|
600х800х900
|
|
Масса, кг
|
55
|
Таблица 3.2.12 Техническая характеристика
рельсошлифовального станка СЧРА
|
Электродвигатель
трехфазный, 220В, 50 Гц, мощность, кВт
|
1,7
|
|
Тип обрабатываемых рельсов
|
Р50, Р65, Р75
|
|
Шлифовальный круг
|
23
|
|
наружный диаметр, мм
|
150
|
|
внутренний диаметр, мм
|
51
|
|
высота, мм
|
63
|
|
Окружная скорость, м/с
|
40
|
|
Подача шлифовального круга
|
|
|
за один поворот маховика,
мм
|
1
|
|
полная, мм
|
60
|
|
Габаритные размеры станка,
мм
|
1120x1760x870
|
|
Масса, кг
|
62
|
Таблица 3.2.13 - техническая характеристика
рельсошлифовального станка СЧР
|
Электродвигатель
трехфазный, 220В, 50 Гц, мощность, кВт
|
1,7
|
|
Тип обрабатываемых рельсов
|
Р50, Р65, Р75
|
|
Шлифовальный круг
|
23
|
|
наружный диаметр, мм
|
150
|
|
внутренний диаметр, мм
|
51
|
|
высота, мм
|
63
|
|
Окружная скорость, м/с
|
40
|
|
Подача шлифовального круга
|
|
|
за один поворот маховика,
мм
|
1
|
|
полная, мм
|
|
Габаритные размеры станка,
мм
|
1120x1760x870
|
|
Масса, кг
|
95
|
Таблица 3.2.14 - техническая характеристика
рельсошлифовального станка 2152
|
Трехфазный электродвигатель,
220В, 50 Гц, или бензодвигатель, мощность на валу при 2800 об/мин, кВт
|
1,7
|
|
Абразивный круг:
|
|
|
диаметр, мм
|
250
|
|
макс. допустимая окружная
скорость, м/с
|
40
|
|
Габаритные размеры станка,
мм
|
1475х1780х1015
|
|
Масса, кг
|
58
|
3.2.4 Шуруповёрты
Таблица 3.2.15 - техническая характеристика
шуруповёрта ШВ2М
|
Приводной двигатель
|
трехфазный асинхронный (220
В; 5-7 А; 50 Гц; 1,7 кВт)
|
|
Номинальный режим работы,
ПВ, %
|
60
|
|
Частота вращения шпинделя,
об/мин:при
|
|
|
завертывании или
отвертывании
|
45; 250
|
|
при сверлении
|
980
|
|
Пределы регулирования
крутящего момента, Нм
|
120-450
|
|
Время завертывания шурупов,
с, в шпалы из дерева
|
|
|
мягких пород
|
5
|
|
твердых пород
|
11
|
|
Время завертывания гаек, с
|
4
|
|
Время сверления отверстий,
с, в шпалах из дерева
|
|
|
мягких пород
|
2-4
|
|
твердых пород
|
11
|
|
Габаритные размеры в
транспортном положении, м. не более
|
1,17x1,77x0,66
|
|
Масса комплекта (без масла
в редукторе), кг
|
63
|
.2.5 Ключи путевые
Таблица 3.2.16 - техническая характеристика
шурупогаечного ключа КШГ-1
|
Приводной двигатель
|
Трехфазный асинхронный (220
В, 50 Гц)
|
|
Номинальная мощность, кВт
|
3
|
|
Номинальная частота
вращения вала при максимальном вращающем моменте, об/мин
|
1500
|
|
Максимальный вращающий
момент, Нм, при передаче:
|
|
|
быстроходной
|
250
|
|
тихоходной
|
1100
|
|
Номинальная частота
вращения шпинделя, об/мин, при передаче
|
100
|
|
быстроходной
|
20
|
|
тихоходной
|
|
|
Габаритные размеры, м
|
1,7x0,61x0,84
|
|
Масса (сухая, без сменных
частей), кг, не более
|
110
|
Таблица 3.2.17 - техническая характеристика путевого
ключа КПУ
|
Приводной
двигательтрехфазный асинхронный (220 В; 50 Гц; 0,64 кВт)
|
|
|
Передаточное число
редуктора
|
4,25
|
|
Частота вращения головки
ключа, об/мин
|
560
|
|
Число ударов за 1 мин
|
1320
|
|
Время отвертывания или
завертывания гаек, с, не более
|
|
|
Крутящий момент на гайке,
Нм, при отвертывании или завертывании болта:
|
|
|
Стыкового
|
600
|
|
Клеммного
|
200
|
|
Закладного
|
150
|
|
Максимальный диаметр сверла
при сверлении шпал, мм
|
16
|
|
Габаритные размеры в
транспортном положении, м. не более
|
0.81x0,65x0,82
|
|
Масса, кг
|
27
|
.2.6 Костылезабивщик
Рисунок 3.32 - Схема костылезабивщика ЭКВК-4М
Таблица 3.2.18 - техническая характеристика
костылезабивщика ЭКВК-4М
|
Параметр
|
Костылезабивщик ЭКВК-4М
|
|
Тип электродвигателя
|
Асинхронный
короткозамкнутый, закрытого исполнения
|
|
Мощность номинальная, кВт
|
1,2
|
|
Напряжение, В
|
220
|
|
Частота, Гц
|
50
|
|
Частота вращения ротора,
об/мин
|
2800
|
|
Номинальный коэффициент
мощности
|
0,82
|
|
Время забивки костыля, с:
|
3
|
|
Масса комплекса (без масла
в редукторе, кабеля и кабельной вилки), кг
|
18
|
.2.7 Костылевыдёргиватель
Таблица 3.2.19 - техническая характеристика
костылезабивщика КВД-4
|
Приводной двигатель
|
трехфазный асинхронный (220
В; 1,8 А; 50 Гц)
|
|
Номинальная мощность, кВт
|
0,4
|
|
Насос
|
масляный одноплунжерный
|
|
Диаметр плунжера, мм
|
13
|
|
Ход плунжера, мм
|
9
|
|
Расчетное усилие
выдергивания костыля, кН (тс)
|
50(5)
|
|
Время выдергивания костыля
длиной 160 мм из шпалы, с
|
5
|
|
Габаритные размеры, м
|
0,31x0,435х0,795
|
|
Масса без кабеля и
кабельной вилки, кг
|
20
|
.2.8 Шпалоподбойка
Таблица 3.2.20 - техническая характеристика
шпалоподбойки ШПВЭ-2
|
Вынуждающая сила дебаланса,
кН (кгс)
|
2,6 (260)
|
|
Род тока
|
трехфазный; переменный
|
|
Номинальная мощность, кВт
|
0,4
|
|
Номинальное напряжение, В
|
220
|
|
Номинальная частота
переменного тока, Гц
|
50
|
|
Номинальная сила тока, А
|
1,3
|
|
Номинальный режим работы, %
|
S3-70
|
|
Частота вращения вала, 1/с
(1/мин)
|
47 (2800)
|
|
Габаритные размеры, мм
|
|
|
длина (максимальная)
|
1250
|
|
ширина
|
200
|
|
высота
|
595
|
3.2.9 Электросверлилка
· Двухцилиндровый бензиновый двигатель.
· Объем двигателя 27,7 см.куб., мощность 0,8 кВт. Вес - 5 кг.
Таблица 3.2.21 - техническая характеристика
бензомоторная дрель ECHO EDR-2400
|
Объем двигателя (см3)
|
23,6
|
|
Вес (кг)*
|
84,7
|
|
Объем топливного бака (л)
|
0,40
|
|
Передаточное число
|
17,1
|
|
Реверс
|
18,6
|
3.2.10 Домкраты
Таблица 3.2.22 - техническая характеристика домкрата ДПГ 10-200 (низкий
захват)
|
Грузоподъемность, т
|
10
|
|
Максимальная высота
подъема, м
|
0,45
|
|
Усилие развиваемое
домкратом, Тс
|
10%
|
|
Рабочий ход, мм
|
200
|
|
Масса, кг
|
25
|
|
Габаритные размеры, м
|
0,38х0,19х0,34
|
Таблица 3.2.23 - техническая характеристика домкрата ДПГ 10-200 (общий
захват)
|
Грузоподъемность, т
|
10
|
|
Максимальная высота
подъема, м
|
0,2
|
|
Усилие на рукояти насоса, Н
|
250
|
|
Масса, кг
|
19,9
|
|
Габаритные размеры, м
|
0,3*0,21*0,58
|
Таблица 3.2.24 - техническая характеристика домкрата ДГ-25
|
Грузоподъемность, т
|
25
|
|
Рабочий ход, мм
|
150
|
|
Масса, кг
|
23
|
|
Габаритные размеры, м
|
235х140х300
|
Таблица 3.2.25 - техническая характеристика домкрата ДПГ-12
|
Грузоподъемность, т
|
10
|
|
Максимальная высота
подъема, м
|
0,3
|
|
Наибольшее усилие на
рукоятке гидронасоса, Н (кгс)
|
147 (15)
|
|
Масса, кг
|
26
|
|
Габаритные размеры, м
|
0,34*0,17*0,61
|
Таблица 3.2.26 - техническая характеристика домкрата ДГ-50
|
Грузоподъемность, т
|
50
|
|
Рабочий ход, мм
|
100
|
|
Масса, кг
|
46
|
|
Габаритные размеры, м
|
536х262х200
|
Таблица 3.2.27 - техническая характеристика домкрата ДГ-8М
|
Грузоподъемность, т (на
головку)8
|
|
|
Грузоподъемность, т (на
лапу)
|
8
|
|
Усилие на рукоятке, Н (кгс)
|
200 (20)
|
|
Высота от подошвы до
грузовой лапы, мм
|
90
|
|
Рабочий ход, мм
|
350
|
|
Габаритные размеры, мм
|
300х350х710
|
|
Масса, кг
|
37
|
.2.11 Рихтовщики
Таблица 3.2.28 - техническая характеристика рихтовщика РГУ1М
|
Количество гидроцилиндров
|
4
|
|
Усилие на рукояти насоса,
кН
|
180
|
|
Тип приводного двигателя
|
ДВС "Дружба",
"Электрон
|
|
Мощность приводного
двигателя, кВт
|
2,94
|
|
Тип гидронасоса
|
НШ-10В-ЗЛ
|
|
Масса, кг
|
80
|
|
Габаритные размеры, м
|
0,92х0,48х0,87
|
Таблица 3.2.29 - техническая характеристика рихтовщика ГР-16
|
Распорная сила, кН
|
80
|
|
Ход штока, м
|
0,1
|
|
Усилие на рукояти насоса,
кН
|
155
|
|
Масса, кг
|
20
|
|
Габаритные размеры, м
|
0,525х0,17х0,35
|
Таблица 3.2.30 - техническая характеристика рихтовщика ГР-14
|
Распорная сила, кН
|
58,8
|
|
Ход штока, м
|
0,1
|
|
Усилие на рукояти насоса,
кН
|
147
|
|
Масса, кг
|
16
|
|
Габаритные размеры, м
|
0,55х0,17х0,4
|
Таблица 3.2.31 - техническая характеристика рихтовщика ГР-14Б
|
Распорная сила, кН
|
58,8
|
|
Ход штока, м
|
0,1
|
|
Усилие на рукояти насоса,
кН
|
177
|
|
Масса, кг
|
14
|
|
Габаритные размеры, м
|
0,55х0,17
|
Таблица 3.2.32 - техническая характеристика рихтовщика РПВ-10
|
Усилие рихтовки, тс
|
10
|
|
Рабочий ход, мм
|
100
|
|
Масса, кг
|
12
|
.2.12 Разгонщики стыковых зазоров рельс
Таблица 3.2.33 - техническая характеристика разгонщика Р-25
|
Распорное усилие, кН
|
245
|
|
Величина раздвижки (без
перехвата), м
|
0,1
|
|
Величина раздвижки (с
перехватом), м
|
0,2
|
|
Усилие на рукояти привода
гидронасоса, Н
|
118
|
|
Масса, кг
|
50
|
|
Габаритные размеры, м
|
0,6х0,27х0,325
|
Таблица 3.2.34 - техническая характеристика разгонщика РРА04
|
Распорное усилие, кН
|
222
|
|
Максимальная величина
разгонки, м
|
0,1
|
|
Габариты, м
|
0,25х0,76х0,51
|
|
Масса, кг
|
34
|
Таблица 3.2.35 - техническая характеристика разгонщика Р-25-2
|
Распорное усилие, кН
|
245
|
|
Величина раздвижки (без
перехвата), м
|
0,1
|
|
Величина раздвижки (с
перехватом), м
|
0,2
|
|
Усилие на рукояти привода
гидронасоса, Н
|
118
|
|
Масса, кг
|
70
|
|
Габаритные размеры, м
|
1,2х0,39х0,6
|
Таблица 3.2.36 - техническая характеристика разгонщика Р-3-23
|
Усилие распорное, кгс
|
23000
|
|
Рабочее давление, МПа
|
45
|
|
Максимальная величина
разгонки, мм
|
150
|
|
Усилие на рукоятке насоса,
кгс
|
25
|
|
Обслуживающий персонал, чел
|
2
|
|
Масса, кг
|
40
|
|
Габаритные размеры, м
|
840х260х305
|
Таблица 3.2.37 - техническая характеристика разгонщика РН04
|
Распорное усилие, кН
|
255
|
|
Величина раздвижки (без
перехвата), м
|
0,1
|
147
|
|
Масса, кг
|
60
|
|
Габаритные размеры, м
|
0,8х0,28х0,56
|
Таблица 3.2.38 - техническая характеристика разгонщика ШПГР-10
|
Развиваемое усилие (по оси
гидроцилиндров), тс
|
12,5
|
|
Развиваемое усилие
(приложенное к шпалам), тс
|
10
|
|
Рабочий ход, мм
|
100
|
|
Габаритные размеры, мм
|
560х265х675
|
|
Масса, кг
|
45
|
.2.13 Энергосиловое оборудование
Таблица 3.2.39 - техническая характеристика электроагрегаты дизельные
АД4-Т230ВМ2, АД4-Т400ВМ1
|
Электростанция
|
АД4-Т230ВМ1
|
АД4-Т400ВМ1
|
|
|
Номинальная мощность, кВт
|
4
|
4
|
|
|
Напряжение, В
|
230
|
400
|
|
|
Сила тока, А
|
12,0
|
7,5
|
|
|
Частота тока, Гц
|
50
|
50
|
|
|
Марка двигателя
|
МД-8
|
Т-450Д
|
|
Генератор
|
синхронный
|
синхронный
|
|
|
Частота вращения, об/мин
|
1500
|
1500
|
|
|
Расход топлива при
номинальной мощности, кг/кВтч
|
1,57
|
1,57
|
|
|
Емкость, л: -топливного
бака -системы смазки
|
7,5 3
|
7,5 3
|
|
|
Габаритные размеры, мм:
|
800х400х600
|
845х515х640
|
|
|
Масса, кг
|
112
|
150
|
|
Таблица 3.2.39 - техническая характеристика электроагрегата бензинового
АБ-2-0/230
|
Параметры:
|
АБ-2- 0/230
|
|
Номинальная мощность, кВт
|
2
|
|
Напряжение, В
|
230
|
|
Сила тока, А
|
10,9
|
|
Частота тока, Гц
|
50
|
|
Марка двигателя
|
УД-15Г
|
|
Генератор
|
ГАБ-2-0/230М
|
|
Частота вращения, об/мин
|
3000
|
|
Расход топлива при
номинальной мощности, л/ч
|
1,4
|
|
Емкость, л: -топливного
бака -системы смазки
|
13 1,5
|
|
Габаритные размеры, мм:
|
934х560х730
|
|
Масса, кг
|
200
|
.3 Сравнение результатов анализа
На данном этапе выполнения дипломного проектирования выполним сравнительную
оценку тактико - технических характеристик механизированного путевого
инструмента, которыми комплектуется ПИРП для путевых работ на данное время с
инструментами, рассмотренными в ходе проведения анализа.
Сравнив рельсорезные станки (приложение А) по технико-эксплуатационным
параметрам, наиболее приемлемым считаю выбор рельсорезного станка РР-80,
который имеет прогрессивную технологию резания рельса с использованием
абразивного диска, что повышает его производительность по сравнению с
имеющимися на вооружении железнодорожных подразделений транспортных войск РМ-3
в четыре раза. Масса станка в 3 раза меньше РМ-3, тем самым повышается
социальный эффект, т.е. улучшается условия труда.
Сравнив рельсосверлильные станки (приложение Б) по их
технико-эксплуатационным параметрам, наиболее приемлемым считаю выбор
рельсосверлильного станка PRO-36R, который позволяет использовать в
качестве режущего инструмента кольцевые фрезы с твёрдосплавными пластинами и
свёрла.
Производительность РRO-36R в сравнении с имеющимися на
вооружении железнодорожных подразделений транспортных войск сверлильного станка
1024 В в 1,5 выше, кроме того наличие верхнего захвата за головку рельса даёт
возможность быстрой установки и снятия станка.
Сравнив указанные в приложении В рельсошлифовальные
станки по их качественным параметрам и уровню цен, наиболее приемлемым считаем
выбор рельсошлифовалки МРШ-3. Неприхотливая, простая, ручная надёжная
шлифовальная машина, массой всего 11,5 кг может быть использована не только для
зачистки наплавленных концов рельсов, крестовин и остряков стрелочных
переводов, но и для выполнения различных работ по зачистке и заточке.
Цена на рельсошлифовалку МРШ-3 самая низкая из представленных образцов.
Сравнив указанный в приложении Г путевой инструмент для работы со
скреплениями по качественным параметрам и уровню цен, наиболее приемлемым
считаем выбор ключа путевого КПУ, шуруповёрта ШВ-2М, костылезабивщика ЭКВК - 4М
и костылевыдёргивателя КВД-4.
По своим качественным параметрам перечисленный выше путевой инструмент
для работы со скреплениями превосходит имеющиеся на вооружении железнодорожных
подразделений транспортных войск аналоги путевого инструмента и является
оптимальным для включения его в комплект механизированного инструмента.
Сравнив указанные в приложении Д домкраты по качественным параметрам и
уровню цен, наиболее приемлемым считаем выбор домкрата реечного ДР-8М и
домкрата ДПГ-10 (общий захват).
Домкрат реечный ДР-8М неприхотлив в любых условиях
эксплуатации благодаря использованию зубчатого зацепления с храповым
предохранительным механизмом.
Домкрат ДПГ-10 (общий захват) имеет меньшую массу и
стоимость по сравнению с аналогичными образцами. Кроме того, гидравлический
домкрат ДПГ-10 улучшает условия ручного труда (требуется значительно меньшее
усилие для приведения его в действие).
Сравнив указанные в приложении Е рихтовщики железнодорожного пути и
стрелочных переводов по качественным параметрам и уровню цен, наиболее
приемлемым считаем выбор рихтовщика винтового РПВ-10.
В отличие от гидравлических разгонщиков железнодорожного пути и
стрелочных переводов данный образец прост в эксплуатации и обслуживании.
В сравнении с имеющимся на вооружении железнодорожных подразделений
транспортных войск рихтовщиком ГР-12В имеет массу в 1,5 раза меньше, при этом
цена РПВ-10 почти в 2 раза ниже, чем цена ГР-12В, что является основополагающим
при выборе данного инструмента при включении его в комплект механизированного
инструмента.
Сравнение нового и базового комплектов механизированного инструмента для
механизации работ при строительстве, реконструкции и ремонте железнодорожных
путей по военно-техническим требованиям (производительность, универсальность,
эргономичность, транспортабельность, габаритность) сведём в приложение Ж.
Из таблицы видно, что разработанный комплект механизированного
инструмента превосходит по своим показателям базовый комплект. Каждый из
инструментов нового комплекта в отдельности выше по производительности своего
аналога базового комплекта, стоящего на вооружении железнодорожных
подразделений транспортных войск. Новые образцы имеют особенности улучшающие
условия труда.
Инструмент нового комплекта универсален, так входящая в состав
рельсошлифовалка МРШ-3 может быть использована не только для зачистки
наплавленных концов рельсов, крестовин и остряков стрелочных переводов, но и
для выполнения различных работ по зачистке и заточке.
Инструмент предлагаемого комплекта является транспортабельным (масса
каждого из образцов ниже массы действующего инструмента).
На современном этапе при описании инструмента во внимание необходимо
принимать такие показатели как эргономичность и энергоемкость.
Эргономичность - это эффективность инструмента производства. Под
эффективностью при этом понимается наибольшая производительность при наименьшей
вероятности ошибки.
Эргономичность подразумевает простоту освоения и дальнейшего
использования инструмента человеком. Для характеристики эргономичности
применяются некоторые показатели. Они характеризуют удобство и комфорт
использования его в производительных и бытовых процессах системы
«человек-предмет-среда». В эту группу показателей входят подгруппы
гигиенических, антропометрических, психологических и психофизических
показателей.
Гигиенические показатели - это показатели качества инструмента и
элементов его конструкции, которые при эксплуатации влияют на организм человека
и его работоспособность: уровень освещенности, вентилируемости, температуры,
влажности, гигроскопичности, запыленности, шума, вибрации и т.д.
инструментальный
раздаточный путевой вооружение
4. Разработка рекомендаций по оптимизации комплектации ПИРП применительно
к штату подразделений (взвода)
На основании проведённого анализа по комплектации ПИРП существующими
средствами механизации, отечественными и зарубежными производителями
механизированного путевого инструмента, составим перечень инструмента, который
будет входить в состав нового ПИРП.
Таблица 4.1 - Перечень инструмента, входящего в новый состав ПИРП
|
№ п/п
|
Наименование
|
Количество
|
|
1
|
Электроагрегат трехфазный
мощностью 4 кВт. 230 В
|
2
|
|
2
|
Станок рельсорезный РР-80
|
2
|
|
3
|
Станок рельсосверлильный PRO-36R
|
2
|
|
4
|
Станок рельсошлифовальный
МРШ-3
|
1
|
|
5
|
Костылезабивщик ЭКВК-4П
|
2
|
|
6
|
Шпалоподбойка ШПВЭ-2
|
12
|
|
7
|
Костылевыдергиватель КВД-4
|
2
|
|
8
|
Ключ путевой электрический
КПУ
|
1
|
|
9
|
Шуруповерт ШВ-2М
|
1
|
|
10
|
Бензосверлилка Stihl
|
2
|
|
11
|
Разгонщик стыковых зазоров
рельс ШПГР-10
|
2
|
|
12
|
Рихтовщик РПВ-10
|
8
|
|
13
|
Лом лапчатый
|
8
|
|
14
|
Лом остроконечный
|
6
|
|
15
|
Молоток костыльный ручной
|
6
|
|
16
|
Ключи гаечные путевые
Р43.50.65
|
6
|
|
17
|
Кувалда 1,5 - 2 кг
|
2
|
|
18
|
Шаблон путевой рабочий
|
4
|
|
19
|
Шаблон путевой контрольный
ЦУП
|
2
|
|
20
|
Прибор контроля рихтовки
пути ПРП, ПРПМ
|
1
|
|
21
|
Клещи для переноски рельс
|
10
|
|
22
|
Клещи для переноски шпал
|
10
|
|
23
|
Тележка путевая
однорельсовая
|
2
|
|
24
|
Домкраты путевые
ДР-8,ДПГ-10(оз)
|
8/8
|
|
25
|
Лопаты штыковые
|
10
|
|
26
|
Лопаты совковые
|
10
|
|
27
|
Вилы для щебня
|
10
|
|
28
|
Рулетка 5 м
|
2
|
|
29
|
Рулетка 30 м
|
2
|
|
30
|
Теодолит, нивелир
|
1/1
|
|
31
|
Кабельная сеть с
соединительной коробкой
|
2 к-та
|
|
32
|
Сигнальные жилеты
|
30
|
Необходимое количество электроэнергии будем выбирать из условия, что
одновременно будет подключен весь комплект электрифицированного инструмента.
Произведём расчёт общего энергопотребления, при включении в сеть всего
инструмента одновременно:
N = NМРШ-3 + NЭКВК-4П 2 + NШПВЭ-2
ˣ 12 + NКВД-4 2 + NКПУ +
NШВ-2М = 0,4 + 1,2 2 + 0,4 12 + 0,4 2
+0,6 + 1,7 = 10,7 кВт.
На основе произведённых расчётов, предлагаю для включения в состав ПИРП
электростанции ЭС-5,5, мощностью 5,5 кВт гомельского мотороремонтного завода
В новый комплект ПИРП считаю необходимым включить набор инструмента
электрика. При действиях взвода в отрыве от основного подразделения, и
невозможности своевременного ремонта электро - бензоинструмента, существует
целесообразность замены простейших деталей инструмента, вышедшего из строя.
5. Расчёт экономического эффекта от предлагаемого варианта оптимизации
комплектации ПИРП применительно к штату подразделений (взвода)
Таблица 5.1 - показатели уровня цен по текущей комплектации ПИРП для
путевых работ
|
№ п/п
|
Наименование
|
Количество
|
Цена за ед., у.е.
|
Цена в комплекте
|
|
1
|
Электроагрегат трехфазный мощностью
4 кВт. 230 В
|
4
|
1615
|
6460
|
|
2
|
Станок рельсорезный
|
2
|
2530
|
5060
|
|
3
|
Станок рельсосверлильный
|
2
|
900
|
1800
|
|
4
|
Станок рельсошлифовальный
|
1
|
1000
|
1000
|
|
5
|
Костылезабивщик
|
4
|
500
|
2000
|
|
6
|
Шпалоподбойка
|
20
|
240
|
4800
|
|
7
|
Костылевыдергиватель
|
2
|
328
|
656
|
|
8
|
Ключ путевой электрический
|
2
|
600
|
1200
|
|
9
|
Шуруповерт
|
2
|
1070
|
2140
|
|
10
|
Электросверлилка
|
2
|
600
|
1200
|
|
11
|
Разгонщик стыковых зазоров
рельс
|
2
|
815
|
1630
|
|
12
|
Рихтовщик
|
12
|
445
|
5340
|
|
13
|
Лом лапчатый
|
16
|
26
|
416
|
|
14
|
Лом остроконечный
|
12
|
15
|
180
|
|
15
|
Молоток костыльный ручной
|
14
|
4
|
56
|
|
16
|
Ключи гаечные путевые
|
12
|
30
|
360
|
|
17
|
Кувалда 1,5 - 2 кг
|
4
|
17
|
68
|
|
18
|
Шаблон путевой рабочий
|
6
|
367
|
2200
|
|
19
|
Шаблон путевой контрольный
ЦУП
|
4
|
283
|
1130
|
|
20
|
Прибор контроля рихтовки
пути ПРП, ПРПМ
|
2
|
3500
|
7000
|
|
21
|
Клещи для переноски рельс
|
12
|
20
|
240
|
|
22
|
Клещи для переноски шпал
|
24
|
20
|
480
|
|
23
|
Тележка путевая
однорельсовая
|
4
|
197
|
788
|
|
24
|
Домкраты путевые
|
28
|
475+225
|
9800
|
|
25
|
Лопаты штыковые
|
20
|
5
|
100
|
|
26
|
Лопаты совковые
|
20
|
5
|
100
|
|
27
|
Вилы для щебня
|
20
|
160
|
|
28
|
Термометр для измерения
температуры рельс
|
1
|
6
|
6
|
|
29
|
Металлические зазорники
|
2
|
3
|
6
|
|
30
|
Рулетка 5 м
|
2
|
5
|
10
|
|
31
|
Рулетка 10 м
|
1
|
6
|
6
|
|
32
|
Рулетка 30 м
|
2
|
8
|
16
|
|
33
|
Кабельная сеть с
соединительной коробкой
|
4
|
25
|
100
|
|
34
|
Сигнальные жилеты
|
120
|
6
|
720
|
|
35
|
Сигнальные флажки, рожок
(свисток)
|
12
|
10 (4 шт.)
|
30
|
|
36
|
Сигнальные путевые знаки
|
4
|
8
|
32
|
|
37
|
Кран козловой ручной для
смены и транспортировки рельс
|
2
|
1167
|
2334
|
|
Итого по всем
наименованиям:
|
59624 у.е.
|
Таблица 5.2. - показатели уровня цен по вновь введённой комплектации ПИРП
для путевых работ
|
№ п/п
|
Наименование
|
Кол-во
|
Цена за ед. у.е.
|
Цена в комплекте
|
|
1
|
Электроагрегат трехфазный
мощностью 5,5 кВт. 230 В
|
2
|
830
|
1660
|
|
2
|
Станок рельсорезный РР-80
|
2
|
2800
|
5600
|
|
3
|
Станок рельсосверлильный PRO-36R
|
2
|
3330
|
6660
|
|
4
|
Станок рельсошлифовальный
МРШ-3
|
1
|
195
|
195
|
|
5
|
Костылезабивщик ЭКВК-4П
|
2
|
833
|
1666
|
|
6
|
Шпалоподбойка ШПВЭ-2
|
12
|
317
|
3634
|
|
7
|
Костылевыдергиватель КВД-4
|
2
|
290
|
580
|
|
8
|
Ключ путевой электрический
КПУ
|
1
|
480
|
480
|
|
9
|
Шуруповерт ШВ-2М
|
1
|
980
|
980
|
|
10
|
Бензосверлилка Stihl
|
2
|
550
|
1100
|
|
11
|
Разгонщик стыковых зазоров
рельс ШПГР-10
|
2
|
465
|
930
|
|
12
|
Рихтовщик РПВ-10
|
8
|
260
|
2080
|
|
13
|
Лом лапчатый
|
8
|
26
|
208
|
|
14
|
Лом остроконечный
|
6
|
15
|
90
|
|
15
|
Молоток костыльный ручной
|
6
|
4
|
24
|
|
16
|
Ключи гаечные путевые
Р43.50.65
|
6
|
80
|
480
|
|
17
|
Кувалда 1,5 - 2 кг
|
2
|
17
|
34
|
|
18
|
Шаблон путевой рабочий
|
4
|
367
|
1468
|
|
19
|
Шаблон путевой контрольный
ЦУП
|
2
|
283
|
566
|
|
20
|
Прибор контроля рихтовки
пути ПРП, ПРПМ
|
1
|
3500
|
3500
|
|
21
|
Клещи для переноски рельс
|
10
|
20
|
200
|
|
22
|
Клещи для переноски шпал
|
10
|
20
|
200
|
|
23
|
Тележка путевая
однорельсовая
|
2
|
197
|
394
|
|
24
|
Домкраты путевые
ДР-8,ДПГ-10(оз)
|
8/8
|
240+245
|
3880
|
|
25
|
Лопаты штыковые
|
10
|
5
|
50
|
|
26
|
Лопаты совковые
|
10
|
5
|
50
|
|
27
|
Вилы для щебня
|
10
|
8
|
80
|
|
28
|
Рулетка 5 м
|
2
|
4
|
8
|
|
29
|
Рулетка 30 м
|
2
|
8
|
16
|
|
30
|
Теодолит, нивелир
|
1/1
|
250+320
|
570
|
|
21
|
Кабельная сеть с
соединительной коробкой
|
2 к-та
|
25
|
50
|
|
32
|
Сигнальные жилеты
|
30
|
6
|
180
|
|
33
|
Сигнальные флажки, рожок
свисток)
|
2 к-та
|
10
|
20
|
|
34
|
Сигнальные путевые знаки
|
4 к-та
|
8
|
32
|
|
35
|
Кран козловой ручной для
смены и транспортировки рельс (прибор для перетаскивания рельс ППРЗ-1000)
|
2
|
1167
|
2334
|
|
36
|
Набор инструмента электрика
|
1 к-кт
|
15
|
15
|
|
37
|
Верстак
|
1
|
1500
|
1500
|
|
Итого по всем
наименованиям:
|
37820
|
Полученный экономический эффект от перекомплектации ПИРП произведём по
следующей формуле:
П = 59624 - 37820 = 22196 у.е.
П = (59624 - 37820)/59624 100% = 36%
6.
Мероприятия защиты окружающей среды
При производстве строительных работ на объектах необходимо осуществлять
следующие мероприятия и работы по охране окружающей среды:
строительные машины и механизмы с двигателями внутреннего сгорания должны
быть отрегулированы и проверены на токсичность выхлопных газов.
выбрать наиболее оптимальную площадку для временного городка и временного
парка строительной и автомобильной техники;
предотвращать выброс в почву и прилежащие водоемы горюче-смазочных
материалов;
при обнаружении мазутных пятен на территории объекта следует производить
срезку загрязненного грунта и захоронение его в специальных ямах;
произвести рекультивацию земель освобождаемых после строительства
территорий временных городков и парка;
поддерживать территорию временных городков, строительных площадок в
чистоте, производить своевременную уборку отходов и мусора в специально
отведенном месте;
предотвратить повреждение сельскохозяйственных угодий и
древесно-кустарниковой растительности, при устройстве временных автодорог
запретить движение по неустановленным маршрутам.
Места для ремонта и обслуживания техники постоянно очищаются от мазутных
пятен, загрязненных участков почвы.
Места приема пищи личным составом оборудованы контейнером для сбора
отходов. Прием пищи произведён в строго установленном месте.
7.
Мероприятия охраны труда
7.1 Общие требования безопасности при производстве работ с
электроинструментом
.1.К самостоятельной работе с электроинструментом, ручными электрическими
машинами и переносными электрическими светильниками допускаются:
.1.1.лица мужского и женского пола, не моложе 18 лет и имеющие группу по
электробезопасности не ниже II;
.1.2. прошедшие обучение по электробезопасности, имеющие соответствующее
удостоверение и прошедшие стажировку (дублирование) безопасным способам ведения
работ в течение 2-х недель;
.1.3. прошедшие медицинское освидетельствование и допущенные по состоянию
здоровья к работе;
.1.4. прошедшие вводный инструктаж и первичный инструктаж на рабочем
месте.
.2. Работник обязан:
.2.1. соблюдать правила внутреннего трудового распорядка;
.2.2. не курить, не распивать спиртные напитки на рабочем месте;
.2.3. выполнять только порученную работу;
.2.4. изучать и совершенствовать методы безопасной работы;
.2.5. работать в спецодежде с применением средств индивидуальной защиты в
соответствии с установленными нормами;
.2.6. уметь оказывать первую доврачебную помощь пострадавшему при
несчастных случаях. Знать, где находится аптечка с набором медикаментов, и при
необходимости обеспечить доставку (сопровождение) пострадавшего в лечебное
учреждение;
.2.7. соблюдать правила санитарной и личной гигиены;
.2.8. не принимать пищу на рабочем месте.
.3. Во время работы на работника могут воздействовать опасные и вредные
производственные факторы:
.3.1. повышенное значение напряжения в электрической цепи, замыкание
которой может произойти через тело человека;
.3.2. нахождение работающего на высоте;
.3.3. движущиеся машины и механизмы, подвижные части производственного
оборудования;
.3.4. недостаточная освещенность.
.4. Работник несет персональную ответственность за нарушение требований
инструкции в соответствии с законодательством Республики Беларусь.
.1.2 Требования безопасности перед началом работы
.1.Перед началом работы работник должен:
.1.1. надеть и привести в порядок спецодежду так, чтобы она не имела
развевающихся и свисающих концов;
.1.2. подготовить для безопасной работы свое рабочее место;
.1.3.обеспечить достаточное освещение рабочего места, подготовить
защитные средства;
.1.4. следить за тем, чтобы руки, одежда и обувь были сухими и чистыми.
2.2. Перед началом работы с ручными электрическими машинами, переносными
светильниками и электроинструментом следует произвести проверку:
.2.1. комплектности и надежности крепления деталей;
.2.2. внешним осмотром исправности кабеля (шнура), его защитной трубки и
штепсельной вилки, целостности изоляционных деталей корпуса, рукоятки, крышек
щеткодержателей, наличия защитных кожухов и их исправность;
.2.3. четкости работы выключателя;
.2.4. работы на холостом ходу.
.3.Ручные электрические машины, переносные светильники, электроинструмент
и вспомогательное оборудование к ним, имеющие дефекты, выдавать для работы
запрещается.
.4. Контроль за сохранностью и исправным состоянием электроинструмента,
ручных электрических машин, переносных электрических светильников должен
осуществляться персоналом инструментальной кладовой и непосредственно
работником подразделения, получившим инструмент для выполнения работ.
.1.3 Требования безопасности при выполнении работы
.1. При пользовании электроинструментом или переносными электрическими
светильниками их провода или кабели должны по возможности подвешиваться.
Непосредственное соприкосновение проводов и кабелей с металлическими, горячими,
влажными и масляными поверхностями или предметами не допускается.
.2. Присоединение переносных электрических светильников на напряжение 12
В и 42 В к трансформатору осуществляется наглухо или при помощи штепсельной
вилки, в последнем случае на кожухе трансформатора со стороны 12 В и 42 В
должна быть предусмотрена специальная розетка, окрашенная в белый цвет, и иметь
соответствующую надпись 12 В и 42 В.
.3. В качестве источника питания для электроинструмента, ручных
электрических машин, переносных электрических светильников напряжением до 42 В
применяются понижающие трансформаторы, машинные преобразователи, генераторы,
аккумуляторные батареи.
.4. Во избежание поражения электрическим током запрещается питание
электроинструмента и переносных электрических светильников от
автотрансформатора.
.5. Электроинструмент должен удовлетворять следующим основным
требованиям:
.5.1. быстро включаться и отключаться от электросети (но не
самопроизвольно);
.5.2. быть безопасным в работе и иметь недоступные токоведущие части.
.6. Штепсельные соединения (розетки, вилки), применяющиеся на предприятии
должны быть окрашены в белый цвет для напряжения 12 В и 42 В, а на 220 В - в
красный цвет и иметь разную конструкцию, исключающую возможность взаимного
включения.
.7. Для присоединения к сети электроинструмента должен применяться
шланговый привод.
.8. Во избежание поражения электротоком, подключение вспомогательного
оборудования (трансформаторов, преобразователей частоты, защитно-отключающих
устройств и т. д.) к электросети и отсоединение его, производятся
электротехническим персоналом с группой по электробезопасности не ниже III.
.9. В особо опасных помещениях разрешается применять электроинструмент,
электрические машины и переносные электрические светильники на напряжение не
выше 12 В, в помещениях с повышенной опасностью - не выше 42 В.
.10. Во избежание травмирования глаз, сверление отверстий должно
производиться в защитных очках.
.11. Запрещается производить работы в зоне движущихся машин и механизмов,
подвижных частей производственного оборудования, при производстве работ
необходимо отключить их или оградить рабочее место.
.12. Для предотвращения падения с высоты работу производить с прочных
лесов или подмостей. Работа с приставных лестниц запрещается.
.13. Работникам, пользующимся электроинструментом и ручными
электрическими машинами, запрещается:
.13.1. передавать ручные электрические машины и электроинструмент хотя бы
на непродолжительное время другим лицам;
.13.2. разбирать ручные электрические машины и электроинструмент,
производить самим какой-либо ремонт;
.13.3. держаться за провода ручной электрической машины или
электроинструмента, касаться вращающегося режущего инструмента;
.13.4. удалять руками стружку или опилки во время работы до полной
остановки ручной электрической машины;
.13.5. вносить внутрь барабанов и котлов, металлических резервуаров и
т.п. переносные трансформаторы и преобразователи частоты:
.13.6. оставлять ручные электрические машины и электроинструмент без
надзора, включенными в электросеть.
.14. При прекращении подачи тока во время работы с электроинструментом
или при перерыве в работе, электроинструмент отключается (отсоединяется) от
электросети.
.15. При обнаружении каких-либо неисправностей, работа с ручными
электрическими машинами, электроинструментом или переносными электрическими
светильниками немедленно прекращается.
.1.4 Требования безопасности в аварийных ситуациях
.1. Немедленно прекратить работу при возникновении ситуаций, которые
могут привести к аварии или несчастным случаям:
.1.1. отключить используемое оборудование;
.1.2. при возникновении пожара или загорания работник обязан:
− немедленно сообщить об этом в городскую пожарную службу по
телефону 01, указав адрес объекта и что горит, и руководителю объекта;
− принять меры по обеспечению безопасности и эвакуации людей;
− приступить к тушению пожара с помощью имеющихся на объекте
первичных средств пожаротушения;
− по прибытии подразделений пожарной службы сообщить им
необходимые сведения об очаге пожара и мерах, принятых по его ликвидации;
− на период тушения пожара работник должен обеспечить охрану
с целью исключения хищения материальных ценностей.
.2. Оказать необходимую первую доврачебную помощь пострадавшему на
производстве, освободив его от действий травмирующего фактора (электротока,
механизмов и т.д.).
.3. При получении травмы на производстве немедленно обратиться в лечебное
учреждение и сообщить о случившемся непосредственному руководителю, сохранить
рабочее место без изменений на момент получения травмы, если это не угрожает
окружающим и не приведет к аварии.
.1.5 Требования безопасности по окончании работы
5.1. Отключить электроинструмент, ручную электрическую машину, переносной
электрический светильник, проверить их исправность и сдать лицу, ответственному
за исправное его состояние (или сдать в кладовую).
.2. Привести в порядок рабочее место.
.3. Снять спецодежду и вымыть руки и лицо с мылом.
.2 Общие положения по противопожарной безопасности
Ответственность за противопожарное состояние всех объектов, находящихся
на территории учреждения образования добровольной пожарной дружины, возлагается
на командира подразделения.
Лица, виновные в нарушении правил пожарной безопасности, в зависимости от
характера нарушений и их последствий несут ответственность согласно
действующему законодательству.
.2.2 Обязанности работающих
Каждый военнослужащий обязан соблюдать установленный в подразделении
противопожарный режим.
Не допускать действий, которые могут привести к пожару.
Использовать только исправный инструмент, приборы, оборудование и т.д.,
соблюдать инструкции по их эксплуатации и указания руководителей и лиц, ответственных
за пожарную безопасность, при проведении пожароопасных работ.
Проводить уборку рабочих мест и отключать электроприемники по окончании
работы.
Уметь применять имеющиеся в подразделении средства пожаротушения.
В случае обнаружения признаков пожара немедленно сообщить в пожарную
охрану, поставить в известность руководителя подразделения и принять меры к
ликвидации пожара.
.2.3 Требования пожарной безопасности к технологическим процессам и
оборудованию.
.1 Технологические процессы должны проводиться в соответствии с
нормативно-технической и технологической документацией, утвержденной в
установленном порядке.
.2 На все виды технологических процессов должны быть разработаны и
утверждены в установленном порядке регламенты (инструкции), содержащие требования
пожарной безопасности.
.3 Для всех пожароопасных веществ, используемых в учреждениях и на
объектах системы образования, определить показатели пожарной опасности.
Применять в технологических процессах вещества и материалы с неизвестными
показателями пожарной опасности запрещается.
.4 В помещениях, где по условиям технологии нельзя избежать применения
открытых аппаратов, емкостей или открытой тары с ЛВЖ и ГЖ, необходимо:
содержать минимально требуемое количество одновременно находящихся
горючих жидкостей у рабочих мест и не превышать его;
работать с улавливанием выделяющихся паров местными отсосами;
работать на открытых ваннах и емкостях с закрытыми крышками;
обеспечить возможность аварийного слива жидкости из стационарных ванн и
емкостей;
.5 Все технологическое оборудование и трубопроводы должны подвергаться
испытанию на прочность и плотность перед пуском в эксплуатацию после монтажа,
ремонта, консервации или простоя более одного года, а также во время проведения
периодических ревизий.
.6 Очистка поверхности аппаратов и трубопроводов от самовозгорающихся
отложений должна производится в соответствии с инструкцией по очистке аппаратов
и оборудования.
.7 Не допускается контакт веществ и материалов, которые в результате
взаимодействия друг с другом вызывают воспламенение, взрыв или образуют горючие
и токсичные газы. Порядок совместного хранения веществ и материалов
осуществляют в соответствии с инструкциями.
.8 Все помещения и участки должны быть обеспечены первичными средствами
пожаротушения в соответствии с нормами.
.9 На таре с химическими веществами должна быть надпись или бирка с
названием веществ, указанием его характерных свойств (окислитель, горючее,
самовозгорающиеся вещества и т.п.).
.10 Вещества, бурно реагирующие с водой (карбид, перекись бария и др.),
должны размещаться в сухих помещениях в герметически закрытой таре.
.11 Погрузочно-разгрузочные механизмы должны быть пожаробезопасными и в
исправном состоянии. Хранение и стоянка механизмов в складских помещениях не
допускается. В складских помещениях не допускается устраивать раздевалки.
.12 Техническое состояние электрических сетей и электрооборудования
должно обеспечивать их пожаробезопасную эксплуатацию и соответствовать
требованиям действующих Правил устройства электроустановок (ПУЭ), Правила
техники безопасности при эксплуатации электроустановок потребителей (ПТБ) и
Правила технической эксплуатации электроустановок потребителей (ПТЭ).
.13 Электрооборудование по своему типу и исполнению должно соответствовать
классу пожароопасности и взрывоопасности помещения или характеристикам
окружающей среды, категории и группе взрывоопасности смесей.
.14 Лица, ответственные за состояние электроустановок, обязаны:
.14.1 организовать и своевременно проводить профилактические осмотры и
предупредительные ремонты электрооборудования, аппаратуры и электросетей, а
также своевременно устранять нарушения ПТЭ и ПТБ, которые могут привести к
пожарам;
.14.2 обеспечить правильность применения кабелей, электропроводок, электродвигателей,
светильников и другого электрооборудования в зависимости от класса
пожароопасности и взрывоопасности зон и условий окружающей среды, а также
исправное состояние аппаратов защиты от коротких замыканий, перегрузок,
внутренних и атмосферных перенапряжений и т.д.;
организовать обучение и инструктаж дежурного персонала по вопросам
пожарной безопасности при эксплуатации электроустановок;
участвовать в расследовании пожаров от электроустановок, разрабатывать и
осуществлять меры по их предупреждению:
.15 Все неисправности в электросетях и электроаппаратуре, которые могут
вызвать искрение, короткое замыкание, сверхдопустимый нагрев изоляции кабелей и
проводов, отказ автоматизированных систем управления, должны немедленно
устраняться. Неисправные электросети и электроаппаратура должны отключаться до
приведения их в пожаробезопасное состояние.
.16 Электродвигатели, светильники, провода и распределительные устройства
должны регулярно очищаться от пыли,
.17 Во всех помещениях (независимо от их назначения) по окончании работ
все электроустановки должны отключаться. Отключающие устройства должны
располагаться у выхода из помещений, а также из здания.
.18 Электроприборы, которые по требованию технологии должны работать
круглосуточно, подключаются обособленными линиями к распределительным щитам,
имеющим аппараты защиты.
.19 При эксплуатации электроустановок запрещается:
.19.1 использовать некалиброванные плавкие вставки в электрощитах и
аппаратах защиты;
.19.2 производить соединение электропроводки скруткой вне ответвительных
соединительных коробок с крышкой;
.19.3 складировать горючие материалы под электрощитами;
.19.4 использовать кабели и провода с поврежденной или потерявшей
защитные свойства изоляцией;
.19.5 применять для отопления помещений нестандартные (самодельные)
нагревательные электропечи;
.19.6 пользоваться поврежденными (неисправными) розетками,
ответвительными коробками, рубильниками и другими электроустановочными
изделиями;
.19.7 оставлять под напряжением электрические провода и кабели с
неизолированными токопроводящими жилами;
.19.8 применять для электросетей радио- и телефонные провода;
.19.9 оставлять без присмотра включенные в сеть электронагревательные
приборы;
.19.10 включать в работу электрооборудование при неисправном
защитнозаземляющем устройстве.
Требования пожарной безопасности к содержанию зданий, помещений:
.20 Проходы, выходы, коридоры, тамбуры, вестибюли и лестницы не должны
загромождаться посторонними предметами, мебелью и оборудованием.
Лестничные клетки запрещается использовать под рабочие места и склады.