Усовершенствование технического устройства 'Дрель'

  • Вид работы:
    Курсовая работа (т)
  • Предмет:
    Другое
  • Язык:
    Русский
    ,
    Формат файла:
    MS Word
    767,43 Кб
  • Опубликовано:
    2013-04-30
Вы можете узнать стоимость помощи в написании студенческой работы.
Помощь в написании работы, которую точно примут!

Усовершенствование технического устройства 'Дрель'

Министерство образования и науки РФ

Федеральное государственное бюджетное образовательное учреждение

высшего профессионального образования

САМАРСКИЙ ГОСУДАРСТВЕННЫЙ

АЭРОКОСМИЧЕСКИЙ УНИВЕРСИТЕТ

имени академика С.П. КОРОЛЕВА

(национальный исследовательский университет)

Факультет летательных аппаратов

Кафедра конструкции и проектирования летательных аппаратов



ПОЯСНИТЕЛЬНАЯ ЗАПИСКА

к курсовому проекту

по дисциплине Проектирование технических систем

на тему

Усовершенствование технического устройства "Дрель"

Выполнила студентка группы

Холкина А.Н.

Введение

дрель инструмент усовершенствование

Повышение технического уровня продукции, создание и освоение производства новой техники связано в первую очередь с изобретением, разработкой и освоением новых машин, приборов и оборудования, новых технологий и материалов.

Один из главных недостатков в подготовке большинства выпускников инженерных специальностей - неумение самостоятельно ставить новые задачи, решать задачи поиска новых конструкторско-технологических решений на уровне изобретений, обеспечивающих в итоге повышение качества продукции, достижение мирового уровня, всестороннюю интенсификацию и экономию ресурсов.

В наше время недостаточно узкой специальной подготовки для полноценной научной и инженерной деятельности. Непрерывно обновляющееся многообразие мира техники требует от специалиста основательной методологической подготовки, укрепления своих мировоззренческих позиции и совершенствования творческого арсенала. Техника - это одно из проявлений творческой человеческой деятельности, и деятельность инженера должна опираться на творчество, особенно в наше время. Современным инженерам и ученым необходимо использовать объективные законы и закономерности развития техники и на их основе принимать практические творческие решения.

Цель данного курсового проекта заключается в обучении навыкам решения творческих инженерных задач, в которых нет готовой постановки проблемы, поиске наиболее эффективных конструкторско-технологических решений, в том числе превосходящих мировой уровень.

1. Библиографический обзор

Дисциплины проектно-конструкторского профиля всегда привлекают инженеров-исследователей. Однако, специалисту, не имеющему методологической подготовки, сложно должным образом ориентироваться в непрерывно обновляющемся многообразном мире техники, поэтому следует назвать несколько книг, на основании которых можно начать изучение дисциплины «Основы инженерного творчества».

Из отечественных книг по методам предварительного проектирования можно выделить методическое пособие В.П.Орлова [1], учебник по методам поискового проектирования А.И. Половинкина [2].

В учебном пособии А.И. Половинкина «Основы инженерного творчества» даны основные понятия, единые для различных эвристических и машинных методов инженерного творчества (функция технического объекта, функциональная структура, физический принцип действия, техническое решение, критерии развития и др.). Система таких понятий позволяет рассуждать на одном языке о разных объектах техники и достаточно четко сопоставлять их свойства, так как введение ошибочных понятий затормаживает развитие науки или способствует возникновению ложных построений, которые затем отбрасываются. Изложены наиболее распространенные эвристические методы: мозговой штурм, метод эвристических приемов, морфологический анализ и синтез, функционально стоимостный анализ. Также изложены машинные методы поискового проектирования и конструирования применительно к задачам поиска улучшенных физических принципов действия и технических решений. В том числе весь материал иллюстрирован на примерах из различных областей техники.

Современное проектирование в основном основано на компьютерном проектировании, на эту тему отечественными авторами написано много учебников, например учебное пособие Н.М. Боргеста [3] «Автоматизация предварительного проектирования самолета». В нем дан анализ современного состояния автоматизации наиболее сложного, с точки зрения формализации, процесса предварительного проектирования самолета.

Среди зарубежных авторов следует выделить Джонса [4] и Дитриха [5]. Эти книги особенно удобны и хороши тем, что дают читателю цельную и систематизированную информацию, включающую задачи, методы и средства проектирования и конструирования.

. Постановка задачи

Задача данного курсового проекта - усовершенствование конструкции и эксплуатационных характеристик дрели. К эксплуатационным характеристикам относятся следующие требования:

безопасность использования;

удобство использования;

экономичность использования;

требования эргономичности;

качество выполнения поставленной задачи.

При использовании дрели могут возникать следующие неудобства:

запыление рабочего инструмента;

неудобства, связанные с высоким уровнем шума работы;

искривление траектории сверления;

перегрев электродвигателя;

Все это приводит к снижению качества результата эксплуатации данного прибора. В данном курсовом проекте разрабатывается новое техническое решение, в котором устранены все выше перечисленные недостатки. Улучшенный вариант дрели дает возможность повысить качество, безопасность и удобство сверления.

3. Маркетинговые исследования

дрель инструмент технический

В качестве разрабатываемого технического объекта выбрано устройство «Дрель». Дрель - ручной, пневматический или электромеханический инструмент, предназначенный для сверления <#"606050.files/image001.jpg">

Проведенные исследования рынка показывают, что исследуемый объект востребован на рынке. Следовательно, его дальнейшее усовершенствование приведет к повышению качества и увеличению спроса на данный прибор.

. Выбор прототипа и его описание

В качестве прототипа выберем дрель, описанную в патенте в приложении А.

Настоящее изобретение относится к ударной дрели для сверления отверстий в бетоне, строительном растворе и керамической плитке, конкретнее, к такой ударной дрели, которая может работать в режиме сверления, при котором отверстие получается за счет 5 вращения сверла, и в режиме ударного сверления, при котором отверстие получается за счет вращения и ударов или вибрации сверла.

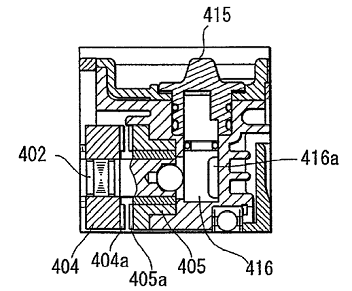
Обычная ударная дрель указанного типа изображена на рисунках 1-4. Основная рама 401 состоит из крышки 417 передаточного механизма, внутренней крышки 418, наружной

крышки 419, корпуса 407 и присоединенной рукоятки 406. Основная рама определяет

наружную конфигурацию дрели и заключает в себе различные компоненты, установленные в заданных положениях. Шпиндель 402 проходит через крышку 417 передаточного механизма, а сверлильный патрон 403 присоединен к переднему концу шпинделя 402. Шпиндель 402 имеет промежуточный участок, оснащенный вращающейся трещоткой 404, 15 которая вращается вместе со шпинделем 402 и смещается вместе со шпинделем 402 при его осевом перемещении. Вращающаяся трещотка 404 имеет сторону 404а с мелкими зубцами или чередующимися выступами и впадинами.

Неподвижная трещотка 405 расположена напротив вращающейся трещотки 404 и имеет сторону 405а с мелкими зубцами или чередующимися выступами и впадинами.

Неподвижная трещотка 405 имеет полую цилиндрическую форму и закреплена в положении, не связанном с вращением и осевым смещением шпинделя 402.

Двигатель 408 расположен в корпусе 407. Вращающий момент, развиваемый двигателем 408, передается вращающимся валом 409 на зубчатое колесо 410. Зубчатое колесо 410 запрессовано в шестерню 411, так что вышеупомянутый вращающий момент передается на шестерню 411. Шестерня 411 состоит из двух шестерен 411а и 411b с различным числом зубьев. Они входят в зацепление с низкооборотным зубчатым колесом 412 и высокооборотным зубчатым колесом 413 соответственно. Когда шестерня 411 вращается, зубчатые колеса 412 и 413 также вращаются. Эти зубчатые колеса 412 и 413 имеют углубления.

Диск сцепления 414 заходит за шпиндель 402, сцепляется с ним и скользит по нему в осевом направлении. Как показано на рис.1, когда диск сцепления 414 сдвигается и нажимает на углубление низкооборотного зубчатого колеса 412, вращение шестерни 411 передается на шпиндель 402 через низкооборотное зубчатое колесо 412 и диск сцепления 414. Если же диск сцепления 414 скользит вправо из положения, изображенного на рисунке 1, и входит в углубление высокооборотного зубчатого колеса 413, вращение шестерни 411 передается на шпиндель 402 через высокооборотное зубчатое колесо 413 и диск сцепления 414. Следовательно, шпиндель 402 может включаться в работу на малых или на больших оборотах за счет перемещения диска сцепления 414.

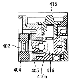
Переключающая головка 415 предназначена для переключения ударной дрели из режима сверления в режим ударного сверления и обратно. Переключающий вал 416 запрессован в переключающую головку 415. При вращении переключающей головки 415 вокруг своей оси переключающий вал 416 вращается вокруг своей оси вместе с переключающей головкой 415. Как показано на рис.2-4, переключающий вал 416 имеет выемку 416а. Ударная дрель работает в режиме сверления , когда выемка 416а находится в положении, показанном на рисунке 2, и работает в режиме ударного сверления, когда выемка 416а находится в положении, показанном на рисунке 3.

Рисунок 1 - Эскиз прототипа технического устройства

Рисунок 2 - Эскиз прототипа (а)

Рисунок 3 - Эскиз прототипа (б)

. Анализ достоинств и недостатков прототипа и аналогов и разработка требований к техническому объекту

Прототип и все подобранные аналоги имеют как недостатки, так и достоинства. Анализ положительных и отрицательных характеристик аналогов представлен в таблице 2.

Таблица 2 - Достоинства и недостатки аналогов

Аналоги

Достоинства

Недостатки

BOSCH

Высокая мощность, большая длина шнура,

BLACK&DECKER

Низкая цена

Малое время безостановочной работы, малая длина шнура

MAKITA

Высокая мощность, большая длина шнура, низкая цена

Малый гарантийный срок

DEWALT

Низкий уровень шума

Малая мощность, малая длина шнура, высокая цена

SKIL

Высокая мощность, высокий гарантийный срок

Малая длина шнура, большой вес прибора, малый гарантийный срок


Прототип, представленный в приложении А также имеет ряд достоинств и недостатков.

Главным достоинством прототипа является регулировка режимов сверления: обычный режим, предназначенный для проведения столярных и слесарных работ и режим сверления с ударом, который предназначен для сверления отверстий в камне, кирпичной кладке или бетоне.

К недостаткам прототипа можно отнести:

перегрев двигателя при работе;

невозможность измерения глубины разрабатываемого отверстия;

невозможность автоотключения;

отсутствие фиксатора шпинделя.

С учетом выявленных недостатков составляется список требований, которым должен удовлетворять проектируемый технический объект.

Эксплуатационные требования:

высокая надежность;

безопасность;

минимальная трудоемкость и время подготовки к работе;

удобство и практичность использования;

эргономичность.

Производственно - технологические требования:

- высокая мощность;

- низкий уровень шума;

небольшой вес прибора;

применение стандартизированных и унифицированных конструктивных элементов;

выбор рационального способа соединения деталей;

простота и экономичность изготовления;

использование экологичных материалов;

соответствие конструкции прибора требованиям стандартов.

. Построение конструктивной функциональной структуры

Функциональная структура представляет собой ориентированный граф, вершинами которого являются наименования конструктивных элементов технического объекта и объектов окружающей среды, а ребрами - функции элементов[2]. Построим функциональную структуру для прототипа, а также для проектируемого технического объекта, учитывая все внесенные улучшения (см. рисунок 3 и 4).

Функции соответствующих элементов представлены в таблицах 3 и 4.

Таблица 3 - Функции элементов прототипа

Элемент

Функция

Обозначение

Наименование

Обозначение

Описание

Е0

Пусковой выключатель

Ф0

Запуск/Отключение УКД (Е3)

Е1

Реостат

Ф1

Регулировка величины напряжения, подаваемого на УКД (Е3)

Е2

Реверс

Ф2

Передача обратного вращения УКД (Е3)

Е3

Электродвигатель (УКД)

Ф3

Преобразование электроэнергии в механическую и передача ее на шпиндель (Е6)

Е4

Корпус

Ф41

Взаимодействие с рукой человека (V1)



Ф42

Крепление пускового выключателя (Е0)



Ф43

Крепление шпинделя (Е6)

Элемент

Обозначение

Наименование

Обозначение

Описание

Е5

Механизм для сверления с ударом

Ф5

Придание поступательного движения шпинделю (Е6)

Е6

Шпиндель

Ф6

 Крепление патрона (Е7)

Е7

Патрон

Ф7

 Крепление сверла (Е8)

Е8

Сверло

Ф8

Взаимодействие с обрабатываемой поверхностью (V2)


Таблица 4 - Функции элементов проектируемого технического обьекта

Элемент

Функция

Обозначение

Наименование

Обозначение

Описание

Е0

Пусковой выключатель

Ф0

Запуск/Отключение УКД (Е3)

Е1

Реостат

Ф1

Регулировка величины напряжения, подаваемого на УКД (Е3)

Е2

Реверс

Ф2

Передача обратного вращения УКД (Е3)

Е3

Электродвигатель (УКД)

Ф3

Преобразование электроэнергии в механическую и передача ее на шпиндель (Е7)

Элемент

Функция

Е4

Корпус

Ф41

Взаимодействие с рукой человека (V1)



Ф42

Крепление пускового выключателя (Е0)



Ф43

Крепление шпинделя (Е7)

Е5

Механизм для сверления с ударом

Ф5

Придание поступательного движения шпинделю (Е7)

Е6

Шпиндель

Ф6

 Крепление патрона (Е7)

Е7

Патрон

Ф7

 Крепление сверла (Е8)

Е8

Сверло

Ф8

Взаимодействие с обрабатываемой поверхностью (V2)

Е9

Ф9

 Измеряет глубину захода сверла (Е8) в обрабатываемую поверхность(V2)

Е10

Фиксатор шпинделя

Ф10

Фиксирует положение шпинделя (Е6) относительно оси вращения

Е11

Вентиляционные отверстия

Ф11

 Охлаждение УКД (Е3)

Е12

Фиксатор выключателя

Ф12

Удерживает нужное положения пускового выключателя (Е0)


Рисунок 3 - Функциональная структура прототипа

Рисунок 4 - Функциональная структура проектируемого технического объекта

. Метод мозгового штурма

Метод мозгового штурма - оперативный метод решения проблемы на основе стимулирования творческой активности, при котором участники обсуждения предлагают как можно большее количество вариантов решения, в том числе самых фантастических. Затем из общего числа идей выбирают наиболее удачные, которые могут быть использованы на практике. Метод был изобретен в 1930 г. руководителем американского рекламного агентства Алексом Осборном. Метод мозгового штурма является методом экспертного оценивания[2].

Этот метод обладает удивительной универсальностью и позволяет с его помощью рассматривать почти любую проблему или любое затруднение в сфере человеческой деятельности.

На тему усовершенствования технического объекта «Дрель» был проведен мозговой штурм группой из шести человек. В ходе мозгового штурма были высказаны следующие предложения:

1)      Придать дрели обтекаемую форму;

2)      Создать эргономичный дизайн;

3)      Оснастить дрель устройством автоотключения;

)        Добавить систему поддержки постоянной температуры;

)        Снабдить дрель пылесборником;

)        Добавить встроенный аккумулятор;

)        Добавить регулятор установки режимов сверления для каждого типа обрабатываемой поверхности;

)        Создать антикоррозионное покрытие на сверле и патроне;

)        Установить систему вертикального отпаривания;

)        Снабдить дрель системой электробезопасности;

)        Оснастить дрель устройством защиты от перепадов напряжения;

)        Использовать экономичные материалы;

)        Создать дрель с дистанционным управлением;

)        Сделать шпиндель съемным;

)        Сделать противоударный корпус;

)        Обеспечить шумоизоляцию работы;

)        Сделать шнур дрели шарнирно вращающимся на 360°;

)        Сделать отсек в корпусе для свёрел;

)        Установить систему освещения;

)        Сделать револьверный патрон.

Все высказанные участниками обсуждения идеи разбиваются на три группы.

Таблица 5 - Группы идей высказанных при проведении мозгового штурма

№ группы

Описание группы

№ пунктов

I

Наиболее удачные и легко реализуемые

3, 4, 6, 15, 17,20

II

Перспективные и эффективные

2, 9, 10,11,18,19

III

Прочие

1, 5, 7, 8, 12, 13, 14, 16


8. Метод морфологического анализа

Морфологический метод - пример системного подхода в области изобретательства. Метод разработан швейцарским астрономом Ф. Цвики в 1942 г. Благодаря этому методу ему удалось за короткое время получить значительное количество оригинальных технических решений в ракетостроении[1].

Морфологический метод основан на комбинаторике. Суть его состоит в том, что в интересующем изделии или объекте выделяют группу основных конструктивных или других признаков. Для каждого признака выбирают альтернативные варианты, то есть возможные варианты его исполнения и реализации. Комбинируя их между собой можно получить множество различных решений, в том числе представляющих практический интерес[2].

Метод реализуется посредством построения морфологической таблицы. Составим морфологическую таблицу для проектируемого технического объекта.

Таблица 6 - Морфологическая таблица

Признак

Варианты исполнения

Пусковой выключатель Ф0

А01 Пластик

А02 Алюминий



Реостат Ф1

А11  1500 Вт

А12 1800 Вт

А13 2000 Вт

Реверс Ф2

А21 Автомат

А22 Ручной



Электродвигатель (УКД) Ф3

А31 Макс. 2800 об/мин

А32 Макс. 2900 об/мин

А33 Макс. 3000 об/мин


Признак

Варианты исполнения

Механизм для сверления с ударом Ф4

А41 44.8 ударов в минуту

А42 70 ударов в минуту

А43 35 ударов в минуту


Корпус Ф5

А51  Металл

А52  Пластик



Шпиндель Ф6

А61  на резьбе

А62  на резьбе



Патрон Ф7

А71 0,8-10 мм

А72 1,5-13 мм



Сверло Ф8

А81 для обработки стекла, керамики

А82 для обработки металлов и сплавов

А83 для обработки бетона, кирпича, камня


Глубиномер Ф9

А91  Автомат

А92  Ручной



Фиксатор шпинделя Ф10

А101 Жесткий

А102 Регулируемый



Вентиляционные отверстия Ф11

А111 Распылитель




Фиксатор выключателя Ф12

А121 Автомат

А122 Ручной




Таблица 7 - Сокращение комбинаций из двух элементов

Ф3

А01

А02

А111

А111А01

А111А02


+

-


Таблица 8 - Сокращение комбинаций из трех элементов

Ф5

А51

А52

А111А01

А111А01А51

А111А01А52


-

+


Таблица 9 - Сокращение комбинаций из четырех элементов

Ф7

А71

А72

А111А01А52

А111А01А52А71

А111А01А52А72


+

-


Таблица 10 - Сокращение комбинаций из пяти элементов

Ф9

А91

А92

А111А01А52А71

А111А01А52А71А91


-

+


Таблица 11 - Сокращение комбинаций из шести элементов

Ф10

А101

А102

А111А01А52А71А92

А111А01А52 А71А92А101

А111А01А52 А71А92А102


-

+


Таблица 12 - Сокращение комбинаций из семи элементов

Ф6

А61

А62

А111А01А52А71А92А102

А111А01А52А71 А92А102А61

А111А01А52А71А92А102А62


-

+


Таблица 13 - Сокращение комбинаций из восьми элементов

Ф2

А21

А22

А111А01А52А71А92А102А62

А111А01А52А71 А92А102А62А21

А111А01А52А71А92 А102А22


-

+


Таблица 14 - Сокращение комбинаций из девяти элементов

Ф12

А121

А122

А111А01А52А71А92 А102А22

А111А01А52А71А92 А102А22А121

А111А01А52А71А92 А102А22А122


-

+


Таблица 15 - Сокращение комбинаций из десяти элементов

Ф3

А31

А32

А33

А111А01А52А71А92 А102А22А122

А111А01А52 А71А92 А102А22 А122А31

А111А01А52 А71А92 А102А22 А122А32

А111А01А52 А71А92 А102А22 А122А33


+

-

-


Таблица 16 - Сокращение комбинаций из одиннадцати элементов

Ф4

А41

А42

А43

А111 А01А52А71А92 А102А22 А122А31

А111 А01А52 А71А92 А102А22 А122А31А41

А111 А01А52 А71А92 А102А22 А122А31А42

А111 А01А52 А71А92 А102А22 А122А31А43


+

-

-


Таблица 17 - Сокращение комбинаций из двенадцати элементов

Ф8

А81

А82

А83

А111 А01А52А71 А92А102А22А122А31А41

А111 А01А52А71 А92А102А22А122А31А41А81

А111 А01А52А71 А92А102А22А122А31А41А82


-

-

+


Таблица 18 - Сокращение комбинаций из тринадцати элементов

Ф1

А01

А02

А03

А04

А111 А01А52А71А92А102А22А122А31А41А83

А111 А01А52А71А92А102А22А122А31А41А83А01

А111 А01А52А71А92А102А22А122А31А41А83А02

А111 А01А52А71А92А102А22А122А31А41А83А03

А111 А01А52А71А92А102А22А122А31А41А83А04


-

-

-

+


Таким образом, для детальной разработки наиболее выгодным вариантом является А111А01А52А71А92А102А22А122А31А41А83А04 (пластиковый пусковой выключатель, реостат на 1500 Вт, ручной реверс, электродвигатель на 2800 об/мин максимум, механизм для сверления ударом на 44.8 ударов\мин., пластиковый корпус, шпиндель на резьбе, патрон - 0.8-10 мм, сверло для обработки бетона, кирпича и камня, ручной глубиномер, регулируемый фиксатор шпинделя, вентиляционные отверстия - распылитель, фиксатор выключателя - ручной).

9. Метод эвристических приемов

Эвристические методы решения творческих задач - это система принципов и правил, которые задают наиболее вероятные стратегии и тактики деятельности решающего, стимулирующие его интуитивное мышление в процессе решения, генерирование новых идей и на этой основе существенно повышающие эффективность решения определенного класса творческих задач[3].

Правила решения творческих задач также часто называют эвристическими правилами, а отдельно взятое правило или прием решения творческой задачи часто называют эвристикой.

Эвристические методы обычно противопоставляют формальным методам решения, опирающимся на точные математические модели. Впервые учение об эвристических методах разработано и введено в практику Сократом. Архимед в "Учении о методах механики" подробно описал способы рассмотрения и решения новых задач. От него искусство решения трудных проблем получило свое название "Эвристика". Известно несколько десятков эвристических методов, использование которых позволяет решать самые различные проблемные задачи, возникающие в человеческой деятельности. Совокупность способов, которые изобретатель использует в своей работе, называется эвристическими приемами. Эвристический прием представляет собой краткое правило или указание, как преобразовать имеющийся прототип или в каком направлении нужно искать, чтобы получить искомое решение задачи технического творчества или разрешить имеющееся в такой задаче противоречие, или найти выход из затруднительной ситуации, которая может появиться в любой области практической деятельности человека. Эвристический прием обычно не дает однозначного указания, как преобразовать прототип, он содержит подсказку, которая облегчает получение искомого решения, но не гарантирует его нахождения[2]. Применим метод эвристических приемов к имеющемуся прототипу.

а) Преобразование формы:

- сделать корпус дрели противоударным;

- придать дрели обтекаемую форму;

б) Преобразование структуры:

- добавить к дрели новые элементы - фиксаторы шпинделя и пускового выключателя, глубиномер, вентиляционные отверстия;

- выбрать покрытие для шпинделя;

в) Преобразование материала и вещества: разделить дрель на части так, чтобы каждая из них могла быть изготовлена из наиболее подходящего материала;

г) Преобразования в пространстве: использовать пустое пространство между элементами объекта, чтобы в «пустотах» установить новые элементы (фиксаторы шпинделя и пускового выключателя, глубиномер, вентиляционные отверстия);

д) Приемы дифференциации: сделать элементы съемными, легко отделяемыми, то есть предусмотреть возможность по желанию пользователя убирать разбрызгиватель и устройство самоотключения;

е) Использование профилактических мер:

- выполнить объект так, чтобы можно было заменить отдельные поврежденные части;

- разделить объект так, чтобы при выходе из строя одного элемента объект в целом сохранял работоспособность;

ж) Повышение технологичности:

- осуществить технологическую унификацию конструкции, формы и размеров деталей;

- максимально применять стандартные элементы, имеющие весьма широкую область применения.

10. Формула изобретения

1)      Дрель ударного действия представляет собой инструмент, чаще всего, в форме пистолета, внутри которого расположены пусковой выключатель, реверс <#"606050.files/image007.gif">

Рисунок 5 - Эскиз технического объекта

Заключение

В данном курсовом проекте был проведен анализ дрели - прототипа, относящегося к устройствам для сверления <#"606050.files/image008.gif">

Описание изобретения:

Изобретение относится к дрелям ударного действия, применяемым преимущественно в строительстве. Выбранная в качестве прототипа дрель имеет большое количество недостатков, среди которых главными, считаю, являются следующие: спица, зажатая в патроне, выступает на всю длину, ограничивая величину прилагаемого осевого давления, во избежание потери устойчивости и искривления от усилия, прилагаемого при вращении рукоятки по окружности, применены телескопически-вдвигающиеся П-образные направляющие, усложняющие применение дрели по назначению, но за отсутствием более рациональной конструкции, вынужденно применяемой на практике. Цель изобретения - создание дрели ударного действия, свободной от перечисленных недостатков, обеспечивающей все требования удобства, надежности, ускорения строительных операций. Дрель содержит корпус, опорную рукоятку, рукоятку привода вращения и зажимной патрон, в отличие от прототипа опорная рукоятка снабжена подпятником в виде шарика, опирающегося на шарик, размещенный на конце корпуса, выполненного в виде стержня с центральным сквозным каналом и винтовой спиральной нарезкой по внешней поверхности, взаимодействующей с рукояткой привода вращения, выполненной в виде скользящей муфты, снабженной подпружиненными роликами, размещенными в косонаправленных отверстиях, контактирующих со стенками нарезки так, что при обратном движении муфты ролик отжимается продольно, сжимая пружину, опирающуюся на шарик, расположенный с возможностью опоры на пружинное кольцо, размещенное в кольцевой канавке, образованной на гребне муфты, причем, при рабочем силовом движении, ролики вращаются, опираясь на стенку нарезки с одной стороны и стенку отверстия - с другой, при этом патрон выполнен с обратно-конусной цангой, обтюрирующей поверхность спицы так, что при рабочем направлении давления, взаимодействуя с конусом гнезда, зажимает спицу, а при обратном направлении, имея продольный люфт, не препятствует очередному выдвижению. В частных случаях своего выполнения дрель может содержать рукоятки, выполненные из материала, не требующего смазки, например, тефлона; цангу, предназначенную для автоматической подачи спицы, снабженную поперечной насечкой в отверстии, а конусная поверхность продольными канавками по образующей; патрон, предназначенный для автоматической подачи спицы, выполненный с накидной гайкой, опирающейся на корпус с оставлением возможности продольного люфта цанги, при ее продольном перемещении; скользящую муфту привода вращения, снабженную поворотным фиксатором, взаимодействующим с выемкой на фланце корпуса при затяжке или отвинчивании патрона; спиральную нарезку, выполненную с опорной стенкой Преимущества предлагаемой дрели очевидны и заключаются в соосности направления упора с рабочим движением вращения, устранения изгибания и вибрации спицы, прицельном выборе направления введения, компактности и облегчении в применении.

Формула изобретения:

1. Дрель ударного действия, содержащая корпус, опорную рукоятку, рукоятку привода вращения и зажимной патрон, отличающаяся тем, что опорная рукоятка снабжена подпятником в виде шарика, опирающегося на шарик, размещенный на конце корпуса, выполненного в виде стержня с центральным сквозным каналом и винтовой спиральной нарезкой по внешней поверхности, взаимодействующей с рукояткой привода вращения, выполненной в виде скользящей муфты, снабженной подпружиненными роликами, размещенными в косонаправленных отверстиях, контактирующих со стенками нарезки так, что при обратном движении муфты ролик отжимается продольно, сжимая пружину, опирающуюся на шарик, расположенный с возможностью опоры на пружинное кольцо, размещенное в кольцевой канавке, образованной по гребню муфты, причем при рабочем силовом движении ролики вращаются, опираясь на стенку нарезки с одной стороны и стенку отверстия с другой, при этом патрон выполнен с обратно-конусной цангой, обтюрирующей поверхность спицы так, что при рабочем направлении давления, взаимодействуя с конусом гнезда, зажимает спицу, а при обратном направлении, имея продольный люфт, не препятствует очередному выдвижению ее. 2. Дрель по п.1, отличающаяся тем, что рукоятки выполнены из материала, не требующего смазки, например тефлона. 3. Дрель по п.1, отличающаяся тем, что цанга, предназначенная для автоматической подачи спицы, снабжена поперечной насечкой в отверстии, а конусная поверхность - продольными канавками по образующей наклонной поверхности. 4. Дрель по п.1, отличающаяся тем, что патрон, предназначенный для автоматической подачи спицы, выполнен с накидной гайкой, опирающейся на корпус с оставлением возможности продольного люфта цанги при ее продольном перемещении. 5. Дрель по п.1, отличающаяся тем, что скользящая муфта привода вращения снабжена поворотным фиксатором, взаимодействующим с выемкой на фланце корпуса при затяжке или отвинчивании патрона. 6. Дрель по п.1, отличающаяся тем, что спиральная нарезка выполнена с опорной стенкой, линия касания которой с роликом проходит через геометрический центр окружности стрежня, а пологая плоскость расположена под углом к ней, большим 90o.


Похожие работы на - Усовершенствование технического устройства 'Дрель'

 

Не нашли материал для своей работы?
Поможем написать уникальную работу
Без плагиата!
Без нейросетей!