Самолет
|
Расчетное количество посадок
|
|
cталь -
металлокерамика
|
углерод
|
|
Боинг 747
|
800
|
2000
|
|
Боинг 757
|
1500
|
3000
|
|
Боинг 767
|
1500
|
3000
|
|
F - 16
|
150
|
600
|
В дипломном проекте предлагается
использовать фрикционные вкладыши из углерода с нанесением на боковые
поверхности теплозащитного покрытия из окиси алюминия. Для облегчения веса
каркаса диска конструкция выполнена следующим образом. Крепление вкладышей
обеспечивается за счет того, что на боковых поверхностях спиц каркаса выполнены
внутренние скосы, образующие треугольный профиль, взаимодействующий с
соответствующим профилем боковой поверхности вкладышей. Причем каркас выполнен
сборным, состоящим из спиц, скрепленных с кольцом, либо из двух симметричных
одинаковых частей [4].
На рис.1.4. показан диск
с прикрепленными спицами, общий вид; разрезы по А-А, Б-Б и В-В; диск
выполненный из двух одинаковых частей с разрезом Г-Г.
Каркас тормозного диска
представляет собой кольцо 1 с выступами 2, к которым крепят с помощью заклепок
3 спицы 4, имеющие в боковой поверхности треугольный профиль. Теплопоглощающие
вкладыши 5 устанавливаются между спицами и упираются в них. В другом варианте
выполнения диска вкладыши 5 установлены между двумя половинками каркаса.
Боковые поверхности вкладышей имеют теплозащитное покрытие из окиси алюминия
толщиной 0,3 мм. Оно позволяет предохранить силовые элементы диска от тепловых
напряжений, возникающих от градиента температур при его остывании. Спицы имеют
возможность некоторого перемещения в плоскости, перпендикулярной к плоскости
трения, благодаря чему вкладыши могут самоустанавливаться.
В ходе эксплуатации воздушных судов подвижные и неподвижные
диски изнашиваются до величины, которая зависит от того, как часто имела место
нестабильная циклоидальная вибрация дисков. Еще одно предлагаемое
конструктивное усовершенствование решает проблему нежелательных радиальных
циклических вибраций с помощью образования на дисках периферических вытянутых
кольцевых бороздок на радиальных поверхностях подвижных и неподвижных дисков,
таким образом, радиальные борозды играют роль гасителей нежелательных колебаний
и сводят к минимуму радиальное перемещение дисков. Это позволяет продлить
ресурс тормозных дисков. Сечение дисков показано на рис.1.5.
Рис.1.5.
1.3.2.1 Расчет
энергоемкости тормоза [5]
Энергоемкость тормозного
узла:
(1.17.)
где Q – количество тепла, выделяющегося
при работе тормоза;
n – количество тормозных устройств в
колесе;
ккал/кг·ч –
механический эквивалент тепла.
Количество тепла,
выделяющегося при работе и поглощенное тормозом:
(1.18.)
где KР=0,85 – коэффициент рассеивания тепла;
Gi – вес отдельных элементов тормоза;
CPi – удельная теплоемкость элементов
тормоза;
ΔQv – прирост среднемассовой температуры
пакета дисков,
ΔQv =Qv-Q0. (1.19.)
Удельные теплоемкости
стали и углерода:
CР ст =0,15кал/г·град ;
CР уг =0,35кал/г·град .
Плотность стали и
углерода:
γст
=0,009г/мм3;
γуг
=0,0025г/мм3.
Вес стальных и углеродных
элементов определяется через плотность и объем:
(1.20.)
Для получения объема со сборочных
чертежей тормозных дисков снимаются соответствующие размеры элементов. Объем
стальных и углеродных элементов:
Wст =625472,4 мм3;
Wуг =5124286,15 мм3.
Пользуясь формулой
(1.20.) получим:
Gст =625472,4×0,009=5629,25 г;
Gуг =5124286,15×0,00225=11529,64
г.
Теплоемкость тормозного
пакета:
4883,76(кал/град)=4,8838ккал/град
Среднемассовая
температура пакета дисков:
(1.21.)
где Q0=15°C –
начальная температура дисков;
(1.22.)
где AT находим по формуле:
где Gпос =74000 кг – посадочная масса
самолета;
Vпос =64м/с –
посадочная скорость самолета;
aT =0,7 – поправочный коэффициент;
nT =12 – количество тормозных колес;
тогда
9688758,33 (H·м)=987641,01кг·м;
2312,98 (ккал);
572,2(°C).
Для современных тормозных
устройств максимально допустимая температура пакета дисков не должна превышать
500°С. В результате расчета мы получили температуру пакета дисков больше чем
допустимая. Учитывая, что в тормозных колесах установлены вентиляторы для
принудительного охлаждения тормозного пакета, а также стоит тепловой экран из
композиционного материала на основе углерода для защиты корпуса колеса от
нагрева. И учитывая, что фрикционная пара "углерод – углерод"
работает лучше в условиях высоких температур, можно сделать вывод о том, что проектируемое
тормозное устройство будет работать в допустимых температурных условиях.
1.3.2.2 Проверочный
расчет корпуса тормозного устройства [6]
Расчет производим в
наиболее опасных сечениях: 1-1,2-2 и 3-3 (рис.1.6.). Для уменьшения веса
корпуса тормозного устройства и увеличения его надежности в качестве материала
для его изготовления предлагается ультравысокопрочная сталь 300М разработанная
в США [7]. Химический состав стали; C –0,39÷0,44%; Si –
1,5÷1,8%; Ni – 1,65÷2%;
Cr – 0,7÷0,95%; Mo – 0,3÷0,45%; V – 0,05÷0,1%. Для этой стали σв=1900
МПа. Из этой стали, изготовлены шасси самолетов Boeing 727, Boeing
737, Boeing 747.
При расчете принимается
пониженный временный предел прочности материала с учетом его нагрева:
σв´=0,84×σв
=0,84×1900=1596 (МПа). (1.23.)
Сечение 1-1:
В сечении 1-1 прочность
корпуса тормоза проверяется на изгиб от действия осевой силы. Определим
разрушающую осевую силу SТ.разр:
SТ разр= K×SТ´, (1.24.)
где K=3 – коэффициент безопасности;
ST´=40177 H – осевое усилие сжатия дисков в проектируемом
тормозном устройстве;
SТ разр= 3×40177=120531 H.
Определим нормальные
напряжения от изгиба для растянутых и сжатых волокон:
(1.25.)
где L=R1-RT –
плечо приложения разрушающей осевой нагрузки;
R1=0,094 м – радиус сечения 1-1;
RТ=0,078 м – радиус приложения разрушающей осевой
нагрузки SТ разр,
L=0,094-0,078=0,016 (м);
W – момент сопротивления сечения,
(1.26.)
где R1 – радиус сечения 1-1;
h1= 0,006 м – толщина стенки тормозного устройства;
(м3);
5,4446×108
(Па)=544,46 МПа.
Определим коэффициент
избытка прочности:
где Kп=1,1 – коэффициент пластичности материала,
Сечение 2-2
В сечении 2-2
определяются нормальные напряжения при изгибе с растяжением по формуле:
(1.27.)
где F – площадь расчетного сечения:
F= n × [b×H - (b-a) × b1 - 2×b2×b3] ; (1.28.)
n =15 – количество участков "В"
(рис.1.7.);
H=9 мм =0,009 м – высота участка "В";
a=0,018 м;
b1=0,006 м;
b2= H-b1 =0,009-0,006=0,003 (м);
b3=0,007 м – радиус отверстия;
(1.29.)
где R0=0,105 м – внутренний радиус сечения;
Rв=0,108 м – см. рис.1.6.;
(м);
F =15×[0,0446×0,009-(0,0446-0,018)×0,006-2×0,007×0,003]
=0,00299( м2);
Wр – момент сопротивления сечения,
(1.30.)
где Yс – координата центра тяжести сечения:
(1.31.)
I – момент инерции всего сечения:
I= n
I1, (1.32.)
где I1 – момент инерции одного элемента сечения:
(1.33.)
следовательно
тогда
I=15×1,82×10-9=2,73×10-8
м4;
(м3);
L2 – плечо приложения силы SТ разр в сечении 2-2
L2=0,016+0,0056=0,0216 (м).
Используя формулу (1.27.)
найдем нормальное напряжение:
5,742×108 (Па)=574,2
МПа.
Коэффициент избытка
прочности равен:
(1.35.)
тогда
=2,036.
Сечение 3-3
В сечении 3-3 производим
расчет на срез от действия на опорный буртик через полукольца осевого усилия SТ разр:
(1.36.)
где F – площадь сечения среза:
F=(2π×R-n×b)×h3,
или
F=n×a×h3,
(1.37)
где n – количество участков "В";
h3=0,002 м – толщина опорного буртика;
F=15×0,018×0,002=8,1×10-4
(м2);
Коэффициент избытка
прочности:
1.3.2.3 Расчет на смятие
опорного буртика корпуса тормоза
под стопорным полукольцом
Напряжение смятия:
(1.38.)
где SТ разр – осевая разрушающая нагрузка;
Fсм – площадь смятия,
Fсм= n×a×(Rк - R3 - 2×Sф), (1.39.)
где Rк=0,114 м – наружный радиус корпуса тормозного
устройства;
R3=0,1125 м – радиус дна канавки;
Sф=0,0003 м – размер фаски;
Fсм=15×0,018×(0,114 - 0,1125
- 2×0,0003)=2,43×10-4 (м2);
тогда
Коэффициент избытка
прочности:
(1.40.)
где K=0,6;
1.3.2.4 Расчет стопорных
колец
В качестве материала для
стопорных колец выбираем сплав 20Х для которой предел временной прочности σв=390
МПа.
Для расчета используем
пониженный предел временной прочности:
σв´=0,9×σв=0,9×390=351
(МПа).
Расчет стопорных
полуколец ведется на срез и смятие.
Напряжение среза:
(1.41.)
где F=π×Dк×bк – площадь среза;
Dк=0,225 м – внутренний диаметр кольца;
bк=0,002 м – ширина кольца (рис.1.8.);
F=3,14×0,225×0,002=1,413×10-3
(м2);
Коэффициент избытка
прочности:
Напряжение смятия:
(1.42.)
где SТ разр – осевая разрушающая нагрузка;
Fсм – площадь смятия,
Fсм=2π×(Rк+ hк /4)×(hк
/2 - 2×Sф), (1.43.)
где Rк – внутренний радиус кольца;
hк=0,004 м – высота сечения кольца;
Sф=0,0003 м – высота фаски;
Fсм=2×3,14×(0,1125 + 0,004/4)×(0,004/2
- 2×0,0009)=9,978×10-4 (м2);
Коэффициент избытка
прочности:
1.3.3 Разработка
бескамерного барабана тормозного колеса с разъемным корпусом
На существующем тормозном
колесе КТ–141Е применен барабан со съемной ребордой. Такая конструкция колеса
имеет следующие недостатки: невысокий уровень надежности (разрушение реборды и
срыв пневматика с корпуса во время посадки), трудности при замене пневматика,
невозможность применения бескамерного пневматика. По нормали ИКАО колесо не
должно разрушатся при пробеге с разрушенным пневматиком на дистанции до 3000 м.
Предлагается заменить
барабан колеса на барабан с разъемным корпусом, на котором можно применить
пневматик бескамерный высокого давления. Такой барабан укомплектовывается
легкоплавкой вставкой, для сброса давления воздуха в тормозное устройство при
перегреве тормозов во избежание разрушения пневматика из-за повышения давления
в нем.
Предлагается заменить
материал колеса. Вместо существующего магниевого сплава применить алюминиевый
сплав 7049 – Т73, разработанный фирмой Kaiser (США). Этот сплав применяется для замены деталей на
самолетах F-111, Jet Stream и производства новых элементов самолетов F-5 и F-16 [7]. Временный предел прочности сплава 7049 – Т73 σв=490
МПа.
1.3.3.1 Проверочный
расчет усовершенствованного колеса
Исходные данные для
расчета [6]:
– габаритные размеры
пневматика:
диаметр D=930 мм=0,93 м;
ширина B=305 мм=0,305 м;
– рабочее давление в
пневматиках:
P0=9,5 кг/см2=0,95 МПа;
– обжатие пневматика при
взлетной массе самолета:
δСТ взл=70
мм=0,07 м;
– обжатие пневматика при
посадочной массе самолета:
δСТ пос=57
мм=0,057 м;
– радиус качения
пневматика:
(1.44)
Rк взл=0,93/2 – 0,07=0,395 м;
Rк пос=0,93/2 – 0,057=0,408 м;
– усадка при полном
обжатии пневматика:
δп.о.=187
мм=0,187 м;
– стояночная нагрузка на
колесо:
(1.45.)
где 0,9 – коэффициент
указывающий долю нагрузки воспринимаемой основными опорами,
mвзл= 97000 кг – взлетная масса самолета,
mпос= 74000 кг – посадочная масса самолета,
n =12 – количество колес основных
опор,
PСТ взл=
PСТ пос=
– взлетная скорость:
Vвзл=77м/с ;
– посадочная скорость:
Vпос=67м/с ;
– коэффициент трения
пневматика о ВПП:
μк=0,3;
– коэффициент трения пары
"углерод-углерод":
μс-с=0,35;
– коэффициент трения пары
МКВ-50 – 4НМХ:
μТ=0,3.
1.3.3.2 Расчет нагрузок, действующих
на корпус колеса и реборды [5]
Расчетными нагрузками,
действующими на корпус колеса, являются осевые, радиальные и боковые усилия.
Величину осевой нагрузки
определим по формуле:
Q=π×Pp×[(R-rп)2-R0], (1.46.)
где Pp – расчетное давление в пневматике,
Pp=k×P0 , (1.47.)
P0=0,95 МПа – рабочее давление в пневматике,
k=3 – коэффициент запаса прочности,
Pp=3×0,95=2,85 (МПа);
R=0,465 м – радиус пневматика
rп=0,1525 м – радиус круглого сечения пневматика;
(1.48.)
Подставим данные в
выражение (1.46.) получим:
Q=3,14×2,85×[(0,465-0,1525)2-0,2042]×106=501504,2
(Н).
Разрушающая радиальная
нагрузка на колесо:
Pразр=kp×PСТ взл max , (1.49)
где kp=6,5 – коэффициент безопасности;
PСТ взл max=71367,36 Н – стояночная нагрузка на
колесо со взлетной массой самолета;
Pразр=6,5×71367,36=463887,84 (Н).
Радиальная нагрузка будет
уравновешиваться реактивными силами R1 и R2, действующих на корпус колеса через середину наружных
обойм подшипников (рис 1.9.).
Момент радиальной
нагрузки относительно точки "0" будет равен:
(1.50)
где Pразр – радиальная разрушающая нагрузка;
b0 – ширина колеса между серединами вершин обойм;
a – расстояние от подшипника до
плоскости разъема колеса.
Тогда уравнение сумм
моментов относительно точек приложения будет иметь вид:
(1.51.)
следовательно:
(1.52.)
Боковая разрушающая
нагрузка:
Pбок=kб×PСТ
взл max , (1.53)
где kб=2,5 – коэффициент безопасности
Pбок=2,5×71367,36=178418,4 (Н).
Радиус приложения боковой
нагрузки:
(1.54.)
где D=0,93 м – диаметр пневматика;
δп.о.=0,187
– усадка при полном обжатии пневматика;
(м).
Боковая сила Pбок создает боковой момент:
Mбок=Pбок×Rбок , (1.55.)
где Pбок – боковая разрушающая нагрузка;
Rбок – радиус приложения боковой
нагрузки;
Mбок=178418,4×0,3247=57932,45
(Н·м).
Мбок будет
уравновешиваться реактивными силами Fбок и Pбок´, действующими на корпус
колеса через внешние обоймы подшипников (рис.1.10.):
(1.56.)
где Mбок – боковой момент;
b0=0,154 м – расстояние между серединами внешних обойм
подшипников;
(Н),
Pбок´=Pбок=178418,4 Н.
1.3.3.3 Расчет на
прочность реборды колеса
Реборда работает на
изгиб, как консольная балка, нагруженная силой Q (рис.1.11.).
Расчет произведем в трех
сечениях.
Сечение 1-1:
Момент сопротивления
сечения:
(1.57.)
где D0=0,41 м – диаметр сечения 1-1;
b =0,015 м – минимальная толщина
сечения;
(м3).
Нормальное напряжение при
изгибе:
σр=σсж=
(1.58.)
где L – плечо приложения силы Q,
(1.59.)
где D0=0,41 м – диаметр сечения,
D1=0,478 м – диаметр реборды,
(м);
Q=501504,2 Н – осевая нагрузка;
W – момент сопротивления сечения;
(МПа).
Коэффициент избытка
прочности:
(1.60.)
где kп=1,35 – коэффициент пластичности;
σв´–
пониженный временный предел прочности материала:
σв´=0,78×σв,
(1.61)
σв´=0,78×490=382,2
(МПа);
тогда
Определим касательные
напряжения при изгибе:
τmax=
(1.62.)
где Q=501504,2 Н – осевая нагрузка;
F – площадь поперечного сечения:
F=π×D0×b, (1.63.)
D0=0,41 м – диаметр сечения,
b=0,015 м – минимальная толщина
сечения,
F=3,14×0,41×0,15=0,01931
(м2);
тогда
τmax=
=
38956824 (Па)=38,96 МПа.
Коэффициент избытка
прочности:
(1.64.)
где σв´
- пониженный временный предел прочности;
τmax – касательные напряжения при изгибе;
Сечение 1-2:
Средний диаметр сечения
будет равен:
Dср=D0 – h1×sin α, (1.65.)
где h1=0,02 м – высота сечения;
α = 45° - угол между сечениями 1-1 и
1-2;
Dср=0,41-0,02×sin 45°=0,3959 м.
σр = σи+σр´=
(1.66.)
где L1 – плечо приложения силы Q,
L1=L+
(м);
Wр – момент сопротивления сечения,
Wр=
(1.67.)
где Dср – средний диаметр сечения,
h1 – высота сечения,
Wр=
(м3);
F – площадь сечения 1-2,
F=π×Dср×h1=3,14×0,3959×0,02=0,0249 (м2);
тогда
Коэффициент избытка
прочности:
(1.68.)
где kп=1,35 – коэффициент пластичности,
используя формулу (1.68.)
получим:

Сечение 1-3:
Средний диаметр сечения
1-3:
Dср=D0 –
(1,69)
где D0=0,41 м – диаметр сечения 1-1;
h2=0,02 м – высота сечения 1-3;
Dср=0,41-
Нормальные напряжения для
зон сжатых и растянутых волокон при изгибе и растяжении:
σр = σи+σр´
(1.70.)
где L2 – плечо приложения силы Q в сечении 1-3,
L2=L+
Wр – момент сопротивления сечения,
Wр=
(1.71.)
где Dср – средний диаметр сечения 1-3,
h2 – высота сечения 1-3,
Wр=
F – площадь сечения 1-3,
F=π×Dср×h2=3,14×0,4×0,02=0,0251 (м2);
тогда
Коэффициент избытка
прочности:
(1.72.)
где kп=1,35 – коэффициент пластичности,
используя формулу (1.68.)
получим:
1.3.3.4 Расчет болтов,
соединяющих внутреннюю и внешнюю части барабана колеса
Сила, действующая на
болты:
Q1=π×Pp×[(R-rп)2-Rz2], (1.73.)
где Pp=2,85 МПа – расчетное давление в
пневматике;
R=0,465 м – радиус пневматика;
rп=0,1525 м – радиус круглого сечения пневматика;
Rz=0,1305 м – радиус установки болтов;
Q1=3,14×2,85×106×[(0,465-0,1525)2-0,13052]=721522
(Н).
Кроме осевой силы Q1 на болты действует сила P от предварительной затяжки гайки. Величина силы P принимается 15÷20% от
величины разрушающих нагрузок Pp´:
(1.74.)
где Z=6 – количество болтов,
Усилие затяжки болта:
P=0,15×Pp´, (1.75.)
P=0,15×120253,6=18038,04 (H).
Напряжение разрыва болта
по резьбе:
(1.76)
где Р – усилие затяжки
болта;
Pp´– разрушающая нагрузка на
болт;
d0 – минимальный диаметр болта по резьбе:
d0=d-2×h, (1.77.)
где d=0,025 м – диаметр болта,
h=0,0015 м – высота резьбы,
d0=0,025-2×0,0015=0,022 (м);
(Па)=363,98
МПа.
В качестве материала для
болтов принимаем сталь 30ХГСА´, для которых временный предел прочности σв=1373
МПа.
Коэффициент избытка
прочности:
(1.64.)
тогда
1.3.3.5 Разрушающее
давление в гидравлической системе тормозов
Разрушающее давление в гидравлической
системе тормозов PТ разр найдем по формуле:
(1.79.)
где MТ раз=37461 Н·м – разрушающий тормозной
момент;
MТЭ=12487 Н·м – эксплуатационный тормозной момент;
PТ=12,81 МПа – рабочее давление в гидросистеме тормозов;
.
Найдем напряжение среза
болта от действия разрушающего тормозного момента:
(1.80.)
где Т – усилие,
действующее на болт:
(1.81.)
где nб=6 – количество болтов,
Dб=0,261 м – диаметр окружности болтов,
kн=0,75 – коэффициент неравномерности болтов,
.
Коэффициент избытка
прочности:
(1.82.)
где k – поправочный коэффициент:
(1.83.)
следовательно
тогда
1.3.4. Усовершенствование
шарнирного узла шасси самолета
В существующем в данное
время шарнирном узле шасси самолета Ту-154 находится ось и втулки с буртиками,
выполненные из антифрикционной бронзы, по которым скользит ось с помощью
смазки. При работе шасси ось под нагрузкой упруго изгибается и защемляется на
краях жестких бронзовых втулок, увеличивая давление в зоне защемления в 1,5 – 2
раза относительно равномерного расчетного распределения.
Недостатками такой
конструкции являются низкая надежность шарнирного узла, так как в зоне
защемления происходят выдавливание смазки, наволакивание бронзы на поверхность
оси, от чего следует быстрый износ втулок. Кроме того, шарнирный узел имеет
большую массу.
Ближайшими, по
технической сущности, являются шарнирные узлы с металлофторопластовыми
втулками, не требующими смазки. Так как анти фрикционный слой
металлофторопластовых втулок представляет собой пористую бронзу, пропитанную фторопластом,
то работа металлофторопластовых втулок в шарнирных узлах самолета практически
не отличается от работы бронзовых втулок и имеет указанные недостатки.
Целью предложения [8]
является повышение надежности и уменьшение массы шарнирного узла шасси самолета
путем равномерного распределения давления. Для этого, шарнирный узел шасси
самолета, содержащий ухо и вилку, шарнирно соединенные между собой посредством
оси с втулками, имеющими антифрикционное покрытие на внутренних поверхностях и
установленными в вилке, снабжен кольцами, которые установлены на выступающих из
вилки концах втулок, при этом на внутренних и внешних поверхностях втулок и
торцевых поверхностях колец нанесено упругое антифрикционное покрытие. Шарнирные
узлы представляют собой соединение уха 5 и вилки 6 с помощью оси 7 (рис.1.12.).
Ось 7 неподвижно закреплена в ухе 5, а в вилке 6 установлены втулки 8 и кольца
9, причем кольца 9 размещены на хвостовики, образованные втулками 8. Втулки 8 и
кольца 9 (рис.1.12) снабжены упругим антифрикционным покрытием 10 (например,
оргалон), причем втулки 8 имеют покрытие, как по внутренней, так и по наружной
поверхности, а кольцо 9 – по торцевым поверхностям. Шарнирный узел работает
следующим образом. При действии взлетно-посадочных нагрузок на стойку шасси,
сочлененные звенья совершают качательные движения в шарнирных узлах. При этом
ось 7 упруго изгибается во втулках 8, а втулки 8, за счет обжатия упругого
антифрикционного покрытия 10 с наружной и внутренней сторон, самоориентируются
по линии изогнутой оси 7, равномерно распределяя давление на антифрикционное
покрытие 10 без резких скачков. Кольца 9, воспринимающие осевые нагрузки, за
счет обжатия упругого антифрикционного покрытия 10 по торцевым поверхностям,
равномерно передают давление на трущиеся поверхности, компенсируя их монтажный
и деформационный перекос.
1.3.5 Усовершенствование
устройства для перетока жидкости в амортизаторе передней ноги шасси самолета Ту
-154
Целью предложения
является уменьшение веса амортизатора путем изменения внутренних габаритов
устройства для обеспечения необходимого времени заполнения гидравлической
камеры амортизатора при минимальной высоте столба жидкости.
На рис. 1 изображено
устройство для перетока жидкости и движение жидкости через устройство на
обратном и прямом ходах.
Клапан состоит из корпуса
1, закрепленного в плунжере 2. Внутри корпуса установлена диафрагма 3 с
центральным отверстием. Со стороны гидравлической камеры в корпусе установлен
клапан торможения прямого хода 4. Клапан 4 имеет центральное отверстие 5,
осуществляющее гидравлическое торможение при прямом ходе, и несколько
периферийных отверстий 6. Со стороны газовой полости в корпусе установлен
клапан обратного торможения 7, выполненный в виде усеченного конуса с днищем,
фланцем и отверстиями в днище 8 и боковой стенке 9. Отверстие в днище 8
осуществляет гидравлическое торможение при обратном ходе. Клапан пружиной 10
поджат к гайке 11, которая через распорную втулку 12 контрит диафрагму 3.
Клапаны 4,7 и диафрагма 3 имеют кольцевые контактные поверхности 13.
Площади и диаметры
отверстий в клапане обратного торможения 7 и отверстий 6 в клапане прямого
торможения 4, расстояние между контактными поверхностями клапанов и диафрагмы и
диаметр центрального отверстия диафрагмы 3 определяются из условия заполнения
камеры после выпуска стойки.
Клапан работает следующим
образом.
После выпуска стойки
амортизатор находится примерно в вертикальном положении. Жидкость, которая
перетекла в газовую полость из гидравлической, перетекает обратно в
гидравлическую полость через отверстия в клапанах 4 и 7 и диафрагме 3 и
кольцевые зазоры между клапанами и диафрагмой.
Движение жидкости при
переливе показано на рис.1…..
При прямом ходе клапан 4
давлением жидкости прижимается к диафрагме 3. При этом дросселирование жидкости
в газовую полость осуществляется отверстием 5, так как его площадь значительно
меньше площади отверстий в диафрагме 3, клапане 7 и площади кольцевого зазора
между клапаном и диафрагмой, 7 и 3.
При обратном ходе, так
как усилие затяжки пружины составляет 2÷3 веса клапана 7, что
соответствует перепаду давления срабатывания клапана ≈0,04 атм (перепады
давлений на клапане при обратном ходе составляют 200÷300 атм), клапан 7
прижимается к диафрагме.
При этом дросселирование
жидкости осуществляется только через отверстие в днище 8.
Устройство для перетока
жидкости в пневмогидравлическом амортизаторе шасси, содержит корпус с
центральным отверстием, и размещенный в нем плавающий клапан обратного
торможения с центральным отверстием, от установленного в стандартном
устройстве, отличается тем, что, с целью уменьшения веса амортизатора путем
изменения внутренних габаритов устройства для обеспечения необходимого времени заполнения
гидравлической камеры амортизатора при минимальной высоте столба жидкости, оно
снабжено диафрагмой с центральным отверстием, клапаном торможения прямого хода
с центральными и боковыми отверстиями, размещенными в полости, образованной
диафрагмой и корпусом устройства. А также гайкой, завинченной в верхней части
устройства, и распорной втулкой для контровки диафрагмы. При этом плавающий
клапан обратного торможения выполнен в виде усеченного конуса с днищем в узкой
части и фланцем в широкой и поджат пружиной к гайке, контрящей через распорную
втулку диафрагму. Причем внешний диаметр клапана торможения прямого хода больше
диаметра центрального отверстия корпуса, а каналы торможения прямого и
обратного ходов размещены с радиальным зазором относительно корпуса и распорной
втулки.
1.3.6 Разработка
сигнализатора давления для авиационных пневматиков
В существующей
конструкции самолета Ту-154 не предусмотрено никакого устройства для измерения
давления в пневматике. При обслуживании самолета по всем периодическим формам и
по оперативной форме "Б" предусматривается замер давления в
пневматиках колес и подкачка их воздухом или азотом в случае необходимости. Для
замера давления используется ручной переносной манометр нажимного принципа
действия. Его использования в технической эксплуатации имеет следующие
недостатки:
- невысокая точность
измерений, возможность считывания со шкалы манометра ложных показаний в случае
установки его на ниппель с большим перекосом;
- наличие лишних операций
при зарядке воздухом пневматиков: необходимо сначала замерить давление в
пневматике, затем подзарядить его, после чего вновь произвести замер.
Предлагаемое устройство
будет лишено этих недостатков, так как оно жестко закреплено на барабане колеса
и его показания зависят только от величины давления зарядки пневматика. Кроме
того, это устройство позволяет визуально контролировать давление зарядки
пневматика в любой момент времени без использования дополнительных
приспособлений, в том числе и подкачки колес, что позволяет избежать
перезарядки или недозарядки пневматиков.
Данный сигнализатор
разработан японской фирмой "Nissan motors". Состоит
из корпуса, диафрагмы, магнита и яркой металлической пластины. Пластина
прикрыта прозрачным колпачком – окошечком. Между ним и пластиной насыпан
металлический порошок серого цвета. Схема работы сигнализатора давления
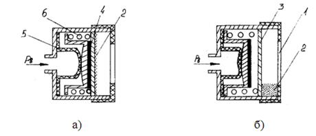
показана на рисунке:
а) – давление в
пневматике колеса нормальное. Через колпачок 1 виден серый металлический
порошок 2, показывающий индикаторную пластину 3. Порошок притягивается магнитом
4, который прижат к пластине 3 диафрагмой 5;
б) – давление в камере
понижено. Пружина 6 оттянула магнит 4, порошок 2 осыпался, и стала видна яркая
металлическая пластина 3.
Данный сигнализатор
давления необходимо устанавливать в вертикальной плоскости.
1.3.6.1 Проверочный
расчет индикатора давления воздуха
Исходные данные:
Давление воздуха в
пневматике P=0,95±0,5 МПа.
Рабочий ход поршня с
магнитом L=0,005 м.
Диаметр поршня d=0,005 м.
Сила, действующая на
поршень от давления зарядки пневматика:
где P – давление воздуха в пневматике;
F – площадь поршня,
Определим усилие на
поршень при максимальной РBmax и минимальной РВmin зарядке пневматика:
При усилии РBmax=19,62
Н поршень находится в крайнем правом положении на упоре. При усилии РВmin=17,66 Н он сдвинут влево на 0,005 м
и уравновешен усилием пружины, с одной стороны, и усилием воздуха с другой.
Коэффициент жесткости
пружины необходимой для нормальной работы приспособления:
1.3.7 Конструктивное
усовершенствование замка убранного положения основной опоры шасси
Установленный замок
убранного положения основной опоры шасси на самолете Ту-154 имеет корпус,
запорный крюк с хвостовиком и пружиной, установленный на поворотной оси и
взаимодействующий с петлей шасси и защелкой, установленной на поворотной оси,
параллельной оси запорного крюка, и взаимодействующий с силовым управляющим
цилиндром. Это замковое устройство имеет большие габариты и вес, что приводит к
увеличению размеров и веса Ту-154. Также при долговременной эксплуатации наблюдается
ненадежная фиксация стойки в убранном положении.
Целью усовершенствования
является повышение надежности работы и снижение веса замкового устройства.
Для достижения этой цели
в замковом устройстве, содержащем запорный крюк с хвостовиком и пружиной,
установленный на поворотной оси и взаимодействующий с петлей шасси и защелкой,
установленной на поворотной оси, параллельной оси запорного крюка, и
взаимодействующий с силовым управляющим цилиндром, при этом один конец пружины
закреплен на хвостовике запорного крюка, а другой конец пружины соединен с
защелкой, продольная ось пружины расположена между петлей шасси и поворотной
осью запорного крюка при закрытом замковом устройстве.
Предлагаемое замковое
устройство состоит из корпуса 1, в котором на оси 2 размещен с возможностью
поворота запорный крюк 3 и на оси 4 – приводная защелка 5. Хвостовик 6
запорного крюка 3 имеет кронштейн 7 с зацепом 8, на котором закреплен один
конец пружины 9 растяжения, а другой ее конец закреплен на приводной защелке 5,
прижимающей защелку к упору 10 на запорном крюке 3 в закрытом положении
устройства. На корпусе 1 установлен управляющий силовой цилиндр 11, шток 12
которого взаимодействует с роликом 13, установленным на приводной защелке 5, и
подпружинен с помощью пружины 14. Силовой гидравлический цилиндр 11 имеет штуцер
15 для подсоединения линии "открытие замка" и штуцер 16 для
подсоединения линии "закрытие замка". В корпусе 1 установлен упор 17
для запорного крюка 3 в открытом положении замкового устройства. Корпус 1
замкового устройства закреплен на каркасе 18 летательного аппарата, петля 19
установлена на опоре шасси. Отличается тем, что продольная ось расположена
между осью петли шасси и поворотной осью запорного крюка при закрытом замковом
устройстве.
Замковое устройство
работает следующим образом. В закрытом положении устройства петля 19
расположена между крюком 3 и корпусом 1, при этом защелка 5 под действием
пружины 9 находится на упоре 10 запорного крюка 3, тем самым, препятствуя его
открытию. Шток 12 силового управляющего цилиндра 11 под действием пружины 14
находится на упоре корпуса.
При подаче давления
жидкости из линии "открытие замка" в штуцер 15 шток 12 цилиндра 11
перемещается, обжимая пружину 14, и вступает в взаимодействие с роликом 13
приводной защелки 5, в результате чего она поворачивается и освобождает
запорный крюк 3, растягивая при этом пружину 9. Под действием усилия на петле
19 от подъемника опоры шасси и под воздействием пружины 9 запорный крюк 3
поворачивается, освобождая петлю 19 опоры шасси, и опора шасси начинает
движение на выпуск шасси, при этом под усилием пружины, меньшим, чем при
открытии приводной защелки 5, запорный крюк 3 поворачивается до упора 17.
После снятия давления из
штуцера 15, шток 12 силового управляющего цилиндра 11 под действием пружины 14
перемещается до упора в корпусе, освобождая ролик 13 приводной защелки 5. Замок
открыт.
При закрытии замкового
устройства давление из линии "закрытие замка" поступает в штуцер 16
силового управляющего цилиндра 11 и в случае недохода штока 12 до упора под
воздействием пружины 14 он ставится на упор в корпусе под действием этого
давления. Петля 19 опоры шасси подходит к замку вступает во взаимодействие с
хвостовиком 6 крюка 3, поворачивает его, растягивая пружину, при этом приводная
защелка 5 скользит по крюку 3. После перемещения петли до упора в корпус крюк 3
освобождает защелку 5 и она поворачивается до упора 10 крюка 3 обеспечивая
закрытое положение.
2. Специальная часть
С целью улучшения условий
трута наземного обслуживающего персонала, в дипломном проекте предлагается
разработка установки для технического обслуживания шасси самолета.
2.1 Краткая
характеристика механизации, применяемой при техническом обслуживании самолета
Ту – 154
Для обслуживания гидравлической системы
самолета, а также зарядки пневматических элементов сжатым азотом и питания
электрических потребителей постоянным током применяется универсальный,
передвижной гидравлический агрегат УПГ-300.
Сжатый
воздух используется для зарядки пневматиков колес, проверки герметичности
кабины, продувки и очистки деталей агрегатов при техническом обслуживании. Для
обеспечения самолета сжатым воздухом используются аэродромные компрессорные
станции высокого давления (АКС-8, УКС-400В) и низкого давления (КНД-4),
воздухозаправщик (ВЗ-20-300), транспортные баллоны, приборы для контроля
кондиционности воздуха, редукторы и манометры. Для наполнения углекислотой
огнетушителей и углекислотных баллонов бортовых противопожарных систем
применяется автомобильная углекислотно-зарядная станция АУЗС-2М.
Для
заправки самолета ГСМ и спецжидкостями применяются топливозаправщики типа
ТЗ-16, ТЗ-22, маслозаправщики типа МЗ-51М, МЗ-150, водоспиртозаправщики типа ВСЗ-66
и заправщики специальными жидкостями ЗСЖ=66.
Для
вывешивания самолета, при проверке работы системы уборки-выпуска шасси, замене
стоек и тележек шасси, используются гидравлические подъемники. При замене колес
только на одной из стоек шасси нет необходимости вывешивать на подъемниках весь
самолет. В этом случае применяется гидродомкрат с ручным насосом НР-1- 01.
Для
монтажа и демонтажа пневматиков колес применяются установки типа УМК-2 и УМК-3,
имеющую насосную установку с электроприводом.
Для
диагностирования технического состояния самолета и его систем применяются
различные системы диагностики, приборы, бортовые самописцы.
Для
электропитания самолета применяются как стационарные источники электроэнергии
так и аэродромные передвижные агрегаты типа АПА-50, АПА-100, которые
обеспечивают питание систем самолета постоянным током с напряжением 28,5 В,
переменным трехфазным током c напряжениями 36 В и 208 В, частотой 400 Гц.
2.2
Основные требования, предъявляемые к машинам и механизмам, используемым при техобслуживании
воздушных судов
В
соответствии с нормами летной годности самолетов гражданской авиации (НЛГС ГА)
к машинам и механизмам, используемым при техобслуживании воздушных судов,
предъявляются следующие требования:
1.
Обеспечение минимально возможного времени техобслуживания воздушного
судна;
2.
Возможно большая простота конструкции и удобство в эксплуатации;
3.
Большой срок службы и экономичность;
4.
Надежность работы и возможность эффективного использования в широких
диапазонах климатических и метеорологических условий;
5.
Минимальное количество обслуживающего персонала;
6.
Безопасные и безвредные условия труда.
Кроме
общих условий каждый вид средств механизации должен удовлетворять также ряду
специальных требований, вытекающих из его функционального назначения.
Средства
механизации, также, должны быть комбинированными и универсальными, то есть такими,
чтобы их можно было использовать при техобслуживании воздушных судов различных
типов.
2.3
Разработка передвижной установки для техобслуживания шасси самолета Ту-154
Отсутствие
достаточного количества ангарных помещений в АТБ приводит к тому, что в
напряженный период эксплуатации техническое обслуживание производится на
стоянках ПС. При этом большую трудоемкость и неудобство представляет
перемещение производственного оборудования, инструментов и запасных частей на
стоянку.
Для
устранения этого недостатка в дипломном проекте спроектирована передвижная
установка для техобслуживания шасси самолета Ту-154, которая является
универсальной и может быть использована для техобслуживания шасси других типов
воздушных судов.
Установка
представляет собой специальный металлический кузов, смонтированный на
автомобиле типа Ford Transit. Кузов состоит из
каркаса и металлической обшивки. Каркас сварной
конструкции, изготовленный из уголкового профиля. Створки установки также
сварной конструкции, изготовленные из листовой стали подкрепленной уголковыми
профилями.
В кузове
имеются следующие отсеки:
1. Отсек
для размещения насосной станции, гидравлического бака и гидросистемы установки;
2. Отсек
для размещения гидродомкрата;
3. Отсек
для баллонов с азотом и сжатым воздухом;
4. Отсек
для хранения колес КН-10 (оборудован направляющими для выгрузки, погрузки и
фиксации колес, механизмом погрузки и выгрузки с силовым цилиндром и секторным
механизмом);
5. Отсек
для хранения колес КТ-141 (оборудован направляющими для выгрузки, погрузки и
фиксации колес);
6. Отсек
для хранения тормозных устройств;
7. Отсек
для хранения инструмента, применяемого для ТО шасси;
8. Отсек для хранения
приспособлений, применяемых при техобслуживании шасси:
- приспособление для
зарядки амортстоек шасси и стабилизирующих амортизаторов;
- приспособление для
проверки давления азота в амортстойках и стабилизирующих амортизаторах;
- приспособление для
зарядки пневматиков колес;
- приспособление для
прокачки тормозной системы;
- приспособление для
съема колес основной опоры;
- приспособление для
съема подшипников колес основных опор шасси.
Управление работой
установки осуществляется с пульта управления, на котором размещены приборы
контроля, краны и кнопки управления.
2.3.1 Техническое
описание гидроустановки и гидродомкрата
Гидроустановка
предназначена для управления гидродомкратом и механизмом погрузки-выгрузки
колес, а также для дозаправки гидросистемы самолета. Для резервного питания
гидроагрегатов, также для сглаживания насосных пульсаций давления в
гидросистеме предусмотрена установка гидроаккумулятора. Гидроустановка включает
в себя гидравлическую и пневматическую системы.
Гидросистема служит для
подачи давления к потребителям и включает в себя:
- гидравлический бак
емкостью не менее 50 литров;
- электрический
гидронасос с автоматом разгрузки и предохранительным клапаном;
- обратные клапаны;
- гидроаккумулятор;
- фильтры высокого и
низкого давления;
- электрогидрокраны для
подачи давления в разные линии нагнетания;
- силовые гидравлические
цилиндры, оборудованные концевыми выключателями;
- пульты управления и
заправки.
Пневматическая система
обеспечивает наддув бака гидросистемы, зарядку пневматиков сжатым газом и
переключение зарядки пневматиков как азотом, так и сжатым воздухом.
Пневматическая система включает в себя:
- баллоны с азотом и
сжатым воздухом;
- фильтры тонкой очистки;
- редукторы на
поддавливание жидкости в баке установки и на зарядку пневматиков;
- запорные краны и
обратные клапаны;
- пульты управления и
заправки, выполненные для удобства заодно с пультами гидравлической системы.
Работа гидроустановки
может осуществляться как от внешнего источника питания напряжением 24-28,5 В,
так и от генератора установленного на автомобиле.
Гидродомкрат
оборудованный автоматической системой подачи давления, значительно облегчает
работу по подъему опор самолета при замене колес и тормозных устройств, а также
позволяет сократить время выполнения указанных работ.
Для уменьшения веса
гидродомкрата кран управления, вентиль, ручной насос и бак с гидродомкрата
сняты, а оставлены только телескопический гидроцилиндр и опорная плита.
Снятые элементы размещены
на установке, а ручной насос установлен в линию дозаправки гидросистемы
самолета. Гидродомкрат с установкой соединен армированными шлангами и подключен
к гидросистеме установки.
2.3.2 Расчет узлов
крепления установки к раме автомобиля
Пол установки с
размещенными на нем агрегатами крепится к раме автомобиля восемью болтами, узел
крепления показан на рисунке 2.1.
При передвижении
автомобиля с ускорением, болты воспринимают силу инерции Р:
(2.1.)
где m=1400 кг – масса снаряженной передвижной установки;
а – ускорение установки,
(2.2.)
где V= 60
= 16,8
–
скорость движения автомобиля;
t= 3 c – время остановки автомобиля минимальное,
Рис. 2.1. Схема узла
крепления установки к раме автомобиля.
Болты рассчитаем на срез:
(2.3.)
где d1 – диаметр впадин резьбы болта;
Р – действующая нагрузка;
k=1 – количество плоскостей среза;
b=8 – количество болтов;
[τср] =
42
106 Па – предел напряжения
среза для материала СТ 45.
Чтобы увеличить площадь
деревянных брусков, работающих на сжатие при затяжке болтов, увеличим диаметр
болтов. В этом случае,
Принимаем болты М12 с
диаметром d1 =10,16 мм.
2.3.3 Расчет направляющих
для погрузки колес
Каждая направляющая
состоит из двух уголковых профилей соединенных между собой. Под действием массы
колеса, направляющая воспринимает силу Р1, которая раскладывается на
составляющие Р1 и Р2 (Рис 2.2.).
Под действием силы Р1,
направляющая работает на изгиб. В точке С (АС=СВ) балка будет воспринимать
максимальный изгибающий момент (Рис 2.3.)
Рис.2.3.
Максимальный изгибающий
момент в этой точке будет равен:
(2.4.)
где a=b=0,625 м – длины участков направляющей;
Р1 –
нормальная составляющая силы Р,
,
(2.5.)
Р =600Н – сила
действующая на направляющую от колес;
α = 40˚ – угол
установки направляющей;
Так как направляющая
состоит из двух уголковых профилей, ее необходимо рассчитать на косой изгиб по
формуле:
(2.6.)
где Х1 и Y1 – координаты точки, наиболее удаленной от нейтральной
линии;
Ix и Iy – моменты инерции относительно осей X и Y.
Для уголкового профиля №4
по таблице сортамента [19] находим:
Х1 =1,53
10-2м; Y1 =0,78
10-2м;
Ix =7,26
10-8м-4;
Iy =1,19
10-8м-4;
Найдем изгибающий момент
относительно осей X и Y. Так как профиль симметричный
относительно осей X и Y, то
(2.7.)
В связи с тем, что
направляющая состоит из двух уголковых профилей, каждый профиль будет
испытывать напряжение
(2.8.)
Под действием
составляющей Р2 направляющая работает на растяжение.
Составляющая Р2
равна
(2.9.)
Напряжение растяжения
равно
(2.10.)
где S=3,08
м2
– площадь сечения №4 [10].
Учитывая, что
направляющая состоит из двух уголковых профилей,
(2.11.)
Используя теорию
нормальных максимальных напряжений, проверим, удовлетворяют ли найденные
значения напряжений условию:
,
(2.12.)
где [σ] – предел
прочности материала СТ 3 с учетом коэффициента запаса прочности.
К=0,2 – коэффициент
запаса прочности.
(2.13.)
где σв=363
МПа – предел временной прочности материала СТ 3.
Условие выполняется,
спроектированная направляющая выдержит заданную нагрузку.
2.3.4 Расчет
грузоподъемного механизма
Для погрузки и выгрузки
колес самолета из технического отсека установки используется гидроподъемный
механизм (Рис. 2.4.).
2.3.4.1 Расчет секторного
механизма
Рабочие условия, в
которых будет работать предлагаемый секторный механизм:
1. Скорость вращения сектора n=7
;
2. Ресурс работы передачи – 10 лет;
3. Работа круглосуточная с часовой
загрузкой 12 часов
4. Расчетный вращающий момент:
(2.14.)
где КР=1,2 –
коэффициент режима;
Р – усилие на штоке
гидроцилиндра;
L – плечо приложения усилия.
5. Передаточное отношение U=1;
6. В качестве материала колеса и рейки
принимаем сталь 40Х с термообработкой рабочих поверхностей до твердости HRC=45-50.
7. Определим допускаемые контактные
напряжения
а) предел контактной
выносливости стали 40Х для выбранной термообработки, соответствующий базовому
числу циклов, находим, используя соотношения таблицы 20.4 литературы [11].
(2.15.)
б) базовое число циклов
определим путем линейной интерполяции по таблице 20.5 [11].
в) фактическая продолжительность
работы механизма в течении одного года:
(2.16.)
где 365 – количество дней
в году;
24 – количество часов в
сутках;
γч = 0,06
– коэффициент часовой загрузки;
Фактическое число циклов
нагружения:
(2.17.)
где с=1 – число
зацеплений зуба за один оборот;
n=7
-
скорость вращения сектора;
t=525,6 ч – продолжительность работы
механизма в течении года;
.
г) определим коэффициент
долговечности:
(2.18.)
где NHO = 6,4
107 – базовое количество
циклов;
N'HE = 10
NHE = 10
220752 =2207520 – фактическая
продолжительность работы механизма в течении всего срока эксплуатации;
.
д) предел контактной
выносливости поверхности зубьев:
(2.19)
где
=795 МПа – предел контактной
выносливости материала, соответствующий базовому числу циклов;
КHL=1,75 - коэффициент долговечности;
σNlim=795
1,75=1391,25 (МПа).
е) находим
предварительное значение допускаемого контактного напряжения по формуле:
(2.20.)
где SH=1,2 – коэффициент безопасности для
зубьев с поверхностным упрочнением;
–
коэффициенты, учитывающие, соответственно, влияние шероховатости, окружной
скорости, смазочного материала и размеров. В предварительных расчетах
целесообразно принимать
=1;
тогда
8. Находим ориентировочное значение
диаметра колеса (условно диаметр сектора)
(2.21.)
где
0,3 – коэффициент инерции колеса;
-
коэффициенты, учитывающие динамичность нагрузки, чистоту поверхности и концентрацию
напряжений соответственно;
Н=1;
М – потребный вращающий
момент,
М=1,2
Р
L, (2.22.)
где Р=1200 Н – сила
тяжести подвижных элементов,
L=0,625 м – плечо приложения силы
тяжести относительно оси вращения;
Чтобы уменьшить усилие
гидроцилиндра и его габариты, условный диаметр сектора принимаем dw =200 мм =0,2 м.
9. Определим количество зубьев на полном
колесе:
(2.23.)
где dw =200 мм =0,2 м – условный диаметр
колеса;
m = 5 мм – модуль зацепления;
10. Проверим прочность зубьев по напряжению изгиба:
а) предел выносливости
зубьев при изгибе, соответствующий базовому числу циклов нагружения NFO=6,4
106,
для принятой обработки стали по таблице 20.3 [11],
б) принимая
, вычислим коэффициент долговечности:
(2.24.)
где
– базовое число циклов нагружения;
в) определим предел
выносливости, соответствующий фактическому числу циклов нагружения:
(2.25.)
г) найдем допускаемое
напряжение изгиба:
(2.26.)
где SF =1,4 – коэффициент безопасности для
стальных поковок;
YR=1,1 –коэффициент учитывающий влияние
шероховатости поверхности;
YS – коэффициент, учитывающий влияние
абсолютных размеров зубьев,
(2.27.)
KXF – коэффициент учитывающий влияние
размеров зубьев,
(2.28.)
где
– диаметр окружности выступов сектора,
(2.29.)
где
– коэффициент высоты головки зуба,
Х=0 – коэффициент
смещения;
,
,
11. Напряжение изгиба в зубе сектора и рейки определим по
формуле:
(2.30.)
где YF =3,7;
Yβ =1 – для прямозубой передачи;
KFV =1;
KFβ =1 – при симметричном расположении
сектора;
KFα =1 – коэффициент учитывающий, что
нагрузка воспринимается одной парой зубьев;
Значение
, полученное выше, сравниваем с
допустимым напряжением на изгиб:
,
33,3 МПа<564,6 МПа.
Условие прочности
выполняется.
12. Основные размеры зубчатого сектора.
Диаметр делительной
окружности:
;
Диаметр окружности
впадин:
(2.31.)
где
- коэффициент высоты головки зуба;
С = 0,25 – коэффициент радиального
зазора;
Х = 0 – коэффициент
смещения;
Диаметр окружности
вершин:
.
Высота зуба:
(2.32.)
h=0,5
(210-187,5)=11,25
(мм).
Ширина зубчатого сектора:
где
=0,3 – коэффициент инерции колеса,
b=0,3
200=60 (мм) =0,06 м.
2.3.4.2 Расчет силового
цилиндра гидроподъемного механизма
Схема силового
гидроцилиндра показана на рис.2.5. Используя формулу (2.14.) определим усилие,
развиваемое гидроцилиндром, необходимое для возникновения в секторе вращающего
момента, способное поднять колесо на установку.
(2.34.)
где М =900 Н·м –
вращающий момент, создаваемый штоком гидроцилиндра;
-
плечо приложения силы Р от штока гидроцилиндра к сектору;
Определим площадь поршня
гидроцилиндра:
(2.35.)
где Р – усилие,
развиваемое штоком гидроцилиндра;
р = 8,8
106 Па – давление жидкости в
гидроцилиндре;
Рис.2.5. Схема
гидроцилиндра и секторного механизма
Определим необходимый диаметр
поршня гидроцилиндра из формулы:
(2.36.)
где d=0,04 м – диаметр штока;
f =0,001023 м2 – площадь
поршня;
D – диаметр поршня,
(2.37.)
Учитывая КПД силового
цилиндра
=0,95, диаметр поршня принимаем равным
D = 0,06 м.
2.3.5 Расчет необходимого
количества АМГ-10 для гидросистемы установки
Количество масла АМГ-10,
необходимое для работы установки, определим исходя из рабочих объемов силовых
цилиндров гидроподъемного механизма, объема цилиндра гидродомкрата, объема
жидкости в трубопроводах
установки, потребного
запаса жидкости в гидробаке, вязкости жидкости, а также учитывая запас масла
АМГ-10 для дозаправки гидросистемы самолета в случае необходимости.
(2.38.)
где Vг.дом=1,942
10-3
м3 – рабочий объем цилиндра гидродомкрата;
Vгм=2,26
10-3
м3 – рабочий объем цилиндров гидроподъемного механизма;
Vгс – объем жидкости в гидросистеме
установки;
Vтр – объем жидкости в трубопроводах
установки;
Vзапас – запас жидкости в гидробаке.
Объем трубопроводов и
шлангов:
(2.39.)
где S1 и S2 – площадь поперечного сечения
трубопровода и шланга,
(2.40.)
,
(2.41.)
где dшл=0,012 м – диаметр поперечного
сечения шланга подвода АМГ-10 к заправочному штуцеру гидросистемы самолета,
dтр=0,008 м – внутренний диаметр всех
остальных шлангов и трубопроводов,
L1=10 м – длина заправочного шланга гидросистемы;
L2=25 м – длина остальных трубопроводов и шлангов;
тогда
Объем АМГ-10 в
гидравлической системе установки:
Vгс =0,35
10-3
м3.
Запас АМГ-10 в гидробаке
должен быть не менее 70-75% объема гидросистемы установки и дополнительного
объема АМГ-10 для дозаправки гидросистемы самолета. Общий запас жидкости в
баке:
(2.42.)
где Vзап1 – эксплуатационный запас жидкости,
,
(2.43.)
где
подставив это выражение в формулу
(2.43.), получим
;
Vзап2 =40
10-3
м3. – запас гидрожидкости на дозаправку гидравлической системы
самолета;
Vзап=(5,203+40)
10-3=45,203
10-3 (м3).
Необходимое количество
АМГ-10 для работы установки:
Vпотр=(1,942+2,26+0,35+2,385+45,203)
10-3 =52,14
10-3 (м3).
2.3.6 Расчет емкости
гидробака установки
Объем гидробака определим
по формуле:
(2.44.)
где 1,25 – коэффициент, учитывающий
тепловое расширение жидкости АМГ-10;
.
Длину бака принимаем
равной h=0,5м.
Тогда диаметр бака
выведем из формулы:
(2.45.)
тогда
.
3. Охрана окружающей
среды
В
разделе "Охрана окружающей среды" дипломного проекта рассматриваются
вопросы влияния воздушного транспорта на окружающую среду, экологической опасности и
обеспечения экологической безопасности процесса техобслуживания шасси, а также
производится оценка эмиссии авиационного двигателя используемого на Ту-154.
3.1
Влияние воздушного транспорта на окружающую среду
Оценивая
серьезность проблемы охраны окружающей среды, общество видит в её решении необходимое условие сохранения жизни на
планете, а решение природоохранных задач сегодня рассматривается как один из важных
факторов, определяющих состояние здоровья людей. Вместе с тем
научно-технический прогресс (НТП), высокие темпы развития авиационной техники и
её неземной базы усиливают воздействие гражданской авиации на окружающую
природную среду. Эти негативные процессы вызывают потребность в
совершенствовании всей отраслевой природоохранной системы.
Одной из
самых актуальных экологических проблем современности является борьба за чистый
воздух и охрану воздушного бассейна. В связи с возрастанием уровней загрязнения
атмосферного воздуха и, как следствие, обострения глобальных проблем изменения
климата и истощения озонового слоя все большее внимание привлекается к роли
транспортных средств в развитии указанных экологических проблем.
Разработку
основных мероприятий в области охраны природы и контроль за своевременным их выполнением
осуществляет Управление гражданской авиации Украины.
Воздушный
транспорт является серьезным источником загрязнения атмосферного воздуха
(особенно в районе аэропортов). Выбросы загрязняющих веществ самолетами дают
вклад и в изменения климата. В настоящее время 58% мирового парка самолетов уже
не соответствует требованиям международной организации гражданской авиации
(ИКАО), их замена к 2002 году обойдется в 8
миллиардов долларов. Работа по охране окружающей среды направлена, прежде
всего, на:
–
снижение загрязнения атмосферы от эмиссии вредных веществ в отработавших газах
двигателей летательных аппаратов;
–
уменьшение воздействия авиационного шума (вблизи аэропортов, по всей трассе
полета самолета на сверхзвуковой скорости);
–
сокращение сбросов неочищенных сточных вод и вредных выбросов с территории
аэропорта в почву, реки и водоемы, борьбу с эрозией почв.
Таблица
4.1. Перечень и
количество загрязняющих веществ, разрешенных к выбросу в атмосферу
|
Наименование загрязняющего вещества
|
Суммарный выброс
|
г/сек
|
г/час
|
|
Взвешенные вещества
|
0,5283
|
5,1801
|
|
Пыль
древесная
|
8,2
|
1,08
|
|
Окись
углерода
|
18,6744
|
170,3674
|
|
Диоксид азота
|
4,2355
|
41,1418
|
|
Сернистый ангидрид
|
26,0913
|
257,1173
|
|
Свинец
|
4,3 х 10
|
2,99 х 10
|
|
Бензпирен
|
1,87 х 10
|
1,4 х 10
|
|
Оксид азота
|
0,683
|
6.64
|
|
Углеводороды
|
0,4795
|
1,2961
|
|
Бензин
|
0,2007
|
0,6959
|
|
Серная кислота
|
0,001
|
0,0149
|
|
Сажа
|
0,0146
|
0,0038
|
|
Едкий
натр
|
0,807 х 10
|
0,0038
|
|
Оксид марганца
|
4,93 х 10
|
0,0014
|
|
Фтористый водород
|
0,5 х 10
|
0,0001
|
|
Сварочный аэрозоль
|
0,0007
|
0,0032
|
|
Формальдегид
|
0,00186
|
0,0003
|
|
Пятиокись ванадия
|
0,0568
|
0,552
|
|
Трикрезолфосфат
|
0,6 х 10
|
0,0005
|
|
Керосин
|
0,354
|
1,9318
|
|
Газ
|
0,354
|
1,9318
|
|
Всего
|
59,5224
|
486,0304
|
В
авиационной промышленности решение проблем лежит, прежде всего, в разработке
двигателей, уменьшающих выбросы загрязняющих веществ и, прежде всего оксидов
азота. В аэропортах необходимо обеспечить водоочистку, сбор и регенерацию
отходов, обеспечение всех наземных производств воздухоочистным оборудованием и
средствами контроля выбросов.
3.2
Экологическая опасность процесса техобслуживания шасси
При
техобслуживании шасси самолета Ту-154 может быть причинен вред экологической
обстановке не только в районе рабочей зоны, но и всего аэропорта. Одним из
основных недостатков техобслуживания является возможность разлива гидрожидкости
при монтаже и демонтаже агрегатов. Это относится и к смазке (ЦИАТИМ), которая
нужна для нормальной работы шарнирных соединений шасси. Так как стойки в
процессе техобслуживания приходится очищать от загрязнений, существует
вероятность разлива моющих жидкостей, бензина, керосина и т.п. Кроме того, вред
экологической обстановке может наносить шум и вредные газообразные выбросы от
работающих источников энергии.
3.3
Обеспечение экологической безопасности
Обеспечение
экологической безопасности при техобслуживании шасси достигается путем
соблюдения разработанных правил и требований техники безопасности, а также
выполнение различных природоохранных мероприятий. Необходимо использовать
поддоны во избежание разлива жидкостей, наносящих вред природе. В случае если
жидкость уже разлита, необходимо локализовать этот разлив, не дать ей
распространятся по прилегающей площади. Жидкость обычно засыпают песком,
который затем убирают. При мойке агрегатов шасси применять только жидкости
специально предназначенные для этого. Не допускать мойки агрегатов путем
разбрызгивания керосина или бензина. Источники энергии должны отключаться на
период, когда техобслуживание не производится. Это снижает количество шума и
вредных выбросов в атмосферу. Кроме этих мероприятий можно указать разработку
различных приспособлений и конструктивных усовершенствований, использование
которых приносит меньший вред экологической обстановке, по сравнению с
использованием существующих устройств и приспособлений.
3.4 Расчёт эмиссии авиационного двигателя Д-30-КП
Эмиссия
двигателей воздушного
судна будет не
одинаковой в зоне аэропорта и во время его полёта по маршруту, т.к. двигатели в
этих случаях работают на различных режимах.
"Степень
вредности" каждого авиадвигателя характеризуется его контрольными
параметрами эмиссии различных ингредиентов -
Задача
расчёта эмиссии
двигателя сводится к расчёту:
Мi – массы каждого
вредного вещества, выброшенного за время его работы.
R0 – тяга двигателя на взлётном режиме
– величина, известная из документации, или из формуляра двигателя.
Рассчитаем
величины Мi для зоны
аэропорта, на тех режимах и за тот период времени работы, когда воздушное судно
находится в зоне аэропорта с работающими двигателями.
Воздушное
судно в зоне аэропорта производит взлётно-посадочный цикл полёта, который
состоит из следующих этапов:
– запуск
и прогрев двигателей;
–
руление до ВПП;
– взлёт;
– набор
высоты 1000 м;
–
снижение с высоты 1000 м;
–
пробег;
–
руление до остановки двигателей.
Двигатели воздушного судна на этих этапах работают на различных
режимах. Поэтому для удобства расчёта разделим взлётно-посадочный цикл воздушного судна на два вида операций: наземные
операции и операции взлёт-посадка, тогда:
.
Наземные
операции – это запуск двигателей, их прогрев,
руление воздушного судна перед взлётом и после посадки.
Главной характеристикой этих операций (с точки зрения расчёта эмиссии
двигателей) является то, что двигатели воздушного судна работают на одном режиме – режиме малого газа, и по времени
это самые продолжительные операции в зоне аэропорта. Это обстоятельство
упрощает расчёт.
Определим
МiH по формуле :
где КiH – коэффициент выброса i-го ингредиента во время наземных операций
.
Очевидно,
что
(по определению), т.е.
это тот же индекс эмиссии.
Кi так как EIi, определяется во время
сертификационных испытаний двигателей.
GПН – масса топлива (кг),
использованного двигателем за время взлётно-посадочного цикла:
где
– удельный расход топлива за время работы
двигателя на режиме малого газа;
RМГ [H]– тяга двигателя на режиме малого
газа;
tМГ [ч] -
наработка двигателя на режиме малого газа за время взлетно-посадочного цикла .
Операции
взлёт-посадка – это
взлёт, набор высоты 1000 м, снижение с высоты 1000 м и посадка.
В этом
случае для расчёта эмиссии двигателей воздушного судна, которое находится в
воздухе, эмиссионной характеристикой является массовая скорость эмиссии -
.
Массовая
скорость эмиссии Wi
также определяется во время сертификационных испытаний двигателей.
Тогда
определим Мi В-П по формуле:
,
где
– массовая скорость эмиссии ингредиента
i при соответствующих режимах работы
двигателя соответственно на взлёте, во время набора
высоты 1000 м и во время снижения с высоты 1000 м;
– режимная наработка двигателя соответственно на взлёте,во время набора высоты 1000 м и во время снижения с высоты 1000 м.
Определив,
таким образом
, вычисляем контрольный параметр
эмиссии двигателя
, (где R0
– взлётная тяга двигателя в кН) и сравниваем его с нормами ИКАО, делая вывод
про соответствие данного двигателя современным требованиям по эмиссии в
отношении данного ингредиента.
Данные:
1.
Тяга двигателя
Д-30-КП: R0 =103 кН , RМГ = 7,2 кН
;
2.
Удельный расход
топлива двигателя Д-30КП:
=0,065
.
Используя данные
двигателя, имеем:
По данным
режимов работы двигателя в зоне аэропорта имеем:
;
;
.
Тогда:
;
нормы
ИКАО.
Вывод: Двигатель Д-30-КП самолёта Ту-154
по своим эмиссионным характеристикам отвечает нормам ИКАО.
Заключение
В дипломном проекте
произведен анализ отказов и неисправностей элементов шасси самолета ТУ-154. На
основе этого анализа были выявлены наименее надежные элементы шасси и
предложены конструктивные разработки с целью повышения надежности
рассматриваемых агрегатов, что, в конечном счете, ведет к повышению уровня
надежности воздушного судна в целом. Также на основе анализа разработаны
мероприятия, направленные на совершенствование процесса техобслуживания шасси
самолета Ту-154.
При разработке
конструктивных усовершенствований уделялось внимание вопросам наибольшей
адаптации, предлагаемых устройств к существующей конструкции. Это необходимо в
связи с тем, что доработка элементов шасси путем значительного изменения
конструктивной схемы элемента хоть и повысит уровень надежной работы агрегата,
но средства, которые будут вложены в расчеты, проектирование, конструирование и
изготовление экономически себя не оправдают.
Предложение установки нового
шарнирного узла шасси, что не требует смазки, позволяет на треть уменьшить
количество неисправностей, таких как заклинивание и заедание шарниров по
причине отсутствия смазки.
Существенные
конструктивные изменения тормозного колеса вызваны необходимостью обеспечения
уровня надежности этого элементов соответствии с ЕНЛГС. Более высокая
надежность и эксплуатационная технологичность модернизированного колеса
компенсируют затраты на его конструктивные изменения.
Применение в
амортизаторах предложенного устройства для перетока жидкости значительно уменьшает
вес стойки из-за уменьшения объема заправляемого масла, а также упрощает
конструкцию и повышает надежность работы пневмогидравлического амортизатора.
Предложенное замковое
устройство убранного положения стойки обеспечит надежную фиксацию стойки в
убранном положении, уменьшение веса происходит за счес упрощения конструкции. А
также безотказное срабатывание устройства при давлениях, которые регулируются в
больших пределах, дает возможность применять замки подобного типа на различных
видах воздушных суден.
Предлагаемая в проекте
установка для техобслуживания шасси позволяет повысить степень мобильности и
механизации процесса. Облегчает труд работников инженерно-технического состава
авиационной технической базы. Значительно сокращает время обслуживания шасси,
что приносит свои экономические выгоды.
Природоохранные мероприятия
которые рассмотрены выше, а также анализ конструктивных усовершенствований
позволяет сделать выводы о более высоком уровне их экологической безопасности.
Предложенные меры обеспечения охраны труда, правила пожарной безопасности
позволяют снизить уровень травматизма человека на предприятиях гражданской
авиации.
Список использованных
источников
1.
Бурлаков В.И.
Прикладная теория надежности. - К.: КИИГА, 1992. – 116 с.
2.
Методические
указания. Анализ надежности авиационной техники. – К.: КИИГА, 1982. – 40 с.
3.
Патент №48153559
США 28.03.89. Поршневой элемент с механизмом растормаживания и автоматом
регулировки зазора в тормозе авиационного колеса.
4.
Патент №408078.
Тормозной диск. Опубликован 10.12.73.
5.
Зверев И.И.,
Коконин С.С. Проектирование авиационных колес и тормозных систем – М:
Машиностроение, 1972 г.
6.
Германчук Ф.К.
Конструктивное усовершенствование авиационных колес и тормозных устройств
самолетов на основе анализа эксплуатации – К.: КИИГА, 1985 г.
7.
Экспресс-информация.
Авиастроение. 1987 г., №28. Высокопрочные конструкционные материалы для шасси.
8.
Патент №2024417
15.12.94. Шарнирный узел шасси.
9.
Патент Российской
Федерации №124489 27.06.95. Устройство для перетока жидкости в
пневмогидравлическом амортизаторе шасси летательного аппарата.
10.
Авторское
свидетельство №1766026 05.07.90. Замковое устройство шасси летательного
аппарата.
11.
Анурьев В.И.
Справочник конструктора машиностроителя т. 1. – М: Машиностроение, 1980 г.
12.
Писаренко Т.С.
Сопротивление материалов – К.: Высшая школа, 1973 г.
13.
ОСТ 5471.008 –
87. Самолеты и вертолеты ГА. Техническое обслуживание шасси. Общие требования
безопасности. – Введен 08.06.87.
14.
ГОСТ 121005 – 88.
Техника безопасности зданий и сооружений. – Введен 12.04.88.
15.
Методические
указания по выполнению раздела дипломного проекта "Охрана окружающей среды".
– К.: КИИГА, 1987 – 40 с.
16.
Александров В.Г.
Справочник авиационного инженера. – М: Машиностроение 1980 г.
17.
Хаскин А.М. Черчение.
– К.: Высшая школа, 1979 – 440 с.
18.
Методические
указания по дипломному проектированию для студентов специальности "Техническая
эксплуатация летательных аппаратов и двигателей". – К.: КИИГА, 1992 – 44
с.
19.
Регламенты и
технические указания по техобслуживанию шасси самолета Ту-154, - М: Воздушный
транспорт 1985 г.
20.
Смирнов Н.Н.,
Владимиров Н.И., Черненко Ж.С., Техническая эксплуатация летательных аппаратов.
– М: Транспорт, 1990. – 423 с.