Расчет бурового насоса

  • Вид работы:
    Курсовая работа (т)
  • Предмет:
    Другое
  • Язык:
    Русский
    ,
    Формат файла:
    MS Word
    5,06 Мб
  • Опубликовано:
    2013-01-26
Вы можете узнать стоимость помощи в написании студенческой работы.
Помощь в написании работы, которую точно примут!

Расчет бурового насоса

ВВЕДЕНИЕ


На буровых и нефтедобывающих предприятиях насосные установки являются одним из основных видов оборудования, надежная работа которого обеспечивает непрерывность технологического процесса.

Насосное оборудование используют для перекачки жидкостей с разными физико-химическими свойствами (кислот, щелочей в широком диапазоне концентраций, органических продуктов, сжиженных газов и тому подобное) при различных температурах.

Перекачиваемые жидкости характеризуются различной температурой и кристаллизацией, взрывоопасностью, токсичностью, склонностью к полимеризации и налипанию, содержанием растворимых газов и так далее.

Практически все насосное оборудование ремонтируют силами предприятий, которые к тому же изготавливают весь требуемый объем запасных частей. Поэтому эксплуатационная надежность насосов в значительной степени зависит от квалификации ремонтного персонала и качества ремонтных работ.

На предприятиях уделяется большое внимание совершенствованию эксплуатации и ремонта насосного оборудования. Однако, практические достижения в этом еще недостаточны, и за редким исключением технический и организационный уровень ремонта ниже уровня производства соответствующих машин.

Во многих случаях низкое качество ремонта обуславливается отсутствием ремонто-технологической документации и недостатком запасных частей. Вследствие этого снижается эффективность использования насосного оборудования.

1. НАЗНАЧЕНИЕ, ОСНОВНЫЕ ДАННЫЕ, ТРЕБОВАНИЯ И ХАРАКТЕРИСТИКА БУРОВОГО НАСОСА

буровой насос гидравлический

Буровые насосы предназначены для нагнетания в скважину промывочной жидкости с целью очистки забоя от выбуренной породы (шлака) и выноса ее на дневную поверхность; охлаждения и смазки долота; создания гидромониторного эффекта при бурении струйными долотами; приведения в действие забойных гидравлических двигателей.

Исходя из назначения и условий эксплуатации, к буровым насосам предъявляют следующие требования:

подача насоса должна быть регулируемой в пределах, обеспечивающих эффективную промывку скважины;

мощность насоса должна быть достаточной для промывки скважины и привода забойных гидравлических двигателей;

скорость промывочной жидкости на выходе из насоса должна быть равномерной для устранения инерционных нагрузок и пульсаций давления, вызывающих осложнения в бурении, дополнительные энергетические затраты и усталостные разрушения;

насосы должны быть приспособлены для работы с абразивно- и маслосодержащими коррозионно-активными промывочными растворами различной плотности;

узлы и детали, контактирующие с промывочным раствором, должны обладать достаточной долговечностью и быть приспособленными к удобной и быстрой замене при выходе из строя;

крупногабаритные узлы и детали должны быть снабжены устройствами для надежного захвата и перемещения при ремонте и техническом обслуживании;

насосы должны быть приспособлены к транспортировке в собранном виде на далекие и близкие расстояния и перемещению волоком в пределах буровой;

конструкция насосов должна допускать правое и левое расположение двигателей насосного агрегата;

надежность и долговечность насосов должна сочетаться с их экономичностью и безопасностью эксплуатации.

Технические условия на изготовление буровых насосов регламентируются ГОСТ.

С ростом глубины бурения значительно увеличивается мощность буровых насосов. Освоены и намечаются к производству новые модели буровых насосов, отвечающие возросшим требованиям к бурению. На основе накопленного опыта, научно-исследовательских и опытно-конструкторских работ, а также новейших достижений в насосостроении и смежных областях науки и техники буровые насосы непрерывно совершенствуются: повышаются их надежность и долговечность; снижается масса и сокращаются материальные и трудовые затраты на их изготовление, эксплуатацию и ремонт. Это обусловило широкую номенклатуру моделей и модификаций буровых насосов, используемых в отечественной и зарубежной промышленности.

Рабочие органы буровых насосов преимущественно выполняются в виде поршней. Наиболее распространены двух поршневые насосы двухстороннего действия, на смены которым приходят трех поршневые насосы одностороннего действия. В насосах двухстороннего действия жидкость перемещается в поршневой и штоковой полостях и за один двойной ход поршня совершаются два цикла всасывания и нагнетания. При одностороннем действии жидкость перемещается в поршневой полости и за один двойной ход совершается один цикл всасывания и нагнетания.

В буровых насосах используются самодействующие пружинные клапаны тарельчатой конструкции. Всасывающие и нагнетательные клапаны взаимозаменяемые. Оси поршней параллельны и располагаются в горизонтальной плоскости по одну сторону от привода насоса. Ведущее звено буровых насосов, сообщающее движение поршням выполняется в виде вращающегося эксцентрикового, кривошипного, пальцевого либо коленчатого вала. Прямодействующие насосы, ведущее звено которых имеет возвратно-поступательное движение, в современных отечественных насосах не используются.

Ведущий вал приводится от трансмиссионного вала насоса посредством цилиндрической зубчатой пары. Подача насоса изменяется с помощью сменных цилиндровых втулок либо изменением числа ходов насоса. Пульсации давления, вызываемые неравномерной скоростью поршней, снижаются до практически приемлимового уровня при помощи пневмокомпенсаторов.

Насос буровой двух поршневой УНБ-600, в дальнейшем насос, предназначен для подачи промывочной жидкости в скважину в процессе бурения скважин глубиной до 5000 метров. При роторном бурении насос производит подачу промывочной жидкости через колонну бурильных труб на забой скважины для охлаждения и выноса разрушенной долотом породы, а также для передачи энергии потока промывочной жидкости турбобуру.

В качестве промывочной жидкости могут быть применены вода или глинистый раствор с наличием нефти, соды и других компонентов.

При бурении, для обеспечения надежной работы узлов и деталей насоса, необходимо обеспечивать высокую степень очистки промывочной жидкости от разрушенной породы.

Технические данные и характеристики насоса следующие:

Мощность, кВт 600

Полезная мощность, кВт, не менее 475

Длина хода поршня, мм 400

Диаметр штока поршня, мм 70

Максимальное число двойных ходов

поршня, 1/с (ходов/мин) 1,083 (65)

Максимальная частота вращения

трансмиссионного вала, 1/с (об/мин) 5,33 (320).

Рабочая часть характеристики насоса соответствует величинам, приведенным в таблице 1.

Таблица 1 - Характеристика насоса.

Диаметр цилиндровой втулки, мм

Идеальная подача, л/с, не менее

Предельное давление, МПа, не менее

Диаметр отверстия кольца предохранительного клапана, мм

200 190 180 170 160 150 140 130

184 (51,9) 164 (45,7) 151 (42) 130 (36) 113 (31,5) 99 (27,5) 84 (23,3) 71 (19,7)

10,0 (100) 11,5 (115) 12,5 (125) 14,5 (145) 16,5 (165) 19,5 (195) 22,5 (225) 25,0 (250)

58,9 Н11 48,2 Н11 43,0 Н11 35,4 Н11 30,1 Н11 25,3 Н11 20,7 Н11 19,3 Н11


Давление на входе при работе насоса,

МПа (кгс/см), для бурового раствора

(манометрическое), не менее 0,02 (0,2)

Тип передачи цилиндрическая

косозубая

Передаточное число (123/25) 4,92

Тип клапана тарельчатый

Размер посадочного конуса:

диаметр, мм 196,85 0,2

конусность 1:6

Размеры посадочного конца

трансмиссионного вала, мм:

диаметр 175

длина 407

шпонка 45 25 360

Число клиновых ремней ГОСТ 1284.1-80 16

Предохранительный клапан мембранный

Пневмокомпенсатор ПК-70-250 с

раздельной диафрагмой

Объем газовой камеры, дм 70

Наибольшее допустимое начальное

давление воздуха, МПа 9,0

Максимальное рабочее

давление жидкости, МПа 25,0

Масса, кг, не более 25450

Перекачиваемая жидкость

буровой раствор вода песок не более

%, глинистый

жидкости, С, не более +80

Диаметр шкивов, мм 1400

Насос может комплектоваться шкивами различных диаметров, в зависимости от диаметра и числа оборотов шкива привода.

. ПАТЕНТНАЯ ПРОРАБОТКА

Клапаны насосов предназначены для периодического открытия и закрытия всасывающих и нагнетательных отверстий цилиндров. В буровых поршневых насосах применяют самоподъемные клапаны тарельчатого типа, т. е. с одной выходной щелью. Кольцевые клапаны (с несколькими концентрическими щелями) не применяют, так как при упругом уплотнении клапана это приводит к значительному увеличению разницы между

Рисунок 1-Детали клапана давлением в цилиндре и над клапаном в момент бурового насоса: его открытия.

- седло; 2 - тарель со штоком;

- уплотнение; 4 - гайка;

- пружина.

Клапан (рисунок 1) состоит из седла, тарели с направляющим штоком, уплотнения, элементов крепления и пружины. Уплотняющая поверхность коническая с углом наклона 30-60°.

При прокачке буровых растворов, содержащих абразивные частицы, особенно при прокачке утяжеленных растворов, срок службы клапанов сильно сокращается, в ряде случаев вместо 300-500 ч составляет всего 20-30. Поэтому конструкция клапанов, клапанных коробок и их крышек должна допускать быструю их смену, ремонт и осмотр. Для удобства эксплуатации и изготовления всасывающие и нагнетательные клапаны выполняют взаимозаменяемыми.

Клапаны должны обеспечивать безударную посадку на седло при переменных режимах работы и иметь минимальные гидравлические потери. Он должен иметь надежное направление, обеспечивающее точную посадку на седло одновременно по всей поверхности посадочного пояска. Тарель должна быть возможно легкой, а посадочный конический поясок узким. В насосах, работающих при давлениях более 20 МПа, на тарель клапана действуют большие силы (300-400 кН), в результате чего на посадочном пояске возникают высокие удельные нагрузки, приводящие к его быстрому износу. В этих случаях лучше применять клапан, в котором предусмотрена его посадка одновременно как на уплотняющий поясок, так и на нижнюю плоскость поверхности тарели и на ребра седла.

В насосах с небольшими нагрузками на клапан одновременную посадку клапана на седло и ребра не осуществляют, чтобы упростить изготовление.

Наиболее ответственным элементом, определяющим долговечность клапана, является конструкция уплотняющего кольца и посадочных поверхностей седла и тарели. Формы узла сопряжения этих трех элементов должны так сочетаться с твердостью уплотняющего кольца и давлением, чтобы не вызывать чрезмерных деформаций и износа какого-либо из его элементов под действием переменных циклических нагрузок.

Рисунок 2- Схема действия различных уплотнений клапанов: 1 - седло; 2 - тарель; 3 - кольцо уплотняющее; 4 - диск зажимной

Надо учитывать, что пластические материалы и резины при всестороннем сжатии жидкостью почти не меняют своего объема, но легко меняют форму и заполняют свободное пространство под действием сил, создаваемых разностью давлений.

Если тарель клапана садится на седло раньше, чем уплотняющее кольцо, то раствор, прорываясь в щель клапана, быстро размывает металлические посадочные поверхности. Если же уплотняющее кольцо садится на седло ранее тарели, то под действием давления пластичный материал будет вдавлен в щель и его уплотняющая кромка быстро разрушится. Величина щели между тарелыо и седлом зависит от размеров зерен твердых частиц прокачиваемого раствора. Поэтому в настоящее время уплотняющие кольца для высоких давлений делают большого сечения со скругленными краями из жестких пластмасс типа полиуретана или синтетических резин, иногда армированных тканью.

На рисунке 2 приведены различные уплотняющие элементы клапанов, где Л-деформируемая часть уплотнительного кольца под действием давления.

При давлениях 10-15 МПа уплотнения с плоским кольцом постоянной толщины (рисунок 2, а) работают удовлетворительно при давлениях более 15 МПа срок их службы сокращается. Уплотнения с утолщенным ободом кольца (рисунок 2, б) при давлениях 15-20 МПа обладают удовлетворительной работоспособностью, однако при давлениях более 20 МПа она сильно снижается. Уплотняющие кольца с круглым (рисунок 2, в) и ромбовидным (рисунок 2, г) сечением, изготовленные из полиуретана (твердость по прибору ТИР 86-96) или жестких резин, при давлениях более 20 МПа долговечнее, чем другие конструкции.

Конструкции клапанов весьма разнообразны.

На рисунке 3, а показан клапан с уплотняющим кольцом на седле, что уменьшает массу и улучшает динамические качества клапана. Однако практика эксплуатации показала, что клапан с уплотнением на седле менее долговечен, чем клапан с уплотнением на тарели.

Рисунок 3 - Конструкции клапанов: 1 - седло; 2- тарель со штоком; 3 - уплотнение тарели; 4 - пружина; 5, 8 - втулки направляющие верхняя и нижняя; 6 - фиксатор; 7 - крестовина направляющая; 9 - уплотнение седла.

На рисунке 3, б изображен клапан с уплотняющим кольцом постоянной толщины и острой уплотняющей кромкой; этот клапан обладает небольшим ресурсом долговечности при высоких давлениях. Нижняя направляющая крестовина укреплена на клапане, что увеличивает его массу и отрицательно сказывается па работе. Тарель можно посадить только на конический ее поясок, в результате чего возникают большие контактные напряжения.

Некоторые конструкции клапанов для работы при высоких давлениях показаны на рисунке 3, в и г: на рисунке 3, в - клапан с уплотняющим кольцом круглого сечения с двумя опорными поверхностями - на коническом пояске тарели и торцовой части нижней направляющей, а на рисунке 3, г - клапан с уплотняющим кольцом большой толщины; ромбовидная форма обеспечивает высокую долговечность. Конструкция клапана облегчена, тарель снабжена стержнем, движущимся в направляющих втулках седла и верхней крышки. Посадка тарели осуществляется одновременно на конический поясок и крестовину седла.

На рисунке 4 показан внешний вид клапанов различных конструкций.

Рисунок 4 -Клапаны с различными уплотнениями:

а - с плоским диском, прижатым гайкой; б - свободно закрепленное уплотняющее кольцо с буртом; a - с кольцом круглого сечения; 1 - седло; 2 - тарель; 3 - уплотнение

Окончательный выбор того или иного конструктивного решения может быть сделан только после экспериментальной проверки эффекта сочетания всех заложенных в конструкцию факторов, форм деталей, геометрических размеров и свойств материалов.

Тарель клапана рекомендуется изготовлять утопающей на 1-1 ,5 мм в эластичном уплотнении или с углом наклона образующей конической поверхности уплотнения, несколько не совпадающим с углом наклона посадочной поверхности, чтобы клапан сначала садился на уплотнение. На конструкцию уплотнения необходимо обратить особое внимание, так как клапан выходит из строя в основном не в результате нормального износа, а вследствие промывов, образующихся после того, как из-за усталостного износа неправильно сконструированной формы сечения разрушается уплотнение.

Для уменьшения износа уплотняющих поверхностей клапанов тарели и седла их термически обрабатывают либо по всему объему, либо только по посадочным поверхностям с нагревом токами высокой частоты или цементуют на глубину 1,5-2 мм и закаливают. Закалку с нагревом ТВЧ проводят на глубину 2-4 мм. Твердость тарели клапана 48-56 HRC. Для клапанов применяют конструкционные стали марок 40Х, 40ХНМ, 40ХС, 38ХСТ и др. При цементации применяют низкоуглеродистые легированные конструкционные стали марок 20Г, 18ХГТ, 20ХНЗ и др. Для изготовления седел клапанов используют стали марок 38ХС, 5ХГМ, 40ХНЗ, 40Х, при закалке после цементации- стали марок 25ХНМА, 20ХНЗ и др.

Таблица 2 - Основные размеры клапанов буровых насосов, мм (рисунок 5, а)


Диаметр

Высота

Номер клапана

клапана

седла

седла l

подъема клапана hmin



D0

d1



0

54,0

32

60,3

35

20

1

63,6

45

76,2

40

20

2

76,2

50

70,4

40

22

3

100,8

67

100,8

45

22

4

113,5

113,9

50

25

5

126,2

82

128,8

60

32

6

142,9

95

146,0

70

35

7

168,3

ПО

171,4

75

35


Твердость поверхностей седла 50-60 HRC. Посадочные поверхности не должны иметь чернот и других дефектов, должны быть концентричны с направляющими цилиндрическими поверхностями и обеспечивать одновременно посадку на коническую поверхность и на ребра.

Втулка верхнего штока из резины обычно съемная. Пружины клапанов цилиндрические, спиральные, работающие на сжатие, обычной конструкции. Материалом для их изготовления служит цельнотянутая пружинная проволока из стали марки 60С2А с твердостью 40-50 HRC.

Основные размеры клапанов буровых насосов, в которых они размещаются, нормализованы (ОСТ 26-02-119-76) и приведены в таблице 2, а также на рисунке 5.

Рисунок 5 - Основные размеры клапанов: 1 - седло; 2 - клапан; 3 - пружина

Рассмотрим некоторые патенты, выданные Государственным комитетом по изобретениям и открытиям.

. Патент «Узел клапана» F 16 K 15/02 № 672421

Изобретение относится к клапанным устройствам гидравлических машин, перекачивающих чистые и абразивосодержащие жидкости, может быть использовано в буровых насосах.. Известен узел клапана, содержащий седло с крестовиной, выполненное с каналом, и клапан, включающий верхний и нижний штоки, соединенные с буртом-уплотнитель, установленный между буртом и тарелью.

Известен также узел клапана, содержащий седло с крестовиной, выполненное с каналом, и тарельчатый запорный орган с уплотнителем, установленный на штоке между буртом и выступом с возможностью перемещения вдоль него.

Недостатками известных устройств являются относительно высокие динамические нагрузки при посадке клапана на седло, а также значительное возрастание напряжений в уплотнителе при износе опорных поверхностей, что снижает долговечность и надежность клапана.

Целью изобретения является повышение долговечности и надежности клапанного узла.

Указанная цель достигается тем, что канал крестовины выполнен ступенчатым с двумя участками различного диаметра, причем в участке канала большего диаметра размещен хвостовик штока, диаметр которого больше диаметра меньшего участка канала.

На чертеже представлен узел клапана, разрез.

Узел клапана содержит седло 1 с крестовиной 2, в которой выполнен ступенчатый канал с участками 3 и 4.

На штоке 5 с хвостовиком б выполнены бурт 7 и выступ 8, между которыми установлены тарель 9 и уплотнитель 10. Пружина 11 обеспечивает закрытие клапана.

Узел клапана работает следующим образом.

При закрытии клапана происходит посадка тарели 9 на седло 1. При этом под действием перепада давления бурт 7 вместе со штоком 5 опускается относительно тарели 9, которая свободно установлена на штоке 5 (по ходовой посадке). В результате уплотнитель 10 дополнительным усилием будет сжиматься между тарелью 9 и буртом 7, в результате чего достигается относительно высокая герметичность клапана при минимальном предварительном натяжении уплотнителя 10 относительно конуса седла 1. Это, в свою очередь, уменьшает динамические нагрузки при взаимодействии тарели 9 с седлом 1.

При выполнении тарели 9, плавающей относительно штока 5, динамические нагрузки также снижаются за счет уменьшения перекоса тарели 9 относительно седла 1, так как тарель имеет возможность угловых перемещений относительно выступа 8, который практически всегда имеет смещение относительно участка 3 ступенчатого канала седла 1 вследствие несоосности направляющих, выполненных в гидравлической коробке насоса. При плавающей тарели 9 пружина 11 соединена с тарелью 9 через уплотнитель 10, который является амортизатором при закрытии клапана, что также снижает динамические нагрузки,

Выступ 8 обеспечивает крепление та-20 рели 9 на штоке 5 и ее плотный контакт с уплотнителем 10.

При износе опорных поверхностей тарель 9 будет проседать относительно седла 1, и хвостовик 6 тока начнет взаимодействовать с торцовой поверхностью в зоне перехода одного участка ступенчатого канала в другой, что приведет к снижению напряжений в материале уплотнителя от его сжатия между тарелью 9 и буртом 7. Однако при этом одновременно возрастут напряжения в материале уплотнителя 10 от его просадки вместе с тарелью 9 относительно седла 1, следовательно, в процессе изнашивания клапанного узла напряжения в материале уплотнителя 10 автомагически будут сохраняться относительно низкими, что предотвращает возрастание динамических нагрузок в процессе изнашивания узла клапана. Разгрузочный участок 4 канала обеспечивает удаление абразива из зоны взаимодействия хвостовика 6 штока 5 с початого канала.

При соединении уплотнителя 10 с тарелью, например, при помощи клея снижаются деформации уплотнителя в направлении уплотняемого зазора, что повышает срок его службы, а следовательно, узла клапана в целом. В этом случае весьма просто соединить уплотнитель с тарелью в виде диска по одной плоскости.

Узел клапана, содержащий седло с крестовиной, выполненной с каналом, и тарельчатый запорный орган с уплотнителем, установленный на штоке с хвостовиком с возможностью перемещения вдоль него, о тли чающий с я тем, что, с целью повышения долговечности и надежности, канал крестовины выполнен ступенчатым с двумя участками различного диаметра, причем в участке канала большего диаметра размещен хвостовик штока, диаметр которого больше диаметра меньшего участка канала.

Рисунок 6

. Патент «Клапан» F 16 К 15/02 № 1617231

Изобретение относится к apмaтypoстроению и может быть использовано в
качестве клапана бурового насоса. Целью изобретения является упрощение конструкции клапана. При закрытии клапана тарель 5 садится на седло 1, взаимодействуя опорной поверхностью 9 с крестовиной 2. Дальнейшее опускание штока 4 с нажимной шайбой 7 обеспечивает герметизацию седла за счет деформации уплотнительного элемента 6. Деформация уплотнительного элемента 6 ограничивается ходом штока 4 до касания ограничительным выступом 10 крестовины 2. 1 ил.

Рисунок 7

Изобретение относится к арматуростроению и может быть использовано в качестве клапана буровых насосов.

Цель изобретения - упрощение конструкции клапана за счет изменения конфигурации штока запорного органа.

На чертеже изображен клапан на левой стороне чертежа клапан в закрытом положении, на правой - в закрытом положении при большом перепаде дазления на клапане.

Клапан содержит седло 1 с крестовиной 2. В центральном отверстии 3 крестовины 2 размещен шток 4 запорного органа, выполненного 8 виде тарели 5 с уплотнительным элементом 6 и нажимной шайбы 7, поджатой пружиной 8. Тарель 5 выполнена с опорной поверхностью 9, взаимодействующей с крестовиной 2 при посадке запорного органа на седло 1.

На штоке 4 выполнен ограничительный выступ 10, расположенный выше опорной поверхности 9 тарели 5. Диаметр ограничительного выступа 10 выполнен больше диаметра отверстия 3 крестовины 2.

На поверхности тарели 5, обращенной к уплотнительному элементу 6, выполнен кольцевой выступ 11, размещенный неподвижно в кольцевой впадине 12 уплотнительного элемента 6.

В процессе закрытия клапана при посадке тарели 5 на седло 1 уплотнительиый

элемент 6 обеспечивает герметизацию уплотнительного стыка.

При возрастании перепада давления на клапане шток 4 вместе с нажимной шайбой 7 опускается относительно тарели 5, сжимая уплотнительный элемент б, который, деформируясь, повышает усилие герметизации до тех пор, пока ограничительный выступ 10 штока не коснется крестовины 2. Наличие выступа 10 ограничивает перемещение штока 10 и нагрузки на уплотнительный элемент 6, предотвращая его преждевременное разрушение.

Клапан, преимущественно для бурового насоса, содержащий седло с крестовиной, в центральном отверстии которой размещен шток запорного органа, выполненного в виде подпружиненной нажимной шайбы и тарели с уплотнительным элементом и опорной поверхностью, взаимодействующей с крестовиной, причем шток снабжен кольцевым ограничительным выступом, отличающийся тем, что, с целью упрощения конструкции, кольцевой ограничительный выступ штока расположен выше опорной поверхности тарели, а диаметр ограничительного выступа больше диаметра отверстия крестовины.

. Патент «Клапанное устройство» F 16 К 15/02 № 1203299

Клапанное устройство, содержащее перекрывающий седло запорный орган и взаимодействующее с ним отжимное устройство, отличающееся тем, что, с целью повышения экономичности, отжимное устройство выполнено в виде взаимодействующих друг с другом кольцевых магнитных элементов, один из которых закреплен на запорном органе, а другой - на седле с осевым смещением относительно первого в сторону открытия клапана.

Рисунок 8

Изобретение относится к арматуростроению и может быть использовано в насосостроении.

Цель изобретения - повышение экономичности клапана путем уменьшения запаздывания закрытия клапана.

На чертеже представлено клапанное устройство, общий вид в разрезе.

Клапанное устройство содержит седло 1, перекрываемое запорным органом 2, и отжимное устройство, выполненное в виде кольцевых магнитных элементов. Запорный орган 2 содержит . закрепленный на штоке 3 между уплотнительной втулкой 4 с уплотнительным элементом 5 и тарелью 6 один из магнитных элементов, содержащий нижний магнитопровод 7, постоянный магнит 8S размещенный в промежуточном кольце 9 из немагнитного материала, и верхний магнитопровод 10.

Седло 2 выполнено из двух соединенных на резьбе частей, между которыми закреплен второй магнитный элемент, состоящий из верхнего и нижнего полюсников 11 и 12, разделенных межполюсным кольцом I3 из немагнитного материала. Толщина кольца 13 раина толщине кольца 99 а толщина магнитопроводов 1 и 10 равна толщине полюсников 11 и I2.

В закрытом положении клапана магнитный элемент 4. установленный на седле, смещен относительно магнитного элемента на запорном органе в сторону открытия клапана. Шток 3 запорного органа 2 размещен в направляющей 3 4 с отверстиями для прохода рабочей среды.

Клапанное устройство работает следующим образом.

При отпускании тарели на седло в момент прохождения клапаном положения , в котором совпадают уровни магнитопроводов и полюсников, вертикальные составляющие магнитного взаимодействия равны нулю, Под действием давления жидкости и собственного веса клапан продолжает опускаться, а вертикальная составляющая сил магнитного взаимодействия полюсников и магнитопроводов направлена вверх, уменьшая динамические нагрузки, В связи с тем, что межполюсное кольцо 13 по своей высоте равно промежуточному кольцу 9, в момент посадки тарели верхние плоскости магнитопроводов 7 и 10 находятся на одном уровне с нижними плоскостями полюсников 11 и 12. Магнитопроводы и полюсники одновременно попарно реагируют один с другим, чем достигается значительная подъемная сила, воздействующая на клапан в момент посадки.

Усовершенствование клапанного узла

При изучении литературы, патентов и различных изобретений следует отметить, что многие авторы и изобретатели уделяют большое внимание проблеме долговечности работы клапана, связывая ее непосредственно с контактом клапана и седла. А именно, от посадки клапана на седло, что в свою очередь достигается соосностью клапана (штыков и тарели) с седлом.

Цель изобретения - повышение надежности в работе путем обеспечения самоцентрирования тарелки.

Указанная цель достигается тем, что в клапанном узле, содержащем тарелку со штоками, которые расположены в корпусах верхней и нижней направляющих втулок, и седло, корпус верхней направляющей втулки выполнен со сферическим упором, центр сферы которого расположен в середине втулки нижней направляющей.

Сущность изобретения заключается в обеспечении самоцентрирования тарелки в седле клапана.

Выполнение корпуса верхней направляющей втулки со сферическим упором, центр сферы которого расположен в середине втулки нижней направляющей, позволяет обеспечить самоцентрирование тарелки в седле, в результате его обеспечивается надежность в работе клапанного узла.

На чертеже изображен предлагаемый клапанный узел.

Клапанный узел содержит тарелку 1 со штоками 2 и 3, которые расположены в корпусах верхней 4 и нижней 5 направляющих втулок, и седло 6. Корпус верхней направляющей втулки выполнен со сферическим упором 7, центр сферы которого расположен в середине втулки нижней направляющей.

Под действием давления перекачиваемой жидкости тарелка 1 клапана поднимается, перемещаясь по направляющим втулкам 4 и 5. После снятия давления под действием пружины тарелка 1 опускается.

Возможные угловые смещения верхней направляющей втулки относительно нижней компенсируются выполнением поверхности упора 7 в виде сферы.

По экспертной оценке ресурс данного клапана увеличивается примерно в 2 раза.

Рисунок 9

3. УСТРОЙСТВО И ПРИНЦИП ДЕЙСТВИЯ

В соответствии с изложенным в предыдущей главе в буровом насосе можно выделить быстро изнашиваемые детали, такие как клапаны, поршни, штоки, цилиндровые втулки, которые уже при незначительном износе требуют замены на новую деталь. Остальные детали в той или иной степени подвергаются реставрации, требуют либо частичной замены, либо подвергаются ремонту или восстановлению. Это такие детали как валы, которые могут быть восстановлены путем наплавки, металлизации, напылением, хромированием, введением дополнительной детали, могут быть выправлены (валы, потерявшие прямолинейную форму) и так далее. Это такие детали как различные подшипники, шкивы, крейцкопфы, крышки гидравлической коробки, станины, клапанные коробки, корпус, крышки и так далее.

Каждый выход из строя какой-либо детали требует к себе отдельного подхода, отдельного рассмотрения и только после этого вынесения решения о ее ремонтопригодности: о замене, ремонте или восстановлении данной детали.

Инструмент и принадлежности

Для обслуживания, эксплуатации и ремонта насоса предусмотрены комплекты инструментов и принадлежностей.

В инструмент насоса входят все необходимые для эксплуатации ключи.

В комплект принадлежностей входят:

съемник седел клапанов, предназначен для извлечения изношенных седел из гидравлической коробки;

съемник для извлечения цилиндровых втулок;

приспособления для на прессовки и рас прессовки поршней, предназначено для на прессовки поршней перед установкой поршня в насос с целью надежного крепления его на конусной части штока, а также для снятия изношенного уплотнений штока;

приспособление для извлечения уплотнений штока;

приспособление для запрессовки седел клапанов, позволяет запрессовать седло клапана в коническую расточку гидравлической коробки усилием, развиваемым винтом, поднимающим крышку клапана;

приспособление для установки цилиндровой втулки.

Требования, предъявляемые к отремонтированному насосу

1 Конические поверхности седел клапанов, штоков и поршней должны прилегать к сопрягающимся с ними деталями не менее чем на 70% своей опорной поверхностью и равномерно соприкасаться по всей окружности.

2.      Поверхности направляющих и крейцкопфа должны быть гладкими и не иметь выработки. Зазор между направляющими и крейцкопфом должен быть 0.2 - 0.5 мм.

3.      После сборки шатуна с крейцкопфом зазор между торцом малой головки шатуна и корпусом крейцкопфа должен быть с обеих сторон не менее 1 мм.

4.      Шестерни и шкив должны плотно сидеть на валах с затянутыми шпонками. Максимально допустимое биение шкива насоса как торцевой, так и окружности обода допускается 2 - 3 мм.

5.      Пятно касания зубьев шестерни должно быть не менее 50% по длине и не менее 60% по высоте зуба.

6.      В расточках клапанных коробок под седла клапанов и цилиндровых втулок не должно быть забоин, неровностей и других дефектов.

7.      У запрессованных седел торцев седла должны выступать над верхней точкой литья от 6 до 12 мм.

8.      Все детали, работающие под давлением, должны пройти гидравлические испытания под давлением, полутора кратному максимально допустимому рабочему давлению, в течение 10 минут.

.        Окончательно отрегулированные подшипники должны быть заправлены консистентной смазкой, после обработки насос нужно прокрутить вручную за маховик.

Перед отправкой насоса на буровую его необходимо обкатать на заводе или в мастерской в соответствии с техническими условиями на ремонт.

. ПРАВИЛА МОНТАЖА И ЭКСПЛУАТАЦИИ

Монтажные, погрузочные - разгрузочные работы и перемещения тяжестей должны проводиться под руководством работника, ответственного за безопасность работы.

На время перерыва монтажных - демонтажных работ запрещается оставлять в подвешенном состоянии узлы монтируемого оборудования.

Запрещается находиться людям под поднятым грузом и на пути его перемещения.

Запрещается применять грузоподъемные краны для подтаскивания тяжестей под стрелой, вытаскивать груз, зажатый между другими предметами, срывать примерзшие или углубленные в землю предметы.

При эксплуатации насоса необходимо руководствоваться правилами безопасности в нефтегазодобывающей промышленности, утвержденными Госгортехнадзором.

Манометр на нагнетательном трубопроводе нужно установить так, чтобы его показания были отчетливо видны обслуживающему персоналу, и циферблат находился в вертикальной плоскости. Манометр необходимо выбрать с такой шкалой, чтобы при наибольшем рабочем давлении стрелка его находилась в средней части шкалы. На шкале наибольшее рабочее давление 25,0 МПа необходимо отметить красной чертой.

Запускать насос разрешается при предварительно поданном звуковом и световом сигнале, только с полностью установленными ограждениями.

При заполнении пневмокомпенсатора нейтральным газом или воздухом необходимо принять меры, исключающие возможность попадания в газовую полость горючих веществ. Перед разборкой пневмокомпенсатора из него полностью надо выпустить заполняющий его газ. Давление газа в пневмокомпенсаторе проверяется по манометру при остановленном насосе.

Перед пуском насоса в зимнее время необходимо прогревать паром трубу сброса от предохранительного клапана.

С целью устранения накапливания осадка в полостях предохранительного клапана в подводящем отверстии нужно производить периодическое контрольное срабатывание предохранительного клапана. Контрольное срабатывание предохранительного клапана производится не реже, чем через 100 часов эксплуатации насоса (в это время входит время работы насоса и время простоя), а так же после каждой длительной остановки.

В зимнее время при окружающей температуре ниже 0 С перед запуском насоса, после длительной остановки, т. е. более 8 часов, нижнюю часть корпуса пневмокомпенсатора нужно прогреть до температуры +20 - +30 С.

На работающем насосе запрещается проводить какие - либо работы, за исключением работ, связанных с подтягиванием уплотнения штока, цилиндровой крышки, цилиндровой втулки и крышки клапана.

При эксплуатации насоса необходимо постоянно следить за чистотой насоса и помещения, в котором он находится.

Необходимо своевременно устранять все неисправности, обнаруженные при осмотрах и во время работы, немедленно производить замену непригодных для эксплуатации деталей и частей.

Необходимо постоянно следить за надежной затяжкой резьбовых соединений. Особого внимания требуют высоконагруженные резьбовые соединения гидравлического блока, так как незначительное ослабление приводит к повреждению резьбовых соединений и износу посадочных и уплотняемых поверхностей.

Необходимо своевременно производить смену масла в ванне приводной части и подшипниковых узлах трансмиссионного и кривошипного валов, а в баке системы смазки штоков производить замену масла по мере загрязнения глинистых растворов.

Нельзя допускать длительной работы насоса при давлениях, превышающих указанные в технической характеристике. Допускается лишь кратковременное превышение давлений, но не более 10% в течение 5 минут. Все детали гидравлического блока, работающие под давлением 25 МПа (250 кг/см), испытываются гидравлическим давлением 37,5 МПа (375 кг/см) в течение 5 минут на заводе изготовителе.

Направление вращения трансмиссионного вала должно соответствовать направлению, указанному на станине стрелкой, т. е. в том направлении, в каком производится прикатка зубчатого зацепления насоса. Наиболее пред

почтительное направление вращения трансмиссионного вала по часовой стрелке.

Прикатка зубчатого зацепления насоса производится без нагрузки 0,5 часа, с нагрузкой 75% от номинальной мощности - 1час и 95% - 1 час. Суммарное пятно контакта в зубчатом зацеплении в процентах: по высоте не менее 45; по длине не менее 60.

Необходимо удалять полностью в зимнее время при минусовых температурах и длительных остановках насоса из гидравлического блока перекачиваемую жидкость, а перед пуском в зимнее время при минусовых температурах гидравлический блок прогреть до +10 - +15 С или залить горячей перекачиваемой жидкости.

Необходимо следить за качеством глинистого раствора, не допуская содержания песка более 5%. Нельзя оставлять цилиндровые втулки в бездействующем состоянии даже на короткое время, так как из-за коррозии, песка, утяжелителя и затвердевшего бурового раствора их трудно извлечь из гидравлических коробок.

Глубина всасывания в случаях, когда уровень жидкости ниже оси цилиндра насоса, не превышает на втулках 0 200 мм - 1,5 метра, а на втулках 0 130 мм - 2,2 метра.

. ТЕХНИЧЕСКАЯ И ЭКОЛОГИЧЕСКАЯ БЕЗОПАСНОСТЬ

Для обеспечения бесперебойной и безопасной работы буровых насосов в их обвязке должны быть предусмотрены следующие основные элементы:

приемная линия для забора жидкости из приемных емкостей;

компенсирующие устройства на приемной и нагнетательной линиях для сглаживания пульсации потока перекачиваемой жидкости, возникающей вследствие неравномерного движения поршней насоса;

нагнетательный трубопровод (нагнетательная линия, манифольд, буровой шланг и др.), способный выдерживать давление перекачиваемой жидкости;

пусковая задвижка, обеспечивающая легкий и безопасный пуск буровых насосов в работу;

предохранительное устройство для защиты насоса и нагнетательной линии от случайного повышения давления в системе;

манометр с предохранительным устройством для контроля за давлением в нагнетательном трубопроводе;

Правильное размещение насосов и элементов их обвязки, высококачественный монтаж нагнетательной и всасывающей линий - необходимые условия, обеспечивающие безаварийную и безопасную проводку скважин.

Буровые насосы могут приводиться в движение от электродвигателей и от двигателей внутреннего сгорания. Для предупреждения случаев травмирования рабочих все движущиеся части насоса должны быть надежно ограждены.

Предохранительное устройство предназначено для предотвращения разрыва нагнетательного трубопровода или насоса при превышении давления выше допустимого.

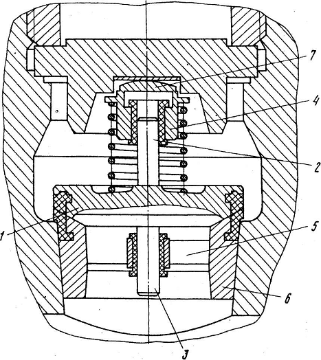
ВНИИТБ разработал простую и надежную конструкцию предохранительного устройства диафрагменного типа с применением чугунных тарированных пластин (рис. 34), преимуществами которого являются:

неизменное тарировочное давление пластин, не зависящее от устройства для крепления; возможность повторного использования устройства для крепления пластин после их срабатывания; простота обслуживания.

Устанавливать предохранительное устройство необходимо вблизи выкида насоса таким образом, чтобы исключить возможность скапливания осадка на пластине, т. е. обеспечить омывание пластины прокачиваемой жидкостью. Поток выходящей жидкости при разрыве пластины должен направляться прямолинейно в трубу для последующего направления в емкость, чтобы исключить загрязнение рабочих мест (рисунок 10).

При таком способе установки пластин исключаются несчастные случаи от непосредственного удара струей промывочного раствора или вылетевшими осколками пластины; раствор, выбрасываемый из предохранительного клапана, не заливает насосного помещения и расположенного вблизи оборудования, в том числе электрооборудования.

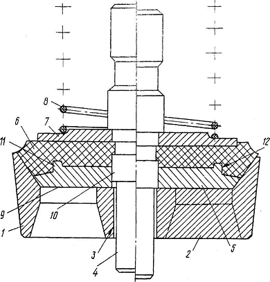
Рисунок 10 - Предохранительное устройство ВНИИТБ.

- резьбовая втулка; 2 - рукоятка; з - ушко; 4 - прижимная втулка; S - манжетный колпачок; 6 - отвод; 7,8 - прокладки; 9 - нагнетательная линия; ю - тарированная пластина.

Рисунок 11 - Схема установки предохранительного устройства ВНИИТБ

- защитный кожух; 2 - предохранительное устройство; 3 - батарея пневмокомпенсаторов; 4 - задвижка высокого давления.

Не следует линию сброса выполнять из изогнутых труб, так как в местах изгиба от гидравлического удара выходящей струи жидкости трубы деформируются и сливной патрубок может оторваться. Кроме того, разорвавшаяся пластина застревает в этом сечении, оказывая большое сопротивление движению струи, что также способствует срыву патрубка и может привести к несчастным случаям с обслуживающим персоналом.

Патрубок сброса должен надежно крепиться к приемной емкости во избежание разрушения от вибрации. Чтобы извлечь разорвавшуюся предохранительную пластину, необходимо прежде всего остановить насос.

Если насос установлен «под залив», следует открыть задвижку на выкидной линии, а после спуска жидкости из нагнетательной линии вновь ее закрепить. Убедившись, что в выкидном патрубке жидкости нет, нужно вывернуть резьбовую втулку при помощи имеющейся рукоятки и опустить втулку до упора в торец выкидной трубы, затем отвернуть монтажный колпачок, удалить остатки разорванной пластины и снять прокладки. Втулку следует промыть и смазать густой смазкой, после чего установить новую предохранительную пластину с чисто промытыми прокладками. Далее завинтить колпачок до полного выхода его резьбы и, наконец, подняв за рукоятку резьбовую втулку, ввинтить ее в прижимную гайку до отказа. Лишь после этого можно пустить буровой насос в действие.

Однако следует помнить, что можно устанавливать только те стандартные тарированные пластины, у которых на периферийном участке выбита цифра рабочего давления.

При установке пластины с канавкой следует обращать внимание на расположение канавки пластины - она должна быть обращена в сторону приемной емкости, так как при этом создается лучшее распределение усилий давления прокачиваемой жидкости, а разрыв пластины наступает при минимальном превышении давления, на которое она рассчитана.

В процессе эксплуатации бурового насоса необходимо следить, чтобы все его болтовые соединения были крепко затянуты. Ослабление их приведет к созданию ударных нагрузок. Болты крышек клапанных коробок и цилиндров, в которых имеются прокладки, не должны затягиваться последовательно один за другим по окружности. Они должны устанавливаться одновременно и слабо затягиваться. Затем подтягивают болт на одной стороне, потом на другой - диаметрально противоположной, и так до тех пор, пока не будут затянуты все болты. Такая затяжка позволяет равномерно распределять нагрузку на прокладку, что обеспечивает требуемую герметизацию. Когда снимаются или устанавливаются крышки, прокладка осторожно поддерживается, чтобы избежать ее повреждения.

Буровой насос необходимо устанавливать строго горизонтально на надежном основании. Неровное основание под салазками создает дополнительные нагрузки, которые могут привести к разрушению станины насоса.

. РАСЧЕТНАЯ ЧАСТЬ

РАСЧЕТ БУРОВЫХ НАСОСОВ И ИХ ЭЛЕМЕНТОВ. При конструировании буровых насосов прежде всего должны быть определены основные параметры - подача, число цилиндров, число двойных ходов поршней и развиваемые насосом давления при наибольшей и наименьшей подачах.

Элементы бурового насоса рассчитывают на прочность по наибольшим нагрузкам, возникающим при работе, а на долговечность - по эквивалентной нагрузке. Для деталей, подверженных абразивному износу, долговечность теоретически не определяется, сроки службы устанавливаются по опыту эксплуатации аналогичных конструкций в зависимости от условий работы и свойств прокачиваемого бурового раствора.

МОЩНОСТЬ И К.П.Д. НАСОСОВ. В насосном комплексе буровой установки, как правило, выбирают насосы с одинаковыми параметрами. Тогда полезная мощность одного насоса NПH (в кВт)

NПH = Nc/z, (1)

где z - число одновременно работающих в комплексе насосов (обычно не более двух).

Наибольшая объемная подача каждого насоса QHmax (в л/с)Hmax=QCmax/z . (2)

Наименьшее давление на выходе насоса pHmin (в МПа) в соответствии с формулой (1) при наибольшей подаче

PHmin=NПН/QHmax . (3)

Наименьшая подача QHmin (в л/с) при номинальном числе ходов поршня насоса и наибольшем давлении

QHmin=NПН/PHmax , (4)

где рнmах - наибольшее давление на выходе насоса, определяемое расчетным путем по (З).

Мощность приводного двигателя насоса NД (в кВт) рассчитывается по формуле

Д=NПН/hна (5)

где hна - общий к. п. д. насосного агрегата от двигателя до выхода насоса и представляет собой произведение объемного h0, гидравлического hг и механического hM коэффициентов полезного действия насосного агрегата

hна=h0 hг hM (6)

Объемный к. п. д. бурового насоса h0 отражает затрату мощности на прокачивание под давлением части раствора через щели и уплотнения манжет поршня, сальники штоков и уплотнения клапанов. Для исправного насоса hо = 0,95-0,99; гидравлический к. п. д. оценивает потери мощности в каналах входного и выходного коллекторов, гидравлической коробке и клапанах и составляет 0,97-0,98; механический к. п. д. насосного агрегата может быть представлен в виде произведения коэффициентов

hМ=hМТ hMН , (7)

где hМТ - к. п. д. трансмиссии от двигателя до трансмиссионного вала насоса

hМТ = hМТ1 hМТ2 hМТ3 … hМТi , (8)

здесь hМТ1 - к. п. д. вала на опорах качения, равный 0,993; hМТ2 - к. п. д. фрикционной муфты, равный 0,99; hМТ3 - к. п. д. клиноременной передачи, равный 0,995-0,998; hМТi - к. п, д. других элементов, входящих в трансмиссию; hMН - механический к. п. д. насоса

hМH = h1М h2М h3Мh4Мh5М , (9)

где h1М - к. п. д. трансмиссионного вала на опорах качения, равный 0,99 ... 0,992; h2М - к. п. д. закрытой зубчатой передачи, равный 0,992; h3М - к. п. д. коренного вала на опорах качения, равный 0,992-0,993; h4М - к. п. д. ползуна и кривошипно-шатунного механизма, равный 0,994-0,996; h5М - к. п. д. уплотнения штока и поршня, равный 0,992-0,993.

Таким образом, механический к. п. д. насоса при работе на полной мощности составляет 0,80-0,87, при работе с неполной мощностью он снижается до 0,6-0,7. Общий к. п. д. насосного агрегата может составлять 0,75-0,8 и менее в зависимости от к. п. д. приводной трансмиссии.

Коэффициентом подачи насоса называется отношение фактической объемной подачи QH к идеальной QHИ

a = QH/QНИ = aН h0, (10)

где aн - коэффициент наполнения, учитывающий недоиспользование объема цилиндров вследствие потерь низконапорной жидкости через щели всасывающих клапанов в момент закрытия, плотность и вязкость жидкости и содержание газа в растворе (aн = 0,7-0,95). Для расчетов коэффициент подачи принимают равным 0,9.

РАСЧЕТ НА ПРОЧНОСТЬ ЭЛЕМЕНТОВ ГИДРАВЛИЧЕСКОЙ ЧАСТИ БУРОВОГО НАСОСА. В гидравлической части бурового насоса определяют основные размеры и рассчитывают на прочность и выносливость находящиеся под давлением элементы - гидравлическую и клапанную коробки, цилиндры, выходной коллектор, штоки, крепления поршня, сальники, клапаны, седла, пружины, крышки, их крепление и др.

Эти элементы рассчитывают на статическую прочность по усилиям, возникающим в них при действии испытательного давления, принимаемого в 1,5 раза больше рабочего давления, возникающего при работе насоса с наименьшим диаметром поршней . Расчеты на выносливость ведут по переменным во времени напряжениям, действующим при асимметричном или пульсационном циклах.

Штоки насосов

Штоки насосов одностороннего действия рассчитывают на сжатие и продольную устойчивость, а двухстороннего действия - также и на растяжение.

Рисунок 12 - Расчетная схема поршень-шток:

- поршень; 2 - шток поршня; 3 - уплотнитель штока; 4 - шток ползуна; 5 - ползун

Расчет штоков на сжатие и растяжение, наибольшее напряжение растяжения или сжатия s (в Па) в минимальном поперечном сечении штока

s=Рmax/f, (11)

где Ртах - максимальная нагрузка на шток, Н; f - наименьшая площадь сечения щтока, м2.

Нагрузка, действующая на шток в насосе двухстороннего действия, складывается из давления жидкости на поршень, трения его уплотнения о стенки цилиндровой втулки и трения штока в сальнике (рисунок 12).

Сила, сжимающая шток Ршс (в Н), без учета сил инерции

 (12)

В насосах с самоуплотняющимися манжетами силы трения в сальнике можно не учитывать, так как при сжатии штока в штоковой камере происходит всасывание и давление незначительно.

Сила РШР (в Н), растягивающая шток насоса двухстороннего действия

, (13)

где d, D - диаметры штока и поршня, м; l1 и l2 - длины уплотнения соответственно поршня и сальника, м; m- коэффициент трения между резиной и металлом уплотнений поршня и штока, m = 0,1÷0,2; kс - коэффициент среднего давления уплотнения на шток, kс = 0,15÷ 0,2.

Найдя силы, действующие в штоке, определяют напряжения в его сечениях и коэффициенты запаса прочности.

Максимальные напряжения сжатия scmax (в Па) находят из формулы (11): scmax = Ршс /f, где f=pd2/4- площадь поперечного сечения штока.

Коэффициент запаса прочности по текучести

ST = sТ /sс max ,

где sт - предел текучести материала штока, Па. Коэффициент запаса прочности должен быть в пределах 2-5.

Растягивающая сила в сечении резьбы штока (в Н): РРР = Т+хРшр.

Крутящий момент от силы затяжки гайки МГ (в Н∙м): МГ=xd0T , где x- коэффициент, учитывающий трение в резьбе x= 0,1-0,15.

Напряжение растяжения в сечении резьбы штока sр (в Па): р = 4Ррр/pd20, где d0 - внутренний диаметр резьбы штока, м.

Касательное напряжение в сечении резьбы штока tР (в Па): tР =Мr/О2d30.

Эквивалентное напряжение при растяжении sэр (в Па): sэр=s2р+3t2р.

Коэффициент запаса прочности по текучести в сечении резьбы

St = s /sэр.

При расчете гладких частей штоков насосов двухстороннего действия на выносливость принимается, что силы действуют по асимметричному циклу, так как Ршс>Ршр и шток работает в агрессивной среде.

Среднее напряжение цикла sт (в Па): sт =(sсmax--spmax )/2.

Амплитуда цикла sa (в Па): sa=scmax-sm. Максимальное напряжение растяжения spmax (в Па) находится из формул (11) и (13): spmax = Pшр/f.

Коэффициент запаса прочности по выносливости во всех опасных сечениях штока

 (14)

где s-1огр- ограниченный предел выносливости на сжатие при симметричном цикле, Па. Если нет точных данных, то его значение определяют приближенно: s-1огр = 0,8s-1с , где s-1с - предел выносливости на сжатие на воздухе при симметричном цикле.

Аналогично рассчитывается сечение штока на выносливость по резьбе, но при определении напряжения sрmax принимают силу Рpp, учитывающую крутящий момент от затяжки гайки. Величины коэффициентов KsD и ys подбирают по справочникам.

В насосах одностороннего действия штоки нагружаются переменными сжимающими силами, действующими по пульсационному циклу. Среднее напряжение сжатия этого цикла sm равно средней амплитуде напряжений sа=sмах/2.

Коэффициент запаса прочности по выносливости

. (15)

Значения коэффициентов запаса прочности по выносливости должны быть не менее 1,2.

Расчет штоков на продольную устойчивость. При гибкости штока l=lш/imin³105 расчет ведут по формуле Эйлера и принимают, что концы штока закреплены шарнирно.

Наименьший радиус инерции штока imin (в м) определяют из выражения

, (16)

где I = pd4 /64 - момент инерции, м4.

Гибкость штока l = lш/imin , где lш - длина штока поршня, м.

Критическая сила сжатия штока Ркр = p2Е1/i2ш, где Е - модуль упругости материала штока, Па.

Коэффициент запаса устойчивости

 (17)

При гибкости lш/imin <105 коэффициент запаса устойчивости определяется из выражения п=sкр/sсмах, где sкр - критическое напряжение сжатия (в Па): sкр -335-0,6 l для углеродистых сталей и sкр = 470-2,3 l для сталей с содержанием никеля 5 %. Коэффициент запаса устойчивости в существующих конструкциях колеблется в пределах 2-4.

Составные штоки рассчитываются путем добавления к длине штока поршня эквивалентной длины штока ползуна lэ=lшпх(d/d1)2 где lшп - длина штока ползуна; d1- его диаметр. Расчетная длина составного штока lР=lШ+lЭ.

При расчетах срока службы сменных быстроизнашивающихся деталей насоса (например, поршней, штоков поршней насосов двухстороннего действия и др.) они подвергаются воздействию (5-10) 105 циклов нагрузки, что соответствует сроку их службы, в 50-100 раз меньшему, чем расчетный технический ресурс насоса.

Расчет клапанов. Основные размеры клапанов зависят от подачи и числа двойных ходов поршня насоса, а высота его подъема определяется скоростью потока жидкости в клапанной щели. Если размеры клапана и его гидравлическое сопротивление рассчитаны неправильно, то при его закрытии появляется характерный стук, который принимают за критерий правильности выбора размеров клапана для заданных условий работы.

В качестве критерия, характеризующего степень опасности возникновения стука, принимают отношение площади опорной и уплотнительной поверхностей тарели клапана к площади верхней поверхности клапана

Рисунок 13 - Расчетная схема клапана

 (18)

где DK и D0 -диаметры клапана и отверстия седла, м; g - угол наклона образующей конической посадочной поверхности клапана (рисунок 13). Для клапанов буровых насосов принимают g= 30-60°.

Если kст>0,5 при работе на воде или kст >0,4 при перекачке вязких растворов, то стука клапанов не возникает. В современных буровых насосах большой мощности, развивающих высокие давления, клапаны имеют хорошо развитые опорные и уплотняющие поверхности и параметр kCT обычно выше этих пределов и клапаны при нормальных условиях всасывания закрываются без стука.

Так как из условий взаимозаменяемости размеры всасывающих и нагнетательных клапанов выбирают одинаковыми, рассчитывают размеры только всасывающего клапана.

Площадь проходного сечения седла клапана So (в м2)

 (19)

где Dp - расчетный диаметр поршня насоса, м, обычно Dp = 0,7-0,8 Dmax; w- угловая скорость коренного вала насоса, с-1; R - радиус кривошипа коренного вала, м; n0max- наибольшая скорость потока в отверстии седла, м/с

n0max =(1-1,25) р0,12нw-0,3,

где рн - давление на выходе насоса, Па.

Максимальную скорость потока в отверстии седла всасывающего клапана при работе с подпором 0,05-0,1 МПа принимают равной 4 м/с, а при работе с подпором 0,2-0,3 МПа -6-7 м/с.

Диаметр отверстия седла клапана Do (в м)

, (20)

где kос - коэффициент уменьшения площади отверстия седла. Для седел с ребрами kос=0,7-0,75, без ребер kос=1,0.

Наибольшая высота подъема всасывающего клапана hmax (в м)

. (21)

Для нормальных условий всасывания расчетную высоту подъема клапана hmax можно определять из выражения

. (22)

Диаметр тарели клапана Dk (в м)

 , (23)

где m - коэффициент расхода, определяемый по графику (рисунок 14); представлен зависимостью от безразмерного параметра À, равного отношению площади выходного сечения щели клапана lhp к площади проходного сечения седла клапана So (l - длина щели); р - плотность раствора, кг/м3; рк - избыточное давление жидкости под открытым всасывающим клапаном, Па; рк принимают равным не менее 0,05 МПа, так как клапаны буровых насосов не рассчитывают на самовсасывание при уровне жидкости ниже оси цилиндров насоса.

Для конического тарельчатого клапана бурового насоса

 (24)

Поскольку площадь выходного сечения щели клапана lhp и параметр À неизвестны, сначала задаются значением параметра À = 0,2-0,3, а затем расчет уточняют по принятым размерам.

Открытый клапан находится в равновесии в потоке протекающей через него жидкости

pk=GK+PПР, (25)

где Gк - вес клапана, Н; Pпр - нагрузка на пружину при открытом клапане, Н

PПР=S0pk-Gk.

Диаметр проволоки пружины рассчитывается по формуле

, (26)

где Dcp- средний диаметр витка пружины, м; i - число рабочих витков пружины; G - модуль упругости при сдвиге, равный 8-Ю4 МПа; У - деформация пружины, м (выбирается так, чтобы сила сжатия пружины, действующая на закрытый клапан, составляла 80-85 % от силы, действующей на открытый). Высота подъема клапана обычно ограничена до 1,5 hp. Экспериментально установлено, что при диаметре поршня 130-180 мм высота подъема нагнетательного клапана составила 13-28 мм, а всасывающего 10-25 мм. Приведенный расчет является приблизительным, поэтому окончательные размеры клапанов, нагрузка на них и высота всасывания должны быть проверены при испытаниях насосов.

Необходимая проекция площади опорной поверхности тарели на плоскость, перпендикулярную к оси клапана, определяется по допускаемым удельным нагрузкам, так, чтобы в пределах DK размещалось эластичное уплотнение шириной 15-25 мм. Площадь опорной поверхности соприкосновения тарели клапана S0K с седлом (в м2)

Рисунок 14- Зависимость коэффициента расхода клапана m от безразмерного параметра À

 , (27)

где z - число ребер седла; остальные обозначения на

рисунке 13.

Сила, действующая на тарель закрытого клапана Рк (в Н)


Удельная нагрузка на опорную поверхность седла рс (в Н/м2):

рс = Рк/S0К.

Для закаленных опорных поверхностей клапана допускаются удельные нагрузки до 80 МН/м2.

Ширина эластичной поверхности уплотнения bу=(0,65-0,8) bк (см. рисунок 13). В насосах высокого давления клапан одновременно должен садиться своей плоской частью на ребра седла. В клапанах эластичный элемент стремятся изготовлять более широким и жестким. Толщину тарели dТ клапана выбирают из конструктивных соображений. Тарель клапана рассчитывают на прочность и выносливость как пластину радиуса dТ/2, свободно опертую по краям и нагруженную равномерно распределенной нагрузкой, действующей по пульсационному циклу.

Момент изгиба тарели клапана Мт (в Н∙м) определяется выражением

, (29)

где рpi - расчетное давление, Па; m - коэффициент Пуассона, для стали m=0,3.

Максимальное напряжение изгиба тарели при опрессовке sИmax (в Па)

,

где sт - предел текучести материала тарели, Па, а коэффициент запаса прочности sT=sт/sИmax должен быть ³3.

Коэффициент запаса прочности по выносливости

, (30)

где sа - средняя амплитуда напряжений цикла, равная сред-
нему напряжению: sа =sm = sв max /2; sв max =  - максимальное напряжение изгиба при циклическом нагружении, Па; dТ - толщина тарели клапана, м; s-1огр - ограниченный предел выносливости изгиба при пульсационном цикле. Па. Коэффициент запаса прочности по выносливости nа=1,3-1,6; остальные величины известны.

Для тарелей клапанов, садящихся на ребра седла, толщина диска тарели может быть уменьшена в 1,5-2 раза.

ЛИТЕРАТУРА

1.     Баграмов Р. А. Буровые машины и комплексы: Учебник для вузов. - М.: Недра, 1988. - 501 с.

2.      Аваков В. А. Расчеты бурового оборудования. - М.: Недра, 1973. - 400 с.

.        Бабаев С. Г. Надежность и долговечность бурового оборудования. - М.: Недра, 1974 - 184 с.

.        Бубнов А. А. Ремонт бурового оборудования в конторе бурения. - М.: Недра, 1964. - 200 с.

.        Ильский А. Л. и др. Расчет и конструирование бурового оборудования: Учебное пособие для вузов. - М.: Недра, 1985. - 452 с.

.        Литвинов В. М. Повышение надежности нефтепромысловых насосов. М.: Недра, 1978. - 191 с.

.        Мелинов М. М. И др. Ремонт бурового оборудования. - Баку.: Государственное научно - техническое издательство нефтяной и горно-топливной литературы., Азербайджанское отделение, 1951. - 216 с.

8.     Мкртыган Я. С. Повышение эффективности эксплуатации буровых насосных установок. - М.: Недра, 1984. - 207 с.

9.      Николич А. С. Поршневые буровые насосы. - М.: Недра, 1973. -

224 с.

10.   Элияшевский И. В. и др. Типовые задачи и расчеты в бурении: Учебное пособие для нефтяных техникумов. - М.: Недра, 1974. - 503 с.

11.    Авербух Б. А. и др. Ремонт и монтаж бурового и нефтегазопромыслового оборудования. - М.: Недра, 1976. - 368 с.

.        Газарян Г.С., П.В.Куцын. Безопасность ведения буровых работ. - М.: Недра, 1967, - 260

Похожие работы на - Расчет бурового насоса

 

Не нашли материал для своей работы?
Поможем написать уникальную работу
Без плагиата!
Без нейросетей!