Организация ремонтно-сервисного обслуживания буровых насосов НБ-32 ежегодным объемом 300 штук в условиях АО 'Волковгеология'
МИНИСТЕРСТВО
ОБРАЗОВАНИЯ И НАУКИ РЕСПУБЛИКИ КАЗАХСТАН
Казахский
национальный технический университет имени К.И. Сатпаева
Горно-металлургический
институт имени О.А. Байконурова
Кафедра
Машины и оборудование нефтяной и газовой промышленности
ДОПУЩЕН К
ЗАЩИТЕ
ПОЯСНИТЕЛЬНАЯ
ЗАПИСКА
к дипломному
проекту: «Организация ремонтно-сервисного обслуживания буровых насосов НБ-32
ежегодным объемом 300 штук в условиях АО «Волковгеология»
В072400-
Технологические машины и оборудование
Алматы 2015
ЗАДАНИЕ
Тема дипломной работы: «Организация
ремонтно-сервисного обслуживания буровых насосов НБ-32 ежегодным объемом 300
штук в условиях АО «Волковгеология».
Утверждена приказом по университету № __ от
«__»__2014г_________ Срок сдачи законченной работы «__» мая 2015г.
Исходные данные к дипломному проекту (работе):
Буровой насос НБ-32.
Перечень подлежащих разработке в дипломном
проекте вопросов или краткое содержание дипломной работы
а) В технической части рассматриваются различные
элементы конструкции талевых систем буровых установок проводится анализ
конструкции;
б) В расчетной части приводятся технологические
расчеты;
в) В специальной части рассматривается
проектируемый кронблок, его чертежи и схемы и маршрутная технология
изготовления детали кронблока, конструктивные расчеты;
г) В экономической части приводятся
экономические расчеты по проекту;
д) В разделе охраны труда, и техники
безопасности рассматриваются необходимые мероприятия и организационные
положения;
е) В разделе охраны окружающей среды
рассматриваются мероприятия по защите окружающей среды;Перечень графического
материала (листы графического материала формата А1-6 листов; принципиальная
схема талевойсистемы; чертежи конструкции кронблоков; чертежи рабочих деталей;
экономические показатели проекта.
Рекомендуемая основная литература:
Аваков В.А. Расчеты бурового оборудования. - М.:
Недра, 1973. - 399 с.
ГРАФИК
подготовки дипломного проекта
|
Наименование
разделов, перечень разрабатываемых вопросов
|
Сроки
представления научному руководителю и консультантам
|
Примечание
|
|
Техническая
часть
|
|
|
|
Расчетная
и специальная часть
|
|
|
|
Экономическая
часть
|
|
|
|
Охрана
труда и техника безопасности
|
|
|
|
Охрана
окружающей среды
|
|
|
Подписи
консультантов и нормоконтролера на законченную
дипломную работу с указанием относящихся к ним разделов проекта (работы)
|
Наименования
разделов
|
Научный
руководитель, консультанты, (уч. степень, звание)
|
Дата
подписания
|
Подпись
|
|
Экономическая
часть
|
|
|
|
|
Охрана
труда и техника безопасности
|
|
|
|
|
Охрана
окружающей среды
|
|
|
|
|
Нормоконтролер
|
к.т.н.,
доцент К.К. Нугуманов
|
|
|
Научный руководитель _________ Мырзахметов Е.Б
Задание принял к исполнению студент _________
Зияев А. А.
Дата _______.2014г.
АҢДАТПА
Осы дипломдық жобада НБ-32 бұрғылау
сорабынын Волковгеология АҚ-ғы жөндеу тәсілдерімен
техниқалық қызмет көрсетүлер қарастырылған.
Берілген тақырыпты негіздеу үшін сораптың түрлері көрсетілген,
поршеньді бұрғылау сораптары жайында жалпы мағлұмат,
арнайы бөлімдегі гидравликалық блоктың негізгі көлемдерді
есептеудің әдістері, жөндеу кәсіпорнын жобалау және
есептеу әдісі, сорап детальдарын дайындаудың бағдарлы
технологиясы көрсетілген.
Есептік бөлімінде сораптын гидравлиқалық
блогыны жалпы өлшемдеріне есептеулер көрсетілген. Берілген жоба
бойынша экономиқалық есептеулер шығарылған.Еңбек қорғау,
техникалық қауіпсіздік және қоршаған ортаны қорғау
шараларының сұрақтары ашылған.
Дипломдық жоба... бет түсініктемелік
жазбадан және... парақ А1 форматында жасалған графикалық
бөлімінен тұрады.
АННОТАЦИЯ
В данном дипломном проекте рассматривается
способы ремонта и технического обслуживания бурового насоса НБ-32 в условиях АО
«Волковгеология». Для обоснования заданной темы приводится обзор видов насосов
общие сведения о буровых поршневых насосах, приводятся методики расчетов
основных размеров гидравлического блока в специальной части методика расчета и
проектирования ремонтного предприятия, представлена маршрутная технология
изготовления детали насоса. Имеются экономические расчеты по проекту. Раскрыты
вопросы охраны труда, и техники безопасности.
Дипломный проект состоит из... страниц
пояснительной записки и графической части выполненой на... листах формата А1.
ANNOTATION
of repair and maintenance of mud
pump НБ-32
in joint-stock company “Volkovgeologia” are under consideration in this diploma
design. In order to substantiate present theme we give project survey of types
of pumps, general information about drilling piston pump, method of calculation
the main dimensions of hydraulic block. There are methods of calculation and
design of overhaul plant, path technology of pump-detail-making in the special
part.calculations under the project are given. Issues of labor protection and
safety measures are revealed.project consists of... pages explanatory note and
graphical part of the execution on the sheets... A1
ВВЕДЕНИЕ
Нефтегазовая отрасль Казахстана имеет богатую
100-летнюю историю. Республика обладает значительными разведанными запасами
нефти и газа промышленных категорий, а также перспективными и прогнозными
ресурсами, являющимися надежной основой для дальнейшего развития нефтегазового
комплекса. Доказанные запасы страны, без учета шельфа Каспийского моря,
составляют 21 млрд баррелей (2,9 млрд тонн) нефти и газового конденсата и 1,8
трлн м3 газа. Более 200 месторождений нефти и газа открыто на территории
страны, при этом основные запасы углеводородного сырья сосредоточены
преимущественно в 14-ти крупных месторождениях Западного Казахстана. С
приобретением независимости РК, наша страна бурно развивает нефтегазовый
комплекс. Среди развития нефтегазового комплекса получила и свое место покупка,
продажа, эффективный ремонт и техническое обслуживание буровых поршневых
насосов.
Поршневые насосы используются с глубокой
древности. Известно их применение для целей водоснабжения со II века до нашей
эры. В настоящее время поршневые насосы используются в системах водоснабжения,
в пищевой и химической промышленности, в быту.Поршневые насосы могут быть
использованы для перекачивания жидкостей с различными физическими свойствами
(даже с высокой вязкостью и большим содержанием твердой взвес), чего нельзя
достигнуть при применении шестеренчатых насосов. Поршневые насосы максимально
отвечают основным требованиям бурового процесса и поэтому получили широкое
распространение при бурении геологоразведочных скважин.
На производстве буровой поршневой насос основной
потребитель энергии (70-80%). Современный буровые насосы имеют мощность от 300
до 2000 кВт. Буровой насос подбирается в соответствии с требованием и
техническо-экономическими показателя буровой установки.
В настоящее время для бурения применяют
горизонтальные двухпоршневые насосы двойного действия в частности НБ-32 и
трехпоршневые одностороннего действия. Эффективность различных структурных схем
насосов должна определяться простотой конструкции, ее технологичностью, числом
быстроизнашивающихся деталей и так далее.
1. ТЕХНИЧЕСКАЯ ЧАСТЬ
.1 Информация о предприятии АО
«Волковгеология»
Волковская экспедиция была образована при
Министерстве геологии СССР 1 января 1948 г. с целью поиска и разведки урановых
руд на территории Казахстана для обеспечения минерально-сырьевых нужд
оборонного комплекса. В 1979 г. была переведена в ранг производственного
объединения и переименована в Волковгеологию. С 1992 г. - открытое акционерное
общество в составе Казахской государственной корпорации предприятий атомной
энергетики и промышленности «КАТЭП», с 2003 г. - акционерное общество в составе
Национальной атомной компании «Казатомпром».
В 1958 году при Волковской экспедиции были
созданы: в Алма-Ате-Ремонтно-механическая мастерская (РММ), в Илийском районе,
Алма-атинской области-Транспортно-ремонтная база (ТРБ).В задачи подразделений
входило-обеспечение транспортными и ремонтными работами, запасными частями.
Буровыми инструментами и нестандартным оборудованием полевых партий, не имевших
ремонтно-механических баз.
РММ изготавливали буровой инструмент, запасные
части и обеспечивала транспортировку грузов.В связи с увеличением объемов
геологоразведочных работ в полевых подразделениях. Возникла необходимость
наращивания объемов производства РММ и ТРБ.
Поэтому, в 1980 году на базе производственной
площадки в Илийском районе, предприятия были объединены и переименованы в
Управление производственно-технического обеспечения и комплектации (УПТОК).
Для размещения расширяющихся цехов построен
производственный корпус, административно-бытовые здания, профилакторий для
автотранспорта, механизированный склад и котельная.
Основные направления деятельности:
изготовления нестандартного оборудования,
изготовления бурового инструмента,
изготовления запасных частей к горно-буровому
оборудованию,
ремонт горно-бурового оборудования,
автотракторных двигателей и агрегатов,
транспортировка грузов для филиалов АО
«Волковгеология»,
получение, хранение и отгрузка материалов для
филиалов АО «Волковгеология».
На всю выпускаемую продукцию имеются техническая
документация, лицензия на изготовление и разрешение Министерства по
Чрезвычайным ситуациям РК.
Наоснований результатов использования в Филиалах
АО «Волковгеология» по всем видам выпускаемой продукции, по мере необходимости,
для повышения качества и улучшения потребительских свойств вносятся изменения.
-1953 гг. - ревизионные работы на известных
месторождениях различных полезных ископаемых. Выявление, ускоренная разведка и
сдача в эксплуатацию Курдайского месторождения - первого промышленного гидротермального
месторождения в Казахстане.
-1957 гг. - выявление аэропоисками
гидротермальных залежей в Северном Казахстане, открытие и разведка
месторождения Бота-бурум в Южном Казахстане.
-1968 гг. - выявление и оценка первых
грунтово-пластово-инфильтрационных месторождений в Илийской, Шу-Сарысуйской и
Сырдарьинской впадинах Южного Казахстана. Начало становления трех экзогенных
урановорудных провинций. 1968-1986 гг. - резкое увеличение объемов поискового и
разведочного бурения в депрессионных структурах. Успешно опробован способ
подземного скважинного выщелачивания на участке Уванас, что позволило осваивать
месторождения с низким содержанием руд в сложных инженерно-геологических
условиях.
В советский период Волковгеология
демонстрировала рекордные в геологической отрасли показатели производительности
труда. Особенно это касается бурения: за более чем полувековой период своей
деятельности структура пробурила почти 30 миллионов погонных метров скважин. В
свое время одна из буровых бригад объединения установила абсолютный рекорд
бурения среди всех геологических организаций СССР - почти сорок тысяч погонных
метров в месяц. 1987-1997 гг. - вследствие политики разоружения и свертывания
программы развития атомной энергетики после чернобыльских событий происходит резкое
падение объемов производства урана. Обретение бывшими советскими республиками
независимости усугубили кризисные явления в атомной отрасли, поскольку была
разрушена централизованная система госзаказов. В указанный депрессивный период
геологоразведочные работы практически не проводились. Специалисты
Волковгеологии был вынуждены заниматься непрофильными работами. В 1997 г.
указом Президента РК «КАТЭП» была реорганизована в Национальную акционерную
компанию «Казатомпром». С приходом нового руководства в 1998 г., возглавляемого
МухтаромДжакишевым, компания начала постепенный выход из кризиса. На тот момент
задолженность компании по зарплате перед работниками предприятий, включая
Волковгеологию, составляла 12 миллионов долларов. Люди не получали заработную
плату до полугода. Была прекращена добыча урана в 3 из 4 урановодобывающих
провинциях республики. Всё имущество компании находилось в залоге,
задолженность перед бюджетом и внебюджетными фондами составляла около 20
миллионов долларов, объёмы добычи урана упали в три раза по сравнению с 1991
г., а объем запасов, подготовленных к добыче, был минимальным и не обеспечивал
в будущем текущего объема производства. Эти проблемы руководству компании
удалось решить путем совершенствования технологий, внедрения тендерного
механизма закупок, внедрения системы сетевого планирования и управления,
сокращения условно-постоянных расходов за счет роста объемов производства,
внедрения активной маркетинговой политики. Благодаря этим мерам в 1999 г.
компания остановила падение производства, а в 2000 г. стабилизировала свою
работу. Были открыты новые рудники. В новом десятилетии началось возрождение
атомной отрасли в Казахстане.
1.2 Классификация насосов
Насосами называются машины для создания
напорного потока жидкой среды. Этот поток создается в результате силового
воздействия на жидкость в рабочей камере насоса.
По характеру силового воздействия, а
следовательно, и по виду рабочей камеры различают насосы динамические и
объемные. В динамическом насосе силовое воздействие на жидкость осуществляется
в проточной камере, постоянно сообщающейся со входом и выходом насоса. В
объемном насосе силовое воздействие на жидкость происходит в рабочей камере,
периодически изменяющей свой объем и попеременно сообщающейся со входом и
выходом насоса.
Таблица 1.1 - Классификация насосов
|
К
динамическим насосам относятся
|
К
объемным насосам относятся
|
|
1
лопастные: а) центробежные; б) осевые;
|
1
возвратно-поступательные: а) поршневые и плунжерные; б) диафрагменные
|
|
2
электромагнитные;
|
2
крыльчатые;
|
|
3
насосы трения: а) вихревые; б) шнековые; в) дисковые; г) струйные и др.
|
3
роторные: а) роторно-вращательные; б) роторно-поступательные.
|
По некоторым общим конструктивным признакам
динамические и объемные насосы делят на следующие виды:
) по направлению оси расположения, вращения или
движения рабочих органов:
а) горизонтальный; б) вертикальный;
) по расположению рабочих органов и конструкций
опор:
а) консольный; б) моноблочный; в) с выносными
опорами; г) с внутренними опорами;
) по расположению входа в насос:
а) с боковым входом; б) с осевым входом; в)
двустороннего входа;
) по числу ступеней и потоков:
а) одноступенчатый; б) двухступенчатый; в)
многоступенчатый; г) однопоточный; д) двухпоточный; е) многопоточный;
) по требованиям эксплуатации: а) обратимый; б)
реверсивный; в) регулируемый; г) дозировочный.
Агрегат, состоящий из насоса (или нескольких
насосов) и приводящего двигателя, соединенных друг с другом, называется
насосным агрегатом.
В зависимости от рода двигателя различают
следующие насосные агрегаты:
электронасосный;
турбонасосный;
дизель-насосный;
мотонасосный;
гидроприводной;
паровой;
пневматический.
Насосный агрегат с трубопроводом и комплектующим
оборудованием, смонтированным по определенной схеме, обеспечивающей работу
насоса, называется насосной установкой.
1.3 Поршневые насосы
Поршневые насосы относятся к числу объемных
насосов, в которых перемещение жидкости осуществляется путем ее вытеснения из
неподвижных рабочих камер вытеснителями.
Рабочей камерой объемного насоса называют
ограниченное пространство, попеременно сообщающееся со входом и выходом насоса.
Вытеснителем называется рабочий орган насоса,
который совершает вытеснение жидкости из рабочих камер (плунжер, поршень,
диафрагма).
1.4 Общие сведения о буровых
поршневых насосах
Среди поршневых и плунжерных насосов буровые
насосы являются наиболее мощными и это определяет способ регулирования подачи
посредством коробки передач, используемой в конструкции этих насосов.
Регулирование подачи осуществляется ступенчато. Конструкция отдельных насосов
предусматривает возможность изменения подачи за счёт применения сменных деталей
гидроблока (гильз и поршней разных диаметров).
Благодаря простоте и надежности работы буровые
поршневые насосы нашли широкое применение в нефтяной, газовой и нефтехимической
отраслях промышленности, все основные технологические процессы которых связаны
с перекачкой по трубопроводам различных жидкостей - нефтей, нефтепродуктов,
сжиженных газов, воды, глинистых растворов, химических реагентов и др. В
бурении нефтяных и газовых скважин поршневые насосы нашли исключительное
применение (Таблица 1.2).
Таблица 1.2 - Основные параметры буровых насосов
по ГОСТ 6031-81
|
Наименование
параметров
|
Размерность
|
Значение
параметров для классов буровых насосов
|
|
|
1
|
2
|
3
|
4
|
5
|
6
|
7
|
8
|
9
|
10
|
|
Приводная
мощность
|
кВт
|
32
|
80
|
190
|
300
|
375
|
475
|
600
|
950
|
1180
|
1500
|
|
Полезная
мощность не менее
|
кВт
|
25
|
63
|
150
|
235
|
300
|
375
|
475
|
750
|
950
|
1180
|
|
Наибольшая
подача
|
Дм3/с
|
9
|
11
|
18
|
28
|
35
|
35
|
45
|
45
|
45
|
45
|
|
Наибольшее
давление
|
МПа
|
4.0
|
10
|
20
|
20
|
20
|
25
|
25
|
32
|
40
|
40
|
|
Диапазон
регулирования подачи
|
_
|
1.4
|
2.2
|
2.9
|
3.0
|
2.3
|
3.0
|
2.4
|
1.9
|
1.9
|
1.5
|
Они используются для создания циркуляции
глинистого раствора или воды в скважине. В добыче нефти поршневые насосы
используются главным образом для извлечения нефти из скважины, перекачки воды и
высоковязкой нефти по трубопроводам, гидравлического разрыва пластов,
нагнетания воды в пласт.
Детальные данные о буровых поршневых насосах
даны в таблице 2.2
Поскольку в нефтяной промышленности нет ни
одного участка, где не использовались бы насосы, дальнейшее улучшение их
технико-экономических показателей остается основной проблемой нефтяной
промышленности.
Таблица 2.2 - Технические характеристики
поршневых насосов
|
Параметры
|
11
ГрИ
|
НБ-32
|
НБ-125
(9МГр)
|
|
Подача
л/мин
|
225;
300
|
294;
384; 486; 594
|
220;
1000
|
|
Давление,
МПа
|
6,3;
5,0
|
6,3;
5,0
|
16,0;
3.5
|
|
Диаметр
сменных втулок, мм
|
80;
90
|
80;
90;100;110
|
80;
90; 100; 115; 127
|
|
Длина
хода поршня, мм
|
150
|
160
|
250
|
|
Число
двойных ходов поршня в мин
|
100
|
105
|
50;
90
|
|
Диаметр
штока, поршня, мм
|
32
|
40
|
45
|
|
Мощность
электродвигателя, кВт
|
37
|
30
|
100
|
|
Габариты,
мм
|
1980
х 990 х1270
|
1860х
740 х 1455
|
2630
х 1040 х 1630
|
|
Масса,
кг
|
1150
|
1040
|
2750
|
Сохранение при работе высокого коэффициента
полезного действия или полное использование установленной мощности
рассматриваемых гидравлических машин является одной из важнейших задач
обслуживающего персонала. Она может быть выполнена только при хорошем знании
теории и правил эксплуатации насосов.
Буровые поршневые насосы применяются для
промывки при бурении структурно-поисковых, нефтяных и газовых скважин. Буровые
насосы подают промывочный раствор через колонну бурильных труб к забою скважины
для выноса разрушенной долотом породы. В случае турбинного бурения, кроме
очистки забоя, движущийся промывочный раствор передает энергию турбобуру,
вращая долото. Наиболее широко в бурении применяются двухцилиндровые поршневые
насосы двойного действия. Однако все возрастающее использование находят
трехцилиндровые поршневые насосы. Буровые поршневые насосы по сравнению с
поршневыми насосами, работающими на определенных режимах и перекачивающими
ньютоновские жидкости с конкретными физико-механическими свойствами (вода,
масло и т. п.), находятся в более тяжелых условиях. С увеличением глубины
скважины давление в напорном трубопроводе насоса увеличивается. Буровым насосом
приходится перекачивать вязко-пластичные жидкости - глинистые растворы с
плотностью от 1 до 2,2 г/см3, текучие и нетекучие и с различной степенью
газонасыщенности. Знание степени влияния перечисленных факторов на
гидравлические показатели буровых поршневых насосов важно как с научной, так и
с практической точек зрения. В настоящее время в числе важнейших
научно-технических тем в области нефтяной промышленности предусматривается
разработка вопросов технологии проводки скважин на глубину 7 - 10 тыс. м. Известно,
что с увеличением глубины бурящейся скважины растет давление на выкиде насоса.
В связи с этим создаются буровые поршневые насосы, способные развивать высокие
давления.
1.5 Принцип действия буровых
поршневых насосов
Принцип работы поршневого насоса заключается в
следующем. При движении поршня вправо в рабочей камере насоса создаётся
разрежение, нижний клапан открыт, а верхний клапан закрыт, - происходит
всасывание жидкости. При движении в обратном направлении в рабочей камере
создаётся избыточное давление, и уже открыт верхний клапан, а нижний закрыт, -
происходит нагнетание жидкости.
На рисунке 1.1 показана схема насосоной
установки с одноцелиндровымпорщневым насосом одинарного действия. Шток насосв
12 получает возврвтно-поступательное движение от кривошипно-шатунного
механизма, вал 16 которого вращается с постоянной угловой скоростью ω.При
вращений вала 16 вращается кривошип 15, который приводит в движение шатун 14,
передающий возвратно-поступательное движение ползуну 13. Один конец штока при
помощи резьбового соединения крепится к ползуну, на второй конец штока
насаживается поршень, который перемещается в цилиндре 1. Когда кривошип
находится в крайнем правом положений, поршень в целиндре занимает положение
1-1, а когда кривошип находится крайнем левом положении, поршень занимает
положение 2-2.При переходе кривошипа из крайнего правого в крайнее левое
положение поршень совершает путь S=2r, где S-ход поршня; r-радиус кривошипа.
При работе поршневого насоса рабочая полость цилиндра должна быть изолирована
от атмосферного воздуха, который не должен попадать в цилиндр и клапанную
коробку. Тогда приперемещений поршня слева направо рабочей полости цилиндра
создается разрежение. Давление под поршнем становится меньше атмосферного.
Возникает перпаддавления ∆p=pa-pвс, где pа -давление на поверхности
жидкости в приемном баке; pвс -давление под поршнем в процессе всасывания.
Рис. 1.1 - Принципиальная схема насосной
установки
Ввиду того что перекачиваемой жидкостью является
акпельная жидкость, давление в цилиндре уже в начале хода резко увеличивается,
вследствие чего закрывается всасывающий клапан 7 и от крывается нагнетательный
клапан 9.Жидкость поступает в напорный трубопровод 10 и течет к потребителю. На
рисунке цифрой 8 обозначен вакуумметр, а цифрой 11-манометр.Давление ∆p
затрачивается на подъем жидкости на геометрическую высоту всасывания hв, на
преодоление гидравлических сопративлений в приемной сетке 5, в подводящем
трубопроводе 3 и в клапанах 4-7, на преодоление инерции и на подъем тарелки
всасывающего клапана 7, на создание скоростного напора. Приемная сетка 5
устраняет возможность попадания в подводящий трубопровод твердых тел. Обратный
клапан 4 устанавливается для того, чтобы во время остановки насоса перекачиваемая
жидкость не вытекала из подводящего трубопровода в приемный бак 6. При
перемещении поршня из положения 2-2 в положение 1-1 осуществляется процесс
всасывания, при этом всасывающий клапан 7 открыт, а нагнетательный клапа 9
закрыт. За время всасывания рабочая полость цилиндра заполняется перекачиваемой
жидкостью.При повороте кривошипа из крайнего правого положения в крайнее левое
поршень перемещается справо на лево, т.е из положения 1-1 в положение 2-2,
происходит процесс нагнетания.Во избежания возмущения уровня жидкости в
приемном баке и захвата воздуха обычно рекомендуется приемную сетку 5
распологать под уровнем на расстоянии h≥0,5 м. Приемную сетку 5
распологают на некотором расстоянии от дна приемного бака, чтобы в подводящий
трубопровод вместе с жидкостью не попадала осаждаемая твердая фаза. Объем
рабочей полости цилиндра W=FS, где S- ход поршня; F- площадь поршня.
1.6 Требования, функции и назначение
бурового насоса
Буровые насосы предназначены для нагнетания в
скважину промывочной жидкости с целью очистки забоя и ствола от выбуренной
породы (шлама) и выноса ее на дневную поверхность; охлаждение и смазка долота;
создание гидроманиторного эффекта при бурении струйными долотами; приведения в
действие забойных гидравлических двигателей
Для того чтобы спроектировать насосный комплекс,
необходимо рассмотреть его функции в процессе проводки скважины, устройство уже
существующих комплексов и опыт их эксплуатации.
Исходя из значений и условий эксплуатации, к
буровым насосам предъявляют следущие основные требования:
нагнетание бурового раствора в бурильную колонну
для циркуляции в скважине в процессе бурения, промывки и ликвидации аварий в
количестве, обеспечивающем эффективную очистку забоя и долота от выбуренной
породы, и получение скорости подъема раствора в затрубном пространстве,
достаточной для выноса этой породы на поверхность;
подвод к долоту гидравлической мощности,
обеспечивающей высокую скорость истечения (до 180 м/с) раствора из его насадок
для частичного разрушения породы и очистки забоя от выбуренных ее частиц;
подвод энергии к гидравлическому забойному
двигателю;
очистка бурового раствора от выбуренной породы и
газов, поддержание и регулирование заданных его параметров;
приготовление нового бурового раствора;
хранение запасного бурового раствора в количестве
нескольких объемов скважины и поддержание его свойств при остановках
циркуляции.
В процессе бурения в большинстве случаев раствор
циркулирует по замкнутому контуру.
Из резервуаров очищения и подготовления раствор
поступает в подпорные насосы, которые затем подают его в буровые насосы. Затем
буровые насосы подают раствор под высоким давлением (до 40 МПа) по
нагнетательной линии, через стояк, гибкий рукав и вертлюг в бурильную колонну.
Часть давления насосов при этом расходуется на преодоление сопротивления в
наземной системе. Далее буровой раствор проходит по бурильной колонне (ведущая
к бурильным трубам, УБТ и забойному двигателю) к долоту. На этом пути давление
раствора снижается вследствие затрат энергии на преодоление гидравлических
сопротивлений. Затем буровой раствор вследствие разности давления внутри
бурильных труб и на забое скважины с большой скоростью выходит из насадок
долота, очищая забой и долото от выбуренной породы. Оставшаяся часть энергии
раствора затрачивается на подъем выбуренной породы и преодоление сопротивлений
в затрубном кольцевом пространстве.
Буровые насосы предназначены для нагнетания в
скважину промывочной жидкости с целью очистки забоя и ствола от выбуренной
породы и выноса ее на дневную поверхность, охлаждения и смазки долота, создания
гидромониторного эффекта при бурении струйными долотами, приведения в действие
забойных гидравлических двигателей.
Поднятый на поверхность отработанный раствор
проходит по растворопроводу в блок очистки, где из него удаляются частицы
выбуренной породы, песок, ил, газ и др., поступает в устройства для
восстановления его качеств и направляется в подпорные насосы.
1.7 Устройство и конструктивное
исполнение бурового насоса НБ-32
Буровой насос НБ-32 - горизонтальный,
двухцилиндровый, двустороннего действия, приводной со встроенным зубчатым
редуктором.Насос НБ-32 - предназначен для нагнетания промывочной жидкости
(воды, глинистого раствора) в скважину при геологоразведочном и
структурно-поисковом бурении на нефть и газ. Насосы также нашли широкое применение
на предприятиях пищевой, химической и строительной промышленности для перекачки
различных неагрессивных жидкостей. Наличие пневматического компенсатора в
нагнетательной системе насоса практически полностью устраняет неравномерность
подачи жидкости на выходе насоса. Буровые насосы завоевали большую популярность
у потребителей благодаря высокой надежности, простоте обслуживания и
ремонтопригодности.
1.7.1 Устройство бурового насоса
НБ-32
Буровой насос НБ-32 (Рисунок 1.2) состоит из
приводного состоит из трансмиссионного вала, коренного вала и шатунного
механизмакоторыеустановлены на станине.
Станина представляет собой массивный
металлический корпус в расточках которого монтируются подшипники
трансмиссионного и коренного валов.
Торец горловины снабжается отверстиями для штока
и крепления гидравлического блока. В крышке станины имеется вентиляционный
колпак для вытяжки масляных паров.
Трансмиссионный вал служит для передачи
крутящего момента коренному валу насоса. Он выполнен в виде вводного вала шестерни,
концы которого используются для установки клиноременного шкива или цепного
колеса (в зависимости от принятой в приводе насоса передачи).
Рис. 1.2 - Общий вид насоса НБ-32: 1 - рама; 2 -
крышка станины; 3 - крышка; 4 - блок привода; 5 - блок гидравлический; 6 -
компенсатор
Таблица 1.3 - Технические характеристики насоса
НБ-32
|
Технические
характеристики насоса НБ-32
|
|
Насоса
|
Мощность,
кВт
|
Диаметр
сменных втулок, мм
|
Объемная
подача, дм3/сек (м3/час)
|
Наибольшее
давление, МПа
|
Число
двойных ходов поршня в мин.
|
|
НБ-32
|
32
|
80
|
4,4
(15,8)
|
4,0
|
105
|
|
|
90
|
5,8
(20,9)
|
4,0
|
|
|
|
100
|
7,3
(26,3)
|
3,2
|
|
|
|
110
|
9,0
(32,4)
|
2,6
|
|
|
Исполнение
01 (02)-со шкивом с правой (левой) стороны
|
Исполнение
03(04)- с пневмомуфтой и шкивом с правой (левой) стороны
|
Исполнение
05(06)- с фрикционной муфтой и шкивом с правой (левой) стороны
|
|
Исполнение
07 (08)-со шкивом с правой (левой) стороны и боковым расположением манометра
|
Исполнение
09 (10) с пневмомуфтой и шкивом с правой (левой) стороны и боковым
расположением манометра
|
Исполнение
11(12)-с фрикционной муфтой и шкивом с правой (левой) стороны и боковым
расположением манометра
|
Рис. 1.3 - Конструктивное исполнение бурового
насоса НБ-32
Таблица 1.4 - Исполнение бурового насоса НБ-32
|
Обозначение
насоса
|
Исполнение
|
Габариты,
мм
|
Масса,
кг
|
|
1
|
2
|
3
|
4
|
|
Насос
НБ-32.01
|
шкив
с правой стороны
|
1860х740х1330
|
1040
|
|
Насос
НБ-32.02
|
шкив
с левой стороны
|
1860х740х1330
|
1040
|
|
Насос
НБ-32.03
|
с
пневмомуфтой и шкивом с правой стороны
|
1860х1000х1330
|
1080
|
|
Насос
НБ-32.04
|
с
пневмомуфтой и шкивом с левой стороны
|
1860х1000х1330
|
1080
|
|
Насос
НБ-32.05
|
с
фрикционной муфтой и шкивом с правой стороны
|
1860х1000х1330
|
1080
|
|
Насос
НБ-32.06
|
с
фрикционной муфтой и шкивом с левой стороны
|
1860х1000х1330
|
1080
|
|
Насос
НБ-32.07
|
шкив
с правой стороны, боковое расположение манометра
|
1860х740х1250
|
1040
|
|
Насос
НБ-32.08
|
шкив
с левой стороны, боковое расположение манометра
|
1860х740х1250
|
1040
|
|
Насос
НБ-32.09
|
с
пневмомуфтой и шкивом с правой стороны, боковое расположение манометра
|
1860х1000х1250
|
1080
|
|
Насос
НБ-32.10
|
с
пневмомуфтой и шкивом с левой стороны, боковое расположение манометра
|
1860х1000х1250
|
1080
|
|
Насос
НБ-32.11
|
1860х100х1250
|
1180
|
|
Насос
НБ-32.12
|
с
фрикционной муфтой и шкивом с левой стороны, боковое расположение манометра
|
1860х100х1250
|
1180
|
Для облегчения сборки-разборки, шкивы имеют
разрезную ступицу, затягивающуюся болтами, т.к. возможны перекосы в результате
прогиба под действием нагрузки на консоли; а также, в следствии технологических
неточностей, трансмиссионный вал устанавливают на сферических двухрядных
роликоподшипниках, воспринимающих радиальные и осевые нагрузки от косозубой
передачи.
Станина представляет собой массивный
металлический корпус в расточках которого монтируются подшипники
трансмиссионного и коренного валов. Для
Горловина станины имеет боковые люки для монтажа
и осмотра ползунов. Торец горловины снабжается отверстиями для штока и
крепления гидравлического блока. В крышке станины имеется вентиляционный колпак
для вытяжки масляных паров.
Трансмиссионный вал служит для передачи
крутящего момента коренному валу насоса. Он выполнен в виде вводного вала
шестерни, концы которого используются для установки клиноременного шкива или
цепного колеса (в зависимости от принятой в приводе насоса передачи).
Для облегчения сборки-разборки, шкивы имеют
разрезную ступицу, затягивающуюся болтами, т.к. возможны перекосы в результате
прогиба под действием нагрузки на консоли; а также, в следствии технологических
неточностей, трансмиссионный вал устанавливают на сферических двухрядных
роликоподшипниках, воспринимающих радиальные и осевые нагрузки от косозубой
передачи.
Для предупреждения смятия и разбивания опорных
поверхностей станины, а также для устранения брака дорогостоящей станины из-за
расслабления отверстий при растачивании, подшипники устанавливают на стальные
гильзы, наружный диаметр которых больше диаметра шестерни.
Благодаря этому, при сборке насоса вал свободно
протаскивается через отверстие станины. Соосность наружной и внутренней
поверхности гильз обеспечивается жёсткими допусками наихразностенность.
Эксцентриковый коренной вал имеет сборную конструкцию.
1.7.2 Блок гидравлический НБ-32
Назначение и состав гидравлического блока
бурового насоса НБ-32
Блок гидравлический (Рисунок 1.4) предназначен
для создания давления жидкости перемещающимися поршнями и нагнетания ее в
скважину
Рис. 1.4 - Блок гидравлический: 1-гаика; 2-
крышка клапана; 3- прокладка; 4- пружина; 5- клапан торельчатый; 6- седло; 7-
болт; 8- крышка; 9- кольцо; 10- втулка целиндровая; 11- уплотнение втулки; 12-
кольцо распорное; 13- шпилька; 14- блок целиндров; 15,16,17-шпилька; 18-гаика;
19-поршень; 20-шток поршня; 21-прокладка; 22-корпус сальника; 23- гаика.
Компенсатор сферический
На блоке гидравлическом с помощью тройника 1
(Рисунок 1.6) установлен компенсатор сферический с клапаном предохранительным
11 и трехходовой кран 12.
Компенсатор сферический предназначен для
снижения степени неравномерности давления жидкости на выходе из насоса,
вызванной неравномерностью подачи промывочной жидкости.
Таблица 1.5 - Технические характеристики
компенсатора
|
Объем
газовой камеры компенсатора
|
10
|
|
Максимальное
предварительное давление газа в компенсаторе, Мпа(кгс/см2)
|
2,4
(24)
|
|
Максимальное
рабочее давление газа в компенсаторе, Мпа(кгс/см2)
|
4,0
(40)
|
Рис. 1.5 - Компенсатор сферический: 1-троиник;
2- прокладка; 3- сердечник; 4- стабилизатор; 5- монометр; 6- ограждение; 7-
переходник в сборе; 8- крышка компенсатора; 9- корпус компенсатора; 10-
диафрагма; 11- клапан предохранительный; 12-кран трехходовой
1.7.3 Приводная часть бурового
насоса НБ-32
Блок привода бурового насоса НБ-32 (Рисунок 1.7)
предназначен для понижения скорости и преобразования вращательного движения в
возвратно-поступательное.
Основой для блока привода насоса является
чугунная станина, которая имеет направляющие параллели для крейцкопфов,
расточки отверстий для подшибников эксцентрикового и трансмиссионого валов,
картер для масленной ванны. Сверху станина закрыта крышкой, в которой имеется
отверстие под мослоуказатель. Смазка кинематических пар блока привода
осуществляется маслом, заливанием в картер станины. Уровень масла картера
контролируется с помощью маслоуказателя 1.
Рис. 1.6 - Блок привода: 1 - маслоуказатель; 2 -
шатун; 3 - станина; 4 -накладка; 5- шплинт; 6- кольцо; 7- корпус сальника; 8-
фланец; 9- болт; 10 -шток ползуна; 11- диск отражатель.
Вал эксцентриковый с шатунами
Эксцентрики отливаются из углеродистой стали и
соединяются сваркой. Число эксцентриков равно числу поршней бурового насоса.
Угловое смещение шатунных шеек коренного вала определяется требованием
равномерной подачи, согласно этому, в двух поршневых насосах двустороннего
действия угловое смещение эксцентриков равно 90 градусов Между эксцентриками
располагается зубчатое колесо.
Рис. 1.7 - Вал эксцентриковый с шатунами НБ-32
Таблица 1.6 - Обозначения вала эксцентрикового
|
№
позиции на рисунке
|
Обозначение
детали или узла
|
Наименование
|
Количество
|
|
|
|
НБ32
|
|
1
|
11Г-1-79
|
Планка
стопорная
|
4
|
|
2
|
|
Болт
3М10 ГОСТ 7808-70
|
8
|
|
3
|
|
Болт
2М12 ГОСТ 7808-70
|
6
|
|
4
|
НБ40.04.120
|
Шатун
с втулкой
|
2
|
|
5
|
11ГрИ.01.002
|
Полукольцо
|
2
|
|
6
|
11ГрИ.01.001
|
Полукольцо
|
2
|
|
7
|
НБ32.01.009А
|
Фланец
|
4
|
|
8
|
|
Гайка
М12 ГОСТ 5932-73
|
6
|
|
9
|
|
Шплинт
3,2×25
ГОСТ397-79
|
6
|
|
10
|
|
Подшипник
2226 ГОСТ 8328-75
|
2
|
|
11
|
НБ32.01.007
|
Вал
эксцентриковый с шестерней
|
1
|
Составная конструкция коренного вала удобна в
техническом отношении, т.к. позволяет упростить форму заготовок и облегчить их
механическую обработку. Окончательная обработка наружных поверхностей коренного
вала и нарезка зубьев производится после посадки эксцентриков на прямой вал и
соединение венца зубчатого колеса с его ободом. Шатун передаёт движение
коренного вала к ползуну (крейцкопфу), и представляет собой кованый или литой
стержень из углеродистой стали марки 35 с противоположно расположенными большой
и малой шейками.
Большая шейка шатуна, называемая мотылёвой,
охватывает коренной вал и имеет цельную либо разъёмную конструкцию. Независимо
от конструкции, коренной вал соединяется с шатуном посредством конических
роликоподшипников. У эксцентриковых валов мотылёвая шейка шатуна имеет
значительно больший диаметр, чем у кривошипных и пальцевых валов, благодаря
этому в эксцентриковых валах мотылёвые подшипники имеют больший диаметр и
обладают большей долговечностью.
Малая шейка, называемая ползунной, служит для
шарнирного соединения шатуна с ползуном, скользящим в прямолинейных
направляющих. Центр шарнира движется аксиально, т.е. по прямой, проходящей
через ось вращения коренного вала. Малая шейка шатуна соединяется с корпусом
ползуна при помощи полого валика. При ремонтных работах через отверстия валика
соседнего пропускается ломик для выпрессовки валика соседнего ползуна. Кроме
того, пустотелая конструкция способствует более интенсивному охлаждению валика
и подшипника шатуна, нагреваемых из-за трения. В расточку ползунной шейки
запрессована втулка из оловянной бронзы или другого пластинчатого материала
обычно используемого для подшипников скольжения. Запрессовка не гарантирует
втулку от проворачивания и осевого смещения, и поэтому она стопорится дюбелем.
Диаметральный зазор между валиком и втулкой
определяется в зависимости от диаметра валика и выбранной посадки. Валик
снабжён центрирующим конусом, который входит в конусное отверстие ползуна. С
помощью стопорной планки, входящей в поперечный паз торца валика и болтов,
ввинченных вползун, валик запрессовывается в конкусное отверстие и благодаря
этому удерживается от продольного смещения и поворота относительно ползуна.
Ползун состоит из литого корпуса и чугунных накладок, которые крепятся к
цилиндрической поверхности болтами, застопоренными от самоотвинчивания упругими
шайбами. В боковых стенках корпуса располагается ступица валика. В днище
корпуса - резьбовые отверстия для ползунной части штока, представляющее собой
стальной стержень с наружной резьбой для крепления с корпусом ползуна и
внутренней резьбой для соединения с поршневой частью штока. Стопорение штока в
ползуне осуществляется штифтом и гайкой.
1.8 Подготовка к эксплуатации насоса
НБ-32
Перед пуском насоса, установленного в насосной
установке, необходимо:
) электрическая аппаратура управления и
регулирования, проверить соответствие подаваемых и требуемых напряжений и сил
тока;
) проверка направлений вращения ведущего и
ведомого валов;
) соблюдать указание стрелки направления
вращения;
) перед пуском необходимо убедиться в том, что
все клапаны системы, особенно на всасывающей и подводящей магистралях, открыты
для потока
) несколько раз коротко включить и выключить
двигатель, чтобы облегчить выход воздуха, только после безукоризненнойи плавной
работы насоса на малой нагрузке можно давать полную нагрузку;
) проверить наличие масла в корпусе разделителя
манометра нагнетательного коллектора. Для этого нужно отвернуть накидную гайку
разделителя, снять штуцер и при недостаточном количестве масла или его
отсутствии заполнить разделитель маслом.
) осмотреть крепления и подтянуть ослабевшие
гайки;
) осмотреть движущиеся части насоса и убрать все
посторонние предметы;
) убедиться в том, что все гайки на движущихся
деталях (шатунах, крейцкопфах, штоках и т. д.) предохранены от
самоотвинчивания, зашплинтованы и закреплены;
) проверить исправность маслопровода
пластинчатого насоса. Для этого необходимо отвернуть поочередно присоединения
маслопроводов и убедиться, что масло поступает свободно по всем трубопроводам;
) проверить наличие предохранительного гвоздя в
предохранительном клапане и его соответствие диаметру установленной цилиндровой
втулке в насосе.
1.9 Стандартное техническое
обслуживание
Для нормальной работы насосного оборудования
настоятельно рекомендуются проводить его регулярное техническое обслуживание.
Техническое обслуживание по периодичности,
выполняемым операциям и трудоемкости подразделяются на следующие виды:
) ежедневное техническое обслуживание (ЕО);
) периодическое техническое обслуживание (ПО);
) текущий ремонт (ТР);
) сезонное техническое обслуживание (СО);
) капитальный ремонт (КР).
1.9.1 Ежедневное техническое
обслуживание
Ежедневное техническое обслуживание насоса
выполняется после окончания работы и перед перегоном насосной установки к месту
исполнения работы. Периодическое техническое обслуживание выполняется через 50
часов работы насосов. Текущий ремонт рекомендуется производить через 500 часов
работы. Сезонное техническое обслуживание насоса выполняется два раза в год при
подготовке насосной установки к осенне-зимним и весенне-летним условиям
эксплуатации и осуществляется соответственно осенью и весной при очередном
техническом обслуживании. Капитальный ремонт насоса в зависимости от условий
эксплуатации насосной установки рекомендуется производить через 2500 часов
работы.
При ежедневном техническом обслуживании (ЕО)
необходимо выполнять следующее:
) проверить состояние ограждения гидравлической
части насоса и предохранительного клапана;
) проверить состояние манометра в нагнетательном
коллекторе насоса;
) проверить состояние смазочной системы насоса.
1.9.2 Периодическое техническое
обслуживание
При периодическом обслуживании (ПО) необходимо
выполнить следующее:
) произвести замену масла в разделителе
манометра нагнетательного коллектора насоса;
) поверить состояние поршней, втулок, клапанов,
уплотнений штока, штоков и других быстроизнашивающихся деталей. При
необходимости заменить вышедшие из строя детали и уплотнения;
) через 50 часов работы после пуска нового
насоса в эксплуатацию масло из картера слить, промыть масляную ванну дизельным
топливом и направить чистым маслом. При последующей эксплуатации проверять
состояние масла в картере насоса и заменять при загрязнении масла или появлении
в нем металлических частиц
1.9.3 Текущий ремонт
При текущем ремонте (ТР):
) произвести частичную разборку гидравлической
части поршневого насоса, проверить состояние деталей и при необходимости произвести
замену или ремонт;
проверить и отрегулировать зазоры и подшипниках
приводной части
проверить состояние предохранительного клапана,
при необходимости заменить;
проверить и при необходимости заменить манометр
в вращательном коллекторе;
проверить и при необходимости заменить масляный
пластинчатый маслопроводы в насосе;
проверить состояние предохранительного клапана,
при необходимости заменить;
проверить герметичность всасывающей и
нагнетательной линий при необходимости заменить запорную арматуру;
произвести замену масла в картере насоса и в
разделителе -вращательного коллектора;
произвести гидравлические испытания насоса и
нагнетательной сборе на давление 45 МПа. Всасывающую линию насоса испытать
давление 1,5 МПа.
1.9.4 Сезонное техническое
обслуживание
Сезонное техническое (СО) обслуживание насоса
НБ-32 выполняется два раза в год при подготовке насоса к осенне-зимнему и
весенне-летнему условиям эксплуатации и осуществляется соответственно осенью и
весной при очередном техническом обслуживаний.
При сезонном техническом обслуживании следует
заменить масло в карцере насоса согласно таблице 1.8
Таблица 1.7 - Способ нанесения смазочного
материала при сезонном ТО
|
Наименование
узла изделия
|
Наименование
смазочного материала для эксплуатации
|
Способ
нанесения смазочного материала и периодичность проверки и замены смазки
|
|
|
При
температуре до -400С
|
При
температуре до + 500С
|
|
|
1
|
2
|
3
|
4
|
|
Масляная
ванна приводной части, направляющие крейцкопфов, пальцы крейцкопфов, опорные
подшипники трансмиссионного и эксцентрикового валов, подшипники шатунов
|
Масло
И - 30А ГОСТ 20799 - 88 смешанное с 10% керосина
|
Смесь
50% масла И - 50А ГОСТ 20799 - 88 и 50% масла ТС ТУ 38.101.1332 - 90
|
В
масляную ванну заливать 2-3 л масла. Смазка осуществляется маслом,
разбрызгиваемым при вращении зубчатой передачи. Не реже одного раза в 2
месяца производить замену масла.
|
|
|
Внутренняя
поверхность цилиндровой втулки
|
|
|
Смазывать
кистью перед сборкой
|
|
|
Шток
поршня и шток ползуна
|
|
|
Смазывать
кистью перед каждым пуском насоса
|
|
|
Подшипники
трансмиссионного вала в шинно-пневматической муфте, подшипники в вертлюжке
|
ЦИАТИМ
- 201 ГОСТ 6267 - 74 или солидол Ж ГОСТ 1033 - 79
|
|
Закладывать
деревянной лопаткой. Не реже одного раза в 2 месяца сияв крышки валов
|
|
|
Подшипники
трансмиссионного вала в шинно- пневматической муфте, подшипники в вертлюже
|
|
|
Шприцем
через масленку один раз в неделю
|
|
|
Подшипники
шкива во фрикционной муфте
|
|
|
Шприцем
через масленку один раз в неделю
|
|
|
Подшипник
конуса во фрикционной муфте
|
|
|
Закладывать
деревянной лопаткой один раз в неделю сняв крышку
|
|
|
|
|
|
|
|
|
|
1.9.5 Возможные неисправности
бурового насоса НБ-32
Перечень наиболее часто встречающихся или
возможных неисправностей:
Таблица 1.8 - Возможных неисправностей насоса
НБ-32
|
Неисправность
|
Диагностика
причин неисправностей
|
Способ
устранения
|
|
1
|
2
|
3
|
|
Насос
при пуске не жидкость
|
Закрыта
задвижка на приемной линии Значительные подсосы воздух через неплотности на
всасывающей линии Слишком велика высота всасывания
|
Открыть
задвижку Проверить герметичность соединений подсосы устранить Уменьшить
высоту всасывания
|
|
Количество
подаваемой жидкости не соответствуют объемной подаче насоса при данном числе
ходов
|
Подсосы
воздуха. Клапаны насоса неисправны и пропускают жидкость, засорение на
всасывающей линии Пропускает жидкость изношенные поршни
|
Проверить,
герметичность соединений, подсосы и утечки устранить. Очистить клапаны,
проверить плотность прилегания уплотнений и рабочие поверхности седла,
негодные детали заменить Заменить поршни
|
|
Слышны
нехарактерные для работы насоса шум и стук в гидравлической части насоса: -
стук при перемене хода поршней; - резкий стук при посадке клапанов; - удары в
цилиндрах; - шипящий звук вблока цилиндров, - понижение давления и подачи
насоса
|
Ослабла
посадка поршней на штока Ослабло крепление цилиндровых втулок Ослабли или
сломались пружины клапанов.
|
Осмотреть
крепление поршней, подтянуть гайки Подтянуть гайки цилиндровых крышек,
сменить уплотнения втулок Осмотреть и заменить при необходимости клапаны,
сменить негодные пружины
|
1.10 Структура технологического
процесса капитального ремонта
Технологический процесс капитального ремонта
представляет собой комплекс технологических и вспомогательных операций по
восстановлению работоспособности оборудования, выполняемых в определённой
последовательности, и включает в себя приемку оборудования в ремонт,
моечно-очистные операций, разборку оборудования на агрегаты, сборочные единицы
и детали, контроль, сортировку деталей и ремонт деталей, их комплектацию,
сборку сборочных единиц, агрегатов и оборудования в целом, обкатку и испытания
оборудования после сборки, окраску и сдачу оборудования из ремонта.
На ремонтных предприятиях нефтяной и газовой
промышленности в зависимости от количества однотипного оборудования условия
ремонта применяют два основных метода ремонта: индивидуальный и агрегатный
(узловой). В зависимости от применяемого метода изменяются содержание и
последовательность операций технологического процесса ремонта. При
индивидуальном методе ремонта детали, сборочные единицы и агрегаты оборудования
маркируют и после ремонта устанавливают на том же оборудований. Следовательно
сборку оборудования начинают только тогда, когда отремонтированы все детали,
что значительно удлиняет общее время ремонта.
На рисунке 1.9 показана схема технологического
капитального ремонта индивидуальным методом.
При индивидуальном методе ремонта
отремонтированная базовая деталь обычно простаивает, пока ремонтируются все
агрегаты, т.е. имеется неравенство:
б<∑tak0 (1.1)
где t6-продолжительность ремонта базовой детали,
сут.; ta- продолжительность ремонта агрегата (от разборки до сдачи из ремонта),
сут; k0-число одноименных агрегатов в одной машине, шт.
Длительные простои базовой детали приводят к
значительному увеличению сроков ремонта машины.
Время простоя базовой детали определяется из
следующей зависимости:
п = ∑ tаk0 - tб>0 (1.2)
Индивидуальный метод ремонта применяется в тех
случаях, когда на ремонтное предприятие поступает мало однотипного
оборудования. При индивидуальном методе ремонта машину или механизм ремонтирует
одна комплексная бригада, состоящих из рабочих высокой квалификаций.
Индивидуальный метод ремонта имеет следующие недостатки:
Отсутствует специализация ремонтных работ и
ограничена возможность внедрения механизаций, что значительно снижает
производительность труда;
Оборудование длительно находится в ремонте, так
как готовые детали простаивают, пока все детали не будут отремонтированы;
требуется высокая квалификация рабочих. Особенность индивидуального метода
ремонта заключается в том, что сборочные единицы и детали машины в процессе
ремонта не обезличиваются и заказчик получает ту же машину, которою сдал в
ремонт.
При агрегатном ремонте все детали, сборочные
единицы и агрегаты машины обезличиваются, за исключением базовой детали.
Наличие склада оборотных агрегатов, постоянно пополняемого отремонтированными
обезличенными агрегатами поступающего в ремонт оборудования, позволяет начинать
сборку машин немедленно после ремонта базовой детали. При агрегатном методе
ремонта должно соблюдаться следующие неравенства:
б ≥tаk0 (1.3)
Следовательно tn= 0.
Естественно, что длительность ремонта в этом
случае сокращается.
Агрегатный метод ремонта обычно применяют в
центральных ремонтно-механических мастерских объедений и на специализированных
ремонтных заводах, т.е. когда на ремонт поступает значительное количество
однотипного оборудования.
Организация капитального ремонта бурового и
нефтегазопромыслового оборудования агрегатным методом должна быть такой, чтобы
заказчик получал отремонтированную машину в кратчайший срок.
Основными преимуществами агрегатного метода
ремонта являются:
специализация рабочих по отдельным видами работ,
что повышает
производительность труда;
более совершенная технология ремонта с
использованием специального технологического оборудования и оснастки;
а) широкое внедрение механизаций работ;
б) улучшение качества и снижение стоимости
ремонтных работ;
в)сокращение продолжительность ремонта.
Недостаток агрегатного метода ремонта -
необходимость в оборотном фонде агрегатов.
Разновидностью агрегатного метода ремонта
является так называемый узловой метод, который часто применяется при ремонте
бурового и нефтегазопромыслового оборудования непосредственного оборудования
непосредственно на месте эксплуатаций.
Рис. 1.8 - Схема технологического процесса
капитального ремонта оборудования индивидуального методом
В этом случае изношенная сборочная единица
заменяется отремонтированной на базе производственного обслуживания или на
ремонтных заводах. По такому методу обычно ремонтируют тяжелое оборудование,
транспортировка такого затруднена.
Непременным условием осуществление агрегатного
метода ремонта является снабжение ремонтного предприятия оборотным
фондомагрегатов, что обеспечивает возможность немедленной сборки ремонтируемых
машин после ремонта базовой детали.
Потребность ремонтного предприятия в оборотном
фонде агрегатов определяется из следующей зависимости:
Аптор=
(1.5)
Где А потр - необходимое количество
оборотных агрегатов, шт.;tа - продолжительность ремонта агрегата от разборки до
сдачи заказчику, сут; tб - продолжительность ремонта базовой детали, сут;k0 -
число
одноименных агрегатов в одной
машине, шт; nД - суточная программа
выпуска машин ремонтным
предприятием, шт.
Подсчитывать потребность в оборотном
фонде необходимо для каждого вида агрегатов.
Подготовительные работы для сдачи
оборудования в ремонт
Сдача оборудования в ремонт в
соответствий с графиком планово- предупредительного ремонта. В срок,
соответствующие плану-графику, обслуживающий персонал обязан подготовить
оборудование к сдачи в ремонт. К подготовленным работам относится слив масла,
топлива и жидкостей из рабочих полостей, а так же предварительная очистка,
осмотр и мойка оборудования. Неокрашенные поверхности должны быть покрыты
консервирующей смазкой.
В масляных ваннах некоторых машин
находится значительное количество масла. Чтобы сохранить его для повторного
использования после регенераций, а также избежать загрязнения рабочих площадок
масло надо сливать на специальной площадке, имеющие ёмкости для раздельного
сбора. Необходимость предварительной очистки оборудования перед отправкой в
ремонт вызывается условиями его эксплуатаций. Большинство нефтяных и
нефтегазопромысловых машин работает под открытым небом. Кроме того, эти машины
покрыты довольно толстым слоем песка, глинистого раствора и нефти.
Предварительная очистка выполняется металлическими щетками, ручными или
приводными скребками.
После предварительной очистки
проводится внешний осмотр оборудования с целью обнаружения трещин, пробоин,
изломов и других повреждений. При необходимости производят мойку оборудования.
Оборудования или другие агрегаты, отправляемые в ремонт, должны полностью
укомплектованы. Запрещается замена пригодных для дальнейшей эксплуатаций
деталей изношенными или снятыми с другого оборудования. К оборудованию,
направляемому в ремонт, должны быть приложены:
Заводской паспорт, содержащие данные
поэксплуатаций и ремонту с указанием вида ремонта, времени его выполнения и
краткого содержания, а также сведения о деталях и сборочных единицах,
заменяемых в процессе эксплуатаций и ремонта, и данные отработанном времени и
объеме выполняемых работ;
Акт о техническом состояний
оборудования, а в случаи аварийного выхода из строя дополнительно акт об
аварий.
По результатам приёмки оборудования
в ремонт составляется приемо-сдаточный акт.
Приемка в ремонт и хранение
ремонтного фонда
Приемку насоса в ремонт производить
в соответствии с Требованиями "Положения о ППР оборудования применяемого
на геологоразведочных работах", ГОСТ 19504-74 и настоящего руководства.
Насос принимается в ремонт только в
собранном виде, и должен быть укомплектован составляющими частями,
предусмотренными конструкторской документацией.
Допускается, по согласованию сторон,
приемка в ремонт насоса, неукомплектованного компенсатором сферическим, краном
трехходовым, клапаном приемным, рукавом с заделками, а также отдельными
крепежными деталями (но не более 10 % от общего их количества).
Заказчик перед отправкой насоса в
ремонт должен очистить его снаружи, слить масло из блока привода, очистить блок
гидравлический от промывочной жидкости.
Все отверстия, через которые могут
попасть влага и пыль во внутренние полости насоса, должны быть закрыты пробками
или заглушками.
Транспортирование насоса к
ремонтному предприятию допускается любым видом транспорта в соответствии с ОСТ
41-01-18-79.
Насос, поступивший в ремонт, должен
быть законсервирован в соответствии с ГОСТ 9.014-78.
Вариант защиты ВЗ-4. Срок зашиты без
переконсервации 1 год.
Допускается хранение насоса без
консервации при сроке хранения ремонтного фонда до трех месяцев.
Условия хранения насоса в части
воздействия климатических факторов по 0Ж2 ГОСТ 15150-69.
Моечно-очистные работы
Как видно из схемы технологического
процессов ремонта, представленных на рисунке 1.9 этап разборки, дефектоскопий и
ремонта деталей предшествуют многократные моечно-очистные операций. Мойка
поступающего оборудования производится на специально отведенном для этого
участке, изолированном от места разборки оборудования. В зависимости от объема
производство и номенклатуры ремонтируемого оборудования моечный участок может
состоять из одной универсальной или нескольких специализированных площадок.
Площадку снабженную наклонным полом,
обычно оборудуют устройствами, обеспечивающими перемещение машин в процессе
мойки, насосной установкой, системой трубопроводов, фильтрами и отстойниками.
В зависимости от объема производства
и номенклатуры ремонтируемого оборудования мойка выполняется в ручную напорной
струёй моющей жидкости, подаваемой насосом, специальных многоструйных моечных
установках и погружением в специальную моечную ванную.
При ремонте крупногабаритного
бурового и нефтегазопромыслового оборудования на базах производственного
обслуживания целесообразно проводить мойку напорной струей. Этот способ не требует
сооружения сложных и дорогих устройств и обеспечивает достаточно эффективную
очистку оборудования.
Для мойки можно использовать
водопровод или высоконапорные моечные установки.
На специализированных ремонтных
предприятиях с ограниченной номенклатурой ремонтируемого оборудования следует
применять многоструйную мойку как более производительную. Однокамерная
многоструйная установка представляет собой специальную камеру, в которую ввозят
на тележке или с помощью транспорта подвергаемое мойке оборудования (Рисунок
1.9). Число сопел и их расположение обеспечивают наилучшее омывание
оборудования жидкостью, а подводящие трубы имеют фасонную форму,
соответствующую контурам оборудования. Процесс мойки может быть
автоматизирован.
При значительном числе ремонтируемых
машин деталей следует использовать многокамерные моечные установки. В камерах
этих установок последовательно осуществляется очистка деталей различными
моющими и нейтрализующими жидкостями.
Транспортировка между камерами
осуществляется конвейером, моечная установка оборудования устройствами для
подогрева, перемешивания и очистки жидкости.
Наиболее простой процесс мойки
малогабаритного оборудования и мелких деталей - мойка погружением, при которой
детали погружают в ванну с моющей жидкостью и выдерживают некоторое время или
многократно погружают.
В качестве моющих жидкостей для
очистки оборудования и деталей от грязи и масла используют холодную или горячую
воду (70 - 90° С), холодные или горячие щелочные растворы и растворители
(бензин, керосин, ацетон). Для предохранения деталей от коррозий в щелочные
растворы добавляют 0,2-0,5% хромпика или нитрита натрия. Алюминиевые или
залитые баббита детали мыть в щелочных раствора нельзя. Для удаления с
поверхности деталей старых лакокрасочных покрытий используется специальные
составы, называемые смывками.
Для очистки поверхности деталей от
продуктов коррозий используют различные пасты, а также 25%-ный раствор соляной
кислоты, в который добавляют 1% цинка или 15% серной кислоты.
Для нейтрализаций действия щелочных
или кислотных растворов очищенное оборудование и детали необходимо промыть
горячей водой, а затем подогретым сжатым подогреты воздухом. Чтобы облегчить и
ускорить мойку и уменьшить расход моющих жидкостей, проводят предварительную
обдувку оборудования паром. Для небольших деталей сложной конфигураций
применяются электролитическая и ультразвуковая очистка. При двигателе
внутреннего сгорания необходимо очищать детали от нагара механическими или
физико-химическими способами при помощи специальных моющих средств. Совершенно
обязательна нейтрализация растворов, т.е. последующая тщательная промывка
детали горячем растворе
В процессе мойки оборудования
выделяются вредные испарения, поэтому моечные отделения изолируют от места
других работ, а помещение мойки и рабочие места оборудуются приточно-вытяжной
вентиляцией.
При работе с растворителями
необходимо строго соблюдать противопожарные требования. Для промывки мелких
деталей и сборочных единиц непосредственно у рабочих мест на базах
производственного обслуживания можно использовать передвижные моечные ванны. На
ремонтных предприятиях широко применяют также механические способы очистки или
очистку посредством обжига деталей в печах.
Разборка оборудования
Очищения оборудования поступает на
разборку. От качеств разборки и сохранения деталей от повреждения при этом
существенно зависят сроки, стоимость и качество ремонта.
Оборудование разбирают по схеме,
которая вначале последовательность разборки оборудования на агрегаты и
сборочные единицы, а затем разборку каждой разборочной единицы на детали. В
схеме разборке рекомендуются указывать длительность выполнения и разряд работы.
Рис. 1.9 - Однокамерная моечная
установка: 1 - подводящий патрубок; 2 - присоединительный штуцер; 3 - кожух; 4
- перфорированная труба; 5 - насадка; 6 - тележка
Порядок выполнения отдельных операций,
требования к сохранению комплектности деталей соответствующих сопряжений,
даются в виде пояснений и дополнительных указаний. Разборку выполняют на одном
рабочем месте силами одной бригады или на нескольких рабочих местах разборочной
линии.
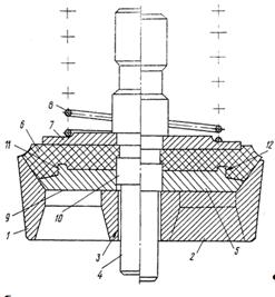
Рис. 1.10 - Гидравлический съемник поршней
буровых насосов: 1 - маховик; 2 - винт; 3-крышкацилиндра; 4 - поршень; 5 -
цилиндр; 6 - муфта; 7 - корпус; 8 -труба; 9 и 11 - стойки; 10 - рукоятка; 12 и
14 - уплотнения; 13 - поршень
Рис. 1.11 - Гидравлический съемник седел
клапанов буровых насосов: 1 - цилиндр; 2 - гидравлический цилиндр с ручным
приводом; 3 - гайка; 4 - поршень; 5 - седло; 6 - захват; 7 - тяга
На ремонтных предприятиях нефтяной и газовой
промышленности основным методом является первый; иногда при значительном объеме
ремонта разборкой занимаются две бригады: одна выполняет общую разборку
оборудования, а вторая разбирает агрегаты.
При разборке широко используют различное подъемно-транспортное
оборудования. Для сокращения продолжительности и снижения трудоемкости
разборочных процессов используют механизированный инструмент, например,
пневматические ключи и отвертки, электрические, пневматические и гидравлические
гайковерты и шпильковерты и др.
Технические требования на дефектацию и ремонта
насоса
Дефектацию производить в соответствии с
требованиями настоящего раздела.
В процессе дефектации детали и неразъемные
составные части насоса должны быть разделены на следующие, группы:
)детали и неразъемные составные части пригодные
для дальнейшей эксплуатации без ремонта;
)детали и неразъемные составные части, имеющие
исправимые дефекты и подлежащие ремонту (восстановлению); детали и неразъемные
составные части, имеющие хотя бы один неисправимый дефект.
Стержни болтов, винтов и шпилек не должны иметь
изгиба и заметной выработки. На головках болтов и гайках не должно быть смятых
или срубленных граней. Износ граней не должен превышать 0,3 мм от размера
"под ключ". Отверстия для шплинтов не должны быть забиты и заметно
увеличены.
При этом для резьбовых отверстий диаметром до 10
мм необходимо принимать D= 2d. Минимальное расстояние от наружного диаметра
резьбы ввертыша до края детали должно быть не менее 2 мм.
Нарезка резьбы ремонтного размера на валах и в
отверстиях допускается в тех случаях, если это не снижает прочности детали. Или
соединения и приемлемо конструктивно.
Не допускаются к сборке подшипники качения,
имеющие следующие дефекты: трещины или выкраивания металла на кольцах и телах
качения, цвета побежалости, трещины на сепараторе, отсутствие или ослабление
заклепок сепаратора, неравномерный износ беговых дорожек, а также радиальные
зазоры превышающие, приведенные в табл. 1.12Примечание. Для подшипников по ГОСТ
8328-75 и ГОСТ 8338-75. в таблице приведены предельно-допустимые радиальные
зазоры для выбраковки, а для подшипников по ГОСТ 333-79 - осевые зазоры для
регулирования осевой игры подшипников. Изношенные или поврежденные подшипники
качения. Вменяются новыми, если ремонтное предприятие не приспособлено для их
восстановления. Шайбы, шайбы стопорные и шайбы пружинные шайбы, шайбы стопорные
и шайбы пружинные браковать при наличии трещин, изломов и неисправимых
деформаций.
Шайбы пружинные браковать при разводе кондов
менее полуторной толщины шайбы (нормальный развод равен двойной толщине), а
также при заметном увеличении зазора в стыке.
Неразъемные (сварные) составные части
Не допускаются к сборке неразъемные составные
части, имеющие поврежденные детали, а также трещины и выкрашивания в сварных
швах.
При ремонте поврежденные детали должны быть
восстановлены или заменены на новые, а разрушенные сварные швы должны быть
удалены и заварены.
Сварку неразъемных составных частей необходимо
производить в приспособлениях, обеспечивающих взаиморасположение деталей и
исключающих их деформацию при сварке.
Таблица 1.10 - Предельно-допустимые радиальные и
осевые зазоры для подшипников качения насоса
|
ГОСТ
|
Номер
подшипника
|
Допустимый
зазор, мкм
|
|
|
радиальный
|
осевой
|
|
333-79
|
7516
|
|
160
|
|
333-79
|
7520
|
|
190
|
|
8328-75
|
2226
|
180
|
|
|
8338-75
|
208
|
100
|
-
|
|
8338-75
|
214
|
150
|
-
|
Сварочные швы не должны иметь свищей, раковин,
трещин, вздутий, шлаковых включений, незаплавленных кратеров, подреюв, прожогов
и других дефектов, отрицательно влияющих на прочность сварного соединения.
Сварные швы должны быть плотными по всей длине с плавным переходом к основному
металлу.
Сварочные работы производить в соответствии с
требованиями рабочих чертежей и ГОСТ 5264-80.
Выбор методов контроля качества сварки по ГОСТ
3242-79.
При применении сварки для заварки трещин,
раковин, пробоин, резьбовых отверстий и т.п., материал, вид сварки и технологию
сварки подбирать в зависимости от материала детали и вида дефекта. При
применении сварки для ремонта блока гидравлического и компенсатора сферического
с клапаном предохранительным.
1.11 Сборка насоса
При сборке эксцентрикового вала под левую
торцовую крышку подложить прокладку из чертежной бумаги, под правую крышку
набор прокладок из картона.
Укладку игл в подшипнике крейцкопфной головки
шатуна производить в густой консистентной смазке после установки
эксцентрикового вала шатунами. Выпрессовывание седел клапанов производится с
помощью съемника седел.
Выноска цилиндровых втулок производится при
помощи приспособления давление жидкости, подаваемой другим агрегатом через
нагнетательную линию. При этом нагнетательный клапан со стороны станины должен
быть удален, а отверстие в сальнике заглушено стержнем после установки клапана.
После установки клапана рукоятку вывернуть, а крышку клапана с манжетой установить
на место и закрепить, при этом необходимо перед выпрессовкой втулки удалить
воздух из системы с помощью крана сброса.
При сборке гидравлической части особое внимание
следует уделять правильной установке самоуплотняющихся манжет. Никакие
повреждения манжет не допустимы.
Приработка и испытание насоса после ремонта
Завершающими операциями технологического
процесса являются приработка и испытание агрегатов и машин(рисунок
1.12).Собранной после ремонта буровое и нефтепромысловое оборудование должно
отвечать техническим требованиям. О качестве ремонта судят по данным
фактических эксплуатационных характеристик машин (развиваемая мощность, частота
вращения, производительность, грузоподъемность, давление и другие) и
правильности взаимодействие разных узлов и агрегатов.Совершенно обязателен
окончательный контроль после сборки сборочной единицы, агрегата или машины в
целом. После тщательного осмотра и проверки правильности сборки производится
приработка машин.Различают холодную и горячею приработку. При холодной приработке
машины испытывают без нагрузки и приводят в действия от постоянного источника
энергий. При горячей приработке машину полностью собирают и прирабатывают под
нагрузкой. Нагрузку на машину можно создать при помощи тормоза или других
устройств. Например, двигатели внутреннего сгорания подвергают сначала холодной
приработке, а затем горячей, редукторы - тол Продолжительность приработки
различна при зависимости от типа и назначения оборудования. В начальный период
приработки без нагрузки проверяют правильность балансировки вращающихся частей
машины, пригонка подшипников и качество сборки. Весь период приработки машины
строго контролируется специальным персоналом с использованием необходимых
контрольно- измерительных приборов; ведется наблюдение за температурой
подшипников, наличием, характером и величиной вибраций, уровнем шума в процессе
приработке, скоростью изнашивания.
Программа и методика приемочных испытаний
разрабатывается исполнителем ремонта и согласовывается с заказчиком ремонта.
Окраска оборудования
Окраска оборудования - одна из операций
технологического процесса ремонта и предназначена для защиты оборудования от
коррозий и предания ему определенного декоративного вида.
Чтобы надежно предохранить оборудования от
коррозий лакокрасочные покрытия должны обладать определенным комплексом
свойств:
Сплошностью пленки
Хорошим сцеплением с металлической поверхностью
Стойкостью к действию масла, топлива, повышенной
влажности, водной среды.
В некоторых случаях к покрытиям предъявляются
специальные требования, как например, сопротивление истиранию, теплостойкость,
стойкость в кислотах, щелочах и др. Чтобы покрытие удовлетворяло этим
требованиям и обладало достаточной долговечностью, необходимо правильно выбрать
состав лакокрасочного материала и технологию его нанесения.
Рис. 1.12 - Стенд для испытания насоса НБ-32:
1-насос; 2-электрдвигатель; 3-мерный бак; 4-расходный бак; 5-мерное стекло;
6-напорный трубопровод; 7-слив с предохранительного клапана; 8- всасывающий
трубопровод; 9- вентиль, регулирующий высоту всасывания; 10- вентиль,
регулирующий давление на выходе из насоса; 11-баллон со сжатым азотом;
12-манометр для определения давления закачки; 13-вентиль, регулирующий давление
воздуха закачки; 14-манометр, показывающий давление на выходе из насоса;
15-рукав для закачки компенсатора; 16-переходник в сборе
Лакокрасочные материалы, выпускаемые
промышленностью, делятся на грунты, шпаклевки, лаки и эмали. Каждый вид
лакокрасочного материала имеет определенное целевое назначение. Грунты
обеспечивают хорошее сцепление между металлом и следующим слоем покрытия, а
также создают надежный коррозионный слой. Шпатлевки применяют для выравнивания
неровностей и заполнение грубых изъяна окрашиваемой поверхности. Эмали и лаки
используют для наружных слоев покрытья с целью получения механически прочных и
химически инертных пленок, устойчивых к действию окружающей среды.
Обычно лакокрасочное покрытие представляет собой
многослойную систему, состоящих из различных лакокрасочных материалов, нанесенных
в определенной последовательности.
В зависимости от назначения покрытия применяются
различные схемы его нанесения. Схемы нанесения выбирают, исходя их условий
эксплуатации и с учетом возможности осуществления принятой технологий окраски
оборудования на данном предприятий.
Для атмосферостойких покрытий по металлу
рекомендуется наносить 1-2 слоя грунта, шпатлевку и 2 - 3 слоя эмали. Для
водостойких и химический водостойких покрытий рекомендуется применять подобную
схему, однако число слоев эмали должно быть увеличено. В каждом конкретном
случае следует выбирать состав покрытия с учетом предъявляемых к нему
требований. Процесс сушки лакокрасочных материалов является ответственной
операцией. При сушке покрытия происходит испарение растворителями сложные физико-химические.
Буровые насосы предназначены для нагнетания в
скважину промывочной жидкости с целью очистки забоя и ствола от выбуренной
породы и выноса ее на дневную поверхность, охлаждения и смазки долота, создания
гидромониторного эффекта при бурении струйными долотами, приведения в действие
забойных гидравлических двигателей.
Для нормальной работы насосного оборудования
настоятельно рекомендуются проводить его регулярное техническое обслуживание.
Техническое обслуживание по периодичности,
выполняемым операциям и трудоемкости подразделяются на следующие виды:
) ежедневное техническое обслуживание (ЕО);
) периодическое техническое обслуживание (ПО);
) текущий ремонт (ТР);
) сезонное техническое обслуживание (СО);
) капитальный ремонт (КР).
2. РАСЧЕТНАЯ И СПЕЦИАЛЬНАЯ ЧАСТЬ
.1 Определение годового объема
работы предприятия
Для своевременного и качественного выполнения
капитального и текущего ремонта огромного парка машин различного назначения
пока ещё не создано в достаточной степени оснащённой ремонтной базы. Поэтому
вопросы проектирования специализированных ремонтных предприятий, организации,
капитального ремонта нефтепромыслового оборудования являются очень важными при
подготовке инженеров-механиков.
Исходные данные:
Буровой насос НБ-32;
Годовая производственная программа
ремонтного предприятия
Определим годовой объем работы
предприятия
(2.1)
где
- трудоёмкость капитального ремонта
основной условно приведённой единицы, скорректированной по условиям работы;
- годовая приведенная программа
где
- коэффициент корректировки,
учитывающий снижение нормативной трудоёмкости за счёт объёма производства Км =
0,73;
- коэффициент выработки.
-нормативная трудоёмкость
капитального ремонта условно
приведенной единицы,
Для учета нужд вспомогательного
производства (инструментальный цех и ОГМ) в таких работах как кузнечные,
термические, гальванические и др. необходимо при расчете количества рабочих и
оборудования в этих цехах общий годовой объем работ увеличить на величину
коэффициента самообслуживания. Тогда годовой объём работ ремонтного предприятия
составит
;
2.2 Расчет числа оборудования
Число основного производственного
оборудования ремонтного предприятия определяется по формуле
Ср=
(2.2)
Где, Ср - расчетное число станков; ТС -
суммарная трудоемкость станочных работ, ч; Fд - действительный годовой фонд
времени оборудования с учетом сменности;- коэффициент выполнения норм времени
(в среднем по станочным работам). Таким расчетом может быть получено общее
число оборудования, например, механического цеха.
Ср=
Общее расчетное число станков
механического цеха может быть разделено по видам оборудования, исходя из норм,
рекомендуемых системой ППР технологического оборудования машиностроительных
предприятий для ремонтно-механических цехов. Из 1-таблицы видно, что полученное
расчетом небольшое число станков не дает возможности сделать более широкий
выбор станков для механического цеха. Однако показана основная тенденция выбора
- приоритет токарных станков. Полученное расчетом дробное количество станков
округляется в сторону увеличения так, чтобы соотношение между расчетным Ср и
принятым Сп числом станков составляло коэффициент загрузки в среднем по
механическому цеху kз=0,80-0,85.
Рекомендуемый нормами относительно
невысокий коэффициент загрузки объясняется невозможностью полного использования
их в условиях небольшого механического цеха с разнообразной работой.
По принятому числу станков
составляют спецификацию оборудования, необходимого для механического цеха.
Типы станков выбирают так, чтобы их
характеристика соответствовала видам обработки и размерам деталей машин,
которые на этих станках будут ремонтировать или изготовлять.
Аналогично по трудоемкости,
рассчитывают оборудование и других цехов ремонтного предприятия (сварочного,
кузнечно-прессового, термического).
Таблица 2.1 - Действительный годовой
фонд времени оборудования FД (с учетом потерь времени на ремонт)
|
Оборудование
и рабочее место
|
Одна
смена
|
Две
смены
|
Три
смены
|
|
потери
времени, %
|
фонд
времени, ч
|
потери
времени, %
|
фонд
времени, ч
|
потери
времени, %
|
фонд
времени, ч
|
|
Металлорежущее
и деревообрабатывающее
|
2
|
3450
|
3
|
4015
|
4
|
5960
|
|
То
же, уникальное (свыше 30категорий сложности ремонта)
|
-
|
-
|
6
|
3890
|
10
|
5590
|
|
Кузнечно-прессовые
|
4
|
1990
|
5
|
3930
|
7
|
3850
|
|
Прессы
и ножницы для холодной
|
2
|
2030
|
3
|
4015
|
4
|
5960
|
|
Рабочее
место без оборудования
|
0
|
2070
|
0
|
4140
|
0
|
6210
|
Число верстаков и стендов (рабочих мест) для
разборочно-сборочных цехов может быть рассчитано по числу рабочих слесарей в
наибольшую смену (обычно первую). При этом необходимо учитывать, что на крупных
стендах (разборочных и сборочных) могут работать одновременно несколько
рабочих.
При двухсменной работе обрабатывающих цехов
иногда работу сборочно-разборных цехов целесообразно организовывать в одну
смену.
Для механизации сборочно-разборочных работ,
кроме верстаков и стендов, применяют без расчета комплект (минимально
необходимый) сверлильных станков, механических и гидравлических прессов для
распрессовки и запрессовки деталей, притирочных станков, станок для
балансировки и комплект различного механизированного инструмента (дрели,
гайковерты, пневмонапильники и др.).
Рекомендуемый нормами относительно невысокий
коэффициент загрузки к3 объясняется невозможностью полного использования их в
условиях небольшого механического цеха с разнообразной работой. По принятому
числу станков составляют спецификацию оборудования, необходимого для
механического цеха. Типы станков выбирают так, чтобы их характеристика
соответствовала видам обработки и размерам деталей машин, которые на этих
станках будут ремонтировать или изготовлять.
Аналогично по трудоемкости, рассчитывают
оборудование и других цехов ремонтного предприятия (сварочного,
кузнечно-прессового, термического).
Число верстаков и стендов (рабочих мест) для
разборочно-сборочных цехов может быть рассчитано по числу рабочих слесарей в
наибольшую смену (обычно первую). При этом необходимо учитывать, что на крупных
стендах (разборочных и сборочных) могут работать одновременно несколько
рабочих.
При двухсменной работе обрабатывающих цехов
иногда работу сборочно-разборных цехов целесообразно организовывать в одну
смену.
Для механизации сборочно-разборочных работ,
кроме верстаков и стендов, применяют без расчета комплект (минимально
необходимый) сверлильных станков, механических и гидравлических прессов для
распрессовки и запрессовки деталей, притирочных станков, станок для
балансировки и комплект различного механизированного инструмента (дрели,
гайковерты, пневмонапильники и др.).
Таблица 2.2 - Распределение по видам станков
механического цеха
|
Станки
|
Распределение
(норма), %
|
Число
расчетн. Ср
|
Число
станков принятоеСп
|
Коэффициент
загрузки, к3=Ср/Сп
|
|
Токарные
и револьверные
|
35-45
|
5,0
|
6
|
0,83
|
|
Карусельные
|
4-5
|
|
|
|
|
Расточные
|
3-4
|
1,0
|
1
|
1,00
|
|
Вертикально-сверлильные
|
3-7
|
|
|
|
|
Радвально-сверлильные
|
5-4
|
1.3
|
2
|
0,65
|
|
Фрезерные
|
8-10
|
2,0
|
|
|
|
Строгальные
|
7-8
|
|
2
|
1,00
|
|
Шлифовальные
|
11-15
|
1,8
|
2
|
0,9
|
|
Зуборезные
|
6-7
|
0,9
|
1
|
0,9
|
|
Всего
|
-
|
12
|
14
|
0,86
|
2.3 Режим работы ремонтного
предприятия и фонды времени
Годовые фонды подразделяются на номинальные и
действительные.
Номинальным фондом рабочего времени оборудования
называют время (в часах), в течение которого может работать оборудование при
заданном режиме.
, (2.3)
где
- количество рабочих дней в году;
- количество предпраздничных дней;
- продолжительность смены, ч;
- количество смен работы.
Действительный (расчётный) годовой
фонд времени работы оборудования характеризует время, в течение которого
оборудование может быть полностью загружено
, (2.4)
где
- коэффициент, учитывающий простои
оборудования на ТО и ремонте при односменной работе.
Годовой фонд рабочего места
определяет время его использования и, как правило, приравнивается к
номинальному фонду времени оборудования:
Номинальный годовой фонд времени
рабочего характеризует максимально возможное время работы рабочего
, (2.5)
где
- соответственно количество
календарных, праздничных и выходных дней в году.
Действительный фонд времени рабочего
определяет фактическое количество работы одного рабочего
(2.6)
где
- коэффициент, учитывающий потери
времени по уважительным причинам;
- продолжительность отпуска в днях.
2.4 Расчет количества работающих,
рабочих мест и оборудования
Определим объем работ, выполняемых в
цехах:
а) разборочно-сборочный цех
б) цех ремонта бурового насоса
в) цех восстановления и изготовления
деталей
Определим списочное количество
рабочих в цехах по формуле
, (2.7)
а) разборочно-сборочный цех

б) цех ремонта бурового насоса
в) цех восстановления и изготовления
деталей
Определим явочное количество рабочих
по формуле
(2.8)
а) разборочно-сборочный цех
б) цех ремонта бурового насоса
в) цех восстановления и изготовления
деталей
Определим количество рабочих постов в цехах по
формуле
, (2.9)
где
- количество одновременно
работающих на посту;
- годовой фонд рабочего места, ч.
а) разборочно-сборочный цех
б) цех ремонта бурового насоса
в) цех восстановления и изготовления
деталей
Определим количество рабочих мест в
цехе
, (2.10)
а) разборочно-сборочный цех
б) цех ремонта бурового насоса
в) цех восстановления и изготовления
деталей
Количество основного
технологического оборудования в цехе определяется по формуле
; (2.11)
а) разборочно-сборочный цех
б) цех ремонта бурового насоса
в)цех восстановления и изготовления
деталей
Остальное оборудование, инвентарь и
приспособления подбираются без расчёта из условия необходимого технологического
комплекта.
Количество рабочих в
инструментальном цехе (отделении) ориентировочно принимается равным 25 %, а в
отделе главного механика - 17 % от количества производственных рабочих в
слесарно-механическом цехе (отделении) основного производства.
2.5 Определение площадей производственных
помещений
При укрупненных расчетах определение
площадей производственных помещений производится на основании удельной площади
на одного рабочего в наиболее многочисленной смене
, (2.12)
где
- площадь цеха, м2;
- удельная площадь на одного
производственного рабочего, м2;
- явочное количество рабочих в
большей смене.
Таблица 2.3 - Удельные показатели
для расчета площадей административно-бытовых помещений
|
Наименование
помещений
|
Наименование
показателей
|
Величина
показателей, м2
|
Площадь
помещения, м2
|
|
1.
Гардеробы
|
Удельная
площадь на одного списочного рабочего
|
0.75…0.8
|
119.2
|
|
2.
Умывальники
|
Удельная
площадь на один умывальный кран, рассчитанный на 10 человек
|
0.50
|
7.45
|
|
3.
Душевые
|
Удельная
площадь на одну душевую кабину, рассчитан ную на 5 человек
|
2.00…2.50
|
7.45
|
|
4.
Туалеты
|
Удельная
площадь на один унитаз, рассчитанный на 15 человек
|
3.00
|
29.8
|
|
5.Адмнистративные
|
Удельная
площадь на одного служащего или ИТР
|
5.00
|
110
|
Определим площади складских
помещений ремонтного предприятия. Общая площадь складов составляет 25% от
Таблица 2.4 - Распределение общей
площади складских помещений ремонтного предприятия
|
Наименование
складских помещений
|
%
от общей площади складов
|
Площадь,
м2
|
|
Склад
запасных частей
|
20
|
24
|
|
Склад
материалов
|
17
|
20,4
|
|
Комплектовочный
склад
|
10
|
12
|
|
Склад
агрегатов, ожидающих ремонта
|
15
|
18
|
|
Склад
деталей, ожидающих ремонта
|
7
|
8,4
|
|
Склад
отремонтированных агрегатов
|
6
|
7,6
|
|
Центральный
инструментальный склад
|
4
|
4,8
|
|
Склад
металлов
|
8
|
9,6
|
|
Склад
ГСМ
|
3
|
3,6
|
|
Склад
леса
|
8
|
9,6
|
|
Склад
утиля
|
2
|
2,4
|
|
Всего
100
|
120
|
2.6 Компоновка главного
производственного корпуса ремонтного предприятия
При проектировании специализированных
предприятий по ремонту дорожных машин и их агрегатов необходимо соблюдение
условий технологической взаимосвязи, а также действующих норм строительного,
санитарного и противопожарного проектирования.
Технологическую компоновку главного
производственного корпуса выполняют в следующей последовательности:
намечают схему производственно-технологического
потока;
определяют расчётную площадь главного
производственного корпуса по формуле
(2.13)
где
- площадь i-го производственного
цеха;
- площадь j-го бытового помещения;
- площадь k-го складского
помещения;1.15 - коэффициент, учитывающий межцеховые проходы и проезды.
2.7 Разработка технологического
маршрута изготовления втулки
.7.1 Анализ конструкции детали и
назначение детали
Втулка изготавливается из сортового
проката круг. Материал детали А12В. Вид проката, из которого изготавливается
деталь, - круг горячекатный повышенной и нормальной точности с постоянной
характеристикой поперечного сечения; диаметр - 90 мм. Определяется ГОСТом
2590-88.Втулка конструктивно представляет собой вал с отверстием.
Втулка-тело вращения. Втулка
изготовлена из материала сталь А12В, предназначенная для изготовления деталей
на металлорежущих скоростных станках-автоматах и полуавтоматах. Отверстие
диаметром 16Н7мм используется для вала, который передает вращательное движение.
Деталь обрабатывается точением наружных поверхностей, снятием фасок 1,5х45º, сверлением
отверстия диаметром 16Н7мм с последующим его зенкерованием.
Деталь достаточно технологична,
допускает применение высокопроизводительных режимов обработки, имеет хорошие
базовые поверхности и проста по конструкции.
2.7.2 Механические и технологические
свойства втулки
Данная деталь «Втулка» изготовлена
из сортового проката круг постоянного диаметра 90 мм. Материал детали - сталь
А12В.
Автоматная сталь хорошо поддается
обработке точением, резанием, что обуславливает ее широкое применение при
изготовлении многих деталей, в том числе втулок.
Механические свойства автоматной
стали характеризуются следующими показателями: горячекатаные прутки - предел
прочности в= 420-750Мн/м2, относительное удлинение = 14-22%.
Расшифровка маркировки: автоматная
сталь, содержащая 0,12% углерода и около 1% вольфрама. Материал заготовки при изготовлении
детали обеспечивает необходимую шероховатость поверхности уплотнения и
необходимую точность расчетов.
2.7.3 Выбор исходной заготовки и
метода ее изготовления
Заготовки необходимо подбирать таким
образом, чтобы обеспечить наиболее рациональное использование материала,
минимальную трудоемкость получения заготовок и возможность снижения
трудоемкости изготовления самой детали.
При выборе заготовки учитывают: -
тип производства; - материал заготовки; - конфигурацию; - размеры; - элементы
детали.
В качестве заготовки выбирается
пруток - круг 90 ГОСТ 2590 - 88 А12В.
Технологическому процессу
сопутствует ряд вспомогательных процессов: складирование заготовок и готовых
изделий, ремонт оборудования, изготовление инструмента и оснастки.
Технологический процесс условно
состоит из трех стадий:
. Получение заготовок.
. Обработка заготовок и получение
готовых деталей.
. Сборка готовых деталей в изделие,
их настройка и регулировка.
В зависимости от требований,
предъявляемых к точности размеров, формы, относительного положения и
шероховатости поверхностей детали с учетом ее размеров, массы, свойств
материала, типа производства, выбираем один или несколько возможных методов
обработки и тип соответствующего оборудования.
2.7.4 Проектирование
технологического маршрута
При формировании маршрута
изготовления руководствуются
следующими принципами:
. В первую очередь обрабатывают те
поверхности, которые являются базовыми при дальнейшей обработке.
. Затем обрабатывают поверхности с
наибольшим припуском.
. Далее выполняют обработку
поверхностей снятия металла, которая в наименьшей степени влияет на жёсткость
детали.
. К началу техпроцесса необходимо
относить те операции, на которых можно ожидать появление брака из-за скрытых
дефектов (трещины, раковины и т.д.).
Для выполнения операций применяются
различные станки, основные характеристики которых сведены в таблицу 2.5.
Таблица 2.5 - Характеристика станков
|
Наименование
станка
|
Масса
станка, кг
|
Мин/макс
Частота вращения шпинделя, об/мин
|
Габариты
станка, мм
|
Мощность
электродвигателя, КВт
|
|
И5526
|
12000
|
45/2250
|
6200
х 3700 х 2700
|
25
|
|
8Б242
|
2500
|
45/2250
|
7700
х 1870 х 780
|
17
|
|
1Е140
|
2230
|
80/2500
|
2160
х 1000 х 1510
|
5,5
|
|
3М153Е
|
4500
|
13/2290
|
2260
х 1920 х 1780
|
11
|
2.7.5 Расчет припусков и
операционных размеров
Дана заготовка Ø 81 -
0,62 мм.
Следовательно, максимальный диаметр заготовки dз max = 81 мм, а минимальный
диаметр dз min = 80,38 мм.
Диаметр детали втулка равен 81 -0,073 мм,
следовательно, максимальный диаметр детали dд max = 80,96 мм, а минимальный
диаметр dд min = 27,927мм.
Zi max = dз
max - dд
min = 84 - 80,96 = 4,04min = dз
min - dд
max = 81,38 - 80,927 = 0,45
Остальные припуски считаем как разность
номинальных размеров.
2.7.6 Расчет режимов резания
Рассчитаем режим резания для операции на
токарном станке (020).
Принятые обозначения:- частота вращения;-
подача;- глубина резания;- скорость резания.= (34 - 28) / 2 = 6/2 = 3 мм.
При обтачивании детали при глубине резания 3 мм
принимаем подачу равной s = 0,15 мм/об.
Рассчитаем скорость резания:
(2.23)
где: Сυ = 350
х = 0,15
у = 0,35= 0,2
Т=120мин
v = πdn/1000 (2.24)
Отсюда следует, что:
n = 1000 v / πd = 1000 · 219/ (3,14
· 34)= 2055 об/мин
2.8 Способ посадки втулки в корпус
насоса
Нагрев деталей больших габаритов
представляет известную трудность и требует специального оборудования. Поэтому,
когда охватывающая деталь неудобна для разогрева, а охватываемая деталь имеет
сравнительно небольшие размеры, лучше пользоваться обратным методом, т.е. получать
нужную разность температур сопрягаемых деталей за счет охлаждения охватываемой
детали.
Сущность процесса заключается в том,
что при охлаждении до весьма низкой температуры наступает временное уменьшение
диаметра втулки и благодаря этому она свободно входит в отверстие другой
детали, в которую должна быть установлена.
По сравнению с другими способами
прессовые посадки, осуществляемые с применением низких температур, имеют ряд
существенных преимуществ.
Обеспечивается большая прочность
соединения в силу того, что при этом способе не происходит снятие отдельных
гребешков и образования задиров на прессуемых поверхностях, а следовательно,
менее вероятно возможное ослабление соединения в эксплуатации.
Не наблюдается неравномерной усадки
металла, как это бывает при запрессовке деталей на прессе, а следовательно, нет
опасности появления вредных остаточных напряжений.
Применение охлаждения наиболее
благоприятно сказывается при осуществлении посадок малых охватываемых деталей и
крупных охватывающих, как, например, посадка седел клапанов в паровые пробки,
посадка пальцев в регулирующее кольцо, запрессовка
<#"809844.files/image086.gif">
Рис.
2.1 - «Узел клапана» F 16 K 15/02 № 672421
.
Патент «Клапан» F 16 К 15/02 № 1617231
Изобретение
относится к apмaтypoстроению и может быть использовано в качестве клапана
бурового насоса. Целью изобретения является упрощение конструкции клапана. При
закрытии клапана тарель 5 садится на седло 1, взаимодействуя опорной
поверхностью 9 с крестовиной 2. Дальнейшее опускание штока 4 с нажимной шайбой
7 обеспечивает герметизацию седла за счет деформации уплотнительного элемента
6. Деформация уплотнительного элемента 6 ограничивается ходом штока 4 до
касания ограничительным выступом 10 крестовины 2. 1 ил.
Изобретение
относится к арматуростроению и может быть использовано в качестве клапана
буровых насосов.
Цель
изобретения - упрощение конструкции клапана за счет изменения конфигурации
штока запорного органа.
На
чертеже изображен клапан на левой стороне чертежа клапан в закрытом положении,
на правой - в закрытом положении при большом перепаде дазления на клапане.
В
процессе закрытия клапана при посадке тарели 5 на седло 1 уплотнительный
элемент 6 обеспечивает герметизацию уплотнительного стыка.
При
возрастании перепада давления на клапане шток 4 вместе с нажимной шайбой 7
опускается относительно тарели 5, сжимая уплотнительный элемент б, который,
деформируясь, повышает усилие герметизации до тех пор, пока ограничительный
выступ 10 штока не коснется крестовины 2. Наличие выступа 10 ограничивает
перемещение штока 10 и нагрузки на уплотнительный элемент 6, предотвращая его
преждевременное разрушение.
Рис.
2.2 - «Клапан» F 16 К 15/02 № 1617231
На чертеже изображен клапан на левой стороне
чертежа клапан в закрытом положении, на правой - в закрытом положении при
большом перепаде давления на клапане.
Клапан содержит седло 1 с крестовиной 2. В
центральном отверстии 3 крестовины 2 размещен шток 4 запорного органа,
выполненного 8 виде тарели 5 с уплотнительным элементом 6 и нажимной шайбы 7,
поджатой пружиной 8. Тарель 5 выполнена с опорной поверхностью 9,
взаимодействующей с крестовиной 2 при посадке запорного органа на седло 1.
На штоке 4 выполнен ограничительный выступ 10,
расположенный выше опорной поверхности 9 тарели 5. Диаметр ограничительного
выступа 10 выполнен больше диаметра отверстия 3 крестовины 2.
На поверхности тарели 5, обращенной к уплотнительному
элементу 6, выполнен кольцевой выступ 11, размещенный неподвижно в кольцевой
впадине 12 уплотнительного элемента 6.
Клапан, преимущественно для бурового насоса,
содержащий седло с крестовиной, в центральном отверстии которой размещен шток
запорного органа, выполненного в виде подпружиненной нажимной шайбы и тарели с
уплотнительным элементом и опорной поверхностью, взаимодействующей с
крестовиной, причем шток снабжен кольцевым ограничительным выступом,
отличающийся тем, что, с целью упрощения конструкции, кольцевой ограничительный
выступ штока расположен выше опорной поверхности тарели, а диаметр
ограничительного выступа больше диаметра отверстия крестовины.
Вывод для нашего насоса СИН-31.02 при
усовершенствование клапана насоса буду использовать патент «Клапанный узел
плунжерного насоса для обслуживания скважин» (патент РФ № 2442923).
Задачей настоящего изобретения является
устранение указанных недостатков, а именно повышение ресурса работы клапанного
узла.
Указанная задача решается за счет того, что в
клапанном узле плунжерного насоса, включающем клапан с кольцевой канавкой под
уплотнение в шапке и конической рабочей поверхностью в нижней части шапки
клапана, седло клапана с конической рабочей поверхностью, выполненной в головке
седла, и кольцевое уплотнение, согласно предлагаемому техническому решению
площадь контакта (пятна контакта) между конической рабочей поверхностью седла и
кольцевым уплотнением составляет 65-68% от общей площади контакта.
В клапанном узле плунжерного насоса согласно
изобретению коническая поверхность контакта между седлом и клапаном с
уплотнением расположена под углом 25-28° к плоскости, перпендикулярной оси
клапанного узла.
В клапанном узле плунжерного насоса отношение
высоты головки седла к общей высоте головки и шапки клапана составляет не более
0,26.
Указанная задача решается также за счет того,
что легированная сталь клапана клапанного узла насоса согласно изобретению
включает хром, никель, при этом содержание хрома составляет от 1,3 до 1,7
массовых %, а содержание никеля - от 3,9 до 4,4 массовых %.
Указанная задача решается также за счет того,
что легированная сталь седла клапанного узла насоса согласно изобретению
включает хром, никель, при этом содержание хрома составляет от 1,2 до 1,7
массовых %, а содержание никеля - от 3,15 до 3,65 массовых %.
Указанная задача решается также за счет того,
что в уплотнении клапанного узла плунжерного насоса, выполненного в виде кольца
из эластомерного материала, согласно изобретению в качестве эластомерного
материала использован материал с высокими упругими свойствами, например Ecopur
или Indeflex (Уникспур).
В уплотнении согласно изобретению отношение
наружного диаметра кольца к посадочному диаметру находится в пределах от 1,30
до 1,35.
. Для своевременного и качественного выполнения
капитального и текущего ремонта огромного парка машин различного назначения
пока ещё не создано в достаточной степени оснащённой ремонтной базы. Поэтому
проектирование специализированных ремонтных предприятий, организации,
капитального ремонта нефтепромыслового оборудования в частности для ремонта
буровых насосов в условиях АО «Волковгеология» являются очень важным.
. Втулка-тело вращения. Для проектирования
технологического маршрута изготовления она должна быть изготовлена из материала
сталь А12В, предназначенная для изготовления деталей на металлорежущих
скоростных станках-автоматах и полуавтоматах. Отверстие диаметром 16Н7мм
используется для вала, который передает вращательное движение. Деталь
обрабатывается точением наружных поверхностей, снятием фасок 1,5х45º,
сверлением
отверстия диаметром 16Н7мм с последующим его зенкерованием.
Деталь достаточно технологична, допускает
применение высокопроизводительных режимов обработки, имеет хорошие базовые
поверхности и проста по конструкции
. Проведя патентное исследование мы ознакомились
с преимуществами и недостатками клапанов.
Таким образом для усовершенствования
гидравлической части насоса СИН-31 заменим клапанный узел плунжерного насоса
для обслуживания скважин, за счет использования в качестве материала уплотнения
эластомеров с высокими упругими свойствами, за счет увеличения разницы между
наружным и посадочным диаметрами кольцевого уплотнения (увеличение ширины
кольца) при соответствующем изменении формы и размеров канавки под него в
клапане, а также в результате уменьшения угла конусности рабочих поверхностей
удалось значительно увеличить площадь контакта между уплотнением и седлом и
создать более благоприятное распределение нагрузки по линии контакта
седло-клапан.
3. ОХРАНА ОКРУЖАЮЩЕЙ СРЕДЫ
.1 Нормативно-правовая база в
области охраны окружающей среды и недр
Одним из главных вопросов охраны окружающей
среды при выборе технических решений является наличие экологических ограничений
хозяйственной деятельности. При выборе земельного участка учитывают размеры
водоохранных зон водотоков, санитарно-защитные зоны объектов, зоны санитарной
охраны артезианских скважин и другие ограничения.
При проектировании и дальнейшей эксплуатации
объектов необходимо учитывать действующие законодательные и нормативно-правовые
документы:
3.2 Источники воздействия на
атмосферу, гидросферу, литосферу, биоту
Предприятие на месторождение имеет согласованные
проекты нормативов предельно допустимых выбросов (ПДВ) в атмосферу, предельно
допустимых сбросов (ПДС), проект нормативов образования отходов и лимитов на их
размещение. Все выбрасываемые и сбрасываемые вещества предложены в качестве
нормативов ПДВ, ПДС. Также получены лимиты на размещение отходов производства и
потребления.
Поверхностные воды: воздействие на поверхностные
воды может иметь место, в основном, при попадании в них загрязняющих веществ в
случае аварийной ситуации. После приема загрязненных стоков происходит
ухудшение физических свойств воды (замутнение, изменение цвета, вкуса, запаха).
Осаждение нефтепродуктов и солей на дно водоемов вызывает загрязнение донных
отложений.
При аварийных ситуациях миграция загрязненных
стоков в поверхностные водотоки возможна по поверхности земли только при
разрушении обваловок площадок, а также аварий на трубопроводах. При
возникновении аварийной ситуации, учитывая расчетное время продвижения
загрязняющих веществ, необходимо принять меры по сокращению распространения
фронта сточных потоков.
Подземные воды: загрязнение подземных вод
возможно при разливе нефти и минерализованных вод в результате инфильтрации
загрязненных стоков через зону аэрации в водоносные горизонты. Нефтяное
загрязнение относится к «умеренно опасным». В подземных водах под влиянием
биогенного разложения и химического окисления нефть разрушается, при этом
образуются нафтеновые кислоты, фенолы, эфиры, карбонильные соединения.
Почвенно-растительный слой: загрязнение почв напрямую связано с возможными
аварийными ситуациями. При аварийных ситуациях на площадке скважин загрязнения
участков почвенно-растительного покрова нефтью имеет достаточно локальный и
временный характер. Прогнозировать масштаб загрязнения практически невозможно,
так как оно носит эпизодический характер и связано, в основном, с аварийными
ситуациями, предотвращение или минимизация которых гарантируются принятыми проектными
решениями. Воздействие на почвенный покров при штатном режиме функционирования
в значительной мере связано с загрязнением выхлопами автотранспорта и выбросами
загрязняющих веществ, возможными эрозионными процессами, связанными как с
природными, так и с антропогенными факторами.
3.3 Оценка воздействия на окружающую
среду
В результате работ по мониторингу отмечается,
что уровень загрязнения атмосферного воздуха объектами с повышенной техногенной
нагрузкой находится на низком уровне. В связи с этим, основное внимание при
прогнозе уделяется водным объектам и почве.
В качестве контролирующих параметров
рассматривается общая минерализация, ионный состав воды, содержание
нефтепродуктов, взвешенных веществ.
Гидрохимические показатели, определяемые при наблюдении
за подземными водами, следует принять следующие: рН, жесткость, сухой остаток,
минерализация, Сl-, SO42-, НСОз-, Са2+, Na+ + K+, Mg2+, СО3-, нефтепродукты.
Почвенный мониторинг включает в себя контроль за
нефтяным загрязнением почв и его последствиями и должен осуществляться вблизи
наиболее вероятных мест загрязнения. Для ранней диагностики развития
неблагоприятных изменений свойств почв будет производиться отбор их образцов 1
раз в год на потенциально опасных местах - вблизи производственных площадок,
трасс коммуникаций. Отбор проб почв фоновый, с участков подлежащих
рекультивации и в потенциально-опасных местах на содержание рН, органического
вещества, Hr, S, V, P2O5, K2O, плотного осадка, хлоридов, нефтепродуктов.
Согласно "Санитарно-защитные зоны и
санитарная классификация предприятий, сооружений и иных объектов"
предприятия по добыче нефти с малым содержанием летучих углеводородов и
выбросом сероводорода до 0,5т/сут относятся ко II классу с размером
санитарно-защитной зоны (СЗЗ) -1000м.
Ширина водоохранных зон рассматриваемых
водотоков согласно Постановления № 1404 составляет от 50 до 500метров. Объекты
нефтедобычи не должны располагаться в водоохранной зоне рек.
Согласно СН 2.2.4/2.1.8.562-96 шум на рабочих
местах в производственных помещениях и на территории предприятий не должен
превышать 80дБА. В населенных пунктах (жилые комнаты квартир) установлены
уровни шума: с 7 до 23 ч - 55дБА, с 23 до 7 ч - 45дБА согласно СН 3077-84.
С точки зрения эрозионной опасности земель
площадки кустов скважин не следует располагать на чрезвычайно и сильно
эррозионных землях.
Согласно действующим нормам проектирования
границы санитарно-защитных зон вдоль высоковольтных ЛЭП устанавливаются по
величине напряженности электрического поля, которая не должна превышать 1 кВ/м.
Одним из способов снижения экологического ущерба
при капитальном ремонте скважин может служить технология ремонта в
герметизированном варианте.