Разработка технологического процесса изготовления детали 'обойма'

  • Вид работы:
    Курсовая работа (т)
  • Предмет:
    Другое
  • Язык:
    Русский
    ,
    Формат файла:
    MS Word
    70,45 Кб
  • Опубликовано:
    2013-03-11
Вы можете узнать стоимость помощи в написании студенческой работы.
Помощь в написании работы, которую точно примут!

Разработка технологического процесса изготовления детали 'обойма'

СОДЕРЖАНИЕ

1. КОНСТРУКТОРСКАЯ ЧАСТЬ

.1 Описание конструкции детали.

.2 Описание материала

.3 Анализ технологичности конструкции

. ТЕХНОЛОГИЧЕСКАЯ ЧАСТЬ

.1 Расчет параметров заготовки

.2 Проектирование технологического процесса механической обработки

.3 Расчет линейных технологических размеров

.4 Нормирование операции механической обработки

ЗАКЛЮЧЕНИЕ

СПИСОК ЛИТЕРАТУРЫ

1. КОНСТРУКТОРСКАЯ ЧАСТЬ

 

.1 Описание конструкции детали


Деталь - обойма, устанавливается в выносной коробке агрегатов, служит для постановки тел вращения. По поверхности  с натягом и крепиться с помощью 6 шпилечных соединений, через гладкие отверстия f9. По поверхности , в обойму устанавливается подшипник. Упрочнение происходит ионоазотированием, поверхности Г и Д.Упор нагруженной обоймы подшипника производиться в упорный буртик толщиной 3.2, и . Предусмотрены 6 отверстий, в которых предусматривается фиксация с помощью котровочных шайб.

Рабочая температура - 140о.

Рабочая среда - масло ИПМ-10.

Материал детали - 16Х3НВФМБ-Ш (σв=1200 МПа)

Масса детали - 0,205 кг.

 

.2 Описание материала


Сталь 16Х3НВФМБ-Ш ГОСТ 14-1-3242-81 предназначена для изготовления обоймы, шестерни, роликов, поршневых пальцев и других особо ответственных цементируемых деталей, к которым предъявляются требования высокой прочности, пластичности и вязкости сердцевины и поверхностной твердости, работающих под действием ударных нагрузок или при отрицательных температурах.

Виды поставки: сортовой прокат, в том числе фасонный, калиброванный пруток, шлифованный пруток и серебрянка, полоса, поковки и кованые заготовки.

1.3 Анализ технологичности конструкции

При анализе технологичности конструкции детали решаются вопросы, связанные с уменьшением трудоемкости и металлоемкости, возможности обработки детали высокопроизводительными методами. Таким образом, улучшение технологичности конструкции позволяет снизить себестоимость изготовления без ущерба для служебного пользования.

Деталь - обойма - изготовлена из комплексно-легированной теплостойкой стали 16Х3НВФМБ-Ш и проходит термическую обработку, что имеет большое значение в отношении коробления, возможного при нагревании и охлаждении детали.

2. ТЕХНОЛОГИЧЕСКАЯ ЧАСТЬ

В данной части курсового проекта по известным конструкторским размерам детали рассчитывается параметры заготовки детали получаемой ГКМ. Далее разрабатывается технологический процесс механической обработки. Исходя из технологического процесса и теории линейных цепей строится совмещенная схема, граф и составляются уравнение линейных технологических размеров.

После определение линейных размеров выполняется нормирование операций механической обработки. Тип производства - серийный. Признаком серийного производства является производство изделий партиями с определенной периодического при групповой форме организаций.

 

.1 Выбор заготовки


Выбор заготовки для детали определяется назначением и конструкцией детали, материалом, техническими требованиями, масштабом и серийность их выпуска, а также экономичностью изготовление.

Заготовка - штамповка - получена путем ковкой металла ГКМ (горизонтально-ковачной машине). Область применения данного метода - серийное и массовое производство.

Штамповка на прессах в 2..3 раза производительнее по сравнению со штамповкой на молотах. Припуски и допуски уменьшаются на 20-30%, расход металла снижается на 10-15%.

2.2 Проектирование технологического процесса механической обработки


При установлении общей последовательности механической обработки учитываются:

. Каждая последующая операция должна уменьшать погрешность обработки и улучшать качество поверхности.

. В первую очередь должны обрабатываться поверхности, которые будут служить технологической базой для последующих операций.

. Обрабатываются поверхности, с которых снимается наибольший слой металла, что, позволяет одновременно обнаруживать внутренние дефекты заготовки.

. Операций, при которых возможно появление брака из-за внутренних дефектов заготовки нужно производить на ранней стадии.

. Обработки остальных поверхностей ведется в последовательности, обработкой степени их точности, чем точнее должна быть поверхность, тем позже она обрабатывается.

. Заканчивается процесс изготовления детали обработкой поверхности, которая должна быть наиболее точной и имеет наибольшее значение для эксплуатации детали.

Также большое влияние на последовательность обработки поверхности детали оказывает характер размерной связи, который определяется системой простановки размеров на чертеже детали. В нашем случае рассматривается серийное производство.

В связи с серийным типом производства применяются универсальные станки и специальная оснастка.

Предложенный вариант технологического процесса:

1. Черновое точение - операции 10, 20;

2. Термообработка - операция 40;

3. Слесарная - операции 30,60;

4. Сверлильная - операция 50;

5. Фрезерная с ЧПУ - операция 70;

6. Шлифовальная - операция 80,90,100;

Заготовка

 

Опер. 10 Токарная                Опер. 20 Токарная

Опер. 30 Слесарная

Опер. 40 Термообработка

Опер. 50 Сверлильная

Опер. 60 Слесарная

Опер. 70 Фрезерная с ЧПУ

Опер. 80 Шлифовальная (установить на магнитный стол)

 

Опер. 90 Шлифовальная  Опер. 100 Шлифовальная

2.3 Расчет линейных технологических размеров

В данном курсовом проекте для упрощения производится расчет только длиновых линейных технологических размеров.

Расчет производится согласно теории размерных цепей. Опираясь на план технологического процесса, составляется совмещенная схема, на которой указываются обрабатываемые поверхности, конструкторские, технологические размеры и припуски на обработку.

Допуски на технологические размеры и припуски на обработку. Таблица 1.

T(L1)

0,74

T(L10)

0,22

Z40

0,05

T(L2)

0,74

0,21

Z50

0,18

T(L3)


T(L12)

0,25

Z60

0,36

T(L4)

0,74

T(18)

0,43

Z70

0,18

T(L5)

0,07

T(12)

0,43

Z90

0,05

T(L6)


T(3)

0,25

Z100

0,18

T(L7)


Z10

0,36

Z110

0,36

T(L8)

0,043

Z20

0,18



T(L9)

0,043

Z30

0,026





Далее согласно теории графов составляется размерный граф. По нему определяются расчетные уравнения: размеров и допусков. Операционные допуски назначаются на операционные размеры в зависимости от класса точности.

 
Уравнения:

1. [22]-L6=0

T(22)³T(L6)

2. [19.6]-L8=0

T(19.6)³T(L8)

3. [3.2]-L6+L7=0

T[3.2]³T(L6)+T(L7)

4. Z10+L1-Lзаг=0

ωZ10³T(L1)+T(Lзаг)

5. Z20+L3-L1=0

ωZ20³T(L1)+T(L3)

6. Z80+L5-L3=0

ωZ80³T(L5)+T(L3)

7. Z’80+L6-L5=0

ωZ10³T(L5)+T(L6)

8. Z90+L5-L3-L7+L4=0

ωZ90³T(L5)+T(L3)+T(L7)+T(L4)

9. Z100+L2-L5+L6-L8=0

ωZ100³T(L5)+T(L2)+T(L6)+T(L8)

Расчет:

из 1 ур-ия:L6=22-0,045

из 2 ур-ия:L8=19,6+0,05

из 3 ур-ия:

из 7 ур-ия:

из 6 ур-ия:

из 5 ур-ия:

из 4 ур-ия:

из 8 ур-ия:

из 9 ур-ия:

Результаты расчетов в таблице 2.

Таблица 2.


2.4 Нормирование операции механической обработки

деталь обойма агрегат технологический

В данном курсовом проекте нормируются две операции: токарная (опер. 10) и сверлильная (опер. 5).

Производится расчет режимов резания, необходимый для оптимизации производства деталей, правильного выбора станка, инструментов и приспособлений. Расчет режимов резания согласно [3,4].

Расчет штучно-калькуляционного времени производится согласно [1]. Необходимость этого расчета связана с оценкой технологического процесса со стороны производительности, себестоимости и эффективности производства.

Токарная операция

Расчет режимов резания

Учитывая отверстие в шпинделе выбираем станок с ЧПУ 16К20Ф3 N=10 кВт ([3] стр 17, табл. 9).

Материал инструмента Т15К6 ([3] стр. 116, табл. 3)

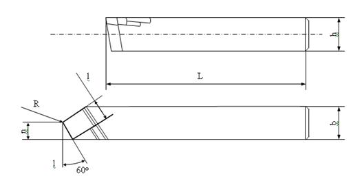
Резец токарный с углом в плане j=60о с пластиной из твердого сплава (по ГОСТ 18878-73) ([3] стр. 120, табл. 5).=16; b=10; L=100; n=4,5; l=8, R=0,5.


1.  Глубина резания t:

При черновом точении и отсутствии ограничений по мощности оборудования, жесткости системы СПИД принимается равной припуску на обработку. Для данной операции глубина резания t = 0,23 мм.

2.  Подача s:

При черновом точении принимается максимально допустимой по мощности оборудования, жесткости системы СПИД, прочности режущей пластины и прочности державки.

Подача s0 = 0,6 - 1,2 мм/об. Данное значение умножаем на поправочный коэффициент = 0,8. Нормативная подача s=s0×kS=(0,6 - 1,2)×0,8=0,42 - 0,96.

Примем s = 0,69 мм/об. ([3] стр. 266, табл. 11)

.Скорость резания v, м/мин:

При наружном продольном и поперечном точении


Среднее значение стойкости Т при одноинструментной обработке - 30-60 мин. Примем Т = 45 мин.

Сu=350=0,15=0,35=0,2

u=Kмu×Kпu×Kиu=0,45×0,8×1=0,36

([3] стр. 261, табл. 1).

КГ=1([3] стр. 262, табл. 2).u=1,75([3] стр. 262, табл. 2).пu=0,8([3] стр. 263, табл. 5).иu=1,0([3] стр. 263, табл. 6).

4.  Сила резания. Силу резания Н, принято раскладывать на составляющие силы, направленные по осям координата станка. При продольном и поперечном точении эти составляющие рассчитывают по формуле

z=10×Cp×tx×Sy×un×Kp.z=10×Cp×tx×Sy×un×Kp=10×204×0,231,0×0,690,75×830×1,34=325,4 Н.

Сp=204=1,0=0,75=0

p=Kмp×Kjp×Kgp×Klp×Krp =1,42×0,94×1,15×1×0,87=1,34

([3] стр. 264, табл. 9).jp =0,94gp =1,15lp =1,0rp =0,87

Расчет штучного времени


где - основное время на операцию, мин;

- вспомогательное время, мин;

- время обслуживания рабочего места, мин;

- время на личные потребности, мин;

- длина обрабатываемой поверхности, мм,

- число рабочих ходов;

-частота вращения инструмента или заготовки, об/мин;

- подача на один оборот, мм/об.



 ([3] стр. 605, табл. 12).


Сверлильная операция

Расчет режимов резания

1.  Глубина резания.

При сверлении глубина резания t = 0,5D.

Тогда

2.  Подача.

При сверлении отверстий без ограничивающих факторов выбираем максимально допустимую по прочности сверла подачу ([3] стр 277, табл. 25).

Примем s = 0,1 мм/об.

3.  Скорость резания.

Скорость резания, м/мин, при сверлении


Кv= КмvКиvКlv= 0,45×1,15×1=0,52.

Кмv=0,45 ([3] стр 262, табл. 3),

Киv=1,15 ([3] стр 263, табл. 6),

Кlv=1 ([3] стр 280, табл. 31).

v= 3,5 ([3] стр 278, табл. 28),

Т=15 мин ([3] стр 279, табл. 30),= 0,5 ([3] стр 278, табл. 28),=0,12 ([3] стр 278, табл. 28),=0,45 ([3] стр 278, табл. 28).

4.  Крутящий момент , Н∙м, и осевая сила , Н.

При сверлении рассчитывают по формуле


См=0,041 ([3] стр 281, табл. 32),

Ср=143 ([3] стр 281, табл. 32),

Кр=0,75 ([3] стр 264, табл. 9).

=2 ([3] стр 281, табл. 32),=0,7 ([3] стр 281, табл. 32).

=1 ([3] стр 281, табл. 32),=0,7 ([3] стр 281, табл. 32).

5.  Мощность резания, кВт.


где частота вращения инструмента или заготовки, об/мин,


Расчет штучного времени


где - основное время на операцию, мин; ([1] стр. 146)

- вспомогательное время, мин;

- время обслуживания рабочего места, мин;

- время на личные потребности, мин;

- длина обрабатываемой поверхности, мм,

- диаметр, мм;

 - кол-во отверстий.

 ([3] стр. 607, табл. 12).


Себестоимость нормы времени

Показатель

Сверление

Токарная обработка

Станкоемкость, станко-мин.

0,075

0,81

Трудоемкость, нормо-мин.

0,7055

1,595

Сменность

2

2

Разряд работы станочника

3

3

Станок

2Р118Ф2

16К20

Коэф. машино-часа

0,8

1

Годовая программа (среднесерийное произ.)

600

600

Стоимость заготовки, руб

15.5

15.5

Заработная плата станочника с начислениями (таб.21), руб

0.67*0,7055 = 0,47

0.67*1,595 = 1,068

Затраты на содержание и эксплуатацию оборудования (таб.24), руб

0,594*0,8*0,075*25 = 0,891

0,594*1*0,81*25 = 12,028

Итог: себестоимость обработки + стоимость заготовки

1,361

13,096


14,457 15.5

 

Технологическая себестоимость детали, руб

29,957

 


Стоимость заготовки:

 


 ([3] стр. 421, табл. 7),

 ([3] стр. 421, табл. 7).

ЗАКЛЮЧЕНИЕ

В данной курсовой работе разработан план технологического процесса изготовления детали - обоймы. Также произведен расчет линейных технологических размеров, режимов резания и нормирование двух операций технологического процесса: сверление и точение.

Заполнен комплект документов на технологический процесс, состоящий из маршрутной карты, карты контроля и операционных карт.

СПИСОК ЛИТЕРАТУРЫ

Горбацевич А.Ф., Шкред В.А. Курсовое проектирование по технологии машиностроения. - 4-е изд., перераб. и доп.-Мн.: Высш. Школа, 1983.

Поковки стальные штампованные: Допуски, припуски и кузнечные напуски ГОСТ 7505 - 89.

Справочник технолога-машиностроителя. Под ред. А.Г. Косиловой и Р.К. Мещерякова. - 4-е изд., перераб. и доп. - М.: Машиностроение, 1986.(2 т.)

Похожие работы на - Разработка технологического процесса изготовления детали 'обойма'

 

Не нашли материал для своей работы?
Поможем написать уникальную работу
Без плагиата!
Без нейросетей!