Механическая обработки детали 'Корпус'
Введение
Анализируемая в данной курсовой работе деталь
"Шлиц-шарнир" изготавливается на площадях НОАО "Гидромаш".
Завод "Гидромаш"- ведущее российское
предприятие по разработке, производству и испытаниям шасси, гидроцилиндров и
гидроагрегатов для всех типов летательных аппаратов. Предприятие участвует в
проектировании и изготовлении шасси и гидроагрегатов практически ко всем новым
самолетам и вертолетам: Су-30МК, Су-30МКИ, Су-35, миГ-29К, Як-130, Ан-70,
Бе-200, Ту-334, Ка-50,кА-52, Ми-28, ми-38.
В соответствии с государственным оборонным
заказом предприятие осуществляет ремонт и модернизацию самолетов российских
ВВС, доработку самолетов в войсковых частях, направленную на улучшение
конструкции и повышение эксплуатационной надежности, изготовление деталей и запчастей
к самолетам.
Завод "Гидромаш"- располагает
современной производственной базой, собственным КБ, центром технического
обслуживания и ремонта гражданских самолетов, что позволяет создавать передовую
авиационную технику, соответствующую международным требованиям.
Одним из приоритетов деятельности является
качество выпускаемой продукции. Еще в 60-е годы XX века на предприятии была
разработана и внедрена собственная система управления качеством КАНАРСПИ
(качество, надежность, ресурс, с первых изделий). В настоящее время система
менеджмента качества КАНАРСПИ сертифицирована на соответствие требованиям
стандартов:
национальных: ГОСТ Р ИСО 9001 - 2001, ГОСТ
РВ15.002-2003, ОСТ 1.02773-2004;
международных: ДИН ЕН ИСО 9001:2000,
AS9100/EN9100.
В рамках гражданских международных программ
предпрятие сотрудничает с ведущими европейскими авиастроительными компаниями в
области поставки авиакомпонентов:
"Эрбас Индастри" (Германия);
"Либхерр Аэроспейс" (Германия);
"Месье Даути" (Италия).
1. Общая характеристика объекта выпускной работы
На основании технологического процесса
механической обработки детали "Шлиц-шарнир" оцениваем тип
производства изготовления данной. Основными признаками для этой оценки
принимаем информацию о применяемом технологическом оборудовании, приспособлениях,
режущем и мерительном инструменте.
Анализируя данные технологического процесса
механической обработки детали "Шлиц-шарнир" можно отметить:
используемое технологическое оборудование на
операциях механической обработки является станки с ЧПУ и универсальные, с
обработкой по программе и применением элементарной настройки;
применяемая технологическая оснастка в основном
является специализированной;
используемые режущие и мерительные инструменты
по большей части относятся к универсальным.
Исходя из всего вышеперечисленного, можно
сделать заключение о том, что тип производства детали "Шлиц-шарнир" -
крупносерийный.
.1 Служебное назначение детали
Деталь "Шлиц-шарнир" входит в узел
"Гильза-поршень-колесо". Необходима данная деталь для того, чтобы колесо
не проворачивало. В процессе своей эксплуатации она подвергается воздействию
агрессивных сред, о чем свидетельствует наличие защитного покрытия на чертеже
детали.
Рассматриваемая деталь по своей геометрической
форме, а также сочетанию элементарных поверхностей относится детали типа
корпус.
Анализируя чертеж детали можно выделить
следующие основные ВЦП (внутренние цилиндрические поверхности):
Ø60Н7,
Ø35Н7,
Ø8,995Н7.
Основные поверхности, имеющие решающее значение
для выполнения деталью своего служебного и функционального назначения
перечислены выше. Эти же поверхности являются основными конструкторскими базами
данной детали.
К не основным поверхностям детали относятся
фаски, а также канавки и малые радиусы.
.2 Анализ технологичности детали
Под технологичностью детали понимается придание
ей такой формы и выбор для нее таких материалов, которые обеспечивали бы при
высоком качестве детали наиболее полное и экономичное изготовление.
Оценивая технологичность геометрической формы
детали "Шлиц-шарнир" можно выделить следующие нетехнологичные
элементы: сложность обработки и труднодоступность измерения внутренних
поверхностей детали; невозможность обработки детали за один установ; наличие
отверстий, поверхности ввода/вывода инструмента которых не перпендикулярны оси
отверстия Ø8,995Н7 мм, Ø8D9
мм; а так же сложность изготовления канавки №75.
Приведенные выше нетехнологичные элементы
обуславливаются конструктивными особенностями детали и условий ее эксплуатации,
поэтому их изменение весьма затруднительно.
.3 Анализ применяемой в технологическом процессе
заготовки
Заготовкой детали "Шлиц-шарнир" в
рассматриваемом технологическом процессе служит штамповка. Данный вид заготовки
получают методом свободной ковки металла. Точность поковки ориентировочно
соответствует 12-14 квалитету.
Оценивая технологичность заготовки можно
отметить высокий коэффициент использования металла, что в условиях
крупносерийного производства является экономически выгодным и принимая во
внимание геометрическую форму и размеры готовой детали (согласно исходному
чертежу), иной вид и метод получения заготовки будет значительно менее
эффективен ввиду значительной трудоемкости и себестоимости изготовления модели
в случае литья или пресс-формы в случае штамповки.
2. Нормоконтроль чертежа детали
Нормоконтроль чертежа детали выполняем согласно
ГОСТ 2.111-68.
Деталь с номерами поверхностей представлена на
рисунке 3.1
Рисунок 2.1 Деталь с номерами поверхностей.
.1 Соблюдение рядов предпочтительности для
линейных и угловых размеров
Ряды нормальных линейных размеров установлены на
основе рядов предпочтительности чисел по ГОСТ 6636-90. Проверка соответствия
размеров на чертеже ряду нормальных линейных размеров представлена в таблице
2.1.
Таблица 2.1. - Соблюдение рядов
предпочтительности детали "Шлиц-шарнир"
|
Размер
|
Соответствие
рядам предпочтительности
|
По
стандарту
|
|
150
|
Ra 40
|
|
|
334
|
не
соответствует
|
340
|
|
35,5
|
не
соответствует
|
36
|
|
33
|
не
соответствует
|
32
|
|
60
|
Ra 40
|
|
|
147
|
не
соответствует
|
150
|
|
29
|
не
соответствует
|
30
|
|
1
|
Ra 5
|
|
|
0,5
|
Ra 10
|
|
|
78
|
не
соответствует
|
80
|
|
45
|
Ra 20
|
|
|
35
|
не
соответствует
|
36
|
|
39
|
не
соответствует
|
40
|
|
51
|
не
соответствует
|
50
|
|
9,8
|
не
соответствует
|
9,5
|
|
0,2
|
Ra 10
|
|
|
16,2
|
не
соответствует
|
16
|
|
8
|
Ra 10
|
|
|
149,88
|
не
соответствует
|
150
|
|
3
|
Ra 40
|
|
|
8,8
|
не
соответствует
|
8,5
|
|
2
|
Ra 10
|
|
|
9
|
Ra 20
|
|
|
0,5
|
Ra 10
|
|
|
15,99
|
не
соответствует
|
16
|
|
4,5
|
Ra 20
|
|
|
14,74
|
не
соответствует
|
15
|
|
54,96
|
не
соответствует
|
55
|
|
19,98
|
не
соответствует
|
20
|
|
14,99
|
не
соответствует
|
15
|
|
7,99
|
не
соответствует
|
8
|
Вывод: Не все размеры детали соответствуют
стандартным размерам по рядам предпочтительности. Но, учитывая, что деталь
является частью сборочной единицы в серийном производстве это допустимо. Ряд
Rа80 является дополнительным рядом предпочтительности чисел и может быть
использован в технически и экономически обоснованных случаях..
.2 Анализ обозначения точности и шероховатости
Результаты анализа обозначения точности и
шероховатости сведены в таблицы 2.2 и 2.3
Таблица 2.2
- Нормоконтроль полей допусков
|
Размер
|
Соответствие
рядам предпочтительности
|
По
стандарту
|
|
|
не
соответствует
|
334js11( 0,18)
|
|
Ø60Н7
|
не
соответствует
|
Ø60Н7
|
|
147 0,1
|
соответствует
|
147js9( 0,1)
|
|
R1 0,2
|
не
соответствует
|
R1js13( 0,14)
|
|
Ø35H7
|
не
соответствует
|
Ø35Н7
|
|
39 0,1
|
не
соответствует
|
39js10( 0,1)
|
|
|
не
соответствует
|
0,2h14( )
|
|
|
не
соответствует
|
R0,2h14( )
|
|
Ø3 0,2
|
не
соответствует
|
Ø
3js13( 0,14)
|
|
Ø8,8
|
не
соответствует
|
Ø8,8Н7
|
|
R2 0,2
|
не
соответствует
|
R2js13( 0,14)
|
|
9 0,2
|
не
соответствует
|
9js13( 0,22)
|
|
0,5 0,1
|
не
соответствует
|
0,5js13( 0,14)
|
|
R1 0,2
|
не
соответствует
|
R1js13( 0,14)
|
|
15,99
0,2
|
не
соответствует
|
15,99js12( 0,18)
|
|
4,5
0,1
|
не
соответствует
|
4,5js12( 0,12)
|
|
R19,98 0,5
|
не
соответствует
|
R19,88js14( 0,52)
|
|
R14,99 0,5
|
не
соответствует
|
R14,99js14( 0,43)
|
Таблица 2.3
- Нормоконтроль шероховатости
|
Значение
шероховатости
|
Значение
по ГОСТу
|
|
Ø60Н7
Ra 1.6
|
Ø60Н7
Ra 0.8
|
|
Ø35H7
Ra 1.6
|
Ø35H7
Ra 0.8
|
|
Ø3 0,2 Ra 6.3
|
Ø3 0,2 Ra12.5
|
|
Ø8,8 Ra 1.6
|
Ø8,8 Ra 0.8
|
Вывод: Не все поля допусков шероховатости детали
соответствуют стандартным размерам по ГОСТу.
механический деталь шлиц шарнир
3. Анализ технологического процесса обработки
детали
.1 Маршрутная технология
Анализ маршрутного технологического процесса
начинаем с выявления структур операций. Для облегчения ссылок на чертеж детали
на последнюю вычерчиваем эскиз (см. рисунок 3.1) с обозначениями обрабатываемых
поверхностей.
Маршрутная карта технологического процесса
Наименование детали Шлиц-шарнир
Чертеж № 2821-0310 В02 Материал детали E35NCD16H
Вид заготовки штамповка
Таблица 3.1 - Технологический процесс обработки
детали "Шлиц-шарнир"
|
№
операции
|
Наименование
и краткое содержание операции
|
Тип
оборудования
|
Приспособление
|
Базы
|
|
1
|
2
|
3
|
4
|
5
|
|
018
|
Фрезерная
(11-19,86,87)
|
ВФ-2
|
тиски
|
|
|
032
|
Расточная
(25,38,60,64)
|
ИС-800
|
спец.приспособление
№ 63215-5218
|
|
|
035
|
Расточная
(26,35)
|
ИС-800
|
спец.приспособление
№ 63215-5218
|
|
|
045
|
Фрезерная
(22,45,46,62,36)
|
FCQV-63
|
спец.приспособление
№ 63215-5218
|
60,64
|
|
050
|
Фрезерная
(29-34)
|
FCQV-63
|
спец.приспособление
№ 63215-5180
|
60,64
|
|
055
|
Фрезерная
(1-6,86,87)
|
FCQV-63
|
спец.приспособление
№ 63215-5180
|
60,64
|
|
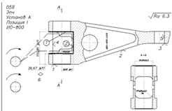
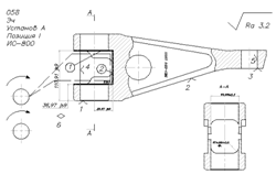
058
|
Фрезерная
(8,9,10)
|
ИС-800
|
спец.приспособление
№ 63215-5183
|
60,64
|
|
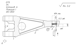
075
|
Расточная
(75)
|
ИС-800
|
спец.приспособление
№ 63215-5183
|
60,64,26,35
|
|
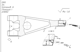
080
|
Расточная
(36,77,79)
|
ИС-800
|
спец.приспособление
№ 63215-5183
|
60,26,35
|
|
125
|
Расточная
(79)
|
координатно-расточной
2А450
|
спец.приспособление
№ 63020-4558
|
|
|
130
|
Расточная
(38,60,64,27,28,43,61,62)
|
ИС-800
|
спец.приспособление
№ 63030-1207
|
60,64
|
|
135
|
Расточная
(20)
|
ИС-800
|
спец.приспособление
№ 63030-1212
|
60,64
|
Вывод: Не на все операции для обработки основных
поверхностей поставлены базы.
Применяемое оборудование
Производим анализ применяемого технологического
оборудования на каждой операции, эти данные представлены в таблице 3.2.
Таблица 3.2. Анализ применяемого
технологического оборудования.
|
Наименование
оборудования и модель станка
|
Соответствие
принятому типу производства
|
Использование
по основному назначению
|
Полнота
использования технологических возможностей
|
Применение
рационального метода достижения точности
|
Соотношение
времени выполнения каждой операции
|
|
1
|
2
|
3
|
4
|
5
|
6
|
|
Оп.
018 Фрезерный ВФ-2
|
+
|
+
|
-
|
Автоматический
|
|
|
Оп.
032 Обрабатывающий центр ИС-800
|
+
|
+
|
-
|
Автоматический
|
|
|
Оп.
035 Обрабатывающий центр ИС-800
|
+
|
+
|
-
|
Автоматический
|
|
|
Оп.
045 Фрезерный FCQV-63
|
+
|
+
|
+
|
Автоматический
|
|
|
Оп.
050 Фрезерный FCQV-63
|
+
|
+
|
+
|
Автоматический
|
|
|
Оп.
055 Фрезерный FCQV-63
|
+
|
+
|
+
|
Автоматический
|
|
|
Оп.
058 Обрабатывающий центр ИС-800
|
+
|
-
|
-
|
Автоматический
|
|
|
Оп.
075 Обрабатывающий центр ИС-800
|
+
|
+
|
-
|
Автоматический
|
|
|
Оп.
080 Обрабатывающий центр ИС-800
|
+
|
+
|
-
|
Автоматический
|
|
|
Оп.125
Координатно-расточной 2А450
|
+
|
+
|
+
|
Автоматический
|
|
|
Оп.130
Обрабатывающий центр ИС-800
|
+
|
+
|
-
|
Автоматический
|
|
|
Оп.
135 Обрабатывающий центр ИС-800
|
+
|
+
|
-
|
|
В таблице 3.2 были приняты следующие условные
обозначения:
"+" соответствие анализируемому
критерию;
"-" несоответствие анализируемому
критерию.
Анализируя приведенные в таблице 6.2 данные
можно сделать следующие выводы:
используемое оборудование всех на операциях
соответствует принятому типу производства;
на операции 058 технологическое оборудование
используется не по своему основному функциональному назначению, на других
операциях это не прослеживается;
полнота использования технологических
возможностей на операциях 018, 032, 035, 058, 075, 080, 130, 135 не
соответствует.
Рабочие приспособления
Выполняем анализ применяемых рабочих
приспособлений для установки и закрепления детали на станках при выполнении
техпроцесса. Данные анализа приведены в таблице 3.3.
Таблица 3.3. Анализ применяемых рабочих
приспособлений.
|
№
операции
|
Наименование
приспособления
|
Вид
приспособления
|
Соответствие
принятому типу производства
|
Уровень
механизации и автоматизации
|
|
018
|
тиски
|
Универсальное
|
+
|
Ручное
|
|
032
|
спец.приспособление
№ 63215-5218,
оправка
|
Специализированное
|
+
|
Ручное
|
|
035
|
спец.приспособление
№ 63215-5218
|
Специализированное
|
+
|
Ручное
|
|
045
|
спец.приспособление
№ 63215-5218
|
Специализированное
|
+
|
Ручное
|
|
050
|
спец.приспособление
№ 63215-5180, пальцы к УСП 63789-5658
|
Специализированное
|
+
|
Ручное
|
|
055
|
спец.приспособление
№ 63215-5180
|
Специализированное
|
+
|
Ручное
|
|
058
|
спец.приспособление
№ 63215-5183
|
Специализированное
|
+
|
Ручное
|
|
075
|
спец.приспособление
№ 63215-5183
|
Специализированное
|
+
|
Ручное
|
|
080
|
спец.приспособление
№ 63215-5183
|
Специализированное
|
+
|
Ручное
|
|
125
|
спец.приспособление
№ 63020-4558, патрон плавающий GFIMT3ER32
|
Специализированное
|
+
|
Ручное
|
|
130
|
спец.приспособление
№ 63030-1207,
цанга
|
Специализированное
|
+
|
Ручное
|
|
135
|
спец.приспособление
№ 63030-1212
|
Специализированное
|
+
|
Ручное
|
В таблице 3.3 были приняты следующие условные
обозначения:
"+" соответствие анализируемому
критерию;
"-" несоответствие анализируемому
критерию.
Согласно приведенным в таблице 3.3 данным
очевидно, что:
в технологическом процессе используют как
универсальные, так и специализированные приспособления;
применяемые приспособления соответствуют
принятому типу производства;
приспособления имеют механизированное,
механизировано-ручное и ручное закрепление детали при выполнении
технологических операций.
.2 Операционная технология
Основными задачами анализа операционной
технологии являются: выявление схем обработки на всех позициях детали, анализ
технологических переходов, установление этапов обработки основных поверхностей,
анализ элементов режимов резания на основных этапах обработки, выявление этапов
обработки детали и анализ структуры выполнения операции.
Анализ операционной технологии производим по
операционным картам. Основными объектами анализа являются схемы обработки на
каждой технологической операции.
Схемы обработки
Анализ схем обработки выполняем для каждой
операции. Основными признаками рациональности применяемой схемы обработки
являются:
отсутствие ошибки базирования для выполняемых
размеров, что характеризует правильность простановки операционных размеров;
наибольшая предпочтительность схемы обработки по
точности и доступности для обработки режущим инструментом;
максимальная жесткость технологической системы,
определяемая наименьшим вылетом обрабатываемой детали и режущего инструмента, а
также наименьшим расстоянием до точки приложения действующей силы резания;
рациональная концентрация режущих инструментов в
позиции (установе).
Анализ схемы обработки:
отсутствие на данной операции для данного
оборудования понятия технологической позиции;
отсутствие на данной операции схемы установки и
базирования;
неправильный порядок простановки обрабатываемых
поверхностей;
наличие избыточного количества размеров;
отсутствие изображения типа режущего
инструмента;
неполнота использования технологических возможностей
станка;
неправильная простановка линейных размеров, а
как следствие наличие погрешности базирования.
Операция 032
Операция 035
Анализ схемы обработки:
отсутствие на данной операции для данного
оборудования понятия технологической позиции;
наличие избыточного количества размеров;
отсутствие изображения типа режущего
инструмента;
неправильный порядок простановки обрабатываемых
поверхностей;
неполнота использования технологических
возможностей станка;
неправильная простановка линейных размеров, а
как следствие наличие погрешности базирования.
Анализ схемы обработки:
отсутствие на данной операции для данного
оборудования понятия технологической позиции;
наличие избыточного количества размеров;
отсутствие изображения типа режущего
инструмента;
неполнота использования технологических
возможностей станка;
неправильный порядок простановки обрабатываемых
поверхностей;
неправильная простановка линейных размеров, а
как следствие наличие погрешности базирования.
Анализ схемы обработки:
отсутствие на данной операции для данного
оборудования понятия технологической позиции;
отсутствие изображения типа режущего
инструмента;
неполнота использования технологических
возможностей станка;
отсутствие на данной операции схемы установки и
базирования;
неправильный порядок простановки обрабатываемых
поверхностей;
не указаны жирным цветом обрабатываемые
поверхности;
неправильная простановка линейных размеров, а как
следствие наличие погрешности базирования.
Анализ схемы обработки:
- отсутствие на данной операции для данного
оборудования понятия технологической позиции;
отсутствие изображения типа режущего
инструмента;
неполнота использования технологических
возможностей станка;
отсутствие простановки обрабатываемых
поверхностей;
не указаны жирным цветом обрабатываемые
поверхности;
неправильная простановка линейных размеров, а
как следствие наличие погрешности базирования.
Анализ схемы обработки:
отсутствие на данной операции для данного
оборудования понятия технологической позиции;
отсутствие изображения типа режущего
инструмента;
неправильный порядок простановки обрабатываемых
поверхностей;
неполнота использования технологических
возможностей станка;
неправильная простановка линейных размеров, а
как следствие наличие погрешности базирования.
Анализ схем обработки:
отсутствие на данной операции для данного
оборудования понятия технологической позиции;
отсутствие простановки обрабатываемых
поверхностей;
не указаны жирным цветом обрабатываемые
поверхности;
отсутствие изображения типа режущего
инструмента.
Анализ схемы обработки:
- отсутствие на данной операции для данного
оборудования понятия технологической позиции;
отсутствие простановки обрабатываемых
поверхностей;
не указаны жирным цветом обрабатываемые
поверхности;
отсутствие изображения типа режущего
инструмента.
C учетом этих
замечаний были созданы новые эскизы обработки деталей. Анализ схем обработки
выполняем для каждой операции.
Анализ технологических переходов
Производим анализ технологических переходов по
обработке основных поверхностей детали. Основной целью данного анализа является
установление количества основных этапов обработки заданной детали, точностных и
качественных характеристик обрабатываемых поверхностей в каждом этапе, а также
установление тенденции изменения значений элементов режима резания от этапа к
этапу.
План обработки конкретной поверхности
определяется по технологическому процессу как совокупность технологических
переходов ее обработки до получения заданной точности и требуемого качества по
чертежу детали.
Для наглядного представления планов обработки
основных поверхностей детали с основными характеристиками технологических
переходов формируем таблицу 3.4.
Таблица 3.4.
Планы обработки поверхностей детали
|
№
поверхности
|
Обозначение
поверхности
|
Размеры
и точность поверхности
|
Ra, мкм
|
ТРАС,
мм
|
План
обработки поверхности
|
Характеристика
переходов
|
|
|
|
|
|
|
Размер
и точность
|
Ra, мкм
|
ТРАС,
мм
|
Припуск
Z, мм
|
Вид
обработки
|
|
1
|
ТП
|
|
3,2
|
0,05
|
Фрезерование
|
|
6,3
|
|
2
|
Черновая
|
|
|
|
|
|
|
|
3,2
|
0,05
|
0,5
|
Чистовая
|
|
2
|
ВЦП
|
|
1,6
|
0,05
|
Сверление
|
|
12,5
|
|
4
|
Черновая
|
|
|
|
|
|
Рассверливание
|
|
6,3
|
|
3
|
Получистовая
|
|
|
|
|
|
Растачивание
|
|
3,2
|
|
0,5
|
Чистовая
|
|
|
|
|
|
Зенкерование
|
59,8
|
1,6
|
|
0,1
|
Повышенной
точности
|
|
|
|
|
|
Растачивание
|
|
1,6
|
0,05
|
0,1
|
Повышенной
точности
|
|
3
|
ВЦП
|
|
1,6
|
0,05
|
Сверление
|
|
12,5
|
|
4
|
Черновая
|
|
|
|
|
|
Растачивание
|
|
6,3
|
|
3
|
Получистовая
|
|
|
|
|
|
Зенкерование
|
|
3,2
|
|
0,4
|
Чистовая
|
|
|
|
|
|
Растачивание
|
|
1,6
|
0,05
|
0,1
|
Повышенной
точности
|
|
4
|
НЦП
|
R44.26
|
3,2
|
|
Фрезерование
|
|
6,3
|
|
1
|
Черновая
|
|
|
|
|
|
|
R44.26
|
3,2
|
|
0,5
|
Чистовая
|
|
5
|
НЦП
|
R25.98
|
3,2
|
|
Фрезерование
|
|
6,3
|
|
1
|
Черновая
|
|
|
|
|
|
|
R25.98
|
3,2
|
|
0,5
|
Чистовая
|
|
6
|
НФП
|
R19.98
|
3,2
|
|
Фрезерование
|
|
6,3
|
|
1
|
Черновая
|
|
|
|
|
|
|
R19.98
|
3,2
|
|
0,5
|
Чистовая
|
|
7
|
НФП
|
R8.99
|
3,2
|
|
Фрезерование
|
|
6,3
|
|
1
|
Черновая
|
|
|
|
|
|
|
R8.99
|
3,2
|
|
0,5
|
Чистовая
|
|
8
|
НФП
|
R35.97
|
3,2
|
|
Фрезерование
|
|
6,3
|
|
1
|
Черновая
|
|
|
|
|
|
|
R35.97
|
3,2
|
|
0,5
|
Чистовая
|
|
9
|
НТП
|
|
3,2
|
|
Фрезерование
|
|
6,3
|
|
1
|
Черновая
|
|
|
|
|
|
|
|
3,2
|
|
0,5
|
Чистовая
|
|
10
|
НТП
|
73,94 5
|
3,2
|
|
Фрезерование
|
|
6,3
|
|
1
|
Черновая
|
|
|
|
|
|
|
73,94 5
|
3,2
|
|
0,5
|
Чистовая
|
|
11
|
НФП
|
|
3,2
|
|
Фрезерование
|
|
6,3
|
|
1
|
|
|
|
|
|
|
|
3,2
|
|
0,5
|
Чистовая
|
|
12
|
НФП
|
R74,95
|
3,2
|
|
Фрезерование
|
|
6,3
|
|
1
|
Черновая
|
|
|
|
|
|
|
R74,95
|
3,2
|
|
0,5
|
Чистовая
|
|
13
|
ВФП
|
|
3,2
|
|
Фрезерование
|
|
6,3
|
|
1
|
Черновая
|
|
|
|
|
|
|
|
3,2
|
|
0,5
|
Чистовая
|
|
14
|
ВЦП
|
|
3,2
|
|
Сверление
|
|
12,5
|
|
4
|
Черновая
|
|
|
|
|
|
Расфрезерование
|
|
12,5
|
|
4
|
Черновая
|
|
|
|
|
|
Рассверливание
|
|
12,5
|
|
3
|
Черновая
|
|
|
|
|
|
Зенкерование
|
|
6,3
|
|
1
|
Получистовая
|
|
|
|
|
|
Развертывание
|
|
3,2
|
|
0,5
|
Чистовая
|
|
15
|
НФП
|
R149,88 9,99
|
3,2
|
|
Фрезерование
|
|
6,3
|
|
1
|
Черновая
|
|
|
|
|
|
|
R149,88 9,99
|
3,2
|
|
0,5
|
Чистовая
|
|
16
|
ВЦП
|
|
3,2
|
|
Растачивание
|
|
3,2
|
|
0,7
|
Чистовая
|
|
17
|
ВЦП
|
|
0,8
|
|
Центровка
|
|
12,5
|
|
|
Черновая
|
|
|
|
|
|
Сверление
|
|
6,3
|
|
1
|
Черновая
|
|
|
|
|
|
Зенкерование
|
|
3,2
|
|
0,4
|
Получистовая
|
|
|
|
|
|
Развертывание
|
|
0,8
|
|
0,1
|
Повышенной
точности
|
|
|
|
|
|
|
|
0,8
|
|
0,1
|
Повышенной
точности
|
|
18
|
ВЦП
|
|
3,2
|
|
Сверление
|
|
3,2
|
|
0,5
|
Чистовая
|
|
19
|
ТП
|
|
3,2
|
|
Цекование
|
|
3,2
|
|
0,5
|
Чистовая
|
|
20
|
ТП
|
|
3,2
|
|
Цекование
|
|
3,2
|
|
0,5
|
Чистовая
|
|
21
|
ВЦП
|
|
3,2
|
0,15
|
Центровка
|
|
6,3
|
|
|
Черновая
|
|
|
|
|
|
Сверление
|
|
3,2
|
0,15
|
|
Чистовая
|
|
22
|
ВЦП
|
|
3,2
|
|
Центровка
|
|
12,5
|
|
6
|
Черновая
|
|
|
|
|
|
Сверление
|
|
6,3
|
|
0,9
|
Получистовая
|
|
|
|
|
|
Развертывание
|
|
3,2
|
|
0,1
|
Чистовая
|
Этапы обработки основных поверхностей
Анализ этапов обработки поверхностей производим
на основании планов обработки элементарных поверхностей приведенных в таблице
3.5.
Учитывая, что каждый технологический переход
является представителем определенного этапа обработки, то по виду обработки
перехода однозначно выбирается этап. Переходы распределяем по видам
обрабатываемых поверхностей. Для каждого вида поверхности выделяем этапы
обработки.
Для каждого этапа обработки в соответствии с
таблицей 3.5 выявляем характеристики обрабатываемых в нем поверхностей:
размеры, точность, шероховатость, припуск. Результаты анализа сводим в таблицу
3.5.
Таблица 3.5. Этапы обработки поверхностей детали
и их характеристика
|
Вид
поверхности
|
Этапы
и методы обработки
|
Размеры,mмм
|
Точность,
IT
|
Обозначение
поверхности Ra, мкм
|
Точность
расположения Трасп, мм
|
Припуск
Z, мм
|
|
ТП
|
Черновая
Фрезерование
|
Lусл=9…78
|
13…12
|
12,5..6,3
|
0,15…0,17
|
3…17,5
|
|
Чистовая
Фрезерование
|
|
10…9
|
3,2…1,6
|
0,037…0,043
|
0,5…1
|
|
Чистовая
Цекование
|
|
10…9
|
3,2…1,6
|
0,037…0,043
|
0,5…1
|
|
ВЦП
|
Черновая
Центровка Сверление Цекование
|
Ø8…Ø60
|
13…12
|
12,5..6,3
|
0,06…0,17
|
1…39
|
|
Получистовая
Растачивание Рассверливание Зенкерование
|
|
11…12
|
6,3…3,2
|
0,032…0,11
|
2,5…3,5
|
|
Чистовая
Сверление Растачивание Зенкерование Развертывание
|
|
10…9
|
3,2…1,6
|
0,015…0,043
|
0,5…5
|
|
Повышенной
точности Зенкерование Развертывание
|
|
9…7
|
1,6…0,8
|
0,009…0,027
|
0,5
|
|
НЦП
|
Черновая
Фрезерование
|
R25.98… R44.36
|
13…12
|
12,5..6,3
|
0,06…0,17
|
2,25…39
|
|
Чистовая
Фрезерование
|
|
10…9
|
3,2…1,6
|
0,015…0,043
|
0,5
|
|
НФП
|
Черновая
Фрезерование
|
R8.99… R149.99
|
13…12
|
12,5..6,3
|
0,10
|
1
|
|
Чистовая
Фрезерование
|
|
10…9
|
3,2…1,6
|
0,026
|
0.5
|
|
ВФП
|
Черновая Фрезерование
|
|
13…12
|
12,5..6,3
|
0,12…0,17
|
2…10
|
|
Чистовая Фрезерование
|
|
10…9
|
3,2…1,6
|
0,031…0,043
|
0,25..1,5
|
Анализируя данные таблицы 3.5 можно сделать
выводы:
о наличии всех нормативных этапов при обработке
всех видов поверхностей;
о изменении точности и шероховатости при
выполнении нормативных этапов обработки;
о изменении припуска на обработку при выполнении
нормативных этапов обработки.
Анализ элементов режимов резания на основных
этапах обработки
Целью анализа элементов режима резания является
выявление тенденций их изменения от этапа к этапу. Эти тенденции
рассматриваются для определенных: вида поверхности, метода, способа обработки,
материала режущей части инструмента. Установлено, что тенденции изменения t,
S и V
имеют закономерный характер.
В данном технологическом процессе режимы резания
не указаны, с целью сохранения коммерческой тайны предприятия.
Этапы обработки детали
Установление этапов обработки детали
производится в соответствии с выявленными этапами обработки различных видов
поверхностей. По данным таблицы 6.6 устанавливаются основные этапы обработки
таким образом, чтобы одноименные этапы обработки различных поверхностей
выполнялись в одном этапе обработки детали.
С учетом общего анализа операций
технологического процесса, проведенного в п.4.1.4, действующий маршрут
обработки детали рассматриваем с точки зрения реализации различных этапов
обработки для каждой операции. С этой целью маршрут обработки записываем в
таблице 3.6 с указанием для каждого установа и позиции выполняемого этапа
обработки.
Таблица 3.6.
Маршрут обработки детали.
|
№
операции
|
Наименование
операции и краткое содержание
|
Тип
оборудования
|
Этап
обработки
|
Реализуемая
точность
|
|
018
|
Фрезерная
Установ А Позиция I
|
ВФ-2
|
Эпч
|
IT11
|
|
032
|
Расточная
Установ А Позиция I
|
ИС-800
|
Эч
|
IT10 IT9
|
|
035
|
Расточная
Установ А Позиция I
|
ИС-800
|
Эч
|
IT10
|
|
045
|
Фрезерная
Установ А Позиция I Установ Б Позиция I
|
FCQV-63
|
Эпч
Эч
|
IT11 IT10 IT11 IT10
|
|
050
|
Фрезерная
Установ А Позиция I Установ Б Позиция I
|
FCQV-63
|
Эпч
Эч
|
IT11 IT10 IT11 IT10
|
|
055
|
Фрезерная
Установ А Позиция I Установ Б Позиция I
|
FCQV-63
|
Эпч
Эч
|
IT11 IT10 IT11 IT10
|
|
058
|
Фрезерная
Установ А Позиция I
|
ИС-800
|
Эпч
Эч
|
IT11 IT9
|
|
075
|
Расточная
Установ А Позиция I
|
ИС-800
|
Эч
|
IT9
|
|
080
|
Расточная
Установ А Позиция I
|
ИС-800
|
Эчр
Эпч Эч Эп
|
IT12 IT11 IT10 IT8 IT7
|
|
125
|
Расточная
Установ А Позиция I
|
координатно-расточной
2А450
|
Эп
|
IT7
|
|
130
|
Расточная
Установ А Позиция I
|
ИС-800
|
Эч
Эп Эч Эп Эч
|
IT9 IT7 IT9 IT7 IT9
|
|
135
|
Расточная
Установ А Позиция I
|
ИС-800
|
Эчр
Эпч Эч
|
IT12 IT11 IT9
|
Анализируя таблицу 4.6
видно:
присутствие в технологическом процессе нарушения
этапности обработки;
выполнение на операции 080 сразу трех этапов
обработки, что в свою очередь является экономически нецелесообразным;
выделение в отдельные операции обработку не
основных поверхностей детали, что приводит к неэффективному использованию
имеющегося технологического оборудования.
4. Анализ технологического оснащения
В данном пункте пояснительной записки проводим
общий анализ используемых режущих инструментов, измерительных устройств и
приспособлений, рабочего приспособления на одну из операций технологического
процесса.
.1 Анализ технологических характеристик
применяемого оборудования
На основании информации, приведенной в
технологической документации, составляем перечень применяемого оборудования и
представляем в таблице 4.1 технологические характеристики.
Таблица 4.1. Технологические характеристики
применяемого технологического оборудования.
|
№
операции
|
Технологические
характеристики
|
|
Наименование
оборудования и модель станка
|
Точность
станка
|
Схема
установки
|
Кол-во
установов/ позиций/ переходов
|
Тип
режущего инструмента
|
|
1
|
2
|
3
|
4
|
5
|
6
|
|
018
|
Вертикально
фрезерный ВФ-2
|
тиски
|
1/1/1
|
Фреза
концевая
|
|
032
|
Обрабатывающий
центр ИС-800
|
П
|
спец.приспособление
№ 63215-5218
|
1/1/11
|
Фреза,
резец расточной, сверло
|
|
035
|
Обрабатывающий
центр ИС-800
|
П
|
спец.приспособление
№ 63215-5218
|
1/1/1
|
Фреза
|
|
045
|
Фрезерный
FCQV-63
|
П
|
спец.приспособление
№ 63215-5218
|
2/2/7
|
Фреза
концевая, фреза на фаску
|
|
050
|
Фрезерный
FCQV-63
|
П
|
спец.приспособление
№ 63215-5180
|
2/2/9
|
Фреза
концевая, сверло, зенкер, развертка
|
|
055
|
Фрезерный
FCQV-63
|
П
|
спец.приспособление
№ 63215-5180
|
2/2/2
|
Фреза
концевая
|
|
058
|
Обрабатывающий
центр ИС-800
|
П
|
спец.приспособление
№ 63215-5183
|
1/1/2
|
Фреза
концевая
|
|
075
|
Обрабатывающий
центр ИС-800
|
П
|
спец.приспособление
№ 63215-5183
|
1/1/2
|
Резец,
фреза грибковая
|
|
080
|
Обрабатывающий
центр ИС-800
|
П
|
спец.приспособление
№ 63215-5183
|
1/1/5
|
Фреза
концевая, сверло центровочное, сверло, зенкер, развертка
|
|
125
|
Координатно-расточной
2А450
|
П
|
спец.приспособление
№ 63020-4558
|
1/1/2
|
Развертка
|
|
130
|
Обрабатывающий
центр ИС-800
|
П
|
спец.приспособление
№ 63030-1207
|
1/1/14
|
Зенкер,
фреза для фаски, сверло
|
|
135
|
Обрабатывающий
центр ИС-800
|
П
|
спец.приспособление
№ 63030-1212
|
1/1/13
|
Сверло,
развертка, центровочное сверло
|
Анализируя таблицу 4.1
можно отметить:
- рационально использование станка в
соответствии с его точностью на всех операциях;
применение на станках типовых схем обработки
детали.
4.2 Применяемые станочные, специальные
измерительные приспособления и устройства для закрепления режущего инструмента
Выполняем общий анализ технологической оснастки,
используемой в технологическом процессе обработки детали, для реализации каждой
операции, и проводим конструктивный анализ одного из видов технологической
оснастки, применяемой для выполнения технологической операции. На основании
информации, приведенной в технологической документации, составляем перечень
применяемой технологической оснастки на каждой операции в таблице 4.2.
Таблица 4.2. Технологическая оснастка, применяемая
в технологическом процессе по операциям.
|
№
п/п
|
Наименование
приспособления
|
Обрабатываемый
размер и его точность
|
Применяемая
операция
|
Примечание
|
|
1
|
тиски
|
37 0,1
|
018
|
Получистовая
|
|
2
|
спец.приспособление
№ 63215-5218, оправка
|
43,5 0,1
|
032
|
Чистовая
|
|
|
50 56 58 59
|
|
Черновая
Получистовая Чистовая Повышенной точности
|
|
|
35,47 0,1
|
|
Чистовая
|
|
|
31,5Н12 34
|
|
Черновая
Чистовая
|
|
3
|
спец.приспособление
№ 63215-5218
|
40,47 0,1
|
035
|
Получистовая
|
|
|
147,88 0,1
|
|
Получистовая
|
|
|
R44.26
|
045
|
Черновая/Чистовая
|
|
|
R25.98
|
|
Черновая/Чистовая
|
|
|
R19.98
|
|
Черновая/Чистовая
|
|
|
R8.99
|
|
Черновая/Чистовая
|
|
|
R35.97
|
|
Черновая/Чистовая
|
|
4
|
спец.приспособление
№ 63215-5180, пальцы к УСП 63789-5658
|
|
050
|
Черновая/Чистовая
|
|
|
R74,95
|
|
Черновая/Чистовая
|
|
|
|
|
Черновая/Чистовая
|
|
|
32,5 50
|
|
Черновая
Черновая Чистовая
|
|
5
|
спец.приспособление
№ 63215-5180
|
|
055
|
Черновая/Чистовая
|
|
|
|
|
Черновая/Чистовая
|
|
6
|
спец.приспособление
№ 63215-5183
|
73,94
|
058
|
Черновая/Чистовая
|
|
|
39,97
0,3
|
|
Черновая/Чистовая
|
|
|
|
075
|
Чистовая
|
|
|
|
080
|
Черновая
|
|
|
|
|
Получистовая
|
|
|
|
|
Повышенной
точности
|
|
|
|
|
Чистовая
|
|
7
|
спец.приспособление
№ 63020-4558, патрон плавающий GFIMT3ER32
|
|
125
|
Повышенной
точности
|
|
8
|
спец.приспособление
№ 63030-1207, цанга
|
39,5 0,1
|
130
|
Черновая/Чистовая
|
|
|
59,8
|
|
Повышенной
точности
|
|
|
60
|
|
Повышенной
точности
|
|
|
34,8
|
|
Повышенной
точности
|
|
|
35
|
|
Повышенной
точности
|
|
|
|
|
Черновая/Чистовая
|
4.3 Режущий
инструмент
Выделяем следующие направления режущего
инструмента: стандартный, специализированный или специальный, концентрацию
инструментов при выполнении позиции (установа) с указанием последовательности
работы инструментов, реализацию видов технологических переходов инструментами,
относящихся к одному инструментальному блоку (ИБ).
Данные по анализу применяемого режущего инструмента
приводим в таблице 4.3.
Таблица 4.3
Характеристика применяемых режущих инструментов
|
№
операции
|
Наименование
операции, установы и позиции
|
Наименование
режущих инструментов
|
Уровень
специализации
|
Концентрация
инструментов в ИБ
|
Виды
переходов
|
Применяемое
оборудование
|
|
018
|
Фрезерная
Установ А Позиция I
|
Фреза
концевая 28
61580-1107
|
Сп
|
1
|
ИП
|
Вертикально
фрезерный ВФ-2
|
|
032
|
Расточная
Установ А Позиция I
|
Фреза
50
61580-121ВII, 70
61515-049, резец расточной 61649-1414, 61649-1161, сверло 31.5, 50
61074-1012, 56
2301-0174
|
Сп
Сп Сп Сп Ст Сп Сп
|
1
|
ИП
|
Обрабатывающий
центр ИС-800
|
|
035
|
Расточная
Установ А Позиция I
|
Фреза
70
61515-049
|
Сп
|
1
|
ИП
|
Обрабатывающий
центр ИС-800
|
|
045
|
Фрезерная
Установ А Позиция I Установ Б Позиция I
|
Фреза
концевая 32
61580-1076, 61511-282, 61511-343 фреза на фаску 61515-211
|
Сп
Сп Сп С
|
1
|
ИП
|
Фрезерный
FCQV-63
|
|
050
|
Фрезерная
Установ А Позиция I Установ Б Позиция I
|
Фреза
концевая 28
61580-579 32
61511-300, сверло 32,5
61074-1029 50
61074-1021, зенкер 54,4Н11
51114-54,4Н11, развертка 54,9Н9 61213-218
|
Сп Сп Сп Сп С С
|
1
|
ИП
|
Фрезерный
FCQV-63
|
|
055
|
Фрезерная
Установ А Позиция I Установ Б Позиция I
|
Фреза
концевая 28
61580-579
|
Сп
|
1
|
ИП
|
Фрезерный
FCQV-63
|
|
058
|
Фрезерная
Установ А Позиция I
|
Фреза
концевая 28
61511-330
|
Сп
|
1
|
ИП
|
Обрабатывающий
центр ИС-800
|
|
075
|
Расточная
Установ А Позиция I
|
Резец
61649-1523, 61649-1525, фреза грибковая 61520-1094
|
Сп
Сп С
|
1
|
ИП
|
Обрабатывающий
центр ИС-800
|
|
080
|
Расточная
Установ А Позиция I
|
Фреза
концевая 40 51598- 40 ,
сверло центровочное 5 90
61072-053, сверло 3
61074-999 7.4
61074-1059, зенкер 8.6H11 61114-2017,
развертка 8.8
|
C Сп
Сп Сп С Сп
|
1
|
ИП
|
Обрабатывающий
центр ИС-800
|
|
|
125
|
Расточная
Установ А Позиция I
|
Развертка
8,995
1840-8402, 9
|
С Сп
|
1
|
ИП
|
Координатно-расточной
2А450
|
|
|
130
|
Расточная
Установ А Позиция I
|
Зенкер
59,8, 34,8,
фреза для фаски 27,6,
сверло 6, 9,8
|
С
С С С С
|
1
|
ИП
|
Обрабатывающий
центр ИС-800
|
|
|
135
|
Расточная
Установ А Позиция I
|
Сверло
7,8,
развертка 8,
центровочное сверло 6
|
С
С С
|
1
|
ИП
|
Обрабатывающий
центр ИС-800
|
|
В таблице 4.3 были приняты следующие условные
обозначения: Ст - стандартный инструмент, Сп - специализированный инструмент, С
- специальный инструмент, ИП - инструментальный переход.
Согласно данным таблицы 4.3 очевидно, что в
технологическом процессе механической обработки детали "Корпус"
присутствуют как стандартные, специальные, так и специализированные режущие
инструменты. Применяемый режущий инструмент соответствует принятому типу
производства. На всех операциях прослеживается рациональный уровень
концентрации инструментов в инструментальном блоке, а также использование всех
инструментальных блоков применяемого оборудования.
.4 Измерительные устройства и приспособления
В данном пункте выполняем общий анализ
применяемых по технологическому процессу средств измерения, а так же
установления на каждой операции контролируемых характеристик, уровня
специализации средств измерения, вида контроля и вида средства измерения.
Указанную характеристику средств измерения
представляем в таблице 4.4
Таблица 4.4
Характеристика применяемых средств измерения
|
№
операции
|
Наименование
операции и этап обработки
|
Контролируемая
точностная характеристика
|
Уровень
специализации средства измерения
|
Вид
контроля
|
Способ
контроля
|
Средство
измерения точностной характеристики
|
Контролируемая
качественная характеристика
|
Средство
измерения качественной характеристики
|
|
018
|
Фрезерная
ЭПЧ
|
Тр
|
У
|
В
|
А
|
Штангенциркуль
ШЦ-I-125-0,1
|
-
|
-
|
|
032
|
Расточная
ЭЧ
|
Тр
|
У
Спк
|
В
|
А
|
Штангенрейсмас
ШР60-630-0,05, Нутрометры индикаторные: НИ 18…35 - 0,01, НИ 50…100 - 0,01,
Контрольные валики: 50699-34х200, Штангенциркуль ШЦ-I-125-0,1,
Индикатор ИЧ 10 кл. I- 0,01
|
-
|
-
|
|
035
|
Расточная
ЭЧ
|
Тр
|
У
|
В
|
А
|
Микрометры
МК 25-50-0,01, МК 125-150-0,01, Шаблон R10,
Индикатор ИЧ-10 кл. I-0,01
|
-
|
-
|
|
045
|
Фрезерная
ЭЧ
|
Тр
|
У
Сп
|
В
|
А
|
Штангенрейсмас
ШР40-400-0,05, Шаблон на контур, Шаблон на R49,96,
Шаблон на фаску 3,5х45 , Шаблон
на R349,74
|
-
|
-
|
|
050
|
Фрезерная
ЭЧ
|
Тр
|
У
Сп
|
В
|
А
|
Стенкомер,
Штангенциркуль ШР1-125-0,1, Шаблон на контур облегчения, Шаблон на R19,98,
Шаблон на R14,99,
Шаблон на наружный контур
|
-
|
-
|
|
055
|
Фрезерная
ЭЧ
|
Тр
|
У
Сп
|
В
|
А
|
Стенкомер,
Штангенрейсмас ШР40-400-0,05, Шаблон на контур облегчения, Калибр на паз
73,94
|
-
|
-
|
|
058
|
Фрезерная
ЭЧ
|
Тр
|
У
Сп
|
В
|
А
|
Штангенциркуль
ШЦ-I-125-0,1, Шаблон на R14,99, Калибр на размер
60,95, Калибр на размер 73,94
|
-
|
-
|
|
075
|
Расточная
ЭП
|
Тр
|
У
Спк
|
В
|
А
|
-
|
-
|
|
080
|
Расточная
ЭЧ - ЭП
|
Тр
|
У
Сп
|
В
|
А
|
Индикатор
ИЧ10-0,01 ГОСТ 577-68, Нутромер Diatest
M2-FB
|
-
|
-
|
|
125
|
Расточная ЭП
|
Тр
|
У
Спк
|
В
|
А
|
Нутромер
Diatest
M-2-FB, Калибр 9Н7
|
-
|
-
|
|
130
|
Расточная
ЭП
|
Тр
|
У
Спк Сп
|
В
|
А
|
Индикатор
ИЧ10-0,01 ГОСТ 577-68, Штангенциркуль ШЦ-I-250-0,2 Штангенрейсмас
ШР40-400-0,05, Штангенглубиномер ШГ0-250-0,05, Шаблон на фаску 1х45 , Калибр
перпендикулярности 35 к
торцу, Калибр перпендикулярности 60Н7 к торцу, Контрольный валик 60Н7 ,
Контрольный валик 35Н7
|
-
|
-
|
|
135
|
Расточная
ЭПЧ
|
Тр
|
У
Сп
|
В
|
А
|
Нутромер
индикаторный НИ I-10-0,01, Контрольный валик 8D9
|
-
|
-
|
Принимаемые условные обозначения:
У - универсальные средства измерения;
Спк - специализированные средства измерения;
Сп - специальные средства измерения;
В - выборочный контроль;
А - активный контроль.
Анализируя данные таблицы 5.5 можно сделать
выводы:
допуск размера Тр контролируется на всех этапах
обработки;
вид и способ контроля соответствует принятому
типу производства;
контролируемая качественная характеристика Ra
подвергается контролю на основном и отделочном этапе.
5. Рабочее приспособление
Принцип работы приспособления следующий:
заготовка устанавливается на цилиндрический палец и срезанный (ромбический
палец) палец . По вертикали деталь упирается на плоскость фланца пальца . После
этого заготовка прижимается сверху шайбами посредством затяжки болта.
Комплект технологических баз:
- установочная технологическая база (базовые
точки 1, 2, 3);
двойная опорная технологическая база (точки
4,5);
опорная технологическая база (точка 6).
Достоинства приспособления
Положительным моментом является использование
минимального количества деталей в приспособлении, что повышает жесткость, а
следовательно и точность приспособления.
Опоры, подверженные износу, выполнены
быстросъемными, что повышает удобство технического обслуживания по замене этих
деталей.
В приспособлении имеются направляющие шпонки,
которые облегчают установку приспособления в пазы на столе станке и исключают
время на выверку приспособления относительно траекторий движения инструментов.
Недостатки приспособления
Основным недостатком приспособления является
использование ручного зажима, что приводит к неравномерности силы закрепления,
следовательно, и увеличению погрешности закрепления.
6. Уровень автоматизации проектирования
технологических процессов и технологической оснастки
В данном производстве (техпроцессе) детали типа
"Корпус" с помощью ЭВМ производится разработка управляющих программ и
их отладка. Это сокращает время на технологическую подготовку производства и
повышает оперативность получения необходимой информации в сжатые сроки.
7. Безопасность технологической системы
Для обеспечения безопасности работников и
предотвращения несчастных случаев применяются следующие средства защиты:
защитные краны;
защитные очки;
предметы защитной одежды;
средства очистки оборудования от стружки;
датчики блокировки запуска и отключения
оборудования (срабатывают, если деталь не закреплена или не опущен защитный
экран).
На каждом участке имеется пожарный щит со
стандартным набором противопожарных средств и аптечка, для оказания первой
медицинской помощи пострадавшему.
На каждом станке кнопка останова должна иметь
увеличенные габариты и должна быть окрашена в яркий красный цвет. Для рабочих
на участке ежемесячно проводится инструктаж по технике безопасности и по правильной
эксплуатации оборудования.
Выводы
В данной курсовой работе был проведен анализ
технологического процесса механической обработки детали "Корпус"
изготавливающейся в условиях предприятия НОАО "Гидромаш". Анализ был
выполнен в соответствии с методическими рекомендациями по выполнению курсовой
работы по предмету "Основы технологии машиностроения".
В ходе анализа было выявлено:
тип производства детали относится к
крупносерийному это показало использование технологического оборудования и
режущего инструмента;
неполноту использования технологических
возможностей применяемых станков;
отсутствие в технологической документации
понятия технологическая позиция;
скрытое выполнение сразу нескольких этапов
обработки за несколько рабочих ходов;
экономически не целесообразное использование
оборудования при выполнении на нем последовательно сразу трех этапов обработки.
На основании проведенного анализа были внесены
следующие коррективы:
предложены рекомендуемые схемы обработки детали
в соответствии с выполняемыми этапапми обработки;
на рекомендуемых схемах была произведена
простановка точности и шероховатости на всем протяжении технологического
процесса, а также выполнена простановка линейных размеров от базовых
поверхностей, что исключает ошибку базирования.
Библиографический список
1 Технологичность конструкций
изделий: Справ./Под ред. Ю.Г. Амирова-М.:Машиностроение, 1990.
2 Метелев Б.А. Основные
положения по формированию обработки на металлорежущем станке: Учеб.
Пособие/НГТУ. Н.Новгород, 1998.
Швецов В.Д. Проектирование
и производство заготовок: Учеб. Пособие/НГТУ. Н.Новгород, 1993.
Нормирование требований к
точности формы поверхностей деталей машин: Метод. Указания/НГТУ; Сост.: Г.Н.
Лебедев, В.Н. Кайнова и др. Н.Новгород, 2001.
Нормирование допусков
расположения поверхностей: Метод. Указания/ Под общ. Ред. В.Н. Кайновой; НГТУ.
Н.Новгород, 1997.
Балабанов А.Н. Краткий
справочник технолога-машиностроителя.-М.: Изд-во стандартов, 1992.
Метелев Б.А. Основы
технологии машиностроения: Лекции/НГТУ. Н.Новгород (ежегодное).