Механическая обработка детали 'Звездочка привода'
Введение
Дипломный проект является завершающим этапом
учебного процесса по подготовке высококвалифицированных специалистов. Он
способствует закреплению и углублению теоретических знаний студентов по
специальности «Технология машиностроения», а также привитию навыков
самостоятельной, научно - исследовательской работы
Целью и содержанием дипломного проекта является
проетирование изделия и технологической оснастки, разработка технологических
процессов, решение организационных, экономических вопросов производства, защиты
окружающей среды и хораны труда.
Моя задача - спроектировать участок
механического цеха для обработки детали «Звездочка», спроектировать и
рассчитать технологическое оснащение и экономически обосновать наиболее
оптимальный вариант технологического процесса.
Объектом исследования является механический цех.
В проектируемой дипломной работе 5 разделов:
. Общая часть - в которой определяется
назначение детали, условия ее работы в машине и обоснование материала. А также
технологический характер детали и технические условия
. Технологическая часть - в которой
проектируется маршрутная технология обработки детали, выбирается
технологическое оборудование, операционные припуски и допуски на
обработкудетали, рассчитываются режимы резания и нормы времени.
. Конструкторская часть - в которой
проектируется приспособление, режущий и измерительный инструмент.
. Мероприятия по охране труда - это
описание охраны труда в механическом цехе, опасные и вредные факторы в нем и
меры для их устранения
. Организационная и экономическая часть -
в которой опередяется эффективность технологического процесса,
технико-экономические показатели, расчет себестоимости изготовления детали,
определение потребного количества оборудования и производственных рабочих.
Также в дипломном проекте разрабатывается альбом
технологических карт и графическая часть, в которую входят: чертежи детали и
заготовки, технологическая карта, чертежи приспособлений, мерительного и
режущего инструмента, план участка и карта наладки станка с ЧПУ
деталь заготовка резание
механический
1. Общая часть
.1 Описание конструкции заданной детали
Звездочка является деталью типа тела вращения.
Шейки Ǿ 40h6 и 35h9 с шероховатостью поверхности 1,25 мкм по Rа и допуском
радиального биения 0,02 относительно оси вращения детали предназначены для
посадки подшипников.
Ось вращения является конструкторской базой
детали.
Поверхность Ǿ 55h9 предназначена для
посадки манжеты, предохраняющий подшипник от загрязнения и утечки смазки, она
полируется до достижения шероховатости 0,63 мкм по Rа.
Резьба М20Ч1,5 предназначена для крепления оси и
предотвращения осевого перемещения подшипника.
Свободные поверхности выполнены по 14-му
квалитету и имеют шероховатость 12,5 мкм по Rа.
Деталь подвергается химическому оксидированию
для предотвращения от коррозии
.2 Назначение детали, условия ее работы в машине
Звездочка входит в состав сборочной единицы
АЯ6.337.025. «Привод», которая в свою очередь входит в состав изделия
«Ботвоуборщик» АБ-1.
Она установлена на валу и предназначена для передачи
вращения от полумуфты при помощи цепной передачи на шнек, подающий ботву в
кузов автомобиля.
Зубчатая поверхность звездочки и пазы
подвергаются термической об работке ТВЧ h 1,8…2,2; 50-55 HRCэ, т.е
поверхностной закалке. Это делается для того, чтобы упрочнить ответственные
элементы детали, т.к она работает в агрессивной среде.
Также звездочка покрывается желтой эмалью, чтобы
предупредить об опасности.
.3 Обоснование материала
В качестве материала детали, учитывая условия ее
работы изгиб - кручение выбираем сталь 40Х ГОСТ 8479-70 (ст. 143[5])
Химический состав
углерод С = 0,36…0,44%
кремний Si = 0,17…0,37
марганец Мn = 0,5…0,8 %
хром Сr = 0,8…1,1 %
никель Ni = 0,3
медь Cu= 0,3 %
сера S = 0,035 %
фосфор P = 0,035 %
Механические свойства
предел текучести у0,2 = 490 МПа
предел прочности ув = 655 МПа
относительное удлинение д5 = 15 %
относительное сужение ш = 45 %
ударная вязкость КСU = 59 дж/см2
твердость 212…248 НВ
Технологические свойства
Трудносвариваемая
Флокеночувствительная
Склонна к отпускной хрупкости
1.4 Технические условия на деталь «Звездочка»
Деталь АЯ8. 362. 141 «Звёздочка»
имеет Ш 35Н9 с шероховатостью 
.
Торцы диаметров 148,6 мм и 135 мм
имеет допуск торцевого биения соответственно 0,05 мм и 0,04мм относительно
центрального отверстия.
На пазы 22Н12 наложен допуск
симметричности относительно отверстия Ш 35Н9, который равен 0,1 мм.
Деталь имеет зубчатую поверхность с
профилем зуба по ГОСТ 591-69.
Зубчатая поверхность и пазы должны
подвергатся поверхностной закалке на глубиной h = 1,8 …2,2 мм до 50..55 HRCэ,
а также подвергается химическому оксидированию для повышения коррозионной
стойкости и покрывается желтой эмалью по условиям безопасности.
2. Технологическая часть проекта
.1 Определение типа производства
Исходя из того, что масса детали mg
= 4,26 кг, а годовой выпуск Nr = 1500 шт., выбираем среднесерийный
тип производства(ст. 11 п. 3.1 [])
Такт выпуска и размер партии
где Кз - коэффициент
загрузки оборудования, применяемый 0,8-0,85, что характеризует достаточно
полное использование оборудования;д - действительный годовой фонд
времени работ оборудования 3890 час.;
Тшт - норма штучного
времени на ведущей операции для детали-представителя (мин);
С - количество единиц оборудования;
а - коэффициент допускаемых потерь
на переналадку:
- для серийного производства;
- для мелкосерийного производства.
.2 Выбор и подготовка заготовок с
технико-экономическим обоснованием
В серийном производстве заготовку данной детали
рациональней всего получать двумя способами:
. Круглый прокат ГОСТ 2590-71
. Горячештампованная поковка ГОСТ 7505-89
Заготовка из проката будет иметь три
поверхности, на которые назначается припуск: поверхность вращения Ап
и торцы Бп и Вп. горячештампованная поковка будет иметь
следующие поверхности, на которые назначается припуск: цилиндрическая
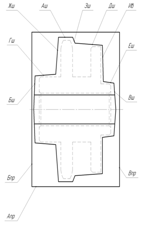
поверхность Аш, торцы Бш и Вш, диаметр Гш,
цилиндрическая поверхность Дш, цилиндрическая поверхность Еш,
торцы Жш и Зш, торец Иш и отверстие Кш
Рисунок 1 - Поверхности заготовки
Проверяем технико-экономическое обоснование
Стз = Снз Ч м3
+ Стех (мз - мд) - Сотх (м3
- мотх) (1)
где Снз - стоимость одного килограмма
заготовки;
мз - масса заготовки;тех -
стоимость механической обработки 1 кг;
мд - масса детали;
Сотх - стоимость 1 кг отходов;
Определяем технологическую стоимость заготовки
из проката
Ст пр = 18Ч12,8+20 Ч(12,8-4,3) - 1,5
Ч (12,8-4,3) = 230,4+170- 12,75 = 387,7 руб
Определяем технологическую стоимость поковки
Ст шт = 40Ч 6,5+20 Ч(6,5-4,3) - 1,5 Ч
(6,5-4,3) = 260+44- 3,3 = 301,7 руб
Экономический эффект при N2 = 1000 шт
Э=(Стпр-Стшт)ЧN2
(2)
где Ст пр - технологическая стоимость
заготовки из проката;
Ст шт - технологическая стоимость
горячештампованной поковки; 2 - годовой выпуск;
Э = (387,7-301,7) Ч 1000 = 86000 руб
Вывод: расчеты показывают, что наиболее
рациональным выбором является горячештампованная поковка
.3 Выбор и расчет операционных припусков и
допусков
Определяем число технологических переходов,
необходимых для обработки каждой поверхности в зависимости от шероховатости по
Rа
Поверхность А с шероховатостью 10 мкм по Rа
можно получитьза два технологических перехода: черновое и получистовое точение.
Торцы Б и В имеющие шероховатость 2,5 мкм по Rа
можно получить за два перехода: черновое и чистовое торцевое точение (ст. 94
[3])
Поверхность Г с шероховатость 10 мкм по Rа
можно получить за два технологических перехода: черновое и получистовое точение
(ст. 92 [3])
Поверхность Д с шероховатостью 10 мкм по Rа
можно получит за два технологических перехода: черновое и получистовое
обтачивание (ст. 92 [3])
Поверхность Е с шероховатостью 1,6 мкм по Rа
можно получить за три технологичаских перехода: черновое, получистовое и
чистовое точение (ст. 92 [3])
Торцы Ж и З с шероховатостью 2,5 мкм по Rа
можно получить за два перехода: черновое и чистовое торцевое точение.
Поверхность И имеющую шероховатость 2,5 мкм по Rа
можно получить за два перехода: черновое и чистовое торцевое точение
Поверхность К с шероховатостью 1,25 мкм по Rа
можно получить за три технологических перхода: черновое, чистовое и
получистовое расточивание (ст. 93 [3])
Определяем минимальные припуски для поверхностей
заготовки из проката
На поверхность А
I переход
2Zamin = 2Ч(RzпрА +
hпрА + 
) (3)
где Rz - шероховатостью
на предшествующем переходе- глубина дефектоного слоя на предшествующем переходе

- отклонение формы поверхности на
предшествующем переходе
Еуст - погрешность
установки на вполняемом переходе
Определяем элементы припуска для
прокатаzпрА = 200 мкм; hпрА = 300 мкм (ст. 180 [3])

прА = 0,5 Ч 86
= 43 мкм (ст. 180 [3])
ЕустА1 = 800 мкм (ст. 42
[3])
ZAmin1 = 2Ч(200+300+
) = 2602 мкмпереходz1А =
63 мкм; hА = 60 мкм (ст. 181 [3])

1А = 2,6 мкм
(ст. 180 [3])
Еуст2А = 800 мкм (ст. 42
[3])
ZAmin1 = 2Ч(63+60+
) = 1846 мкм
На торцы Б и В
Zmin Б,В = 2Ч(RzпрА +
hпрА +
+ Еуст1) (4)
переходzпр + hпр =
200 мкм (ст. 180 [3])

1А = 22 мкм
(ст. 181 [3])
Еуст2А = 520 мкм (ст. 42
[3])
Zmin Б,В = 2Ч(200 +
22 +520) = 1484 мкмпереходz1 = 50 мкм; h = 50 мкм (ст.
180 [3])

1 = 1,3 мкм
(ст. 181 [3])
Еуст2 = 520 мкм (ст. 42
[3])
Zmin Б,В = 2Ч(50 +
50 +1,3 + 520) = 1242,6 мкм
Определяем припуски для заготовки из
горячештампованной поковки
На поверхность Ашпереходzш
= 200 мкм; h = 250 мкм (ст. 186 [3])

ш = 120,4 мкм
(ст. 186 [3])
Еуст2 = 800 мкм (ст. 42
[3])
по формуле 3: 2ZAmin =
2Ч(200+250+

)= 2518 мкмпереходz1 =
100 мкм; h = 100 мкм (ст. 188 [3])

1 = 7,2 мкм
Еуст2 = 0 мкм
по формуле 3: 2ZAmin2 =
2Ч(100+100+
)= 2Ч207,2=414 мкм
На торцы Б, Впереходzш =
200 мкм; h = 250 мкм (ст. 186 [3])

ш = 120 мкм
(ст. 186 [3])
Еуст2 = 120 мкм (ст. 42
[3])
по формуле 4: 2ZminБ,В =
2Ч(200+250+120+120)= 1380 мкмпереходz1 = 100 мкм; h = 100 мкм (ст.
188 [3])

1 = 7,2 мкм
(ст. 186 [3])
Еуст2 = 120 мкм (ст. 42
[3])
по формуле 4: 2ZminБ,В =
2Ч(100+100+7,2+120) = 654,4 мкм
На поверхность Гпереходz ш
= 200 мкм; h = 250 мкм (ст. 186 [3])

(ст. 186 [3])
Еуст 1 = 400 мкм (ст. 42
[3])
по формуле 3: 2 Zmin 1Г =
2 Ч (200+250+
) = 1734 мкмпереходz 1 =
100 мкм; h = 100 мкм (ст. 188 [3])

1 = 7,2 мкм
(ст. 186 [3])
Еуст 1 = 0 мкм
по формуле 3: 2ZminГ =
2Ч(200+100+
) = 414,4 мкм
На поверхность Дпереходz ш
= 200 мкм; h = 250 мкм (ст 186[3])

(ст 186 [3])
Еуст 1 = 400 мкм (ст. 42
[3])
по формуле 3: 2 Zmin 1д =
2 Ч (200+250+
) = 1734 мкмпереходz 1 =
100 мкм; h = 100 мкм (ст 188[3])

1 = 7,2 мкм
(ст. 186 [3])
Еуст 1 = 0 мкм
по формуле 3: 2Zminд =
2Ч(200+100+
) = 414,4 мкм
На поверхность Епереходz ш
= 200 мкм; h = 250 мкм (ст 186 [3])

(ст 186 [3])
Еуст 1 = 400 мкм (ст 42
[3])
по формуле 3: 2 Zmin 1Е =
2 Ч (200+250+
) = 1734 мкмпереходz 1 =
100 мкм; h = 100 мкм (ст 188 [3])

1 = 7,2 мкм
(ст. 186 [3])
Еуст 1 = 0 мкм
по формуле 3: 2Zmin2Е =
2Ч(100+100+
) = 414,4 мкм
На поверхности Ж,Зпереходz ш
= 200 мкм; h = 250 мкм (ст 186 [3])

1 = 7,2 мкм
(ст 186 [3])
Еуст 1 = 120 мкм (ст 42
[3])
по формуле 4: 2ZminЖ,З1 =
2Ч(100+100+7,2+120)= 1380 мкм
II переход
Rz1 = 100 мкм; h1
= 100 мкм (ст 186 [3])

1 = 7,2 мкм
(ст 186 [3])
Еуст2 = 120 мкм (ст. 42
[3])
по формуле 4: 2ZminЖ,З =
2Ч(100+100+7,2+120)= 654,4 мкм
На поверхность Ипереходz ш
= 200 мкм; h = 250 мкм (ст 186 [3])

1 = 120 мкм
(ст 186 [3])
Еуст 1 = 120 мкм (ст 42
[3])
по формуле 4: 2ZminИ =
100+100+120+120= 1380 мкм
II переход
Rz1 = 100 мкм; h1 = 100
мкм (ст 188 [3])

1 = 7,2 мкм
(ст 186 [3])
Еуст2 = 0
по формуле 4: 2ZminИ =
100+100+7,2 = 207,2 мкм
На поверхность Кпереходz ш
= 200 мкм; h = 250 мкм (ст 186 [3])

(ст 186 [3])
Еуст 1 = 400 мкм (ст 42
[3])
по формуле 3: 2 Zmin 1К =
2 Ч (200+250+
) = 1734 мкмпереходz 1 =
100 мкм; h1 = 100 мкм (ст 188 [3])

1 = 7,2 мкм
(ст 186[3])
Еуст 2 = 0 мкм
по формуле 3: 2Zmin2К =
2Ч(100+100+
) = 414,4 мкмпереходz 2 =
50 мкм; h2 = 50 мкм (ст 190 [3])

2 = 0 мкм (ст
186[3])
Еуст 3 = 0 мкм
по формуле 3: 2ZminК3 =
2Ч(50+50) = 200 мкм
Определяем допуски на заготовку и
допуски на промежуточные размеры Допуски на заготовку из проката
ТзА = 2500 мкм (ст. 169
[3])
ТзБ,В = 870 мкм (ст. 192
[3])
Промежуточные допуски
ТА1 = 400 мкм, по 12 квалитету
(ст. 192 [3])
ТБ,В1 = 350 мкм, по 12
квалитету (ст. 192 [3])
Допуски на поковку
Степень сложности
С = 
; (5)
где m3 - масса заготовкиоф
- масса описанной фигуры
С = 
= 0,48 => С2 (0,32<С>0,63)
ТАЗ = 600 мкм (ст. 146 [
3])
ТзБ,В = 600 мкм (ст. 146
[ 3])
ТзГ = 600 мкм (ст. 146 [
3])
ТзД = 600 мкм (ст. 146 [
3])
ТзЕ = 600 мкм (ст. 146 [
3])
ТзЖ,З = 500 мкм (ст. 146
[ 3])
ТзИ = 500 мкм (ст. 146 [
3])
ТзК = 1000 мкм (ст. 146 [
3])
Промежуточные допуски
ТА1 = 1000 мкм, по 14 -
му квалитету (ст. 146 [ 3])
ТБ,В1 = 870 мкм, по 14 -
му квалитету (ст. 146 [ 3])
ТГ1 = 740 мкм, по 14 - му
квалитету (ст. 146 [ 3])
ТД1 = 1000 мкм, по 14 -
му квалитету (ст. 146 [ 3])
ТЕ1 = 740 мкм, по 14 - му
квалитету (ст. 146 [ 3])
ТЖ,З1 = 520 мкм, по 14 -
му квалитету (ст. 146 [ 3])
ТИ1 = 520 мкм, по 14 - му
квалитету (ст. 146 [ 3])
ТК2 = 100 мкм, по 14 - му
квалитету (ст. 146 [ 3])
Определяем промежуточные размеры на
каждую поверхность
Промежуточные размеры заготовки из
проката
ДН1А = ДНД + 2Z2min
+ Т1 (6)
где ДНД - номинальный размер детали
Zmin - припуск
Т1 - промежуточный допуск
ДНД = 148,6 + 1,846 + 0,4 = 150,9 ммН1
Б,В = 96 + 1,24 +0,350 = 87,6 мм
Промежуточные размеры заготовки штамповки
ДНД = - 148,6 + 0,414 + 4 = 150 ммН1
Б,В = 96 + 1,24 +0,350 = 87,6 мм
ДНД = 148,6 + 1,846 + 0,4 = 150,9 мм
ДНД = 148,6 + 1,846 + 0,4 = 150,9 мм
ДНД = 148,6 + 1,846 + 0,4 = 150,9 ммН1
Б,В = 96 + 1,24 +0,350 = 87,6 ммН1 Б,В = 96 + 1,24 +0,350 =
87,6 мм
ДНД = 148,6 + 1,846 + 0,4 = 150,9 мм
ДНД = 148,6 + 1,846 + 0,4 = 150,9 мм
Определяем общие номинальные припуски на каждую
поверхность заготовки из проката
Общий номинальный припуск на поверхность А
Zон А = 2ZminА1 + 2ZminA2
+ Т1 + Т3; (7)
где 2ZminA1 - промежуточный припуск
на первый переход
ZminA2 - промежуточный припуск на
второй переход
Т1 - промежуточный допуск
Т3 - допуск на заготовку
по формуле 7: 2Zон А = 2,6 + 1,9 +
0,4 + 2,5 = 7,4 мм
Общий номианльный припуск на торцы Б,В
по формуле 7: 2Zон Б,В = 1,5 + 1,2 +
0,35 + 0,7 = 3,8 мм
Определяем общие номинальные припуски на каждую
поверхность заготовки горячештампованной поковки
На цилиндрическую поверхность А
по формуле 7: 2Zон А = 2,5 + 0,4 + 1
+ 0,6 = 4,5 мм
На торцы Б и В
по формуле 7: 2Zон Б,В = 1,38 + 0,65
+ 0,87 + 0,6 = 3,5 мм
На поверхность Г
по формуле 7: 2Zон Г = 1,73+ 0,41 +
0,74 + 0,6 = 3,5 мм
На поверхность Д
по формуле 7: 2Zон Д = 1,73+ 0,41 +
0,74 + 0,6 = 3,5 мм
На поверхность Е
по формуле 7: 2Zон Е = 1,73+ 0,41 +
0,74 + 0,6 = 3,5 мм
На торцы Ж и З
по формуле 7: 2Zон Ж,З = 1,38+ 0,65 +
0,52 + 0,5 = 3,1 мм
На поверхность И
по формуле 7: 2Zон И = 0,69+ 0,21 +
0,62 + 0,5 = 2 мм
На отверстие К
по формуле 7: 2Zон К = 1,73+ 0,41 +
0,2 + 0,25 + 0,1 + 1 = 3,7 мм
Определяем уточненные размеры заготовки из
проката
Размер заготовки на поверхность А
ДНЗА = ДНД + 2Zон А
(8.1)
где ДНД - номинальный размер детали
Zон А - общий номинальный припуск
ДНЗА = 148,6 + 7,4= 156 мм (принимаем
по ГОСТ 2590 - 71 ДНЗА = 160)
Размер заготовки на торцы Б,В
по формуле 8.1: LНЗ Б,В = 8,6 + 3,8 =
89,8 - 0,87 мм
Определяем уточненные размеры на
горячештампованную поковку
Размеры заготовки на поверхность А
по формуле 8.1: ДНЗА =
148,6 + 4,5 = 
мм
Размеры заготовки на торцы Б и В
по формуле 8.1: LНЗ Б,В =
86 + 3,5 = 
мм
Размер заготовки на поверхность Г
по формуле 8.1: ДНЗГ = 70
+ 3,5 = 
мм
Размер заготовки на поверхность Д
по формуле 8.1: ДНЗД =
135 + 3,7 = 
мм
Размер заготовки на поверхность Е
по формуле 8.1: ДНЗЕ = 55
+ 3,5 = 
мм
Размер заготовки на торцы Ж и З
по формуле 8.1: LНЗ Ж,З =
14 + 3,1 = 
мм
Размер заготовки на поверхность И
по формуле 8.1: LНЗ И =
12 + 2 = 
мм
Размер отверстия К
ДНЗК = ДНДК -
2Zон К (8.2)
где ДНД - номинальный
размер детали
Zон А - общий номинальный
припуск
по формуле 8.2: ДНЗК = 35
+ 3,7= 
мм
Таблица 1 - Припуски на обработку и
размеры заготовки
|
Заготовка
|
Поверхность,
переход
|
Элементы
припуска
|
2Zmin
мкм
|
Ti
мкм
|
T3
мкм
|
Днi
мм
|
2Zон
мм
|
Днз,
мм
|
|
|
Rzi
- 1 мкм
|
hi-1
мкм
|
мкм
|
Eyi
мкм
|
|
|
|
|
|
|
|
Прокат
|
А
|
|
|
|
|
|
|
2500
|
|
7,4
|
160
|
|
1
|
200
|
300
|
43
|
800
|
2602
|
400
|
|
150
|
|
|
|
2
|
63
|
60
|
2,6
|
800
|
1846
|
|
|
|
|
|
|
Б,В
|
|
|
|
|
|
|
870
|
|
3,8
|
89,8-0,78
|
|
1
|
200
|
2,2
|
520
|
1484
|
350
|
|
87,6
|
|
|
|
2
|
50
|
50
|
1,3
|
520
|
1242
|
|
|
|
|
|
|
Штамповка
|
А
|
|
|
|
|
|
|
600
|
|
4,5
|
|
|
1
|
200
|
250
|
120
|
800
|
2518
|
1000
|
|
150
|
|
|
|
2
|
100
|
100
|
7,2
|
0
|
|
|
|
|
|
|
Б,В
|
|
|
|
|
|
|
600
|
|
3,5
|
|
|
1
|
200
|
250
|
120
|
120
|
1380
|
870
|
|
87,5
|
|
|
|
2
|
100
|
100
|
7,2
|
120
|
654,4
|
|
|
|
|
|
|
Г
|
|
|
|
|
|
|
600
|
|
3,5
|
|
|
1
|
200
|
250
|
120
|
400
|
1734
|
740
|
|
135,5
|
|
|
|
2
|
100
|
100
|
7,2
|
0
|
414
|
|
|
|
|
|
|
Д
|
|
|
|
|
|
|
600
|
|
3,7
|
|
|
1
|
200
|
250
|
120
|
400
|
1734
|
1000
|
|
135,5
|
|
|
|
2
|
100
|
100
|
7,2
|
0
|
414
|
|
|
|
|
|
|
Е
|
|
|
|
|
|
|
600
|
|
3,5
|
|
|
1
|
200
|
250
|
120
|
400
|
1734
|
740
|
|
56,1
|
|
|
|
2
|
100
|
100
|
7,2
|
0
|
414
|
|
|
|
|
|
|
Ж,З
|
|
|
|
|
|
|
500
|
|
3,1
|
|
|
1
|
200
|
250
|
120
|
120
|
1380
|
520
|
|
15,2
|
|
|
|
2
|
100
|
100
|
7,2
|
120
|
654,4
|
|
|
|
|
|
|
И
|
|
|
|
|
|
|
500
|
|
2
|
|
|
1
|
200
|
250
|
120
|
120
|
690
|
620
|
|
12,8
|
|
|
|
2
|
100
|
100
|
7,2
|
0
|
207
|
|
|
|
|
|
|
К
|
|
|
|
|
|
|
1000
|
|
3,7
|
|
|
1
|
200
|
250
|
120
|
400
|
1734
|
250
|
|
34,1
|
|
|
|
2
|
100
|
100
|
7,2
|
0
|
414
|
100
|
|
34,7
|
|
|
|
3
|
50
|
50
|
0
|
0
|
200
|
|
|
|
|
|
2.4 Маршрутная технология обработки детали
Таблица 2 - Маршрутный технологический процесс
|
№
опер
|
Наименование
операции и содержание переходов
|
Операцинный
эскиз
|
Оборудование
|
|
|
005
|
Заготовительная
|
|
|
|
|
010
|
Токарная
1)Установить заготовку 2) подрезать торец в размер 6 3) точить выдерживая
размеры 2;3;4;5 4) расточить отверстие 1 с образованием фаски 2Ч45 5) снять
заготовку
|
|
16Б16Т1
Патрон трехкулачковый
|
|
|
015
|
Токарная
ПУ 1)установить заготовку 2) подрезать торец в размер 6 3) точить выдерживая
размеры 1;2;3;4;5 4)точить выточку выдерживая размеры 2;5 5) расточить
отверстие до 34,5 мм 6) расточить отверстие до 35 мм 7) снять заготовку
|
|
16Б16Т1
Патрон трехкулачковый
|
|
|
020
|
Токарная
ПУ 1)Установить заготовку 2) точить выдерживая размеры 1;2;3;4;5;6;7 3) снять
заготовку
|
|
16Б16Т1
Патрон трехкулачковый, оправка специальная
|
|
|
025
|
Токарная
ПУ 1)установить заготовку 2) точить выдерживая размеры 1;2;3;4;5;6 3) снять
заготовку
|
|
16Б16Т1
Патрон трехкулачковый, оправка специальная
|
|
|
030
|
Фрезерная
ПУ 1)установить заготовку 2) фрезеровать пазы предварит. 3) фрезеровать пазы
выдерживая размеры 1;2;3;4 4) снять заготовку
|
|
6Р11Ф3
Оправка Приспособление фрезерное для обработки пазов
|
|
|
035
|
Зубофрезерная
1) установить заготовку 2) фрезеровать зубчатую поверхность 3) снять
заготовку
|
|
5К324А
оправка
|
|
|
040
|
Слесарная
|
|
|
|
|
045
|
Термическая
|
|
|
|
|
050
|
Токарная
1)установить отверстие 2) калибровать отверстие Ш35Н9 3) снять заготовку
|
|
16К20
Патрон трехкулачковый
|
|
|
055
|
Шлифовальная
1)установить заготовку 2)шлифовать выдерживая размеры 1,2 3) снять заготовку
|
|
3М151
Оправка Центры поводок
|
|
060
|
Контрольная
|
|
|
|
065
|
Гальваническая
|
|
|
|
070
|
Малярная
|
|
|
|
|
|
|
|
|
|
|
|
|
|
|
|
|
|
|
|
|
|
|
|
|
|
|
2.5 Выбор оборудования, приспособлений, режущих
и мерительных инструментов
Токарный станок 16б16Т1 (ст 15 [5]) на 010, 020,
025 операции
Таблица 3 - Техническая характеристика станка
16б16Т1
|
Наименование
параметра
|
Велечина
параметра
|
|
Наибольший
диаметр обрабатываемой заготовки, мм
|
|
|
над
станиной
|
320
|
|
над
суппортом
|
125
|
|
Наибольший
диаметр прутка, проходящего через отверстие в шпинделе, мм
|
36
|
|
Наибольшая
длина обрабатываемой заготовки, мм
|
750
|
|
Шаг
нарезаемой резьбы, мм
|
0,05
- 40,95
|
|
Частота
вращения шпинделя, об/мин
|
40
- 2000
|
|
Число
скоростей шпинделя
|
18
|
|
Наибольшее
перемещение суппорта, мм
|
|
|
продольное
|
700
|
|
поперечное
|
210
|
|
Подача
суппорта, мм/мин
|
|
|
продольная
|
2
- 1200
|
|
поперечная
|
1
- 1200
|
|
Скорость
быстрого перемещения суппорта, мм/мин
|
|
|
продольного
|
6000
|
|
поперечного
|
5000
|
|
Мощность
электродвигателя главного привода, кВт
|
7,1
|
|
Габаритные
размеры (без ЧПУ), мм
|
|
|
длина
|
3100
|
|
ширина
|
1390
|
|
высота
|
|
|
Масса,
кг
|
2350
|
Вертикально-фрезерный консольный станок 6Р1Ф3 на
030 фрезерную операцию (ст. 51[5])
Таблица 4 - Техническая характеристика станка
6Р1Ф3
|
Наименование
параметра
|
Велечина
параметра
|
|
Размеры
рабочей поверхности стола (длинаЧширина), мм
|
250
- 1000
|
|
Наибольшее
перемещение стола, мм
|
|
|
продольное
|
630
|
|
поперечное
|
300
|
|
вертикальное
|
350
|
|
Перемещение
гильзы со шпинделем
|
-
|
|
Внутренний
конус шпинделя (конусность 7:24)
|
50
|
|
Число
скоростей шпинделя
|
16
|
|
Частота
вращения шпинделя, об/мин
|
80
- 2500
|
|
Число
подач стола
|
Б/с
|
|
Подача
стола, мм/мин
|
|
|
продольная
и поперечная
|
0,1
- 4800
|
|
вертикальная
|
0,1
- 4800
|
|
Скорость
быстрого перемещения стола, мм/мин
|
|
|
продольного
и поперечного
|
4800
|
|
вертикального
|
4800
|
|
Мощность
электродвигателя главного движения, кВт
|
5,5
|
|
Габаритные
размеры, мм
|
|
|
длина
|
4000
|
|
ширина
|
2000
|
|
высота
|
2220
|
|
Масса,
кг
|
2760
|
Зубофрезерный полуавтомат для цилиндрических
колес 5К324А на операции 035 (ст. 41 [5])
Таблица 5 - Техническая характеристика станка
5К324А
|
Наименование
параметра
|
Велечина
параметра
|
|
Наибольший
диаметр обрабатываемой заготовки, мм
|
500
|
|
Наибольшие
размеры нарезаемых колес
|
|
|
модуль,
мм
|
8
|
|
длина
зуба прямозубых колес, мм
|
300
|
|
угол
наклона зубьев
|
600
|
|
Наибольший
диаметр установливаемых червячных фрез, мм
|
180
|
|
Расстояние,
мм
|
|
|
от
торца стола до оси фрезы
|
210
- 570
|
|
от
оси инструмента до оси шпинделя заготовки
|
60
- 350
|
|
Наибольшее
осевое перемещение фрезы, мм
|
80
|
|
Частота
вращения шпиделя инструмента, об/мин
|
50
- 310
|
|
Подача
заготовки, мм/мин
|
|
|
вертикальная
и продольная
|
0,8
- 5
|
|
радиальная
|
0,14
- 0,84
|
|
Мощность
электродвигателя главного движения, кВт
|
7,5
|
|
Габаритные
размеры, мм
|
|
|
длина
|
2500
|
|
ширина
|
1440
|
|
высота
|
2000
|
|
Масса,
кг
|
6400
|
Токарно-винторезный станок 16К20 на 050 операцию
(ст. 15 [5])
Таблица 6 - Техническая характеристика станка
16К20
|
Наименование
параметра
|
Велечина
параметра
|
|
Наибольший
диаметр обрабатываемой заготовки, мм
|
|
|
над
станиной
|
400
|
|
над
суппортом
|
220
|
|
Наибольший
диаметр прутка, проходящего через отверстие в шпинделе, мм
|
53
|
|
Наибольшая
длина обрабатываемой заготовки, мм
|
710
|
|
Шаг
нарезаемой резьбы, мм
|
|
|
метрической
|
0,5
- 112
|
|
дюймовой,
число ниток на дюйм
|
56
- 0,5
|
|
модульной,
модуль
|
0,5
- 112
|
|
питчевой,
питч
|
56
- 0,5
|
|
Частота
вращения шпинделя, об/мин
|
12,5
- 1600
|
|
Число
скоростей шпинделя
|
22
|
|
Наибольшее
перемещение суппорта, мм
|
|
|
продольное
|
645
|
|
поперечное
|
300
|
|
Подача
суппорта, мм/об
|
|
|
продольная
|
0,05
- 2,8
|
|
поперечная
|
0,025
- 1,4
|
|
Число
ступеней подач
|
|
Скорость
быстрого перемещения суппорта, мм/мин
|
|
|
продольного
|
3800
|
|
поперечного
|
1900
|
|
Мощность
привода главного движения, кВт
|
11
|
|
Габаритные
размеры, мм
|
|
|
длина
|
2505
|
|
ширина
|
1190
|
|
высота
|
1500
|
|
Масса,
кг
|
2835
|
Круглошлифовальный станок 3М151 на 055 операцию
(ст. 30 [5])
Таблица 7 - Техническая характеристика станка
3М151
|
Наименование
параметра
|
Велечина
параметра
|
|
Наибольшие
размеры устанавливаемой заготовки, мм
|
|
|
диаметр
|
200
|
|
длина
|
700
|
|
Рекомедуемый
диаметр шлифования, мм
|
60
|
|
Наибольшая
длина шлифования, мм
|
700
|
|
Высота
центров над столом, мм
|
125
|
|
Наибольшее
продольное перемещение стола,мм
|
705
|
|
Угол
поворота стола, 0
|
|
|
по
часовой стрелке
|
3
|
|
против
часовой стрелки
|
10
|
|
Скорость
автоматического перемещения стола (б/с), м/мин
|
0,05
- 5
|
|
Частота
вращения шпинделя заготовки, об/мин
|
50
- 500
|
|
Конус
Морзе шпинделя передней и пиноля задней бабок
|
4
|
|
Наибольшие
размеры шлифовального круга, мм
|
|
|
наружный
диаметр
|
600
|
|
высота
|
100
|
|
Перемещение
шлифовальной бабки, мм
|
|
|
наибольшее
|
185
|
|
на
одно деление лимба
|
0,005
|
|
на
один оборот толчковой рукоятки
|
0,001
|
|
Частота
вращения шпинделя шлифовального круга, об/мин
|
1590
|
|
Скорость
врезной подачи шлифовальной бабки, мм/мин
|
0,1
- 0,4
|
|
Мощность
двигателя главного движения, кВт
|
10
|
|
Габаритные
размеры, мм
|
|
|
длина
|
4605
|
|
ширина
|
2405
|
|
высота
|
2170
|
|
Масса,
кг
|
5600
|
.5.1 Выбор режущего инструмента
Таблица 8 - Режущий инструмент
|
№
Опер.
|
Операция
|
Режущий
инструмент
|
|
010
|
Токарная
ПУ
|
Резец
2103 - 0715 ГОСТ 20872 - 80 (ст 252 [10]) Резец 2140 - 0510 ГОСТ 18872 - 73
(ст 267 [10])
|
|
015
|
Токарная
ПУ
|
Резец
2103 - 0715 ГОСТ 20872 - 80 (ст 252 [10]) Резец 2140 - 0510 ГОСТ 18872 - 73
(ст 267 [10]) Резец специальный
|
|
020
|
Токарная
ПУ
|
Резец
2103 - 0715 ГОСТ 20872 - 80 (ст 252 [10])
|
|
025
|
Токарная
ПУ
|
Резец
2103 - 0715 ГОСТ 20872 - 80 (ст 252 [10])
|
|
030
|
Фрезеная
ПУ
|
Фреза
2220 - 0223 ГОСТ 18372 - 73 (ст 210 [6]) Фреза 035 - 2220 - 0106 ОСТ И62 - 2
- 75 (ст 198 [7])
|
|
035
|
Зубофрезерная
|
Фреза
червячная зуборезная специальная
|
|
050
|
Токарная
|
Развертка
35Н9Ч150 ГОСТ 1672 - 71 - Р18 (ст 310 [7])
|
|
055
|
Шлифовальная
|
Круг
ПВД 600Ч80Ч305 25А СМ5 - К ГОСТ 2424 - 83 (ст 378 [9])
|
.5.2 Выбор станочных приспособлений
Таблица 9 - Станочные приспособления
|
№
опер
|
Операция
|
Приспособление
|
|
010
|
Токарная
ПУ
|
Патрон
7100 - 0035 ГОСТ 2675 - 80 (ст 183 [10])
|
|
015
|
Токарная
ПУ
|
Патрон
7100 - 0035 ГОСТ 2675 - 80 (ст 183 [10])
|
|
020
|
Токарная
ПУ
|
Патрон
7100 - 0035 ГОСТ 2675 - 80 (ст 183 [10])
|
|
025
|
Токарная
ПУ
|
Патрон
7100 - 0035 ГОСТ 2675 - 80 (ст 183 [10]) Оправка специальная
|
|
030
|
Фрезеная
ПУ
|
Приспособление
фрезерное для обработки пазов 22Н12
|
|
035
|
Зубофрезерная
|
Оправка
специальная
|
|
050
|
Токарная
|
Патрон
7100 - 0035 ГОСТ 2675 - 80 (ст 183 [10])
|
|
055
|
Шлифовальная
|
Оправка
специальная Центр 7032 - 0032 Морзе 4 ГОСТ 13214 - 79 (ст 126 [10])
|
2.5.3 Выбор вспомогательного оборудования
Таблица 10 - Вспомогательное оборудование
|
№
опер.
|
Операция
|
Вспомогательное
оборудование
|
|
030
|
Фрезеная
ПУ
|
Патрон
1 - 50 - 8 - 90 ГОСТ 26539- 85 (ст. 362 [10]) Патрон 1 - 50 - 20 - 100 ГОСТ
26539 - 85 (ст 362 [10])
|
|
050
|
Токарная
|
Оправка
переходная АВ - 6409 - 3071 Оправка 6230 - 0184 ГОСТ 13044 - 67
|
.5.4 Выбор средств техническго контроля
Таблица 11 - Средства технического контроля
|
№
опер
|
Контролируемый
размер
|
Средства
технического контроля
|
|
1
|
2
|
3
|
|
010
|
Торец
87,5; Ǿ149,1; Ǿ70,5; Ǿ отверстия 33,5
|
Штангенциркуль
ШЦ 11 ГОСТ 166- 63 (ст 414 [7])
|
|
015
|
Торец
86; Ǿ56; Ǿ70; Ǿ135,5; торцы 11,8; 12,2; 22; Ǿ выточки 70;
22; отверстие 34,5; 35; фаска 2Ч450
|
Штангенциркуль
ШЦ 11ГОСТ 166 - 63 (ст 414 [7]) Пробка Ш 35Н9 ГОСТ 14810 - 69 (ст 414 [7])
Шаблон для внутренних фасок 2Ч45 М4 1425 - 61 (ст 413 [7])
|
|
020
|
Ǿ70;
фаска 2Ч450; Ǿ148,6; торец 26;14; фаска 2Ч450;
радиус R27
|
Штангенциркуль
ШЦ11 ГОСТ 166 -63 (ст 414 [7]) Шаблон для радиусов R27 Шаблон для наружных
фасок 2Ч45 М4 1416 - 61 (ст 413 [7])
|
|
025
|
Ǿ55;
фаска 2Ч450; торец 11,9; 12,1; Ǿ135; радиус R27
|
Штангенциркуль
ШЦ11 ГОСТ 166 -63 (ст 414 [7]) Шаблон для радиусов R27 Шаблон для наружных
фасок 2*45 М4 1416 - 61 (ст 413 [7])
|
|
|
030
|
Пазы
22Н12; глубина 6; радиус R6
|
Шаблон
для радиусов R6 Штангенциркуль ШЦ 11 ГОСТ 166 -63 (ст 414 [7])
|
|
|
035
|
Зубчатая
поверхность; расстояние между вершинами зубьев 148,6; между впадинами 122,17;
между центрами 138,24
|
Штангензубомер
Ш3 - 18 ГОСТ 163 -41 (ст 431 [7])
|
|
|
050
|
Ǿ
отверстия 35Н9
|
Пробка
Ш 35Н9 ГОСТ 14810 - 69 (ст 414 [7])
|
|
|
055
|
Ǿ
55Н9; Ǿ 135
|
Штангенциркуль
ШЦ11 ГОСТ 166 - 63 (ст 414 [7]) Скоба Ш 35h9 М4 4780 - 63 (ст 411 [7])
|
|
|
|
|
|
|
|
|
2.6 Установление разрядов и профессий
Таблица 12 - Разряды и профессии
|
№
оп.
|
Сприн.
(шт.)
|
Профессия
рабочего
|
Тариф.
разряд
|
Тшт
мин.
|
Nпр
|
Fдр
|
Сдубл.
|
Rрас.
чел.
|
Числен.
рабочих
|
|
|
|
|
|
|
|
|
|
всего
|
1
см.
|
2
см.
|
|
010
|
2
|
Токарь
|
2
|
3,28
|
130000
|
1860
|
2
|
1,53
|
2
|
1
|
1
|
|
015
|
6
|
Токарь
|
2
|
14,38
|
|
|
6
|
2,23
|
2
|
1
|
1
|
|
020
|
2
|
Токарь
|
2
|
3,32
|
|
|
2
|
1,55
|
2
|
1
|
1
|
|
025
|
2
|
токарь
|
2
|
2,85
|
|
|
2
|
1,33
|
2
|
1
|
1
|
|
030
|
2
|
Фрезеровщик
|
3
|
4,08
|
|
|
2
|
1,91
|
2
|
1
|
1
|
|
035
|
5
|
Фрезеровщик
|
4
|
8,88
|
|
|
1
|
8,28
|
9
|
5
|
4
|
|
050
|
1
|
Токарь
|
3
|
1,96
|
|
|
1
|
1,83
|
2
|
1
|
1
|
|
055
|
4
|
Щлифовальщик
|
4
|
7,34
|
|
|
1
|
6,84
|
7
|
4
|
3
|
|
всего
|
24
|
|
|
|
|
|
|
|
28
|
15
|
13
|
.7 Расчет режимов резания по нормативам
Операция 010 Токарная
Черновое точение наружных поверхностей
Глубина резания= 2 мм
Подача = 1 мм/об (ст 64 [8])
Скорость резания= 66 м/мин (ст 76 [8])
n = 
(9)
где V - скорость резания
Д - обрабатываемый диаметр детали
по формуле 9: n = 
= 137 об/мин
Мощность потребная на резание= 4,1
кВт (ст 78 [8])
шп = Nдв
Ч ŋ (10)
где Nдв - мощность
двигателя станка
ŋ - к.п.д. двигателя станка
по формуле 10: Nшп =
7,1Ч0,7 = 5 кВТ<Nшп
Черновое растачивание
Глубина резания= 1,1 мм
Подача 0 = 015 мм/об (ст
66 [8])
Скорость резания= 120 м/мин (ст 76
[8])
По формуле 9: n = 
= 1140 об/мин
Мощность потребная на резание= 2,0
кВт (ст 78 [8])< Nшп
Операция 015 токарная
Получистовое растачивание
Глубина резания= 0,5 мм
Подача= 0,15 мм/об (ст 66 [8])
Скорость резания= 132 м/мин (ст 76
[8])
по формуле 9: n = 
= 1219 об/мин
Мощность потребная на резание= 2,4
кВт (ст 68 [8])<Nшп
Чистовое растачивание
Глубина резания= 0,25
Подача 0 = 0,07 мм/об (ст
68 [8])
Скорость резания= 152 м/мин (ст 76
[8])
По формуле 9: n = 
= 1383 об/мин
Мощность потребная на резание = 2,4
кВт (ст 78 [8])
Точнение наружных поверхностей
Глубина резания= 1,5 мм
Подача0 = 1 мм/об (ст 64
[8])
Скорость резания= 66 м/мин (ст 76
[8])
по формуле 9: n = 
= 143 об/мин
Мощность потребная на резание= 4,1
кВт (ст 78 [8])< Nшп
Обработка выточки
Ширина резца 8 мм
Подача о = 0,1 мм/об (ст
66 [8])
Скорость резания= 104 м/мин (ст 76
[8])
по формуле 9: n = 
= 244 об/мин
Мощность потребная на резание= 4,9
кВт (ст 78 [8])< Nшп
Операция 020 Токарная ПУ
Чистовое точение
Глубина резания= 0,25 мм
Подача = 132 мм/об (ст 66 [8])
Скорость резания= 132 м/мин (ст 76
[8])
по формуле 9: n = 
= 283 об/мин
Мощность потребная на резание= 2,4
кВт (ст 78 [8])< Nшп
Операция 025 Токарная ПУ
Глубина резания = 0,25
Подача о = 0,4 мм/об (ст
67 [8])
Скорость резания= 104 м/мин (ст 78
[8])
по формуле 9: n =
= 245 об/мин
Мощность потребная на резание = 2,9
кВт (ст 78 [8])<Nшп
Операция 030 Фрезерная
Фреза Ǿ 20 мм
Глубина резания = 6 мм
Подача z = 0,05 мм/зуб
(ст 146 [8]) Sм = 121,8 мм/мин
Скорость резания = 25,5 м/мин (ст
146 [8])
фр = 
(11)
где V - скорость резания
Дфр - диаметр фрезы
по формуле 11: nфр = 
= 406 об/мин
Мощность потребная на резание = 1,3
кВт (ст 151 [8])
по формуле 10: Nшп =
5,5Ч0,7 = 3,9 кВт<Nшп
Окончательное врезерование фрезой Ǿ
8 мм
Глубина резания= 6 мм
Подача z = 0,03 мм/зуб
(ст 146 [8]) Sм = 95,5 мм/мин
Скорость резания= 20 м/мин (ст 148
[9])
по формуле 11: nфр = 
= 796 об/мин
Мощность потребная на резание= 0,6
кВт (ст 151 [8])< Nшп
Глубина резания= 13 мм
Подача о = 1 мм/об (ст
148 [9])
Скорость резания= 40 м/мин (ст 148
[9])
по формуле 11: nфр = 
= 87,9 об/минд = 80
об/мин
д =
(12)
по формуле 12: Vд = 
= 36,4 м/мин
Операция 050 Токарная
Подачаz = 1,4 мм/об (ст
82 [9])
Скорость резания= 6,8 м/мин (ст 83
[9])
по формуле 9: n =
= 62 об/минд = 63 об/мин
[по паспорту]д = 6,9 м/мин
Операция 055 Шлифовальная
Глубина резания= 0,2 мм
Скорость резаниякр = 35
м/с (ст 301 [9])д = 20 м/мин заг = 
= 116 об/мин
Подача р = 0,005 мм/об
(ст 301 [9])м = 8 м/мин
Таблица 13 - Режимы резания
|
№
опер
|
Операция
|
T
мм
|
S0
мм/об
|
Sм
мм/мин
|
V
мм/мин
|
N
об/мин
|
NкВт
|
|
010
|
Токарная
ПУ Точение Растачивание
|
2
1,1
|
1
0,15
|
137
171
|
66
120
|
137
1140
|
4,1
2,0
|
|
015
|
Токарная
ПУ Точение Получ растачивание Чистовое растачивание Обработка выточки
|
1,5
0,5 0,25
|
1
0,15 0,07 0,1
|
143
183 97 24
|
66
132 152 104
|
143
1219 1383 244
|
4,1
2,4 2,4 4,9
|
|
020
|
Токарная
ПУ Чистовое точение
|
0,25
|
0,2
|
57
|
132
|
283
|
2,4
|
|
025
|
Токарная
ПУ Чистовое точение
|
0,25
|
0,4
|
98
|
104
|
245
|
2,9
|
|
030
|
Фрезеная
ПУ Фреза Ш 20 мм Фреза Ш 8 мм
|
6
6
|
0,3
0,12
|
121,8
95,5
|
25,5
20
|
400
800
|
1,3
0,6
|
|
035
|
Зубофрезерная
|
13
|
1
|
80
|
36,4
|
80
|
2,2
|
|
050
|
Токарная
Калибров. отверстия
|
|
1,4
|
88,2
|
6,8
|
63
|
|
|
055
|
Шлифовальная
|
0,2
|
0,005
|
8
|
Vкр
= 35 Vз = 20
|
nкр=1590
nз=116
|
|
2.8 Расчет и выбор норм времени
Нормы времени на операции с программным
управлением
Тшт = (Та + Тв
Ч Квт) (1+
) (13)
Где Та - время
автоматической работы по программе
Тв - время ручной
вспомогательной работы
Тоб - время на тех
обслуживание рабочего места, отдых и личные надобности
Ктв - поправочный
коэффициент, учитывающий серийность работы
Та = Тоа + Тва
(14)
Где Тоа - время на
выполнение рабочих ходов
Тва - время на выполнение
холостых ходов
Тв = Тву + Твсп
+ Тви (15)
Где Тву - время на
установку и снятие заготовки
Твсп - вспомогательное
время, связанное с выполнением операции
Тви - время на
контрольные изммерения
Операция 010 токарная
Рисунок 2 - Траектория движения
инструментов на операции 010
Таблица 14 - Расчет времени
автоматической работы станка
|
№
инстр
|
№
участка
|
L
мм
|
Sм
мм/мин
|
Тоа
мин
|
Тва
мин
|
|
1
|
0-1
1-2 2-3 3-4 4-5 5-6 6-7 7-0
|
258
22 1 20 25,8 39,3 17 366
|
5000
137 137 5000 137 137 137 5000
|
-
0,16 0,01 - 0,19 0,29 0,12 -
|
0,05
- - 0,01 - - - 0,07
|
|
2
|
0-1
1-2 2-3 3-4 4-5 5-6 6-0
|
269
1 4,2 88 1 88 270
|
5000
171 171 171 171 5000 5000
|
-
0,01 0,03 0,52 0,01 - -
|
0,05
- - - - 0,02 0,05
|
по формуле 14: Та = 1,34 + 0,35 =
1,69 мин
по формуле 15: Тв = 0,45 + 0,36 +
0,89 = 1,7 мин
Тву = 0,45 мин (ст. 36 [11])
Твсп = 0,36 мин (ст. 50 [11])
Тви = 0,89 мин (ст. 52 [11])
Квт = 0,76 (ст. 35 [11])
Тоб = 10%
по формуле 13: Тшт =
(1,69+1,7Ч0,76)Ч(1+
) = 3,28 мин
Тпз = 18 мин (ст. 56
[11])
Тшк = Тшт +
Тшк = 3,28 + 
= 3,43 мин
Таблица 15 - Нормы времени на
операции с ПУ
|
№
опер
|
Наименование
операции
|
Tа
мин
|
Тв
мин
|
Тшт
мин
|
Тпз
мин
|
Тшк
мин
|
|
010
|
Токарная
|
1,69
|
1,7
|
3,28
|
18
|
3,43
|
|
015
|
Токарная
|
11,73
|
1,54
|
14,38
|
19
|
14,54
|
|
020
|
Токарная
|
1,55
|
1,28
|
3,32
|
17
|
3,46
|
|
025
|
Токарная
|
0,95
|
1,43
|
2,85
|
17
|
2,99
|
|
030
|
Фрезерная
|
2,64
|
0,93
|
4,08
|
24
|
4,28
|
Нормы времни на операции с ручным управлением
Нормы времени на зубофрезерную операцию
Норма штучного времени определяется по формуле
Тшт = (То+Тв+Ктв)Ч(1+
) (16)
где То - время работы
станка
Тв - время
вспомогательных работ
Ктв - коэффициент,
учитывающий серийность работ
аобс - время на
обслуживание рабочего места
аотл - время на отдых и
личные надобности
То = 
(17)
где L - длина рабочего хода- число
зубьев заготовки- частота вращения фрезыо - подача - число заходоы
фррезы
= b + I1 (18)
где b - ширина зуба 1 -
велечина врезания резьбы и перебега фрезы1 = 47 мм ст. (647 [11])=
14 +47 = 61 мм
Т0 = 
= 6,5 мм
по формуле 15 находим Тв
Тву = 0,2 мин (ст. 59
[1])
Твсп = 0,7 мин (ст. 152
[12])
Тви = 0,75 мин (ст. 169
[12])
Тв = 0,2 + 0,7 + 0,75 =
1,65 мин
аобс = 4 % (ст. 160 [12])
аотл = 5 % (ст. 203 [12])
Определяем штучное время
Тшт = (6,5 + 1,65 Ч 1) Ч
(1 +
) = 8,15 Ч 1,09 = 8,88 мин
Определяем подготовительно -
заключительное время
Тпз = 40 мин (ст.
154 [12])
Определям штучно - калькуляционное
время по формуле:
Тшк = 8,88 + 
= 9,21
Таблица 16 - Нормы времени на
операции с РУ
|
№
опер
|
Наименование
операции
|
Т0
мин
|
Тв
мин
|
Тшт
мин
|
Тпз
мин
|
Тшк
мин
|
|
035
|
Зубофрезерная
|
6,5
|
1,65
|
8,88
|
40
|
9,21
|
|
050
|
Токарная
|
1,02
|
0,66
|
1,96
|
23
|
2,15
|
|
055
|
Шлифовальная
|
5,25
|
1,13
|
7,34
|
25
|
7,55
|
3. Конструкторская часть
.1 Проектирование приспособления на фрезерную
операцию
.1.1 Описание приспособления
Необходимо спроектировать специальное фрезерное
приспособление для фрезерования пазов 22Н12 на детали «Звездочка».
Приспособление предназначено для надежного закрепления заготовки и обеспечивает
выполнение требований чертежа.
В приспособление заготовка устанавливается на
цилиндрическую оправку поверхностью Ǿ 35Н9 с упором в торец поверхности Ǿ
148,60,74 мм. Отверстие детали Ǿ 35Н9 мм является направляющей
базой, лишает заготовку 2-х степеней подвижности: линейного перемещения по осям
Z и X. Торец шейки Ǿ148,60,74 мм является установочной базой и
лишает заготовку 3-х степеней подвижности: линейного перемещения по оси Y
и угловых поворотов по осям X, Z. Таким образом, при базировании заготовка
лишается пяти степеней подвижности. Шестая степень свободы - угловой поворот по
оси Yлишается за счет сил зажима в приспособлении.
Зажим осуществляется гайкой при помощи ключа в
ручную.
.1.2 Расчет усилий зажима
Зажимными называются механизмы, устраняющие
возможность вибрации или смещение заготовки относительно установочных
элементов.
К зажимным элементам предъявляют следующие
требования:
. При зажиме не должно нарушаться положение
заготовки, достигнутое при базировании.
. Зажим не должен деформировать заготовку или ее
поверхность.
. Сила зажима должна быть минимально
необходимой.
. Зажим и открепление заготовки.
. Силы резания не должны восприниматься
зажимными устройствами.
. Зажимной механизм должен быть простой по
конструкции.
Рассмотрим действия сил при сверлении отверстий
в заготовке.
На заготовку действуют:
осевая сила резания Р0;
момент от силы резания Мрез;
- момент от сил трения при прижиме Мтр;
момент от сил трения при опоре М трz;
сила прижима Q.
Осевая сила резания Р0 опрокидывает
заготовку вокруг точки опоры «О».
Уравнение равновесия:
КЧР0ЧI - QЧI1 = 0 = Q1
+ Q2 (кгс),
Где Q1 - сила противодействия Р0;2
- сила противодействия Мрез
Отсюда
Q1 = 
= 17,5 мм1 = 40 мм
Моменту от силы резания Мрез
противостоят моменты трения:
Мтр1 = Q2 Ч
f Ч
(кгсЧмм)
Мтр2 = Q2 
f Ч
(кгсЧмм)
Где f= 0,21 - коэффициент трения
Уравнение равновесия:
КЧМрез - Мтр1
- Мтр2 = 0
Отсюда

(кгс),
где К - коэффициент запаса
К = К0 Ч К1Ч
К2Ч К3 ЧК4 ЧК5 ЧК6, (19)
Где К0 = 1,5 -
гарантированный коэффициент запаса;
К1 = К3 =
К5 = К6 = 1
К2 = 1,1 - коэффициент
затупления инструмента;
К4 = 1,4 - стабильность
закрепления
Тогда К = 1,5 Ч1,1Ч1,3 = 2,14
принимаем К=2,2
Рассчитываем Мрез по
формуле:
Мрез = СмЧ Dzm
ЧSym ЧКм (кгс Ч мм) (20)
Где См = 34,5m
= 2m = 0,8
Км = 1= 9 мм=
0,1 мм/об
по формуле 20: Мрез =
34,5 Ч92Ч 0,10,8Ч1 = 443 кгсЧмм
Р0 = СмЧDz
ЧSypЧКм (кгсЧмм) (21)
Где Ср = 34,5p
= 2
Ур = 0,8
Км = 1= 13 ммм = 0,1
мм/об
по формуле 21: Р0 = 68 Ч
13 Ч 0,10,7 = 176 кгсЧмм1 = 
= 
= 169,4 (кгс)2 = 
= 
= 76,71 (кгс),
Общее усилие зажима:2 =
169,4 + 76,71 = 246,11, округлим до 250 (кгс)
Следовательно, для надежного
закрепления заготовки необходимо приложить усилие зажима Q = 250 (кгс)
.1.3 Расчет основных параметров
зажимного механизма
В качестве зажимного механизма
применяем ручной винтовой зажим: гайка через шпильку прижимает кондукторную
втулку к заготовке (зажимаем ее между подставкой и заготовкой).
Согласно справочным данным, усилие
зажима Q = 256 кгс может обеспечить гайка с резьбой М16 и усилием рабочего на
рукоятке 
4,5 кгс при длине рукоятки L = 120
мм. Учитываем условия работы: вес заготовки, ее габариты, принимаем решение
использовать гайку и шпильку с резьбой М16 (более жесткая и прочная). Усилие
рабочего 
5 кгс, длина рукоятки - 200 мм,
гайка с буртиком.
По формуле определяем:
= 
(кгс) (22)
Где Р = 5 кг= 200 ммср =
7,35 - средний радиус резьбы М16
б = 2030` - угол подъема
зуба
с = 6034` - угол трения в
резьбе= 0,1 - коэффициент трениян = 24 мм - наружный диаметр буртикав
= 17 мм - внутренний диаметр буртика
по формуле 22: Q= 
(кгс),
Таким образом, применяем резьбу
гайки и шпильки М16, рабочий без особых усилий обеспечивает необходимое усилие
зажима.
.1.4 Прочностной расчет
Расчет на прочность резьбового
соединения выполняем для наименее прочного звена стержня - шпильки.
При осевом нагружении условие
прочности на растяжение:
(23)
где Dв = 13,8 мм - внутренний диаметр
резьбы;= 450 кгс - максимальная нагрузка
= 4-7 кгс/мм2
- для стали 45ГОСТ1050 - 80 после нормализации.
по формуле 22:
Следовательно. Резьба нагрузку выдержит, т.к.
Уmax = 3 кгс/мм2 < 7
кгс/мм2.
Прочность обеспечена
.2 Расчет режущего инструмента
Резец канавочный
В качестве материала для державки резца
принимаем углеродистую сталь марки 45 ГОСТ1050 - 88
у в = 650 мПа (65 кгс/мм2);
у и = 200 мПа (20 кгс/мм2)
Рассчитываем силу резания:
z
= CPz Чt xpz Ч Sypz Ч V пz Ч Kpz
(кгс) (24)
Где СPz = 247= 1; ypz = 1; пz = 0;pz
= 1 = 0,05 мм/об= 2,8 мм
по формуле 24: Рz = 247Ч2,8Ч0,05Ч1Ч1
= 34,58 кгс
Т.к. резец предназначен для наружной канавки,
используем стандартную державку для отрезного резца (аналог ГОСТ 18884 - 73)
сечение 25Ч 16 мм (для станка 1К62) и Ǿ головки 16 мм
Проверяем прочность и жесткость державки.
Максимальная нагрузка, допускаемая прочностью:
Для круглого сечения
РZдоп = 
(25)
Где
I = 40 мм - вылет резца от опоры= 15 мм - средний диаметр шейки
по
формуле 25: РZдоп = 
кгс,
Прочность
головки обеспечена, т.к. Рzдоп = 169 кгс>Рz = 98,6 кгс
Максимальная
нагрузка, допускаемая жесткостью резца:
Рzжест
= 
(26)
Где
f = 0,06 мм - стрела прогиба;
Е
= 20000 кгс/мм2 - модуль упругости материала;= 0,05d4 =
2531 мм4 - момент инерции сечения
По
формуле 26: Рzжест = 
= 118,6 кгс.
Жесткость
головки обеспечена, т.к. Рzжест = 118кгс> 98,6 кгс
Геометрия
режущей части:
Форма
лезвия 1:1 соответствует форме сечения канавки - резец отрезной
Передний
угол г = 10; задний угол б = 450; угол в плане ц = 900.
Материал пластины - сталь Р18 ГОСТ19265 - 73. Твердость 65…..68 НRC.
.3
Расчет измерительного инструмента
Исполнительные
размеры гладких калибров рассчитывают по формулам ГОСТ 24851 - 81 или принимают
по ГОСТ 2121401 - 75 без проведения расчетов.
Формулы
для расчета исполнительных размеров калибров
ПРmax
= Dmin + Z +
(27)
НЕmax
= Dmax +
(28)
где
Z - отклонение середины поля допуска на изготовление калибра пробки
ПР
относительно наименьшего предельного размера отверстия;
Н
- допуск на изготовление калибра - пробки.
По
ГОСТ 24853 - 81 назначаем допуски гладких калибров для отверстий по 9
квалитету= 0,0035 мм; Y = 0,003мм; Н = 0,004мм
по
формуле 27:
ПРmax
= Dmin + Z + 
= D+EJ + Z +
= 35 + 0,0035 +
= 35,0055 мм
На
чертеже проставляем размер: ПРmax = 35,0055 -0,004 мм
НЕmax
= Dmin + 
= D+ES +
= 35,030 +
= 35,032 - 0,004 мм
На
чертеже проставляем размер: НЕmax = 35,032-0,004 мм
Изношенный
калибр: ПРизнос = Dmin -Y = 35- 0,003 = 34,997 мм
4.
Мероприятия по охране труда, технике безопасности и пожарной безопасности
Охрана труда - это система
законодательных актов, социально-экономических, организационных, технических и
лечебно-профилактических мероприятий и средств, обеспечивающих безопасность,
сохранение здоровья и работоспособность человека в процессе труда. Задача
охраны труда - свести к минимальной вероятности поражения или заболевания
работающего с одновременным обеспечением комфорта при максимальной
производительности труда. Реальные производственные условия характеризуются,
как правило, наличием некоторых опасных и вредных производственных факторов.
В соответствии с ГОСТ
12.003-791 в механосборочном цехе существуют следующие опасные и вредные
производственные факторы:
движущиеся машины и механизмы;
подвижные части
производственного оборудования; - повышенная запыленность и загазованность
воздуха рабочей зоны;
повышенная температура
поверхностей оборудования, материалов;
повышенный уровень шума на
рабочем месте;
повышенный уровень вибрации;
недостаток естественного света;
недостаточная освещенность
рабочей зоны;
острые кромки, заусенцы и
шероховатость на поверхностях заготовки, инструментов и оборудования;
физические перегрузки
(динамические);
нервно-психические перегрузки
(монотонность труда).
Для устранения или уменьшения
этих факторов в цехе проводятся мероприятия, такие как:
в здании механосборочного цеха
установлены вентиляционные системы;
каждый рабочий имеет спецодежду
и спецобувь, очки, а также респиратор;
для защиты от шума органов
слуха рабочие имеют наушники;
для ликвидации недостатка
освещенности рабочей зоны на станках встроены устройства местного освещения;
для защиты от стружки и СОЖ
применяются защитные экраны.;
для защиты от движущихся частей
производственного оборудования применяются защитные ограждения.
Надзор и контроль за
соблюдением законодательства о труде и правил по охране труда осуществляют
специально уполномоченные органы и инспекции, а так же профессиональные союзы.
Одним из необходимых условий
здорового и высокопроизводительного труда в цехе является обеспечение чистоты
воздуха и нормальных метеорологических условий в рабочей зоне помещений
Механосборочный цех относится к
V классу вредности.
В нем поддерживаются следующие
метеорологические условия в холодный и переходной период:
температура воздуха - 18-20 оС;
относительная влажность - 60-40
%;
скорость движения воздуха - не
более 0,2 м/с;
давление - 760 мм ртутного
столба.
В летний период:
температура воздуха -21-23 °С;
относительная влажность -
60-40%;
скорость движения воздуха - не
более 0,3 м/с;
давление - 760 мм ртутного
столба.
Эти данные находятся в
соответствии с ГОСТ 1205-88, где установлены оптимальные метеоусловия
необходимые в рабочей зоне.
Для профилактики травматизма в
механосборочном цехе зону резания токарных, фрезерных, протяжных,
зубообрабатывающих, шлифовальных станков ограждают специальными ограждениями.
Основные меры по снижению
уровня шума воздействующего на человека на рабочих местах в механосборочном
цехе:
использование звукоизолирующих
ограждений;
закрытие кожухами работающих
машин и механизмов;
использование глушителей при
шумовых источениях отработанных газов в атмосферу.
применение средств
индивидуальной защиты, таких как противошумовые наушники, вкладыши и шлемы.
Основные меры по снижению
вибрации в механосборочном цехе:
применение защитных средств:
оградительных, виброизолирующих, виброгасящих и вибропоглощающих;
применение средств
индивидуальной защиты: обуви с амортизирующими подошвами, рукавиц со
специальными вкладышами, рукавиц и перчаток с мягкими наладонниками.
Для создания нормальных условий
освещенности на рабочих местах в производственных помещениях пользуются двумя
видами освещения - естественным и искусственным. Комбинация этих двух видов
представляет собой совмещение освещения.
Эксплуатация большинства машин
в цехе связана с применением электрической энергии, поэтому вопросам
электробезопасности уделяется большое внимание.
Электра безопасность - система
организационных и технических мероприятий и средств, обеспечивающих защиту
людей от вредного и опасного воздействия электрического тока, электрической
дуги, электромагнитного поля и статического электричества.
В цехе предусмотрено защитное
заземление (ГОСТ 12.1.030-81) -преднамеренное электрическое соединение с землёй
металлических нетоковедущих частей оборудования, которые могут оказаться под
напряжением, устраняющее опасность поражения людей электрическим током при
появлении напряжения на конструктивных частях электрооборудования.
Для достижения цели системой
управления охраной труда решаются следующие задачи:
обеспечение соблюдения
законодательства по охране труда;
профессиональный отбор и
медицинский контроль;
порядок допуска к работе.
Обучение, инструктаж и аттестация;
обеспечение порядка внедрения
стандартов ССБТ;
обеспечение безопасных я
здоровых условий труда при эксплуатации оборудования;
обеспечение безопасных и
здоровых условий труда при выполнении производственных процессов;
обеспечение безопасных и
здоровых условий труда при эксплуатации производственных зданий и сооружений;
обеспечение работающих
нормальными санитарно-гигиеническими условиями труда;
обеспечение работающих
средствами индивидуальной защиты;
обеспечение оптимальных режимов
труда и отдыха и лечебно-профилактическое обслуживание;
предоставление работающим льгот
по вредности производства;
санитарно-бытовое обслуживание
работающих.
Для реализации перечисленных
задач осуществляются следующие функции управления:
планирование;
организация работы;
организация контроля;
учет, анализ и оценка состояния
охраны труда и функционирования СУОТ;
координация и регулирование
работ по охране труда;
стимулирование работ по охране
труда;
воспитательная работа.
5. Организационная и экономическая часть проекта
.1 Исходные данные
Таблица 17 - Исходные данные по базоваму и
проектируемому техпроцессу
|
Исходные
данные (показатели)
|
По
проектируемому варианту
|
По
базовому варианту
|
|
Наименование
детали
|
Звездочка
|
Звездочка
|
|
Масса
заготовки
|
6,5
кг
|
12,8кг
|
|
Масса
детали
|
4,3
кг
|
4,3кг
|
|
Вид
заготовки
|
поковка
|
Прокат
|
|
Наименование
материала
|
Сталь
45 ГОСТ 1050-88
|
Сталь
45 ГОСТ 1050-88
|
|
Цена
1 кг основного материала
|
18
руб
|
18
руб
|
|
Цена
1 кг отходов
|
1,5
руб
|
1,5
руб
|
|
Тип
производства
|
среднесерийное
|
Среднесерийное
|
|
Режим
работы
|
2-х
сменный
|
2-х
сменный
|
|
Коэффициент
выполнения норм
|
1,25
|
1,25
|
|
Утвержденная
программа выпуска деталей шт.
|
1500
|
1500
|
Таблица 18 - Техпроцесс обработки детали
проектируемый
|
№
оп
|
Наименование
и содержание операции
|
Оборудование
|
Нормы
времени
|
Разряд
|
|
|
|
То
|
Тв
|
Тшт
|
Тпз
|
Тшк
|
|
|
010
|
Токарная
ПУ
|
16Б16Т1
|
1,69
|
1,7
|
3,28
|
18
|
3,43
|
2
|
|
015
|
Токарная
ПУ
|
16Б16Т1
|
11,73
|
1,54
|
14,38
|
19
|
14,54
|
2
|
|
020
|
Токарная
ПУ
|
16Б16Т1
|
1,55
|
1,28
|
3,32
|
17
|
3,46
|
2
|
|
025
|
Токарная
ПУ
|
16Б16Т1
|
0,95
|
1,43
|
2,85
|
17
|
2,99
|
2
|
|
030
|
Фрезерная
ПУ
|
6Р11ФЗ
|
2,64
|
0,93
|
4,08
|
24
|
4,28
|
3
|
|
035
|
Зубофрезерная
|
5К32А
|
6,5
|
1,65
|
8,88
|
40
|
9,21
|
4
|
|
050
|
Токарная
|
16К20
|
1,02
|
0,66
|
1,96
|
23
|
2,15
|
3
|
|
055
|
Шлифовальная
|
3М151
|
5,25
|
1,13
|
7,34
|
25
|
7,55
|
4
|
|
Итого
|
|
|
|
46,09
|
|
|
|
Таблица 19 - Техпроцесс обработки детали базовый
|
№
оп
|
Наименование
и содержание операции
|
Оборудование
|
Нормы
времени
|
Разряд
|
|
|
|
То
|
Тв
|
Тшт
|
Тпз
|
|
|
010
|
Токарная
|
16Б16
|
4,8
|
1,7
|
6,4
|
18
|
3
|
|
015
|
Токарная
|
16Б16
|
21,03
|
1,54
|
28,1
|
19
|
3
|
|
020
|
Токарная
|
16Б16
|
4,86
|
1,28
|
6,5
|
17
|
3
|
|
025
|
Токарная
|
16Б16
|
4,17
|
1,43
|
5,6
|
17
|
3
|
|
030
|
Фрезерная
|
6Р11
|
5,97
|
0,93
|
7,96
|
24
|
4
|
|
035
|
Зубофрезерная
|
5К324А
|
6,5
|
1,65
|
8,88
|
40
|
4
|
|
050
|
Токарная
|
16К20
|
1,02
|
0,66
|
1,96
|
23
|
3
|
|
055
|
Шлифовальная
|
3М151
|
5,25
|
1,13
|
7,34
|
25
|
4
|
|
Итого
|
|
|
|
72,74
|
|
|
|
|
|
|
|
|
|
|
|
.2 Определение приведенного объема выпуска
деталей и размера партии
где Кз - коэффициент
загрузки оборудования, применяемый 0,8-0,85, что характеризует достаточно
полное использование оборудования;д - действительный годовой фонд
времени работ оборудования 3890 час.;
Тшт - норма штучного
времени на ведущей операции для детали-представителя (мин);
С - количество единиц оборудования;
а - коэффициент допускаемых потерь
на переналадку:
- для серийного производства;
- для мелкосерийного производства.
В качестве ведущей принимается операция с
наименьшей нормой времени. Округляется до целой величины:
Принимаем Nпр =130000 шт.
В том числе детали-представителей - 1500 шт.
Деталей-спутников -18500 шт.
.3 Определение потребного количества
оборудования и его загрузки
Колличество станков определяется исходя из
трудоемкости годового приведенного выпуска деталей. Расчет ведется по каждой
операции отдельно. В начале определяется расчетное количество станков по каждой
операции.
, (29)
где Квн - коэффициент
выполнения норм.
по формуле 29:
Коэффициент загрузки по каждой
операции
По формуле 30:
Средний коэффициент загрузки
оборудования по участку составит:
Результаты расчетов сведем в
таблицу
Таблица 19 - Расчет потребного количества
оборудования
|
№
опер
|
Тип
и модель станка
|
Nшт
|
Fдчас
|
Тшк
|
Срасч.
|
Сприн
|
Кзагр
|
|
010-025
|
16Б16Т1
|
130000
|
4015
|
23,83
|
10,29
|
12
|
0,86
|
|
030
|
6Р11ФЗ
|
|
|
4,08
|
1,76
|
2
|
0,88
|
|
035
|
5К324А
|
|
|
8,88
|
3,83
|
5
|
0,77
|
|
050
|
16К20
|
|
|
1,96
|
0,85
|
1
|
0,85
|
|
055
|
3М151
|
|
|
7,34
|
3,17
|
4
|
0,79
|
|
Итого
|
|
|
|
|
|
24
|
|
Таблица 20 - Ведомость потребного количества
оборудования
|
№
оп.
|
Тип
и модель станка
|
Габариты
станка, м2
|
Количество
станков
|
Мощность,
квт
|
Категории
слож. ремонта
|
Сумма
рем. сложности
|
Оптов.
цена, тыс. руб.
|
Балансовая
стоимость
|
|
|
|
|
|
1
ст.
|
Всех
стан.
|
мех.
|
эл.
|
мех.
|
эл.
|
1-го
|
Всех
|
|
|
010-025
|
Токарный
ПУ 16Б16Т1
|
6,55
|
12
|
0,86
|
11
|
132
|
14
|
21
|
168
|
252
|
600
|
7200
|
7920
|
|
|
030
|
Фрезерный
ПУ 6Р11ФЗ
|
10,96
|
2
|
0,88
|
7,5
|
15
|
11,5
|
21
|
23
|
42
|
40,6
|
812
|
893,2
|
|
|
035
|
Зубофрезный
5К324А
|
2,6
|
5
|
0,77
|
4
|
20
|
10
|
12
|
50
|
60
|
290
|
1450
|
1595
|
|
|
050
|
Токарный
16К20
|
3
|
1
|
0,85
|
11
|
11
|
12,5
|
8,5
|
12,5
|
8,5
|
300
|
300
|
330
|
|
|
055
|
Шлифовальный
3М151
|
11,28
|
4
|
0,79
|
10
|
40
|
10
|
10
|
40
|
40
|
330
|
1320
|
142
|
|
|
Итого
|
|
24
|
0,83
|
|
|
|
|
|
|
|
11082
|
1219
|
|
Балансовая стоимость оборудования определяется
по формуле:
ОПФбалан.=∑ОПФопт+ТЗР=11082+1108,2=1219,2
т. руб.
т. руб.
5.4 Определение потребного количества
основных и вспомогательных рабочих
Расчет численности производственных рабочих
производится по каждой операции, исходя из трудоемкости работ на год с учетом
многостаночного обслуживания. В начале определяется расчетная численность
рабочих. Затем она округляется до принятого кол-ва в зависимости от кол-ва
оборудования и режима работ.
, (31)
где Fдр -
действительный годовой фонд времени производственного времени.
Квн - коэффициент
выполнения норм.
по формуле 31:
Рприн = 2 чел.
Рприн = 3 чел.
Рприн = 2 чел.
Рприн =2 чел.
Рприн = 2 чел.
Рприн = 9 чел.
Рприн = 2 чел.
Рприн = 7 чел.
Расчет численности наладчиков
В начале определяется расчетная
численность наладчиков, Rн.яв чел., по формуле:
, (32)
где
- коэффициент сменности работы
оборудования (2 смены);
- норма обслуживания на одного
наладчика в смену в шт.;
для станков с ЧПУ по формуле
32:
чел.
для универсальных станков
чел.
Нобсл для универсальных
станков = 10 станкам
Затем рассчитывается списочная
численность наладчиков
(33)
где Кн -
коэффициент, учитывающий невыходы по уважительной причине (отпуск, болезнь и
т.д.)
по формуле 33:
для станков с ЧПУ
чел Рприн.ЧПУ = 8 чел.
для универсальных станков
Рприн.Универ. = 2 чел.
Численность наладчиков при 2-х
сменном режиме работы составит - 28 чел. в первую смену и 15 чел. в 2-ю.
.5 Организация труда, участка,
рабочих мест и планировка оборудования на участке
Под рабочим местом понимается часть
производственной площади, оснащенной необходимыми средствами, в которой
совершается трудовая деятельность исполнителя или группы исполнителей,
выполняющих одну и туже операцию.
Организация рабочего места - это система
мероприятий по оснащению рабочего места средствами и предметами труда в
определенном порядке.
Обслуживание рабочих мест - это обеспечение
рабочего места средствами, предметами труда и услугами, необходимыми для
обеспечения трудового процесса.
Условия труда - совокупность факторов
производственной среды, оказывающих влияние на здоровье и работоспособность
человека в процессе труда.
Таблица 21 - Карта организации труда на операцию
010 с применением станков с ЧПУ
|
Предприятие
ЗАО КПО
|
Карта
организации труда на рабочем месте
|
Цех
Участок Рабочее место
|
|
Исходные
данные
|
Предмет
труда и технология обработки
|
Форма
организации труда
|
Форма
оплаты труда
|
|
Деталь-представитель
- звездочка
|
Бригадная
|
Сдельная-
премиальная
|
|
Материал
- сталь 45
|
|
|
|
Вид
заготовки - штамповка
|
|
|
|
Масса
заготовки - 6,5 кг
|
|
|
|
Трудовой
процесс
|
Элементы
процесса труда
|
|
|
1.
Подготовка станка к работе
|
1.
Визуально осмотреть гидросистему, положение переключателей на систему ЧПУ,
проверить наличие масла и СОЖ в системах
|
|
2.
Установка и снятие детали
|
2.
Установить резец в УП, произвести наладку станка, ввести УП в УЧПУ,
произвести соответствующую коррекцию и произвести обработку детали
|
|
3.
Наблюдение за работой станка
|
3.
Произвести замеры размеров согласно расчетам
|
|
Оснастка
|
Габаритные
размеры (м2)
|
Кол-во,
шт.
|
Обозначение
модели
|
|
Технологическое
оборудование
|
|
|
|
|
1.
Токарный с ЧПУ
|
6,55
|
2
|
16Б16Т1
|
|
Технологическая
оснастка:
|
|
1(2)
|
|
|
1.
Штангенциркуль
|
|
1(2)
|
|
|
2.
Калибр-пробка
|
|
2
|
|
|
Оргоснастка:
|
|
|
|
|
1.
Резец проходной
|
|
2
|
|
|
2.
Резец расточной
|
|
2
|
|
|
3.
Решетка под ноги
|
|
2
|
|
|
4.
Прочная оснастка:
|
|
|
|
|
-
инструмент. шкаф
|
|
2
|
|
|
-
подставка для чертежей
|
|
2
|
|
|
-
стол деталей
|
|
2
|
|
|
Пространственная
организация рабочего места 1 - Токарный станок ЧПУ 16Б16Т1 2 - УЧПУ 3 -
инструментальный шкаф 4 - решетка под ноги 5 - Рабочее место
|
|
Обслуживание
рабочего места
|
Функции
обслуживания
|
Исполнители,
способы и режимы обслуживания
|
|
1.
Обслуживание участка основными материалами или заготовками, транспортировка
деталей по участку
|
1.
Электрокарщик 2 раза в смену
|
|
2.
Обеспечение рабочих мест инструментом
|
2.
Электрокарщик 2 раза в смену
|
|
3.
Организация наладки оборудования
|
3.
Наладчик
|
|
4.
Техническое обслуживание и ремонт оборудования
|
4.
Отдел главного механика
|
|
5.
Контроль качества продукции
|
5.
Контролер ОТК
|
|
Условия
труда
|
Факторы
|
Нормы
|
|
1.
Влажность
|
68%
|
|
2.
Температура воздуха
|
180
|
|
3.
Уровень шума
|
80
дБ
|
|
Требования
к исполнителю работ
|
Профессия
- токарь-оператор станка с ЧПУ
|
|
Тарифный
разряд - 2
|
|
Образование
- средне-техническое
|
|
|
|
|
|
|
|
|
.6 Расчет себестоимости изготовления детали
Цеховая себестоимость складывается из следующих
затрат:
где Сцех - цеховая
себестоимость детали, руб.;
М - стоимость материалов (за вычетом отходов),
руб.;
Зосн - зарплата основная
производственных рабочих;
Здоп - зарплата дополнительная
производственных рабочих;
Зстр - отчисления на социальное
страхование с зарплаты производственных рабочих;
Рсод - расходы по содержанию и
эксплуотацииоборудования;
Рцех - цеховые расходы.
Порядок определения затрат, составляющих
себестоимость детали:
Стоимость материалов (за вычетом отходов) на
одно изделие:= 113,7 руб
Основная зарплата производственных рабочих на
деталь:
Зосн= 10,7 руб
Дополнительная зарплата на одну деталь
определяется в размере 40% к основной зарплате по формуле:
,
Отчисления на социальное страхование
определяется в размере 26% к сумме основной и дополнительной зарплаты:
,
Расходы на содержание и эксплуотацию
оборудования определяются в размере 150% к основной зарплате производственных
рабочих без доплат по прогрессивно-премиальным системам, т.е. от зарплаты по
тарифу:
,
Цеховые расходы определяются так же,
как и расходы по содержанию и эксплуотации оборудования, но в размере 50%.
,
Результаты расчетов сводим в калькуляцию.
Таблица 22 - Калькуляция цеховой себестоимости
детали
|
Статьи
затрат
|
Сумма
в руб.
|
|
1
|
Материалы
(за вычетом отходов)
|
273
|
|
2
|
Основная
з/п производствен, рабочих
|
15,67
|
|
3
|
Дополнительная
з/п
|
6,27
|
|
4
|
Отчисления
на социальное страхование
|
5,75
|
|
5
|
Расходы
на содержание и эксплуатации оборудования
|
23,50
|
|
6
|
Цеховые
расходы
|
7,84
|
Цеховая себестоимость детали Сцех
- 332,03 руб.
Годовой приведенный объем
выпуска деталей - 70000 шт.
Себестоимость годового
приведенного объема выпуска Сцех= 23242100 руб.
5.7 Экономическая эффективность
проектируемого техпроцесса
Таблица 23 - Исходные данные
|
Наименование
данных
|
вариант
базовый
|
вариант
проектируемый
|
|
|
010-025
|
030
|
010-025
ЧПУ
|
030
ЧПУ
|
|
1
|
Деталь
- представитель
|
Звездочка
|
|
2
|
Годовой
приведенный объем выпуска, Nпр, шт.
|
130000
|
|
3
|
Количество
наименований обработ. деталей mд
|
25
|
|
4
|
Тип
и модель станка
|
16Б16
|
6Р11
|
16Б16Т1
|
6Р11ФЗ
|
|
5
|
Норма
штучного времени
|
46,6
|
7,96
|
23,83
|
4,08
|
|
6
|
Основное
время
|
34,86
|
5,97
|
15,92
|
2,64
|
|
|
|
|
|
|
|
|
7 Количество станков
Сст для базового варианта:
|
244122
|
|
|
|
|
|
|
8
|
Коэффициент
загрузки Кзагр для базового варианта , 0,84
|
0,85
|
0,86
|
0,88
|
|
|
|
9
|
Площадь
станка по габаритам м2
|
4,5
|
5,8
|
6,55
|
10,96
|
|
10
|
Категория
сложности ремонта станка Механической части Rм Электротехнической Rэ
|
12,5
|
10
|
14
|
11,5
|
|
|
|
8,5
|
7,8
|
21
|
21
|
|
11
|
Оптовая
цена станка Цст тыс. руб
|
300
|
363
|
600
|
406
|
|
12
|
Приспособление
|
|
|
13
|
Цена
приспособления
|
Входит
в цену станка
|
|
|
|
|
|
|
|
|
|
|
|
|
14 Количество
рабочих, чел: 14.1 Станочников для базового варианта
Наладчиков
для базового варианта
|
1
|
|
|
|
|
|
|
|
Дополнительная
раб. сила
|
-
|
-
|
6
|
1
|
|
15
|
Разряд
Станочников Наладчиков Настройщиков инструмента
|
3
|
4
|
2
|
3
|
|
|
|
|
5
|
5
|
5
|
5
|
|
|
|
-
|
-
|
5
|
5
|
|
|
16
|
Коэффициент
многостаночности
|
1
|
2
|
2
|
|
|
|
|
|
|
|
|
|
|
|
|
17 Расценка
для базового варианта:
,77
,16
,74
Таблица 24 - Расчет капитальных вложений по
сравниваемым вариантам
|
Условное
обознач. затрат
|
Содержание
затрат и расчет
|
Сумма
руб.
|
|
|
|
базовый
|
проект.
|
|
|
|
|
|
Кизм.ст Балансовая
стоимость оборудования
Кизм.пр Стоимость
спец. приспособлений
|
где
Цпр - цена приспособлениеВходит в цену станка
|
|
Кизм.пл Стоимость
производственной площади:
где Цпл
- стоимость 1 м2 площади (36000руб.)
|
Sст
- площадь станка по габаритам 3936000 - 4905600
|
|
|
Кизм
быт Стоимость служебно-бытовых объектов:
,где
Sрa6. - площадь на 1 чел. (7м2)
|
Rдоп-
дополн. раб. сила (0,5 чел на 1 ст.) 1770000 - 720000
|
|
|
Кизм об Стоимость
оборотных средств 
где 3 - число партий деталей,
приходящееся на 1 раб. место
Смех.ед.- себестоимость механической
обработки единицы и равна:
,5 - коэффициент нарастания затрат
|
Сзаг
- стоимость заготовки 33360 - 17040
|
|
|
Кизмкпу Стоимость
комплектов ПУ
(40+52∙88)∙25=
где Ап - постоянная
составного стоимость ПУ для конкретного вида конкретного вида обработки
|
Вк
- стоимость 1 -го кадра Кк - количество кадров Мд -
количество наименований - 115400
|
|
|
|
|
Итого:
Кизмбаз = Кизмпроект=
|
15256560
|
14571240
|
Таблица 25 - Расчет себестоимости механической
обработки по сравниваемым вариантам
|
Условное
обознач затрат
|
Содержание
затрат и расчет
|
Сумма,
руб.
|
|
|
базовый
|
Проектируемый
|
Згодизм Зарплата
производственных рабочих за год
Зн.годизм Зарплата
наладчиков за год
где
С - часовая тарифная ставка эф - полезный фонд времени наладчика
Зин.годизм Зарплата
настройщиков:
Апу Годовые
затраты на возобновление ПУ
где
1,1 - коэффициент учитывающий возобновление перфоленты
Кпу-
стоимость комплектов ПУ за год
Твып-
средний срок выпуска деталей одного наименования (3-5лет)
Апр Затраты
на ремонт и содержание спец. приспособлений
|
,где
Кпр - стоимость комплекта приспособлений на всех наименования
деталей 1.3 - коэффициент, учитывающие затраты на ремонтВходит в цену станка
|
|
Аусп Затраты
по сборке и разборке приспособлений:
,где
Цусп - цена затраты на сборку и разборку приспособлений
Цср
- оптовая цена сборки разборки 1-го приспособления
Цпрок
- оптовая цена за прокат
|
tдн
- кол-во дней прокатаВходит в цену станкаВходит в цену станка
|
|
|
Аам Амортизационные
отчисления на полное восстановление станков:
где
А =5,3%- норма амортизации на полное восстановления
Апл Затраты
на амортизацию и содержание помещения
где
Нпл - затраты на амортизацию и содержания 1 м2 площади
(150 руб.)ст- площадь, занимаемая одним станкомдоп=4,5 м
Срем Затраты
на ремонт и обслуживание станка:
где
Нм, Нэ - среднегодовая нормативная ремонтосложность
(механической и электрической частей)
Рм,Рэ
- категория сложности ремонта

Стехн Затраты
на техническое обслуживание и ремонт
Нпу-
затраты на тех. обслуживание и ремонт
|
68040
|
|
|
|
|
Итого:
Смех.баз.= Смех.проект=
|
5805970
|
3141480
|
Таблица 26 - Расчет годового эффекта и срока
окупаемости дополнительных капвложений
|
Обозначение
затрат
|
Расчет
затрат
|
Сумма,
руб
|
|
|
Баз.
вариант
|
Проект.
вариант
|
|
Кизм
|
Сумма
капитальных вложений
|
15256560
|
14571240
|
|
Смо.год
|
Себестоимость
механической обработки годового выпуска
|
5805970
|
3141480
|
|
П
|
Приведенные
затраты Пбаз= Смех.обр.+ Ен∙К где Ен-
нормативный коэффициент эффективности капиталовложения (0,2) Пбаз=5805970+0,2·15256560=
Ппроект=3141480+0,2∙14571240=
|
8857280 -
|
6055730
|
|
Эгод
|
Годовой
экономический эффект Эгод=Пбаз-Ппроект=8857282-6055730=
|
-
|
2801550
|
|
|
|
|
|
Определение численности
высвобождаемых рабочих, Дrз чел., производится по формуле:
∆
Рост производительности в
результате высвобождения численности
∆
где В1, В2
- выработка продукции на одного рабочего по базовому и проектируемому варианту
(шт)
Снижение себестоимости продукции
Расчет годового экономического
эффекта и срока окупаемости дополнительных капитальных вложений на утвержденную
программу
Рассчитаем потребное количество
оборудования на утвержденную программу
Сприн.Унив.=1 стан
Сприн.Унив.=1 стан
Сприн.Унив.=1 стан
Сприн.Унив.=1 стан
Сумма капитальных вложений на
утвержденную программу
Себестоимость механической обработки
деталей на утвержденную программу
Приведенные затраты на утвержденную
программу
Пбаз = Мбаз +
Смо.баз. + 0,2 · Кбаз=66992+0,2·729300=212853 т. руб
Ппроект = Мпроект +
Смо.проект. + 0,2 · Кпроект=36248+0,2·1106000=257448 руб
Рассчитываем годовой экономический
эффект на утвержденную программу
=212853-257448=-44595руб (убыток)
Обоснование экономической
эффективности внедрения станков с ЧПУ
Использование станков с ЧПУ на
приведенную программу целесообразно, т.к:
1
Годовой
экономический эффект составит - 2801550 руб.
2
Рост
производительности труда рабочих на участке - 145,9 %
3
Снижение
себестоимости продукции - 47,4 %
4
Высвобождение
численности рабочих человек - 35 чел
На утвержденную программу
использование станков с ЧПУ нецелесообразно, т.к. получается убыток в сумме
44595 руб.
Необходимо использовать
детали-спутники
.8 Технико-экономические показатели.
Таблица 27 - Технико-экономические показатели
|
Наименование
показателей
|
ед.
изм.
|
Показатели
|
|
1
2 3 4
|
Выпуск
продукции Годовой приведенный объем выпуска дет. То же по трудоемкости То
же по себестоимости Годовой объем выпуска типовых деталей
|
шт.
н/ч. руб. шт.
|
130000
99861 20017400 1500
|
|
5
6 7 8 9 10
|
Оборудование
и производственная площадь Количество оборудования Средний коэффициент
загрузки оборудования Балансовая стоимость оборудования Суммарная мощность
обор. Производственная площадь Стоимость производственной площади
|
шт.
руб кВт м2 руб.
|
24
0,83 12190200 218 161,32 48396000
|
|
11
12 13
|
Труд
Количество производственных рабочих • производ. основных • наладчиков •
настройщиков инструмента Средний разряд основных производственных раб.
Производительность труда (выработка продукции на производственного рабочего в
год)
|
чел
чел чел чел шт.
|
46
28 10 8 3 2826
|
|
14
15
|
То
же по трудоемкости Среднемесячная зарплата производственных рабочих
|
н/ч.
руб.
|
2171
5796
|
|
16
17 18
|
Себестоимость
единицы продукции Расход материалов Трудоемкость ед. продукции Цеховая
себестоимость детали
|
кг.
н/ч руб.
|
6,5
0,768 153,96
|
|
19
20 21 22
|
Показатели
экономической эффективности Рост производительности труда Снижение
себестоимости продукции Годовой экономический эффект Высвобождение
численности
|
%
% руб чел
|
145,9
47,4 2801550 35
|
|
|
|
|
|
Список литературы и нормативных документов
1. Справочник технолога
машиностроения в 2 томах. Том 1 /Под редакцией А.Г.Косиловой, Р.К.Мещерякова -
4-е изд. - М.: Машиностроение 1987 г.
. Поливанов П.М., Поливанова Е.Г.
таблицы подсчета масс деталей и материалов: Справочник - 10-е изд. - М.:
Машиностроение 1987 г.
. Справочник технолога
машиностроения в 2 томах. Том 2 /Под редакцией А.Г. Косиловой, Р.К. Мещерякова
- 4-е изд. - М.: Машиностроение 1986 г.
. Локтев «Станки с программным
управлением и промышленные роботы»: переработано и дополнено - М.:
Машиностроение 1986 г.
. Обработка металлов резанием:
Справочник технолога / Под редакцией А.А.Панова - М: Машиностроение 1988 г
. Справочник - технолога
машиностроения - М.: Машиностроение 1987 г.
. Кузнецов Ю.И., Маслов А.Р., Байков
А.Н. «Оснастка для станков с ЧПУ»: Справочник - 2-е издание - М.:
Машиностроение 1990 г.
. Общемашиностроительные нормы
времени и режимов резания на работы, выполняемых на станках с ЧПУ /ЦБПНТ при
НИИ труда М.: Машиностроение 1980 г.
. Общемашиностроительные нормы
режимов резания для технического нормирования работ на металлорежущих станках
/часть 1 ЦБПНТ при НИИ труда 2-е издание - М.: Машиностроение 1974 г.
. Нефедов Н.А., Осипов К.А. «Сборник
задач и примеров по резанию металлов»; Учебное издание для техникумов 5-е
издание - М.: Машиностроение 1990 г.
. Общемашиностроительные нормы для
сборки и слесарных работ.
. Общемашиностроительные нормы
вспомогательного времени, на обслуживание рабочего места, и подготовительного
для технического нормирования станочных работ /ЦБПНТ при НИИ труда - М.:
Машиностроение 1974
13. Баскакова О.В. Экономика
организаций (предприятий): Учебное пособие /ОМ: Дашков и К, 2008. - 272 с.
. Басовский Л.Е. Экономика
отрасли. Учебное пособие, 2009
. В.Ф. Протасов, А.В.
Протасова. Анализ деятельности предприятия (фирм) Москва, 2005
. З.Ф. Шелестенко. Экономика,
организация и управления предприятия. Ростов, ДГТУ, 2007
. Маркарян Э.А. Экономический
анализ хозяйственной деятельности. Ростов, Феникс, 2005
. Савицкая Г.В. Анализ
хозяйственной деятельности. Минск. Новое время, 2008
. Скамай Л.Г. Экономический
анализ деятельности предприятия М.:ИНФРА-М, 2006
. Скворцов Ю.В.
Организационно-экономические вопросы в дипломном проектировании: Учебное
пособие - М.: Высшая школа, 2006 - 399 с.
. Экономика предприятия.
Сборник задач: М: Высшая школа, 2007
. Ю.Ф. Елизаров. Экономика
организаций М.: Экзамен, 2005