Метрологические характеристики пневматических приборов
МЕТРОЛОГИЧЕСКИЕ
ХАРАКТЕРИСТИКИ ПНЕВМАТИЧЕСКИХ ПРИБОРОВ
В промышленности широко используются
пневматические элементы автоматики и измерительной техники. Они составляют
пневматическую ветвь государственной системы приборов и средств автоматизации
(ГСП).
Особенно ценными качествами пневматических
устройств являются: простота аппаратуры и надежность их работы, а также взрыво-
и пожаробезопасность, которые становятся решающими при автоматизации
производств - химической, нефтяной, пищевой,
целлюлозно-бумажной и других, где пневматические средства автоматизации и
контроля незаменимы.
Пневматические приборы предназначены для
измерения технологических параметров, предварительно преобразованных в
пневматический сигнал величиной 20-100 кПа
В настоящее время промышленностью выпускается
серия пневматических приборов системы СТАРТ, выполненных на базе
унифицированных элементов промышленной пневмоавтоматики (УСЭППА).
В систему СТАРТ входят: показывающие приборы
ПВ1.3, ПВ2 (с сигнальным устройством), ПВ2.3 (с задатчиком), ПВ3.2
(трехшкальный); самопишущие и показывающие с электрическим (пневматическим)
приводом диаграммы ПВ4.2Э (ПВ4.2П) (одношкальные), ПВ4.3Э (ПВ4.3П) (две
показывающие системы), ПВ10.1Э (ПВ10.1П) (три показывающих и одна записывающая
системы, с узлом переключателя и задатчиком), ПВ10.2Э (ПВ10 < Д1) (две
записывающие и четыре показывающие системы, с узлом переключателя и
задатчиком); интегрирующие ПВ.4П и ПИК-1.
Основная допустимая погрешность вторичных
пневматических приборов ±1 %.
Все пневматические преобразователи, датчики и
приборы содержат преобразователь типа «сопло-заслонка» (рис. 1). Воздух,
очищенный от пыли, масла и влаги, под постоянным давлением Р поступает через
дроссель постоянного сопротивления 1 в проточную камеру. Из последней сжатый
воздух через сопло 2, прикрываемое заслонкой 3, вытекает в атмосферу. При этом
сопло с заслонкой образуют управляемый дроссель (переменное регулируемое
сопротивление)
Положение заслонки 3, перемещающейся под
воздействием измеряемого параметра X относительно сопла 2, определяет проходное
сечение и величину Р в проточной камере. Эта камера соединяется с линией связи
или с основным элементом.
Рис. 1 - Преобразователь типа «сопло-заслонка»
Принцип работы пневматического вторичного прибора
На рис. 2 приведена схема измерительного
устройства приборов ПВ. Действие его основано на компенсационном принципе, при
котором усилие на приемном элементе, возникающее под действием входного
давления, уравновешивается усилием от давления воздуха источника питания. [2,
5].
Рис. 2 - Измерительное устройство вторичного
измерительного прибора ПВ
Входной сигнал Р поступает в приемный сильфон 3,
воздух питания через , дроссель 1 подается в силовой элемент 10 и к соплу 5.
При изменении входного давления сильфон перемещает рычаг 4, вызывая изменение
зазора между соплом и заслонкой 6, расположенной на конце рычага 4. При
увеличении входного давления заслонка прикрывает сопло, и давление в линии
силового элемента также увеличивается. Это вызывает перемещение верхнего конца
рычага 8 и связанной с ним нити 14, огибающей ролики 11 и 13. Нить перемещает
указатель и перо 12 и растягивает пружину обратной связи 7, несколько вращая
заслонку, чем обеспечивается пропорциональность показаний прибора. Крепление
рычагов 4 и 8 осуществляется с помощью пластинчатых пружин 2 и 9.
Режимы работы пневматического прибора со
станцией управления
Станция управления встраивается во вторичные
приборы, осуществляющие непрерывную запись регулируемого параметра, а также
дает показания от ручного или программного задатчика (рис. 3).
Рис. 3 - Принципиальная схема станции управления
Станция управления компонуется из ручного
задатчика (I) и переключателя (узлы II и III). Узел задатчика предназначен для
установки задания при автоматическом регулировании и управлении исполнительным
механизмом при ручном управлении.
Узел задатчика состоит из задатчика 1, усилителя
мощности 2, и нерегулируемого пневмосопротивления 3.
Переключатель состоит из кнопочного механизма и
узла с выключающими реле Ш. Если кнопка не включена, то воздух из канала
питания проходит в реле переключателя. При включении кнопки конус 4 входит в
выступ 5, который поджимается к поверхности конуса пружиной. Шток конуса
пружиной 6 отталкивает шарик 7, в результате чего закрывается клапан питания, а
включающее реле сообщается с атмосферой.
Выключающие реле 8 и 9 управляются командными
сигналами Рк1, и Рк2 , подаваемыми в камеры Ат и Ао от соответствующих кнопок.
При Рк = 0 под действием пружины закрыто сопло С2. Когда Рк = 1 закрыто сопло
С1, но открыто сопло С2. Таким образом, выход реле в зависимости от давления
команды Рк соединяется либо с одним, либо с другим соплом.
Станция управления имеет пять кнопок. Слева три
кнопки соответствуют ручному управлению (Р), автоматическому (А) и
автоматическому программному регулированию (АП). Две кнопки, расположенные
справа, управляют включением регулятора (ВКЛ. и ОТКЛ.)
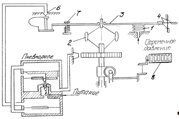
Методика поверки прибора ПВ
Поверка правильности показаний прибора ПВ
производится по схеме, приведенной на рис. 4.
На поверяемый прибор ПВ подается воздух через
редуктор Р давлением 0,14 мПа, контролируемая с помощь манометра М. От этого же
редуктора через задатчик 3 подается регулируемое в пределах 20-100 кПа давление
на вход поверяемого прибора и на образцовый манометр МО с пределами 0-160 кПа.
Рис. 4 - Схема поверки
Указатель и перо должны устанавливаться на
нижней отметке шкалы с точностью не ниже ±0,5% при подаче на вход прибора
давления 20 кПа. Для устранения отклонений в приборе имеется корректор. Затем
производится поверка правильности показаний на всех числовых отметках шкала
вначале при увеличении давления, затем при его уменьшении.
Поверку можно производить двумя способами. По
первому способу устанавливают стрелку прибора на поверяемую отметку шкалы Мш,
создавая соответствующее давление Рэ, которое измеряется образцовым манометром.
По второму способу устанавливают по образцовому
манометру расчетное значение входного давления Рр, а отчет показаний производят
по шкале поверяемого прибора Nп. При этом значение входного давления Рр, кПа
определяют по формуле:
где Nшк, Nшн - значения измеряемой величины,
соответствующие конечной и начальной отметкам шкалы.
Основная погрешность δ,% определяется
по формулам:
при поверке по первому способу

;
при проверке по второму способу:
.
Прибор предназначен для измерения
количества вещества путем суммирования значений расхода за промежуток времени
(рис. 5).
Рис. 5 - Схема пневматического прибора ПИК-1
Интегратор состоит из двух основных частей -
механической (счетчик) и пневматической (интегратор), включающей измерительный
узел и узел преобразования сигнала, пропорционального перепаду, в сигнал,
пропорциональный расходу.
Действие прибора основано на принципе силовой
компенсации. Усилие на приемном элементе сильфоне 1, получающееся от входного
пневматического сигнала, непрерывно уравновешивается усилием, развиваемым
центробежным регулятором 2. Вращение центробежного регулятора передается на ось
счетчика
Измерительный узел и узел преобразования
устанавливают на общем основании. К основанию прикрепляют приемный сильфон 1. В
сильфон поступает пневматический сигнал от преобразователя
дифманометра-расходомера. Дно сильфона жестко закрепляют на рычаге 3. Один
конец рычага подвешен на ленточных подвесах 4. На другом конце рычага
закреплена заслонка 5, отстоящая от сопла 6 на расстояние 0,01-0,15 мм.
Ленточные подвесы обеспечивают качание рычага 3, взаимно перпендикулярны и
надежно закреплены.
Коррекция нуля прибора осуществляется винтом 7.
Интегрирующие приборы снабжены шестизначным
счетчиком барабанного типа и дисковой шкалой для точных отсчетов (с точностью
до 0,005). Количество вещества Q определяется по формуле:
пневматический прибор станция
управление
Q = C × Dn
где С - постоянная
интегратора; Dn - разность показаний
счетчика. Допустимая погрешность интегратора 1,0 %.
ЛИТЕРАТУРА
1.
Волынский В.А. и др. Электротехника / Б.А. Волынский, Е.Н. Зейн, В.Е.
Шатерников: Учеб. пособие для вузов. - М.: Энергоатомиздат, 2007. - 528 с., ил.
.
Касаткин А.С., Немцов М.В. Электротехника: Учеб. пособие для вузов. - 4-е изд.,
перераб. - М.: Энергоатомиздат, 2009. - 440 с.
.
Основы промышленной электроники: Учебник для неэлектротехн. спец. вузов / В.Г.
Герасимов, ОМ. Князьков, АЕ. Краснопольский, В.В. Сухоруков; под ред. В.Г.
Герасимова. - 3-е изд., перераб. и доп. - М.: Высш. шк., 2006. - 336 с.
.
Электротехника и электроника в 3-х кн. Под ред. В.Г. Герасимова Кн.1.
Электрические и магнитные цепи. - М.: Высшая шк. - 2006 г.
.
Электротехника и электроника в 3-х кн. Под ред. В.Г. Герасимова Кн.2.
Электромагнитные устройства и электрические машины. - М.: Высшая шк. - 2007 г.