Исполнительные механизмы

  • Вид работы:
    Курсовая работа (т)
  • Предмет:
    Технология машиностроения
  • Язык:
    Русский
    ,
    Формат файла:
    MS Word
    734,42 kb
  • Опубликовано:
    2010-03-19
Вы можете узнать стоимость помощи в написании студенческой работы.
Помощь в написании работы, которую точно примут!

Исполнительные механизмы

Общие сведения

Совершенствование любого промышленного предприятия, повышение производительности его оборудования, улучшение технологии производственных процессов и качества продукции невозможно без хорошо налаженного метрологического обеспечения.

Научной основой является метрология – наука об измерениях, методах и средствах установления их единства, способах достижения требуемой точности измерений, а технической основой – система обязательной государственной и ведомственной поверки и планово-предупредительного ремонта средств измерений, обеспечивающая их единообразие при эксплуатации.

Государственная система промышленных приборов и средств автоматизации (ГСП) представляет собой комплекс унифицированных взаимозаменяемых приборов и устройств, предназначенных для использования в промышленности в качестве технических средств автоматических и автоматизированных систем контроля, измерения, регулирования и управления технологическими процессами.

Внедрение ГСП обеспечивает создание приборов и устройств систем автоматизации на принципах унификации, агрегатирования, совместимости. Унификация позволяет сократить номенклатуру выпускаемых промышленных приборов и устройств при полном удовлетворении потребностей промышленности, удешевить их стоимость, уменьшить эксплутационные затраты. Агрегатирование позволяет компоновать различные приборы, регуляторы, преобразователи из типовых унифицированных деталей, узлов, модулей и агрегатов, обладающих функциональной и геометрической взаимозаменяемостью, т.е. улучшает качество изделий, сокращает затраты на изготовление и повышает надёжность их работы.

Совместимость на основе унификации сигналов связи, конструктивных присоединительных размеров, параметров питания, метрологических характеристик, эксплутационных требований позволяет скомпоновать приборы и устройства различного назначения в автоматические системы контроля, регулирования и управления технологическими процессами, а также осуществить их взаимную заменяемость.

По функциональному признаку приборы и устройства ГСП подразделяются на следующие группы: получения информации о состоянии процесса; ввода и вывода информации; преобразования и хранения информации; использования информации; вспомогательные. Отдельные изделия ГСП могут сочетать в себе несколько вышеперечисленных функций.

Контрольно-измерительные приборы используются для измерения и записи различных технологических параметров (давления, температуры, уровня, расхода, состава и др.), в них могут быть встроены дополнительные устройства для осуществления сигнализации предельно допустимых значений параметра, преобразования и передачи сигнала к другим измерительным системам и регуляторам суммирования и др.

Информационный сигнал об измеряемом параметре передаётся от первичного ко вторичному преобразователю по линиям связи (электрические провода, пневмотрубки и т.д.).

В зависимости от вида энергии носителя сигналов в канале связи, применяемого для приёма, выдачи и обмена информации, изделия ГСП подразделяются: на электрические; пневматические; гидравлические; использующие другие виды энергии носителя сигналов; комбинированные; работающие без использования вспомогательной энергии.

Системные принципы, положенные в основу построения ГСП, позволили экономически и технически рационально решить проблему обеспечения техническими средствами АСУТП.

Широкое внедрение автоматизации производственных процессов является не только одним из важнейших факторов повышения производительности труда, но и важнейшим средством повышения качества продукции, уменьшения отходов при производственных процессах, что значительно уменьшает себестоимость продукции.

Высококачественный ремонт приборов и автоматических регуляторов – важнейшая часть метрологического обеспечения предприятий отрасли.

1. ИСПОЛНИТЕЛЬНЫЕ МЕХАНИЗМЫ

1.1 Устройство и принцип работы исполнительных механизмов

Исполнительный механизм (ИМ) представляет собой приводную часть исполнительного устройства.

Исполнительный механизм (ИМ) предназначен для перемещения регулирующего органа под воздействием сигнала от управляющего устройства.

По виду потребляемой энергии ИМ подразделяются:

- электрические;

- пневматические;

- гидравлические.

Наиболее часто применяются электрические и пневматические ИМ.

Электрические ИМ по принципу действия подразделяются на электромагнитные и электродвигательные.

Электромагнитные ИМ используют электромагниты серии ЭВ. Электромагниты типа ЭВ-1, ЭВ-2 (тянущий тип) и электромагнитный ЭВ-4 (толкающий тип) применяются в ИМ, рассчитанных на длительное обтекание их катушек электрическим током.

Возможные отказы в работе электромагнитных ИМ связаны с изменением сопротивления изоляции электрических цепей и катушек, нарушением регулировки блокировочных контактов, неисправностью выпрямителя, изменением напряжения (тока) срабатывания и отпускания электромагнитов, неисправностью механической части, что приводит к увеличению тока срабатывания и выходу из строя катушек.

Исправность механической части определяют при внешнем осмотре, при котором обращают внимание на мягкость хода, отсутствие заеданий и перекосов в подвижной системе, плотность прилегания якоря к ярму, отсутствие грязи на шлифованных поверхностях.

Электродвигательные ИМ, начиная с 1986 г., выпускаются промышленностью как однооборотные типа МЭО, применяемые для приводов заслонок, кранов, и многооборотные типа МЭМ, применяемые для управления запорными регулирующими органами (вентилями, задвижками).

Исполнительные механизмы однооборотные контактные типа МЭОК и бесконтактные типа МЭОБ состоят из электрических серводвигателей (трёхфазные асинхронные двигатели) с электромагнитным тормозом (МЭОБ) и блоком серводвигателей (БС). Блоки БС выпускаются в трёх исполнениях (рис1).

БС-1 содержит концевые и путевые выключатели (2 пары) и реостатный датчик для дистанционного указателя положения;

БС-2 содержит концевые и путевые выключатели (2 пары), реостатный датчик для дистанционного указателя положения и дифференциально-трансформаторный датчик обратной связи;

БС-3 – то же, что и БС-2, но устройство настройки дифференциально-трансформаторного датчика обратной связи допускает возможность установки «Люфта» хода его плунжера в пределах 20 – 100 % угла поворота выходного вала.

Реостатный датчик предназначен для работы с индикатором положения ИПУ для дистанционной передачи угла поворота выходного вала в процентах полного рабочего поворота.

Дифференциально-трансформаторный датчик служит для получения сигнала переменного тока, пропорционального перемещению выходного вала ИМ.

При предмонтажной проверке выполняют такие операции:

- проверяют электрические цепи омметром между клеммами 4 – 5; 6 – 7; 8 – 9 и 10 – 11. Цепи должны быть замкнуты при включённых выключателях В1 – В4 соответственно и разомкнуты при выключенных (рис.1);

- устанавливают блок серводвигателя на серводвигатель, закрепляют поводок на выходном валу так, чтобы его отверстие для соединения с выключающей тягой блока серводвигателя и ось выходного вала находились в одной горизонтальной плоскости;

- устанавливают движок реостатного датчика в среднее положение относительно верхнего и нижнего хомутиков датчика. Регулируя длину выключающей тяги, сочленяют её с рычагом и поводком сервомотора, затем к клеммам 1-2-3 блока подключают индикатор положения типа ИПУ и подают напряжение. Полностью вводят потенциометр чувствительности «Ч»

Корректором «К» ИПУ устанавливают стрелку на середину его шкалы.

 

Рис. 1. Электрические схемы блоков сервомоторов типа БС:

а – БС-1; б – БС-2 и БС-3; ДТД дифференциально-транспортный датчик; ДП – датчик реостатный; В1 – В4 концевые и путевые выключатели.

Поворачивают выходной вал сервомотора при помощи штурвала ручного управления на 45о от среднего положения против часовой стрелки (смотреть со стороны выходного вала). При этом стрелка индикатора ИПУ должна переместиться в сторону «0» его шкалы. В противном случае необходимо поменять местами концы на клеммах 1-3 блока БС либо 6-7 ИПУ. С помощью потенциометра «Ч» ИПУ устанавливают стрелку на «0». При этом должен разомкнуться контакт выключателя. Размыкание выключателя регулируют регулировочным винтом; устанавливают вал ИМ и стрелку индикатора ИПУ в среднее положение.

Аналогичным образом регулируют положение потенциометра «Ч» при установке стрелки индикатора на 100 % и размыкание выключателя при повороте выходного вала на 45о против часовой стрелки.

Указанные операции повторяют до тех пор, пока при крайних положениях выходного вала МЭО стрелка ИПУ не будет устанавливаться точно на крайних делениях. Стрелка должна перемещаться плавно, без скачков. В противном случае зачищают обмотку реостат по линии касания движка.

После сочленения МЭО с регулирующим органом иногда проводят дополнительную регулировку. Уточняют действительный поворот выходного вала, обеспечивающий перемещение штока регулирующего органа из одного крайнего положения в другое, корректируют положение механических упоров. Конечные выключатели устанавливают так, чтобы они срабатывали при подходе кривошипа к упору на угол, равный 3о.

1.2 Пневматические исполнительные механизмы

В качестве исполнительных механизмов в пневматических системах применяются поршневые и мембранные пневмоприводы.

Поршневые отличаются от мембранных большей величиной перемещения рабочего органа и большим развиваемым усилием. Применяются они редко.

Мембранно-пружинные исполнительные механизмы (МИМ) в зависимости от направления движения выходного звена подразделяются на ИМ прямого (МИМ ППХ) и обратного (МИМ ОПХ) действия. Пневмоприводы могут быть с дополнительными блокам, которые обозначаются в шифре прибора: позиционер – 02; боковой ручной дублёр –01; верхний ручной дублёр – 01В; позиционер и боковой дублёр – 05; позиционер и верхний дублёр – 05В; Им – без дополнительных блоков – 10.

В обозначение МИМ входят: тип механизма, диаметр заделки мембраны, полный ход выходного звена, комплектация дополнительными блоками, группа механизма в зависимости от параметров окружающей среды, стандарт. Например, МИМ прямого действия с диаметром заделки мембраны 320 мм, полным ходом выходного звена 25 мм, позиционером для работы при температуре окружающей среды (-30) – (+50) оС обозначается МИМ ППХ – 320-25-02-П (ГОСТ 17433-80).

МИМП отличается от механизмов типа МИМ более жёсткой пружиной, МИМК – наличием рычага вместо выходного звена.

При установке пневматических ИМ возрастает значимость предмонтажной проверки в связи с тем, что на их демонтаж и замену затрачивается много труда и времени.

Предмонтажная проверка включает проверки: отклонения действительного хода штока, основной погрешности и вариации, порога чувствительности, настройки длины штока.

Для проверки отклонения действительного максимального и условного хода штока через редуктор или задатчик в штуцер головки ИМ подают воздух под давлением 0,02 и 0,1 МПа (0,2 и 1 кгс/см2), которое контролируют по образцовому манометру и проверяют при этом отклонение действительного максимального и условного хода штока.

Поскольку шкала ИМ имеет невысокую точность отсчёта, на шкалу устанавливают индикатор положения, или отклонение определяют по разности между диапазоном изменения входного сигнала (0,02 – 0,1 МПа) и действительным его значением. Для этого, изменяя давление в головке ИМ, устанавливают указатель на отметку 100 % и также фиксируют давление воздуха Р100 в головке ИМ.

Отношение разности максимального действительного и условного хода к условному ходу, т.е.

100 – Р0) – 0,02

 ________________ ∙ 100 %

 Х =            0,08

Должно быть не более 40 %.

Если Х больше допустимого, регулируют натяжение рабочих витков пружины ИМ. При (Р100 – Р0) > 0,08 отворачивают зажимную гайку, при

100 – Р0) < 0,08 её заворачивают.

Основную погрешность ИМ, %, при возможности точного измерения хода штока определяют по формуле

 γ = (SР - SД) 100/SУ,

где SР, SД и SУ – соответственно расчётное, действительное и условное перемещение штока ИМ, мм.

При невозможности точного измерения хода штока ИМ на вход подают давление в головку ИМ, устанавливают указатель на проверяемую точку и отсчитывают командное давление по образцовому манометру. Расчётное значение давления на проверяемой точке

 Рр = [(0,08 SР)/Sу] + 0,02.

Например, для точки 25 %

 РР = 0,08 ∙ 0,25 + 0,02 = 0,04 МПа.

Тогда основная погрешность, %,

где Рр и РД расчётное и действительное значения давления, МПа.

Значение основной погрешности также определяют на значениях хода штока соответствующих 40; 75 и 100 % условного хода последовательно при повышении и снижении давления.

Вариацию определяют как отношение наибольшей разности между действительными значениями прямого и обратного хода штока при одном и том же значении командного сигнала к условному ходу, %,

В = (S'Д - S"Д) 100/SУ,

где S'Д, S"Д и SУ – соответственно действительно прямое, действительно обратное и условное значения хода штока, мм, или

В = (Р'Д - Р"Д) 100/0,08,

где Р'Д, Р"Д – прямое и обратное действительные значения давления, МПа. Значение основной погрешности и вариации не должно превышать допускаемой основной погрешности, равной 1,5; 2,5 и 4 % соответственно для клапанов классов точности 1,5; 2,5 и 4,0.

Если погрешность и вариации выше допускаемых значений, проверяют по возможности ослабляют затяжку сальника, проверяют и устраняют механические повреждения штока (искривления, заусеницы, царапины).

Порог чувствительности определяют при 20,50 и 80 % значения командного сигнала (полного диапазона) как при его увеличении, так и при уменьшении. Для определения порога чувствительности плавно увеличивают (или уменьшают) Рк до момента трогания штока и проводят отсчёт по манометру.

Отношение разности между расчётным значением командного сигнала и Рк в момент трогания штока и диапазона изменения командного сигнала, выраженное в процентах, определяет порог чувствительности. Он должен быть не более 0,4; 0,6 и 1 % соответственно для механизмов класса точности 1,5; 2,5 и 4.

После проверки ИМ необходимо настроить длину штока регулирующего органа. Для этого на вход подают воздух под давлением 0,02 МПа для клапанов типа «НЗ» (нормально закрытый) и 0,1 для клапанов «НО» (нормально открытый). Затвор при этих давлениях должен плотно войти в седло, что можно определить по толчку, ощущаемому рукой, приложенной к штоку. Момент закрытия регулируют муфтой, сочленяющей штоки ИМ и регулирующего органа.

При необходимости переделки одного типа МИМ на другой, например

«НЗ» на «НО», снимают верхнюю крышку МИМа и нижнюю крышку клапана, вывинчивают шток из золотника и завинчивают в противоположный конец его, меняя местами верхние и нижние седла. Пропускают шток через отверстие снизу и собирают клапан. Шкальную пластинку устанавливают так, чтобы вверху её была надпись «Закрыто».

Настраивают длину штока.

1.3 Позиционеры

Принцип работы позиционера основан на преобразовании импульса, поступающего от регулирующего прибора, в давлении воздуха, необходимое для обеспечения заданного хода дроссельного органа. Применяются позиционеры для повышения мощности и быстродействия ИМ.

Все позиционеры, кроме П4- 10- IV, имеют встроенный редуктор. При выпуске позиционеры комплектуются фильтрами воздуха, а позиционер

П4 – 10- IV – стабилизатором давления воздуха. Рычажные позиционеры в зависимости от способов крепления (Г – образным кронштейном или планкой) обозначаются индексом А и Б соответственно. В зависимости от направления движения выходного звена позиционеры выпускаются в двух исполнениях: для установки на МИМах прямого действия (обозначаются индексом П) и обратного действия (индекс ПО).

Позиционеры выпускаются настроенными на ход штока 25 мм (позиционер П4 – 10 – IV - 10 мм. Изменение хода, кратное 25 мм, обеспечивается за счёт отверстий на рычаге обратной связи. Позиционеры прямого действия с условным ходом от 10 до 100 мм на рычаге после оси подвески имеют четыре отверстия, с условным ходом от 10 до 75 мм и обратного действия с условным ходом от 25 до 100 мм – три отверстия.

Если позиционер устанавливается на МИМ с ходом штока, не кратным 25 мм (а позиционер П4 – 10 – IV на МИМ с ходом штока менее 10 мм), перед монтажом необходимо произвести переналадку, т.е. настройку его хода в соответствие с ходом штока МИМа, которая осуществляется изменением числа рабочих витков пружины обратной связи. Ориентировочно устанавливается число рабочих витков регулировочной гайкой исходя из следующих данных:

Ход штока позиционера, мм                    Число рабочих витков пружины

4………………………………………………………….1,5

6………………………………………………………….2,2

10………………………………………………………...3,6

16………………………………………………………...5,8

25…………………………………………………………9,0

40…………………………………………………………7,2

60…………………………………………………………7,2

100…………………………………………………………9,0

Наладку (перестройку) позиционера надо проводить в следующей последовательности:

уточнить условный ход МИМа, на который будет установлен позиционер;

исходя из условного хода определить оптимальную величину настройки хода штока, при этом должны выполняться условия:

Lп = Lм/k ≤ 25 мм – для позиционеров прямого действия;

Lп = Lм/(k + 1) ≤ 25 мм – для позиционеров обратного действия,

где Lп – величина настройки хода штока позиционера, мм;

Lм – условный ход МИМа, мм;

k – передаточное число обратной связи от позиционера к МИМу, равное порядковому номеру отверстия на рычаге (считая от оси подвески).

Например, позиционер П10 – 100-Б-IV требуется перестроить на МИМ с условным ходом 60 мм. Величина хода штока Lп = 60/30 = 20 мм.

Затем следует расконтрить пружину и гайку, с помощью винтов переместить вверх до получения необходимого количества рабочих витков; вывернуть шток до соприкосновения ограничительной гайки с направляющей втулкой кронштейна (в штуцерах - до соприкосновения с грибком МИМа), законтрить пружину и гайку.

2. РЕМОНТ ИСПОЛНИТЕЛЬНЫХ УСТРОЙСТВ

2.1 Неполадки пневматических исполнительных устройств с пружинным мембранным исполнительным механизмом

Возможные причины

Способы устранения неполадок

1. При подаче сжатого воздуха в мембранную полость исполнительного механизма шток не перемещается

Повреждение мембраны вследствие прерывания давления сжатого воздуха предельного значения или же вследствие попадания на мембрану (вместе с воздухом или иным путём) масла, бензина или других нефтепродуктов, разрушающе действующих на материал мембраны.

Разобрать мембранный исполнительный механизм и заменить дефектную мембрану исправной. При этом толщину и число матерчатых прослоек резины следует подобрать одинаковыми с той, которая удаляется.

2. При плавном изменении давления сжатого воздуха в мембранной полости исполнительного механизма шток и затвор односедельного или двухседельного регулирующего органа перемещается рывками

Торможение штока в сальниковом устройстве регулирующего органа вследствие отсутствия смазки или недопустимо большой затяжки сальника

Подать смазку в сальниковое устройство с помощью лубрикатора, а если это не приведёт к нужным результатам, то осторожно ослабить затяжку сальниковой гайки, наблюдая за тем, чтобы через сальник наружу не стало проникать протекающее вещество.

3. Через сальниковое устройство проникает протекающее вещество (жидкость, пар, газ)

Недостаточно смазки, слаба затяжка сальника, плохое качество сальниковой набивки

Добавить смазку, подтянуть сальниковую гайку, сменить сальниковую гайку, сменить сальниковую набивку

4. При изменении давления сжатого воздуха в мембранной полости исполнительного механизма от минимального до максимального значения шток и затвор односедельного или двухседельного регулирующего органа не перемещаются полностью из одного крайнего положения в другое

Пружина мембранного исполнительного механизма при настройке была сжата больше, чем следует, и поэтому для преодоления усилий, развиваемых ею, требуется увеличенное давление воздуха по сравнению с необходимым при стандартном натяжении пружины

Постепенно ослабить натяжение пружины до величины, обеспечивающей перемещение штока и затвора из одного крайнего положения в другое при изменении давления воздуха в мембранной полости исполнительного механизма от минимального до максимального нормированных значений

Пружина мембранного исполнительного механизма недостаточно сжата при настройке и не может преодолеть сил трения, возникающих в подвижной части исполнительного устройства, а также массы этой части и сил от давления протекающего вещества на затвор (поэтому затвор полностью не поднимается)

Постепенно увеличить натяжение пружины до величины, обеспечивающей перемещение затвора из одного крайнего положения в другое при изменении давления воздуха в мембранной полости от минимального до максимального нормированных значений

Затвор при своём ходе упирается в посторонний предмет, попавший в мембранное исполнительное устройство (кокс, песок, металлическая прокладка, гайка и т.п.)

Отключить линию сжатого воздуха от мембранной полости исполнительного устройства, переключив поток на обводную линию, и принять меры к очистке корпуса мембранного исполнительного устройства от посторонних предметов. Убедиться, что поверхности затвора и седел не повреждены

5. При регулировании расхода протекающего вещества затвор мембранного исполнительного устройства чаще всего занимает положение, близкое к одному из крайних

Если при нормальной работе регулятора затвор почти закрывает отверстие седла или, наоборот, открывает его почти полностью и при этом давление в мембранной полости близко к предельному, то это указывает на то, что условный диаметр мембранного исполнительного устройства либо велик, либо мал для данного трубопровода и расхода в нём

В соответствии с действительным расходом протекающего по трубопроводу вещества выбрать соответствующий условный проход мембранного исполнительного устройства и при наличии мембранного исполнительного устройства с таким условным проходом установить его. Если подходящего исполнительного устройства в наличии нет и имеется возможность выточить новый затвор, то рассчитать профиль нового затвора и заменить в мембранном исполнительном устройстве старый затвор на новый

2.2 Ремонт мембранных исполнительных устройств

2.2.1 Разборка мембранных исполнительных устройств

Разборку нормально открытого исполнительного устройства производят для выявления состояния отдельных деталей, чистки и ремонта следующим образом.

1. Все видимые поверхности исполнительного устройства (корпус, мембранный исполнительный механизм и т.д.) обдувают из шланга сжатым воздухом и тщательно очищают от грязи.

2. Вращая контргайку 5 (рис.2), освобождают специальную гайку 2, после чего вращением этой гайки отсоединяют шток плунжера от промежуточного штока. Если исполнительное устройство имеет пневматический позиционер, то освобождают его рычаг для возможности отделения мембранного исполнительного механизма от корпуса регулирующего органа.

3. Отворачивают специальную гайку 11 (рис.2) и отделяют мембранный исполнительный механизм от корпуса регулирующего органа. При этом крупные механизмы поднимают талями или лебёдками.

4. Освобождают шток затвора от гаек. Проверяют вручную лёгкость перемещения затвора до крайних положений.

5. Осторожно отвёртывают гайки шпилек или болтов на верхней крышке 4 (рис.3), чтобы не перегрузить отдельные крепёжные детали и не снизить их надёжность. Эту работу производят в два приёма: сначала по способу диаметрально противоположного обхода поворачивают все гайки на 1/8 полного их оборота, а затем в любом порядке отворачивают все гайки.

Рис. 2 Мембранный исполнительный механизм

Снизив давление масла в сальниковом устройстве, удаляют лубрикатор (масленку). Помечают положение крышки на корпусе для установки её в дальнейшем на прежнее место. Осторожно, чтобы не повредить шток и затвор, отделяют верхнюю крышку 4 от корпуса 3. Если крышка тяжёлая, то подъём её осуществляют талями или лебёдками. При подъёме следят за строго вертикальными перемещениями крышки.

6. Удаляют затвор 5 со штоком 6 и тщательно очищают их поверхность от грязи и остатков сальниковой набивки. При этом запрещается пользоваться острым металлическим инструментом (зубилом, ножом, шилом и т.п.) во избежание повреждения очищаемых поверхностей.

 

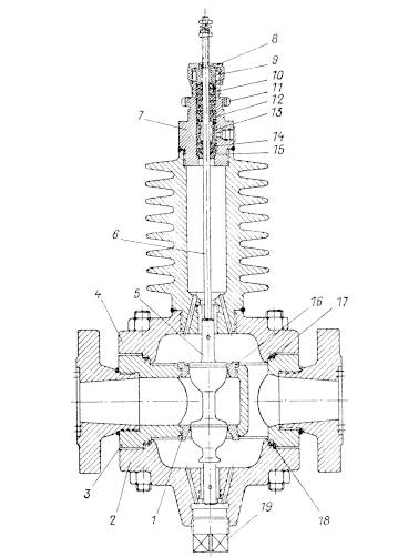
Рис.3 Двухсекционный регулирующий орган нормально открытого исполнительного устройства

7. Отворачивают накидную гайку 8 и удаляют грундбуксу 9,кольца 15 и 12, втулку 13 и остатки сальниковой набивки 14 и 10. Сальниковую камеру, грундбуксу, кольца и втулку тщательно очищают от следов набивки, не применяя при этом острых металлических инструментов.

8. Отмечают положение нижней крышки 2 относительно корпуса. Отворачивают гайки на шпильках или болтах и отделяют нижнюю крышку 2 от корпуса 3 клапана. Отворачивают пробку 19.

9. Производят промывку и чистку корпуса и крышек. Закончив чистку нижней крышки, заворачивают пробку 19.

10. Промывают и очищают от наслоений седла 1 и 16 и при необходимости замены или ремонта выворачивают их из корпуса.

В нормально закрытых исполнительных устройствах снимают сначала нижнюю крышку, а затем через образовавшееся отверстие удаляют затвор со штоком.

При разборке мембранных исполнительных устройств, имеющих конструктивные отличия от описанной конструкции, учитывают болтовое крепление мембранного исполнительного механизма к крышке регулирующего органа, соединение штоков посредством резьбовой втулки со стопорными винтами и крепление штока к затвору посредством разъемной головки.

2.2.2 Сборка мембранных исполнительных устройств

Сборку нормально открытого исполнительного устройства с пневматическим позиционером производят следующим образом (рис.3).

1. В корпус 3 регулирующего органа ввертывают седла 1 и 16 до отказа. При этом не допускается применение зубил, наставок и т.п. инструментов и посадка седла в гнёзда на сурике или на графите с маслом. Ввёртывание седел выполняют специальными ключами или приспособлениями. Седло должно ввинчиваться с усилием, т.е. должна иметь место плотная посадка с незначительным натягом; шатание седла при ввинчивании не допускается. При условном проходе регулирующего органа Dy = 20 мм ввертывание седла производят двое рабочих, используя рычаг длиной 220 мм. При этом они создают крутящий момент 151 Н ∙ м

(1540 кгс ∙см) при усилии на рычаге 700 Н (70 кгс). При условном проходе регулирующего органа Dy = 50 мм двое рабочих, используя рычаг длиной 1300 мм, при ввертывании седла создают крутящий момент 892 Н ∙ м

(9100 кгс ∙ см) при усилии на рычаге 700 Н (70 кгс). При условном проходе Dy = 100 мм для ввертывания седла требуется уже действие четырёх рабочих, использующих рычаг длиной 2500 мм и создающих крутящий момент

2432 Н ∙ м (35000 кгс ∙ см) при усилии на рычаге ключа 1,4 кН (140 кгс). При ввертывании натуго седло может деформироваться. Отсутствие деформации определяют посредством контрольной плиты. Деформированное седло заменяют. Установка между телом корпуса регулирующего органа и седлом различных прокладок не дает положительных результатов.

2. Под нижнюю крышку 2 устанавливают алюминиевую или стальную прокладку 18 толщиной 2 мм, после чего помещают нижнюю крышку на своё место, совмещая ранее нанесённые при разборке регулирующего органа отметки на крышке и корпусе, и закрепляют крышку гайками на шпильках или болтах. Алюминиевую прокладку ставят, если регулирующий орган не имеет ребристой рубашки, т.е. будет работать при температуре рабочей среды не выше 200 0 С, а стальную прокладку ставят, если регулирующий орган имеет ребристую рубашку, т.е. рассчитан для работы при температуре протекающего вещества выше 200 0 С, например до 450 0 С.

Вместо алюминиевых или стальных прокладок допускается применение паронитовых или клингеритовых прокладок толщиной 2 мм, но они менее надежны по сравнению с алюминиевыми или стальными, вследствие незначительной ширины кольцевой поверхности прокладок. Не допускается применение паронитовых или клингеритовых прокладок со следами излома, морщинами и трещинами. По поверхности и краям допускается незначительная ворсистость. Прокладки при загибе на 1800 вокруг стержня с диаметром 42 мм не должны ломаться, трескаться и расслаиваться.

Завертывание гаек на шпильках или болтах вначале производят нормальным ключом без рычага, с затягиванием шпилек или болтов в диаметральном положении. После круговой затяжки шпилек или болтов ключом нормальной длины применяют рычаги, соблюдая правило крестообразного обхода гаек. При креплении гаек натуго не допускаются удары кувалдой по ключу. В этом случае применяют удлинённые гаечные ключи или на короткие ключи надевают трубки для удлинения рукоятки. Затягивать гайки на шпильках или болтах диаметром до 16 мм должен один рабочий, применяя рычаг длиной 500 мм, на шпильках или болтах диаметром от 17 до 25 мм – двое рабочих, применяя рычаг длиной 1000 мм, на шпильках или болтах от 26 до 48 мм – трое рабочих, применяя рычаг длиной 1500 мм. Крышка считается закреплённой после трехкратного подтягивания гаек на всех шпильках (болтах) гаечным ключом с рычагом.

3. Установив корпус регулирующего органа с нижней крышкой на тиски, если позволяют размеры корпуса, или при положении указанных деталей на полу помещения, если регулирующий орган велик по габаритам, производят притирку посадочных поверхностей плунжера и седел следующим образом. Посадочные поверхности плунжера и седел промывают бензином и вытирают насухо. Притирку производят, например, смесью наждачного порошка с машинным маслом. Наждачный порошок получают, отобрав магнитом металлическую часть пыли, остающейся при заточке резцов на наждачных кругах. Нанесённый на притираемые поверхности слой должен быть равномерным и не слишком густым. После шести-семикратного поворота плунжера рукой по дуге вправо и влево на ¼ окружности плунжер слегка приподнимают и, повернув на 180 0 по часовой стрелке, вновь опускают на седло и повторяют операцию притирания. Перекладывание плунжера повторяют пять раз, после чего притираемые поверхности промывают бензином и вытирают насухо. Повторяют притирку, применяя микропорошки (от М-28 до М-7), после чего производят доводку пастой ГОИ (Государственного оптического института имени С.И. Вавилова). Паста ГОИ выпускается для грубой доводки – чёрного цвета, для средней – тёмно-зелёного и тонкой – светло-зелёного. Перед нанесением пасты притираемые поверхности смачивают керосином. При окончательной доводке слой пасты, наносимый на поверхности седел и затвора, должен быть минимальным. При хорошей притирке поверхности должны быть совершенно одинаковые «на отблеск», без бликов, штрихов и т.п. Затвор при подъёме должен присасываться к седлам в корпусе. Задачей притирки является обеспечение плотной и одновременной посадки затвора на седла в корпусе. Весь процесс притирки затвора и седел ведут, стараясь не создавать добавочного давления затвора на седла, кроме массы самого затвора.

4. Ввертывают шток 6 в затвор 5 (рис.2) и стопорят его штифтом, после чего затвор со штоком устанавливают на место, т.е. на седла. Со штока удаляют крепежные гайки (рис.4).

5. Устанавливают верхнюю алюминиевую или стальную прокладку 17 толщиной 2 мм, после чего осторожно помещают верхнюю крышку 4 на своё место, совмещая отметки на крышке и корпусе, сделанные ранее при разборке регулирующего органа, и закрепляют крышку гайками на шпильках или болтах. Затяжку гаек выполняют методом, указанным при описании установки нижней крышки.

6. Устанавливают нижнее сменное металлическое кольцо сальника 15, затем кольца сальниковой набивки 14 и втулку сальника («фонарь») 13. Подачу сальниковых колец внутрь втулки 7 крышки производят отрезком трубки, имеющей внутренний диаметр, достаточный для того, чтобы её можно было насадить на шток затвора. Над нижним сменным кольцом 15 толщина сальниковой набивки 14 должна быть такой, чтобы нижние отверстия втулки 13 располагались против отверстия для лубрикатора (масленки). Устанавливают лубрикатор и заполняют его и втулку 13 смазкой. Смазка к стальным клапанам – оссоголин марки 300-ААА; к чугунным клапанам – смазка марки НК-50. Затем устанавливают верхнее сменное металлическое кольцо 12, несколько колец сальниковой набивки 10, грундбуксу 9. Толщина сальниковой набивки над верхним сменным кольцом 12 должна быть такой, чтобы грундбукса 9 после её установки выступала из втулки 7 верхней крышки на 80 % своей высоты. Этим достигается возможность перемещения грундбуксы вниз при затяжке сальника.

Для стальных регулирующих органов используют сальниковые кольца из прессованного асбеста, а для чугунных – асбестовый шнур, пропитанный специальным составом. В последнем случае берут асбестовый шнур и варят его в таком составе: 18 % графита, 11 % резинового клея, 5 % тавота, 66 % вазелина. Для приготовления резинового клея 200 г невулканизированной резины растворяют при нагревании в 250 г вазелинового масла.

 

Рис. 4 Сплошной затвор со штоком

1- затвор; 2 – штифт; 3 – шток; 4 – гайки крепёжные; 5 – шайбы пружинные

Состав приготовляют следующим образом: вазелин и тавот расплавляют на водяной бане, после чего раствор снимают с бани и в него при энергичном перемешивании вливают резиновый клей, а затем также при энергичном перемешивании порциями всыпают графит до загустения, в результате чего раствор считают готовым.

Приготовление колец из шнура производят, навивая шнур на стержень, имеющий одинаковый диаметр со штоком, и разрезая шнур под углом (косая разрезка), как показано на рис. 5.

Заготовленные кольца опрессовывают каждое в отдельности в приспособлении, представляющем собой по размерам копию сальникового устройства регулирующего органа, после чего хранят в закрытых коробках во избежание загрязнения. При укладке в сальник соединение кольца выполняют внахлестку, срезами под 45 0. Стыки отдельных колец при этом смещают относительно друг друга на 90 0.


Рис. 5 Приготовление колец сальниковой набивки

1 – сальниковый шнур; 2 – стержень; 3 – линия разреза.

7. Надевают накидную гайку 8 и, вращая её рукой без помощи ключа, затягивают сальник. Затяжку сальника считают нормальной, когда шток, будучи предварительно поднятым рукой, а затем отпущенным, плавно опускается под действием собственного века. С повышением давления возникает необходимость в более значительной затяжке сальника. Нужная герметичность сальника достигается увеличением давления смазки от лубрикатора.

8. Устанавливают мембранный исполнительный механизм на регулирующий орган и закрепляют его специальной гайкой 11 (рис.3).

9. Навинчивают гайку на шток, после чего второй гайкой ее стопорят. Надевают рычаг от позиционера на шток, затем указатель 1 (рис.2), после чего навинчивают на шток специальную гайку 2, которой соединяют шток затвора с промежуточным штоком. Посредством гайки 5 фиксируют положение гайки 2. Если при этом указатель 1 окажется смещённым относительно шкалы 6 положения затвора, то перемещают последнюю так, чтобы против указателя оказалась надпись «Открыто».

Закрепляют позиционер на корпусе мембранного исполнительного механизма и соединяют рычаг с тягой, после чего собранное исполнительное устройство поступает на регулировку.

Сборка нормально закрытого исполнительного устройства отличается от описанной сборки тем, что соответственно меняют положение седел и затвора и после установки верхней крышки, не устанавливая нижнюю крышку, производят притирку затвора и седел. В дальнейшем изменяют положение шкалы поворотом на 180 0.

При регулировке в мембранную полость подают давление сжатого воздуха и, изменяя натяжение пружины 4, добивают полного хода затвора при изменении давления от минимального до максимального значения. Регулировку ведут ключом 7, вращая резьбовую втулку 3. при давлении, равном 50 % максимального давления в мембранной полости исполнительного устройства, верхний рычаг позиционера должен быть параллелен рычагу, закреплённому на штоке затвора. В противном случае регулируют длину вертикальной тяги, прикреплённой нижним концом к указанному рычагу и передающей его движение к механизму позиционера.

Сборку мембранных исполнительных устройств иной конструкции производят в такой же последовательности, как указано выше, но при этом учитывают конструктивные особенности этих исполнительных устройств, а именно: болтовое крепление мембранного исполнительного механизма к верхней крышке регулирующего органа, соединение штоков посредством резьбовой втулки со стопорными винтами и креплением штока к затвору посредством разъёмной головки, другую конструкцию связи позиционера со штоком затвора. При сборке устанавливают паронитовые прокладки толщиной 2 мм под верхнюю и нижнюю крышки корпуса регулирующего органа и толщиной 1 мм под колпачок головки затвора. При отсутствии указателей положения затвора укрепляют на кронштейне посредством хомутика шкальную пластинку, под резьбовую втулку помещают указатель.

2.2.3 Ремонт корпусов и крышек исполнительных устройств

Для выявления необходимости ремонта корпусов и крышек исполнительных устройств вначале их тщательно осматривают, особенно в участках резкого перехода сечений, около ребер и перехода корпуса к фланцу, а затем производят гидравлическое испытание корпуса и крышек на прочность.

Испытание на прочность производят гидравлическим прессом при испытательном давлении Pи = 2,4 МПа (24 кгс/см2) для исполнительных устройств с Ру = 1,6 МПа (16 кгс/см2), Ри = 6 МПа (60 кгс/см2) для исполнительных устройств с Ру = 4 МПА (40 кгс/см2) и при испытательном давлении Ри = 9,6 МПа (96 кгс/см2) для исполнительных устройств с Ру = 6,4 МПа (64 кгс/см2). При испытании пресс целесообразно заполнять керосином или маслом, так как водяное заполнение пресса приводит к появлению ржавчины в дефектных местах. Выявленные трещины, сквозные и глубокие раковины в корпусах и крышках исправляются электродуговой сваркой. Места под сварку разделывают пневматическим или ручным режущим инструментом (зубилом, напильником, сверлом и т.п.). Выплавка дефектного места автогеном не рекомендуется во избежание ослабления прочности металла вследствие выгорания углерода при выплавке.

При ремонте чугунных корпусов и крышек применяют холодную сварку электродами марки ОЗЧ-4.

Толщина покрытия должна быть 1,0…1,2 мм при диаметре стержня 3 мм, т.е. после покрытия диаметр электрода будет 5,0…5,4 мм; 1,25…1,4 мм – при диаметре стержня 4 мм и 1,5…1,7 мм – при диаметре стержня 5 мм. Отношение массы покрытия к массе стержня для электродов всех диаметров составляет примерно 35 %.

Чугун, наплавленный таким электродом, поддается механической обработке твердосплавным режущим инструментом. Сварку производят участками. Каждый участок для снятия напряжений и уплотнения металла шва подвергают непосредственно после сварки ковке молотком вручную.

Швы выполняют не менее чем в два прохода. Заварку трещин ведут обратноступенчатым способом.

Сварку осуществляют на постоянном токе при обратной полярности. Сварочный ток составляет примерно 25…30 А на 1 мм диаметра электрода. Сварку ведут короткими швами (примерно 30 мм) с охлаждением на воздухе до 600 С.

При ремонте корпусов определяют состояние резьбы в корпусе для ввертывания седел: проверяют чистоту обработки и плотность посадки седла. Резьба не должна иметь заусениц, выкрошенных ниток, вмятин и др., а также следов износа рабочим веществом. Резьба должна быть чистой, шлифованной и соответствовать 2-му классу точности. Плотность посадки резьбы проверяют при отвинчивании и завинчивании седел, которые должны отвинчиваться или завинчиваться с некоторым усилием (плотная посадка).

При ремонте корпусов определяют состояние резьбы под шпильки. Если резьба изношена и толщина стенки между шпильками достаточна, то нарезают новую резьбу несколько большего размера и изготовляют под этот размер шпильку. Если толщина стенки мала, то в отверстие под шпильку впрессовывают цилиндрик и, заваривают его в двух сторон, высверливают в нём отверстие и нарезают резьбу под шпильку.

Вывертывание дефектных шпилек иногда представляет трудности, особенно это относится к шпилькам, часть которых отломана. В последнем случае в шпильке просверливают отверстие на глубину 10…15 мм и делают его квадратным, после чего вставляют квадратный стержень и ключом вывертывают шпильку из корпуса. Иногда приваривают к шпильке стержень и затем вывертывают её.

2.2.4 Ремонт седел и затвора

На износ рабочих поверхностей седел и затвора оказывают влияние два фактора: коррозия и эрозия.

Коррозия проявляется в разрушении поверхностей указанных деталей под действием протекающего вещества, химически взаимодействующего с материалами, из которых детали изготовлены. Степень разрушения можно уменьшить соответствующим подбором материалов, идущих на изготовление седел и затвора.

Эрозия проявляется в разрушении поверхностей седел и затвора вследствие истирающего воздействия рабочего вещества. Эрозия особенно проявляется в условиях, когда клапан открыт ещё мало, так как при этом образуется узкий кольцевой проход между седлами и затвором и истирающее воздействие рабочего вещества возрастает. Эрозийный износ возникает и при неправильном выборе материала для изготовления седел и затвора или несоблюдении режимов их термической обработки.

В результате процессов коррозии и эрозии изменяется конфигурация седел и затвора исполнительного устройства, что нарушает характеристику последнего. Кроме того, появляются недопустимый пропуск протекающего вещества при полностью закрытом исполнительном устройстве. Односторонние разрушения рабочей поверхности седел приводят к искривлению штока и возрастанию трения затвора в опорных направляющих втулках, что вначале вызывает увеличение зоны нечувствительности, а затем – полное прекращение перемещений затвора.

Для восстановления изношенных уплотнительных поверхностей седел и затвора применяют наплавку легированными электродами, что сокращает расход дефицитных легированных сталей. Наплавку седел и затворов клапанов, работающих при высокой температуре протекающего вещества, целесообразно производить электродами, предназначенными для дуговой сварки высоколегированными сталями с особым свойствами. Покрытие должно быть толстое или особо толстое.

Наплавку электродами седел и сплошных затворов производят следующим образом.

1. Поверхности седел или затвора, подлежащих наплавок, тщательно очищают от налётов грязи, ржавчины и окалины, после чего зачищают до металлического блеска. Если подготовку деталей под наплавку производят резцом, то затем зачищают острые кромки и глубокие риски, так как кромки в процессе наплавки быстро сгорают и способствуют шлакообразованию, что ведет к образованию пор в наплавленном слое. Канавки под наплавку не должны иметь прямых и острых углов.

2. Седло или затвор, подлежащий наплавке, устанавливают так, чтобы наплавливаемый участок находился в горизонтальном положении.

3. Наплавку производят постоянным током при обратной полярности (на электроде «плюс»). Режимы дуги устанавливают в зависимости от размеров седел и затвора и диаметра электродов (например, 140 А при электроде диаметром 4 мм и 180 А при электроде диаметром 5 мм). В процессе наплавки электрод держат под углом 10…150 к вертикали в сторону его перемещения (по направлению наплавляемого валика); электроду дают небольшие поперечные колебания с таким расчётом, чтобы путём беспрерывного и последовательного образования ванночек расплавленного металла седла или затвора и электрода под концом его образовался валик шириной 8…12 мм и высотой 3 мм.

Наплавку производят при возможно более короткой дуге непрерывном швом в одном направлении.

4. С поверхности первого наплавленного валика молотком сбивают шлак и зачищают металлической щёткой как сам валик, так и наплавляемую поверхность седла или затвора, прилегающую к валику. Недостаточно полное удаление шлака, брызг металла и т.п. затруднит наложение второго валика и приведёт к пористой и неровной его наплавке.

5. Повторяя операции пп. 3 и 4, наплавляют второй валик (второй слой). Общая высота наплавки составит 4…6 мм. Наплавку опять ведут в том же направлении, при этом начало шва перекрывают на длине 10…15 мм.

Наплавку продолжают до получения нужной величины наплавленного слоя с припуском на механическую обработку не менее 3 мм на каждую сторону и 3…5 мм по высоте. На поверхности наплавленного слоя допускается некоторое количество мелких пор и раковин диаметром не более 1 мм при условии, что они будут удалены при последующей механической обработке.

6. Наплавленное седло или затвор подвергают термической обработке – отпуску при температуре 500…5500 С с выдержкой при этой температуре в течение 2 ч с последующим остыванием (вместе с нагревательной печью).

Наплавленный сплошной затвор устанавливают на токарный станок и обрабатывают под шаблон, вначале снимая лишний металл резцом, затем – личным бархатным напильником, тонкой стеклянной бумагой, и полируют полировочной пастой.

Окончательную расточку наплавленных седел производят совместно с корпусом на токарном станке. Для этого седла завинчивают в корпус клапана с захлесткой в резьбе и до получения герметичности плоских уплотнительных поверхностей (возле резьбы).

При изготовлении нового седла или обработке наплавленного седла на токарном станке допускается эксцентриситет пропускного (посадочного) отверстия и резьбовой окружности седла не более 0,02 мм на 100 мм длины диаметра.

Для выверки конфигурации сплошного затвора необходимы три шаблона: шаблон верхней пробки, шаблон нижней пробки и шаблон для обеспечения точного расстояния между посадочными конусами верхней и нижней пробок. Эта работа относится к лекальным работам второго класса, т.е. выполняется высококвалифицированным лекальщиком.

Профиль седел и полых затворов можно построить на основании чертежей и таблиц к ним (см. А.А. Смирнов Справочное пособие по ремонту приборов и регуляторов).

Если сплошной плунжер непригоден к эксплуатации и не может быть наплавлен, то его удаляют из клапана и по шаблонам изготовляют новый плунжер. Для этого круглую болванку из соответствующей стали устанавливают на токарном станке, обрабатывают по чертежу (шаблону) в чистоте нерабочие части затвора и верхнюю часть большой пробки с посадочным конусом, по шаблону вытачивают посадочный конус нижней пробки. Затем с запасом обтачивают с помощью напильника и стеклянной бумаги профили большого и малого регулирующих органов, сверяя с шаблоном. После этого весь плунжер, кроме торцов, полируют полировочной пастой.

3. ТЕХНИКА БЕЗОПАСНОСТИ ПРИ РАБОТЕ С ПРИБОРАМИ

Общие положения

На должность слесаря, занятого на эксплуатации приборов КИП и А, допускаются лица прошедшие соответствующее обучение, сдавшие экзамен и имеющие удостоверение на право выполнения работ по эксплуатации КИП и А, а также прошедшие инструктаж на рабочем месте по безопасным методам работы.

На самостоятельную работу слесарь занятый на эксплуатации приборов может быть допущен только после двух недельной работы в качестве дублера слесаря.

Перед началом работы:

3.1. Проверить исправность средств индивидуальной защиты, комплектность и исправность инструмента, приспособлений и приборов. При работе применять их только в исправном состоянии.

3.2. Заступая на смену, необходимо ознакомиться с записями начальника смены за прошедшие сутки.

3.3. Для переноски инструмента к месту работы использовать специальную сумку.

3.4. Проверить, чтобы освещение рабочего места было достаточным и свет не слепил глаза. Пользоваться местным освещением напряжением свыше 36 В запрещается.

3.5. Если необходимо пользоваться переносной лампой в обычных условиях, ее напряжение должно быть не более 36 В. При выполнении газоопасных работ применять переносные светильники во взрывозащищенном исполнении или аккумуляторные лампы.

3.6. Внимательно осмотреть место работы, привести его в порядок, убрать все мешающие работе посторонние предметы.

Содержать в чистоте и порядке рабочее место и закрепленное за тобой оборудование и КИП.

3.7. Перед началом ремонтных работ непосредственно в производственном цехе, где установлены приборы, согласовывать с допускающим (зам. нач. цеха, энергетиком или начальником смены) разрешение работ в данном цехе.

3.8. Отключение и подключение приборов и оборудования от питания электротоком первичной сети (от распределительного пункта, щита и др.) разрешается производить только электромонтером этого цеха.

3.9. Для предупреждения случайного включения приборов в электросеть потребовать от электромонтера цеха удаления предохранителя сети электропитания приборов и оборудования, а при капитальном ремонте отсоединения и изоляции концов проводов, питающих данное оборудование. На месте, где произведено отключение вывесить предупредительный плакат «НЕ ВКЛЮЧАТЬ – РАБОТАЮТ ЛЮДИ!»

3.10. Перед началом работы вблизи работающего агрегата и оборудования убедись в безопасности и предупреди мастера о своём местонахождении и содержании работы.

Во время работы:

3.11. Перед установкой или снятием приборов и оборудования необходимо перекрыть импульсные линии с помощью крана или вентиля. Открытые концы металлических трубок должны быть заглушены пробкой, а резиновые – специальными зажимами.

3. 12. Перед осмотром, чисткой и ремонтом приборов, находящихся в эксплуатации, принимать меры, исключающие возможность попадания под напряжение.

3.13. Работая в бригаде, согласовывать свои действия с действиями других членов бригады.

3.14. Разборку приборов и оборудования производить последовательно. Открепляя узел, деталь, следить за тем, чтобы не упали сопрягаемые узлы и детали.

3.15. При работе и ремонте вставать на случайные предметы запрещается.

3.16. При ремонте на высоте пользоваться только исправными лестницами и стремянками.

3.17. После каждого ремонта, ревизии, связанных с газовым оборудованием, необходимо поверить все соединения на плотность (на утечку газа) с помощью мыльного раствора.

Применять для этого огонь запрещается.

3.18. Для поверки наличия напряжения пользоваться исправным вольтметром или специальной контрольной лампой, оборудованной в соответствии с требованием правил электробезопасности.

3.19. Производить чистку, ремонт приборов и оборудования под напряжением запрещается.

3.20. Щиты и шкафы КИП закрывать на замок.

3.21. Систематически следить за исправностью манометров и напоромеров; не допускать случаев их эксплуатации в неисправном состоянии или с просроченным сроком освидетельствования.

3.22. Производить какие либо работы под давлением газа, пара, сжатого воздуха и др. (снятия манометров, разъединения импульсов, набивка сальников и др.) запрещается.

3.23.При продувке газовых импульсных линий соединенную с импульсом резиновую трубку вывести из помещения. Продувка импульсов с выбросом газа в помещение запрещается.

3.24. При проверке расходомеров необходимо вначале открыть уравнительный вентиль, а затем закрыть плюсовой и минусовой вентили, чтобы предотвратить выбивание ртути или порыв мембраны в датчике.

3.25. Производить обход или какие либо работы в помещении ГРУ только с разрешения мастера газового участка и с участием выделенного им слесаря. Находиться и работать одному в помещении ГРУ запрещается.

3.26. В целях выявления и устранения неисправности, вызывающих утечку газа, производить не реже раза в смену, поверку на плотность приборов и оборудования производить с помощью мыльного раствора.

3.27. Ежедневно в первую смену совместно со слесарем газового участка производить проверку автоматики безопасности на срабатывание по всем параметрам. Результаты проверки заносить в вахтенный журнал.

3.28. Один раз в 15 дней согласно графика, утвержденного главным инженером завода, в присутствии начальника смены или энергетика цеха производить проверку и настройку автоматики безопасности и блокировки. Результаты проверки заносить в журнал проверяемого цеха.

3.29. При работе в загазованной среде должны применяться молотки и кувалды из цветного металла, а рабочая часть инструмента и приспособлений из черного металла должна обильно смазываться тавотом, солидолом или другой смазкой. Применение электродрели и других инструментов, делающих искрения, запрещается.

3.30. Промывку деталей керосином, бензином производить на специально оборудованном для этой цели месте с соблюдением правил пожарной безопасности.

3.31. В течение смены необходимо производить запись в вахтенном журнале о всех неполадках и выполненных работах с росписью дежурного.

4. ВЫПУСК ИЗ РЕМОНТА ИСПОЛНИТЕЛЬНЫХ УСТРОЙСТВ

4.1 Внешний осмотр перед испытаниями

Цель: установить пригодность отремонтированного исполнительного устройства к дальнейшим испытаниям для выпуска из ремонта.

Требования:

1) цвет окраски корпуса регулирующего органа и исполнительного механизма должен соответствовать применяемым для изготовления этих деталей материалами (корпуса из углеродистых сталей – серый цвет, из легированных кислотостойких и нержавеющих сталей – голубой цвет, из чугуна – чёрный цвет; мембранные исполнительные механизмы – оранжевый или чёрный цвет и т.п.);

2) окраска корпуса регулирующего органа и исполнительного механизма не должна иметь дефектов, ухудшающих внешний вид клапана;

3) у всех деталей, имеющих резьбу, последняя не должна иметь дефектных ниток, должна быть чистой, без заусениц;

4) все винты, болты, гайки, шпильки и другие детали, входящие в комплект регулирующего органа, должны иметься в наличии.

4.2 Испытание регулирующих органов на герметичность в седлах и прокладках

Испытание регулирующих органов на герметичность в седлах и прокладках производят гидравлическими прессами, заполненными керосином или маслом, имеющим вязкость не более 20 Е.

При испытании регулирующего органа на герметичность в прокладках и сальнике керосин или масло подводят через отверстие выходного фланца, а отверстие входного фланца закрывают. Испытание ведут под давлением, равным условному давлению.

При испытании регулирующего органа на герметичность затвора в седлах керосин или масло подводят через отверстие входного фланца, а отверстие выходного фланца закрывают. В этом случае испытательное давление для всех типов регулирующих органов должно составлять 2 МПа (10 кгс/см2).

При испытании нормально открытых исполнительных устройств для их закрытия в мембранную полость подаётся воздух под предельным давлением срабатывания, а нормально закрытые исполнительные устройства должны закрываться нормальным установочным натяжением пружины.

Регулирующие исполнительные устройства, предназначенные для работы в газовых средах (пар, воздух, газы), подвергают дополнительному испытанию на герметичность в сальнике и прокладках давлением воздуха, подаваемого со стороны выходного фланца, 1,3 МПа (13 кгс/см2) – для чугунных регулирующих органов, 2,2 МПа – для стальных регулирующих органов на Ру = 4,0 МПа и 3,4 МПА – для стальных регулирующих органов на Ру = 6,4 МПа.

Требования:

1) пропуск керосина или масла через уплотнительные прокладки или сальник при испытании герметичности не допускается;

2) количество керосина или масла, прошедшее в минуту через уплотнительные поверхности седел, в зависимости от условного диаметра регулирующего органа не должно превышать следующих значений:

Диаметр регулирующего

органа Dy, мм 15…25 50…80 100…125 150 200 250...300

Количество керосина

или масла, см3 10 20 30 40 50 75

3) утечка воздуха через прокладки и сальниковую набивку при испытании давлением воздуха не допускается.

4.3 Проверка качества сборки исполнительного устройства

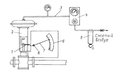
Проверку качества сборки исполнительного устройства выполняют на установке, представленной на рис. 6.

Рис.6

К штоку испытуемого исполнительного устройства 2 прикрепляют пластинку 1, которая при перемещении затвора воздействует на изогнутый конец стрелки 7, имеющей осевое крепление в точке 8. Ось 8 стрелки укрепляется на неподвижной доске, временно прикрепленной к верхней крышке корпуса исполнительного устройства. Отношение длины плеч стрелки берут примерно 15:1 в целях увеличения длины шкалы 6. Шкалу предварительно градуируют в процентах хода штока исполнительного устройства, т.е. размечают на сто равных частей.

В мембранную полость через фильтр 5 и панель дистанционного управления 4 по трубке 3 подают сжатый воздух, давление которого измеряют образцовым манометром (давление сжатого воздуха перед редуктором должно составлять 150…200 кПа). Изменяя натяжение регулировочной пружины, добиваются полного хода затвора при изменении давления воздуха в мембранной полости в рабочих пределах.

Требования:

1) мембранные исполнительные механизмы в сборке с регулирующим органом должны иметь прямолинейную характеристику, т.е. изменение положения штока с затвором должно быть пропорционально изменению давления сжатого воздуха в мембранной полости;

2) отклонения от линейной характеристики не должны превышать 2% полного хода затвора.

4.4 Определение нечувствительности подвижной части исполнительного устройства

Задачей испытания является определение нечувствительности исполнительного устройства в сборке, с построением графика.

Для составления графика фиксируют измеряемый посредством стрелочного индикатора ход затвора через каждый 1 мм и соответствующее каждому зафиксированному положению затвора давление воздуха в мембранной полости.

Это испытание проводят для всего диапазона перемещений затвора при его прямом и обратном ходе.

Данные испытаний заносят в таблицу.

Нечувствительность исполнительного устройства определяют, вычисляя половинное значение разности давлений в мембранной полости для любого положения затвора при прямом и обратном ходе.

Требование: для правильного собранного исполнительного устройства нечувствительность не должна превышать 2 кПа (0,02 кгс/см2).

ЛИТЕРАТУРА

1. Барласов Б.З., Ильин В.И. Наладка приборов и систем автоматизации. – М: Высш. шк., 1985. – 304 с.

2. Барласов Б.З., Демкович В.А. Предмонтажная проверка средств автоматизации. – Л.: Стройиздат. Ленингр. Отд-ние. – 1979. – 264 с.

3. Ивашин Г.В., Никитенко К.Ф. Монтаж, наладка и эксплуатация автоматических устройств в пищевой промышленности. – М: Пищ. пром., 1977. – 176 с.

4. Клюев А.С., Минаев П.А. Наладка систем контроля и автоматического управления. – Л.: Стройиздат, Ленингр. Отд-ние. – 1980. – 208 с.

5. Миранцев Г.Я. Ремонт автоматических приборов и регуляторов. – М.: Энергия, 1980. – 224.

6. Смирнов А.А. Справочное пособие по ремонту приборов и регуляторов. – М.: Энергоатомиздат, 1989. – 832 с.

Похожие работы на - Исполнительные механизмы

 

Не нашли материал для своей работы?
Поможем написать уникальную работу
Без плагиата!
Без нейросетей!