Метрологические основы поверки и калибровки средств измерений
МИНИСТЕРСТВО
ОБРАЗОВАНИЯ РЕСПУБЛИКИ БЕЛАРУСЬ
Учреждение
образования
«Гомельский
государственный университет
имени
Франциска Скорины»
Физический факультет
Кафедра
оптики
Курсовая
работа
Метрологические
основы поверки и калибровки средств измерений
Исполнитель:
студент группы Ф-34пр.
С.Л. Гайдаш
Научный руководитель:
к.ф-м наук, доцент
Н.А. Алешкевич
Гомель
2012
Введение
Метрология - наука об измерениях, о методах и средствах обеспечения их
единства и способах достижения требуемой точности. Под единством измерений
понимают такое их состояние, при котором результаты измерений выражены в
узаконенных единицах величин, и погрешности измерений не выходят за
установленные границы с заданной вероятностью.
Метрология изучает широкий круг вопросов, связанных как с теоретическими
проблемами (теоретическая метрология), так и с задачами практики (практическая
метрология). К основным разделам метрологии относятся: общая теория измерений,
единицы физических величин и их системы, методы и средства измерений физических
величин, методы оценки точности измерений, методы эталонирования. На основании
теоретических положений метрологии обоснованы и стандартизированы практические
рекомендации, регламентирующие все стороны измерений (законодательная и
метрология).
Измерениями называют совокупность операций по применению технического
средства, хранящего единицу физической ветчины, которые обеспечивают нахождение
соотношения измеряемой величины с ее единицей и получение значения этой
величины. Таким образом, измерение можно определить как экспериментальное
нахождение отношения измеряемой физической ветчины к другой однородной
величине, принятой за единицу.
Физической величиной называют свойство, общее в качественном отношении
для многих объектов, но в количественном отношении индивидуальное для каждого.
Например, физическими ветчинами являются длина, электрический ток, напряжение,
индуктивность. Количественное содержание физической величины, характеризующее
конкретный объект, называют размером физической величины (размером величины).
Оценку физической величины в виде некоторого числа принятых для нее единиц
называют значением физической величины.
Для организаций, разрабатывающих, производящих или применяющих СИ, одним
из аспектов обеспечения качества их продукции является наличие данных о
метрологических характеристик СИ, установленных с необходимой для потребителей
точностью.
MX СИ
необходимы для оценки пригодности СИ к измерениям в известном диапазоне с
известной точностью, а также для обеспечения:
.возможности установления точности измерений;
.достижения взаимозаменяемости СИ, сравнения СИ между собой и выбора
нужных СИ по точности и другим характеристикам;
.определения погрешностей измерительных систем и установок на основе MX входящих в них СИ.
Под нормированием понимается установление границ на допустимые
отклонения реальных метрологических характеристик средств измерений от их
номинальных значений. Только посредством нормирования метрологических
характеристик можно добиться их взаимозаменяемости и обеспечить единство
измерений в государстве.
1. СРЕДСТВА ИЗМЕРЕНИЙ
.1 Понятие средства измерений. Виды
средств измерений
Средство измерения (СИ) - это техническое средство, предназначенное для
измерений, имеющее нормированные метрологические характеристики, воспроизводящее
и/или хранящее единицу физической величины (ФВ), размер которой принимается
неизменным (в пределах установленной погрешности) в течение известного
интервала времени. Под метрологическими характеристиками (MX) понимают такие характеристики СИ,
которые позволяют судить об их пригодности для измерений в известном диапазоне
с известной точностью. СИ - это техническая основа метрологического
обеспечения.
Классификация средств измерений (СИ):
1 по степеням универсальности (универсальные, не
универсальные, специализированные);
по виду оценки параметров (допустимые (пороговые),
измерительные, комбинированные);
по назначению (контрольные, испытательные, прогнозирующие)
по измеряемым величинам (механические, акустические,
электрические, электронные, пневматические);
по РМГ 29-99 (меры, измерительные преобразователи,
измерительные установки, измерительные приборы, измерительные системы);
по связи с объектом (внешние, внутренние);
по режиму работы (динамические, статические);
по характеру использования (лабораторные, технические);
по виду регистрирующего сигнала (показывающие,
регистрирующие, самописцы, печатающие);
по виду выходного сигнала (аналоговые, цифровые,
аналого-цифровые);
по степени автоматизации (неавтоматизированные,
автоматизированные, автоматические);
по виду преобразований сигнала (прямого действия, сравнения,
промежуточные, масштабные);
по виду приёма передачи информации (одноканальные,
многоканальные);
по виду шкалы (с равномерной шкалой, с неравномерной шкалой,
с нулевой отметкой внутри шкалы, с нулевой отметкой на краю или вне шкалы);
по поверочной схеме (рабочие, образцовые, рабочие эталоны);
Средства измерения - это техническая основа метрологического
обеспечения.
Pазнообразие СИ подразделяется на
следующие классы: меры, измерительные приборы, измерительные установки,
измерительные системы и измерительные преобразователи (датчики).
Меры - это СИ,
воспроизводящие или хранящие физическую величину заданного размера. Меры могут
быть однозначными, воспроизводящими одно значение физической величины
(гиря, калибр на заданный размер, образцы твердости, шероховатости, катушка
сопротивления, нормальный элемент, воспроизводящий значение ЭДС), и
многозначными - для воспроизведения плавно или дискретно ряда значений
одной и той же физической величины (измерительный конденсатор переменной
емкости, набор конечных мер, магазин емкостей, индуктивности и сопротивления,
измерительные линейки).
Измерительный прибор - СИ, предназначенное
для переработки сигнала измерительной информации в другие, доступные для
непосредственного восприятия наблюдателем формы. Различают приборы прямого
действия (амперметры, вольтметры, манометры) и приборы сравнения (компараторы).
Измерительная установка - совокупность функционально объединенных СИ и вспомогательных устройств,
расположенных в одном месте. Например, поверочные установки, установки для
испытания электротехнических, магнитных и других материалов. Измерительная
установка позволяет предусмотреть определенный метод измерения и заранее
оценить погрешность измерения.
Измерительная система - это комплекс СИ и вспомогательных устройств с компонентами
связи (проводные, телевизионные и др.), предназначенный для выработки сигналов
измерительной информации в форме, удобной для автоматической обработки,
передачи и/или использования в автоматических системах управления.
В отличие от измерительных установок, предусматривающих изменения режима
и условий функционирования, измерительная система не воздействует на режимы
работы, а предназначена только для сбора и/или хранения информации.
Все большую роль в измерениях приобретают измерительные
преобразователи (датчики), предназначенные для преобразования измерительной
информации в форму, удобную для передачи, дальнейшего преобразования, обработки
и хранения. Это термопары, измерительные
трансформаторы и усилители, преобразователи давления. По месту, занимаемому в
измерительной цепи, они делятся на первичные, промежуточные и т. п.
Конструктивно они выполняются либо отдельными блоками, либо составной частью
СИ. Не следует отождествлять измерительные преобразователи с
преобразовательными элементами. Последние не имеют метрологических
характеристик, как, например, трансформатор тока или напряжения.
Конструктивно они, как правило, оформлены в самостоятельное средство
измерений, встраиваемое в технические устройства. Иногда датчики являются
составной частью измерительного прибора.
Все средства измерений можно классифицировать различным образом, в
частности:
.По характеру измеряемых физических величин (СИ электрических,
механических, радиофизических величин и т.д.);
. По типу регистрирующего устройства (аналоговые, цифровые
средства измерений).
Однако наибольшее значение имеет классификация СИ по метрологическим характеристикам.
В соответствии с ней все средства измерений подразделяются на рабочие,
образцовые и эталоны. К рабочим относятся средства измерений,
не предназначенные для воспроизведения и хранения единиц физических величин с
целью передачи их размеров другим средствам измерений. К образцовым
средствам измерений относятся меры, измерительные приборы (системы) или
измерительные преобразователи, применяемые для передачи размеров единиц другим
средствам измерений. Эталоны представляют собой средства измерений
(обычно комплекс средств измерений), предназначенные для воспроизведения и
(или) хранения единицы физической величины с целью передачи ее размера
образцовым средствам измерений высшей точности. Эталон должен быть официально
утвержден.
Всем средствам измерений присущи основные свойства: метрологические,
эксплуатационные, информационные и др. Наиболее важными являются
метрологические свойства (характеристики).
1.2
Понятие погрешностей средств измерений. Классификация погрешностей
Погрешность средства измерения - отклонение показания средства
измерения от истинного (действительного) значения измеряемой величины. Оно
характеризует точность результатов измерений, проводимых данным средством. Эти
два понятия во многом близки друг к другу и классифицируются по одинаковым
признакам.
Абсолютная погрешность СИ - разность между показательным прибором и действительным
значением измеряемой величины. В качестве действительного значения измеряемой
величины принимают показания эталонного средства измерения:
, (1)
где Х п - показание поверяемого средства измерения; Х эт
- показание эталонного средства измерения (действительное значение измеряемой
величины).
Относительная погрешность СИ определяется как отношение
абсолютной погрешности СИ к действительному значению измеряемой величин
(2)
где ∆Х - абсолютная погрешность СИ; Хэт -
показание эталонного средства измерения.
Абсолютная погрешность выражается в
единицах измеряемой физической величины и может быть задана:
1. Одним числом (линия 1 на рис. 1): А =
±а;
2.В виде линейной
зависимости (линии 2 и 3): А = ±bх; А = ±(а + bх);
3.В виде функции Δ=f(х)
или графика, таблицы.
Рисунок 1 -
Формирование аддитивной и мультипликативной составляющих погрешности.
Если значение погрешности не изменяется во
всем диапазоне измерения (линия 1), например, из-за трения в опорах, то такая
погрешность называется аддитивной (или погрешностью нуля).
Если погрешность изменяется
пропорционально измеряемой величине (линия 2), то ее называют мультипликативной.
В большинстве случаев аддитивная и
мультипликативная составляющие присутствуют одновременно (линия 3).
Приведенная погрешность средств измерений - отношение погрешности
измерительного прибора к нормирующему значению:
(3)
где ∆ Х - абсолютная погрешность СИ; Хнорм
- некоторое нормирующее значение.
Эта формула показывает, что для одного и
того же СИ δ уменьшается с ростом хд приближается
к ∞ при хд → 0. То есть при измерении на начальном
участке шкалы с начальной нулевой отметкой погрешности измерения могут быть
сколь угодно велики. Поэтому в метрологии существует принцип запрета измерений
на таких участках шкалы СИ. Выбор вида нормирования погрешности зависит от
характера ее изменения по диапазону измерения. Если СИ имеет только аддитивную
составляющую (или мультипликативной можно пренебречь), то предел допускаемой
абсолютной погрешности А = const, а δ будет изменяться по
гиперболе (рисунок 1.4). В этом случае удобнее нормировать абсолютную Δ = ±а или приведенную погрешность Δ= ±(а/х) = const.
В СИ с преобладающей мультипликативной
погрешностью удобнее нормировать предел допустимой относительной погрешности δ = ±с = const (смотри рисунок 1.4).
Таким способом нормируют счетчики электроэнергии, мосты постоянного и
переменного тока.
(4)
Для нормирования погрешностей с аддитивной
и мультипликативной составляющими (смотри рисунок 1.4) принята более сложная
зависимость.
Чтобы связать δ с конечным значением хк
шкалы, к последнему уравнению прибавим и вычтем величину а/хк, (здесь
хк - больший по модулю из пределов измерений). Тогда
(5)
Обозначим
и
.
Отсюда:
(6)
Из формулы следует, что минимальное
значение δmin будет при х = хк. Однако на
практике имеют место и другие случаи получения δ. Поэтому вводят значение
δmin, соответствующее х0,
тогда
(7)
Здесь значение δ возрастает как при убывании, так и при возрастании величины
х относительно х0.
Физически величина с есть погрешность в начале диапазона δн = с, величина d - погрешность в конце диапазона δк = с измерения. т. е.
, d = δк = δн + δм,
(8)
где Δ0 - аддитивная составляющая погрешности; хк - предел
измерения; δм - мультипликативная составляющая погрешности; Δ(х) - значение абсолютной погрешности, возрастающей прямо
пропорционально текущему значению х измеряемой величины.

v
Рисунок 2.4 -
Нормирование погрешностей с аддитивной и мультипликативной составляющими.
В качестве нормирующего значения могут быть приняты верхний, нижний
пределы измерения, диапазон измерения, длина шкалы и т. д.
Также различают статистическую погрешность средств измерений,
динамическую погрешность, погрешность средств измерений в динамическом режиме,
систематическую погрешность средств измерений, случайную погрешность средств
измерений, основную погрешность средств измерений, дополнительную погрешность
средств измерений.
Статическая погрешность СИ - погрешность средства измерения, используемого для
измерения постоянной величины.
Погрешность СИ в динамическом режиме - погрешность средства измерения,
используемая для измерения переменной во времени величины.
Динамическая погрешность СИ - разность между погрешностью средства измерения в
динамическом режиме и его статической погрешностью, соответствующей значению
величины в данный момент времени.
Систематическая погрешность СИ - это составляющая погрешности
измерения, которая остаётся постоянной или закономерно изменяется при повторных
измерениях.
К систематическим погрешностям измерений можно отнести те составляющие,
для которых можно считать доказанным наличие функциональных связей с
вызывающими их аргументами. Для них можно предложить следующее определение:
систематическая погрешность - закономерно изменяющаяся составляющая погрешности
измерений.
Формально это записывается в виде:
, (4)
где
- аргументы, вызывающие систематическую погрешность.
Главной особенностью систематической погрешности является принципиальная
возможность ее выявления, прогнозирования и однозначной оценки, если
удается узнать вид функции и значения аргументов.
Случайная погрешность СИ - составляющая погрешности средства измерения,
изменяющаяся случайным образом.
Основная погрешность - погрешность средства измерения, используемого в нормальных
условиях.
Дополнительная погрешность меры - изменение погрешности меры
вследствие изменения ее действительного значения, вызванного отклонением одной
из влияющих величин от нормального значения или выходом за пределы нормальной
области значений.
Предел допускаемой погрешности СИ - наибольшая погрешность средства
измерения, при которой оно может быть признана годной к применению.
Точность СИ - качество СИ, отражающее близость к нулю его
систематических погрешностей.
Правильность СИ- качество СИ, отражающее близость к нулю его систематических
погрешностей.
Сходимость показания СИ - качество СИ, отражающее близость к нулю его
случайных погрешностей.
Класс точности СИ- обобщенная характеристика СИ, определяемая пределами
допускаемых основных и дополнительных погрешностей, а также другими свойствами
СИ, влияющими на точность, значение которых устанавливают на отдельные виды СИ.
Средства измерений можно использовать только тогда, когда известны их
метрологические характеристики. Обычно указываются номинальные значения
параметров средств измерений и допускаемые отклонения от них. Сведения о
метрологических характеристиках приводятся в технической документации на
средства измерений или указываются на них самих. Как правило, реальные
метрологические характеристики имеют отклонения от их номинальных значений.
Поэтому устанавливают границы для отклонений реальных метрологических характеристик
от номинальных значений - нормируют их. Нормирование метрологических
характеристик средств измерений позволяет избежать произвольного установления
их характеристик разработчиками. помощью нормируемых метрологических
характеристик решаются следующие основные задачи:
.Оценка инструментальной составляющей погрешности измерений.
.Выбор СИ по заданным характеристикам их погрешностей.
.Сравнение СИ различных типов по МХ.
.Разработка сложных измерительных систем (ИС).
.Оценка погрешности ИС.
Необходимо отметить, что погрешность СИ является только одной из
составляющих погрешности результата измерений, получаемого с использованием
данного СИ. Другими составляющими являются погрешность метода измерений и
погрешность оператора, проводящего измерения.
Погрешности средств измерений могут быть обусловлены различными причинами:
.неидеальностью свойств средства измерений, то есть отличием его реальной
функции преобразования от номинальной;
.воздействием влияющих величин на свойства средств измерений;
.взаимодействием средства измерений с объектом измерений изменением
значения измеряемой величины вследствие воздействия средства измерения;
.методами обработки измерительной информации, в том числе с помощью
средств вычислительной техники.
Погрешности конкретных экземпляров СИ устанавливают только для эталонов,
для остальных СИ вся информация об их погрешностях представляет собой те нормы,
которые для них установлены. Нормирование погрешностей изложено в Рекомендации
34 МОЗМ «Классы точности средств измерений» и в ГОСТ 8.401-80 «Классы точности
средств измерений. Общие требования ».
В основе нормирования погрешностей средств измерений лежат следующие
основные положения.
. В качестве норм указывают пределы допускаемых погрешностей, включающие
в себя систематические и случайные составляющие.
Под пределом допускаемой погрешности понимается наибольшее значение
погрешности средства измерений, при котором оно еще признается годным к
применению. Обычно устанавливают пределы, т.е. зоны, за которую не должна
выходить погрешность. Данная норма отражает то положение, что средства
измерений можно применять с однократным считыванием показаний.
. Порознь нормируют все свойства СИ, влияющие на их точность: отдельно
нормируют основную погрешность, по отдельности - все дополнительные погрешности
и другие свойства, влияющие на точность измерений. При выполнении данного
требования обеспечивается максимальная однородность средств измерений одного
типа, то есть близкие значения дополнительных погрешностей, обусловленных
одними и теми же факторами. Это дает возможность заменять один прибор другим
однотипным без возможного увеличения суммарной погрешности.
2.
НОРМИРОВАНИЕ МЕТРОЛОГИЧЕСКИХ ХАРАКТЕРИСТИК СРЕДСТВ ИЗМЕРЕНИЙ
2.1 Метрологические характеристики
средств измерений
Повышение требований к качеству продукции и эффективности ее производства
привели к радикальному изменению требований к измерениям. Как указывается в
Международном стандарте ИСО 9001:2000 организация (компания, фирма, предприятие
или учреждение, которые выполняют самостоятельные функции и имеют
администрацию) должна, в том числе, планировать и применять процессы измерения
для того, чтобы:
. демонстрировать соответствие продукции;
.обеспечивать соответствие системы менеджмента качества;
.постоянно повышать результативность системы менеджмента качества.
Для организаций, разрабатывающих, производящих или применяющих СИ, одним
из аспектов обеспечения качества их продукции является наличие данных о
метрологических характеристик СИ, установленных с необходимой для потребителей
точностью.
MX СИ
необходимы для оценки пригодности СИ к измерениям в известном диапазоне с
известной точностью, а также для обеспечения:
.возможности установления точности измерений;
.достижения взаимозаменяемости СИ, сравнения СИ между собой и выбора
нужных СИ по точности и другим характеристикам;
.определения погрешностей измерительных систем и установок на основе MX входящих в них СИ.
Все метрологические характеристики (МХ) средства измерений можно
разделить на следующие группы:
1. Характеристики, предназначенные для нахождения результатов
измерений;
2. Характеристики погрешностей;
. Характеристики чувствительности СИ к влияющим факторам;
. Динамические характеристики;
. Характеристики свойств СИ, влияющих на погрешность вследствие
взаимодействия средства измерений с другими объектами, включая объект,
свойством которого является измеряемая физическая величина.
К первой из упомянутых групп относят градуировочные характеристики.
Градуировочная
характеристика - это зависимость
между значением
сигнала средства измерений и истинным значением
его информативного параметра. Она может быть выражена
формулой, графиком, таблицей или словесно. Градуировочная характеристика может
быть простой (например, показанием измерительного прибора считать отсчет по его
шкале), или сложной (переходной характеристикой, выраженной дифференциальным
уравнением). Иногда градуировочную характеристику выражают с помощью поправок. Поправкой
называют величину, которую следует добавить к полученному по упрощенной
зависимости
числу, чтобы найти значение сигнала СИ.
Прежде,
чем рассмотреть вторую группу метрологических характеристик, вспомним
определение погрешности. Погрешностью измерений называется разность
показания СИ и истинного значения измеряемой физической величины.
По
способу числового выражения различают абсолютные погрешности измерений,
выражаемые в единицах измеряемой физической величины, и относительные,
выражаемые отношением абсолютной погрешности к истинному значению измеряемой
величины.
Погрешности
бывают систематическими и случайными. Совокупность систематических и случайных
погрешностей СИ в нормальных условиях называется основной погрешностью.
Ко
второй группе метрологических характеристик относят следующие характеристики
погрешности: математическое ожидание погрешности, среднее квадратическое
ожидание и вариацию. Остановимся более подробно на последней из
упомянутых характеристик.
Вариация (гистерезис)
- разность между показаниями СИ в данной точке диапазона измерения при
возрастании и убывании измерений величины и неизменных внешних условиях:
, (9)
где
Xв и Xу - значения измерений образцовыми СИ при возрастании и
убывании величины Х.
Следует
иметь в виду, что, хотя вариация показаний СИ вызывается случайными факторами,
сама она - не случайная величина. Зависимость между выходным и входным сигналом
СИ, полученную экспериментально, называют градуировочной характеристикой,
которая может быть представлена аналитически, графически или в виде таблицы.
Гистерезис выходного сигнала средства измерений заключается в том, что
выходной сигнал СИ зависит не только от размера измеряемой физической величины,
но и от направления и скорости изменения физической величины непосредственно
перед ее измерением. Вариация равна модулю разности математических ожиданий
погрешности СИ при использовании его для измерения физической величины, которая
непосредственно перед измерением медленно и плавно уменьшалась и медленно и
плавно увеличивалась.
К характеристикам чувствительности СИ к влияющим факторам относят функции
влияния. Функция влияния - это зависимость изменения метрологических
характеристик СИ от изменения влияющего фактора или совокупности влияющих
факторов. Наиболее существенно от влияющих факторов (внешних воздействий)
зависят систематические погрешности средства измерений. Изменения
систематической погрешности, вызванные наличием влияющих факторов, называют дополнительными
погрешностями. Дополнительную погрешность выражают в единицах измеряемой
физической величины, в долях основной или систематической погрешности.
Динамические характеристики СвИ - это характеристики динамических
свойств СвИ, отражающих зависимость выходного сигнала от изменяющегося во времени
входного сигнала. К ним относят: переходную, импульсную, амплитудно-
фазовую, совокупность амплитудно-частотной и фазо- частотной характеристики.
Переходная функция показывает, как изменяется выходной сигнал при
изменении скачком входного.
Отклик средства измерений на единичный импульс называется импульсной
характеристикой.
Ампитудно - фазовая характеристика - это построенная в полярной системе
координат зависимость амплитуды и сдвига фаз между выходным и входным сигналом
от частоты.
Амплитудно-частотная характеристика - это зависимость амплитуды от
частоты входного сигнала.
Фазо - частотная характеристика - зависимость угла сдвига фаз между
выходным и входным сигналами от частоты.
Обычно для каждого средства измерений динамические характеристики регламентируют
заданием номинальных характеристик. Максимальное отклонение реальных
динамических характеристик от номинальных рассматривают как динамическую
погрешность.
Как правило, средство измерений можно считать линейным динамическим
объектом, для которого справедлив принцип суперпозиции. Погрешность такого
средства измерений можно представить в виде суммы статической и динамической
составляющих.
Примерами метрологических характеристик, относящихся к пятой группе,
являются: входной и выходной импеданс у электрических величин, коэффициент
отражения от входа и выхода в высокочастотных линиях. Чем интенсивнее
взаимодействие средства измерений с объектами и устройствами, соединенными с
входом и выходом СИ, тем значительнее следствия такого взаимодействия.
Для метрологических характеристик устанавливаются нормы (предельно
допустимые значения, при которых возможно выполнение достоверных измерений),
поэтому метрологические характеристики называют нормируемыми.
Сведения о рабочих условиях содержатся в технических условиях
(техническом описании на прибор) и указывают возможность отклонения условий
проведения измерений от нормальных при сохранении метрологических характеристик
в установленных пределах. Для унификации применяемых видов измерительной
техники рабочие условия измерений (параметры внешней среды) нормируются
соответствующими государственными стандартами. К таким параметрам относятся:
температура, давление, влажность, механические нагрузки при транспортировании,
пределы изменения напряжения и частоты источника питания, напряженность
магнитного (электрического) поля, под воздействием которого находится средство
измерений.
Помимо точностных характеристик, средства измерений характеризуются диапазоном
измерений, допустимыми условиями применения, чувствительностью, быстродействием,
стабильностью, помехозащищённостью, надёжностью и др.
Диапазон измерений - область значений
измеряемой величины, для которой нормированы допускаемые пределы погрешности СИ
(для преобразователей - это диапазон преобразования).
Предел измерения - наибольшее или наименьшее
значение диапазона измерения. Для мер - это номинальное значение
воспроизводимой величины.
Например, у шкалы на рис. 1 начальный
участок сжат, потому производить отсчеты на нем неудобно. Тогда предел
измерения по шкале составляет 50 ед., а диапазон - 10...50 ед.
Рисунок 2.1 - Неравномерная шкала СИ
Цена деления шкалы - разность значений
величин, соответствующих двум соседним отметкам шкалы. Приборы с равномерной
шкалой имеют постоянную цену деления, а с неравномерной - переменную. В этом
случае нормируется минимальная цена деления.
Различают равномерные (рис. 2, а, б, в, г)
и неравномерные шкалы. Последние делятся на существенно неравномерные и
степенные.
Рисунок 2..2 - Виды шкал СИ.
Под существенно неравномерной шкалой
понимают шкалу с сужающимися делениями, на которой отметка, соответствующая
полусумме начального и конечного значения рабочей части шкалы, расположена
между 65 и 100% длины этой рабочей части (рис. 2 ,д).
Под степенной шкалой понимают шкалу с
расширяющимися или сужающимися делениями, но не попадающими под определение
существенно неравномерных (рис. 2,е).
Чувствительность средств измерений представляет собой способность реагировать
на изменения входного сигнала и оценивается отношением изменения выходного
сигнала к вызвавшему его изменению входного си гнала.
, (10)
Чувствительность - величина обратная цене деления С шкалы
прибора. Для аналоговых средств измерения чувствительность показывает, на
сколько делений шкалы отклоняется стрелка прибора при измерении единицы
физической величины.
, (11)
Порог
чувствительности - минимальное
изменение входного сигнала СИ, вызвавшее изменение выходного сигнала.
Быстродействие характеризуется интервалом времени, необходимым для
производства единичного измерения.
Стабильность отражает постоянство во времени метрологических
характеристик. Часто эта характеристика представляется обратной величиной - нестабильностью
показателей во времени.
Помехозащищенностью называется способность прибора сохранять в процессе
измерений свои характеристики при наличии внешних помех.
Надежность представляет свойство средства измерений
функционировать при сохранении метрологических и других характеристик в
заданных пределах и режимах работы.
За
показатели безотказности принимают среднюю наработку на отказ (среднее значение
наработки средства измерений между отказами) и вероятность безотказной работы
за заданный промежуток времени.
2.2
Нормирование метрологических характеристик
Под нормированием понимается установление границ на допустимые
отклонения реальных метрологических характеристик средств измерений от их
номинальных значений. Только посредством нормирования метрологических
характеристик можно добиться их взаимозаменяемости и обеспечить единство
измерений в государстве. Реальные значения метрологических характеристик
определяют при изготовлении средств измерений и затем проверяют периодически во
время эксплуатации. Если при этом хотя бы одна из метрологических характеристик
выходит за установленные границы, то такое средство измерений либо подвергают
регулировке, либо изымают из обращения.
Нормы на значения метрологических характеристик устанавливаются
стандартами на отдельные виды средств измерения. При этом делается различие
между нормальными и рабочими условиями применения средств измерения.
Нормальными считаются такие условия применения средств измерений, при
которых влияющие на процесс измерения величины (температура, влажность, частота,
напряжение питания, внешние магнитные поля и т.д.), а также неинформативные
параметры входных и выходных сигналов находятся в нормальной для данных средств
измерений области значений, т.е. в такой области, где их влиянием на
метрологические характеристики можно пренебречь. Нормальные области значений
влияющих величин указываются в стандартах или технических условиях на средства
измерений данного вида в форме номиналов с нормированными отклонениями,
например, температура должна составлять 20±2°С, напряжение питания - 220 В±10%
или в форме интервалов значений (влажность 30 - 80 %).
Рабочая область значений влияющих величин шире нормальной области значений. В ее
пределах метрологические характеристики существенно зависят от влияющих
величин, однако их изменения нормируются стандартами на средства измерений в
форме функций влияния или наибольших допустимых изменений. За пределами рабочей
области метрологические характеристики принимают неопределенные значения.
Для нормальных условий эксплуатации средств измерений должны
нормироваться характеристики суммарной погрешности и ее систематической и
случайной составляющих. Суммарная погрешность Δ средств измерений в нормальных
условиях эксплуатации называется основной погрешностью и нормируется
заданием предела допускаемого значения Δд, т.е. того наибольшего значения, при котором средство
измерений еще может быть признано годным к применению.
Перечисленные выше метрологические характеристики следует нормировать не
только для нормальной, но и для всей рабочей области эксплуатации средств
измерений, если их колебания, вызванные изменениями внешних влияющих величин и
неинформативных параметров входного сигнала в пределах рабочей области,
существенно меньше номинальных значений.
В противном случае эти характеристики нормируются только для нормальной
области, а в рабочей области нормируются дополнительные погрешности путем
задания функций влияния ψ(ξ) или наибольших допустимых изменений Δl(ξ) раздельно для каждого влияющего фактора; в случае
необходимости - и для совместного изменения нескольких факторов. Функции
влияния нормируются формулой, числом, таблицей или задаются в виде номинальной
функции влияния и предела допускаемых отклонений от нее.
Для используемых по отдельности средств измерений, точность которых
заведомо превышает требуемую точность измерений, нормируются только пределы Δд допускаемого значения суммарной
погрешности и наибольшие допустимые изменения метрологических характеристик.
Если же точность средств измерений соизмерима с требуемой точностью измерений,
то необходимо нормировать раздельно характеристики систематической и случайной
погрешности и функции влияния. Только с их помощью можно найти суммарную
погрешность в рабочих условиях применения средств измерений.
Динамические характеристики нормируются путем задания номинального
дифференциального уравнения или передаточной, переходной, импульсной весовой
функции. Одновременно нормируются наибольшие допустимые отклонения динамических
характеристик от номинальных.
2.3
Способы нормирования метрологических характеристик
Типовые характеристики, предназначенные для определения
результатов измерений (без
введения поправки):
- функция преобразования измерительного преобразователя, а
также измерительного прибора с неименованной шкалой или со шкалой,
отградуированной в единицах, отличных от единиц входной величины- f(x),
- значение однозначной или значения многозначной меры - Y,
- цена деления шкалы измерительного прибора или многозначной
меры,
- вид выходного кода, число разрядов кода, цена единицы
наименьшего разряда кода средств измерений, предназначенных для выдачи
результатов в цифровом коде, нормируют как
номинальные характеристики средств измерений данного типа.
Для конкретных экземпляров средств измерений, предназначенных
для применения с одной или несколькими индивидуальными характеристиками:
. Функция преобразования измерительного преобразователя, а также
измерительного прибора с неименованной шкалой или со шкалой, отградуированной в
единицах, отличных от единиц входной величины, - f(x),
Значение однозначной или значения многозначной меры - Y,
Цена деления шкалы измерительного прибора или многозначной меры, а не с номинальными, распространяющимися на все экземпляры
средств измерений данного типа, соответствующие номинальные характеристики
можно не нормировать. В этих случаях нормируют пределы (граничные
характеристики), в которых должна находиться индивидуальная характеристика при
предусмотренных условиях применения средств измерений.
Характеристики систематической составляющей Dsp погрешности СИ выбирают из числа
следующих:
1.
Значение систематической составляющей
или
.
Значение систематической составляющей
,
математическое ожидание М[
] и среднее квадратическое отклонение
[
] систематической составляющей погрешности, нормируют путем установления: пределов (положительного и отрицательного) Dsp допускаемой систематической составляющей
погрешности средств измерений данного типа или пределов Dsp допускаемой систематической составляющей
погрешности, математического ожидания М[
] и среднего квадратического отклонения
[
] систематической
составляющей погрешности средств измерений данного типа.
Примечания:
1. Если пределы допускаемой систематической составляющей
погрешности симметричны, их записывают в виде "± Dsp".
. При необходимости допускается нормировать наибольшее
допускаемое изменение систематической составляющей погрешности за заданный
интервал времени.
. При необходимости допускается нормировать изменение во
времени пределов допускаемой систематической составляющей погрешности.
Характеристики случайной составляющей погрешности Характеристики случайной составляющей
погрешности средств измерений выбирают из числа следующих:
1.
Среднее квадратическое отклонение
[
] случайной составляющей погрешности или
.
Среднее квадратическое отклонение случайной составляющей погрешности,
нормализованная автокорреляционная функция r(t)или
функция спектральной плотности S(w) случайной составляющей погрешности, нормируют путем установления: предела
p[
] допускаемого среднего квадратического отклонения случайной
составляющей погрешности средств измерений данного типа или предела
p[
] допускаемого среднего квадратического отклонения случайной
составляющей погрешности, номинальной нормализованной автокорреляционной
функции r (t) или номинальной функции спектральной плотности S (w) случайной
составляющей погрешности и пределов допускаемых отклонений этих функций от
номинальных.
Характеристику случайной составляющей
H погрешности от
гистерезиса - вариация Н
выходного сигнала (показания) средства измерений,
Нормируют путем установления предела (без учета знака) Нр
допускаемой вариации выходного сигнала (показания) средства измерений данного
типа.
При нормировании характеристики погрешности средств измерений
устанавливают пределы (положительный и отрицательный) Dр допускаемой погрешности
и предел Нр допускаемой вариации выходного сигнала
(показания) средства измерений.
Характеристику по погрешности средств измерений - значение погрешности можно нормировать для средств измерений, случайная
составляющая погрешности которых в каждой точке диапазона измерений
пренебрежимо мала в соответствии с критериями существенности.
Для средств измерений, не предназначенных для совместного
применения с другими средствами измерений (в том числе в составе измерительных
систем или измерительно-вычислительных комплексов), в тех случаях, когда их
погрешность в рабочих условиях применения практически полностью может быть
определена нормированными верхней Dв и нижней Dн границами интервала, в
котором лежит погрешность в нормальных условиях с заданной вероятностью Р,
допускается указанные границы и вероятность нормировать и при существенной
случайной составляющей основной погрешности средства измерений, в соответствии
с критериями существенности, установленными в обязательном приложении 1.
Функции влияния Функции влияния y (x), нормируют
путем установления: номинальной функции влияния ysf(x)и пределов допускаемых
отклонений от нее или граничных функций влияния: верхней y*(x) и нижней y*(x).
Граничные функции влияния нормируют для таких средств
измерений, у которых велик разброс функций влияния по множеству экземпляров. В
силу этого номинальную функцию влияния не нормируют. При применении таких
средств измерений, в случае необходимости, определяют функции влияния,
индивидуальные для каждого экземпляра средства измерений. Нормированные
граничные функции влияния используют для контроля качества средств измерений.
Изменения значений MX, вызванные изменениями влияющих величин: изменения e (x) значений MX средств
измерений, вызванные изменениями влияющих величин в установленных пределах, нормируют путем установления пределов (положительного и
отрицательного) допускаемых изменений характеристики при изменении влияющей
величины в заданных пределах.
Пределы допускаемых изменений погрешности средства измерений
допускается называть пределами допускаемой дополнительной погрешности средства
измерений.
Функции влияния y(x) и наибольшие
допускаемые изменения Îp(x) нормируют отдельно для
каждой влияющей величины. Функции влияния и наибольшие допускаемые изменения
допускается нормировать для совместных изменений нескольких влияющих величин
как y(x1, x2, …) или Îp(x1, x2, …), если функция y(xi) или Îp(xi) какой-либо одной
влияющей величины xi существенно зависит от
других влияющих величин xi.
Критерий существенности устанавливают в НТД на средства
измерений конкретных типов (или видов).
Полную динамическую характеристику аналоговых средств
измерений, которые можно рассматривать как линейные:
. Переходная характеристика h(t);
. Импульсная переходная характеристика g(t);
. Амплитудно-фазовая характеристика G(jw);
. Амплитудно-частотная характеристика A(w) - для минимально фазовых
средств измерений;
. Совокупность амплитудно-частотной и фазово-частотной характеристик;
. Передаточная функция G(S), нормируют путем
установления номинальной полной динамической характеристики и пределов
(положительного и отрицательного) допускаемых отклонений от нее.
Предпочтительной для нормирования является такая полная
динамическая характеристика, экспериментальное определение и (или) контроль
которой могут быть осуществлены с необходимой точностью и наиболее простым
методом.
Частные динамические характеристики аналоговых средств
измерений, которые можно рассматривать как линейные., нормируют путем
установления номинальных частных динамических характеристик и пределов
(положительного и отрицательного) допускаемых отклонений от них.
Допускается нормировать только частную динамическую
характеристику в тех случаях, когда эта характеристика достаточна для учета
динамических свойств средства измерений при его применении. Предпочтительной
является такая частная динамическая характеристика, экспериментальное
определение и (или) контроль которой могут быть осуществлены с необходимой
точностью и наиболее простым методом.
Частные динамические характеристики аналого-цифровых преобразователей
(АЦП) и цифровых измерительных приборов ЦИП, время реакции которых не превышает интервала времени
между двумя измерениями, соответствующего максимальной частоте (скорости) fmax
измерений,, а также цифро-аналоговых
преобразователей (ЦАП), нормируют путем установления
номинальных частных динамических характеристик и пределов (положительного и
отрицательного) допускаемых отклонений от них.
Погрешность датирования отсчета нормируют путем установления
предела допускаемого математического ожидания погрешности датирования и предела
допускаемого среднего квадратического отклонения или предела допускаемого
размаха случайной составляющей погрешности датирования.
Для средств измерений, у которых велик разброс динамических
характеристик (полных или частных) по множеству экземпляров и, в силу этого,
для которых в НТД установлена необходимость определения и дальнейшего
использования индивидуальных динамических характеристик каждого экземпляра
средств измерений, нормируют граничные динамические характеристики, выбираемые
из числа перечисленных:
1 Переходная
характеристика h(t);
Импульсная преходная
характеристика g(t);
3 Амплитудно-фазовая характеристика G(jw);
4 Амплитудно-частотная характеристика
A(w);
Передаточная функция G(S),
К частным динамическим характеристикам относят любые функционалы или
параметры полных динамических характеристик. Примерами таких характеристик
являются:
Время реакции tr;
Коэффициент демпфироваения gdam;
Постоянная времени Т;
Значение амплитудно-частотной характеристики на резонансной частоте
A(w0);
Значение резонансной собственной круговой частоты w0.
Частные динамические характеристики аналого-цифровых преобразователей
(АЦП) и цифровых измерительных приборов (ЦИП) время реакции которых не
превышает интервала времени между двумя измерениями, соответствующего
максимальной частоте (скорости) fmax измерений, а также цифро-аналоговых
преобразователей (ЦАП).
Примерами частных динамических
характеристик АЦП являются:
Время реакции tr;
Погрешность td датирования отсчета;
Максимальная частота измерений fmax.
ЗАКЛЮЧЕНИЕ
Метрология в самом широком понимании представляет собой науку об
измерениях, о методах и средствах, обеспечении их единства, о способах
достижения требуемой точности. С развитием науки и технологий постоянно
создаются новые, все более точные средства измерений (СИ), включая эталоны,
совершенствуются методы измерений и передачи единиц физических величин рабочим
СИ, а также методы выявления и оценки погрешностей СИ. По метрологическому
назначению средства измерений делят на два вида - рабочие средства измерений и
эталоны. Рабочие СИ применяют для определения параметров (характеристик)
технических устройств, технологических процессов, окружающей среды и др.
Отличительной особенностью средств измерения является то, что они обладают
метрологическими характеристиками, приобретенными в процессе изготовления, и
содержат информацию о единице измеряемой физической величины. Исследование
метрологических характеристик СИ необходимо для оценки пригодности СИ к
измерениям в известном диапазоне с известной точностью, а также для обеспечения
возможности установления точности измерений, достижения взаимозаменяемости СИ,
сравнения их между собой и выбора нужных СИ по точности и другим
характеристикам. В ходе эксплуатации метрологические свойства изменяются, и в
некоторых случаях может наступить метрологический отказ. Для предотвращения
метрологических отказов и обеспечения единообразия средств измерений проводят
поверку СИ. Государственная (ведомственная) поверка СИ, устанавливающая метрологическую
исправность, является формой надзора за средствами измерений.
С процессами измерения в настоящее время имеет дело любой человек. Даже
современный быт заполнен приборами и измерениями. Простейший пример измерения -
взвешивание товара в магазине. А про технику говорить вообще не приходится,
измерительный прибор главная часть любого производства, а измерение - важнейшая
частью почти любой работы.
В данной курсовой работе были разработаны методические указания к
лабораторной работе по метрологическим характеристикам и методике поверки
средств измерений.
Кроме того этот материал может быть использован также для преподавания
основ метрологии студентам физического факультета специализации «метрология».
Основным результатом дипломной работы стало также подробное рассмотрение
различных видов средств измерений и способов их нормирования.
измерение погрешность метрологический преобразователь
СПИСОК
ИСПОЛЬЗОВАННЫХ ИСТОЧНИКОВ
1
Тартаковский Д.Ф.
Метрология, стандартизация и технические измерения [Текст] : учеб. для вузов /
Д.Ф. Тартаковский, А.С. Ястребов.- М. : Высшая школа, 2001.-205 с.
2 Гончаров
А.А. Метрология, стандартизация и сертификация [Текст] : / А.А. Гончаров, В.Д.
Копылов.- М. :Академия, 2004.-240с.
Земельман
М.А. Метрологические основы технических измерений [Текст] М.А. Земельман.-
издательство стандартов, 1991.-227с.
Крылова Г.Д.
Основы стандартизации, сертификации , метрологии [Текст] : учеб. для вузов
/Г.Д. Крылова .-М. : ЮНИТИ, 2001.-711с.
Сергеев А.Г.
Метрология [Текст] : учеб. для вузов /А.Г. Сергеев .-М. : Логос, 2005.-270с.
ГОСТ
8.009-84. Нормирование и использование метрологических характеристик средств
измерений.- Введ. 01,01,86 .- Мн.: БелГИСС,1986.-42с.
Приложение
А
Лабораторная
работа
МЕТРОЛОГИЧЕСКИЕ
ХАРАКТЕРИСТИКИ И МЕТОДИКА ПОВЕРКИ (КАЛИБРОВКИ) СРЕДСТВ ИЗМЕРЕНИЙ
ЦЕЛЬ РАБОТЫ:
Изучить основные метрологические характеристики, нормируемые свойства и
методику поверки (калибровки) средств измерений на примере приборов для
измерений напряжений.
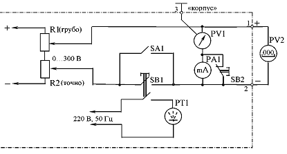
ОПИСАНИЕ ЛАБОРАТОРНОЙ УСТАНОВКИ:
Часть лабораторной установки, предназначенная для
поверки (калибровки) магнитоэлектрического вольтметра выполнена и смонтирована
по схеме, представленной на рис. 4.1. (Кроме эталонного вольтметра PV2, который подключается к установке
путем подсоединения к клеммам 1 - 2).
Рис. 4.1
PV1 - поверяемый вольтметр магнитоэлектрической системы
(например, М381 с номинальным напряжением 250 В, класс точности 1,5);
PV2 - эталонный вольтметр (например,
цифровой вольтметр типа В7-16 А);
РА1 - миллиамперметр;
РТ1 - электросекундомер;
R1 (грубо) и R2
(точно) - потенциометры для установки указателя PV1 на числовые отметки шкалы, рукоятки потенциометров R1 и R2 выведены на переднюю панель стенда;
SA1 - выключатель;
SB1, SB2 - кнопки;
, 2 - клеммы для подключения
эталонного вольтметра PV2;
- клемма, соединенная с корпусом
поверяемого вольтметра PV1.
Для получения зависимости показаний приборов от
частоты на стенде имеется генератор сигналов Г3 - 33 и вольтметры различных
систем (например, электромагнитной Э59, электродинамической Д566, электронной
В3 - 38 А).
КРАТКИЕ
ТЕОРЕТИЧЕСКИЕ СВЕДЕРИЯ
. Средства измерений
Средство измерений (СИ) - это техническое средство, предназначенное для
измерений, имеющее нормированные метрологические характеристики, воспроизводящее
и хранящее единицу физической величины, размер которой принимается неизменным в
течение известного интервала времени.
Измерительный прибор (прибор) - СИ, предназначенное для получения
значений измеряемой физической величины в установленном диапазоне.
Аналоговые измерительные приборы - приборы, показания которых являются
непрерывной функцией изменений измеряемой величины.
Цифровые измерительные приборы - приборы, в которых в процессе измерения
осуществляется автоматическое преобразование непрерывной измеряемой величины в
дискретную с последующей индикацией результата измерений в цифровой форме в
виде числа или кода.
Метрологическая характеристика - характеристика одного из свойств СИ,
влияющая на результат измерений и на его погрешность.
Измерительный механизм аналогового прибора - совокупность элементов СИ,
которые обеспечивают необходимое перемещение указателя (стрелки, светового
пятна и т.д.).
Показывающее устройство - совокупность элементов СИ, которые обеспечивают
визуальное восприятие значений измеряемой величины или связанных с ней величин.
Указатель - часть показывающего устройства, положение которой
относительно отметок шкалы определяет показания средства измерений.
Шкала - часть показывающего устройства СИ, представляющая собой упорядоченный
ряд отметок вместе со связанной с ними нумерацией.
Отметка шкалы - знак на шкале СИ (черточки, зубец, точка и др.),
соответствующий некоторому значению физической величины.
Числовая отметка шкалы - отметка шкалы СИ, у которой проставлено число.
Деление шкалы - промежуток между двумя соседними отметками шкалы СИ.
Цена деления шкалы - разность значений величины, соответствующих двум
соседним отметкам шкалы СИ.
Длина шкалы - длина линии, проходящей через центры всех самых коротких
отметок шкалы СИ и ограниченной начальной и конечной отметками.
Начальное значение шкалы - наименьшее значение измеряемой величины,
которое может быть отсчитано по шкале СИ.
Конечное значение шкалы - наибольшее значение измеряемой величины,
которое может быть отсчитано по шкале СИ.
Табло прибора - показывающее устройство цифрового измерительного прибора.
Показание - значение величины или число на показывающем устройстве СИ.
Диапазон показаний СИ - область значений шкалы прибора, ограниченная
начальным и конечным значениями шкалы.
Диапазон измерений СИ - область значений величины, в пределах которой
нормированы допускаемые пределы погрешности СИ. Значения величины,
ограничивающие диапазон измерений снизу и сверху (слева и справа), называют
соответственно «нижним пределом измерений» или «верхним пределом измерений».
Чувствительность - свойство СИ, определяемое отношением изменения
выходного сигнала этого СИ к вызывающему его изменению измеряемой величины. Для
показывающего прибора
где
- изменение отношения указателя в делениях или
миллиметрах шкалы; X - изменение измеряемой величины.
Для
равномерной шкалы
где
N - число делений шкалы; XН - нормирующее значение шкалы прибора.
Порог
чувствительности - характеристика СИ в виде наименьшего значения изменения
физической величины, начиная с которого может осуществляться ее измерение
данным средством.
Порог
чувствительности для показывающего прибора - значение величины, соответствующее
толщине указателя, для цифрового измерительного прибора -значение единицы
величины младшего разряда табло прибора для данного предела измерения.
Градуировочная
характеристика СИ - зависимость между значениями величины на входе и выходе СИ,
полученное экспериментально. Может быть выражена в виде формулы, графика или
таблицы. Для показывающих приборов градуировочная характеристика a = f ( X ) -
это уравнение шкалы прибора.
Метрологическая
погрешность - состояние СИ, при котором все
нормируемые метрологические характеристики и свойства соответствуют
установленным требованиям.
2 Погрешности средств измерений
Погрешность СИ - разность между показанием СИ и истинным (действительным)
значением измеряемой величины.
Погрешности СИ:
1 в зависимости от условий возникновения -
основные и дополнительные;
в зависимости от изменения во времени
измеряемой величины - статические и динамические;
в зависимости от значения измеряемой величины
- аддитивные и мультипликативные;
по закономерности проявления -
систематические и случайные;
по числовому выражению - абсолютные,
относительные приведенные. Основная погрешность - погрешность СИ, применяемого
в нормальных условиях. Определяется конструкцией измерительного механизма и
измерительной цепью прибора.
Дополнительная погрешности - составляющая погрешность
СИ, возникающая дополнительно к основной погрешности вследствие отклонения
какой-либо из влияющих величин от нормального ее значения или вследствие ее
выхода за пределы нормальной области значений.
Статическая погрешность - погрешность СИ, применяемого
при измерении физической величины, принимаемой за неизменную.
Динамическая погрешность - погрешность СИ, возникающая
при измерении изменяющейся в процессе измерений физической величины.
Аддитивная погрешность - составляющая абсолютной
погрешности СИ, остающаяся постоянной во всем диапазоне измерений: ± a.
Мультипликативная погрешность - составляющая
абсолютной погрешности СИ, линейно зависящая от значения измеряемой величины: ±
b
× X.
Систематическая погрешность - составляющая погрешности
СИ, которая остается постоянной или закономерно изменяется. К систематическим
погрешностям относят погрешности градуировки шкалы, погрешности, обусловленные
неточностью меры и т.п.
Случайная погрешность - составляющая погрешности СИ,
изменяющаяся случайным образом. Случайные погрешности вызываются большим числом
отдельных причин, действующих независимо друг от друга, поэтому нельзя заранее
предвидеть их появление и исключить опытным путем.
Абсолютная погрешность - погрешность СИ, выраженная в
единицах измеряемой величины.
Абсолютная погрешность D есть разность между
показанием прибора X и
истинным (действительным) значением Xд измеряемой
величины
т.е.
Действительное значение - значение физической
величины, полученное экспериментально и настолько близкое к истинному значению,
что может быть использовано вместо него. Действительное значение может быть
получено по показанию эталонного прибора.
Поправка - абсолютная погрешность, взятая с обратным
знаком. Поправка есть та величина, которую следует алгебраически прибавить к
показанию прибора, чтобы получить действительное значение измеряемой величины.
Класс точности СИ - обобщенная характеристика,
отражающая уровень точности СИ, выражаемая пределами допускаемых основной и
дополнительных погрешностей, а также другими характеристиками, влияющими на
точность.
Класс точности может выражаться одним числом или двумя
числами (в виде их отношения).
Если D = ±a, т.е. мультипликативная погрешность
отсутствует, абсолютная и приведенная погрешности прибора оказываются
постоянными в любой точке шкалы. В этом случае класс точности К - есть
максимальное значение основной приведенной (реже относительной) погрешности,
выраженной в процентах, т.е.
Зная
класс точности, можно рассчитать пределы допускаемой относительной погрешности
измерений (в процентах) для любого показания прибора по формуле
где K и XN - обозначены на циферблате прибора, а X -
измеренное значение.
К приборам, у которых класс точности выражается одним
числом, относятся электромеханические аналоговые (стрелочные) и самопишущие
приборы. Так, для электромеханических амперметров и вольтметров установлены
следующие классы точности: 0,05; 0,1; 0,2; 0,5; 1,0; 1,5; 2,5; 4,0; 5,0.
Если (a b X )
, т.е. аддитивная и мультипликативная составляющие основной абсолютной
погрешности соизмеримы, то класс точности обозначается в виде отношения двух
чисел c/d, например, класс точности 0,1/0,05. В этом случае предельное значение
основной относительной погрешности (в процентах) определяется по формуле:
где
Xk - конечное значение выбранного диапазона измерений; X - измеренное
значение; c и d - числа, обозначающие класс точности.
К
приборам, класс точности которых выражается двумя числами, относятся цифровые
приборы, а так же мосты и компенсаторы.
Вариация
показаний - разность показаний прибора в одной и той же точке диапазона
измерений при плавном подходе к этой точке со стороны меньших и больших
значений измеряемой величины. Главной причиной вариации электромеханических
приборов является трение в опорах подвижной части измерительного механизма. Для
электронных (цифровых в том числе) приборов вариация - это колебание показаний
около среднего (установившегося) значения. Предел допускаемой вариации
показаний не должен превышать предела допускаемой основной погрешности.
3. Поверка СИ. Калибровка СИ.
Поверка СИ - установление органом государственной метрологической службы
(ГМС) пригодности СИ к применению на основании экспериментально определяемых
метрологических характеристик и подтверждения их соответствия установленным
обязательным требованиям. Поверке подвергаются СИ, подлежащие государственному
метрологическому контролю и надзору.
Калибровка СИ - совокупность операций, устанавливающих соотношение между
значением величины, полученным с помощью данного СИ и соответствующим значением
величины, определяемым с помощью эталонного прибора с целью определения
действительных метрологических характеристик этого СИ.
Результаты калибровки позволяют определить действительные значения
измеряемой величины, показываемые СИ или поправки к его показаниям и оценить
погрешности этих СИ. При калибровке могут быть определены и другие
метрологические характеристики.
Калибровке подвергаются СИ, не подлежащие государственному
метрологическому контролю и надзору.
Рабочий эталон - эталон (эталонный прибор), предназначенный для передачи
размера единицы рабочим СИ.
Поверка (калибровка) каждого прибора в общем случае разделяется на две
части. В первую часть входит осмотр и все испытания, устанавливающие
исправность прибора по внешним признакам и исправность изоляции. Во вторую
часть - определение погрешностей прибора и других нормированных характеристик.
Поверку (калибровку) электроизмерительных приборов
производят при выпуске их из производства или ремонта, при ввозе по импорту и
эксплуатации.
Основную погрешность чаще всего определяют путем
сравнения показаний испытуемого прибора с показаниями эталонного прибора.
Погрешность эталонного прибора по ГОСТ 8711-78 для амперметров и вольтметров не
должна превышать 1/5 предела допускаемой основной погрешности испытуемого
прибора. Допускается это соотношение 1/3.
Основную погрешность определяют только на числовых
отметках шкалы. Конечные значения шкал образцового и поверяемого приборов не
должны отличаться более чем на 25 %.
Поверочная схема для СИ - нормативный документ,
устанавливающий соподчинение СИ, участвующих в передаче размера единицы от
эталона рабочим СИ с указанием методов и погрешности при передаче, утвержденной
в установленном порядке.
Государственная поверочная схема - распространяется на
все СИ данной физической величины, имеющиеся в стране.
Локальная поверочная схема - распространяется на СИ
данной физической величины, применяемые в регионе, отрасли, ведомстве или на
отдельном предприятии (в организации).
4. Нормируемые свойства СИ
Время установления показаний и переброс указателя.
После включения измерительного прибора в цепь или изменения измеряемой величины
подвижная часть измерительного механизма не сразу занимает положение
равновесия, а совершает затухающие колебания около него. Чтобы ускорить процесс
установления показаний, измерительный механизм снабжается приспособлением -
успокоителем, поглощающим кинетическую энергию подвижной части. По конструкции
и принципу действия успокоители подразделяются на:
1 воздушные;
жидкостные;
магнитоиндукционные.
Под временем установления показаний прибора понимается
время, прошедшее с момента подключения или изменения измеряемой величины до
момента, когда отклонение указателя от установившегося значения не превышает
1,5 % длины шкалы. Время установления показаний для большинства типов
показывающих приборов не должно превышать 4 секунды.
Переброс указателя определяется по первому, наибольшему отклонению
указателя за положение равновесия. Переброс не должен превышать установившегося
отклонения более чем на 20 % длины шкалы.
Собственное потребление мощности приборами. При
включении электроизмерительного прибора в цепь, находящуюся под напряжением,
прибор потребляет от этой цепи некоторую мощность. В большинстве случаев эта
мощность мала с точки зрения экономии электроэнергии. Но при измерении
маломощных цепях в результате потребления приборами мощности может измениться
режим работы цепи, что приведет к увеличению методической погрешности
измерения. Поэтому малое потребление мощности от цепи, в которой осуществляется
измерение, является достоинством прибора. Для различных конструкций и систем
собственное потребление мощности колеблется в широких пределах от 10-12
до 15 Вт. Ориентировочные значения для некоторых измерительных приборов:
1. магнитоэлектрической системы, Вт 0,01…2;
2. электромагнитной системы, В-А 0,1…5;
. электродинамической системы, В-А 0,1…2.
Электронные приборы (цифровые и аналоговые)
практически не отбирают мощности из контролируемой цепи - они работают от
вспомогательных источников энергии.
Сопротивление изоляции. Недостаточное сопротивление
изоляции токоведущих частей может в некоторых случаях привести к заметным
погрешностям измерений за счет токов утечки. В соответствии с ГОСТ 22261-94
сопротивление изоляции между корпусом и изолированными электрическими цепями
прибора для рабочих напряжений до 500 В должно быть не менее 20 МОм при
нормальных условиях эксплуатации.
Влияние частоты. Причины возникновения частотной
погрешности у электроизмерительных приборов различных систем разные. Изменение
показаний приборов может быть вызвано изменением величины реактивного
сопротивления рамки и добавочного резистора, наличием вихревых токов и потерь
на гистерезис в металлических деталях измерительного механизма,
перераспределением токов в параллельных ветвях измерительной цепи вследствие
различия реактивных сопротивлений этих ветвей и т.д.
Отклонение частоты от номинального значения, на
которое рассчитан прибор, вызывает изменение показаний, т.е. прибор имеет
дополнительную погрешность от частоты. Предел допускаемой дополнительной
погрешности приборов переменного тока должен быть равен пределу допускаемой
основной погрешности при отклонении частоты на ± 10 % от номинальной. Если на
приборе указана номинальная область частот, для которой он предназначен, то в
пределах этой области он может иметь только основную погрешность.
Если на приборе указана еще и расширенная область
частот, то в пределах этой области прибор может иметь дополнительную
погрешность, равную значению максимальной основной погрешности
ПОРЯДОК ПРОВЕДЕНИЯ РАБОТЫ
. Ознакомиться с приборами, входящими в лабораторную
установку. С циферблатов поверяемого и эталонного вольтметров списать все
условные обозначения и расшифровать их. Если эталонный вольтметр цифровой, то
его метрологические характеристики выписать из справочника [Л. 7.3].
. Изобразить циферблат поверяемого вольтметра (PV1) и определить следующие показатели:
а) диапазон показаний;
б) диапазон измерений;
в) цену деления шкалы;
г) чувствительность;
д) порог чувствительности для поверяемого PV1 и эталонного PV2 вольтметров).
3. Внешним осмотром поверяемого вольтметра установить
исправность корпуса (видимой его части), стекла, циферблата, стрелки,
корректора. Корректор должен обеспечить точную установку стрелки в нулевое
положение. Отметить в отчете результаты внешнего осмотра.
4. Определение основной погрешности
вольтметра PV1
Основная погрешность является главной метрологической
характеристикой, определяющей класс точности СИ.
Основная погрешность прибора устанавливается при
поверке (калибровке) СИ. Она определяется при нормальных условиях:
а) прибор установлен в нормальное (указанное на
циферблате) положение;
б) температура окружающего воздуха равна 20 ± 5° С;
в) ферромагнитные массы и внешние магнитные поля
(кроме земного магнитного поля) практически отсутствуют.
Подсоединить эталонный вольтметр PV2 к клеммам 1, 2 установки. Движки R1 и R2 установить в крайнее левое положение. SA1 - выключен.
Включить рубильник стенда. Включить питание PV2 и осуществить его калибровку и
установку на нуль последовательно несколько раз. Включить SA1.
Определение максимальной основной погрешности
вольтметра осуществляется методом сличения показаний поверяемого прибора с
показаниями эталонного прибора. Операция сличения проводится на всех числовых
отметках шкалы (кроме нулевой) поверяемого прибора (PV1) при двух направлениях изменения напряжения: первое - при
увеличении напряжения от нуля до номинального значения («вверх» по шкале),
второе - при уменьшении напряжения от номинального значения до нуля («вниз» по шкале).
При соответствующем направлении («вверх» или «вниз») потенциометром R1 (грубо) подводят стрелку
поверяемого прибора к числовой отметке, не переходя ее, а затем потенциометром R2 (точно) плавно, без колебаний устанавливают стрелку
точно на числовую отметку шкалы. По эталонному прибору (PV2) определяют действительное значение
напряжения. Измеренное значение - это значение, соответствующее числовой
отметке шкалы поверяемого прибора.
Результаты измерений записать в табл.
5.1.
Абсолютная погрешность
Наибольшая
относительная погрешность
где max - большая из двух абсолютная
погрешность, соответствующая каждой числовой отметке.
Наибольшая нормированная относительная погрешность в
процентах
где K -
класс точности поверяемого вольтметра, указан на циферблате PV1; UN - нормирующее значение напряжения,
равное верхнему пределу измерения поверяемого вольтметра PV1.
Наибольшая относительная погрешность в процентах
эталонного цифрового вольтметра PV2 (в
частности для В7 - 16 А с классом точности 0,05/0,05)
где Uk - конечное значение выбранного
диапазона измерений PV2.
Наибольшая приведенная погрешность
вольтметра PV1
Вариация
показаний вольтметраPV1
где UВВ и UВН -
показания эталонного прибора при направлениях «вверх» и «вниз» соответственно.
5. Построить график поправок при возрастании и убывании показаний.
Поправка - это абсолютная погрешность, взятая с противоположным знаком,
т.е.
П=-
. Пользуясь определением класса точности и данными
таблицы 5.1, сделать вывод о соответствии поверяемого вольтметра своему классу
точности.
. Определение времени установления tу
указателя вольтметра PV1.
Потенциометрами R1 и R2
установить стрелку на числовую отметку, соответствующую примерно 2/3 верхнего
предела измерений. Мысленно отметить на шкале по обе стороны от отметки, на которую
установлена стрелка. Разомкнуть ключ SA1. Нажать кнопку SB1.
При этом одновременно будет подано напряжение на PV1 и включится секундомер РТ1. Когда стрелка вольтметра начнет
колебаться, не выходя за мысленно отмеченные на шкале точки, отпустить кнопку SB1. По шкале секундомера отсчитать
время установления указателя. Повторить эту операцию три раза и вычислить tу
как среднее арифметическое из трех значений. Время установления не должно
превышать четырех секунд.
8. Определение переброса указателя вольтметра PV1.
При заданном в п.7 напряжении U выключить, а затем включить ключ SA1 и заметить значение напряжения U1 при максимальном отклонении указателя вольтметра PV1.
Переброс e в процентах рассчитать по формуле:
где
UN -
нормирующее значение напряжения.
Повторить опыт три раза и определить e как среднее арифметическое из трех
значений. Переброс не должен превышать 20 %.
9. Определение сопротивления вольтметра PV1.
С помощью потенциометров R1 и R2
установить на эталонном вольт-метре PV2 напряжение UN,
равное верхнему пределу измерения поверяемого вольтметра PV1. Нажать кнопку SB2 и по показанию PA1 определить ток I поверяемого вольтметра PV1.
Сопротивление вольтметра PV1 вычисляют по формуле:
где I -
показание, а RA -
сопротивление миллиамперметра PA1
(указано на циферблате).
Для сравнения RV экспериментально определить
мегаомметром или цифровым вольтметром. Для этого ключ SA1 разомкнуть, а мегаомметр или цифровой вольтметр подключить
к клеммам 1, 2 установки.
10. Определение собственной потребляемой мощности
поверяемым вольтметром PV1
производится по формуле:
где
UN - верхний предел измерения вольтметра PV1.
11. Измерение сопротивления изоляции между корпусом и
изолированными от корпуса электрическими цепями приборов производят
мегаомметром с номинальным напряжением, зависящим от величины номинального
напряжения испытуемого прибора. Испытание приборов с номинальным напряжением от
100 В до 650 В должно производиться мегаомметром с номинальным напряжением 500
В.
Подсоединить мегаомметр к зажимам 1(+) и 3 (корпус)
установки. Вращать ручку мегаомметра с равномерной частотой, примерно равной
120 об/мин.
12. Определение влияния частоты напряжения на
показания вольтметров различных систем.
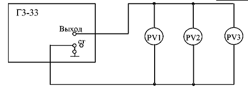
Собрать схему, как показано на рис. 5.1. Привести
полные технические характеристики вольтметров PV1, PV2 и PV3, пользуясь обозначениями на
циферблатах приборов и справочными данными.
Электронный вольтметр PV1 имеет верхний предел частотного диапазона, равный 5 МГц,
что значительно выше, чем у вольтметров PV2 и PV3,
поэтому по частотным свойствам вольтметр PV1 принимается за эталонный.
Рис. 5.1
PV1 - электронный вольтметр типа В3-38А; PV2 - электромагнитный вольтметр типа
Э59; PV3 - электродинамический вольтметр
типа Д566; Г3-33 - генератор сигналов.
При частоте f = 20 Гц, ручкой «Выход»
генератора Г3-33 установить по вольтметру PV1 напряжение в пределах 80…100 В. Увеличивать частоту
генератора и, поддерживая (ручкой «Выход») по вольтметру PV1 напряжение постоянным, записывать
показания вольтметров PV2 и PV3. Шаг D f изменения частоты переменный, он увеличивается с
ростом частоты. Всего должно быть проведено не менее 10…15 измерений. Измерения
заканчиваются, когда показания вольтметров PV2 и PV3
выйдут за нижний предел измерений. Результаты измерений занести в табл. 5.2
Таблица 5.2
|
f
|
lgf
|
U1 (PV1)
|
U2 (PV2)
|
U3 (PV3)
|
|
Гц
|
|
В
|
В
|
В
|
|
|
|
|
|
По данным табл. 5.1 построить на одном графике
частотные характеристики вольтметров: U1 = F1(f); U2 = F2(f); U3 = F3(f). Частоту f откладывать в логарифмическом
масштабе. Указать область рабочих частот вольтметров PV2 и PV3,
если максимальное значение дополнительной погрешности от частоты не превышает
значения основной погрешности. Сравнить экспериментально полученные частотные
диапазоны с нормированными (указаны на циферблатах PV2 и PV3).
Пример построения частотной характеристики вольтметра
приведен на рис. 5.2.
Df - расширенная область рабочих частот, полученная
экспериментально; Dmax -
основная абсолютная погрешность.
где k -
класс точности; UN-
нормирующее значение шкалы испытуемого вольтметра.
КОНТРОЛЬНЫЕ ВОПРОСЫ
.В чем разница между эталонными и рабочими средствами
измерений?
2.Объясните принцип работы прибора:
а) магнитоэлектрической системы;
б) электромагнитной системы;
в) электродинамической системы.
3.Как определяются диапазон показаний и диапазон
измерений прибора?
.Что такое чувствительность и цена деления прибора?
.Что такое отсчетное устройство?
.Какие обозначения должны быть нанесены на циферблате
прибора?
.Какими способами создается противодействующий момент
в электромеханических приборах?
.Как защищают измерительный механизм от внешних полей?
.Для чего служит корректор и как он действует?
10.Что такое абсолютная, относительная и приведенная
погрешности?
.Что характеризует относительная погрешность?
.Какие классы точности установлены ГОСТ 8711-78 для
амперметров и вольтметров и что означают числовые значения класса точности?
.Дайте определение термина «вариация» прибора и
объясните существо этого явления.
.Почему о точности прибора судят по приведенным
погрешностям, а не по абсолютным или относительным?
.Опишите способы исключения и учета систематических
погрешностей.
.Как уменьшают влияние случайных погрешностей на
результат измерения?
.Что такое погрешности метода измерения?
.Дайте определение основной и дополнительной
погрешности. По каким погрешностям определяется класс точности прибора?
.Что представляет собой собственное потребление
мощности прибором?
.Что такое «время установления показаний» и «переброс
указателя» прибора и как они определяются?
21. Объясните причины появления частотной погрешности
у приборов различных систем.
Литература
Тартаковский
Д.Ф. Метрология, стандартизация и технические измерения [Текст] : учеб. для
вузов / Д.Ф. Тартаковский, А.С. Ястребов.- М. : Высшая школа, 2001.-205 с.
Тартаковский Д.Ф., Ястребов А.С. Метрология, стандартизация и технические
средства измерений: Учеб. - М.: Высш. шк., 2001, 205 с.
Красных А.А., Епифанов С.Н. Метрология, стандартизация и сертификация.
Учебн. пособие. ВятГУ, 2001.
Епифанов С.Н., Красных А.А. Электроизмерительные приборы.
Справочно-методическое пособие. ВятГУ, 1997.