Разработка двигателя внутреннего сгорания
Санкт-Петербургский
государственный политехнический университет
Кафедра
двигателей внутреннего сгорания
Курсовой
проект
Разработка
двигателя внутреннего сгорания
Санкт-Петербург
г
. Исходные данные
транспортный дизельный двигатель шатунный
Заданием курсового проекта является расчет
транспортного дизельного двигателя мощностью Nе
=250
Л.С.
В качестве прототипа используется двигатель
КамАЗ.
На основании исходных данных определим основные
параметры проектируемого двигателя:
Тип двигателя - с воспламенением от сжатия;
Вид охлаждения - жидкостное;
Камера сгорания - неразделённая;
Ne
= 187 кВт - эффективная мощность двигателя;
n = 2200 об/мин -
частота вращения вала;
m = 4 - число тактов
двигателя;
z = 8 - число
цилиндров двигателя.
Выберем t = S/D
= 1.04,
где S
- ход поршня, м;
D - диаметр поршня,
м.
Условия окружающей среды:
ро = 0,1013 МПа - давление окружающей
среды;
То = 290К - температура окружающей
среды.
e = 16 - степень сжатия;
a = 1,9 - коэффициент избытка воздуха;
рк = 2,1 ×
ро = 2,1 × 0,1013 = 0,2127МПа - давление
наддува;
zz
= 0,76, zb
= 0,9 - коэффициенты полезного тепловыделения;
рг = 0,95 ×
рк = 0,95 × 0,2127 = 0,2021МПа - давление
остаточных газов;
Тг = 800К - температура остаточных
газов;
Pz = 12 МПа -
давление в цилиндре в конце процесса сгорания
Qн
= 42530 кДж/кг - низшая теплотворная способность дизельного топлива;
m = 1,8 - показатель
политропы сжатия в компрессоре;
Dрк = 0,05 ×
105 Па- потери давления в воздушном холодильнике;
DТохл = 30К - промежуточное охлаждение
свежего заряда;
DТ = 10К - подогрев заряда от стенок;
ркк = рк - Dрк
= 0,2127 - 0,005 = 0,2077 МПа - давление наддувочного воздуха после
холодильника;
ра = 0,9 ×
рк = 0,9 × 0,2077 = 0,187 МПа - давление
в начале сжатия;
l = 1,4 - степень повышения давления в процессе
сгорания;
hмех = 0,86 -
механический к.п.д.;
l1 = 1,02 - коэффициент дозарядки;
l2 = 0,6 - коэффициент очистки объёма сжатия;
y’ = 1,1 - коэффициент, учитывающий
неодинаковость теплоёмкостей смеси и остаточных газов;
j = 0,95 - коэффициент полноты диаграммы.
. Тепловой расчёт двигателя
2.1 Наполнение
цилиндра
Двигатель с наддувом.
Температура воздуха перед впускными органами
где к = 1.8 - показатель политропы сжатия в
компрессоре;
То = 293 К - температура окружающей
среды;
рк = 0,2077 МПа - давление воздуха
после компрессора;
Dрк = 0,05 ×
105 Па- потери давления в воздушном холодильнике;
ро = 0.1013 МПа - давление окружающей
среды;
DТохл = 30К - промежуточное охлаждение
свежего заряда.
Коэффициент наполнения цилиндра
гдеe = 16 - степень
сжатия;
l1 = 1,02 - коэффициент дозарядки;
ра = 0,187 МПа - давление в начале
сжатия;
рк = 0,2077 МПа - давление воздуха
после компрессора;
y’ = 1,1 - коэффициент, учитывающий неодинаковость
теплоёмкостей смеси и остаточных газов;
l2 = 0,6 - коэффициент очистки объёма сжатия;
рг = 0,2021МПа - давление остаточных
газов;
Тк = 377 К - температура воздуха
перед впускными органами;
DТ = 10К - подогрев заряда от стенок.
Коэффициент остаточных газов
гдеe = 16 - степень
сжатия;
рк
= 0,2077 МПа - давление воздуха после компрессора;
l2
= 0,6 - коэффициент очистки объёма сжатия; рг
= 0,2021МПа - давление остаточных газов; Тк
= 377К - температура воздуха перед впускными органами;
Тг
= 800К - температура остаточных газов; hv
= 0,919 - коэффициент наполнения.
Температура рабочего тела в начале сжатия в
двигателе
где Тк = 377К - температура воздуха
перед впускными органами;
DТ = 10К - подогрев заряда от стенок;
y’ = 1,1 - коэффициент, учитывающий
неодинаковость теплоёмкостей смеси и остаточных газов;
Тг = 800К - температура остаточных
газов;
gг = 0,02 -
коэффициент остаточных газов.
2.2 Расчет
процесса сжатия в цилиндре
Показатель политропы сжатия n1
рассчитываем с помощью итераций.
В начале примем:
n1
= к1 = 1,4
гдеТа = 397К - температура рабочего тела в
начале сжатия в двигателе;
e = 16 - степень сжатия.
Давление в конце процесса сжатия
рс = ра ×
e
n1
= 1,87 ×
105 × 161.365 = 8,239
МПа,
где ра = 0,187 МПа - давление в
начале сжатия;
e = 16 - степень сжатия;
n1
= 1,365 - показатель политропы сжатия.
Температура в конце процесса сжатия
гдеТа = 397К - температура рабочего тела в
начале сжатия в двигателе;
e = 16 - степень сжатия;
n1
= 1,365 - показатель политропы сжатия.
Средняя теплоёмкость при сжатии
mСVс = 20.16 + 1.738 ×
10-3 × Тс = 20,16 + 1,738 ×
10-3 × 1094 = 22,1 кДж/(кмоль ×
К)
2.3 Расчёт
процесса сгорания
Количество воздуха, теоретически необходимое для
сгорания 1 кг топлива
где средний элементарный весовой состав 1 кг
дизельного топлива:
С = 0,87 кг - углерод;
Н = 0,126 кг - водород;
О = 0,004 кг - кислород.
Количество свежего заряда
Мз = a ×
Мо = 1,9 × 0,495 = 0,942.
Количество продуктов сгорания
где средний элементарный весовой состав 1 кг
дизельного топлива:
С = 0,87 кг - углерод;
Н = 0,126 кг - водород;
О = 0,004 кг - кислород;
a = 1,9 - коэффициент избытка воздуха;
Мо = 0,945 - количество воздуха,
теоретически необходимое для сгорания.
Теоретический коэффициент молекулярного
изменения
гдеМг = 0,977 - количество продуктов
сгорания;
Мз = 0,942 - количество свежего
заряда.
Действительный коэффициент молекулярного
изменения
гдеbо
= 1,037 - теоретический коэффициент молекулярного изменения;
gг = 0,02 -
коэффициент остаточных газов.
Коэффициент молекулярного изменения в точке z
гдеbо
= 1,037 - теоретический коэффициент молекулярного изменения;
gг = 0,02 -
коэффициент остаточных газов;
zz
= 0,76, zb
= 0,9 - коэффициенты полезного тепловыделения.
рс = 8,239 МПа - давление в конце
процесса сжатия.
Температуру в точке z
найдём с помощью итераций.
В начале примем Тz
= 2000К.
Средняя теплоёмкость рабочего тела при высоких
температурах
гдеa = 1,9 -
коэффициент избытка воздуха.
Максимальная температура сгорания
гдеa = 1,9 -
коэффициент избытка воздуха;
zz
= 0,76 - коэффициент полезного тепловыделения;
gг = 0,02 - коэффициент
остаточных газов;
bz
=
1,031 - коэффициент молекулярного изменения в точке z;
l = 1,4 - степень повышения давления в процессе
сгорания;
mСVс = 22,1 кДж/(кмоль ×
К) - средняя теплоёмкость при сжатии;
Мз = 0,942 - количество свежего
заряда;
Qн
= 42530 кДж/кг - низшая теплотворная способность дизельного топлива;
Тс = 1094К - температура в конце
процесса сжатия.
Примем Тz
=Tz1
= 2051К.
Средняя теплоёмкость рабочего тела при высоких
температурах
Максимальная температура сгорания
Примем Тz
=Tz2
= 2045К.
Средняя теплоёмкость рабочего тела при высоких
температурах
Максимальная температура сгорания
2.4 Расчет процесса расширения
Степень предварительного расширения
гдеbz
=
1,031 - коэффициент молекулярного изменения в точке z;
l = 1,4 - степень повышения давления в процессе
сгорания;
Тz
= 2045К - максимальная температура сгорания;
Тс = 1094К - температура в конце
процесса сжатия.
Степень последующего расширения
гдеe = 16 - степень
сжатия;
r = 1,38 - степень предварительного расширения.
Показатель политропы расширения n2 и
температуру в конце процесса расширения Тb рассчитываем с помощью
итераций.
В начале примем:
Тb
= 1000К.
Показатель политропы расширения n2 = n21
гдеТz
= 2045К - максимальная температура сгорания;
bz
=
1,031 - коэффициент молекулярного изменения в точке z;
Qн
= 42530 кДж/кг - низшая теплотворная способность дизельного топлива;
Мз = 0,942 - количество свежего
заряда;
gг = 0,02 -
коэффициент остаточных газов;
zz
= 0,76, zb
= 0,9 - коэффициенты полезного тепловыделения;
b = 1,036 - действительный
коэффициент молекулярного изменения.
Температура в конце процесса расширения
гдеТz
= 2045К - максимальная температура сгорания;
d = 11,63 - степень последующего расширения;21
= 1,266 - показатель политропы расширения.
Показатель политропы расширения n2 = n22
Температура в конце процесса расширения
Показатель политропы расширения n2 = n23
Температура в конце процесса расширения
Примем температуру в конце процесса расширения Тb
= Тb3
= 1078К, показатель политропы расширения n2
= n23
= 1,261.
Давление в конце процесса расширения
гдеd = 11,63 - степень
последующего расширения;2 = 1,261 - показатель политропы расширения;
рz
= 11,53 МПа - максимальное давление цикла.
Проверка температуры остаточных газов
гдеТb
= 1078К - температура в конце процесса расширения;
рb
= 5,229 ×
105 Па - давление в конце процесса расширения;
рг = 0,2021МПа - давление остаточных
газов.
Отличие принятой температуры остаточных газов от
полученной
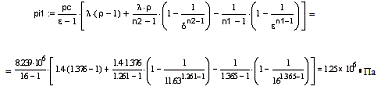
.5 Индикаторные показатели
Среднее индикаторное давление теоретического
цикла
Где рс
= 8,239 МПа - давление газа в конце сжатия; e
= 16 - степень сжатия; n1
= 1,365 - показатель политропы сжатия; n21
= 1,261 - показатель политропы расширения; d
= 11,63 - степень последующего расширения; r
= 1,38 - степень предварительного расширения; l
= 1,4 - степень повышения давления в процессе сгорания.
Среднее индикаторное давление действительного
цикла
рi
= рi’
× j
= 1,25 × 106 ×
0,95 = 1,187 × 106 Па,
гдерi’
= 1,25 МПа - среднее индикаторное давление теоретического цикла;
j
= 0,95 - коэффициент полноты диаграммы.
Индикаторный к.п.д.
гдерi
= 1,187 МПа - среднее индикаторное давление действительного цикла;
Qн
= 42530 кДж/кг - низшая теплотворная способность дизельного топлива;
Мз
= 0,942 - количество свежего заряда; Тк
= 377К - температура воздуха перед впускными органами;
рк
= 0,2077 МПа - давление воздуха после компрессора;
hv
= 0,919 - коэффициент наполнения.
Удельный индикаторный расход топлива
гдеQн
= 42530 кДж/кг - низшая теплотворная способность дизельного топлива;
hi
= 0.44 - индикаторный к.п.д.
.6 Эффективные показатели
Среднее эффективное давление цикла
ре = рi
×
hмех
= 1,187 ×
106 × 0,86 = 1,02 ×
106 Па,
гдерi
= 1,187 МПа - среднее индикаторное давление действительного цикла;
hмех
= 0,86 - механический к.п.д.
Эффективный к.п.д.
hе = hi
×
hмех
= 0,44 ×
0,86 = 0,38,
гдеhi
= 0.44 - индикаторный к.п.д.; hмех
= 0,86 - механический к.п.д.
Удельный эффективный расход топлива
гдеQн
= 42530 кДж/кг - низшая теплотворная способность дизельного топлива;
hе
= 0.38 - эффективный к.п.д.
.7 Размеры
цилиндра
Рабочий объём одного цилиндра
=
=0.0014
м3
гдеNe
= 187 кВт - эффективная мощность двигателя;
n = 2200 об/мин -
частота вращения вала;
z = 8 - число
цилиндров двигателя;
ре = 1,02 МПа - эффективное давление
цикла;
m
=
4 - коэффициент тактности.
Диаметр цилиндра
гдеVs
= 0,00138 м3 - объём одного цилиндра;
t = S/D
= 1.04 - отношение хода поршня к диаметру.
Ход поршня
= D
×
t
= 0,12 ×
1,04 = 0,124 м,
гдеD = 0,12м - диаметр поршня;
t = S/D
= 1.04 - отношение хода поршня к диаметру.
Примем окончательно= 0,12м - диаметр поршня;
3. Индикаторная диаграмма и диаграмма Брикса
Построение индикаторной диаграммы основывается
на данных теплового расчета. Диаграмма строится в осях P(S),
где P - сила давления
газов, S - ход поршня. P
определяется по двум кривым, которые можно описать уравнениями:
где n1
и n2
- показатели политропы, ex
- степень сжатия, находимая в зависимости от угла поворота коленчатого вала
определяется как:
где Sa
- полный ход поршня: Sa=Sc+Ss,
здесь Ss
-
рабочий ход поршня (см. расчет размеров цилиндра), Sc
- высота камеры сгорания:
a
= Sc+Ss = 0,125 + 0.008 = 0,133 м.z
= ρ·Sc
= 1,38· 0,008 = 0,011 м
x
мы определяем в зависимости от угла поворота коленчатого вала:
где R=Ss/2;
l=R/L,
где L - длина шатуна,
находимая с помощью l, которую мы задаём из диапазона l=1/3,2…1/4,2,
примем λ=1/3,8.
Таким образом, строим индикаторную диаграмму,
лежащую в пределах от Sc
до Sa, ниже строим бицентровую
диаграмму Брикса, которая устанавливает зависимость положений поршня по его
ходу от величины угла a поворота кривошипа с учётом
конечной длины шатуна (поправка
).
По индикаторной диаграмме и диаграмме Брикса можно
определить давление в цилиндре при любом угле поворота коленчатого вала.α
Таблица 1. Расчет индикаторной диаграммы
двигателя
|
S
|
Точка
|
|
|
|
Точка
|
|
|
|
0,011
|
1
|
12
|
31,263
|
5,846
|
1'
|
24,050
|
12,203
|
|
0,018
|
2
|
7,217
|
14,847
|
2,776
|
2'
|
12,088
|
6,321
|
|
0,030
|
3
|
4,372
|
7,492
|
1,401
|
3'
|
6,426
|
3,360
|
|
0,045
|
4
|
2,928
|
4,335
|
0,811
|
4'
|
3,876
|
2,027
|
|
0,062
|
5
|
2,145
|
2,834
|
0,530
|
5'
|
2,618
|
1,369
|
|
0,079
|
6
|
1,689
|
2,046
|
0,383
|
6'
|
1,937
|
1,013
|
|
0,094
|
7
|
1,410
|
1,598
|
0,299
|
7'
|
1,542
|
0,806
|
|
0,108
|
8
|
1,232
|
1,330
|
0,249
|
8'
|
1,302
|
0,681
|
|
0,119
|
9
|
1,119
|
1,167
|
0,218
|
9'
|
1,153
|
0,603
|
|
0,127
|
10
|
1,050
|
1,069
|
0,200
|
10'
|
1,063
|
0,556
|
|
0,131
|
11
|
1,012
|
1,016
|
0,190
|
11'
|
1,015
|
0,531
|
12
|
1,000
|
1
|
0,187
|
12'
|
1
|
0,523
|
После графического построения действительной
индикаторной диаграммы определяем её площадь в мм2 чертежа и затем
делим эту площадь на ход поршня S
тоже в мм чертежа.
где F
- площадь диаграммы (F
= 1520,375 мм2;) S
- ход поршня (S = 126 мм), K
- масштаб (K = 10 мм/МПа).
Как видно, это значение не превышает погрешности
более 5%, т.к. pi
= 1,187 МПа.
Рисунок 1. Индикаторная диаграмма двигателя и
диаграмма Брикса
. Развернутая диаграмма суммарных сил давления
газов и сил инерции КШМ
На элементы конструкции двигателя действуют силы
инерции кривошипно-шатунного механизма и силы давления газов.
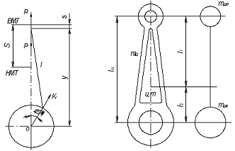
Рисунок 2. Схема КШМ: Рисунок 3. Схема
приведения масс шатуна
r - радиус
кривошипа;
l - длина шатуна;
S - путь поршня;
α-угол поворота
коленвала;
ω- угловая частота
вращения коленчатого вала;
Pj
- сила инерции поступательно движущихся масс КШМ;
pr
- сила давления газов;
Kr
- центробежная сила вращающихся масс КШМ.
Определим массу шатуна и поршня проектируемого
двигателя формулами:
где mш’=25-35
г/см2-конструктивная масса шатуна, отнесённая к единице поверхности;
m`п=20-30
г/см2- конструктивная масса поршня отнесённая к единице поверхности:
,
,
,
где Fп
- площадь поршня.
Разноска масс шатуна производится по выражениям:
Удельная сила давления газов и удельная сила
инерции поступательно движущихся масс, действующие на расчётном режиме
двигателя вдоль оси цилиндра, рассматриваются совместно, поэтому для каждого
значения угла a поворота кривошипа определяется суммарная
удельная осевая сила p,
равная алгебраической сумме составляющих сил:
p=(pг-0,1)+pj
где pг
- удельная сила давления газов, находится из индикаторной диаграммы (pг-0,1)
означает, что мы из удельной силы давления газов вычитаем одну атмосферу,
действующую с противоположной стороны поршня. pj
- удельная сила инерции газов. Сила инерции
поступательно движущихся масс КШМ определяется как:
Результаты вычислений сведены в таблицу 2.
Принцип построения диаграммы Толле.
Отрезки AC
и BD:
ω = πn/30
= 3,14·2200/30 = 230,4 рад/с,
Перпендикуляр OE
к прямой АВ определяется выражением:
Полученные отрезки СЕ и ED
делятся на равное число частей и соответствующие точки этих делений попарно
соединяются прямыми, огибающая которых и представляет собой искомую кривую
удельных сил в функции хода поршня S.
Рисунок 4. Диаграмма Толле
Эта диаграмма затем развертывается по углу альфа
коленчатого вала, посредством диаграммы Брикса.
Таблица 2. Расчет развернутой диаграммы
суммарных сил давления газов и сил инерции КШМ
|
S,
м
|
α,град
|
Pj.
Н
|
pj', МПа
|
pг, МПа
|
p, МПа
|
|
0,008
|
0
|
-16098,003
|
-1,424
|
8,673
|
7,149
|
|
0,011
|
15
|
-15214,436
|
-1,346
|
12,117
|
10,671
|
|
0,018
|
30
|
-12713,721
|
-1,125
|
6,321
|
5,096
|
|
0,030
|
45
|
-9011,547
|
-0,797
|
3,360
|
2,463
|
|
0,045
|
60
|
-4695,251
|
-0,415
|
2,027
|
1,512
|
|
0,062
|
75
|
-394,022
|
-0,035
|
1,369
|
1,234
|
|
0,079
|
90
|
3353,751
|
0,297
|
1,013
|
1,210
|
|
0,094
|
105
|
6202,888
|
0,549
|
0,806
|
1,255
|
|
0,108
|
120
|
8049,001
|
0,712
|
0,681
|
1,293
|
|
0,119
|
135
|
9011,547
|
0,797
|
0,603
|
1,300
|
|
0,127
|
150
|
9359,971
|
0,828
|
0,556
|
1,284
|
|
0,131
|
165
|
9405,569
|
0,832
|
0,531
|
1,263
|
|
0,133
|
180
|
9390,502
|
0,831
|
0,523
|
1,254
|
|
0,131
|
195
|
9405,569
|
0,832
|
0,193
|
0,925
|
|
0,127
|
210
|
9359,971
|
0,828
|
0,193
|
0,921
|
|
0,119
|
225
|
9011,547
|
0,797
|
0,193
|
0,890
|
|
0,108
|
240
|
8049,001
|
0,712
|
0,193
|
0,805
|
|
0,094
|
255
|
6202,888
|
0,549
|
0,193
|
0,642
|
|
0,079
|
270
|
3353,751
|
0,297
|
0,193
|
0,390
|
|
0,062
|
285
|
-394,022
|
-0,035
|
0,193
|
0,058
|
|
0,045
|
300
|
-4695,251
|
-0,415
|
0,193
|
-0,322
|
|
0,030
|
315
|
-9011,547
|
-0,797
|
0,193
|
-0,704
|
|
0,018
|
330
|
-12713,721
|
-1,125
|
0,193
|
-1,032
|
|
0,011
|
345
|
-15214,436
|
-1,346
|
0,193
|
-1,253
|
|
0,008
|
360
|
-16098,003
|
-1,424
|
0,193
|
-1,331
|
|
0,011
|
375
|
-15214,436
|
-1,346
|
0,187
|
-1,259
|
|
0,018
|
390
|
-12713,721
|
-1,125
|
0,187
|
-1,038
|
|
0,030
|
405
|
-9011,547
|
-0,797
|
0,187
|
-0,710
|
|
0,045
|
420
|
-4695,251
|
-0,415
|
0,187
|
-0,328
|
|
0,062
|
435
|
-394,022
|
-0,035
|
0,187
|
0,052
|
|
0,079
|
450
|
3353,751
|
0,297
|
0,187
|
0,384
|
|
0,094
|
465
|
6202,888
|
0,549
|
0,187
|
0,636
|
|
0,108
|
480
|
8049,001
|
0,712
|
0,187
|
0,799
|
|
0,119
|
495
|
9011,547
|
0,797
|
0,187
|
0,884
|
|
0,127
|
510
|
9359,971
|
0,828
|
0,187
|
0,915
|
|
0,131
|
525
|
9405,569
|
0,832
|
0,187
|
0,919
|
|
0,133
|
540
|
9390,502
|
0,831
|
0,187
|
0,918
|
|
0,131
|
555
|
9405,569
|
0,832
|
0,190
|
0,922
|
|
0,127
|
570
|
9359,971
|
0,828
|
0,200
|
0,928
|
|
0,119
|
585
|
9011,547
|
0,797
|
0,218
|
0,915
|
|
0,108
|
600
|
8049,001
|
0,712
|
0,249
|
0,861
|
|
0,094
|
615
|
6202,888
|
0,549
|
0,299
|
0,748
|
|
0,079
|
630
|
3353,751
|
0,297
|
0,383
|
0,579
|
|
0,062
|
645
|
-394,022
|
-0,035
|
0,530
|
0,395
|
|
0,045
|
660
|
-4695,251
|
-0,415
|
0,811
|
0,295
|
|
0,030
|
675
|
-9011,547
|
-0,797
|
1,401
|
0,504
|
|
0,018
|
690
|
-12713,721
|
-1,125
|
2,776
|
1,552
|
|
0,011
|
705
|
-15214,436
|
-1,346
|
5,846
|
4,400
|

. Силы и моменты, действующие на шатунные и
коренные шейки коленчатого вала двигателя
В КШМ действуют силы нормальные, касательные и
радиальные.
N-нормальная сила в
абсолютном представлении:
Т-касательная сила в абсолютном представлении:
К-радиальная сила в абсолютном представлении:
Крутящий момент от действия одного цилиндра
двигателя в абсолютном представлении, определяется выражением:
Значение давления p
в этих формулах берется из суммарной диаграммы сил и давлений.
Рисунок 6. Схема сил, действующих на КШМ.
Порядок работы цилиндров двигателя: левый блок 1
4 2 3
правый блок 1 2 3 4
Суммарный момент на шатунных шейках определяется
суммированием крутящего момента на предыдущей коренной шейке и половины
крутящего момента на этой шатунной шейке.
Результаты вычислений сведены в таблицу 3 сил и
моментов, действующих на КШМ двигателя.
Таблица 3. Таблица сил и моментов, действующих
нп КШМ двигателя
|
α
|
P,
МПа
|
tgβ
|
sin(α+β)/cosβ
|
cos(α+β)/cosβ
|
N,
Н
|
Т1'
|
K1'
|
T1"
|
K1"
|
Т1',
МПа
|
К1',
МПа
|
Т1
,Н
|
|
|
|
|
|
|
|
Левый
|
блок
|
Правый
|
блок
|
|
|
|
|
0
|
7,149
|
0
|
0
|
1
|
0,00
|
0,000
|
7,149
|
-0,579
|
-0,158
|
-0,579
|
6,991
|
-6551,09
|
|
15
|
10,671
|
0,068
|
0,325
|
0,948
|
8206,56
|
3,468
|
10,116
|
-0,409
|
0,002
|
3,060
|
10,118
|
34601,17
|
|
30
|
5,096
|
0,133
|
0,615
|
0,8
|
7665,63
|
3,134
|
4,077
|
-0,290
|
0,088
|
2,844
|
4,165
|
32164,57
|
|
45
|
2,463
|
0,189
|
0,841
|
0,573
|
5264,75
|
2,071
|
1,411
|
-0,424
|
0,289
|
1,648
|
1,700
|
18635,17
|
|
60
|
1,512
|
0,234
|
0,983
|
0,297
|
4000,15
|
1,486
|
0,449
|
-0,954
|
1,241
|
0,532
|
1,690
|
6011,78
|
|
75
|
1,234
|
0,263
|
1,034
|
0,005
|
3670,95
|
1,276
|
0,006
|
-1,430
|
4,171
|
-0,154
|
4,178
|
-1740,70
|
|
90
|
1,210
|
0,273
|
1
|
-0,273
|
3734,85
|
1,210
|
-0,330
|
0,000
|
7,149
|
1,210
|
6,819
|
13680,76
|
|
105
|
1,255
|
0,263
|
0,898
|
-0,513
|
3732,69
|
1,127
|
-0,644
|
3,468
|
10,116
|
4,595
|
9,472
|
51967,61
|
|
120
|
1,293
|
0,234
|
0,749
|
-0,703
|
3420,76
|
0,968
|
-0,909
|
3,134
|
4,077
|
4,102
|
3,168
|
46395,69
|
|
135
|
1,300
|
0,189
|
0,573
|
-0,841
|
2778,87
|
0,745
|
-1,093
|
2,071
|
1,411
|
2,816
|
0,318
|
31851,57
|
|
150
|
1,284
|
0,133
|
0,385
|
-0,933
|
1931,35
|
0,494
|
-1,198
|
1,486
|
0,449
|
1,980
|
-0,749
|
22394,82
|
|
165
|
1,263
|
0,068
|
0,193
|
-0,984
|
971,21
|
0,244
|
-1,243
|
1,276
|
0,006
|
1,520
|
-1,237
|
17189,09
|
|
180
|
1,254
|
0
|
0
|
-1
|
0,00
|
0,000
|
-1,254
|
1,210
|
-0,330
|
1,210
|
-1,584
|
13680,76
|
|
195
|
0,925
|
-0,068
|
-0,193
|
-0,984
|
-711,40
|
-0,179
|
-0,910
|
1,127
|
-0,644
|
0,948
|
-1,554
|
10725,95
|
|
210
|
0,921
|
-0,133
|
-0,385
|
-0,933
|
-1385,36
|
-0,355
|
-0,859
|
0,968
|
-0,909
|
0,614
|
-1,768
|
6939,10
|
|
225
|
0,890
|
-0,189
|
-0,573
|
-0,841
|
-1902,78
|
-0,510
|
-0,749
|
0,745
|
-1,093
|
0,235
|
-1,842
|
2656,08
|
|
240
|
0,805
|
-0,234
|
-0,749
|
-0,703
|
-2130,48
|
-0,603
|
-0,566
|
0,494
|
-1,198
|
-0,109
|
-1,764
|
-1228,60
|
|
255
|
0,642
|
-0,263
|
-0,898
|
-0,513
|
-1908,76
|
-0,576
|
-0,329
|
0,244
|
-1,243
|
-0,333
|
-1,572
|
-3760,82
|
|
270
|
0,390
|
-0,273
|
-1
|
-0,273
|
-1203,15
|
-0,390
|
-0,106
|
0,000
|
-1,254
|
-0,390
|
-1,360
|
-4407,13
|
|
285
|
0,058
|
-0,263
|
-1,034
|
0,005
|
-172,94
|
-0,060
|
0,000
|
-0,179
|
-0,910
|
-0,239
|
-0,910
|
-2699,06
|
|
300
|
-0,322
|
-0,234
|
-0,983
|
0,297
|
853,10
|
0,317
|
-0,096
|
-0,355
|
-0,859
|
-0,038
|
-0,955
|
-426,50
|
|
315
|
-0,704
|
-0,189
|
-0,841
|
0,573
|
1505,21
|
0,592
|
-0,404
|
-0,510
|
-0,749
|
0,082
|
-1,152
|
929,04
|
|
330
|
-1,032
|
-0,133
|
-0,615
|
0,8
|
1551,85
|
0,635
|
-0,825
|
-0,603
|
-0,566
|
0,032
|
-1,391
|
356,47
|
|
345
|
-1,253
|
-0,068
|
-0,325
|
0,948
|
963,56
|
0,407
|
-0,576
|
-0,329
|
-0,169
|
-1,517
|
-1912,12
|
|
360
|
-1,331
|
0
|
0
|
1
|
0,00
|
0,000
|
-1,331
|
-0,390
|
-0,106
|
-0,390
|
-1,437
|
-4407,13
|
|
375
|
-1,259
|
0,068
|
0,325
|
0,948
|
-968,17
|
-0,409
|
-1,193
|
-0,060
|
0,000
|
-0,469
|
-1,193
|
-5307,20
|
|
390
|
-1,038
|
0,133
|
0,615
|
0,8
|
-1560,87
|
-0,638
|
-0,830
|
0,317
|
-0,096
|
-0,321
|
-0,926
|
-3633,82
|
|
405
|
-0,710
|
0,189
|
0,841
|
0,573
|
-1518,04
|
-0,597
|
-0,407
|
0,592
|
-0,404
|
-0,005
|
-0,810
|
-57,07
|
|
420
|
-0,328
|
0,234
|
0,983
|
0,297
|
-868,98
|
-0,323
|
-0,098
|
0,635
|
-0,825
|
0,312
|
-0,923
|
3525,39
|
|
435
|
0,052
|
0,263
|
1,034
|
0,005
|
155,09
|
0,054
|
0,000
|
0,407
|
-1,188
|
0,461
|
-1,188
|
5214,98
|
|
450
|
0,384
|
0,273
|
1
|
-0,273
|
1184,62
|
0,384
|
-0,105
|
0,000
|
-1,331
|
0,384
|
-1,436
|
4339,27
|
|
465
|
0,636
|
0,263
|
0,898
|
-0,513
|
1890,91
|
0,571
|
-0,326
|
-0,409
|
-1,193
|
0,162
|
-1,520
|
1829,13
|
|
480
|
0,799
|
0,234
|
0,749
|
-0,703
|
2114,60
|
0,598
|
-0,562
|
-0,638
|
-0,830
|
-0,040
|
-1,392
|
-449,03
|
|
495
|
0,884
|
0,189
|
0,573
|
-0,841
|
1889,96
|
0,507
|
-0,744
|
-0,597
|
-0,407
|
-0,091
|
-1,151
|
-1024,99
|
|
510
|
0,915
|
0,133
|
0,385
|
-0,933
|
1376,33
|
0,352
|
-0,854
|
-0,323
|
-0,098
|
0,030
|
-0,951
|
333,67
|
|
525
|
0,919
|
0,068
|
0,193
|
-0,984
|
706,79
|
0,177
|
-0,904
|
0,054
|
0,000
|
0,231
|
-0,904
|
2615,80
|
|
540
|
0,918
|
0
|
0
|
-1
|
0,00
|
0,000
|
-0,918
|
0,384
|
-0,105
|
0,384
|
-1,022
|
4339,27
|
|
555
|
0,922
|
-0,068
|
-0,193
|
-0,984
|
-709,15
|
-0,178
|
-0,907
|
0,571
|
-0,326
|
0,393
|
-1,234
|
4443,67
|
|
570
|
0,928
|
-0,133
|
-0,385
|
-0,933
|
-1395,65
|
-0,357
|
-0,866
|
0,598
|
-0,562
|
0,241
|
-1,427
|
2728,49
|
|
585
|
0,915
|
-0,189
|
-0,573
|
-0,841
|
-1956,53
|
-0,524
|
-0,770
|
0,507
|
-0,744
|
-0,018
|
-1,513
|
-201,83
|
|
600
|
0,861
|
-0,234
|
-0,749
|
-0,703
|
-2277,96
|
-0,645
|
-0,605
|
0,352
|
-0,854
|
-0,292
|
-1,459
|
-3307,31
|
|
615
|
0,748
|
-0,263
|
-0,898
|
-0,513
|
-2223,45
|
-0,671
|
-0,383
|
0,177
|
-0,904
|
-0,494
|
-1,288
|
-5585,81
|
|
630
|
0,579
|
-0,273
|
-1
|
-0,273
|
-1788,45
|
-0,579
|
-0,158
|
0,000
|
-0,918
|
-0,579
|
-1,076
|
-6551,09
|
|
645
|
0,395
|
-0,263
|
-1,034
|
0,005
|
-1175,45
|
-0,409
|
0,002
|
-0,178
|
-0,907
|
-0,587
|
-0,905
|
-6634,10
|
|
660
|
0,295
|
-0,234
|
-0,983
|
0,297
|
-781,22
|
-0,290
|
0,088
|
-0,357
|
-0,866
|
-0,647
|
-0,778
|
-7321,82
|
|
675
|
0,504
|
-0,189
|
-0,841
|
0,573
|
-1076,82
|
-0,424
|
0,289
|
-0,524
|
-0,770
|
-0,948
|
-0,481
|
-10723,26
|
|
690
|
1,552
|
-0,133
|
-0,615
|
0,8
|
-2333,94
|
-0,954
|
1,241
|
-0,645
|
-0,605
|
-1,599
|
0,636
|
-18083,71
|
|
705
|
4,400
|
-0,068
|
-0,325
|
0,948
|
-3383,95
|
-1,430
|
4,171
|
-0,671
|
-0,383
|
-2,101
|
3,788
|
-23765,12
|
|
α
|
К1,
Н
|
0,5МШ1
|
МШ1
|
МI
Ш
|
МI
К
|
0,5МШ2
|
МШ2
|
МII
Ш
|
МII
К
|
0,5МШ3
|
МШ3
|
МIII
Ш
|
|
1
|
12
|
13
|
14
|
15
|
16
|
17
|
18
|
19
|
20
|
21
|
22
|
23
|
|
0
|
79064,04
|
-204,72
|
-409,44
|
-204,72
|
-409,44
|
135,60
|
-273,84
|
-138,24
|
-137,72
|
-275,45
|
-275,96
|
|
15
|
114431,45
|
1081,29
|
2162,57
|
1081,29
|
2162,57
|
57,16
|
114,32
|
2219,73
|
2276,89
|
-84,35
|
-168,69
|
2192,55
|
|
30
|
47100,61
|
1005,14
|
2010,29
|
1005,14
|
2010,29
|
-14,03
|
-28,06
|
1996,25
|
1982,22
|
-13,33
|
-26,66
|
1968,89
|
|
45
|
19226,02
|
582,35
|
1164,70
|
582,35
|
1164,70
|
-32,03
|
-64,06
|
1132,67
|
1100,64
|
29,03
|
58,06
|
1129,67
|
|
60
|
19115,86
|
187,87
|
375,74
|
187,87
|
375,74
|
10,43
|
20,85
|
386,16
|
396,59
|
11,14
|
22,28
|
407,73
|
|
75
|
47245,97
|
-54,40
|
-108,79
|
-54,40
|
-108,79
|
81,74
|
163,49
|
-27,05
|
54,69
|
-59,75
|
-119,51
|
-5,06
|
|
90
|
77117,64
|
427,52
|
855,05
|
427,52
|
855,05
|
135,60
|
271,20
|
990,65
|
1126,25
|
-137,72
|
-275,45
|
988,53
|
|
105
|
107128,23
|
1623,99
|
3247,98
|
1623,99
|
3247,98
|
138,86
|
277,73
|
3386,84
|
3525,70
|
-165,85
|
-331,70
|
3359,85
|
|
120
|
35832,18
|
1449,87
|
2899,73
|
1449,87
|
2899,73
|
85,27
|
170,53
|
2985,00
|
3070,26
|
-113,56
|
-227,11
|
2956,70
|
|
135
|
3596,14
|
995,36
|
1990,72
|
995,36
|
1990,72
|
-6,31
|
-12,61
|
1984,42
|
1978,11
|
-1,78
|
-3,57
|
1976,33
|
|
150
|
-8471,40
|
699,84
|
1399,68
|
699,84
|
1399,68
|
-103,35
|
-206,71
|
1296,32
|
1192,97
|
110,17
|
220,34
|
1303,14
|
|
165
|
-13984,22
|
537,16
|
1074,32
|
537,16
|
1074,32
|
-174,56
|
-349,11
|
899,76
|
725,21
|
162,97
|
325,94
|
888,17
|
|
180
|
-17912,58
|
427,52
|
855,05
|
427,52
|
855,05
|
-204,72
|
-409,44
|
650,33
|
445,60
|
135,60
|
271,20
|
581,21
|
|
195
|
-17575,32
|
335,19
|
670,37
|
335,19
|
670,37
|
-207,32
|
-414,63
|
463,06
|
255,74
|
57,16
|
114,32
|
312,90
|
|
210
|
-19995,21
|
216,85
|
433,69
|
216,85
|
433,69
|
-228,81
|
-457,61
|
204,89
|
-23,92
|
-14,03
|
-28,06
|
-37,95
|
|
225
|
-20832,11
|
83,00
|
166,01
|
83,00
|
166,01
|
-335,10
|
-670,20
|
-169,10
|
-504,20
|
-32,03
|
-64,06
|
-536,23
|
|
240
|
-19949,07
|
-38,39
|
-76,79
|
-38,39
|
-76,79
|
-565,12
|
-1130,23
|
-641,90
|
-1207,02
|
10,43
|
20,85
|
-1196,59
|
|
255
|
-17777,17
|
-117,53
|
-235,05
|
-117,53
|
-235,05
|
-742,66
|
-1485,32
|
-977,71
|
-1720,37
|
81,74
|
163,49
|
-1638,63
|
|
270
|
-15380,88
|
-137,72
|
-275,45
|
-137,72
|
-275,45
|
-204,72
|
-409,44
|
-480,17
|
-684,89
|
135,60
|
271,20
|
-549,29
|
|
285
|
-10291,16
|
-84,35
|
-168,69
|
-84,35
|
-168,69
|
1081,29
|
2162,57
|
912,60
|
1993,88
|
138,86
|
277,73
|
2132,75
|
|
300
|
-10801,11
|
-13,33
|
-26,66
|
-13,33
|
-26,66
|
1005,14
|
2010,29
|
978,49
|
1983,63
|
85,27
|
170,53
|
2068,89
|
|
315
|
-13030,29
|
29,03
|
58,06
|
29,03
|
58,06
|
582,35
|
1164,70
|
640,41
|
1222,76
|
-6,31
|
-12,61
|
1216,46
|
|
330
|
-15734,96
|
11,14
|
22,28
|
11,14
|
22,28
|
187,87
|
375,74
|
210,15
|
398,02
|
-103,35
|
-206,71
|
294,66
|
|
345
|
-17156,26
|
-59,75
|
-119,51
|
-59,75
|
-119,51
|
-54,40
|
-108,79
|
-173,90
|
-228,30
|
-174,56
|
-349,11
|
-402,86
|
|
360
|
-16257,06
|
-137,72
|
-275,45
|
-137,72
|
-275,45
|
427,52
|
855,05
|
152,08
|
579,60
|
-204,72
|
-409,44
|
374,88
|
|
375
|
-13494,13
|
-165,85
|
-331,70
|
-165,85
|
-331,70
|
1623,99
|
3247,98
|
1292,29
|
2916,28
|
-207,32
|
-414,63
|
2708,96
|
|
390
|
-10471,48
|
-113,56
|
-227,11
|
-113,56
|
-227,11
|
1449,87
|
2899,73
|
1222,75
|
2672,62
|
-228,81
|
-457,61
|
2443,81
|
|
405
|
-9165,71
|
-1,78
|
-3,57
|
-1,78
|
-3,57
|
995,36
|
991,79
|
1987,16
|
-335,10
|
-670,20
|
1652,05
|
|
420
|
-10437,35
|
110,17
|
220,34
|
110,17
|
220,34
|
699,84
|
1399,68
|
920,17
|
1620,01
|
-565,12
|
-1130,23
|
1054,90
|
|
435
|
-13430,14
|
162,97
|
325,94
|
162,97
|
325,94
|
537,16
|
1074,32
|
863,10
|
1400,25
|
-742,66
|
-1485,32
|
657,59
|
|
450
|
-16238,54
|
135,60
|
271,20
|
135,60
|
271,20
|
427,52
|
855,05
|
698,73
|
1126,25
|
-204,72
|
-409,44
|
921,53
|
|
465
|
-17185,77
|
57,16
|
114,32
|
57,16
|
114,32
|
335,19
|
670,37
|
449,51
|
784,69
|
1081,29
|
2162,57
|
1865,98
|
|
480
|
-15741,55
|
-14,03
|
-28,06
|
-14,03
|
-28,06
|
216,85
|
433,69
|
188,78
|
405,63
|
1005,14
|
2010,29
|
1410,77
|
|
495
|
-13012,10
|
-32,03
|
-64,06
|
-32,03
|
-64,06
|
83,00
|
166,01
|
18,94
|
101,94
|
582,35
|
1164,70
|
684,29
|
|
510
|
-10757,95
|
10,43
|
20,85
|
10,43
|
20,85
|
-38,39
|
-76,79
|
-17,54
|
-55,93
|
187,87
|
375,74
|
131,94
|
|
525
|
-10224,73
|
81,74
|
163,49
|
81,74
|
163,49
|
-117,53
|
-235,05
|
45,96
|
-71,56
|
-54,40
|
-108,79
|
-125,96
|
|
540
|
-11563,53
|
135,60
|
271,20
|
135,60
|
271,20
|
-137,72
|
-275,45
|
133,48
|
-4,24
|
427,52
|
855,05
|
423,28
|
|
555
|
-13950,23
|
138,86
|
277,73
|
138,86
|
277,73
|
-84,35
|
-168,69
|
193,38
|
109,04
|
1623,99
|
3247,98
|
1733,03
|
|
570
|
-16143,39
|
85,27
|
170,53
|
85,27
|
170,53
|
-13,33
|
-26,66
|
157,20
|
143,87
|
1449,87
|
2899,73
|
1593,74
|
|
585
|
-17115,84
|
-6,31
|
-12,61
|
-6,31
|
-12,61
|
29,03
|
58,06
|
16,42
|
45,45
|
995,36
|
1990,72
|
1040,81
|
|
600
|
-16498,65
|
-103,35
|
-206,71
|
-103,35
|
-206,71
|
11,14
|
22,28
|
-195,57
|
-184,43
|
699,84
|
1399,68
|
515,41
|
|
615
|
-14564,67
|
-174,56
|
-349,11
|
-174,56
|
-349,11
|
-59,75
|
-119,51
|
-408,87
|
-468,62
|
537,16
|
1074,32
|
68,54
|
|
630
|
-12167,35
|
-204,72
|
-409,44
|
-204,72
|
-409,44
|
-137,72
|
-275,45
|
-547,17
|
-684,89
|
427,52
|
855,05
|
-257,36
|
|
645
|
-10239,53
|
-207,32
|
-414,63
|
-207,32
|
-414,63
|
-165,85
|
-331,70
|
-580,48
|
-746,33
|
335,19
|
670,37
|
-411,15
|
|
660
|
-8799,00
|
-228,81
|
-457,61
|
-228,81
|
-457,61
|
-113,56
|
-227,11
|
-571,17
|
-684,73
|
216,85
|
433,69
|
-467,88
|
|
675
|
-5441,38
|
-335,10
|
-670,20
|
-335,10
|
-670,20
|
-1,78
|
-3,57
|
-671,99
|
-673,77
|
83,00
|
166,01
|
-590,77
|
|
690
|
7195,11
|
-565,12
|
-1130,23
|
-565,12
|
-1130,23
|
110,17
|
220,34
|
-1020,06
|
-909,90
|
-38,39
|
-76,79
|
-948,29
|
|
705
|
42839,18
|
-742,66
|
-1485,32
|
-742,66
|
-1485,32
|
162,97
|
325,94
|
-1322,35
|
-1159,38
|
-117,53
|
-235,05
|
-1276,91
|
|
α
|
МIII
К
|
Т4'
|
K4'
|
T4"
|
K4"
|
Т4'
|
K4'
|
Т4
|
К4
|
0,5МШ4
|
МШ4
|
МIV
Ш
|
МIV
К
|
|
|
|
Левый
|
блок
|
Правый
|
блок
|
|
|
|
|
|
|
|
|
|
1
|
24
|
25'
|
26'
|
25''
|
26''
|
27
|
28
|
29
|
30
|
31
|
32
|
33
|
34
|
|
0
|
-413,68
|
0,000
|
-0,918
|
1,210
|
-0,330
|
1,210
|
-1,248
|
13680,76
|
-14113,75
|
427,52
|
855,05
|
13,84
|
441,36
|
|
15
|
2108,20
|
-0,178
|
-0,907
|
1,127
|
-0,644
|
0,949
|
-1,551
|
10732,34
|
-17542,75
|
335,39
|
670,77
|
2443,59
|
2778,97
|
|
30
|
1955,57
|
-0,357
|
-0,866
|
0,968
|
-0,909
|
0,611
|
-1,774
|
6909,30
|
-20067,43
|
215,92
|
431,83
|
2171,48
|
2387,40
|
|
45
|
-0,524
|
-0,770
|
0,745
|
-1,093
|
0,220
|
-1,863
|
2493,14
|
-21071,27
|
77,91
|
155,82
|
1236,61
|
1314,52
|
|
60
|
418,87
|
-0,645
|
-0,605
|
0,494
|
-1,198
|
-0,150
|
-1,803
|
-1700,67
|
-20392,15
|
-53,15
|
-106,29
|
365,72
|
312,58
|
|
75
|
-64,81
|
-0,671
|
-0,383
|
0,244
|
-1,243
|
-0,428
|
-1,626
|
-4835,32
|
-18391,00
|
-151,10
|
-302,21
|
-215,92
|
-367,02
|
|
90
|
850,81
|
-0,579
|
-0,158
|
0,000
|
-1,254
|
-0,579
|
-1,412
|
-6551,09
|
-15966,18
|
-204,72
|
-409,44
|
646,08
|
441,36
|
|
105
|
3194,00
|
-0,409
|
0,002
|
-0,179
|
-0,910
|
-0,587
|
-0,908
|
-6640,49
|
-10272,10
|
-207,52
|
-415,03
|
2986,49
|
2778,97
|
|
120
|
2843,15
|
-0,290
|
0,088
|
-0,355
|
-0,859
|
-0,645
|
-0,772
|
-7292,02
|
-8726,79
|
-227,88
|
-455,75
|
2615,27
|
2387,40
|
|
135
|
1974,54
|
-0,424
|
0,289
|
-0,510
|
-0,749
|
-0,934
|
-0,460
|
-10560,31
|
-5202,23
|
-330,01
|
-660,02
|
1644,53
|
1314,52
|
|
150
|
1413,31
|
-0,954
|
1,241
|
-0,603
|
-0,566
|
-1,557
|
0,675
|
-17611,64
|
7638,19
|
-550,36
|
-1100,73
|
862,94
|
312,58
|
|
165
|
1051,14
|
-1,430
|
4,171
|
-0,576
|
-0,329
|
-2,006
|
3,842
|
-22690,62
|
43453,01
|
-709,08
|
-1418,16
|
342,06
|
-367,02
|
|
180
|
716,81
|
0,000
|
7,149
|
-0,390
|
-0,106
|
-0,390
|
7,043
|
-4407,13
|
79649,34
|
-137,72
|
-275,45
|
579,09
|
441,36
|
|
195
|
370,06
|
3,468
|
10,116
|
-0,060
|
0,000
|
3,408
|
10,117
|
38542,61
|
114412,39
|
1204,46
|
2408,91
|
1574,52
|
2778,97
|
|
210
|
-51,98
|
3,134
|
4,077
|
0,317
|
-0,096
|
3,451
|
3,981
|
39030,09
|
45026,29
|
1219,69
|
2439,38
|
1167,71
|
2387,40
|
|
225
|
-568,26
|
2,071
|
1,411
|
0,592
|
-0,404
|
2,664
|
1,008
|
30124,53
|
11397,96
|
941,39
|
1882,78
|
373,13
|
1314,52
|
|
240
|
-1186,16
|
1,486
|
0,449
|
0,635
|
-0,825
|
2,120
|
-0,376
|
23979,90
|
-4257,30
|
749,37
|
1498,74
|
-436,79
|
312,58
|
|
255
|
-1556,88
|
1,276
|
0,006
|
0,407
|
-1,188
|
1,683
|
-1,182
|
19037,79
|
-13363,30
|
594,93
|
1189,86
|
-961,95
|
-367,02
|
|
270
|
-413,68
|
1,210
|
-0,330
|
0,000
|
-1,331
|
1,210
|
-1,661
|
13680,76
|
-18788,77
|
427,52
|
855,05
|
13,84
|
441,36
|
|
285
|
2271,61
|
1,127
|
-0,644
|
-0,409
|
-1,193
|
0,718
|
-1,837
|
8117,80
|
-20778,30
|
253,68
|
507,36
|
2525,29
|
2778,97
|
|
300
|
2154,16
|
0,968
|
-0,909
|
-0,638
|
-0,830
|
0,330
|
-1,739
|
3731,78
|
-19665,59
|
116,62
|
233,24
|
2270,78
|
2387,40
|
|
315
|
1210,15
|
0,745
|
-1,093
|
-0,597
|
-0,407
|
0,148
|
-1,500
|
1669,97
|
-16967,54
|
52,19
|
104,37
|
1262,34
|
1314,52
|
|
330
|
191,31
|
0,494
|
-1,198
|
-0,323
|
-0,098
|
0,172
|
-1,296
|
1940,32
|
-14651,45
|
60,63
|
121,27
|
251,94
|
312,58
|
|
345
|
-577,41
|
0,244
|
-1,243
|
0,054
|
0,000
|
0,298
|
-1,242
|
3366,29
|
-14051,06
|
105,20
|
210,39
|
-472,22
|
-367,02
|
|
360
|
170,16
|
0,000
|
-1,254
|
0,384
|
-0,105
|
0,384
|
-1,358
|
4339,27
|
-15362,35
|
135,60
|
271,20
|
305,76
|
441,36
|
|
375
|
2501,64
|
-0,179
|
-0,910
|
0,571
|
-0,326
|
0,392
|
-1,236
|
4437,28
|
-13982,80
|
138,66
|
277,33
|
2640,31
|
2778,97
|
|
390
|
2215,00
|
-0,355
|
-0,859
|
0,598
|
-0,562
|
0,244
|
-1,421
|
2758,29
|
-16071,18
|
86,20
|
172,39
|
2301,20
|
2387,40
|
|
405
|
1316,95
|
-0,510
|
-0,749
|
0,507
|
-0,744
|
-0,003
|
-1,492
|
-38,88
|
-16876,68
|
-1,22
|
-2,43
|
1315,74
|
1314,52
|
|
420
|
489,78
|
-0,566
|
0,352
|
-0,854
|
-0,251
|
-1,420
|
-2835,24
|
-16055,57
|
-88,60
|
-177,20
|
401,18
|
312,58
|
|
435
|
-85,07
|
-0,576
|
-0,329
|
0,177
|
-0,904
|
-0,399
|
-1,234
|
-4511,31
|
-13950,84
|
-140,98
|
-281,96
|
-226,04
|
-367,02
|
|
450
|
716,81
|
-0,390
|
-0,106
|
0,000
|
-0,918
|
-0,390
|
-1,024
|
-4407,13
|
-11582,05
|
-137,72
|
-275,45
|
579,09
|
441,36
|
|
465
|
2947,27
|
-0,060
|
0,000
|
-0,178
|
-0,907
|
-0,238
|
-0,907
|
-2692,67
|
-10258,59
|
-84,15
|
-168,29
|
2863,12
|
2778,97
|
|
480
|
2415,91
|
0,317
|
-0,096
|
-0,357
|
-0,866
|
-0,040
|
-0,961
|
-456,30
|
-10873,32
|
-14,26
|
-28,52
|
2401,66
|
2387,40
|
|
495
|
1266,64
|
0,592
|
-0,404
|
-0,524
|
-0,770
|
0,068
|
-1,173
|
766,09
|
-13269,45
|
23,94
|
47,88
|
1290,58
|
1314,52
|
|
510
|
319,80
|
0,635
|
-0,825
|
-0,645
|
-0,605
|
-0,010
|
-1,430
|
-115,60
|
-16178,04
|
-3,61
|
-7,22
|
316,19
|
312,58
|
|
525
|
-180,36
|
0,407
|
-1,188
|
-0,671
|
-0,383
|
-0,264
|
-1,571
|
-2986,62
|
-17770,09
|
-93,33
|
-186,66
|
-273,69
|
-367,02
|
|
540
|
850,81
|
0,000
|
-1,331
|
-0,579
|
-0,158
|
-0,579
|
-1,489
|
-6551,09
|
-16842,37
|
-204,72
|
-409,44
|
646,08
|
441,36
|
|
555
|
3357,01
|
-0,409
|
-1,193
|
-0,409
|
0,002
|
-0,818
|
-1,191
|
-9248,64
|
-13475,07
|
-289,02
|
-578,04
|
3067,99
|
2778,97
|
|
570
|
3043,60
|
-0,638
|
-0,830
|
-0,290
|
0,088
|
-0,928
|
-0,742
|
-10499,34
|
-8397,16
|
-328,10
|
-656,21
|
2715,50
|
2387,40
|
|
585
|
2036,17
|
-0,597
|
-0,407
|
-0,424
|
0,289
|
-1,021
|
-0,118
|
-11546,42
|
-1337,65
|
-360,83
|
-721,65
|
1675,35
|
1314,52
|
|
600
|
1215,25
|
-0,323
|
-0,098
|
-0,954
|
1,241
|
-1,277
|
1,144
|
-14442,73
|
12935,81
|
-451,34
|
-902,67
|
763,91
|
312,58
|
|
615
|
605,70
|
0,054
|
0,000
|
-1,430
|
4,171
|
-1,376
|
4,172
|
-15563,51
|
47179,12
|
-486,36
|
-972,72
|
119,34
|
-367,02
|
|
630
|
170,16
|
0,384
|
-0,105
|
0,000
|
7,149
|
0,384
|
7,044
|
4339,27
|
79667,86
|
135,60
|
271,20
|
305,76
|
441,36
|
|
645
|
-75,96
|
0,571
|
-0,326
|
3,468
|
10,116
|
4,039
|
9,790
|
45678,94
|
110720,75
|
1427,47
|
2854,93
|
1351,51
|
2778,97
|
|
660
|
-251,03
|
0,598
|
-0,562
|
3,134
|
4,077
|
3,733
|
3,515
|
42214,88
|
39756,22
|
1319,22
|
2638,43
|
1068,18
|
2387,40
|
|
675
|
-507,77
|
0,507
|
-0,744
|
2,071
|
1,411
|
2,578
|
0,668
|
29156,60
|
7551,57
|
911,14
|
1822,29
|
403,38
|
1314,52
|
|
690
|
-986,68
|
0,352
|
-0,854
|
1,486
|
0,449
|
1,838
|
-0,405
|
20788,18
|
-4577,90
|
649,63
|
1299,26
|
-337,05
|
312,58
|
|
705
|
-1394,43
|
0,177
|
-0,904
|
1,276
|
0,006
|
1,454
|
-0,898
|
16438,60
|
-10157,89
|
513,71
|
1027,41
|
-880,73
|
-367,02
|
По данным этой таблицы 3 строится выходная
характеристика крутящего момента (рисунок 7), а также определяется средний
крутящий момент:
Мк ср = 1141,6
Нм
Рисунок 7. Выходной крутящий момент двигателя.
Проверка на соответствие заданной эффективной
мощности Nе
двигателя по осредненному крутящему моменту Мк ср:
Расхождение с заданной мощностью составляет
менее 7%.
6. Построение векторной диаграммы и сил,
действующих на шатунную шейку коленчатого вала
Графическое построение нормальной силы N,
тангенциальной Т и радиальной К сил, действующих на шатунную шейку коленчатого
вала в зависимости от угла поворота α, осуществляется
по данным таблицы сил и моментов, действующих на КШМ двигателя.
Для построения векторной диаграммы сил Rш
необходимы значения сил Т1 и К1, действующих на шатунную
шейку от одного цилиндра двигателя. Их определили ранее и их значения берём из
таблицы.
Силу давления на шатунную шейку коленчатого вала
можно определить по формуле:
где Kшк
= mшкrω2
- центробежная сила инерции.
Кшк = 4,794·0,0625·230,42
= 17814 Н.
Результаты расчета представлены в таблице 4.
таблица 4. Силы, действующие на шатунную шейку
коленчатого вала
|
α,
град.
|
T1,
Н
|
K1,
Н
|
K1-KШК,
Н
|
RШ,
Н
|
|
0
|
-6551,09
|
79064,04
|
71192,59
|
71493,36
|
|
15
|
34601,17
|
114431,45
|
106560,00
|
112036,9
|
|
30
|
32164,57
|
47100,61
|
39229,16
|
50729,54
|
|
45
|
18635,17
|
19226,02
|
11354,57
|
21821,92
|
|
60
|
6011,78
|
19115,86
|
11244,41
|
12750,62
|
|
75
|
-1740,70
|
47245,97
|
39374,52
|
39412,97
|
|
90
|
13680,76
|
77117,64
|
69246,19
|
70584,68
|
|
105
|
51967,61
|
107128,23
|
99256,78
|
112038,1
|
|
120
|
46395,69
|
35832,18
|
27960,73
|
54169,75
|
|
135
|
31851,57
|
3596,14
|
-4275,31
|
32137,22
|
|
150
|
22394,82
|
-16342,85
|
27723,94
|
|
165
|
17189,09
|
-13984,22
|
-21855,67
|
27805,31
|
|
180
|
13680,76
|
-17912,58
|
-25784,03
|
29188,69
|
|
195
|
10725,95
|
-17575,32
|
-25446,77
|
27614,93
|
|
210
|
6939,10
|
-19995,21
|
-27866,66
|
28717,63
|
|
225
|
2656,08
|
-20832,11
|
-28703,56
|
28826,19
|
|
240
|
-1228,60
|
-19949,07
|
-27820,52
|
27847,63
|
|
255
|
-3760,82
|
-17777,17
|
-25648,62
|
25922,88
|
|
270
|
-4407,13
|
-15380,88
|
-23252,33
|
23666,3
|
|
285
|
-2699,06
|
-10291,16
|
-18162,61
|
18362,06
|
|
300
|
-426,50
|
-10801,11
|
-18672,56
|
18677,43
|
|
315
|
929,04
|
-13030,29
|
-20901,74
|
20922,38
|
|
330
|
356,47
|
-15734,96
|
-23606,41
|
23609,11
|
|
345
|
-1912,12
|
-17156,26
|
-25027,71
|
25100,64
|
|
360
|
-4407,13
|
-16257,06
|
-24128,51
|
24527,7
|
|
375
|
-5307,20
|
-13494,13
|
-21365,58
|
22014,87
|
|
390
|
-3633,82
|
-10471,48
|
-18342,93
|
18699,41
|
|
405
|
-57,07
|
-9165,71
|
-17037,16
|
17037,26
|
|
420
|
3525,39
|
-10437,35
|
-18308,80
|
18645,12
|
|
435
|
5214,98
|
-13430,14
|
-21301,59
|
21930,66
|
|
450
|
4339,27
|
-16238,54
|
-24109,99
|
24497,36
|
|
465
|
1829,13
|
-17185,77
|
-25057,22
|
25123,9
|
|
480
|
-449,03
|
-15741,55
|
-23613,00
|
23617,27
|
|
495
|
-1024,99
|
-13012,10
|
-20883,55
|
20908,69
|
|
510
|
333,67
|
-10757,95
|
-18629,40
|
18632,39
|
|
525
|
2615,80
|
-10224,73
|
-18096,18
|
18284,26
|
|
540
|
4339,27
|
-11563,53
|
-19434,98
|
19913,5
|
|
555
|
4443,67
|
-13950,23
|
-21821,68
|
22269,52
|
|
570
|
2728,49
|
-16143,39
|
-24014,84
|
24169,34
|
|
585
|
-201,83
|
-17115,84
|
-24987,29
|
24988,1
|
|
600
|
-3307,31
|
-16498,65
|
-24370,10
|
24593,49
|
|
615
|
-5585,81
|
-14564,67
|
-22436,12
|
23121
|
|
630
|
-6551,09
|
-12167,35
|
-20038,80
|
21082,47
|
|
645
|
-6634,10
|
-10239,53
|
-18110,98
|
19287,79
|
|
660
|
-7321,82
|
-8799,00
|
-16670,45
|
18207,5
|
|
675
|
-10723,26
|
-5441,38
|
-13312,83
|
17094,44
|
|
690
|
-18083,71
|
7195,11
|
-676,34
|
18096,36
|
|
705
|
-23765,12
|
42839,18
|
34967,73
|
42279,11
|
|
720
|
-6551,09
|
79064,04
|
71192,59
|
71493,36
|
На основании таблицы 4 была построена векторная
диаграмма сил давления Rш на шатунную шейку коленчатого вала двигателя (рисунок
8).
Рисунок 8. Векторная диаграмма сил давления Rш
на
шатунную шейку коленчатого вала двигателя.