Релейная защита трансформаторов
Оглавление
Часть I. Релейная защита и автоматика
распределительных сетей 10 кВ
Расчет защиты
кабельной линии W4
Расчет защит
трансформатора Т3и Т4 10/0,4 кВ
Секционный
выключатель Q12
Расчет защиты
кабельной линии W3 и W3’
Секционный
выключатель Q5
График
селективности
Часть II. Защита и автоматика
трансформаторов ГПП
Дифференциальная
защита трансформаторов ГПП
Максимальная
токовая защита трансформаторов ГПП
Защита
от перегрузки трансформаторов ГПП
Разработка
устройства АВР
Разработка
устройства АВР секционного выключателя Q5
Разработка
устройства АВР секционного выключателя Q12
Газовая
защита трансформатора
Список литературы
Èñõîäíûå
äàííûå
Вариант 24, номер рисунка 4.
Данные для расчета приведены в табл. 1, расчетная схема представлена на
рис. 1.
Задание на курсовую работу по
релейной защите.
Таблица 1.
|
Вторая цифра варианта
|
Система
|
Трансформаторы Т1 иТ2
|
Линия W3
|
|
Напряжение
|
Сопротивление
|
Тип
|
Мощность, МВ×А
|
Диапазон регулирования
напряжения, %
|
Длина линии, км
|
Нагрузка п/ст №2, А (без
расч.)
|
Максимальное время действия
защиты п/ст 2 (без расч.) С
|
Коэффициент, kсзп
|
|
5
|
110
|
1,6/2
|
ТДН-63000/110
|
63
|
±16
|
2,6
|
210
|
0,6
|
1,8
|
Типы выключателей, приводов и род
оперативного тока, используемые в проектировании
|
Подстанция 1
|
Подстанция 2
|
Подстанция 3
|
|
Оперативный ток
|
Тип выключателя 10
|
Тип привода выключателя
|
Оперативный ток
|
Тип выключателя 10
|
Тип привода выключателя
|
Оперативный ток
|
Тип выключателя 10
|
Тип привода выключателя
|
Схема по рисунку
|
|
Постоянный
|
ВМПЭ
|
Э
|
Постоянный
|
ВМПЭ
|
Э
|
Постоянный
|
ВМПЭ
|
Э
|
2
|
Рис.1. Расчетная схема.
Часть I. РЕЛЕЙНАЯ
ЗАЩИТА И АВТОМАТИКА РАСПРЕДЕЛИТЕЛЬНЫХ СЕТЕЙ 10 кВ
Разработать защиту от всех видов повреждений для
кабельных линий W3, W4, защиту от всех видов повреждений
трансформатора Т3 и Т4 .
Для расчетов токов короткого замыкания составим схему
замещения (с учетом того, что секционные выключатели отключенырис. 2).
рис. 2.Схема замещения расчетной схемы.
Сопротивление системы
Сопротивление
линий
Данные
к расчету сопротивлений трансформаторов возьмем из [5]:
для
трансформатора типа ТДН-10000/110 имеем
= 115 кВ,
= 11 кВ,
= 10,5 %;
схема
и группа соединения обмоток
;
для
трансформатора типа ТМ-630/10 имеем
= 10 кВ,
= 0,4 кВ,
= 5,5 %,
схема
и группа соединения обмоток
.
Сопротивление
трансформаторов Т1 и Т2
Сопротивление
трансформатора Т3 и Т4
Сопротивление
линии W3
Сопротивление
линии W4
Сопротивления
до точек короткого замыкания соответственно:
Токи короткого замыкания для начального момента
времени:
Расчет защиты от всех видов повреждений для кабельной линии W4
Рис.3. Схема пусковых органов защиты.
1.) Выбираем трансформаторы тока ТАа, ТАс для пусковых органов защиты:
KI=
Линия
W4 питает секционированные шины, поэтому ток
срабатывания рассчитываем по четырем условиям:
.
Определяем
где kотс - коэффициент отстройки, в
зависимости от типа реле может приниматься равным 1,1¸1,2 (для реле РТ-40); kв - коэффициент возврата, принимается равным 0,8¸0,85 (для реле РТ-40) или 0,6¸0,7; Iраб. макс - максимальный рабочий ток защищаемого элемента; kсзп - коэффициент самозапуска.
= 100 A.
При нормальной работе двух линий (например W3 и W4 на рис. 1), каждой со своей нагрузкой, и действии АВР после
отключения одной из них (например W4) по оставшейся линии W3
будет проходить свой рабочий ток плюс ток самозапуска нагрузки отключившейся
линии W4. Максимальная токовая защита
неповрежденной линии в этом случае не должна сработать.
3. Определяем ток срабатывания реле МТЗ (КА1, КА2) с учетом схемы
соединения трансформаторов тока(неполная звезда):
где
Iс.з.расч -
принятый ток срабатывания защиты; kI - коэффициент
трансформации трансформаторов тока; k(3)сх -
коэффициент схемы соединения трансформаторов тока при трехфазном КЗ для
неполной звезды k(3)сх=1 .
Ток
уставки 18,75А.
К
установке принимаем реле РТ-40/20.
4. Проверка чувствительности защиты линии.
Чувствительность защиты оценивается минимальным значением коэффициента
чувствительности kч в минимальном режиме работы системы
при двухфазном КЗ:
где
Iр.мин -
ток в реле при двухфазном КЗ в конце защищаемой зоны.
А.
где
I(3)КЗмин - ток трехфазного металлического КЗ при повреждении в
конце защищаемой зоны в минимальном режиме работы системы; k -
коэффициент, учитывающий вид и место КЗ, схему соединения трансформаторов тока
и реле, k = 0,87.
Определение
тока срабатывания токовой отсечки:
Ic.р.о=
= 
=433,454
А.

КОТС
IK1(3)=1,4 
6192,214=8669,099 А.
Kc.o.=
= 
0,761
2.
Отсечку не устанавливаем, так как она не проходит по чувствительности.
Расчет защит трансформатора Т3и Т4 10/0,4 кВ
Для трансформаторов 10/0,4 кВ предусматриваются следующие защиты:
· максимальная токовая защита;
· токовая отсечка;
· специальная защита нулевой последовательности от однофазных
КЗ на стороне 0,4 кВ;
· газовая защита;
МТЗ трансформатора Т3 10/0,4 кВ.
Рис. 4. Схемы включения пусковых реле тока
двухступенчатых защит: на реле РТ-40.
. Определяем номинальный ток трансформатора Т3.
KI =
.
2. Определение тока срабатывания максимальной токовой защиты без пуска по
напряжению.
а) Ток срабатывания МТЗ определяется по выражению
где
kотс=1,1¸1,25; kв=0,8¸0,85; Iпер. макс
- максимальный переходный ток нагрузки.
Так
как kсзп
известен, то Iпер.макс=kсзп
IномТ3,Т4=1,8 
=26,01 А.
б)
Отстройка от успешного АВР.
По условию обеспечения бездействия защиты после работы АВР на стороне 0,4
кВ
где Iраб.макс.рез - максимальный рабочий ток
секции 0,4 кВ, которая подключается к защищаемому трансформатору после
срабатывания устройства АВР, принимается равным (0,65¸0,7) Iном.ТЗ; Iраб.макс - максимальный рабочий ток
защищаемого трансформатора, принимается равным (0,65¸0,7) Iном.ТЗ. Защита выполняется по схеме неполной звезды.
Ток
срабатывания защиты выбираем по большему значению, т.е.
Чувствительность
МТЗ.
Определяем
при двухфазном КЗ за трансформатором (на стороне 0,4 кВ). При этом сначала
рассчитываем ток в реле защиты при двухфазном КЗ по [1, табл. 1.3.] для схемы
МТЗ неполная звезда с двумя реле и
:
Ток
срабатывания реле:
Коэффициент
чувствительности:
МТЗ
проходит по чувствительности.
Ток
уставки 7,047 А.
К
установки принимаем реле РТ - 40/10.
Определение целесообразности установки специальной защиты нулевой
последовательности
Специальная защита нулевой последовательности устанавливается в том
случае, если МТЗ нечувствительна к однофазному КЗ на стороне 0,4 кВ
трансформатора.
Коэффициент
чувствительности максимальной токовой защиты при однофазном КЗ на стороне 0,4
кВ должен быть kч(1)³1,5. Ток в реле при однофазном КЗ находим согласно [1,
табл.1.4] для схемы МТЗ неполная звезда с двумя реле и
:
Токи в реле при однофазных КЗ на 0,4 кВ.
Специальная
защита нулевой последовательности не требуется.
Токовая отсечка трансформатора Т3 и Т4 10/0,4 кВА.
Токовая отсечка на трансформаторах мощностью до 6,3 МВА является основной
защитой от КЗ, но защищает только часть трансформатора.
) Ток срабатывания отсечки отстраивается от максимального тока КЗ за
трансформатором:

КОТС
IK2(3)=1,4 
=1948,805А.
Коэффициент отстройки в этом случае определяется по [1, табл. 1.5] для
реле типа РТ-40для неполной звезды КОТС =1,4.
) Отстраиваем отсечку от броска тока намагничивания по выражению:
Iс.о.≥(4÷5)
Iном.т.= 4
· 14,45=
57,8 А.
Принимаем
ток срабатывания защиты Iсз =
1948,805 А.
Коэффициент
чувствительности:
Проходит
по чувствительности.
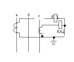
Секционный выключатель Q12
На секционном выключателе устанавливается МТЗ в 2-х фазном исполнении на
2-х реле РТ-40. Защита имеет ускорение при включении секционного выключателя.
Ток срабатывания:
Iраб.max= Iраб.w4+ Iном.т4+ Iнагр/2=14,45+100+14,45=194,45А.
КI = 200/5.
Этот
ток согласуется с защитами отходящих линий по чувствительности:
=
=
143.63 А.
Принимаем
к установки реле РТ-40/20.
Ток
уставки 14,58 А.
Найдем
время срабатывания защиты:
Расчет защиты от всех видов повреждений для кабельной линии W3 и W3’
Рис.3. Схема пусковых органов защиты.
Кабельная линия W3.
.) Выбираем трансформаторы тока ТАа, ТАс для пусковых органов защиты: 1.
Определяем

= 194.45 A. KI
= 
Iс.з
≥ Котс*(Iрабw3+Ксзп+ Iрабw3’) = 1,25*(194,45+2*94,45) = 479А.
Iс.з
≥ Котс*(Iсот3+(Iрабw3’Iном.т3) = 1,25*(1948,805(194,45-14,45)) = 2661А.
Iс.з
≥ Котс*IсзQ12 = 1,25*583.357 = 729,196А.
Выбираем max значение Iс.з=2661А.
.
Ток
уставки
А.
К
установке принимаем реле РТ-40/100.
Кабельная линия W3’.
Iраб.w3’= Iном.т4+ Iнагр/2=14,45+160/2=94,45А.
КI = 100/5.
Iс.з ≥ Котс*(Iрабw3’+Ксзп+ Iрабw3) = 1,25*(94,45+2*194,45)
= 604,19А.
Iс.з ≥ Котс*(Iсот4+(Iрабw3’Iном.т4) = 1,25*(1948,805(94,45-14,45)) = 2536,006А.
Iс.з ≥ Котс*IсзQ12 = 1,25*583.357 =
729,196А.
Выбираем
max значение Iс.з=2536,006А.
.
Ток уставки 126.8 А.
К установке принимаем реле РТ-40/200.
Секционный выключатель Q5
Ток срабатывания защиты отстраивается от максимального рабочего тока
через выключатель:

=367.404
А.
КI = 400/5.


Принимаем
к установки реле РТ-40/20.
Ток
уставки 13,777 А.
Найдем
время срабатывания защиты:
График селективности
Рис. 4.
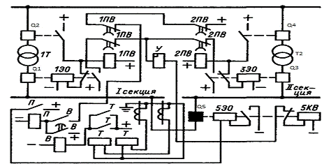
×àñòü II. ÇÀÙÈÒÀ
È
ÀÂÒÎÌÀÒÈÊÀ
ÒÐÀÍÑÔÎÐÌÀÒÎÐÎÂ
ÃÏÏ
Релейная защита трансформаторов Т1 и
Т2
1. Рассчитываем токи КЗ в объеме, необходимом для
выбора установок и проверки чувствительности защит. Для трансформаторов с
большим диапазоном регулирования напряжения следует рассчитывать минимальный и
максимальный токи короткого замыкания.
Сопротивления трансформатора определяем по выражениям
где
SH.тр -
номинальная мощность трансформатора, МВ×А; DU*р.пн=DUр.пн%/100
- половина полного диапазона регулирования напряжения на стороне ВН
трансформатора; Uср.вн -
среднее напряжение стороны ВН, определяется по [4, табл. В-1].
Если
получаем, что [Uср.вн(1+DU*р.пн)] по расчету больше максимально допустимого для
данной сети [4, табл. В-1], то вместо этого значения подставляем значение
наибольшего напряжения по [4, табл. В-1].
Максимальный ток КЗ в практических расчетах защит определяем по
выражению:
где
Uном -
номинальное напряжение сети; хс - минимальное значение сопротивления
питающей системы.
Приведенное
значение I(3)к.макс.вн к стороне низкого напряжения (т.е.
к нерегулируемой стороне) определяем по минимальному коэффициенту трансформации
трансформатора:
где
Uср.вн -
среднее значение напряжения, определяем по [4, табл. В-1].
Минимальный
ток КЗ определяется по выражению
где
Uмакс.вн=Uср.вн(1+DU*p.пн), но не более, чем в [4, табл. В-1]; хс.макс
- максимальное значение сопротивления питающей системы в минимальном режиме ее
работы.
Приведенное
к стороне НН значение Iк.мин.вн
определяем как
.
Дифференциальная защита
трансформаторов ГПП
Дифференциальная (продольная) защита от междуфазных КЗ является основной
для трансформаторов с напряжением высокой стороны не менее 3 кВ.
Согласно ПУЭ, дифференциальная защита устанавливается
на трансформаторах мощностью 6,3 MB·А и
выше, а также на трансформаторах мощностью 4 MB·А при параллельной работе последних с целью селективного
отключения поврежденного трансформатора.
Расчет защиты выполняем в следующем порядке.
1. Определяем первичные токи на сторонах высшего и низшего напряжений
защищаемого трансформатора, выбираем трансформаторы тока для защиты,
установленные на высокой и низкой стороне, и определяем вторичные токи в плечах
защиты. Расчеты сводим в табл. 3.
Таблица 2. Результаты
расчетов исходных величин для дифференциальной защиты.
|
Наименование величин
|
Численное значение для
сторон
|
|
UВН
|
UНН
|
|
Номинальный ток
трансформатора, А  50,26 525,49
|
|
|
|
Схема соединения
трансформаторов тока
|
 
|
1
|
|
|
Коэффициент трансформации
трансформаторов тока k1
|
100/5
|
600/5
|
Вторичные токи в плечах защиты, А 
|
4,352 4,379
|
|
|
Определяем основную сторону. За основную сторону принимаем ту сторону, у
которой вторичный ток больше. Но для трансформаторов с большим диапазоном
регулирования желательно в качестве основной стороны выбирать регулируемую
сторону, т.е. сторону ВН.
. Определяем первичный ток срабатывания защиты по двум условиям:
а) по условию отстройки от максимального расчетного тока небаланса в реле
при трехфазном внешнем КЗ:
где
kотс= 1,5.
Расчетный
максимальный ток небаланса на Iнб.расч
состоит из трех составляющих:
сначала
считаем по двум составляющим
Составляющая
тока небаланса Iнб.расч,
вызванная погрешностью трансформаторов тока, определяем по выражению:
где
IКЗмакс -
ток трехфазного КЗ, приведенный к напряжению основной стороны; E -
относительное значение тока намагничивания трансформаторов тока, принимаем
равным 0,1; kодн -
коэффициент однотипности, принимаем равным 1; kапер - коэффициент, учитывающий переходный режим,
принимаем равным 1 для реле РНТ-565.
Составляющую
I"нб.расч, обусловленную регулированием
напряжения защищаемого трансформатора, определяем как
I’’нб.расч=DU×IКЗмаксВН,
где
DU -
половина суммарного диапазона регулирования напряжения на трансформаторе (если DUр.пн= ± 16%, то DU=0,16), Iнб.расч
учитываем только для трансформаторов с большим диапазоном регулирования.
Затем
рассчитываем Iсз без
учета I’’’нб.расч:
2. Производим предварительную оценку чувствительности защиты:
устанавливаем
защиту на реле ДЗТ-11.
4. Рассчитываем ток срабатывания для основной стороны:
5. Определяем расчетное число витков обмотки НТТ основной стороны:
Полученное
значение округляем до ближайшего меньшего целого числа:
Уточненное
значение тока срабатывания для основной стороны:
6. Определяется расчетное число витков обмотки для неосновной стороны:
где
Iосн, Iнеосн - вторичные токи в плечах защиты для основной и
неосновной стороны.
Полученное
значение по округляем до ближайшего меньшего целого числа:
Принимаем
.
Вычисляем составляющую тока небаланса:
где
IКЗ макс
- ток трехфазного КЗ.
.
Определяем уточненное значение первичного тока срабатывания защиты с учетом I'"нб
,
где
kотс=1,3.
9. Рассчитываем число витков тормозной обмотки реле
ДЗТ-11. Для обеспечения несрабатывания реле при внешних КЗ на тормозной обмотке
реле должно быть включено число витков
где
kотc=1,3; Iнб.расч - расчетный ток небаланса; wраб.расч -
расчетное число витков рабочей обмотки реле на стороне, где включена тормозная
обмотка; IКЗмакс -
ток переходного КЗ; tga - тангенс угла наклона к оси абсцисс касательной,
проведенной из начала координат к характеристике срабатывания реле,
соответствующей минимальному торможению (в данной работе tga=0,80).
Принимается ближайшее большее число витков тормозной
обмотки. На тормозной обмотке реле ДЗТ-11 могут быть установлены следующие
числа витков: 1, 3, 5, 7, 9, 11, 13, 18, 24.
. Определяем коэффициент чувствительности при
двухфазном КЗ (kч³2).
. Выбираем место включения тормозной обмотки реле
ДЗТ-11. На двухобмоточных понижающих трансформаторах с односторонним питанием
включаем тормозную обмотку в плечо защиты со стороны низшего напряжения
трансформатора для исключения влияния тормозной обмотки при КЗ в зоне действия
защиты (рис. 5).
Рис
.5. Дифференциальная защита с торможением
Максимальная токовая защита
трансформаторов ГПП
Для двухобмоточных трансформаторов МТЗ устанавливается
только на стороне высшего напряжения и является для трансформатора Т1 с защитой
от внешних КЗ, а также резервирует основную (дифференциальную) защиту.
. Определяем ток срабатывания.
Ток срабатывания МТЗ отстраиваем от максимального
рабочего тока трансформатора с учетом самозапуска двигателей и вычисляем по
выражению

Так
как трансформатор питает секционированные шины, то необходимо согласовать ток
срабатывания защиты трансформатора с током срабатывания защиты на секционном
выключателе:
2. Рассчитываем ток срабатывания реле:
.
Определяем коэффициент чувствительности:
Принимаем к установки реле РТ-40/20.
Ток уставки 13,18 А.
Защита от перегрузки трансформаторов
ГПП
Ток срабатывания защиты от перегрузки выбирается по условию отстройки от
номинального тока трансформатора:
где
kотс=1,05.
Определяем ток срабатывания реле:
Принимаем
к установки реле РТ-40/6.
Ток
уставки 5,71 А.
Разработка устройства АВР
Автоматический ввод резерва (Автоматическое включение резерва)- способ
обеспечения резервным электроснабжением нагрузок, подключенных к системе
электроснабжения, имеющей не менее двух питающих вводов и направленный на
повышение надежности системы электроснабжения. Заключается в автоматическом
подключении к нагрузкам резервных источников питания в случае потери основного.
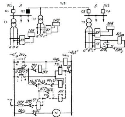
Одностороннее АВР.
При одностороннем АВР пуск органов устройства подключается к Т1 (рис.
6.), установленному на шинах резервируемой подстанции А, а в качестве источника
оперативного питания используется Т2, подключаемый к резервной линии W3.
На рис. . в схеме устройства АВР сплошными линиями показана схема
оперативного тока устройства одностороннего АВР. При исчезновении напряжения на
шинах подстанции А реле 1ПВ с выдержкой времени tс.АВР замыкает свои
контакты в цепи КА1В и отключает Q1. При этом замыкается его вспомогательный контакт 1В2
и, если пружины привода выключателя Q2 заведены (КГП1,2В замкнут), происходит включение Q2. Если причиной исчезновение питания
явилось устойчивое КЗ на шинах, то включившийся действием АВР отключается
релейной защитой и вновь не включается, поскольку запас энергии пружин привода Q2 исчерпан: КГП разомкнут. Пружины от
двигателя M автоматического моторного редуктора
выключателя Q2 заведены быть не могут, так как
цепь двигателя M разомкнута на
вспомогательном контакте 1В3.
При исчезновении рабочего питания вследствие отключения Q1 включение резервной линии
происходит без выдержки времени. При отсутствии напряжения на резервной линии
АВР не произойдет, так как в этом случае оперативное питание схемы АВР
отсутствует.
Рис. 6. Принципиальная схема АВР.
Разработка устройства АВР секционного выключателя Q12
Время срабатывания АВР:
Напряжение
срабатывания реле минимального напряжения:
Напряжение
срабатывания реле максимального напряжения:
Разработка
устройства АВР секционного выключателя Q5
Время
срабатывания АВР:
Напряжение
срабатывания реле минимального напряжения:
Напряжение
срабатывания реле максимального напряжения:
АВР
трансформаторов
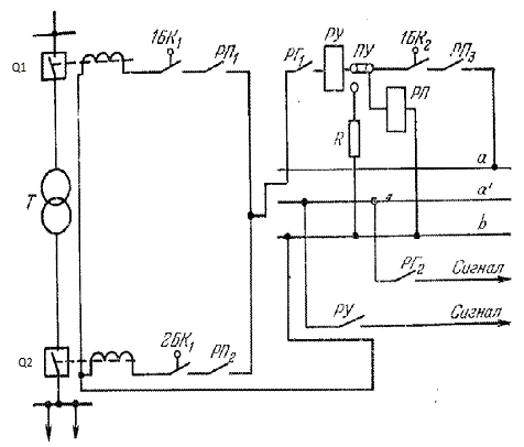
Питание секций шин подстанций осуществляют от двух рабочих
трансформаторов Т1 и Т2.Секционый выключатель 5В нормально отключен и
включается под действием средств АВР при отключении любого рабочего
трансформатора. Нормально выключатели Q1и Q3 включены и обмотки промежуточных
реле 1ПВ и 2ПВ обтекаются током, их замыкающие контакты замкнуты. При
отключении одного трансформатора, например Т1, средствами защиты или по
какой-либо другой причине выключатель Q1 отключается, размыкает свой замыкающий контакт в цепи электромагнита
отключения 1ЭО и замыкает размыкающий контакт в цепи 1ЭВ (цепи 1ЭВ и 2ЭВ на
схеме не показаны).
Реле 1ПВ обесточивается, но так как оно работает с выдержкой времени при
отпадании, то его контакты остаются замкнутыми в течении заданной выдержки
времени. По цепи плюс-размыкающий контакт Q1-замыкающий контакт 1ПВ=У-размыкающий контакт Q5-5КВ-минус происходит включение
выключателя Q5 в случае включения на не
устранившееся КЗ предусматривают ускорение защиты на секционном выключателе.
Ускорение осуществляют контактами реле 1ПВ и 2ПВ, которые подают плюс на
контакт реле времени В (мгновенный) защиты секционного выключателя.
Промежуточное реле П срабатывает и отключает выключатель Q5. Так как оба трансформатора Т1 и Т2
питаются от одного источника, то при выходе из строя этого источника действие
АВР окажется бесполезным. Поэтому в рассмотренной схеме отсутствует пусковой
орган минимального напряжения.
Рис.8. Схема устройства АВР трансформаторов.
Газовая защита трансформатора
релейный
защита кабельный трансформатор
Обмотки большинства трансформаторов помещены в бак, залитый маслом,
которое используется как для изоляции обмоток, так и для охлаждения. При
возникновении внутри бака электрической дуги КЗ, а также при перегреве обмоток
масло разлагается, что сопровождается выделением газа. Это явление и
используется для создания газовой защиты.
Защита выполняется с помощью газового реле, установленного в трубе,
соединяющей бак трансформатора с расширителем. Газовое реле состоит из кожуха и
двух расположенных внутри него поплавков, снабжённых ртутными контактами,
замыкающимися при изменении их положения. Оба поплавка шарнирно укреплены на
вертикальной стойке. Один из них расположен в верхней части, а второй - в
центральной. При слабом газообразовании (газ скапливается в верхней части
кожуха реле), а также при понижении уровня масла верхний поплавок опускается,
что приводит к замыканию его контактов. При бурном газообразовании потоки масла
устремляются в расширитель, что приводит к замыканию контактов обоих поплавков.
Контакты верхнего поплавка носят название сигнальных, а нижнего - основных
контактов газового реле.
Движение масла через газовое реле вызванное КЗ внутри бака
трансформатора, обычно является толчкообразным. Поэтому замыкание основных
контактов может быть ненадёжным (перемежающимся), что учитывается при
выполнении схемы газовой защиты трансформатора.
На рис. .изображена схема газовой защиты на переменном оперативном токе.
Выходное промежуточное реле защиты РП самоудерживается до отключения
выключателя 1В со стороны питания.
Поскольку газовая защита может сработать ложно, например, вследствие
выхода воздуха из бака трансформатора после доливки свежего масла, в схеме
защиты предусмотрено переключающее устройство ПУ и резистор R, с помощью которых действие газовой
защиты может быть переведено на сигнал. Достоинствами газовой защиты являются
простота выполнения, срабатывание при всех видах повреждения внутри бака
трансформатора, высокая чувствительность. Однако газовая защита, естественно,
не срабатывает при повреждениях вне бака трансформатора. Поэтому она не может
быть единственной основной защитой трансформатора.
Трансформаторы мощностью 1 МВА и более обычно поставляются комплектно с
газовой защитой.
Рис. 9. Принципиальная схема газовой защиты трансформатора.
Список
литературы
1. Релейная
защита и автоматика систем электроснабжения: учеб.-метод. пособие / Е.А.
Задкова. - Самара: Самар. гос. техн. ун-т, 2009. - 68 с.: ил.
. Засыпкин
А.С. Релейная защита трансформаторов. - Москва: Энергоатомиздат, 1989.
3. Кривенков В.В., Новелла В.Н. Релейная защита и автоматика систем
электроснабжения. - М.: Энергоиздат, 1985. - 328 с.
. Беркович М.А. Основы техники релейной защиты. - М.:
Энергоатомиздат, 1984. - 376 с.
. Андреев В.А. Релейная защита и автоматика систем
электроснабжения. - М.: Изд-во МЭИ, 2005.