Расчет силового трансформатора
Пермский
государственный технический университет
Кафедра МСА
УЧЕБНОЕ
ПОСОБИЕ
РАСЧЕТ
СИЛОВОГО ТРАНСФОРМАТОРА
Пермь 2005
ВВЕДЕНИЕ
Цель учебного пособия - оказать помощь студентам
в проектировании силовых трансформаторов типа ТМ специальности
"Электропривод и автоматизация горных работ" /0654/,
"Электропривод и автоматизация промышленных установок" /0628/,
"Электроизоляционная и кабельная техника /0603/.
Проект состоит из расчета трансформатора и
разработки его конструкции (1 лист чертежей формата 24).
Расчетная часть проекта начинается с определения
основных электрических величин - мощностей фазы, фазных значений тока и
напряжения, обмоток низкого и высокого напряжений (прилож. 1). Затем
определяются основные размеры трансформатора, рассчитываются обмотки низкого и
высокого напряжений, характеристики короткого замыкания, выполняется
окончательный расчет магнитной системы - расчет размеров и активных сечений
стержня и ярма, веса стали, потерь, тока холостого хода, определяется КПД трансформатора.
Далее выполняется тепловой расчет трансформатора и, наконец, выясняются
основные технико-экономические показатели спроектированного трансформатора.
Проект должен быть представлен 1 листом чертежей
формата 24 и пояснительной запиской со всеми расчетами и обоснованиями по
выбору основных величин трансформатора. В записке должны содержаться: задание
на проектирование с исходными данными, исчерпывающий расчет всех требуемых
величин, графические построения внешней характеристики и кривой КПД, а также
эскизы сечения стержня, расположения обмоток, схемы соединений, конструкции
охладительной системы (с указанием основных размеров) и т.д.
Расчетные формулы и другие материалы, взятые из
литературных источников, необходимо давать со ссылкой, указываемой в скобках
номером, под которым этот источник значится в перечне литературы.
В перечне нужно приводить фамилию и инициалы
автора, название литературного источника, издательство и год издания.
При расчетах следует пользоваться системой СИ
Пояснения в записке необходимо давать кратко,
соблюдая техническую терминологию и ссылаясь на соответствующие расчеты,
таблицы, графики.
Расчетные схемы, графики, эскизы нужно
сопровождать пояснительными надписями и нумеровать. Графики следует выполнять
на миллиметровой бумаге размером 203х288 мм или 407х288 мм. При
изображении схем надо пользоваться указанием стандартов ЕСКД.
Записка пишется от руки, чернилами, на писчей
бумаге стандартного формата. В конце ее должна стоять подпись исполнителя
проекта.
Задание, пояснительная записка, схемы, эскизы,
графики должны быть сброшюрованы в одну тетрадь с обложкой из чертежной бумаги,
на которой указывается наименование института, кафедры, проекта, фамилия
студента и руководителя проекта, год.
Графическая часть проекта оформляется на одном
листе формата 24 согласно ГОСТу 2 723-68 /ЕСКД/.
На чертеже приводится общий вид трансформатора в
трех проекциях с разрезами, выявляющими осевое и радиальное строение обмоток НН
и ВН, строение стержня и ярма сердечника трансформатора, расположение выемной
части трансформатора в баке.
Чертеж выполняется карандашом. При его
исполнении следует пользоваться указаниями стандартов Единой системы
конструкторской документации /ЕСКД/.
В качестве объектов для курсового проектирования
могут быть рекомендованы силовые трехфазные масляные трансформаторы мощностью
от 25 до 2500кВА включительно с напряжением обмоток до 35 кВ и сухие трехфазные
трансформаторы мощностью от 25 до 1600кВА с напряжением обмоток до 10кВ.
Задания, как правило, должны предусматривать
применение холоднокатаной стали для магнитных систем и медного или алюминиевого
провода для обмоток.
РАСЧЕТ ОСНОВНЫХ ЭЛЕКТРИЧЕСКИХ ВЕЛИЧИН
. Мощность одной фазы
2. Мощность на один стержень
где nс - число
активных /несущих обмотки/ стержней трансформатора. Для нормальных силовых
масляных трехфазных трансформаторов
m= nс=3
. Фазное напряжение ВН:
для соединения в звезду
для соединения в треугольник
4. Фазное напряжение НН:
для соединения в звезду
для соединения в треугольник
5. Номинальный ток высокого
напряжения /ВН/
6. Номинальный ток низкого
напряжения/НН/
7. Номинальный фазный ток ВН:
для соединения обмоток в звезду
для соединения обмоток в треугольник
8. Номинальный фазный ток НН:
для соединения обмоток в звезду
для соединения обмоток в треугольник
9. Испытательные напряжения обмоток:
для обмотки ВН - U1исп, кВ;
для обмотки НН - U2исп, кВ;
в зависимости от класса изоляции и
рабочего напряжения выбираются по табл. 4-1, 4-2, 4-5 работы [1].
. Заданная величина активной
составляющей напряжения короткого замыкания
где PК принимается
в ваттах, SН - в
киловольтамперах.
. Заданное значение реактивной
составляющей напряжения короткого замыкания
,
где UК -
напряжение короткого замыкания трансформатора.
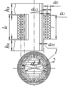
Главные размеры
Главные размеры трансформатора
называются диаметр стержня d, высота обмотки l и средний
диаметр канала рассеяния df,2 /рис. 4/.
Рис. 1. Запрессовка трехступенчатого
стержня путем расклинивания с жестким цилиндром
Рис. 2. Запрессовка ярма несущими
балками
Рис. 3. Четырехступенчатый стержень
с двумя продольными охлаждающими каналами
. Выбор конструкции сердечников
стержневых трансформаторов
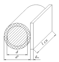
Поперечное сечение стержня обычно
выполняется в виде ступенчатой фигуры, вписанной в окружность /рис.1/, для
наибольшего заполнения сталью поперечного сечения окружности диаметром d, а также
для получения наиболее технологичных цилиндрических обмоток. Число ступеней в
сечении стержня определяется в зависимости от мощности трансформатора по
табл.2-2 работы [1]. Число ступеней стержня считается по числу углов в одной
четверти круга /рис.3/.
Форма поперечного сечения ярма
обычно выбирается более простой, чем поперечное сечение стержня (рис. 2).
Активное сечение ярма принимают равным сечению стержня или для уменьшения
потерь и тока холостого хода берут на 5-15% больше сечения стержня.
Конструкция ярма и стержня
сердечника, собранного из пластин, должна обеспечивать достаточную жесткость и
отсутствие вибрации листов при работе. Эти условия удовлетворяются, если
сердечник запрессовывается при напряжении сжатия между листами, равном 3-4
кг/см2. Для ярма такая сила сжатия обеспечивается запрессовкой между
двумя прессующими ярмовыми балками (рис. 2 и прилож.2) Для стержней различного
диаметра способ запрессовки выбирается по табл. 2-3 работы [1].
Охлаждение маслом магнитопровода со стержнем,
диаметр которого больше 35 см, не обеспечивается теплоотдачей с наружной
поверхности стержня. При d≥35
см применяют внутренние охлаждающие каналы. Размеры и число продольных каналов
могут быть выбраны из табл. 2-4 [1]. Продольные по отношению к листам каналы в
стержне продолжаются в ярме.
. Выбор марки стали я вида междулистовой изоляции
Сердечник трансформатора шихтуется из листовой
электротехнической стали следующих марок: горячей прокатки - Э41, Э42, Э45,
холодной прокатки - Э310, Э320, Э330. Трансформаторная листовая сталь
выпускается в основном толщиной 0,5 и 0,35 мм.
Рис. 4. Основные размеры трансформатора:
- обмотка ВН;
- обмотка НН
Между листовой изоляцией может служить бумага
или лаковое покрытие. Односторонняя оклейка листов стали бумагой толщиной 0,33
мм обеспечивает надежную электрическую изоляцию между листами сердечника. Такая
оклейка дешевле лаковой. Однако двухсторонняя лаковая изоляция механически
прочнее, имеет большую теплопроводность, выдерживает более высокую температуру
и имеет меньшую толщину.
. Общий коэффициент заполнения сталью КС=ККР-КЗ,
где ККР - коэффициент заполнения площади круга площадью ступенчатой
фигуры; КЗ - коэффициент заполнения площади ступенчатой фигуры
сталью, учитывающий толщину изоляционного слоя и неплотность запрессовки
листов. Значения ККР и КЗ выбираются из табл. 2-1, 2-6
[1].
. Выбор индукции в стержне BC.
Рекомендуемые значения индукции в стержне BC
для различных марок стали приведены в табл. 2-9 [1].
16. Диаметр стержня
Трансформатор
может быть выполнен при различных соотношениях между числом витков обмотки W и диаметром
стержня
По методике, предложенной П.М.
Тихомировым, критерием экономичности по выбору оптимальных главных размеров
трансформатора является коэффициент
, равный отношению средней длины
витка двух обмоток трансформатора к их высоте
Оптимальные значения коэффициента β выбираются
по табл. 12-1 работа [1].
Определение диаметра стержня
, см
где
;
,см (рис. 4);
- ширина канала рассеяния;
- ширина обмотки НН;
- ширина обмотки ВН.
Минимальная ширина канала рассеяния
выбирается
(табл. 4-5; 4-15 [I]) из условия электрической прочности изоляции по
испытательному напряжению обмотки ВН.
Радиальные размеры обмоток НН и ВН
могут быть предварительно рассчитаны по формуле
, см но не должны быть меньше 1,2
см. Значение
в этой
формуле для
от 15 до
100 КВА следует брать равным 0,5, для
выше 100 КВА - равным 0,4.
Окончательные размеры
и
устанавливаются
после расчета и выбора соответствующих обмоток.
. Средний диаметр канала рассеяния:
.
Размер канала
/см. рис 4/
определяют по табл. 4-4 [1]. Ширина обмотки НН предварительно может быть
рассчитана по опытной формуле
см (принимается не менее 1,3см)
Коэффициент К в этой формуле может
иметь следующие значения:
для трансформаторов с напряжением до
35 кВ
;
для трансформаторов с напряжением ВН
110 кВ
.
. Высота /осевой размер/ обмотки
. Активное сечение стержня /чистое
сечение стали/
. Электродвижущая сила одного витка
21. Число витков в обмотке НН
Значение
округляют
до целого числа и уточняют ЭДС витка.
. Уточнение ЭДС одного витка:
где
- число витков обмотки НН,
округленное до целого.
. Уточнение индукции в стержне:
Здесь
- уточненное значение ЭДС одного
витка.
Выбор конструкции изоляции и
минимально допустимых изоляционных расстояний
Конструкция изоляции и допустимые
расстояния выбираются одновременно с выбором конструкции обмоток их расчетом.
Выбор главной изоляции обмоток
/изоляция заземленных частей и между обмотками/. Основные размеры изоляционных
деталей с учетом производственных допусков и минимально допустимые изоляционные
расстояния могут быть выбраны для обмотки НН по табл. 4-4 [1], а для обмотки ВН
по табл. 4-5 [1].
Выбор витковой изоляции. Изоляцией
между витками обычно служит собственная изоляция проводника. Марка и толщина
изоляции провода для различных значений
могут быть выбраны по табл. 4-6
[1].
Выбор междуслойной изоляции зависит
от принятой конструкции обмотки. В многослойных цилиндрических обмотках из
круглого провода размеры междуслойной изоляции выбираются по табл. 4-7 [1]. В
двухслойной цилиндрической обмотке из прямоугольного провода междуслойная
изоляция обычно выполняется из электротехнического картона (табл. 4-8 [1]).
При этом для механической прочности
желательно выбирать два слоя картона толщиной не менее 0,5 мм каждый.
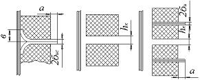
Выбор междукатушечной изоляции.
Изоляцией между катушками могут служить угловые /рис. 5, а / и простые /рис. 5,
в / шайбы или радиальные масляные каналы /рис. 6/.
Рис. 5. Варианты конструкции междукатушечной
изоляции:
bис -
0.5 мм, а≥6 мм, в=6÷8 мм, а -
круглый провод, б, в - прямоугольный провод
Рис. 6. Определение радиальных размеров
двухслойной обмотки НН
Изоляционные расстояния отводов выбираются по
данным табл. 4-11, 4-12, 4-13, 4-14 [1].
Выбор изоляции вводов /проходных
изоляторов/:
до 25 55 55
85
Минимально допустимые изоляционные
расстояния, см:
между вводами равных обмоток и от
линейного до нулевого ввода 9,0 15,5 20,0 35,0
между линейными вводами одной обмотки от ввода
до расширителя 8,5
12,0
19,0
30,5
или до выхлопной трубы 11,0 14,0 21,5 54,0
от ввода до крана, оправы термометра и т.д. 9,0
15,5 20,0 32,0
Минимальное расстояние между фарфоровыми частями
вводов должно быть не меньше одной трети расстояния между линейными вводами.
Выбор и расчет обмоток
Конструкция обмотки должна обеспечивать
достаточную электрическую прочность, механическую прочность, нагревостойкость.
В тех случаях, когда можно применить два
различных типа обмотки, следует отдавать предпочтение типу более простому и
дешевому.
. Предварительно значение средней плотности тока
где коэффициент
учитывает
наличие добавочных потерь в обмотках, в отводах, в стенках бака и т.д. и может
быть определен из табл. 3-6 [1].
Полученное значение
следует
сверить с приведенными в работе [1] практически применяемыми плотностями токов
/табл.5-7/.
Плотность тока в каждой из обмоток
может отличаться от среднего значения не более чем на
, причем
желательно для обмотки НН - в меньшую сторону, а для обмотки ВН - в большую.
. Ориентировочное сечение витка:
обмотки ВН
обмотки НН
. После определения средней
плотности тока и ориентировочного определения сечения витка для каждой из
обмоток можно выбрать тип обмоток НН и ВН по табл. 5-8 [1].
Расчет обмоток НН должен
сопровождаться соответствующими эскизами отдельных частей и всей обмотки.
Расчет цилиндрических обмоток из
прямоугольного провода
Число слоев обмотки обычно равно
двум. Для трансформаторов мощностью на один стержень до 3-10 кВА и в отдельных
случаях для более мощных обмотка может быть намотана в один слой.
. Число витков в слое:
для однослойной обмотки
для двухслойной обмотки
28. Определяется предварительный
осевой размер (высота) витка
по рис.6:
. По полученным значениям
и
из
сортамента обмоточной меди для трансформаторов (табл. 5-2 [1]) подбираются
подходящие провода с соблюдением следующих правил:
Рис. 7. Определение высоты витка
Рис. 8. Определение размеров витка винтовой
обмотки
А. число параллельных проводов
, из которых
образуется виток, не должно превышать четырех;
Б. число различных размеров проводов - не более
двух;
В. радиальные размеры всех параллельных проводов
витка равны между собой;
Г. при намотке на ребро отношение радиального
размера провода к осевому его размеру - не менее 1,3 и не более трех.
Размеры провода записываются так: число
параллельных проводов Х
или
Причем
,
где δ - толщина
изоляции на две стороны, мм (выбирается из табл. 5-2,а [1]) (рис. 7).
. Полное сечение витка, состоящего
из
параллельных
проводов:
где
- сечение одного провода, найденное
из табл. 5-2а [1], мм
. Уточненная плотность тока,
используемая в дальнейших расчетах обмотки НН,
32. Окончательная ширина /радиальный
размер/обмотки по рис.7:
для однослойной обмотки
;
для двухслойной обмотки
,
где
- ширина осевого масляного канала
между слоями /табл. 1/
|
Длина
канала /высота/ обмотки, см
|
Размеры
каналов, см
|
|
Между
обмотками
|
Между
обмоткой и цилиндр.
|
Между
обмоткой и стержнем
|
|
30
|
0,4-0,5
|
0,4
|
0,4-0,5
|
|
30-50
|
0,5-0,6
|
0,5
|
0,5-0,6
|
|
50-100
|
0,6-0,8
|
0,5-0,6
|
0,6-0,8
|
|
100-150
|
0,8-1,0
|
0,6-0,8
|
0,8-1,0
|
В обмотке без канала между слоями вместо
значения ширины канала следует подставить в формулу значение толщины
междуслойной изоляции. В этих обмотках, по соображениям механической прочности,
в качестве междуслойной изоляции рекомендуется брать два слоя картона толщиной
не менее 0,5 мм каждый.
. Окончательная высота /осевой размер/ обмотки
НН:
где
- высота одного витка по рис. 6.
. Внутренний диаметр обмотки НН:
Ширина канала
определяется
из условий изоляции и в зависимости от способа запрессовки стержня /табл. 4-4
[1]/.
. Наружный диаметр обмотки НН:
. Охлаждаемая поверхность обмотки.
Однослойная обмотка и двухслойная
обмотка без охлаждающего канала имеют две охлаждаемые поверхности /внутреннюю и
наружную/. Полная охлаждаемая поверхность обмотки НН в этом случае
,
где C - число
активных стержней;
двухслойная обмотка с каналом между
слоями имеет четыре охлаждаемые поверхности:
.
Коэффициент К учитывает величину
закрытия поверхности обмотки рейками и другими изоляционными деталями и может
быть принят равным 0,75.
При выборе и расчете обмотки ВН
следует учитывать необходимость выполнения в обмотке отпаек для регулирования
напряжения.
На входных катушках с двух концов
фазы выполняется усиленная изоляция. Расчет и конструирование обмотки ВН
следует сопровождать соответствующими эскизами.
. Число витков обмотки ВН для
средней ступени номинального напряжения
. Число витков для регулирования
напряжения
. Значения
и
округляют
до ближайшего целого числа.
. Число витков обмотки на
ответвлениях:
верхняя ступень напряжения
,
средняя ступень напряжения
,
нижняя ступень напряжения
.
. Предварительная плотность тока в
обмотке ВН
.
. Предварительное сечение витков
обмотки ВН
Расчет многослойной цилиндрической
обмотки из круглого провода
. По предварительному сечению
из
сортамента провода для трансформаторов /табл. 5-2в [1] / подбирается провод
подходящего сечения или два-три параллельных провода диаметром
без
изоляции и
в изоляции,
причем
, где
толщина
изоляции на две стороны.
Размеры подобного провода
записываются следующим образом:
марка провода
,
где
- число параллельных проводов.
. Полное сечение витка
,
где
-сечение одного провода.
. Уточненная плотность тока обмотки
ВН, применяемая в дальнейших расчетах,
. Число витков в слое
Как правило, обмотки НН и ВН для
удобства крепления выполняются одинаковой высоты, т.е.
.
46. Число слоев в обмотке
Величина
определяется
до ближайшего большего числа. Число витков в последнем слое может отличаться от
числа витков предыдущих слоев.
. Число витков в слоях:
. По условиям охлаждения обмотка ВН
в большинстве случаев выполняется в виде двух концентрических катушек с осевым
масляным каналом между ними. Число слоев внутренней катушки должно составлять
не более 1/3-2/5 от общего числа слоев. Масляный канал образуется с помощью
реек.
Рис. 9. Изоляция торцовой части
многослойной цилиндрической обмотки: 1 - экран, 2 - междуслойная изоляция, 3 -
бортики из электрокартона, 4 - витковая изоляция
. Рабочее напряжение между первыми
витками двух соседних слоев:
По напряжению двух слоев /рис. 9/
определяют /табл.4-7 [1] /:
толщину междуслойной изоляции
;
выступ изоляции за высоту обмотки.
Расположение катушек на стержне и
размеры радиальных каналов представлены на рис. 10.
Рис. 10. Схема определения осевых
размеров обмотки
. По испытательному напряжению
обмотки ВН
и мощности трансформатора
из табл.
4-5 [1] находят:
а/ размеры канала между обмотками ВН
и НН
;
б/ толщину цилиндра между обмотками
;
в/ величину выступа цилиндра за
высоту обмотки
;
г/ минимальное расстояние между
обмотками ВН соседних стержней
;
д/ толщину междуфазной перегородки
е/ расстояние обмотки ВН от ярма
;
. Радиальный размер обмотки:
для одной катушки без масляного
канала
для двух катушек с масляным каналом
между ними
где
- ширина масляного канала между
катушками.
. Внутренний диаметр обмотки
. Наружный диаметр обмотки
54. Расстояние между осями стержней
Размер C обычно
округляется до 1,0 или 0,5
. Поверхность охлаждения обмотки:
а/ одна катушка, намотанная
непосредственно на изоляционный цилиндр, имеет одну наружную поверхность
охлаждения
(к=1);
б/ одна катушка, намотанная на рейки
на цилиндре, имеет две поверхности охлаждения
(к=0,88)
в/ две катушки с осевым каналом
между ними / внутренняя катушка намотана непосредственно на цилиндре/ имеют три
поверхности охлаждения
(к=0,83)
г/ то же, но внутренняя катушка
намотана на рейки на цилиндре
(к=0,8)
В формулах коэффициент К учитывает
величину закрытия поверхности обмотки изоляционными деталями.
56. Вес меди обмотки НН:
. Вес меди обмотки ВН:
В этих формулах:
- удельный вес проводникового
материала, кг/дм3;
П - сечение витка, мм2;
D - диаметры
обмоток, см.
. Общий вес меди обмоток
, Кг
. Коэффициент добавочных потерь
. Электрические потери в обмотке НН
с учетом добавочных потерь:
, Вт.
. Электрические потери в обмотке ВН
с учетом добавочных потерь:
, Вт.
. Потери в обмотке НН, отнесенные к
единице охлаждаемой поверхности /плотность теплового потока/,
. Плотность теплового потока обмотки
ВН
Расчет параметров короткого
замыкания
Определение потерь короткого
замыкания
Потери короткого замыкания в
трансформаторе складываются из электрических потерь в обмотках, из добавочных
потерь в обмотках и отводах, а также из потерь в стенках бака и других
металлических элементах конструкции, вызванных потоком рассеяния обмоток и
отводов.
Не следует допускать отклонения
расчетных потерь короткого замыкания от заданных более чем на + 5%.
По условиям нагрева обмоток НН и ВН
полученные значения должны находиться в пределах 1000-1200 Вт/м2.
Предельные значения q не должны
превышать 1300-1500 Вт/м2. Если плотность теплового потока
какой-либо обмотки выше этих значений, необходимо снизить ее увеличив
поверхность охлаждения.
Электрические потери в отводах. На
рис.11 изображены наиболее употребительные практические схемы соединения
обмоток трансформатора в звезду и в треугольник. По рис. 11,а выполняют обычно
схемы соединения всех обмоток ВН, а по рис.11,б - схемы соединения обмоток НН в
звезду. Схемы соединения в треугольник для обмоток НН, в зависимости от расположения
начал и концов обмоток, могут выполняться по рис. 11,в или г.
Рис. 11. К определению длины отводов
. Общая длина отводов для
соединения:
а) по рис. 11,а
, см;
б) по рис. 11,б
, см;
в)
по рис. 11,в
;
г) по рис. 11,г
, см.
В этих формулах С - расстояние между
осями соседних стержней,
- высота
стержня,
и
- высота
обмоток,
- диаметр
стержня.
. Вес меди отводов НН:
, кг,
где
- в сантиметрах, а сечение отвода
- в мм2;
может быть
принято равным сечению витка обмотки НН.
. Потери в отводах обмотки НН
, вт.
. Вес меди отводов ВН
, кг.
. Потери в отводах обмотки ВН
, вт.
В нормальных силовых трансформаторах
потери в отводах составляют, как правило, не более 5-8% от потерь короткого
замыкания.
Потери в стенках бака и других
стальных деталях. Потоки рассеяния частично замыкаются через стенки бака, а
также через стальные детали - прессующие балки, ярма, стяжные шпильки и т.д.
. Минимальные размеры бака в плане
(рис. 12):
а) минимальная длина
, см;
б) минимальная ширина
, см.
Рис. 12. Основные размеры бака
S1
- от обмотки ВН до отвода НН;
S2
- от отвода НН до стенки бака;
d1
- диаметр отвода НН;
S3=S1
- от обмотки ВН до отвода ВН;
S4
- от отвода ВН до стенки бака;
d2
- диаметр отвода ВН;
S5
- от обмотки ВН до стенки бака /по длине бака/.
. Ориентировочно потери в стенках бака и других
стальных деталях определяются по формуле
, вт,
где
- поток одного стержня, вт;
- высота обмотки, см;
- периметр гладкого бака, см;
R - средний
размер бака, см;
- средний размер канала рассеяния,
см; причем
см,
см.
В трехфазном трансформаторе при
<10,5%
коэффициент К=2,2, а при
> 10,5%
К=1,5.
71. Полный вес обмоток
.
трансформатор фаза ток
напряжение
Напряжение короткого замыкания
72. При расчете трансформатора не
допускается отклонение напряжения короткого замыкания более чем на
5%.
В тех случаях, когда полученное
значение
отклоняется
на большую величину, приведение
к норме лучше всего осуществлять
корректировкой ар / за счет изменения канала рассеяния а12
/.или высоты обмотки l. Более значительное изменение
достигается
изменением числа витков.
В этом случае необходимо сделать
новый расчет трансформатора.
. Активная составляющая напряжения короткого
замыкания
%.
где S
- полная мощность трансформатора, кВА.
. Реактивная составляющая
%,
здесь
,
см;
,
.
Напряжение короткого замыкания трансформатора
%
Отклонение
от заданной
величины не должно превышать ± 5%.
Расчет потерь и тока холостого хода
Уточнение геометрических размеров
магнитопровода.
. Размеры пакетов стержня выбираются по табл.
8-2 работы [1] в зависимости от диаметра d
и количества пакетов п.
. Поперечное сечение каждого пакета стержня:
, см2
. Полное сечение ступенчатой фигуры
стержня
, см2
. Активное сечение стержня
, см2
. Полное сечение ярма
/предварительно/
, см2
. Ширина ярма:
для магнитопровода без охлаждающих
каналов
, см;
для магнитопровода с охлаждающими
каналами
, см.
- число продольных каналов,
- ширина
канала.
. Высота ярма при прямоугольном
сечении:
для магнитопроводов без охлаждающих
каналов
, см,
для магнитопровода с охлаждающими
каналами
, см.
. Уточненное полное сечение прямоугольного ярма
, см2
. Активное сечение прямоугольного ярма
, см2
. Длина стержня
, см,
- расстояние от обмотки до верхнего
или нижнего ярма (табл. 4-5, 4-7 [1])
. Вес стали в стержнях
, кг, где С - число стержней
. Вес стали в ярмах:
вес частей ярм, заключенных между
осями крайних стержней
, кг,
где С - расстояние между осями
соседних стержней;
вес стали в угловых частях ярма
, кг.
Формулы справедливы только для ярма
прямоугольного сечения. Для ступенчатого ярма вес угловых частей определяют
раздельно по пакетам.
. Полный вес стали в двух ярмах
, кг.
. Полный вес стели трансформатора
, кг.
Потери холостого хода
. Уточненное значение индукции в
стержне
, Тл.
91. Уточненное значение индукции в ярме
, Тл.
. Удельные потери в стали
и
определяют
соответственно, индукциям
и
и марке
стали по табл. 8-3, 8-4 [1].
. Потери холостого хода
, Вт,
где
=1,0-1,15 - коэффициент добавочных
потерь (§ 8-2 [1]).
. Активная составляющая тока
холостого хода
%.
. Удельную намагничивающую мощность
для стержня
, для ярма
и для
зазоров
/по
/определяют
по табл. 8-8, 8-9 [1].
. Намагничивающая мощность
трансформатора при холостом ходе
, В*А,
где
- число воздушных зазоров /стыков/
в магнитопроводе.
97. Индуктивная составляющая тока холостого хода
трансформатора
%
98. Полный ток холостого хода трансформатора
%.
Отклонение расчетной величины от
заданной не должно превышать + 15%.
КПД и падение напряжения при
нагрузке
. КПД от коэффициента загрузки
где
- коэффициент нагрузки
трансформатора.
Задаваясь b = 0,25; 0,5; 0.75; 1.0; 1.25
при cosj2 = const построим
зависимость h = f(b)
. Максимальный КПД трансформатора
Где
.
. Зависимость вторичного напряжения
от нагрузки
, В
Где
,
Или
,
Внешняя характеристика
трансформатора
Тепловой расчет трансформатора
Схема теплового расчета и расчета охладительной
системы включает:
а) поверочный тепловой расчет обмоток;
б) расчет охладительной системы (бака),
в) окончательное определение превышений
температуры обмоток и масла над температурой воздуха;
г) определение веса масла и размеров
расширителя.
Поверочный тепловой расчет обмоток
Методика поверочного расчета обмоток зависит от
их конструкции. Рассмотрим двухслойную цилиндрическую обмотку из прямоугольного
провода и многослойную цилиндрическую обмотку из круглого провода.
Обмотка двухслойная цилиндрическая из
прямоугольного провода.
. Внутренний перепад температуры обмоток
, ºС,
где
- односторонняя толщина изоляции,
см; при наличии общей изоляции катушки величину
следует определять как суммарную
толщину изоляции провода и катушки на одну сторону;
- плотность
теплового потока Вт/м2;
- теплопроводность изоляции
нровода, Вт/смºС,
применяется в зависимости от материала изоляции.
.Перепад температуры между
поверхностью обмотки и маслом
, ºС.
. Превышение температуры обмотки над
средней температурой масла:
.
Многослойная цилиндрическая обмотка
из круглого провода без горизонтальных каналов (рис. 13).
.Удельные потери обмотки
определяются как потери в меди, отнесенные к 1 см3 общего объема
обмотки:
, Вт/ см3
где
- плотность тока в обмотке, А/мм2,
значения
приняты в
сантиметрах (рис. 14).
Рис. 13. Теплопередача внутри многослойной
обмотки из круглого провода
Рис. 14. Часть обмотки с междуслойной изоляцией
из круглого провода
Условная теплопроводность обмотки, без учета
междуслойной изоляции,
, Вт/смºС,
где
- теплопроводность изоляции
провода. Обычно изоляцией служит кабельная бумага, пропитанная лаком и
погруженная в масло, тогда
, Вт/смºС;
, см
Средняя теплопроводность обмотки,
приведенная к случаю равномерного распределения витковой и междуслойной
изоляции
Вт/смºС,
где
- теплопроводность междуслойной
изоляции.
Полный перепад' температуры внутри
обмотки
, ºС.
где d - полная
односторонняя толщина обмотки (см. рис. 13). Средний перепад температуры по
обмотке
, ºС
. Перепад температуры между
поверхностью обмотки и маслом
, ºС.
При наличии каналов в катушечной
обмотке из круглого провода (рис. 15) полный внутренний перепад определяется по
формуле:
, ºС.
Теплопроводности по осям
определяются:
- по
формуле для
,
- формуле
для
(см.п.102).
107. Среднее превышение температуры обмотки над
средней температурой масла:
, ºС.
Рис. 15. Катушечная обмотка из круглого провода
с каналами
Рис. 16. К определению перепада температуры на
поверхности обмотки с горизонтальными каналами
Тепловой расчет бака и охладительной системы
Подробно конструкции охладительной системы
рассмотрены в работах [2,3].
Для силовых масляных трансформаторов
рекомендуется выбирать при мощности до 50-50 кВА баки с гладкими стенками, до
1800 кВА - трубчатые баки, свыше 1800 кВА - с радиаторами, причем, начиная с
10000 кВА, следует использовать баки с радиаторами и с искусственным дутьевым
охлаждением. Для определения перепада температуры используется рис. 16.
Трубчатый бак (рис. 17)
. Ранее(п. 69) минимальные внутренние размеры
бака определялись с учетом допустимых изоляционных расстояний ширины бака В
(см) и длины бака А (см). Общая глубина.бака (предварительно)
, см.
Здесь высота выемной части (см.рис.
12)
, см,
где h - толщина
подкладки (h=3-5), см;
- высота
ярма (см.п. 82).
Минимальное расстояние
при
напряжении ВН 6кВ равно 27 см, 10кВ - 30см, 20кВ - 30см, З5кВ - 47см.
Размер
может быть
увеличен в 1,5-2 раза, если это потребуется по условиям охлаждения. Полученные
значения А, В и Н следует округлить до нормальных габаритных размеров.
. Допустимый средний перегрев масла
(над воздухом)
, ºС,
где
- больший перегрев для обмоток ВН и
НН.
. Допустимый средний перегрев стенки
бака над воздухом
,
где
- превышение температуры масла над
стенкой бака, обычно
ºС.
. Поверхность теплоотдачи путем
излучения предварительно определяем как обтягивающую, т.е. определяемую внешним
периметром (рис. 18). Это обуславливается прямолинейным распространением
лучистой энергии.
Рис. 17. Размеры и детали трубчатого
бака
Для бака овального сечения в плане:
, м2
Для бака прямоугольного сечения в
плане
, м2.
Коэффициент К учитывает отношение
параметра излучения к поверхности гладкой части бака. Ниже приведены
приближенные величины К: гладкий бак-1,0; бак с охладителями-1,5-2,0. Большие
значения коэффициента К принимаются для большего числа рядов труб, для большого
тока охладителей.
. Поверхность теплоотдачи путем
конвекции (предварительно):
, м2.
Здесь
- суммарные потери трансформатора,
Вт; 1,05 - коэффициент, учитывающий возможные отклонения фактических потерь
единичного трансформатора. При расчете серии целесообразно принять коэффициент,
равный 1.1.
. Фактические конструктивные размеры
бака выбирают так, чтобы подучить поверхности конвекции и излучения, наиболее
близкие к определенным расчетом.
Пусть окончательно выбран бак
овальной формы (см.рис. 17). Размеры бака в плане АxВ, см;
глубина бака Н. см; число рядов труб п; число труб в ряду
. Периметр
бака в плане (гладкая часть)
, см.
Развернутая длина трубы
по рядам:
а) первый (внутренний) ряд
, см,
б) второй ряд
, см,
д) третий ряд
, см,
Здесь t - шаг труб
в ряду и между рядами (t=1,5-2,0)d;
определяются
по рис. 17. Параметр трубы d принимается равным 4-5 см.
. Общая длина всех труб
, см.
. Параметр поперечного сечения трубы
, см.
. Полная поверхность всех труб
, м2.
. Поверхность конвекции гладкой
части бака
, м2.
. Поверхность крышки
, м2.
Здесь
- ширина крышки, см;
- длина
крышки, см; ширина рамы
при
мощностях от 10 до 5600 кВА принимается равной 4-10 см.
Поверхность конвекции труб
, м2.
Коэффициент
учитывает
ухудшение теплоотдачи путем конвекции вследствие уменьшения скорости воздуха
между трубами. В зависимости от числа рядов труб
имеет следующие значения: число
рядов труб n 1 2 3 4
1,0 0,96 0,93 0,90
. Суммарная приведенная поверхность
конвекции
Здесь
- коэффициент, учитывающий
улучшение конвекции у поверхности труб по сравнению с гладкой стенкой;
=0,5 -
коэффициент, учитывающий величину закрытия поверхности изоляторами и арматурой.
. Поверхность излучения определяется
параметром, равным длине нити, обтягивающей бак по трубам (или охладителям), и
высотой бака:
, м2
Бак с радиаторами
. По минимальным изоляционным расстояниям ранее
были определены минимальные размеры бака.
Минимальная ширина бака
, см.
. Минимальная длина бака А =2С+В,
см.
123. Глубина бака
, см.
Примем округленные значения В, А и Н.
. Допустимый средний перегрев масла над воздухом
, ºС.
Где
- больший перегрев обмотки (ВН или
НН) над маслом.
. Допустимый средний перегрев стенки
бака над воздухом.
, ºС.
где
- превышение температуры масла над
стенкой бака; обычно
принимается
в пределах 3-6°С.
. Поверхность теплоотдачи излучением
предварительно определяется внешним периметром (рис. 18) по охладителям, так
как энергия излучения распространяется прямолинейно:
, м2
Значения коэффициента К для бака с
охладителями приведены в п. 3.
Рис. 18. К определению эквивалентной поверхности
излучения: а - гладкий бак, б - трубчатый бак, в - бак с охладителями
. Поверхность теплоотдачи путем конвекции
(предварительно) вычисляется по формуле
Здесь 1,05 - коэффициент,
учитывающий отклонение фактических потерь от расчетных для единичного
трансформатора. При расчете серии этот коэффициент следует принять равным 1,1.
. Фактические конструктивные размеры
бака подбирают так, чтобы получить поверхности конвекции и излучения примерно
равными предварительно рассчитанным (рис. 19).
Рис. 19. Трубчатый охладитель
Пусть выбраны: число охладителей r, число
рядов труб в охладителе n, число труб в ряду m, полная
длина труб в рядах
(табл. 9-9
[1]).
. Поверхность конвекции одного
охладителя:
а) для двойного охладителя (см. рис
19).
, м2
б) для одинарного охладителя, где
трубы располагаются только с одной стороны коллектора.
, м2
Здесь развернутая длина труб
различных рядов:
,
,
и т.д.,
причем t=(1,5-2)d -шаг трубы;
определяются
по рис. 19, К=1,4 - коэффициент, учитывающий улучшение конвекции воздуха и
поверхности трубы по сравнению с гладкой вертикальной стенкой;
-
поверхность конвекции одного коллектора, равная его геометрической поверхности.
. Поверхность конвекции гладкой
части бака:
, м2
. Поверхность крышки
, м2
где
- ширина крышки, см;
- длина крышки, см.
Ширину угольника рамы
принимаем
равной 8 см (от 4 до 10 см).
. Суммарная приведенная поверхность
конвекции:
, м2
Здесь r - число
охладителей;
=0,5 - коэффициент, учитывающий
закрытие части поверхности крышки изоляторами и арматурой.
Рис.20. Бак с охладителями
. Поверхность излучения
, м2,
где
-параметр, равный длине нити,
обтягивающей бак с охладителями (рис. 20).
Определение фактических перегревов
Определение фактических перегревов
производится на базе определенных потерь и поверхностей охлаждения (конвекцией
и лучеиспусканием), причем потери единичного трансформатора увеличиваются на
5%, а при расчете серии - на 10% против гарантированной величины
. Это
делается для того, чтобы учесть возможное отклонение опыта от расчета.
. Средний перегрев стенки бака
(трубы) над воздухом:
, ºС.
Как указано выше, К=1,05-1,1.
. Средний перегрев масла вблизи стенки по
сравнению с температурой стенки бака
, ºС
Здесь
- сумма поверхностей конвекции
гладкой части, труб и крышки без коэффициентов ухудшения или улучшения
конвекции
. Перегрев верхних слоев масла над
окружающим воздухом
, ºС
Коэффициент
=1,2 для
трубчатых баков и баков с охладителями учитывает перегрев верхних слоев над
остальным маслом,
. Перегрев средних слоев масла над
воздухом
, ºС
. Перегрев обмоток над окружающим
воздухом:
обмотки ВН
, ºС
обмотки НН
, ºС
Перегрев обмоток над воздухом не
может превышать 70°С. Если перегревы
или
превышают допустимые значения или
значительно ниже их, то следует изменить систему охлаждения или принятые
нагрузки и произвести пересчет.
Определение веса масла и размер
охладителя
. Внутренний объем бака, труб,
радиаторов
подсчитывается
по.известным формулам. Значение
удобнее определять в дм3.
. Объем выемной части (приближенно)
, дм3
где
=5,5-6 кг/дм3 - средний
удельный вес внутренней части. Для сердечников, запрессованных деревянными
брусками, принимают меньшее значение
, для запрессованных швеллерами или
стальными балками - большее.
. Объем масла
, дм3
. Вес масла трансформатора
, кг
. Все трансформаторы мощностью выше
100 кВА и напряжением 6 кВ и выше снабжаются расширителями.
Объем расширителя принимается с
таким расчетом, чтобы при колебаниях окружающей температуры -35 до +35°С и
допустимых превышениях температуры масла в баке колебания уровня масла были в
пределах расширителя:
, дм3.
. Диаметр расширителя
Здесь
- длина расширителя, см. При
расположении его поперек крышки бака
- для гладкого бака,
- для
трубчатого бака или бака с радиаторами. Величина
определяется по рис. 17 или 19.
Технико-экономические показатели
. Удельный расход меди
, кг/кв*А
. Удельный расход электротехнической
стали
, кг/кв*А
. Основные технико-экономические
показатели сводятся в таблицу.
Приближенные веса меди и активной
стали серийных трехфазных трансформаторов берутся из технического справочника,
габаритные размеры - из каталогов [4].
ЛИТЕРАТУРА
1.
Тихомиров П.М. Расчет трансформаторов. М., "Энергия", 1975.
.
Сапожников А.В. Конструирование трансформаторов. К., Госэнергоиздат, 1959.
.
Сапожников А.В. Силовые трансформаторы /учебные таблицы/, М., Госэнергоиздат,
1955.
.
Государственные стандарты: ГОСТ 11677-65; ГОСТ 12022-66; ГОСТ 11920-66; ГОСТ
14074-68.
ПРИЛОЖЕНИЕ 1
График выполнения курсового проекта
трансформатора
|
Наименование
этапа проекта
|
Оценка
этапа, %
|
Всего,
%
|
Недели
по календарю
|
|
Определение
диаметра стержня
|
10
|
10
|
1-2
|
|
Электрический
и магнитный расчет
|
30
|
40
|
2-6
|
|
Тепловой
расчет
|
10
|
50
|
7-8
|
|
Конструктивный
чертеж
|
30
|
80
|
9-12
|
|
Экономический
чертеж
|
10
|
90
|
12-13
|
|
Оформление
пояснительной записки
|
10
|
100
|
13-14
|
|
Защита
проекта
|
-
|
-
|
14
|
ПРИЛОЖЕНИЕ 2
. Установка обмоток
|
Таблица
листов сердечника
|
|
|
|
|
|
|
|
|
|
|
|
|
|
|
|
|
|
|
|
|
|
|
|
|
|
|
|
|
|
|
|
|
|
|
|
|
|
|
|
|
|
|
|
|
|
|
|
|
|
|
|
|
|
|
|
|
|
|
|
|
|
|
|
|
|
|
|
|
|
|
|
|
|
|
|
|
|
|
|
|
|
|
. Остов трансформатора (М1:1,:2,5)
