Детекторы регистрации рентгеновского и мягкого гамма-излучения

  • Вид работы:
    Дипломная (ВКР)
  • Предмет:
    Физика
  • Язык:
    Русский
    ,
    Формат файла:
    MS Word
    1,6 Мб
  • Опубликовано:
    2012-12-03
Вы можете узнать стоимость помощи в написании студенческой работы.
Помощь в написании работы, которую точно примут!

Детекторы регистрации рентгеновского и мягкого гамма-излучения















Детекторы регистрации рентгеновского и мягкого гамма-излучения

Содержание

детектор регистрация ренгеновское излучение

1.Введение

. Аналитический обзор

2.1 Описание и обоснование выбора конструкции детектора

. Факторы, влияющих на сцинтилляционные характеристики детекторов рентгеновского излучения

3.1 Влияние концентрации активатора в кристалле детектора на сцинтилляционные характеристики

3.2 Влияние термообработки на сцинтилляционные характеристики кристаллов натрия йодистого, активированного таллием

3.3 Влияние конструкции детектора на сцинтилляционные параметры

4.       Спектрально-кинетические характеристики щёлочно-галоидных кристаллов при регистрации короткопробежного излучения

5. Влияние ряда факторов на параметр пик/долина рентгеновских сцинтилляционных детекторов

Выводы

Литература

Аннотация

В данной работе рассматривается вопрос по улучшению работы детекторов на основе щелочно-галоидных кристаллов для регистрации рентгеновского и мягкого гамма-излучения. Описаны различные методики, которые позволяют значительно улучшить сцинтилляционные характеристики детекторов, такие как: изменение толщены стекла выходного окна, калибровка концентрации активатора, выбор входной поверхности кристалла, термообработка кристалла. Литературный обзор показывает влияние этих методов на относительный световой выход. Экспериментально доказано улучшение параметра пик/долина рентгеновских сцинтилляционных детекторов, после обработки их данными методами.

В работе рассмотрены особенности радиолюминесценции щёлочно-галоидных сцинтилляторов при регистрации короткопробежного излучения. Спектрально-кинетические характеристики радиолюминесценции, происходящей в объеме кристаллов, исследовались многими авторами. Поглощение короткопробежного ионизирующего излучения происходит в поверхностном слое сцинтилляторов, поэтому на процесс люминесценции оказывают существенное влияние структура поверхности и изменение концентрации активатора на поверхности по сравнению с объемом кристаллов. В этом направлении проводились экспериментальные исследования. В качестве объектов экспериментов применялись щёлочно-галоидные сцинтилляторы Cs(Tl), Cs(Na) и NaI(Tl). Показано, что на спектрально-кинетические характеристики указанных сцинтилляторов, оказывает воздействие структура слоя, в котором происходит взаимодействие ионизирующего излучения с кристаллом.

Работа состоит из …. страниц, …… рисунка, …… таблиц.

Ключевые слова: радиолюминесценция, сцинтиллятор, ионизирующее излучение, детектор, спектр, высвечивание, послесвечение, световой выход, параметр пик/долина, разрешение.

Анотація

У даній роботі розглядається питання щодо поліпшення роботи детекторів на основі лужно-галоїдних кристалів для реєстрації рентгенівського і м'якого гамма-випромінювання. Описано різні методики, які дозволяють значно поліпшити сцинтиляційні характеристики детекторів, такі як, зміна товщини скла вихідного вікна, калібрування концентрації активатора, вибір вхідний поверхні кристала, термообробка кристала. Літературний огляд показує вплив цих методів на відносний світловий вихід. Експериментально доведено поліпшення параметра пік/долина рентгенівських сцинтиляційних детекторів, після обробки їх даними методами.

Условные обозначения

Сотн - относительный световой выход

ФЭУ - фотоэлектронный умножитель

П/д -пик/долина

R - энергетическое разрешение

отн.ед. - относительные единицы

1.Введение

При решении задач в ядерной физике, а также в рентгеноструктурном и рентгеноспектральном анализе возникла проблема спектрометрии мягких ионизирующих излучений и регистрации их с большой эффективностью.

Хотя полупроводниковые детекторы заменили сцинтилляционные во многих областях, однако сцинтилляционные детекторы все еще широко применяются вследствие их преимуществ, которые включают высокую эффективность регистрации в области низких энергий, высокую надежность и простоту в эксплуатации.

Эти свойства сцинтилляционных детекторов рентгеновского излучения обусловливают их широкое применение во многих областях науки и техники, в частности рентгеновские детекторы широко применяются в аппаратах для структурного и спектрального анализа, микроанализаторах и рентгеновских приборах различного назначения. Детектор представляет собой монокристаллическую пластину натрия йодистого, активированного таллием, заключенный в контейнер с входным окном из слабо поглощающего рентгеновское излучение и выходным окном, прозрачным для света сцинтилляций. Заданные параметры детекторов: диаметры монокристаллических пластин разрабатываемых детекторов 9, 16, 20, 25, 30 и 40 мм, наружные диаметры контейнеров не более 16, 20, 30, 35, 40 и 50 мм.

Детекторы должны сохранять конструкцию и быть работоспособны после воздействия вибрационных нагрузок в диапазоне частот (10-30) Гц с ускорением не более 1,5 д, температуры окружающей среды от 0 °С до +50 °С, относительной влажности 80% при температуре +40 °С.

Целью работы являлось обзор литературных данных о рентгеновских детекторах с высокими сцинтилляционными параметрами, которые используются в блоках детектирования и применяются в установках для рентгеноструктурного и рентгеноспектрального анализа.

2.Аналитический обзор

Во многих физико-технических задачах таких, как термоядерные исследования, рентгеноспектральный и рентгеноструктурный анализ, исследования в космосе и др., требуются эффективные методы регистрации рентгеновского и мягкого гамма-излучения. Оптимальным методом, с точки зрения решений этих вопросов, является использование сцинтилляционного счетчика с монокристаллом натрия йодистого, активированного таллием. Важным преимуществом детекторов на основе сцинтилляционных монокристаллов, наряду с высокой эффективностью регистрации, является возможность разделения рентгеновских фотонов по энергиям.

Сцинтилляционные детекторы рентгеновского излучения обычно представляют собой пластинку из монокристалла натрия йодистого, активированного таллием, заключенную в контейнер с входным окном из вещества, слабо поглощающего падающее излучение (например, бериллиевый диск или алюминиевой фольги). Для улучшения светособирания таких детекторов применяют различные отражатели: дакроновую пленку; помещенную между кристаллом и входным окном, специальным образом обработанный бериллий [1,2].

Одними из основных характеристик детекторов являются световой выход, энергетическое разрешение и эффективность регистрации излучения.

Относительный световой выход - Сотн - отношение сцинтилляционной эффективности одного сцинтиллятора к аналогичному параметру другого сцинтиллятора

Сотн =Vобр / Vэт*

* V-положение максимума пика, в каналах, спектра амплитуд импульсов, соответствующего возбуждению рентгеновским либо γ-излучением.

Энергетическое разрешение блока детектирования R определяется как свойствами детектора, так и фотоэлектронного умножителя - приемника света сцинтилляций. С достаточной степенью точности

,                                      (1)

где А - спектрометрическая постоянная ФЭУ, С - световой выход детектора,  - величина, пропорциональная вариации зонной чувствительности фотокатода.

,                                           (2)

 - дисперсия зонной чувствительности фотокатода в области, к которой присоединено входное окно детектора,  - квантовая чувствительность фотокатода ФЭУ.

При возбуждении сцинтилляций гамма-квантами низкой энергии собственным разрешением детектора  можно пренебречь.

Для детекторов и ФЭУ малых размеров (диаметр кристалла меньше или равен 20 мм, диаметр ФЭУ 25 мм) σ<<1 и . С увеличением диаметра фотокатода ФЭУ обычно увеличивается значение А.

Таблица 1. Значение разрешения блока детектирования и спектрометрической постоянной для ФЭУ разных диаметров.

Тип ФЭУ

Диаметр фотокатода

А

R,%

ФЭУ-35

28

50

45

ФЭУ-97

40

90

60

ФЭУ-110

80

120

70


Поскольку с увеличением диаметра ФЭУ обычно увеличивается неоднородность зонной чувствительности фотокатода, т. е. растет значение σ, то с увеличением диаметра детектора (а, следовательно, и диаметр фотокатода) должно существенно возрастать и разрешение блока детектирования.

Это обстоятельство необходимо учитывать при оценке качества самого детектора в отличие от качества блока детектирования, включающего детектора и ФЭУ. Более объективным параметром, характеризующим детектор является световой выход.

Рентгеновские сцинтилляционные детекторы выпускаются многими фирмами, такими как: «The Harshow Chemical Co» (США); «Гамма» (Венгрия); Bicron Corporation (США); Nuclear Enterpises (Великобритания); Quarts and Silic (Франция) [1,2,4,5]. У детекторов, выпускаемых до 1977 года, в качестве отражателя использовалась алюминиевая пленка, напыленная на кристалл [6]. В работе [7] было показано, что наличие оптического контакта между кристаллом и отражателем, что имеет место при напылении должно ухудшать условия для светособирания и, следовательно, приводит к ухудшению сцинтилляционных характеристик.

Так, фирма «The Harshow Chemical Co» выпускает детекторы рентгеновского излучения с кристаллом диаметром до 22 мм или сторонами квадрата до 16 мм и толщиной 2,5 мм. Разрешение лучших детекторов по гамма линии железа-55 составляет 43,5%.

Фирма Bicron Corporation выпускает детекторы рентгеновского излучения с диаметром сцинтиллятора 25 и 38 мм. Лучшее значение разрешения 46%. В каталоге [2] отмечается, что в качестве входного окна используется бериллиевая пластинка, обработанная специальным образом для оптимального отражения света. (Возможно на бериллий напыляется зеркальный отражатель).

Фирма «Гамма», указывает лучшее значение разрешения по линии железо-55 - 42,5%.

В таблице 2 приведены параметры сцинтилляционных блоков детектирования, выпускаемых зарубежными фирмами [9].

Таблица 2. Сцинтилляционные характеристики детекторов

Фирма

Тип детектора

Энергетическое равновесие, %

Диаметр кристалла, мм

Тип ФЭУ



Предельно допустимое

Лучшее





Указанное в каталоге или ТУ

Указанное в документах

Приведенное к ФЭУ ЕМI 9656



Harshaw, США


60

43,5

43,5

до22

-

Bricron Corporation, США

IXM040/213

55-60

46

46

25, 38

ХР1010

Гамма, Венгрия


-

42,5

42,5

25, 32

9656

Россия

Д106

52

45

46

20

ФЭУ-35


ТУ

62

52

46

25

ФЭУ-35


6.09.26-253-77

72

60

48

30

ФЭУ-97



85

65

55

40

ФЭУ-97

Украина

СДН.03

45

38,5

39,5

20

ФЭУ-35



52

42

41

25

ФЭУ-35



63

42

42

ФЭУ-97



63

53

48

40

ФЭУ-97


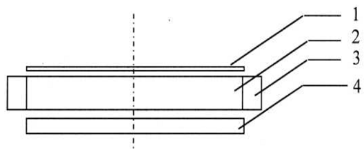
.1 Описание и обоснование выбора конструкции детектора

Принцип работы сцинтилляционного детектора заключается в преобразовании энергии ионизирующего излучения в световую энергию с последующей регистрацией световых вспышек, возникающих в объеме вещества - мишени детектора, светочувствительными приборами.

В соответствии с техническими требованиями в качестве вещества - основы детектора использован кристалл йодистого натрия, активированного таллием, плоской цилиндрической формы.

Поскольку кристаллы натрия йодистого обладает высокой гигроскопичностью, они должны быть упакованы в герметичный контейнер, стойкий к воздействию факторов, указанных в технических требованиях.

Монокристаллическая пластинка натрия йодистого толщиной 2 мм, выколотая по плоскости спайности или обработана механически, заключена в контейнер, (предохраняющий ее от влияния внешней среды) с входным окном из бериллия, толщиной 0,2 мм и выходным окном из оптического стекла толщиной 2 мм.

Рис.1 Эскиз конструкции детектора:

1.  отражатель;

2.  кристалл;

3.  боковой отражатель;4.оптическое стекло.

3. Исследование факторов, влияющих на сцинтилляционные характеристики детекторов рентгеновского излучения

.1 Влияние концентрации активатора в кристалле детектора на сцинтилляционные характеристики

Известно, что сцинтилляционные свойства монокристаллов натрия йодистого, активированного таллием, зависят от концентрации активатора[3]. Сцинтилляционная эффективность кристаллов натрия йодистого, активированного таллием, при гамма-возбуждении возрастет с увеличением концентрации талия в кристалле до 0,03-0,06 вес. % и остается постоянной до 0,25 вес. %. На основе этого при существующей технологии выращивания монокристаллов натрия йодистого методом Киропулоса на воздухе оптимальной считается концентрация талия в кристалле 0,05-0,07 вес.%.

Были исследованы зависимости сцинтилляционных характеристик рентгеновских детекторов от концентрации активатора при возбуждении люминесценции излучением низкой энергии в интервале 5-60 кэВ. Концентрация активатора в кристалле определялась после распаковки детектора полярографическим методом.

На рисунке приведена зависимость удельного светового выхода, (определяемого как отношение светового выхода к энергии излучения), от концентрации активатора при возбуждении люминесценции от нуклидов железа-55 (5,9 кэВ) и америций-241 (59,6 кэВ). Для сравнения показана теоретическая кривая (1) и экспериментальные данные, приведенные в работе [11].

Из рис. 2 следует, что в области концентрации активатора меньше (0,07-0,08) вес. % наблюдается отличие полученной нами концентрационной зависимости (2) от аналогичной, приведенной в работе [14,15], а также различие концентрационных зависимостей при возбуждении сцинтилляций излучением с энергией 5,9 кэВ и 60 кэВ (америций-241). Для концентрации таллия 0,02-0,03 вес. % удельный световой выход при возбуждении гамма-квантами с энергией 5,9 кэВ примерно на 15-20 % ниже, чем при возбуждении гамма-квантами с энергией 60 кэВ. Следует отметить, что нет заметного различия в ходе концентрационной зависимости уже для энергии выше 10 кэВ.

Рис. 2. Зависимость светового выхода от концентрации таллия.

1.     Расчетная кривая.

-экспериментальные данные

Х -экспериментальные данные для америция-241.

2.     Экспериментальная кривая для железа-55.

При возбуждении гаммa-квантами с более высокой энергией, например, 8,1 кэВ, (цинк-65) создаются электроны с энергией 3 кэВ, пробег которых (~ 60 Å) превышает среднее расстояние между активаторными центрами. При концентрации активатора 0,1 вес. % пробег электронов даже с такой низкой энергией (0,7 кэВ) уже превышает расстояние между таллиевыми центрами (40-50 Å) [14].

Полученные результаты позволяют сделать вывод о необходимости применения кристаллов с более высокой концентрацией таллия (~ 0,1 вес. %), предназначенных для изготовления детекторов рентгеновского излучения по сравнению с оптимальной концентрацией в кристаллах, предназначенных для изготовления детекторов более жесткого излучения. В табл. 3 представлены значения светового выхода для детекторов с различной концентрацией таллия [8].

Таблица 3. Значения светового выхода для детекторов с различной концентрацией таллия.

№ детектора

1

2

3

4

5

6

7

8

9

Концетрация Вес.,%

2,8∙10-2

1,4∙10-1

1,2∙10-1

3,5∙10-2

1,4∙10-1

5,3∙10-2

1,2∙10-1

1,1∙10-1

6∙10-2

С, УЕСВ

0,019

0,031

0,028

0,023

0,03

0,025

0,03

0,03

0,02


.2 Влияние термообработки на сцинтилляционные характеристики кристаллов натрия йодистого, активированного таллием

Известно, что в некоторых случаях термообработка сцинтилляционных монокристаллов приводит к усилению интенсивности свечения в полосе 420 нм [7].

В данной работе исследовалось влияние термообработки на сцинтилляционные характеристики кристаллов натрия йодистого, активированного таллием. Кристаллы подвергались специальной термической обработке, которая позволила повысить световой выход на 20%. На рис. 3 показаны спектры амплитудного распределения импульсов для исходного и термообработанного кристаллов [8].

Рис.3. Спектры амплитудного распределения импульсов кристаллов натрия йодистого, активированных таллием до термообработки (кривая 1) и после термообработки (кривая 2).

Термообработка кристаллов может быть использована для улучшения сцинтилляционных характеристик рентгеновских детекторов.

.3 Влияние конструкции детектора на сцинтилляционные параметры

Исследование зависимости сцинтилляционных характеристик от толщины оптического стекла, служащего выходным окном детектора [10,13]. Сцинтилляционные характеристики детекторов с выходным окном толщиной 2 мм ~ на 5-6% лучше, чем детекторов с выходным окном толщиной 3,5 мм. Особенно улучшение характеристик для детекторов с малым диаметром кристалла (9 мм).

Рис. 4. Зависимость светового выхода детектора от толщины стекла

-толщина кристалла 2 мм

- толщина кристалла 1 мм.

Очевидно уменьшение светового выхода с увеличением толщины стекла связано с потерями света при прохождении через боковую поверхность выходного окна.

В результате проведенных исследований толщина стекла для детекторов с диаметром кристалла 9 мм была выбрана равной 1 мм. Это позволило увеличить световой выход таких детекторов на 15 - 20 % и повысить норму по световому выходу до 0,020 УЕСВ по сравнению со значением 0,017, указанных в технических требованиях.

4. Спектрально-кинетические характеристики щёлочно-галоидных кристаллов при регистрации короткопробежного ионизирующего излучения

Спектрально-кинетические характеристики радиолюминесценции происходящей в объёме щёлочно-галоидных сцинтилляторов хорошо изучены. Особенности радиолюминесценции некоторые авторы связывают с изменением объёмной плотности возбуждения в треке с изменениями удельных потерь энергии (dE/dx). В этой зависимости существенную роль играет изменение соотношения быстрой и медленной составляющих высвечивания. В процессе облучения активированного кристалла ЩГК, в нем создаются не только активаторные центры, рекомбинация на которых приводит к возникновению активаторной люминесценции, но и центры или дефекты, на которых рекомбинация электронов или дырок идёт безизлучательно или с излучением света другого спектрального состава. Инерционные потери энергии возбужденного состояния сцинтилляторов определяются промежуточной локализацией носителей заряда на уровнях захвата, создаваемых структурными и примесными дефектами решетки. Особенностью указанных инерционных потерь энергии состоит в том, что они сказываются только на амплитуде сцинтилляций и не снижают общего выхода радиолюминисценции.

В ряде работ [5,17] показано, что примеси ионов щёлочных металлов в ЩГК, вызывают появления новых полос люминесценции. Эта люминесценция обусловлена излучательной аннигиляцией экситоноподобных возбуждений, локализованных около примесных ионов. Различные физические воздействия (закалка, отжиг, пластическая деформация) изменяют соотношение интенсивности полос люминисценции при рентгеновском возбуждении ЩГК, что обусловлено изменением количества центров разных типов, а так же изменением эффективности передачи к ним энергии возбуждения. Активатор, локализованный в области дефектов структуры, имеет важное значение в рекомбинационной люминисценции и в сцинтилляционном процессе, при температурах, когда примесные ионы в кристалле не создают стабильных электронных и дырочных уровней захвата. При увеличении концентрации активатора амплитуда короткого компонента, т.е. собственного свечения ЩГК, падает, а амплитуда длительного компонента (активаторное свечение) в кристаллах растет.

Было показано [17], что с уменьшением дефектности сцинтилляторов, происходит сдвиг полосы высвечивания в сторону коротких волн. Эти явления наблюдаются и в органических сцинтилляторах. В работе [18] отмечалось, что деформация органических монокристаллов приводит к появлению в спектре люминесценции дополнительных полос и перераспределению интенсивностей полос излучения. В работе [19] указано, что полосы спектра высвечивания поликристаллических пленок CsI(Tl) совпадают с полосами спектра аналогичного монокристалла. Различие имеется только в интенсивности длинноволновых и коротковолновых линий.

Относительно природы физико-химических факторов, действующих около поверхности кристаллов NaI(Tl), авторы [20] выдвигают следующее предположение. Некоторые ионы или атомы адсорбируются на поверхности и внедряются в кристалл, создавая центры захвата для экситонов, которые конкурируют с центрами свечения. Экситоны диссоциируют на этих дефектах, а энергия возбуждения достигает центров свечения уже после этого. Свечение носит рекомбинационный характер. В глубоких слоях кристалла концентрация конкурирующих дефектов меньше, экситоны имеют большую вероятность прямого взаимодействия с центрами свечения, что проявляется в значительном увеличении быстрой компоненты люминесценции. Следовательно, около поверхности имеются дефекты, на которых экситоны диссоциируют на электрон и дырку впоследствии рекомбинирующие со свечением.

Было так же установлено [17], что некоторые газы могут вызывать в ЩГК излучательные рекомбинационные процессы. Адсорбированные молекулы или ионы блокируют дефекты, на которых могли бы запасаться электроны или дырки при дальнейшем возбуждении.

Методы детектирования ионизирующего излучения с малой проникающей способностью существенно отличаются от регистрации жёсткого излучения. Прежде всего это связано с тем, что взаимодействие с сцинтиллятором происходит в поверхностном слое. В отличие от объёма кристалла, процесс сцинтилляции в поверхностном слое может проходить с изменениями в механизме высвечивания, что и предстояло выяснить.

.1 Материалы и методы исследований

В качестве объектов экспериментальных исследований были использованы щёлочно-галоидные сцинтилляторы йодиды цезия и натрия: Cs(Tl), CsI(Na), NaI(Tl). Эти сцинтилляторы применялись в виде монокристаллических образцов с различной обработкой входной для излучения поверхности и в виде поликристаллических пленок, полученных методом вакуумного напыления на прозрачные подложки. Детекторы ионизирующих излучений изготавливаются на основе сцинтилляторов и характеризуются рядом параметров. Главными спектрометрическими параметрами являются световой выход, энергетическое разрешение и параметр пик/долина. К спектрально-кинетическим параметрам относятся время высвечивания и спектральный состав сцинтилляций.

Измерения параметров производились с помощью приборов - амплитудного анализатора импульсов и фотоэлектронного умножителя (ФЭУ). На рис. 5 приведен аппаратурный спектр амплитуд импульсов при регистрации альфа-частиц источника Pu-239 детектором на основе сцинтиллятора CsI(Tl).

Значение относительного светового выхода детекторов вычисляется по формуле:

f = (U/Uобр)×fобр,                     (3)

где fобр - световой выход образцового детектора, принимаемый за 100%; U и Uобр. - положение пиков полного поглощения исследуемого и образцового детекторов, определяемых с помощью спектра амплитуд импульсов.

Энергетическое разрешение определяется как отношение ширины пика полного поглощения (δU) на полувысоте к его положению (U) пика полного поглащения:

R = (δU/U)×100%                            (4)

Параметр пик/долина определяется как отношение числа импульсов в максимуме фото-пика к числу импульсов в минимуме амплитудного распределения импульсов:

n/д = Nmax/Nmin                        (5)

Интенсивность послесвечения определяется из выражения:

 (%)                          (6)

где: I0 - величина тока ФЭУ в процессе радиолюминисценции при облучении сцинтиллятора в течении 15 минут;

I - та же величина, после снятия облучения через время 5 с.;

It - темновой ток ФЭУ, т.е. ток, который получается без облучения сцинтиллятора.

Спектральный состав высвечивания определяется с помощью спектрафотометра.

Рис. 5 Аппаратурный спектр амплитуд импульсов при регистрации α-частиц сцинтиллятором CsI(Tl).

.2 Результаты экспериментов и их анализ

Проведены исследования различных способов обработки поверхности, входной для регистрируемого излучения, на величину послесвечения монокристаллических пластин CsI(Tl). Интенсивность послесвечения определялась по формуле (6)

Исследования проводились на пластинах CsI(Tl) размерами 20×20×5 мм, с концентрацией активатора 8·10-2 вес. %. Облучение проводилось γ-квантами с энергией Е=60 кэВ. Были подобраны три образца, которые имели различное значение послесвечения после полировки входных поверхностей. В таблице 4 приведены величины послесвечения указанных образцов с полированными и шлифованными поверхностями и после отжига.

Таблица 4.Величины послесвечения образцов сцинтилляторов CsI(Tl) с различной обработкой входной для излучения поверхности.

Послесвечение сцинтилляторов(%)

Вид обработки поверхности

После отжига


Полированная

Шлифованная


1

2,75

4,40

2,36

2

1,40

2,06

0,86

3

1,73

2,46

1,00


В качестве абразивного материала на стадии шлифовки использовался электрокорунд с размером зерна 15 мкм. Отжиг проводился при температуре 300°С в течении 3 часов.

Как видно из таблицы шлифовка оказывает значительное влияние на величину послесвечения, увеличивая её почти вдвое. Последующий отжиг снизил величину послесвечения на 40 ÷ 60 %, причем величина послесвечения после отжига уменьшилась по сравнению с данными для полированной поверхности.

Увеличение интенсивности послесвечения с ростом степени деформации поверхности пластин CsI(Tl) обусловлено образованием центров захвата носителей заряда на структурных дефектах в нарушенном поверхностном слое сцинтилляторов. Отжиг снимает деформационное напряжение и уменьшает количество центров захвата.

Было так же замечено, что световой выход образцов, подвергнутых грубой шлифовке, улучшается по сравнению с полированными образцами при регистрации короткопробежного излучения. Этот факт связывают с тем, что в приповерхностном слое в результате рождения вакансий скользящими дислокациями, увеличивается число центров свечения. Таким образом, центрами свечения могут быть не только примесные дефекты, но и структурные несовершенства.

О влиянии поверхностного слоя сцинтилляторов на спектрально-кинетические характеристики при регистрации короткопробежного излучения свидетельствует и следующий экспериментальный результат. Два образца кристалла CsI(Tl), размерами Æ 30×5 мм имели одинаково обработанные боковые и выходные для сета сцинтилляций поверхности.

Входные для падающего ионизирующего излучения поверхности вначале полировались, а затем шлифовались. Изменялся световой выход (V) для двух различных времен сбора сигнала на амплитудном анализаторе t1=1 мкс и t2=2 мкс при регистрации a-частиц с энергиями Е1=5 МэВ и Е2=2 МэВ. В таблице 5 приведены результаты эксперимента и расчета относительного удельного светового выхода (h).

Анализ результатов экспериментов, приведенных в таблице 5 свидетельствует о том, что удельный световой выход становиться больше после шлифовки поверхности и создании нарушенного слоя на ~30% при энергии a-частиц с энергиями Е1, и на ~ 60% при энергии Е2. И, как видно из таблицы, увеличение происходит при времени сбора сигнала t2=2 мкс. Это связано с тем, что световой выход увеличивается за счет вклада медленной компоненты высвечивания. Таким образом, при создании нарушенного слоя на поверхности сцинтиллятора CsI(Tl) увеличилась интенсивность медленной компоненты высвечивания.

Таблица 5. Значение относительно удельного светового выхода для двух образцов кристалла CsI(Tl) при различной обработки поверхности и для двух времен сбора сигналов на амплитудном анализаторе импульсов.

№ образца и вид обработки

Удельный световой выход, отн. ед.


Время собирания сигнала.


t1, мкс

t2, мкс


Е1, МэВ

Е2, МэВ

Е1, МэВ

Е2, МэВ

0,33

0,36

0,42

0,45

№2 полиров. поверхн.

0,32

0,35

0,41

0,44

№1 шлифов. поверхн.

0,43

0,59

0,54

0,76

№2 шлифов. поверхн.

0,42

0,57

0,54

0,78


Было проведено исследование влияния спектрально-кинетических характеристик рентгеновских детекторов на такой спектрометрический параметр, как пик/долина. Параметр пик/долина определяется как отношения числа импульсов в максимуме фотопика к числу импульсов в минимуме амплитудного распределения импульсов. Были взяты образцы детекторов на основе NaI(Tl) с оптимальной концентрацией активатора.

Образцы №1 и №2 имели полированную входную для излучения поверхность, а образцы №3 и №4 - шлифованную. В табл. 6 представлены результаты измерения светового выхода (V) и параметра пик/долина при регистрации рентгеновского излучения с энергией 5,9 КэВ.

Таблица 6. Результат измерения светового выхода и параметра пик/долина при регистрации рентгеновского излучения с энергией Е=5,9 КэВ двумя детекторами на основе NaI(Tl).

№ детектора

V, усл. ед.

Пик/долина, отн. ед.

1

0,028

32

2

0,027

30

3

0,028

16

4

0,026

17


Как видно из таблицы 6, не наблюдается корреляции между световым выходом и параметром пик/долина. Как выяснилось, это связано с тем, что в радиолюминесценции, возбуждаемой в структурно нарушенном слое сцинтилляторов, кроме характерного по времени высвечивания, возникает более длительное высвечивание (запаздывающие фотоны). Это связано с образованием центров захвата носителей заряда на структурных дефектах. Они и увеличивают число импульсов в долине амплитудного распределения импульсов.

О влиянии структуры входной для излучения поверхности на спектрально-кинетические характеристики сцинтилляторов свидетельствует и следующий эксперимент. Для проведения исследований были выбраны детекторы на основе монокристаллов CsI(Tl), размерами Æ25×20 мм. Поверхность образцов №2 и №4 шлифовалась составом с применением электрокорунда с размером зерна 20 мкм, а №1 и №4 с размерами зерна абразива 0,3 мкм. Исследования проводились при облучении a-частиц с энергиями Е1=5 МэВ и Е2=2 МэВ. Определялось значение амплитудного разрешения для двух времен сбора сигнала на амплитудном анализаторе t1=1 мкс и t2=2 мкс.

В табл. 7 приведены значения амплитудного разрешения для исследуемых образцов при различной обработке входной для излучения поверхности.

Таблица.7. Амплитудное разрешение для двух образцов на основе монокристалла CsI(Tl) с различной обработкой входной поверхности при облучении α-частицами с энергией Е1=5 МэВ и Е2=2 МэВ и для двух времен сбора сигнала на амплитудном анализаторе импульсов.

Номер образца, вид обработки.

Амплитудное разрешение, %


t1

t2


Е1

Е2

Е1

Е2

1, пол.

5,4

7,1

5,3

7,4

2, шлиф.

6,4

10,3

6,9

10,9

3, пол.

5,2

7,0

5,1

7,0

4, шлиф.

6,5

10,4

7,2

11,0


Из таблицы видно:

увеличение времени сбора сигнала приводит к ухудшению разрешения, особенно это проявляется для энергии a-частиц 2 МэВ.

Это свидетельствует о том, что при регистрации излучения в структурно нарушенном слое возникает послесвечение, приводящее к расширению амплитудного спектра импульсов.

5. Влияние ряда факторов на параметр пик/долина рентгеновских сцинтилляционных детекторов

В ряде случаев при возбуждении рентгеновских детекторов на основе NaI(Tl) сцинтиллятора излучением с низкой энергией (6-8 кэВ) наблюдается резкая асимметрия пика фотоэлектрического поглощения со стороны низких энергий [14,15]. При этом происходит существенное ухудшение параметра п/д, определяемого как отношение числа импульсов в максимуме фотопика Nmax к числу импульсов в минимуме амплитудного спектра импульсов (Nmin).

п/д=Nmax /Nmin

Уменьшение значения параметра п/д может привести к ухудшению разрешающей способности детектора. При этом увеличивается фон детектора, что искажает результаты измерения эффективности регистрации излучения и ухудшает радиометрические характеристики детектора.

В работе исследовалось влияние ряда факторов, таких как содержание активатора, термообработка детектора, состояние поверхности и структура кристалла на параметр п/д.

Было замечено, что использование в детекторах кристаллов с колотой входной для излучения поверхностью, без дальнейшей обработки, обеспечивает достаточно высокое значение параметра п/д по сравнению с детекторами на основе сцинтиллятора со шлифованной и полированной поверхностью. Для таких кристаллов параметр п/д ≥20 и амплитудное разрешение <45%, что свидетельствует о том, что структурно совершенная поверхность скола не приводит к образованию областей с пониженной конверсионной эффективностью.

Было выдвинуто предположение, что наблюдаемый эффект связан с неравномерным распределением активаторных центров свечения по глубине кристалла в тонком поверхностном слое толщиной ~ 20 мкм [16]. По искажению кривой амплитудного распределения импульсов, в зависимости от энергии излучения, можно судить о глубине нарушенного слоя, т.е. слоя с неравномерным распределением активаторных центров. При использовании более глубоко проникающего γ-излучения с Е≥60кэВ (90% поглощение в NaI(Tl) соответствует толщине ~1мм) различий между R и п/д колотого и полированного кристаллов не наблюдается.

Выдвинутое предположение было подтверждено тем, что в результате низкотемпературного отжига наблюдалось уменьшение асимметрии фотопика и увеличение параметра п/д без изменения величины светового выхода. Очевидно, при отжиге происходит диффузия активатора к поверхности и при достаточном времени выдержки обеспечивается равномерное распределение активатора по глубине в поверхностном слое кристалла. В таблице 8 представлены результаты измерения сцинтилляционных параметров детекторов до и после отжига.

Таблица 8.Сцинтилляционные параметры детекторов до и после отжига.

№ детектора

До отжига

После отжига


п/д (отн.ед.)

R, %

С (у.е.с.в.)

п/д (отн.ед.)

R, %

С (у.е.с.в.)

1

14,5

44,5

0,029

26

40,0

0,030

2

14,0

42,5

0,031

29

39,0

0,031

3

11,5

47,0

0,029

26,5

45,0

0,029

4

15,0

44,5

0,030

31,0

40,0

0,031

5

12,0

46,5

0,029

22,0

43,0

0,023


Световой выход выражен в условных единицах светового выхода (у.е.с.в.) [14].

Как видно из результатов эксперимента, после отжига параметр п/д увеличивается в среднем в два раза, происходит улучшение амплитудного разрешения (R) при сохранении неизменных светового выхода (С).

Рис.6. Амплитудный спектр импульсов при возбуждении сцинтилляций рентгеновским излучением с энергией Е=5,9кэВ: 1-кристалл NaI(Tl) после полировки, 2-кристалл NaI(Tl) после отжига, 3-кристалл NaI(Tl) с колотой поверхностью

Исследование зависимости между концентрацией таллия и параметром пик/долина показало, что при низкой концентрации Tl (≤0,02÷0,03 вес.%) этот параметр резко падает. С повышением концентрации Tl≥0,05 вес.% наблюдается увеличение параметра пик/долина. При этом не всегда наблюдается корреляция между световым выходом и параметром пик/долина, что видно из таблицы 9.

Таблица 9. Сцинтилляционные характеристики рентгеновских детекторов при разной концентрации Tl

№ детектора

С (у.е.с.в.)

п/д (отн.ед.)

1

0,030

23

2

0,028

3

0,028

10

4

0,029

35

5

0,025

27

6

0,026

12


Детекторами регистрировалось излучение с энергией 5,9 кэВ от радионуклида Fe-55.

Образцы №1,2,4,5 имели концентрацию Tl 0,08÷0,1 вес.%, а №3,6 - 0,02÷0,03 вес.%.

По-видимому, в случае низкого значения концентрации активатора, возрастают миграционные потери энергии в процессе возбуждения сцинтилляций в кристалле.

Следует отметить, что для некоторых детекторов с течением времени значение параметра п/д улучшалось (от 15 до 25 отн.ед.). Асимметрия пика могла полностью исчезнуть через несколько месяцев. Это также, как и в случае влияния отжига, свидетельствует что причиной плохого значения п/д является неравномерность распределения активатора в поверхностном слое сцинтиллятора. С течением времени, в нормальных условиях хранения детектора, за счет диффузионных процессов происходит выравнивание концентрации активатора в объеме и на поверхности сцинтиллятора.

В детекторах с колотой входной поверхностью, указанный эффект изменения со временем параметра п/д выражен в меньшей мере. Например, изменение параметра п/д в месяц в среднем составляет <10%.

Выводы

В этой работе рассматривался вопрос по улучшению работы детекторов на основе щелочно-галоидных кристаллов путем некоторых изменений, как кристалла, так и самого детектора.

Проведенный ранее литературный обзор показал, что необходимое качество рентгеновских детекторов достигается за счет:

·          подбора концетрации активатора в сцинтилляторах;

·        усовершенствования конструкции детекторов;

·        специальной термообработки детекторов.

В результате проведенных исследований можно сделать следующие выводы:

o   Толщина стекла для детекторов с диаметром кристалла 9 мм была выбрана равной 1 мм. Это позволило увеличить световой выход таких детекторов на 15 - 20 % и повысить норму по световому выходу до 0,020 УЕСВ по сравнению со значением 0,017, указанных в технических требованиях.

o   Необходимо применять кристаллы с более высокой концентрацией таллия (~ 0,1вес.%), предназначенных для изготовления детекторов рентгеновского излучения по сравнению с оптимальной концентрацией в кристаллах, предназначенных для изготовления детекторов более жесткого излучения.

o   Термообработка кристаллов может быть использована для улучшения сцинтилляционных характеристик рентгеновских детекторов.

·          Значительное влияние на сцинтилляционные характеристики детектора оказывает входная поверхность кристалла. Были исследованы детекторы с колотой, полированной и шлифованной поверхностями кристалла.

·        При регистрации короткопробежного излучения процесс радиолюминесценции происходит в приповерхностном слое сцинтилляторов, на спектрально-кинетические характеристики существенное влияние оказывает структура этого слоя.

·        При создании структурно-нарушенного слоя на входной для излучения поверхности сцинтилляторов, происходит увеличение послесвечения по сравнению с полированной поверхностью.

·        Увеличение интенсивности послесвечения можно объяснить образованием центров захвата носителей заряда на структурных дефектах в нарушенном слое сцинтилляторов.

·        Наличие в ЩГК примесей и структурных дефектов приводит к локализации к-центра рядом с примесью или дефектом. Такие промежуточные локализации, не смещая общего выхода радиолюминесценции, сильно затягивают свечение.

·        При создании структурно нарушенного слоя на входной для излучения поверхности ЩГК при регистрации короткопробежного излучения увеличивает интенсивность медленной компоненты высвечивания.

·        Особенности спектрально-кинетических характеристик, если процесс радиолюминесценции проходит в поверхностном слое ЩГК оказывают влияние на такие спектрометрические характеристики как световой выход, амплитудное разрешение и параметр пик/долина.

Литература

1.    Каталог фирмы “Harshaw Chemical Company”, США, 1975.

2.       Каталог фирмы “Bricron Corporation”, США.

.        В.В. Чепелев. Исследование сцинтилляционного процесса в монокристаллах натрия йодистого, активированного таллием при возбуждении рентгеновскими и гамма-квантами. Канд. дис. Львов, 1967.

.        Каталог фирмы «Гамма», Венгрия, 1974.

.        Каталог фирмы Nuclear Enterpises, Великобритания, 1974.

.        Л.М. Захарко, А.Б. Лыскович и др. «Разработка и измерение параметров сцинтилляторов для спектрометрии мягкого гамма- и рентгеновского излучения», Труды Союзного научно-исследовательского института приборостроения, вып.3, Атомиздат, 1966, с.30.

.        Е.А. Бугай, Л.Б. Загарий, Е.П. Сысоева, Ю.А. Цирлин. Исследование сцинтилляционных характеристик детекторов рентгеновского излучения, Сб. «Монокристаллы и сцинтилляционные материалы», Харьков, ВНИИ монокристаллов, 1978, с.83-87.

.        Л.Б. Загарий, Ю.Т. Выдай, Г.А. Бабич. «Влияние концентрации активатора на сцинтилляционные характеристики детекторов рентгеновского излучения», Тезисы докладоа УП Всесоюзной конференции по сцинтилляторам, 1981, Харьков, с.4.

.        Ю.А. Цирлин, Л.Б. Загарий, Е.П. Сысоева, И.В. Гладкова. Сравнение детекторов рентгеновского излучения. Сб. «Монокристаллы и их применение», Харьков, ВНИИ монокристаллов, 1979, с.98-102.

.        Ю.А. Цирлин, Л.Б. Загарий, Е.П. Сысоева. “Светособирание в тонких сцинтилляционных детекторах”. Сб. “Монокристаллы и сцинтилляционные материалы”, Харьков, 1978

.        Л.М. Беляев, М.Д. Галанин, З.Л. Моргенштен. Зависимость выхода и фотолюминесценции кристаллов натрия йодистого, активированного таллием от концентрации талия. Доклад АН СССР, 1955, т.105.

.        Р.Х. Мустафина, А.П. Панова. «Исследование влияния концентрации активатора на оптические и сцинтилляционные свойства кристаллов NaI(Tl)». Сб. «Монокристаллы и техника», вып.1, 1970, с.81-87.

.        В.В. Чепелев. «Собственное энергетическое разрешение сцинтиллятора NaI(Tl) в области энергий квантов: рентгеновского и гамма-излучений». ВИНИТИ, Дсп, №4440-76, 1976, с.14.

.        Цирлин Ю.А., Загарий Л.Б., ПТЭ, 1982, №1, с.212

.        Выдай Ю.Т., Загарий Л.Б., Цирлин Ю.А., ПТЭ, №2, 1990, с.74-76

.        Вартанов Н.А., Соборнов О.П. Вопросы атомной науки и техники. Ядерное приборостроение, вып.1, 1979 г., с.100-104

.        Аукер Э.Д., Гаврилов В.В., Дейч Р.Г., Чернов С.А. Быстропротекающие радиационно-стимулируемые процессы в щелочно-галоидных кристаллах. Рига, «Зинатне», 1987, с.184.

.        Будаковский С.В., Галунов Н.З., Гриньов Б.В., Тарасенко О.А. Органічні моно- та полікристалічні сцинтилятори: технологія, отримання та люмінісцентні властивості. В сб. «Диэлектрики, полупроводники в детекторах излучения», Харьков, 2006, с.209-229.

19.     Kudin A.M., Ananenko A.A., Viday Yu.T., Gres V.Yu., Sysoeva E.V. Functional Materials, 9, №2б 2002 зю 229-231.

20.     Кинг Р.А., Лийдья Г.Г., Труды института физики и астрономии, № 23, Тарту,1963, с.109-135.

Похожие работы на - Детекторы регистрации рентгеновского и мягкого гамма-излучения

 

Не нашли материал для своей работы?
Поможем написать уникальную работу
Без плагиата!
Без нейросетей!