Методы регистрации частиц. Ускорители частиц
Министерство
образования и науки РФ
Федеральное
агентство по образованию
Государственное
образовательное учреждение
Профессионального
высшего учреждения ОГУ.
Курсовая
по
Ядерной
физике
На
тему: Методы регистрации частиц. Ускорители частиц
Введение
Сегодня кажется почти неправдоподобным, сколько
открытий в физике атомного ядра было сделано с использованием природных
источников радиоактивного излучения с энергией всего лишь несколько МэВ и
простейших детектирующих устройств. Открыто атомное ядро, получены его размеры,
впервые наблюдалась ядерная реакция, обнаружено явление радиоактивности,
открыты нейтрон и протон, предсказано существование нейтрино и т.д. Основным
детектором частиц долгое время была пластинка, с нанесенным на нее слоем
сернистого цинка. Частицы регистрировались глазом по производимым ими в
сернистом цинке вспышкам света. Черенковское излучение впервые наблюдалось
визуально. Первая пузырьковая камера, в которой Глезер наблюдал треки α-частиц
была с наперсток. Источником частиц высоких энергий в то время были космические
лучи - частицы, образующиеся в мировом пространстве. В космических лучах
впервые наблюдались новые элементарные частицы. 1932 год - открыт позитрон (К.
Андерсон), 1937 год - открыт мюон (К. Андерсон, С. Недермейер), 1947 год -
открыт -мезон (Пауэл), 1947 год - обнаружены странные частицы (Дж. Рочестер, К.
Батлер).
Со временем экспериментальные установки
становились все сложней. Развивалась техника ускорения и детектирования частиц,
ядерная электроника. Успехи в физике ядра и элементарных частиц все в большей
степени определяются прогрессом в этих областях. Нобелевские премии по физике
часто присуждаются за работы в области техники физического эксперимента.
Создание первых ускорителей Дж. Кокрофтом и Э.
Уолтоном, Р. Ван-де-Графом, Э. Лоуренсом в 1931-32 гг. открыло новую эру в
ядерной физике. Экспериментаторы получили в свое распоряжение удобные
инструменты, на которых можно было получать пучки ускоренных заряженных частиц
с энергией от нескольких МэВ до десятков МэВ.
В 1944-45 годах В. Векслер и независимо от него
Э. Макмиллан открыли принцип автофазировки, позволяющий достигать
релятивистских энергий ускоренных частиц. Открытие принципа автофазировки
привело к появлению новых типов ускорителей - фазотронов, синхротронов,
синхрофазотронов. Разработка метода сильной фокусировки позволила получать
уникальные по своим параметрам пучки (с малыми поперечными размерами, высокой
интенсивностью, большими энергиями).
Первые ускорители высоких энергий были построены
в Дубне (ОИЯИ), вблизи Женевы (CERN) и Брукхейвене (BNL). В первых ускорителях
пучок частиц направлялся на неподвижную мишень. Однако по мере увеличения
энергии налетающих частиц все большая часть энергии пучка бесполезно
расходуется на движение центра масс образующейся системы. Если же сталкиваются
между собой два пучка можно получить значительный выигрыш в энергии, так как
при лобовом столкновении двух пучков частиц с одинаковыми массами и одинаковыми
энергиями центр масс будет оставаться неподвижным. Однако, чтобы при этом
сталкивающиеся пучки эффективно взаимодействовали, необходимо создать в области
столкновения высокую плотность частиц. Ускорители такого типа были созданы и
получили название ускорителей на встречных пучках или коллайдеров. Первые
электронные коллайдеры были построены в 1965 году в ИЯФ (Новосибирск) и
Стенфордской национальной лаборатории. В 1971 году был построен первый
протонный коллайдер, а в 1985 году - протон-антипротонный коллайдер.
1.
Детекторы
частиц
Информативность любого субатомного опыта
напрямую определяется возможностями тех детекторов, которые в нём используются.
История ядерной физики и физики частиц это, по существу, история создания всё
новых методов регистрации частиц и совершенствования старых. Создание новых
методов детектирования частиц неоднократно отмечалось Нобелевскими премиями. В
настоящее время в арсенале физиков имеется большое число отдельных детекторов и
установок, являющихся комбинацией различных детекторов. Они представляют собой
образцы современных технических возможностей и, подчас, самыми совершенными
устройствами, которые созданы человеком.
Детекторы служат как для регистрации частиц, так
и для определения их энергии, импульса, траектории движения частицы и других
характеристик. Для регистрации частиц часто используют детекторы, которые
максимально чувствительны к регистрации определенной частицы и не чувствуют
большой фон создаваемый другими частицами.
Часто в экспериментах приходится выделять
«нужные» события на гигантском фоне «посторонних» событий, которых может быть в
миллиарды раз больше. Для этого используют различные комбинации счётчиков и
методов регистрации, применяют схемы совпадений или антисовпадений между
событиями, зарегистрированными различными детекторами, отбор событий по
амплитуде и форме сигналов и т. д. Часто используется селекция частиц по
времени пролёта ими определённого расстояния между детекторами, магнитный
анализ и другие методы, которые позволяют надёжно выделить различные частицы.
Один из наиболее общих принципов регистрации
частицы состоит в следующем. Заряженная частица, двигаясь в нейтральной среде
детектора (газ, жидкость, твердое тело, аморфное или кристаллическое), вызывает
за счет электромагнитных взаимодействий ионизацию и возбуждение атомов среды.
Таким образом, вдоль пути движения частицы появляются свободные заряды
(электроны и ионы) и возбужденные атомы. Если среда находится в электрическом
поле, то в ней возникает электрический ток, который фиксируется в виде
короткого электрического импульса (условно детекторы, использующие этот
принцип, будем называть ионизационными).
При возвращении возбужденных атомов в основное
(невозбужденное) состояние излучаются фотоны, которые могут быть
зарегистрированы в виде оптической вспышки в видимой или ультрафиолетовой
области. Этот принцип используется в сцинтилляционных детекторах.
При определенных условиях траекторию пролетающей
заряженной частицы, можно сделать видимой. Это осуществляется в так называемых
трековых детекторах.
Нейтральные частицы (такие как нейтрон или Λ-гиперон)
непосредственно не вызывают ионизацию и возбуждение атомов среды. Однако они
могут быть зарегистрированы в результате появления вторичных заряженных частиц,
возникших либо в реакциях этих нейтральных частиц с ядрами среды, либо в
результате распада этих частиц. Гамма-кванты также регистрируются по вторичным
заряженным частицам - электронам и позитронам, возникающим в среде вследствие
фотоэффекта, Комптон-эффекта и рождения электрон-позитронных пар.
Нейтрино, возникшее в результате реакции, в силу
исключительно малого сечения взаимодействия со средой (10-20 барн) в
большинстве случаев вообще не регистрируется детектором. Тем не менее, факт его
появления может быть установлен. Дело в том, что ускользнувшее от
непосредственного наблюдения нейтрино уносит с собой определённую энергию,
импульс, спин, лептонный заряд. Недостачу обнаруживают, регистрируя все
остальные частицы и применяя к ним законы сохранения энергии, импульса, момента
количества движения, электрического заряда, лептонного заряда и др. Такой
анализ позволяет не только убедиться, в том нейтрино действительно было, но и
установить его энергию и направление вылета из точки реакции.
Быстрораспадающиеся частицы детектор «не
успевает» зафиксировать. В этом случае они регистрируются по продуктам распада.
Общие требования к детектирующей аппаратуре
сводятся к определению типа частицы (идентификации) и её кинематических
характеристик (энергии, импульса и др.). Часто тип частицы известен заранее и
задача упрощается. Во многих экспериментах, особенно в физике высоких энергий,
используются крупногабаритные и сложные комплексы, состоящие из большого числа
детекторов различного типа. Такие комплексы, фиксируя практически все частицы,
возникающие в эксперименте, дают достаточно полное представление об изучаемом
явлении.
Основными характеристиками детектора являются -
эффективность (вероятность регистрации частицы при попадании её в детектор),
временнoе разрешение (минимальное время, в течение которого детектор фиксирует
две частицы как отдельные) и мёртвое время или время восстановления (время, в
течение которого детектор после регистрации частицы либо вообще теряет
способность к регистрации следующей частицы, либо существенно ухудшает свои
характеристики). Если детектор определяет энергию частицы и (или) её
координаты, то он характеризуется также энергетическим разрешением (точностью
определения энергии частицы) и пространственным разрешением (точностью
определения координаты частицы).
1.1 Сцинтилляционные детекторы
Первый сцинтилляционный детектор, названный
спинтарископом, представлял собой экран, покрытый слоем ZnS. Вспышки,
возникавшие при попадании в него заряженных частиц, фиксировались с помощью
микроскопа. Именно с таким детектором Гейгер и Марсден в 1909 г. Провели опыт
по рассеянию альфа-частиц атомами золота, приведший к открытию атомного ядра.
Начиная с 1944 г. Световые вспышки от сцинтиллятора регистрируют
фотоэлектронными умножителями (ФЭУ). Позже для этих целей стали использовать
также светодиоды.
Сцинтиллятор может быть органическим
(кристаллы, пластики или жидкости) или неорганическим (кристаллы или стекла).
Используются также газообразные сцинтилляторы. В качестве органических
сцинтилляторов часто используются антрацен (С14Н10), стильбен (C14H12),
нафталин (C10Н8). Жидкие сцинтилляторы обычно известны под фирменными именами
(например NE213). Пластиковые и жидкие сцинтилляторы представляют из себя
растворы органических флуоресцирующих веществ в прозрачном растворителе.
Например, твердый раствор антрацена в полистироле или жидкий раствор
р-терфенила в ксилоле. Концентрация флуоресцирующего вещества обычно мала и
регистрируемая частица возбуждает в основном молекулы растворителя. В
дальнейшем энергия возбуждения передается молекулам флуоресцирующего вещества.
В качестве неорганических кристаллических сцинтилляторов используются ZnS,
NaI(Tl), CsI, Bi4Ge3O12 (BGO) и др. В качестве газовых и жидких сцинтилляторов
используют инертные газы (Xe, Kr, Ar, He) и N
H10), стильбен (C14H12), нафталин
(C10H8). Жидкие сцинтилляторы обычно известны под фирменными именами (например
NE213). Пластиковые и жидкие сцинтилляторы представляют из себя растворы
органических флуоресцирующих веществ в прозрачном растворителе. Например,
твердый раствор антрацена в полистироле или жидкий раствор р-терфенила в
ксилоле. Концентрация флуоресцирующего вещества обычно мала и регистрируемая
частица возбуждает в основном молекулы растворителя. В дальнейшем энергия
возбуждения передается молекулам флуоресцирующего вещества. В качестве
неорганических кристаллических сцинтилляторов используются ZnS, NaI(Tl), CsI,
Bi4Ge3O12 (BGO) и др. В качестве газовых и жидких сцинтилляторов используют
инертные газы (Xe, Kr, Ar, He) и N.
Рис. 1 - Сравнение двух сцинтилляторов
Так как в органических сцинтилляторах
возбуждаются молекулярные уровни, которые излучают в ультрафиолетовой области
для согласования со спектральной чувствительностью регистрирующих свет
устройств (ФЭУ и фотодиодов) используются светопреобразователи, которые
поглощают ультрафиолетовое излучение и переизлучают видимый свет в области 400
нм.
Световой выход - доля энергии регистрируемой
частицы конвертируемая в энергию световой вспышки. Световой выход антрацена
~0.05 или 1 фотон на 50 эВ для частиц высокой энергии. У NaI световой выход
~0.1 или 1 фотона на 25 эВ. Принято световой выход данного сцинтиллятора
сравнивать со световым выходом антрацена, который используется как стандарт.
Типичные световые выходы пластиковых сцинтилляторов 50-60%.
Интенсивность световой вспышки пропорциональна
энергии, потерянной частицей, поэтому сцинтилляционный детектор может
использоваться в качестве спектрометра, т. Е. прибора, определяющего энергию
частицы.
С помощью сцинтилляционных счетчиков можно
измерять энергетические спектры электронов и γ-лучей.
Несколько хуже обстоит дело с измерением спектров тяжелых заряженных частиц (α-частицы
и др.), создающих в сцинтилляторе большую удельную ионизацию. В этих случаях
пропорциональность интенсивности вспышки потерянной энергии наблюдается не при
всяких энергиях частиц и проявляется только при значениях энергии, больших
некоторой величины. Нелинейная связь амплитуд импульсов с энергией частицы
различна для различных фосфоров и для различных типов частиц.
Рис. 2 - Схема Сцинтилляционного детектора
Рис. 3 - Устройство ФЭУ
Фотоны, возникшие в сцинтилляторе под действием
заряженной частицы, по светопроводу достигают ФЭУ и через его стеклянную стенку
попадают на фотокатод. ФЭУ представляет собой баллон, внутри которого в вакууме
располагается фотокатод и система последовательных динодов, находящихся под
положительным увеличивающемся от динода к диноду электрическим потенциалом. В
результате фотоэффекта из фотокатода вылетают электроны, которые затем,
ускоряясь в электрическом полем, направляются на систему динодов, где за счет
вторичной (ударной) электронной эмиссии образуют нарастающую от динода к диноду
электронную лавину, поступающую на анод. Обычно коэффициент усиления ФЭУ (число
электронов, достигших анода при выбивании из фотокатода одного электрона)
составляет 105-106, но может достигать и 109, что позволяет получить на выходе
ФЭУ легко регистрируемый электрический импульс. Временнoе разрешение ФЭУ
составляет 10-8-10-9 с.
Энергетическое разрешение сцинтилляционных
детекторов ΔЕ/Е обычно не лучше
нескольких процентов. Временнoе разрешение определяется главным образом
длительностью световой вспышки (временем высвечивания люминофора) и меняется в
пределах 10-6-10-9 с.
Большие объёмы сцинтилляторов позволяют
создавать детекторы очень высокой эффективности, для регистрации частиц с малым
сечением взаимодействия с веществом.
1.2 Черенковский детектор
Принцип работы этого детектора основан на
регистрации излучения, открытого П.А. Черенковым в 1934 г. и возникающего при
движении заряженной частицы в прозрачной среде со скоростью v большей скорости
света u в этой среде. Поскольку u = c/n , где скорость света в вакууме, а n -
показатель преломления среды, то условие возникновения черенковского излучения
имеет вид v > c/n .
Черенковское свечение является когерентным
излучением диполей, образующихся в результате поляризации среды пролетающей
заряженной частицей, и возникает при возвращении этих диполей (поляризованных
атомов) в исходное неполяризованное состояние. Если частица двигается медленно,
то диполи успевают поворачиваться в её направлении. Поляризация среды при этом
симметрична относительно координаты частицы. И излучения отдельных диполей при
возвращении в исходное состояние гасят друг друга. При движении частицы со
"сверхсветовой" скоростью за счёт запаздывающей реакции диполей они
преимущественно ориентируются в направлении движения частицы. Итоговая
поляризация оказывается несимметричной относительно местоположения частицы и
излучение диполей нескомпенсированным.
Рис. 4 - Геометрия черенковского излучения. Угол
θ
= 900 - α
Фотоны черенковского излучения испускаются под
углом θ
к
направлению движения частицы, причем величина этого угла определяется
соотношением
, (1)
где β = v/c. Это
соотношение легко понять на основе принципа Гюйгенса (см. рис. 4).
Действительно, огибающая световых волн для частицы, двигающейся со скоростью v
> u, представляет собой конус, вершина которого совпадает с положением
частицы в данный момент (точка Р' на рисунке), а нормали m к образующим конуса
показывают направление распространения черенковского света. На рис. 1 показано,
как частица, проходившая в момент времени t через точку Р, породила сферическую
электромагнитную волну, которая за время τ распространилась от точки Р
на расстояние R = uτ
= cτ/n. За
то же время частица, двигающаяся со скоростью v > u прошла путь vτ > R и оказалась
в точке Р'. Волна от точки Р' ещё не успела распространиться в веществе. Конус
AP'A граница области, занятой черенковской электромагнитной волной (её фронт) к
моменту t + τ.
Угол
θ
это
угол между перпендикуляром, опущенным из точки Р на образующую конуса АР', и
линией движения частицы (прямой РР'). Очевидно, косинус этого угла равен
отношению длин отрезков R и РР', т.е. cos θ = u/v = 1/βn.
Энергия частицы, конвертируемая в
черенковское излучение, мала по сравнению с её ионизационными потерями. Число
фотонов, излучаемых на 1 см пути, в зависимости от среды (радиатора) колеблется
от нескольких единиц до нескольких сот. Это излучение можно наблюдать визуально
и регистрировать с помощью фотоплёнки или ФЭУ. На цветной фотоплёнке,
расположенной перпендикулярно направлению движения частицы, излучение,
выходящее из радиатора, имеет вид кольца сине-фиолетового цвета.
Зависимость угла излучения θ от β (1) позволяет,
определяя этот угол, найти скорость и энергию частицы. С помощью черенковского
детектора можно регистрировать частицы с энергиями вплоть до 100 ГэВ.
Черенковский счетчик позволяет
эффективно выделять высокоэнергичные релятивистские частицы на уровне большого
фона малоэнергичных частиц.
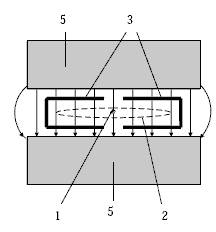
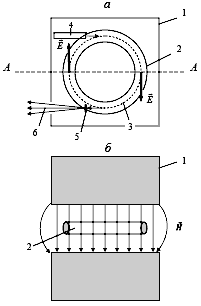
Рис. 5 - Схема черенковского счётчика: слева - конус
черенковского излучения, справа - устройство счётчика. 1 - частица, 2 -
траектория частицы, 3 - фронт волны, 4 - радиатор, 5 - ФЭУ (показано развитие
лавины вторичных электронов, вызванное фотоэлектроном), 6 - фотокатод
1.3 Детектор переходного излучения
Рис. 6 - Схема детектора переходного излучения
Переходное излучение, возникающее при
пересечении частицей границы раздела двух сред. Величина угла на рисунке сильно
преувеличена.
Этот детектор регистрирует заряженные
частицы большой энергии по, так называемому, переходному излучению,
испускаемому ими при пересечении
(переходе) границы раздела сред с
различными диэлектрическими проницаемостями (т. е. здесь излучает сама частица,
а не среда).
Интенсивность переходного излучения
пропорциональна квадрату заряда частицы и (при больших энергиях) её
релятивистскому фактору
,
т. е. интенсивность переходного
излучения высокоэнергичной частицы пропорциональна её энергии
. Основная
часть переходного излучения расположена в рентгеновском диапазоне частот.
Излучение сосредоточено внутри конуса с углом
относительно направления движения
частицы. Эти свойства переходного излучения позволяют использовать его для
определения массы и заряда частиц при очень больших энергиях (>100 ГэВ),
когда другие методы неприменимы или недостаточно эффективны. При одной и той же
энергии легкие частицы, у которых релятивистский фактор велик, производят
гораздо более интенсивное переходное излучение, чем тяжелые, имеющие
относительно малый релятивистский фактор. Большая разница в массах позволяет,
например, различать электроны от пионов в диапазоне энергий от 0.5 ГэВ до 200
ГэВ.
Так как вероятность испускания фотона
переходного излучения при однократном пересечении границы сред мала (≈1/100),
то используют слоистые или пористые радиаторы с низким атомным номером и
большим числом границ раздела (до нескольких сот). Для регистрации переходного
излучения чаще всего используют пропорциональные и дрейфовые камеры, а также
сцинтилляционные и полупроводниковые детекторы. Идентификация частиц основана
на различии в ионизации, которую производят например в пропорциональной камере
первичный адрон и суммарной ионизацией производимой переходным излучением и
первичным электроном.
1.4 Детекторы ионизационного типа
К рабочей среде этих детекторов прикладывается
электрическое поле. При ионизации среды заряженной частицей возникает
кратковременный электрический ток, регистрируемый соответствующей электроникой.
Сама детектирующая среда может быть газообразной, жидкой или твердой.
Наиболее обширную группу детекторов этого типа
образуют газонаполненные детекторы. Простейшим из них является ионизационная
камера. Она представляет собой систему двух электродов в объеме, заполненном
инертным газом (чаще всего аргоном и неоном). Если частица полностью
останавливается в объёме камеры, то по величине собранного заряда (количеству
электронов, пришедших на анод) легко определить энергию частицы.
Недостатком ионизационной камеры являются очень
низкие токи. Этот недостаток ионизационной камеры преодолевается в
ионизационных детекторах с газовым усилением. Газовое усиление это увеличение
количества свободных зарядов в объёме детектора за счёт того, что первичные
электроны на своём пути к аноду в больших электрических полях приобретают
энергию достаточную для ударной ионизации нейтральных атомов рабочей среды
детектора. Такой режим работы отвечает пропорциональному счётчику (камере).
Пропорциональный счётчик способен выполнять функции спектрометра, как и
ионизационная камера. Если ещё больше увеличить разность потенциалов между
анодом и катодом и довести коэффициент газового усиления до 104-105, то начинает
нарушаться пропорциональность между потерянной частицей в детекторе энергией и
величиной импульса тока. Прибор переходит в режим ограниченной
пропорциональности и уже не может быть использован как спектрометр, а лишь как
счётчик частиц.
При дальнейшем увеличении напряжённости
электрического поля (и газового усиления) счётчик переходит в такой режим
работы, когда достаточно появления в его объёме одного электрона, чтобы он
запустил столь мощный лавинообразный процесс, который способен ионизовать всю область
вблизи нити-анода. При этом импульс тока достигает предельного значения
(насыщается) и не зависит от первичной ионизации. Счётчик, работающий подобным
образом, называется счётчиком Гейгера-Мюллера.
Если разность потенциалов между анодом и катодом
в газонаполненном счетчике превысит некоторое критическое значение, то
появление в его объёме свободных носителей зарядов вызовет искровой пробой
(разряд). При этом амплитуда электрического сигнала с такого счётчика
(называемого искровым) может достигать сотен вольт.
Газонаполненные детекторы имеют два недостатка.
Во-первых, плотность газа низка и энергия, теряемая частицей в объёме детектора
мала, что не позволяет эффективно регистрировать высокоэнергичные и
слабоионизующие частицы. Во-вторых, энергия, необходимая для рождения пары
электрон-ион в газе велика (30-40 эВ), что увеличивает относительные флуктуации
числа зарядов и ухудшает энергетическое разрешение.
Газонаполненные детекторы.
Газонаполненные детекторы (счетчики) благодаря
хорошей чувствительности к излучениям разных видов, относительной простоте и
дешевизне являются широко распространенными приборами регистрации излучений.
Такой детектор представляет собой наполненную газом оболочку, в объем которой
введены два или три электрода.
В газонаполненных детекторах для регистрации
частиц используется ионизация газа. Под действием приложенного напряжения
образовавшиеся в результате электроны (ионы) собираются на электродах.
Рис. 7 - Зависимость количества регистрируемых
электрон-ионных пар от приложенного напряжения для альфа- и бета-частиц
Кривая для альфа-частиц лежит выше кривой для
бета-частиц, т.к. альфа-частицы создают большую начальную ионизацию, чем
бета-частицы. Альфа-частицы образуют больше электрон-ионных пар, так как имеют
намного большую массу, чем бета-частицы. Каждую кривую можно разделить на
характерные области. В области I происходят два конкурирующих процесса:
собирание зарядов на электродах и рекомбинация ионов в газовом объеме. При
увеличении поля скорость ионов увеличивается, что уменьшает вероятность
рекомбинации, растет количество собранных зарядов и, соответственно, амплитуда
сигналов. Эта область называется областью рекомбинации и для детектирования не
используется.
При дальнейшем увеличении напряжения амплитуда
сигнала достигает насыщения и практически перестает расти с ростом приложенного
напряжения. На участке II практически все заряды, образованные в детекторе,
собираются на электродах. Этот участок кривой называют областью насыщения.
Именно в этой области работают ионизационные камеры.
По мере дальнейшего повышения напряжения
детектор начинает работать в пропорциональной области (III). Электроны,
образованные в результате первичной ионизации, приобретают достаточную энергию,
чтобы в свою очередь вызвать ионизация атомов или молекул газа. Происходит так
называемое газовое усиление. Коэффициент газового усиления варьируется от 103
до 104. Область называется пропорциональной, т.к. коэффициент газового усиления
пропорционален приложенному напряжению. Это область работы пропорциональных
счетчиков (камер).
При дальнейшем повышении напряжения коэффициент
газового усиления перестает линейно зависеть от напряжения. Это область
оганиченной пропорциональности (IV).
Наконец, на участке V газовое усиление возрастает
настолько, что собираемый заряд не зависит от первичной ионизации. Это так
называемая область Гейгера - Мюллера. Однако разряд, как и в предыдущих
областях, остается вынужденным, т. е. начинается после прохождения ионизирующей
частицы. Это область работы счетчиков Гейгера-Мюллера.
Дальнейшее увеличение напряжения приводит к
непрерывному разряду (область VI), поэтому эта область для регистрации частиц
не используется.
Ионизационная камера
Ионизационная камера - простейший
газонаполненный детектор. Она представляет собой систему из двух или трёх
электродов в объеме, заполненном газом (He+Ar, Ar+C2H2, Ne). Ионизационная
камера может быть выполнена в виде плоского или цилиндрического конденсатора.
Величина прикладываемого напряжения (обычно сотни вольт) подбирается так, чтобы
образованные в камере при пролёте заряженной частицы свободные заряды
максимально быстро, не успев рекомбинировать, достигали электродов.
Ионизационные камеры бывают интегрирующие и
импульсные. В интегрирующих камерах при больших потоках частиц импульсы
сливаются и регистрируется ток пропорциональный среднему энерговыделению
Рис. 8 - Схема ионизационной камеры
В импульсных камерах регистрируются отдельные
импульсы от каждой ионизирующей частицы. Импульсные камеры обычно
трехэлектродные. Рабочим объемом служит пространство между катодом и сеткой.
Образовавшиеся в результате ионизации электроны под действием поля Eкс
двигаются по направлению к сетке, проходят ее под действием поля Eса > Eкс и
собираются на аноде. Более подвижные электроны собираются за время ≈10-6
с. Положительные ионы, время сбора которых на три порядка больше за это время
остаются практически на месте. Сетка экранирует анод от индукционного
воздействия положительных ионов.
Временнoе разрешение ионизационной камеры
определяется временем сбора зарядов. Таким образом, при регистрации импульса
тока от электронов временнoе разрешение ионизационной камеры будет достигать
10-6 с.
Если частица полностью останавливается в объёме
камеры, то по величине собранного заряда (количеству электронов, пришедших на
анод) легко определить энергию частицы. Эта энергия равна произведению числа
электронов n на среднюю энергию ε, необходимую
на образование частицей одной пары электрон-ион (для газа ε≈
30-40 эВ).
Пропорциональный счётчик.
Недостатком ионизационной камеры являются очень
низкие токи. Этот недостаток ионизационной камеры преодолевается в
ионизационных детекторах с газовым усилением. Это позволяет регистрировать
частицы с энергией < 10 кэВ, в то время как сигналы от частиц таких энергий
в ионизационных камерах "тонут" в шумах усилителя.
Газовое усиление это увеличение количества
свободных зарядов в объёме детектора за счёт того, что первичные электроны на
своём пути к аноду в больших электрических полях приобретают энергию
достаточную для ударной ионизации нейтральных атомов рабочей среды детектора.
Возникшие при этом новые электроны в свою очередь успевают приобрести энергию
достаточную для ионизации ударом. Таким образом, к аноду будет двигаться нарастающая
электронная лавина. Это “самоусиление” электронного тока (коэффициент газового
усиления) может достигать 103-104. Такой режим работы отвечает
пропорциональному счётчику (камере). В названии отражено то, что в этом приборе
амплитуда импульса тока (или полный собранный заряд) остаётся пропорциональной
энергии, затраченной заряженной частицей на первичную ионизацию среды
детектора. Таким образом, пропорциональный счётчик способен выполнять функции
спектрометра, как и ионизационная камера. Энергетическое разрешение
пропорциональных счетчиков лучше, чем у сцинтилляционных, но хуже, чем у
полупроводниковых.
Конструктивно пропорциональный счётчик обычно
изготавливают в форме цилиндрического конденсатора с анодом в виде тонкой
металлической нити по оси цилиндра (рис.9), что обеспечивает вблизи анода
напряженность электрического поля значительно бoльшую, чем в остальной области
детектора. При разности потенциалов между анодом и катодом 1000 вольт
напряжённость поля вблизи нити-анода может достигать 40 000 вольт/см., в то
время как у катода она равна сотням в/см.
Рис. 9 - Схема пропорционального счётчика в
продольном (а) и поперечном (б) разрезах (аналогично устроен счетчик Гейгера и
цилиндрическая ионизационная камера): 1 - нить-анод, 2 - цилиндрический катод,
3 - изолятор, 4 - траектория заряженной частицы, 5 - электронная лавина
Электроны и ионы, созданные частицей в
результате первичной ионизации атомов инертного газа, показаны соответственно
темными и белыми кружочками.
Если ещё больше увеличить разность потенциалов
между анодом и катодом и увеличить коэффициент газового усиления до значений
>104, то начинает нарушаться пропорциональность между потерянной частицей в
детекторе энергией и величиной импульса тока. Прибор переходит в режим
ограниченной пропорциональности и уже не может быть использован как
спектрометр, а лишь как счётчик частиц.
Временнoе разрешение пропорционального счетчика
может достигать 10-7с.
Пропорциональные счетчики используются для
регистрации альфа-, бета-частиц, протонов, гамма-квантов и нейтронов.
Пропорциональные счетчики чаще всего заполняют гелием или аргоном. При
регистрации заряженных частиц и гамма-квантов для того, чтобы избежать потерь
энергии частицами до регистрации используют тонкие входные окна. Иногда
источник помещают в объём счетчика. Эффективность регистрации для мягких
гамма-квантов с энергией < 20 кэВ > 80%. Для повышения эффективности
регистрации более энергетичных гамма-квантов используют ксенон. При регистрации
нейтронов пропорциональные счетчики заполняются газами 3He или 10BF3.
Используются реакции
n + 3He 3H + 1H + 0.764 МэВ+
10B 7Li* + 4He7Li + 4He + γ(0.48
МэВ)
+2.3 МэВ
(93%)
n + 10B 7Li + 4He + 2.8 МэВ (7%).
Нейтроны регистрируются с помощью заряженных
частиц, возникающих в результате этих реакций и вызывающих ионизацию в
счетчике.чётчик Гейгера-Мюллера.
Рис. 10 - Схема счетчика Гейгера
чётчик Гейгера (или счётчик Гейгера-Мюллера) -
газонаполненный счётчик заряженных элементарных частиц, электрический сигнал с
которого усилен за счёт вторичной ионизации газового объёма счётчика и не
зависит от энергии, оставленной частицей в этом объёме. Изобретён в 1908 г. Х.
Гейгером и Э. Резерфордом, позднее усовершенствован Гейгером и В. Мюллером.
Конструктивно счётчик Гейгера устроен также как
пропорциональный счётчик, т.е. представляет собой цилиндрический конденсатор,
заполненный инертным газом. К внутреннему электроду (тонкой металлической нити)
приложен положительный потенциал, к внешнему - отрицательный. Функционально
счётчик Гейгера также в основном повторяет пропорциональный счётчик, но
отличается от последнего тем, что за счёт более высокой разности потенциалов на
электродах работает в таком режиме, когда достаточно появления в объёме детектора
одного электрона, чтобы развился мощный лавинообразный процесс, обусловленный
вторичной ионизацией (газовое усиление), который способен ионизовать всю
область вблизи нити-анода. При этом импульс тока достигает предельного значения
(насыщается) и не зависит от первичной ионизации. По существу, при попадании в
счетчик Гейгера частицы в нём вспыхивает (зажигается) самостоятельный газовый
разряд. При этом коэффициент газового усиления может достигать 1010, а величина
импульса десятков вольт.
Этот счётчик обладает практически стопроцентной
вероятностью регистрации заряженной частицы, так как для возникновения разряда
достаточно одной электрон-ионной пары. Однако длительность сигнала со счётчика
Гейгера сравнительно велика (≈10-4 с). Именно такое время требуется,
чтобы медленные положительные ионы, заполнившие пространство вблизи нити-анода
после пролёта частицы и прохождения электронной лавины, ушли к катоду и
восстановилась чувствительность детектора.
Искровой счетчик.
Если разность потенциалов между анодом и катодом
в газонаполненном счетчике превысит некоторое критическое значение, то
появление в его объёме свободных носителей зарядов вызовет искровой пробой
(разряд). При этом амплитуда электрического сигнала с такого счётчика
(называемого искровым) может достигать сотен вольт. После разряда счётчику
требуется время 10-3-10-4 с для восстановления (очистки рабочего газового
объёма от положительных ионов), после чего он будет в состоянии
зарегистрировать новую частицу. В простейшем варианте искровой счётчик представляет
собой два плоскопараллельных металлических электрода, к которым приложена
разность потенциалов несколько кВ. Площадь электродов - десятки квадратных
сантиметров. Пространство между электродами обычно заполнено инертным газом.
Зазор между электродами может варьироваться в пределах 0.1-10 мм. Разрядная
искра строго локализована. Она возникает там, где появляются первичные
электроны, и поэтому указывает место попадания частицы в счётчик.
Полупроводниковые детекторы.
Газонаполненные детекторы имеют два недостатка.
Во-первых, плотность газа низка и энергия, теряемая частицей в объёме детектора
мала, что не позволяет эффективно регистрировать высокоэнергичные и
слабоионизующие частицы. Во-вторых, энергия, необходимая для рождения пары
электрон-ион в газе велика (30-40 эВ), что увеличивает относительные флуктуации
числа зарядов и ухудшает энергетическое разрешение. Значительно более удобными
в этом плане являются детекторы с твёрдотельной рабочей средой. Наибольшее
распространение получили полупроводниковые детекторы из кристаллов кремния
(плотность 2.3 г/см3) и германия (5.3 г/см3). В полупроводниковом детекторе
определенным образом создается чувствительная область, в которой нет свободных
носителей заряда. Попав в эту область, заряженная частица вызывает ионизацию,
соответственно в зоне проводимости появляются электроны, а в валентной зоне -
дырки. Под действием напряжения, приложенного к напылённым на поверхность
чувствительной зоны электродам, возникает движение электронов и дырок,
формируется импульс тока. К полупроводниковому кристаллу прикладывается
напряжение до нескольких кВ, что обеспечивает сбор всех зарядов, образованных
частицей в объёме детектора.
Энергия, необходимая для рождения одной пары
электрон-дырка в кремнии равна 3.62 эВ при температуре T = 300 K и 3.72 эВ при
T = 80 K, германии она равна 2.95 эВ при T = 80 K. Это при использовании
полупроводникового счётчика в качестве спектрометра позволяет в несколько раз
улучшить энергетическое разрешение по сравнению с газонаполненными счётчиками,
такими как ионизационная камера и пропорциональный счётчик.
Для регистрации заряженных частиц используют
кремниевые детекторы и детекторы из сверхчистого германия (HpGe). Толщина
чувствительной области кремниевых детекторов не превышает 5 мм, что соответствует
пробегу протонов с энергией ~30 МэВ и α-частиц
с энергией ~120 МэВ. Для германия толщина 5 мм соответствует пробегам протонов
и α-частиц
с энергиями ~40 МэВ и ~160 МэВ соответственно. Более того, германиевые
детекторы могут быть изготовлены с гораздо более толстой чувствительной
областью.
Кремниевые детекторы часто используют при
комнатной температуре. Германиевые детекторы всегда охлаждают до азотных
температур.
Большие преимущества даёт применение
полупроводниковых детекторов в спектрометрах γ-квантов.
В этом случае применяются специально выращенные кристаллы сверхчистого германия
объёмом до нескольких сотен см3. Германий имеет довольно высокий атомный номер
Z = 32 и поэтому эффективное сечение взаимодействия γ-квантов
велико (вероятность фотоэффекта пропорциональна Z5, Комптон-эффекта - Z,
рождения пар - Z2). Чтобы добиться наилучшего энергетического разрешения
германиевые кристаллы во время эксперимента охлаждают до температуры жидкого
азота (77о К). Энергетическое разрешение германиевых детекторов при регистрации
γ-квантов
достигает 0.1%, что в десятки раз выше, чем у сцинтилляционных детекторов.
Временнoе разрешение лучших полупроводниковых детекторов 10-8-10-9 с.
1.5 Микроканальные пластины
Рис. 11 - Конструкция МКП
Микроканальные пластины (МКП) представляют собой
сотовые структуры, образованные большим числом стеклянных трубок (каналов)
диаметром 5-15 мкм с внутренней полупроводящей поверхностью, имеющей
сопротивление от 20 до 1000 МОм. Другими словами МКП представляет собой сборку
большого (несколько миллионов) количества канальных электронных умножителей.
Когда налетающая частица (ион, электрон, фотон и т.п.) попадает в канал, из его
стенки выбиваются электроны, которые ускоряются электрическим полем, созданным
напряжением приложенным к концам канала. Вторичные электроны летят по своим
параболическим траекториям, пока не попадут на стенку, в свою очередь, выбивая
еще большее количество вторичных электронов. Этот процесс по мере пролета вдоль
канала повторяется много раз и на ее выходе формируется электронная лавина.
Коэффициент усиления МКП g определяется
соотношением
(1)
где G - коэффициент вторичной
эмиссии, который зависит от свойств материала стенок канала и приложенного
напряжения, L и d - длина и диаметр канала.
Отношение
у
стандартных МКП около 40-80. Коэффициент усиления у однокаскадных МКП ~104, у
двухкаскадных (шевронных) ~107, у трехкаскадных - до 109. Чтобы налетающие
частицы попадали на стенки каналов, они располагаются под некоторым углом к
направлению их движения (обычно 5°-15°).
Размеры МКП варьируются от
нескольких миллиметров до 10 см и больше. Форма МКП может быть самая
разнообразная - округлая, прямоугольная, практически любая, необходимая для
конкретного приложения. Кроме того, поверхность их может быть сделана
сферической или цилиндрической, для того, например, чтобы соответствовать
фокальной плоскости магнитного или электростатического спектрометра.
Рис. 12 - Выходной сигнал у МКП
фирмы HAMAMATSU, предназначенной для измерений времени пролета
МКП имеют уникальное сочетание
свойств - большой коэффициент усиления, высокое пространственное и временное
разрешение. (Пространственное разрешение для однокаскадных МКП определяется
диаметром канала. Временное - временем пролета электронной лавиной канала,
которое меньше 1 нс.)
МКП используются в различных
областях (электронная спектроскопия и микроскопия, масс-спектрометрия,
рентгеновская астрономия, ядерные исследования). В большинстве случаев используются
только некоторые свойства МКП. Так для магнитных или электростатических
анализаторов в основном важно пространственное разрешение, а для метода времени
пролета временное. Детекторы на базе МКП оптимизируются с учетом решаемых с их
помощью задач.
В общем случае детекторы на базе МКП
состоят из трех частей.
Конвертора, который преобразует
входное излучение в другое, которое может эффективно взаимодействовать
непосредственно с МКП. Например, также как и в ФЭУ используются фотокатоды для
сдвига длин волн в область чувствительную для МКП. Для электронов, ионов и
ультрафиолета конвертеров обычно не нужно.
Собственно сборки МКП. В зависимости
от решаемой задачи они могут иметь от одного до трех каскадов. Для временных
измерений оптимальными считаются двухкаскадные (шевронные).
Вывода данных. Для приложений, в
которых пространственное разрешение не имеет значения, для вывода сигнала можно
использовать сплошной металлический анод. Там, где важно пространственное
разрешение анод может быть секционированным или резистивным и т.д.
Использование МКП накладывает
довольно жесткие требования к вакуумной системе. Для их нормальной работы
требуется давление не менее 6.5.10-4 Па (5.10-6 торр).
По сравнению с ФЭУ, МКП имеют малые
габариты, лучшие временные характеристики и заметно меньшую чувствительность к
магнитным полям.
1.6 Трековые и координатные
детекторы
Трековыми детекторами называют
группу детекторов, в которых при прохождении заряженной частицы возникает
визуально наблюдаемый след (трек) этой частицы. Трековые детекторы сыграли
выдающуюся роль в силу наглядности и возможности получения исчерпывающей
пространственной картины изучаемого процесса. Благодаря этим детекторам были
открыты ядерные распады и реакции, частицы (позитрон, мюон, заряженные пионы,
странные и очарованные частицы).
В трековых детекторах след частицы
визуально наблюдаем. В то же время есть группа детекторов (многопроволочная
пропорциональная камера, дрейфовая камера, полупроводниковый микростриповый
детектор и некоторые другие), в которых треки частиц ненаблюдаемы, но с высокой
точностью фиксируются их пространственные координаты. Детекторы такого типа мы
будем называть координатными.
Микростриповые детекторы, а также
прецизионные многослойные пропорциональные камеры и дрейфовые камеры часто используют
в качестве центральных (или вершинных) детекторов, непосредственно окружающих
мишень (или место столкновения пучков в коллайдерах). Центральные детекторы
играют важную роль в современных экспериментах на ускорителях высоких энергий.
Они фиксируют с почти 100%-ной вероятностью продукты взаимодействия пучка с
мишенью практически в точке их зарождения и определяют направление их вылета.
Более габаритные детекторы, окружающие центральный детектор, предназначены для
идентификации этих родившихся и вторичных частиц и определения их характеристик
(координат, импульсов, энергий и др.).
Ядерные фотоэмульсии.
Впервые с возможностью регистрации
ядерных излучений фотографическим методом столкнулся А. Беккерель, открывший в
1896 г. с помощью фотопластинок радиоактивность урана. Но по настоящему в
практику субатомных исследований этот метод вошёл в конце сороковых годов
прошлого века после создания С. Пауэллом специальных фотопластинок с толстым
эмульсионным слоем (эта работа была отмечена Нобелевской премией).
Ядерные эмульсии, как и обычные
светочувствительные, состоят из желатина и взвешенных частиц кристаллического
бромистого серебра (AgBr) размером до 0.3 мкм, но в отличие от последних имеют
существенно бóльшую
толщину - до нескольких сотен микрон (толщина обычных эмульсий 10 мкм).
Заряженные частицы, проходя через слой эмульсии, ионизуют атомы, лежащие на их
пути. В результате происходит разложение бромистого серебра и образование
центров скрытого изображения. При последующей проявке в эмульсии образуются мельчайшие
зёрна металлического серебра размером до 1 мкм, которые наблюдаются под
микроскопом в виде точек различной жирности. След частицы имеет вид цепочки
таких точек со средним расстоянием между ними, не превышающим 5 мкм. По
характеру этого следа (концентрации точек и отклонению от прямолинейности)
можно идентифицировать тип частицы.
Диэлектрические детекторы.
К ядерным эмульсиям функционально
примыкают диэлектрические детекторы (стёкла, слюды, природные и синтетические
кристаллы, органические полимеры), которые избирательно чувствительны к
многозарядным ионам и осколкам деления ядер. В них, как и в фотоэмульсиях,
возникает скрытое изображение в форме остаточных дефектов вдоль трека частицы,
которые выявляются химическим травлением. Следы тяжёлых частиц наблюдаются под
микроскопом как каналы или лунки диаметром в десятки и сотни мкм.
Диэлектрические детекторы имеют высокую эффективность регистрации и низкий
уровень фона. Они не чувствительны к свету, α-частицам, γ-излучению,
высокоэнергичным малозарядным частицам. Их используют и для регистрации
нейтронов по осколкам деления ядер, которое эти нейтроны вызывают.
Камера Вильсона.
Камера Вильсона - трековый детектор
элементарных заряженных частиц, в котором трек (след) частицы образует цепочка
мелких капелек жидкости вдоль траектории её движения. Изобретена Ч. Вильсоном в
1912 г. (Нобелевская премия 1927 г.).
Важным этапом в методике наблюдения
следов частиц явилось создание камеры Вильсона (1912 г.). За это изобретение Ч.
Вильсону в 1927 г. присуждена Нобелевская премия. В камере Вильсона (см. рис.
1) треки заряженных частиц становятся видимыми благодаря конденсации
перенасыщенного пара на ионах газа, образованных заряженной частицей. На ионах
образуются капли жидкости, которые вырастают до размеров достаточных для
наблюдения (10-3-10-4 см) и фотографирования при хорошем освещении.
Пространственное разрешение камеры Вильсона обычно ≈0.3 мм. Рабочей
средой чаще всего является смесь паров воды и спирта под давлением 0.1-2
атмосферы (водяной пар конденсируется главным образом на отрицательных ионах,
пары спирта - на положительных). Перенасыщение достигается быстрым уменьшением
давления за счёт расширения рабочего объёма. Время чувствительности камеры, в
течение которого перенасыщение остаётся достаточным для конденсации на ионах, а
сам объём приемлемо прозрачным (не перегруженным капельками, в том числе и
фоновыми), меняется от сотых долей секунды до нескольких секунд. После этого
необходимо очистить рабочий объём камеры и восстановить её чувствительность.
Таким образом, камера Вильсона работает в циклическом режиме. Полное время
цикла обычно > 1 мин.
Рис. 13 - Камера Вильсона (1912 г.)
и фотография треков
Возможности камеры Вильсона значительно
возрастают при помещении её в магнитное поле. По искривлённой магнитным полем
траектории заряженной частицы определяют знак её заряда и импульс. С помощью
камеры Вильсона в 1932 г. К. Андерсон обнаружил в космических лучах позитрон.
Рис. 14 - К принципу работы камеры Вильсона
Важным усовершенствованием, удостоенным в 1948
г. Нобелевской премии (П. Блэкетт), явилось создание управляемой камеры
Вильсона. Специальные счётчики отбирают события, которые должны быть
зарегистрированы камерой Вильсона, и “запускают” камеру лишь для наблюдения
таких событий. Эффективность камеры Вильсона, работающей в таком режиме,
многократно возрастает. “Управляемость” камеры Вильсона объясняется тем, что
можно обеспечить очень высокую скорость расширения газовой среды и камера
успевает отреагировать на запускающий сигнал внешних счётчиков.
Диффузионная камера.
Перенасыщение пара можно создать не только
расширением объёма газовой среды, но и диффузией пара из нагретой области в
холодную. Этот принцип используется в диффузионной камере. В отличие от камеры
Вильсона диффузионные камеры обладают непрерывной чувствительностью, так как в
них диффузия пара из нагретой части в холодную осуществляется постоянно. В
диффузионных камерах обычно используются пары спиртов, а для охлаждения - сухой
лед. Диффузионные камеры часто помещают в магнитное поле. Диффузионная камера
была изобретена в 1936 г. Александром Ландгсдорфом.
Пузырьковая камера.
Пузырьковая камера - трековый детектор
элементарных заряженных частиц, в котором трек (след) частицы образует цепочка
пузырьков пара вдоль траектории её движения. Изобретена А. Глэзером в 1952 г.
(Нобелевская премия 1960 г.). Принцип действия пузырьковой камеры напоминает
принцип действия камеры Вильсона. В последней используется свойство
перенасыщенного пара конденсироваться в мельчайшие капельки вдоль траектории
заряженных частиц. В пузырьковой камере используется свойство чистой перегретой
жидкости вскипать (образовывать пузырьки пара) вдоль пути пролёта заряженной
частицы. Перегретая жидкость - это жидкость, нагретая до температуры большей
температуры кипения для данных условий. Вскипание такой жидкости происходит при
появлении центров парообразования, например, ионов. Таким образом, если в
камере Вильсона заряженная частица инициирует на своём пути превращение пара в
жидкость, то в пузырьковой камере, наоборот, заряженная частица вызывает
превращение жидкости в пар.
а)
б)
в)
Рис. 15 - Пузырьковая камера: а - внешний вид, б
- фотография события в камере, в - расшифровка события
Перегретое состояние достигается быстрым (5-20
мс) уменьшением внешнего давления. На несколько миллисекунд камера становится
чувствительной и способна зарегистрировать заряженную частицу. После
фотографирования треков давление поднимается до прежней величины, пузырьки
“схлопываются” и камера вновь готова к работе. Цикл работы большой пузырьковой
камеры ≈1 с (т. е. значительно меньше, чем у камеры Вильсона), что
позволяет использовать её в экспериментах на импульсных ускорителях. Небольшие
пузырьковые камеры могут работать в значительно более быстром режиме - 10-100
расширений в секунду. Моменты возникновения фазы чувствительности пузырьковой
камеры синхронизуют с моментами попадания в камеру частиц от ускорителя.
Важным преимуществом пузырьковой камеры по
сравнению с камерой Вильсона и диффузионной камерой является то, что в качестве
рабочей среды в ней используется жидкость (жидкие водород, гелий, неон, ксенон,
фреон, пропан и их смеси). Эти жидкости, являясь одновременно мишенью и
детектирующей средой, обладают на 2-3 порядка большей плотностью, чем газы, что
многократно увеличивает вероятность появления в них событий, достойных
изучения, и позволяют целиком “уместить” в своём объёме треки высокоэнергичных
частиц.
Пузырьковые камеры могут достигать очень больших
размеров (до 40 м3). Их, как и камеры Вильсона, помещают в магнитное поле.
Пространственное разрешение пузырьковых камер ≈ 0.1 мм.
Недостатком пузырьковой камеры является то, что
её невозможно (в отличие от камеры Вильсона) быстро “включить” по сигналам
внешних детекторов, осуществляющих предварительный отбор событий, так как
жидкость слишком инерционна и не поддается очень быстрому (за время ≈ 1
мкс) расширению. Поэтому пузырьковые камеры, будучи синхронизованы с работой
ускорителя, регистрируют все события, инициируемые в камере пучком частиц.
Значительная часть этих событий не представляет интереса.
Рис. 16 - Аннигиляция антипротона. Антипротон
(синий) влетает в пузырьковую камеру снизу и попадает в протон. В результате
аннигиляции образуется 4 π+ (красный) и 5
π-
(зеленый),
желтый трек - мюон, который образовался в результате распада π-мезона
Искровая камера.
Искровая камера - трековый детектор заряженных
частиц, в котором трек (след) частицы образует цепочка искровых электрических
разрядов вдоль траектории её движения.
Искровая камера (рис. 16) обычно представляет
собой систему параллельных металлических электродов, пространство между
которыми заполнено инертным газом. Расстояние между пластинами от 1-2 см до 10
см. Широко используются проволочные искровые камеры, электроды которых состоят
из множества параллельных проволочек. Внешние управляющие счётчики фиксируют
факт попадания заряженной частицы в искровую камеру и инициируют подачу на её
электроды короткого (10 - 100 нс) высоковольтного импульса чередующейся
полярности так, что между двумя соседними электродами появляется разность
потенциалов ≈10 кВ. В местах прохождения заряженной частицы между
пластинами за счёт ионизации ею атомов среды возникают свободные носители
зарядов (электроны, ионы), что вызывает искровой пробой (разряд). Разрядные
искры строго локализованы. Они возникают там, где появляются свободные заряды,
и поэтому воспроизводят траекторию движения частицы через камеру. Отдельные
искровые разряды, направлены вдоль электрического поля (перпендикулярно
электродам). Совокупность этих последовательных разрядов формирует трек
частицы. Этот трек может быть зафиксирован либо оптическими методами (например,
сфотографирован), либо электронными. Пространственное разрешение обычной
искровой камеры ≈0.3 мм. Частота срабатывания 10 - 100 Гц. Искровые
камеры могут иметь размеры порядка нескольких метров.
а)
б)
в)
Рис. 17 - а. - к принципу работы искровой
камеры. Управляющие счётчики включены в схему совпадений, б. - внешний вид
двухсекционной искровой камеры, в. - распад пиона в искровой камере
В настоящее время более широкое распространение
получила стримерная камера (изобретена в 1963 г. Г.Е. Чиковани и Б.А.
Долгошеиным), которую можно считать разновидностью искровой камеры. Она также
является управляемым импульсным газоразрядным детектором, в котором разряд
обрывается на более ранней стадии, не успевая перейти в искру. Для этого на две
параллельные плоские металлические пластины, отстоящие друг от друга на десятки
сантиметров (обычные размеры стримерной камеры 1×0.5×0.5
м3),
подаётся очень короткий (< 20 нс) высоковольтный импульс, создающий
напряжённость электрического поля до 50 кВ/см. Использование столь короткого
импульса обеспечивает прекращение разряда на доискровой (стримерной) стадии.
Стримеры - это узкие направленные вдоль поля светящиеся каналы ионизованного
газа длиной до нескольких миллиметров, возникающие в предпробойной стадии
искрового разряда. Стримеры вырастают в сильном электрическом поле в местах
ионизации, созданной заряженной частицей. Совокупность стримеров вдоль пути
пролёта частицы формирует её трек. Треки обычно фотографируют. По качеству
изображения эти треки несколько уступают тем, которые получают в пузырьковых
камерах. Типичное пространственное разрешение стримерной камеры 0.2-0.3 мм.
Стримерные камеры часто используют совместно с магнитным полем. В них, в
отличие от искровых камер, хорошо воспроизводятся треки в любых направлениях.
Многопроволочная пропорциональная камера.
Многопроволочная пропорциональная камера (МПК)
представляет собой систему многих тонких (≈10 мкм) параллельных
проволочек, расположенных в одной плоскости и являющихся анодами, которые
находятся в газовом объёме между двумя плоскими параллельными друг другу и
аноду катодами (сплошными или проволочными). В типичном случае анодные проволочки
удалены друг от друга на 2 мм и от катодов на расстоянии 8 мм. Разность
потенциалов между анодом и катодом несколько кВ. Такие параметры МПК
обеспечивают газовое усиление 104-105 и пропорциональность амплитуды сигнала
энергии, оставленной частицей в объёме газа. Таким образом, МПК это, по
существу, система размноженных пропорциональных счётчиков.
Рис. 18 - Устройство МПК
При прохождении заряженной частицы через МПК
образовавшиеся вдоль следа частицы свободные электроны дают начало лавинам,
приходящим на анодные проволочки ближайшие к этим первичным электронам.
Электроника регистрирует сигнал с каждой проволочки. Таким образом, приходящие
сигналы указывают положение (координаты) частицы в МПК. Для того, чтобы получить
трёхмерные координаты частицы в большом объёме, используются системы из
десятков МПК площадью до 10 м2, располагающихся параллельно одна за другой, с
общим числом проволочек несколько десятков тысяч, причём проволочки двух
соседних МПК натянуты взаимно перпендикулярно. Типичное пространственное
разрешение современной МПК 0.05-0.3 мм. Временнoе разрешение несколько
наносекунд. Энергетическое разрешение пропорциональной камеры ≈10%. МПК
применяют главным образом в исследованиях элементарных частиц на ускорителях
высоких энергий. МПК были разработаны Г. Чарпаком в ЦЕРНе в 1968 г., что было
отмечено Нобелевской премией 1992 г.
Дрейфовая камера.

Рис. 19 - Дрейфовая камера Рис.
20 - Схема
Дрейфовая камера является координатным
детектором. Это проволочный газонаполненный ионизационный детектор (как и
пропорциональная камера), в котором координата частицы определяется по времени
дрейфа электронов в газе от места ионизации (пролёта частицы) до сигнальных
анодных проволочек. Расстояние между проволочками обычно несколько сантиметров.
В отличие от пропорциональной камеры в дрейфовой камере создаётся однородное
электрическое поле. Оно включается по стартовым сигналам внешних детекторов
(чаще всего сцинтилляционных счётчиков), фиксирующих пролёт частицы через
камеру. Далее появившиеся в объёме камеры свободные электроны дрейфуют в однородном
и постоянном поле к ближайшим проволочкам. Напряжённость поля в дрейфовом
промежутке ≈1 кВ/см. В непосредственной близости от анодных проволочек
происходит образование лавин (газовое усиление достигает 106) и по времени
задержки прихода лавин на анодные проволочки относительно стартового сигнала
определяются координаты частицы. Пространственное разрешение дрейфовой камеры
порядка 0.1-0.2 мм, временнoе - наносекунды.
Дрейфовые камеры могут быть плоскими,
цилиндрическими и сферическими, Плоские дрейфовые камеры больших размеров
используются в экспериментах на ускорителях высоких энергий. Так в ЦЕРНе
разработана дрейфовая камера размером 2х4х5 м3.
Микростриповые детекторы.
Для очень точного определения координат частиц
используют полупроводниковые микростриповые детекторы. Они представляют собой
пластины монокристалла кремния, на одну из поверхностей которых наносятся
тонкие электроды (стрипы), отстоящие друг от друга на расстоянии ≈20 мкм,
а другая покрывается металлическим слоем. На электроды подается напряжение
несколько вольт. Электронно-дырочные пары, образованные пролетающей заряженной
частицей в кристалле, двигаются к ближайшим электродам и регистрируются в виде
импульсов тока. Пространственное разрешение микростриповых детекторов уступает
только ядерным эмульсиям и достигает 10 мкм.
Временнoе разрешение - 10-8 с.
Рис. 21 - Устройство кремниевого микрострипового
детектора
1.7 Калориметры
Калориметры предназначены главным образом для
измерения полной энергии высокоэнергичных (в том числе и нейтральных) частиц.
Детекторы с газовой и жидкой рабочей средой не удобны для этой цели, так как
имеют низкую плотность, компенсация которой требует слишком больших объёмов.
Однородные твёрдотельные детекторы (сцинтилляторы, полупроводники и др.) также
невозможно изготовить таких размеров, чтобы обеспечить полное поглощение
энергии релятивистских и слабоионизующих частиц. Проблема решается
использованием “сэндвичей”, состоящих из чередующихся слоёв поглощающих и
детектирующих сред. В качестве поглотителей могут быть взяты такие плотные и
сильно поглощающие материалы как железо и свинец. В качестве детекторов -
твёрдые сцинтилляторы или свинцовые стёкла, эффективно генерирующие
черенковское излучение. Частица, попадая в такой твёрдотельный сэндвич, создаёт
быстро размножающийся по мере продвижения вглубь каскад (ливень) вторичных
частиц. Энергия первичной частицы трансформируется в энергии частиц каскада, а
также в возбуждение и ионизацию среды. Если обеспечить размеры калориметра
достаточные для остановки и поглощения всех вторичных частиц, то задача будет
решена сбором и суммированием всех сигналов с детектирующих слоёв. Калориметры
делятся на два класса - электромагнитные и адронные.
Рис. 22 - Один из видов калориметра -
устройства, позволяющего регистрировать космические лучи высокой энергии
Прибор состоит из углеродной мишени, в которой
происходит генерация вторичных частиц - нейтральных пионов, которые,
распадаясь, формируют поток фотонов. Они регистрируются слоями детекторов,
расположенных между поглотителями и свинца под мишенью. Измеряя количество
вторичных частиц, можно определить энергию первичной. Чем больше слоёв
детекторов, тем точнее измеряемая энергия.
Электромагнитные калориметры служат для
измерения энергии электронов, позитронов и фотонов с энергией больше 100 МэВ
(они пригодны и для регистрации мюонов). Каскад вторичных частиц развивается за
счёт генерации тормозного излучения и рождения электрон-позитронных пар.
Толщина электромагнитного калориметра - десятки сантиметров.
В адронных калориметрах первичный адрон
производит главным образом вторичные адроны в реакциях неупругого
взаимодействия. Адронные ливни имеют бoльшие размеры, чем электромагнитные
(соответственно толщина адронного калориметра может достигать нескольких
метров), и подвержены значительно бoльшим флуктуациям в числе и типе вторичных
частиц. Кроме того, лишь небольшая доля энергии первичного адрона остаётся в
детектирующем материале калориметра. В этой связи энергетическое разрешение
адронных калориметров в десятки раз хуже электромагнитных. Энергетическое
разрешение калориметров ∆Е/Е пропорционально E-1/2, т. е. улучшается с
ростом энергии. При энергии частицы 100 ГэВ оно составляет доли процента для
электромагнитного калориметра и проценты для адронного. Временнoе разрешение
калориметра определяется “быстродействием” его детектирующей среды.
1.8 Детекторы для
гамма-спектрометрии
Обычно гамма-излучение связано с предшествующими
ему альфа- или бeта-распадами изотопов образца. Бета-, а тем более
альфа-частицы обычно поглощаются, не доходя до чувствительных области
детекторов.
В детекторах энергии и интенсивности
гамма-квантов определяются не непосредственно, а с помощью вторичных заряженных
частиц (электронов и позитронов), которые возникают в результате взаимодействия
детектируемых гамма-квантов с веществом детектора.
Когда гамма-квант попадает в
детектор, заряженные частицы образуются в результате трех процессов:
фотоэффекта, эффекта Комптона и образования электрон-позитронных пар.
Фотоэффект пропорционален
5, эффект
Комптона
В результате фотоэффекта выбитый из
атома электрон приобретает энергию
,
где
γ - энергия гамма-кванта,
b - энергия
связи электрона и
r - энергия
ядра отдачи, которой можно пренебречь. Фотоэффект сопровождается
характеристическим рентгеновским излучением или эмиссией оже-электронов.
Характеристическое рентгеновское излучение в свою очередь вызывает фотоэффект.
Образующиеся в результате всех этих процессов электроны возникают практически
одновременно, они чаще всего поглощаются в детекторе и сигналы от них суммируются.
Таким образом практически вся энергия гамма-кванта передается электронам.
.
В функции отклика детектора
фотоэффекту соответствует пик - фотопик.
В результате комптоновского
рассеяния электронам передается только часть энергии.
,
e =
γ -
γ´,
где
γ и
γ´ - энергии
гамма-квантов до и после рассеяния,
e - энергия фотоэлектрона,
2 - энергия
покоя электрона,
- угол
рассеяния гамма кванта. Максимальная энергия, которая в результате
комптоновского рассеяния может быть передана электрону (при
= 180о),
.
В детекторах большого объема часть
рассеянных гамма-квантов может испытать еще одно или несколько неупругих
взаимодействий, в результате которых вся энергия попавшего в детектор
первичного гамма-кванта будет полностью поглощена. В связи с этим, фотопик
обычно называют пиком полного поглощения. На рис.23 показан экспериментальный
спектр 137Cs и его теоретическая "идеализация". Размытие пика полного
поглощения и края комптоновского распределения связана с энергетическим разрешением
системы.
Рис. 23 - Экспериментальный спектр
137Cs и его теоретическая "идеализация"
Пик обратного рассеяния связан с
комптоновским рассеянием на материалах, окружающих детектор под углом близким к
180о, которые затем попадают в детектор и вызывают фотоэффект. Их энергия
соответственно равна
На рис. 24 показана зависимости
сечений фотоэффекта, эффекта Комптона и образования пар от энергии для германия
и кремния.
Рис. 24 - Зависимости сечений
неупругих взаимодействий гамма-квантов от энергии для германия и кремния
От соотношения этих сечений зависит
форма измеряемого спектра. Так при энергии 100 кэВ сечение фотоэффекта в Ge
составляет ~55 барн/атом, а сечение эффекта Комптона − ~18 барн/атом.
Величины сечений относятся приблизительно как 3:1. На рис.3 показан спектр при
энергии гамма-квантов 100 кэВ. При увеличении энергии форма спектра меняется.
Рис. 25 - Спектр на HPGe детекторе при энергии
100 кэВ. Суммарное количество отсчетов в пике полного поглощения − 3000,
в комптоновском распределении - 1000
Рис. 26 - Спектр на HPGe детекторе при энергии 1
МэВ. Суммарное количество отсчетов в пике полного поглощения − 1000, в
комптоновском распределении − 90000
Так при энергии 1 МэВ отношение комптоновского
сечения к сечению фотоэффекта составляет ~90. На рис. 4 показан спектр при
энергии гамма-квантов 1 МэВ.
Образование пар электрон-позитрон становится
возможным при энергии гамма квантов больших 2mc2 = 1022 кэВ. При этом вся
энергия гамма-кванта передается электрону и позитрону. Если и электрон и
позитрон поглотятся в веществе детектора, то суммарный импульс будет
пропорционален энергии гамма-кванта и событие будет зафиксировано в пике
полного поглощения. Однако позитрон может проаннигилировать. При этом
образуются два гамма кванта, каждый с энергией 511 кэВ. Если один из этих
аннигиляционных гамма-квантов, не вступив во взаимодействие, вылетит из
детектора, то суммарная энергия поглощенная в детекторе будет Eγ
- 511 кэВ.
Такие события будут вносить вклад в так называемый пик одиночного вылета (см.
рис. 5). Если из детектора вылетят оба аннигиляционных гамма-кванта, то это
событие будет зафаксировано в пике двойного вылета (Eγ
- 1022 кэВ).
Рис. 27 - Спектр источника гамма-квантов с
энергией Eγ > 1022 кэВ
Суммирование сигналов от нескольких генетически
связанных гамма-квантов.
Если в образце реализуется каскад
гамма-переходов, они как правило происходят практически одновременно.
Существует не равная нулю вероятность, что каскадные гамма-кванты,
сопровождающие данный распад, попадут в детектор и их энергии будут
просуммированы. На рис.6 показана схема распада 60Co. Образовавшееся в
результате бета-распада возбужденное состояние 60Ni сбрасывает свою энергию
возбуждения каскадом, причем среднее время жизни возбужденного состояния (2+)
60Ni (7∙10-13 с), которое испытывает второй гамма-переход каскада,
ничтожно мало по сравнению со временем реакции спектрометра (~1 мкс). Таким образом,
если оба гамма-кванта попали в детектор и полностью в нем поглотились,
спектрометр фиксирует это так, как будто в него попал один гамма-квант с
суммарной энергией гамма-квантов каскада. Вероятность таких событий
определяется эффективностью регистрации каскадных гамма-квантов, их угловой
корреляцией и геометрией источник-детектор. Похожая ситуация возникает при
регистрации гамма-квантов, сопровождающих β+-распад.
На рис. 7. показан спектр гамма-квантов β+-активного
источника 22Na, где виден пик суммирования энергии аннигиляционного
гамма-кванта и энергии гамма-перехода с возбужденного состояния на основное
состояние ядра 22Ne.
Рис. 28 - Схема распада 60Co
Бета распад 60Co в основном происходит на
возбужденное состояние 4+ 60Ni, который сопровождается каскадной эмиссией Е2
двух гамма-квантов с энергиями Eγ1 = 1.17 МэВ,
Eγ2
= 1.33 МэВ.
Рис. 29 - Схема β+-распада
22Na
В результате аннигиляции позитронов возникают
гамма-кванты с энергией 0.511 МэВ. Бета-распад происходит в основном на
возбужденное состояние 22Ne с энергией 1.274 МэВ, которое испытывает гамма-переход
на основное состояние. На спектре видны пики от этих гамма квантов и суммарный
пик.
1.9 Детекторные комплексы физики
высоких энергий
Детекторы, используемые в физике высоких энергий
для регистрации частиц, состоят, как правило, из нескольких структур, входящих
в состав единого регистрирующего комплекса. Каждая структура рассчитана для
регистрации частиц с определенными характеристиками. Отдельные структуры
детектора расположены так, чтобы различного типа частицы, последовательно
проходя через них, оставляли определённую информацию о прошедшей через них
частице. На основе этой информации затем восстанавливаются такие характеристики
частицы как её тип, энергия, импульс, характеристики распада.
Принципы организации такого комплексного
детектора иллюстрируются рис. 1. Частицы рождаются в самой левой части рисунка
в результате взаимодействия либо сталкивающихся пучков коллайдера, либо одного
пучка ускоренных частиц с неподвижной мишенью. Рожденные частицы удаляются от
точки своего появления, последовательно проходя различные структуры детектора.
Заряженные частицы, такие как протоны, пионы и каоны, детектируются трековым
детектором (он расположен ближе всего к точке реакции) и далее -
электромагнитным и адронным калориметрами. Электроны детектируются трековым
детектором и электромагнитным калориметром. Нейтральные частицы, такие как
нейтроны и фотоны, не детектируются в трековом детекторе. Фотоны детектируются
электромагнитным калориметром, а нейтроны идентифицируются по энергии,
выделяемой в адронном калориметре.
Рис. 30 - Принципы организации комплексного
детектора в экспериментах по физике высоких энергий
Так как мюоны имеют максимальный пробег в
веществе детектора из всех регистрируемых частиц, для их детектирования обычно
используют внешние участки детектора - мюонный детектор.
Многослойная структура детектора позволяет
восстановить траекторию частицы и определить точку её образования с точностью
несколько микрон. Таким образом, каждый тип частиц имеет свою собственную
“подпись” в детекторе. Например, если частица обнаруживается только в
электромагнитном калориметре то, скорее всего, это фотон. Мюон оставляет
информацию во всех структурах детектора.
Для примера на рис. 2 показан детектор ATLAS,
который создается в настоящее время для регистрации продуктов рр-столкновений
коллайдера LHC. Область соударения пучков окружена внутренним детектором (Inner
Detector). Его диаметр составляет 2 м, а длина 6.5 м. Он помещен в
сверхпроводящий соленоид, который обеспечивает внутри детектора магнитное поле
2 Тл. В магнитном поле треки частиц искривляются в зависимости от знака заряда
частицы и ее импульса. Задача детектора - определение точки соударения протонов
и траекторий вторичных частиц, которые образуются в результате соударения. Для
этого применяются два типа детектирующих устройств: кремниевые микрострипы (они
заполняют самую центральную часть внутреннего детектора и обеспечивают точность
измерения координаты около 0.01 мм), и детектор переходного излучения (более
удаленная часть внутреннего детектора), состоящий из тонких газонаполненных
дрейфовых трубок диаметром 4 мм, между которыми находится вещество радиатора.
Детекторы выполнены так, чтобы частицы пересекали их преимущественно
перпендикулярно к плоскости детектора или оси трубки.
Чтобы выдержать радиационные нагрузки,
кремниевые детекторы должны работать при температуре 0° С. Поэтому эта часть
трековой системы помещена в криостат. Траектория каждой частицы большой энергии
должна иметь 6 прецизионно измеренных точек. Для этого в установке ATLAS
используется 12 тысяч кремниевых детекторов.
Рис. 31 - Общий вид детектора ATLAS в разрезе.
Пучки протонов влетают в детектор с диаметрально противоположных направлений и
двигаются вдоль его оси, сталкиваясь в центре
Рис. 32 - Поперечное сечение детектора ATLAS: 1
- вакуумная труба, в которой происходит ускорение частиц; 2 - трековый
детектор; 3 - соленоидальный магнит; 4 - электромагнитный
Длина дрейфовых трубок детектора переходного
излучения достигает 1.6 м. Точность определения координаты частицы в них
составляет около 0.15 мм, но зато число точек измерения на один трек - 36.
Кроме того, дрейфовые трубки регистрируют переходное рентгеновское излучение и,
таким образом, обеспечивают идентификацию электронов. Всего в детекторе
используется около 400 тысяч дрейфовых трубок. Такое большое количество трубок
необходимо для того, чтобы обеспечить 4π- геометрию
установки, и требованием эффективности восстановления траекторий частиц.
Детекторный комплекс ATLAS
калориметр; 5 - адронный калориметр; 6 - мюонный
детектор.
Внутренний трековый детектор заключен в оболочку
калориметров. Калориметрия играет важную роль в установке ATLAS. Она
обеспечивает прецизионное измерение энергии электронов, фотонов, “струй”
адронов, возникающих при адронизации кварков и “недостающей” энергии, уносимой
нейтрино или другими нейтральными слабовзаимодействующими частицами, например,
гипотетическими суперсимметричными партнерами уже известных частиц. Калориметры
состоят из нескольких крупных модулей, предназначенных для регистрации адронов
в удаленной части детектора и для регистрации электромагнитного излучения в
более центральной его области. Модули электромагнитного калориметра и торцевых
адронных калориметров в качестве вещества поглотителя используют жидкий аргон,
что обеспечивает необходимое быстродействие, высокое разрешение и высокую
радиационную стойкость детектора. Адронный калориметр в более приближенной к
центру части собран из железных пластин, прослоенных сцинтилляторами. Это более
дешевая и достаточно надежная конструкция по сравнению с жидкоаргонными
калориметрами.
Мюонная система ATLAS расположена за
калориметрами, в которых поглощаются все электроны, фотоны и адроны. Мюоны
имеют высокую проникающую способность и в калориметрах поглощаются очень мало.
Поэтому практически все зарегистрированные мюонной системой заряженные частицы
являются мюонами. Основным типом детекторов в мюонной системе являются
дрейфовые трубки диаметром 3 см. Результаты измерений, полученные с помощью
мюонной системы (внешней трековой системы), “сшиваются” с данными внутреннего
детектора для полной идентификации частиц.
Установка ATLAS будет размещена под землей на
глубине 100 м. Соударения протонных пучков (банчей) будут происходить каждые 25
наносекунд, т. е. с частотой 40 МГц. При планируемой на первом этапе светимости
ускорителя 1033 см-2сек-1 при каждом столкновении пучков будет происходить в
среднем 2- 3 протонных соударения. При светимости 1034 см-2сек-1 при каждом
столкновении пучков будет происходить уже 25 протонных соударений.
По мере увеличения энергии сталкивающихся пучков
детектирование продуктов столкновения становится все более сложной задачей.
Детектор ATLAS будет выдавать огромный объём
информации. LHC будет создавать в центре детектора почти 109 протон-протонных
столкновений в секунду (как уже отмечалось, протонные банчи будут сталкиваться
каждые 25 наносекунд). Такому числу рр-столкновений отвечает объем информации,
превышающий 40 миллилонов мегабайт. Однако лишь несколько событий, возникших в
результате этого огромного числа столкновений, будут представлять интерес для
исследователей, стремящихся к новым открытиям. Для того чтобы выбрать
потенциально интересные события (по оценкам их должно быть меньше 100 в секунду),
будет использована специальная многоуровневая компьютерная система. Выбранные
события подвергнутся особо тщательному off-line анализу.
Гигантский объём информации, поступающий с
детектора ATLAS (примерно 106 гигабайт в год), будет делиться среди примерно
2000 физиков из 34 стран и анализироваться ими. Вычислительные ресурсы,
необходимые для такого анализа, эквивалентны более чем 10 000 РС Pentium III с
частотой 500 МГц. Для успешной обработки данных с детектора ATLAS будут
использованы самые последние достижения компьютерных технологий и операционных
систем.
Детекторный комплекс TIGER.
Рис. 33 - Схема детекторного комплекса TIGER. 1
- сцинтилляционные детекторы, 2 - детекторы годоскопа, 3 - черенковские
детекторы
Рис. 34 - Сцинтиллятор и светопреобразователь. 1
- заряженная частица, 2 - сцинтилляционная вспышка, 3 - световая траектория, 4
- сдвиг длинны волны в светопреобразователе
Детекторный комплекс TIGER (Trans-Iron Galactic
Element Recorder) предназначен для измерений элементного состава галлактических
космических лучей. Он работает в диапазоне атомных номеров от Z = 26 (железо)
до Z = 40 (цирконий). Эти элементы редко встречаются в галлактических
космических лучах. Кроме измерения зарядов TIGER позволяет также измерять
энергии ядер в диапазоне от 0.3 до ~10 ГэВ/нуклон.
Детекторный комплекс TIGER является комбинацией
сцинилляционных и черенковских детекторов и годоскопов. (рис 35).
Сцинилляционные дектекторы
Сцинилляционные детекторы служат для определения
энергии, которую частица оставляет в нем. В установке имеется 4
сцинтилляционных детектора S1, S2, S3 и S4. В качестве сцинтиллятора (рис. 2)
используется поливинил толуол. Заряженная частица, пролетая через сцинтиллятор,
вызывает световые вспышки в голубом диапазон длин волн. Свет от вспышек через
торцы сцинтиллятора попадает в светопреобразователь, где он поглощается и
переизлучается в зеленой области спектра, попадая затем в фотоумножители.
Прохождение частицы через сцинтиллятор фиксируется электроникой при выполнении
условия (S1 OR S2) AND (S3 OR S4).
Энергия ∆E, которая частица оставляет в
сцинтилляторе зависит от ее энергии E, заряда Z и пути, который она прошла в
сцинилляторе L. Для определения L служит годоскоп.
Годоскоп
Рис. 35 - Детектор годоскопа
Годоскоп предназначены для определения
траектории частицы, которая проходит через детекторный комплекс. Годоскоп
состоит из двух детекторов (см. рис. 1) Каждый детектор годоскопа состоит из
двух плоскостей 1200 сцинтиллирующих оптических волокон с квадратным сечением 1
мм2. Оптические волокна в двух плоскостях ориентированы перпендикулярно, что
позвляет определить x-y координаты пролетающей частицы. На обеих концах
оптические волокна подсоединены к фотоумножителям (рис. 3). На одной из сторон
к одному ФЭУ подсоединяются по 80 волокон (система грубого считывания), на
другом - по 5-6 волокон (система точного считывания). Система грубого
считывания позволяет определять координаты с точностью 8 см, система точного
считывания - 6 мм. С помощью программной обработки точность определения
координаты может быть доведена до 1.7 мм.
1.10 Требования к детекторам
Современные детекторы элементарных частиц иногда
называют «большими братьями» цифровых фотоаппаратов. Однако стоит помнить, что
условия эксплуатации фотоаппарата и детектора кардинально различаются.
Прежде всего, все элементы детектора должны быть
очень быстрыми и очень точно синхронизованными друг с другом. На Большом
адронном коллайдере в пике производительности сгустки будут сталкиваться 40
миллионов раз в секунду. В каждом столкновении будет происходить рождение
частиц, которые оставят свою «картинку» в детекторе, и детектор должен не
«захлебнуться» этим потоком «снимков». В результате за 25 наносекунд требуется
собрать всю ионизацию, которую оставили пролетевшие частицы, превратить ее в
электрические сигналы, а также очистить детектор, подготовив его к очередной
порции частиц. За 25 наносекунд частицы пролетают всего 7,5 метров, что сопоставимо
с размерами крупных детекторов. Пока во внешних слоях детектора собирается
ионизация от пролетевших частиц, сквозь его внутренние слои уже летят частицы
из следующего столкновения!
Второе ключевое требование к детектору -
радиационная стойкость. Элементарных частицы, разлетающиеся от места
столкновения сгустков, - это самая настоящая радиация, причем очень жесткая.
Например, ожидаемая поглощенная доза ионизирующей радиации, которую получит
вершинный детектор за время работы, составляет 300 килогрей плюс суммарный
нейтронный поток 5·1014 нейтронов на см2. В этих условиях детектор должен
работать годами и при этом оставаться исправным. Это касается не только
материалов самого детектора, но и электроники, которой он напичкан. На создание
и тестирование отказоустойчивой электроники, которая будет работать в столь
радиационно жестких условиях, ушло несколько лет.
Еще одно требование к электронике - низкое
энерговыделение. Внутри многометровых детекторов нет свободного места - каждый
кубический сантиметр объема заполнен полезной аппаратурой. Система охлаждения
неизбежно отбирает рабочий объем детектора - ведь если частица пролетит прямо
сквозь охлаждающую трубу, она просто не будет зарегистрирована. Поэтому
энерговыделение от электроники (а это сотни тысяч отдельных плат и проводов,
снимающих информацию со всех компонентов детектора) должно быть минимальным.
1.11 Идентификация частиц
Отдельный вопрос - это идентификация частиц, то
есть выяснение того, что за частица пролетела сквозь детектор. Это не составило
бы труда, знай мы массу частицы, но как раз ее мы обычно и не знаем. С одной
стороны, массу в принципе можно вычислить по формулам релятивистской
кинематики, зная энергию и импульс частицы, но, к сожалению, погрешности в их
измерении обычно столь велики, что не позволяют отличить, например, пи-мезон от
мюона из-за близости их масс.
В этой ситуации имеется четыре основных метода
идентификации частиц:
По отклику в разных типах калориметрах и в
мюонных трубках.
По энерговыделению в трековых детекторах. Разные
частицы производят разное количество ионизации на сантиметр пути, и ее можно
измерить по силе сигнала с трековых детекторов.
С помощью черенковских счетчиков. Если частица
летит сквозь прозрачный материал с коэффициентом преломления n со скоростью
больше, чем скорость света в этом материале (то есть больше, чем c/n), то она
испускает черенковское излучение в строго определенных направлениях. Если в
качестве вещества детектора взять аэрогель (типичный показатель преломления n =
1,03), то черенковское излучение от частиц, движущихся со скоростью 0,99·c и
0,995·c, будет существенно различаться.
С помощью времяпролетных камер. В них с помощью
детекторов с очень высоким временным разрешением измеряется время пролета
частицей определенного участка камеры и из этого вычисляется ее скорость.
У каждого из этих методов есть свои сложности и
погрешности, поэтому идентификация частиц обычно не бывает гарантированно
правильной. Иногда программа обработки «сырых» данных с детектора может прийти
к выводу, что в детекторе пролетел мюон, хотя на самом деле это был пион.
Полностью избавиться от таких погрешностей невозможно. Остается лишь тщательно
изучать детектор перед работой (например, с помощью космических мюонов),
выяснить процент случаев неверной идентификации частиц и уже в дальнейшем при
обработке реальных данных всегда его принимать в расчет.
1.12 Отклонение частицы магнитным
полем и определение ее импульса
Следы частиц на наших снимках - либо дуги
большого радиуса, если это тяжелые частицы, либо спирали в случае электронов и
позитронов. Искривление траектории возникает под действием магнитного поля. На
заряженную частицу в магнитном поле действует сила Лоренца, направленная
перпендикулярно как скорости частицы
,
так и вектору индукции магнитного поля
.
Если частица влетает в магнитное поле перпендикулярно полю, то она движется по
окружности, если же она влетает под углом - то по винтовой линии. На
разноименно заряженные частицы, движущиеся в одном направлении, действуют
противоположно направленные силы - именно поэтому следы электронов и позитронов
расходятся в разные стороны.
Запишем второй закон Ньютона для частицы с
зарядом Ze и массой m, движущуюся по окружности в магнитном поле с индукцией В.
Причем сделаем это в такой форме, которая пригодна как для медленных, так и для
быстрых частиц, в том числе и для ультрарелятивистских, скорость которых близка
к скорости света:
Если частица движется по окружности
радиусом R со скоростью
, то ее
импульс
, оставаясь
постоянным по модулю, поворачивается с угловой скоростью
При этом изменение импульса за время
равно
Тогда второй закон Ньютона принимает
вид
.
(Если частица движется медленно, то
, и в левой
части последнего равенства появляется произведение массы на центростремительное
ускорение. Для релятивистских и ультрарелятивистских частиц это не так.)
Подставляя сюда
, получаем
формулу, выражающую импульс частицы через радиус окружности:
.
Специалисты, работающие на
ускорителях, любят выражать не импульс, а произведение импульса на скорость
света, т.е. величину рс, имеющую размерность энергии. Разделив на заряд
электрона, мы выразим эту величину в электрон-вольтах. Кроме того, физики
привыкли измерять магнитную индукцию не в теслах, а в гауссах (1 Гс = 10-4 Тл).
Учтя все это, получим рабочую формулу, которая используется при обсчетах
траекторий частиц:
где
измеряется в сантиметрах.
Отметим, что величина
удобна еще
и тем, что через нее простым образом выражается энергия
частицы. В
частности, для медленных частиц
где
- энергия покоя (в случае электрона
она равна 0,51 МэВ). А для ультрарелятивистских частиц, энергия которых гораздо
больше энергии покоя,
1.13 Число капель на следе - мера
скорости частицы
Когда заряженная частица движется в
пузырьковой камере, она растрачивает свою энергию на возбуждение атомов или
молекул жидкости. Если переданная энергия достаточно велика, электрон может
быть выбит из атома - произойдет образование иона и свободного электрона.
Энергия, потерянная частицей на единице пути, т.е. величина
, зависит от
скорости частицы: чем скорость меньше, тем больше времени частица
взаимодействует с электроном. Величина оказывается
обратно
пропорциональной квадрату скорости частицы. В первом приближении можно считать,
что
(*)
где
- отношение скорости частицы к
скорости света,
- некоторая
постоянная, зависящая от свойств среды, в которой тормозится частица (дальше мы
оценим эту величину для жидкого водорода). Таким образом, получается, что
быстрая частица (
) ионизирует
слабее всего. Соответственно, тонкие следы в камере принадлежат быстрым
(релятивистским) частицам, а жирные следы из слипшихся капель образованы
медленными частицами. На рисунке 3 ясно видно, что частицы основного пучка,
пронизывающие камеру снизу вверх, - быстрые частицы (для π-мезона с
энергией 1 ГэВ, например,
). Скорость
же протона, возникшего при
0-распаде, мала, и поэтому протон
оставляет плотный след.
Итак, мы видим, что по следам в
пузырьковой камере можно измерить импульс частицы и ее скорость. А зная
скорость и импульс, можно определить массу частицы.
1.14 Почему следы электронов образуют
спирали
Электроны, следы которых мы
наблюдали в камере, имеют небольшую энергию, но большую скорость, близкую к
скорости света. Так как их энергия мала, на каждом обороте в магнитном поле они
теряют заметную часть своей энергии, и следующий оборот происходит при меньшем
радиусе. Поэтому следы этих электронов - сворачивающиеся спирали.
Нетрудно оценить, какую энергию
теряет быстрый (релятивистский) электрон на сантиметре пути в камере.
Рассмотрим, например, след того же δ-электрона с энергией порядка
14 МэВ в жидком водороде. Он совершает около 3 оборотов спирали, так что весь
его путь близок к 43 см. Таким образом, средняя потеря энергии на единицу пути
равна
МэВ/см.
Заметим, что табличное значение этой
величины равно 0,32 МэВ/см. Наши грубые оценки дали правильное значение потерь
энергии быстрого электрона в жидком водороде, а заодно - и приблизительное
значение постоянной
в формуле
(*) для потерь энергии.
Теперь мы можем получить
представление о том, сколько ионов создает быстрый электрон в жидком водороде.
На создание пары ион - электрон тратится энергия порядка 20 эВ, поэтому число
таких пар будет
1/см.
Возможно возникнет вопрос: если число ионов
измеряется сотнями тысяч, то почему число видимых пузырьков так мало? Прежде
всего, дело в механизме вскипания. Чтобы оно началось, необходим местный
разогрев жидкости. Жидкость вскипает там, где случайно выделилось много тепла,
т.е. образовалось большое число ионов. Таким образом, пузырьки образуются на
больших скоплениях ионов, а большие скопления редки. Кроме того, далеко не все
пузырьки оказываются видимыми (разрешаются) при фотографировании. В обычных
камерах размер пузырьков близок к 0,3 - 0,5 мм и число их на 1 см пути быстрой
частицы не превосходит десятка. В сверхчистых быстроциклирующих камерах при
очень ярком освещении можно работать с пузырьками размером ~ 30 мкм.
1.15 Фотоны в камере создают
вещество и антивещество
Рис. 36 - Рождение электрон-позитронной пары. На
снимке виден пучок протонов, фотоны были испущены в направлении этого пучка
На рисунке 4 представлено событие возникновения
в камере пары частиц разных знаков заряда - электрона и позитрона, т.е. частицы
и античастицы, - из излучения. Условно его можно написать в виде реакции
Фотон не оставляет видимого следа в
камере, и следы пары электрон - позитрон возникают как бы из ничего. Можно
измерить радиусы этих следов и оценить энергию, уносимую обеими частицами. Для
наших снимков энергия лежит в пределах 70-100 МэВ.
Заметим, что радиусы обеих
окружностей различаются. Это означает, что энергия фотона не делится поровну
между частицей (
) и
античастицей (
+), и
наводит на мысль, что процесс распада фотона не может происходить без участия
еще одного тела. Действительно, записанная реакция несовместима с законом
сохранения импульса. Предположим, что энергия фотона настолько мала, что ее
хватает только на создание покоящейся пары электрон -позитрон. Тогда импульс
этой пары равен нулю, но импульс фотона, который имеет скорость света, никогда
не может быть равен нулю. Возникает вопрос: куда же девается избыток импульса
фотона?
Очевидно, что в реакции рождения
пары должно участвовать третье тело, которое примет на себя избыток импульса.
Таким телом является ядро атома, в электромагнитном поле которого и возникает
пара. В жидководородной камере это протон, так что реакцию рождения пары можно
написать в таком виде:
Хотя импульс, получаемый протоном,
может быть велик, его кинетическая энергия, равная
, мала, так
как он имеет большую массу. Таким образом, электрон-позитронная пара уносит
почти всю энергию фотона, но лишь часть его импульса.
2. Ускорители
Основными источниками пробных частиц в
субатомных экспериментах являются ускорители. Необходимость использования
ускорителей для исследования структуры микромира очевидна. Во-первых, атомные
ядра и элементарные частицы занимают очень малые области пространства, и
проникновение в эти области требует высокой разрешающей способности
зондирующего пучка, обеспечивающей взаимодействие отдельной пробной частицы с
отдельным микрообъектом. Во-вторых, чем меньше микрообъект, тем он прочнее и
проведение экспериментов с перестройкой или разрушением внутренней структуры
такого объекта также требует большей энергии.
Зная размеры изучаемого объекта, легко оценить
энергию пробных частиц, необходимую, для его изучения. Всякая частица обладает
волновыми свойствами. Длина её волны зависит от импульса и дается формулой де
Бройля
[МэВ*Фм]/T[МэВ] (1)
Приведенная формула даёт также связь
между длиной волны релятивистской частицы и её кинетической энергией Е
(использовано численное значение переходной константы
МэВ.Фм≈200
МэВ.Фм и ультрарелятивистское приближение для импульса -
).
В эксперименте по рассеянию
структура объекта становится “видимой”, если длина волны де Бройля сравнима или
меньше размера (радиуса) объекта R, т. е. при λ < R. При
использовании в качестве зондирующих частиц электронов внутрь ядра можно
“заглянуть”, если энергия электрона будет превышать 100 МэВ. Для наблюдения
структуры нуклона энергия электрона должна уже исчисляться гигаэлектронвольтами
(1 ГэВ = 109 эВ). Современные ускорители позволяют ускорять частицы до энергии
нескольких ТэВ (1 ТэВ = 1012 эВ). Для сравнения укажем, что кинетическая
энергия летящего москита приблизительно 1 ТэВ.
Рождение новых частиц происходит в результате
преобразования кинетических энергий взаимодействующих (сталкивающихся) частиц.
Чем больше масса частицы, которую необходимо получить в столкновении, тем
больше должна быть энергия сталкивающихся частиц.
В принципе ускоритель позволяет
сформировать пучок пробных частиц с требуемыми для эксперимента
характеристиками (энергией, потоком или интенсивностью, пространственными
размерами и т. д.). Для ряда экспериментов необходим пучок, так называемых,
поляризованных частиц, т. е. частиц, спины которых направлены в одну сторону
(выстраивание спинов достигается пропусканием пучка частиц через сильное
магнитное поле). В современных ускорителях, предназначенных для изучения
элементарных частиц, могут ускоряться античастицы (позитроны, антипротоны) и
для многократного роста эффективности использования энергии частиц их пучки в
ряде установок (коллайдерах) после завершения ускорительного цикла сталкиваются
(встречные пучки).
Ускорители различаются типом
ускоряемых частиц, характеристиками пучка (энергией, интенсивностью и др.), а
также конструкцией. Наиболее распространены ускорители электронов и протонов,
поскольку пучки этих частиц проще всего приготовить. Есть ускорители более
тяжелых частиц - дейтронов (ядер дейтерия 2H), α-частиц
(4He), а также ионов других ядер, в том числе и тяжёлых, таких как свинец.
Современные ускорители высокой энергии оснащаются системами генерации пучков
вторичных частиц. В качестве последних могут быть пионы, мюоны, нейтрино и др.
С помощью пучков вторичных частиц (в частности, нейтрино и антинейтрино)
выполнены многие важные эксперименты.
Рис. 37 - Ускоритель и его место в эксперименте
В ускорителях увеличение энергии заряженных
частиц происходит под действием электрического поля, направленного вдоль
импульса частицы. Любой ускоритель конструктивно состоит из трёх частей (см.
рисунок) - системы, где “изготавливаются” ускоряемые частицы (инжектор),
ускорительной системы, где низкоэнергичные частицы от инжектора (обычно
сформированные в виде локализованных в пространстве сгустков) увеличивают
энергию до проектной, и системы транспортировки (вывода) пучка к
экспериментальной установке.
Условно, с точки зрения траектории, по которой
частицы двигаются в процессе ускорения, ускорители можно разбить на два класса
- линейные (и прямого действия) и циклические. Как следует из самих названий, в
линейных ускорителях частицы в процессе ускорения двигаются прямолинейно, а в
циклических - либо по одной и той же замкнутой траектории, многократно проходя
одни и те же ускоряющие промежутки (синхротроны), либо по траектории,
напоминающей раскручивающуюся спираль (циклотроны, микротроны).
2. Ускорители
.1 Высоковольтные ускорители
Высоковольтный ускоритель -
устройство для ускорения заряженных частиц электрическим полем, постоянным в
течение всего времени ускорения частиц. Основные элементы высоковольтных
ускорителей- источник заряженных частиц, ускоряющая система и высоковольтный
генератор (рис. 1). Напряжение и, получаемое от высоковольтного генератора 1,
подаётся на электроды ускоряющей системы 3 и создаёт внутри неё электрическое
поле. Заряженные частицы из источника 2 ускоряются этим полем до энергии ε=enu
эВ, где пе -
заряд ускоряемой частицы (е - элементарный электрический заряд; и выражено в
В). Используя перезарядку частиц, можно при том же и получить частицы с
энергией, в несколько раз превышающей энергию в обычных В. у. (см. Перезарядный
ускоритель).
Рис. 38 - Схема высоковольтного ускорителя
(линия со стрелкой изображает траекторию частицы)
Основное преимущество
высоковольтного ускорителя по сравнению с другими типами ускорителей -
возможность получения пучков заряженных частиц с высокой стабильностью энергии
и малым разбросом по энергии частиц, ускоряемых в постоянном во времени и
однородном электрическом поле, а также возможность создания установок с большой
мощностью и высоким кпд. С помощью высоковольтного ускорителя может быть
получена относительная нестабильность энергии ~10-4, а у отдельных
высоковольтных ускорителей ~10-5-10-6. Благодаря этому высоковольтные
ускорители нашли широкое применение как при исследованиях в атомной и ядерной
физике, так и для решения различных прикладных задач.
Размеры высоковольтных ускорителей
определяются его ускоряющим напряжением и электрической прочностью изоляции
генератора и ускоряющей системы. Наибольшие достигнутые величины ускоряющего
напряжения генератора около 20 MB, проектируются генераторы на напряжение до 30
MB.
При 
1 MB в качестве высоковольтной
изоляции В. у. часто используют воздух при атм. давлении. Ускорители с u>1
MB размещают в герметичных сосудах, заполненных газом при давлении, в 5-15 раз
превышающем атмосферное (0,5-1,5 МПа), который имеет более высокую
электрическую прочность. Это значительно уменьшает размеры высоковольтных
ускорителей и снижает его стоимость. Особенно эффективно применение
электроотрицательных газов (SF6, фреона), подавляющих возникновение разряда в
изоляционном промежутке, а также их смесей с азотом и углекислотой. Ускорители
с импульсным ускоряющим напряжением размещают в камерах с жидким диэлектриком
(трансформаторным маслом или дистиллированной водой).
Для повышения рабочего градиента
напряжения в высоковольтной изоляции высоковольтный ускоритель с целью
уменьшения их размеров большие изоляционные промежутки разделяют на ряд малых
элементов с помощью металлических электродов, требуемое распределение
потенциала на которых задаётся специальным делителем напряжения; при этом
допустимая напряжённость электрического поля для всего промежутка оказывается
близкой к допустимой напряжённости для отдельного элемента.
Уменьшить размеры Высоковольтного
ускорителя можно также, используя перезарядку частиц во время их ускорения.
Источники заряженных частиц для
высоковольтного ускорителя Источником электронов у большинства высоковольтных
ускорителей служит термокатод с прямым или косв. накалом в сочетании с системой
электродов, формирующих электронный пучок на начальном участке его движения.
Часто используется конфигурация электродов, предложенная
Дж. Пирсом (J. Pierce), или её
модификации, препятствующие расходимости пучка под действием его объёмного
заряда (рис. 2). В ускорителях, работающих в непрерывном режиме, плотность
электронного тока у поверхности катода составляет 0,5-1 А/см2; при работе в
импульсном режиме она может быть в несколько раз выше.
Рис. 39 - Схема источника электронов
с системой электродов Пирса: 1 - катод; 2 - прикатодный электрод; 3 - анод; 4 -
граница электронного пучка
В импульсных сильноточных
высоковольтных ускорителей используются катоды с автоэлектронной и взрывной
эмиссией. Первоначальным источником электронов являются мельчайшие выступы на
поверхности катода, вблизи которых локальное электрическое поле достигает 107
В/см. Затем протекающий по микровыступам электрический ток вызывает их быстрый
нагрев и частичное испарение. Облако пара под действием электронного пучка
превращается в плазму, которая сама становится источником электронов и через
нек-рое время, расширяясь, замыкает ускоряющий промежуток.
Рис. 40 - Схема высокочастотного
источника ионов: 1 - разрядная камера; 2 - обмотка колебательного контура; 3 -
изоляционная вставка; 4 - основание источника; 5 - отверстие для отбора ионов;
6 - вытягивающий электрод
Кроме положит. атомарных и
молекулярных ионов в области разряда могут образовываться также и однозарядные
отрицательные ионы элементов с положит. энергией сродства к электрону. Многие
отрицательные ионы могут быть получены непосредственно из области разряда при
изменении полярности напряжения на вытягивающем электроде. При этом отбор
производится с периферии разряда, где концентрация таких ионов наиб. высока.
Отрицательные ионы получают и перезарядкой пучка положит. ионов на газовой или
пароструйной мишени, на покрытой атомами щелочных металлов поверхности и т. д.
Источники отрицательных ионов широко применяются для инжекции в перезарядные
ускорители.
Ускоряющая система высоковольтных
ускорителей (ускорительная трубка) одновременно является частью вакуумной
системы В. у. Давление в ней не должно превышать 10-3 Па (~10-5 мм рт. ст.) (т.
к. иначе происходит значит. рассеяние ускоряемых частиц на молекулах газа). У
большинства высоковольтных ускорителей она представляет собой цилиндр,
состоящий из диэлектрических колец, разделённых металлическими электродами, с
отверстием в центре для прохождения пучка заряженных частиц и откачки газа,
поступающего из ионного источника и десорбируемого внутренней поверхностью
трубки (рис. 4). Кольца и электроды вакуумно-плотно соединены друг с другом
(спец. клеем, пайкой или термодиффузионной сваркой). Электрическая прочность
ускорительной трубки часто ограничивает энергию ускоренных частиц в
высоковольтном ускорителе.
Рис. 41 - Схема ускорительной
трубки: 1 - кольцевые изоляторы; 2 - металлические электроды; 3 - соединительные
фланцы
В отличие от изоляционных конструкций,
работающих в сжатом газе, простое секционирование изолятора ускорительной
трубки металлическими электродами оказывается малоэффективным. При u>4-5 MB
в трубке резко возрастает интенсивность разрядных процессов, а допустимая
величина электрического поля в ней снижается. Это явление, получившее назв.
эффекта полного напряжения, объясняется наличием сквозного вакуумного канала, в
котором происходит обмен вторичными заряженными частицами и их размножение.
(Причины появления вторичных частиц - облучение поверхности трубки рассеянными
частицами пучка, эмиссия электронов с загрязнённых поверхностей, разряд по
поверхности изолятора и т. д.) Для борьбы с этим эффектом предлагались
различать конструкции ускорительных трубок. Наибольшую известность получили
трубки с "наклонным полем", предложенные P. Ванде-Граафом (R. Van de
Graaf). B них электроды устанавливаются под небольшим углом к плоскости
поперечного сечения трубки, периодически изменяемым на противоположный.
Ускоряемые частицы, имеющие большую энергию, проходят по каналу такой трубки,
не задевая его стенок, а вторичные частицы с меньшей энергией, возникающие
внутри трубки, задерживаются электродами.
Устранения эффекта полного напряжения удалось
добиться также в ускорительных трубках с плоскими электродами, в которых
электроды и изоляторы соединены пайкой или сваркой. Ускоряющая и вакуумная
системы высоковольтных ускорителей, в которых используются такие трубки, не
имеют элементов, содержащих органиченные материалы, и допускают прогрев до
температур в несколько сотен 0C. Благодаря этому рабочее давление в системе
составляет 10-6- 10-7 Па и устраняется причина возникновения вторичных
заряженных частиц в канале трубки.
Однако изготовление сварных и паяных ускорительных
трубок технологически значительно сложнее.
2.2 Каскадный генератор
а
б
Рис. 42 - а - схема умножителя напряжения, б -
фотография каскадного генератора
Каскадный генератор - ускоритель прямого
действия, т.е. частицы в нем ускоряются непосредственно за счет прохождения
высокой разности потенциалов. В каскадных генераторах высокое постоянное
напряжение получают из низкого переменного напряжения c помощью умножителей напряжения,
которые также называются каскадными генраторами.
Первый каскадный генератор (ускоритель) на
энергию 700 кэВ - был создан в 1931 г. в Англии Дж. Кокрофтом и Э. Уолтоном.
На рис. 1а показана схема умножителя напряжения,
который использовали Кокрофт и Уолтон*. Когда на входе отрицательная полуволна
переменного напряжения, первый диод открыт и нижний левый конденсатор
заряжается до пикового значения входного напряжения. При смене полярности
первый диод закрывается, а второй открывается и левый конденсатор заряжается до
двойного напряжения. При каждой смене полярности входного напряжения заряды
емкостей последовательно суммируются. Таким образом выходное напряжение -
удвоенное произведение входного напряжения на количество каскадов.
2.3 Электростатический генератор
(генератор Ван де Граафа)
Наиболее известным ускорителем прямого действия
является электростатический генератор (генератор Ван де Граафа), где частицы
или ионы ядер ускоряются непосредственно за счет одно- или двукратного (в
тандемах) прохождения огромной постоянной разности потенциалов V, достигающей
20 миллионов вольт. Частица, имеющая заряд Ze, приобретает в таком ускорителе
кинетическую энергию T = ZeV. Cущественным преимуществом ускорителей прямого
действия является непрерывность, высокая интенсивность и высокая стабильность
по энергии ускоренного пучка
(≈0.01%). Ток пучка на ускорителях
Ван-де-Граафа может достигать нескольких миллиампер. Однако, в таких
ускорителях трудно обеспечить энергию частиц больше 40-50 МэВ для протонов и
для достижения ещё больших энергий используют линейные ускорители.

Рис. 43 - Схема генератора Ван-де-Граафа с
диэлектрическим транспортёром зарядов: 1 - транспортёр; 2-устройства для
нанесения и съёма зарядов; 3-валы транспортёра; 4 - высоковольтный электрод
2.4 Циклические ускорители
Циклический ускоритель - один из видов
ускорителей заряженных частиц, в котором частицы во время ускорительного цикла
движутся по траекториям, близким к окружности либо спирали. Все циклические
ускорители (кроме бетатрона) резонансные: микротрон, синхротрон, циклотрон,
фазотрон. В бетатроне частицы движутся по кольцевой орбите и ускоряются
вихревым электрическим полем. В резонансных циклических ускорителей ускорение
происходит в высокочастотном электрическом поле, в ускоряющих промежутках, к
которым частицы многократно возвращаются. При этом частота обращения частиц и
частота колебаний электрического поля должны быть так согласованы друг с другом
(резонанс), чтобы при каждом последующем обороте частицы проходили ускоряющий
промежуток при одной и той же равновесной фазе ускоряющего поля (или вблизи
неё). Принцип многократного ускорения частиц небольшими электрическими полями
позволил ускорять частицы в циклическом ускорителе до энергий, измеряемых
сотнями ГэВ и даже несколькими ТэВ. Л. Л. Гольдин.
Циклотрон.
Циклотрон - циклический ускоритель
нерелятивистских тяжёлых заряженных частиц (протонов, ионов), в котором частицы
двигаются в постоянном и однородном магнитном поле, а для их ускорения
используется высокочастотное электрическое поле неизменной частоты.
В 1930 году Э. Лоуренсом (США) был создан и
первый циклический ускоритель - циклотрон на энергию протонов 1 МэВ (его
диаметр был 25 см). На рис.1 показана первая работающая модель циклотрона. На
рис.2 циклотрон следующего поколения, который позволял ускорять протоны и
дейтроны до энергий в несколько МэВ.
Рис. 44 - Первая работающая модель циклотрона
Рис. 45 - С. Ливингстоун и Э. Лоуренс у
27-дюймового циклотрона, который широко использовался в экспериментальных
исследованиях ядерных реакций и искусственной радиоактивности
Рис. 46 - Схема циклотрона: вид сверху и сбоку:
1 - источник тяжелых заряженных частиц (протонов, ионов), 2 - орбита ускоряемой
частицы, 3 - ускоряющие электроды (дуанты), 4 - генератор ускоряющего поля, 5 -
электромагнит
Стрелки показывают силовые линии магнитного
поля). Они перпендикулярны плоскости верхнего рисунка
Схема устройства циклотрона показана на рис.3.
Тяжелые заряженные частицы (протоны, ионы) попадают в камеру из инжектора
вблизи центра камеры и ускоряются переменным полем фиксированной частоты,
приложенным к ускоряющим электродам (их два и они называются дуантами). Частицы
с зарядом Ze и массой m движутся в постоянном магнитном поле напряженностью B,
направленном перпендикулярно плоскости движения частиц, по раскручивающейся
спирали. Радиус R траектории частицы, имеющей скорость v, определяется
формулой,
(1)
где
- релятивистский фактор.
В циклотроне для нерелятивистской (γ ≈
1) частицы
в постоянном и однородном магнитном поле радиус орбиты пропорционален скорости
(1), а период обращения
(2)
т. е. не зависит от энергии частицы.
В зазоре между дуантами частицы ускоряются импульсным электрическим полем
(внутри полых металлических дуантов электрического поля нет). В результате
энергия и радиус орбиты возрастают. Повторяя ускорение электрическим полем на
каждом обороте, энергию и радиус орбиты доводят до максимально допустимых
значений. На последнем витке спирали включается отклоняющее электрическое поле,
выводящее пучок наружу. Постоянство магнитного поля и частоты ускоряющего поля
делают возможным непрерывный режим ускорения. Пока одни частицы двигаются по
внешним виткам спирали, другие находятся в середине пути, а третьи только
начинают движение.
Недостатком циклотрона является
ограничение существенно нерелятивистскими энергиями частиц, так как даже не
очень большие релятивистские поправки (отклонения γ от единицы)
нарушают синхронность ускорения на разных витках и частицы с существенно
возросшими энергиями уже не успевают оказаться в зазоре между дуантами в нужной
для ускорения фазе электрического поля. В обычных циклотронах протоны можно
ускорять до 20-25 МэВ.
Для ускорения тяжёлых частиц в
режиме раскручивающейся спирали до энергий в десятки раз больших (вплоть до
1000 МэВ) используют модификацию циклотрона, называемую изохронным
(релятивистским) циклотроном, а также фазотрон. В изохронных циклотронах
релятивистские эффекты компенсируются радиальным возрастанием магнитного поля.
Бетатрон.
Рис. 47 - Схема бетатрона: а) вид
сверху, б) сечение по линии АА. Показаны вектора Е и Н напряженностей
электрического и магнитного полей. 1 - электромагнит, 2 - вакуумная камера, 3 -
орбита электрона, 4 - инжектор, 5 - тормозная мишень, 6 - тормозное излучение
Первым циклическим ускорителем
электронов явился бетатрон. Его первый экземпляр был построен в 1940 г. Д.
Керстом. Бетатрон - это индукционный ускоритель, в котором энергия электронов
увеличивается за счет вихревого электрического поля, создаваемого изменяющимся
магнитным потоком, направленным перпендикулярно к плоскости орбиты частиц.
Электроны двигаются по круговой орбите постоянного радиуса в нарастающем во
времени по синусоидальному закону магнитном поле (обычно промышленной частоты
50 Гц). Удержание электронов на орбите постоянного радиуса обеспечивается
определенным образом подобранным соотношением между величинами магнитного поля
на орбите и внутри неё. Рабочим циклом является первая (нарастающая) четверть периода
магнитного поля.
Бетатрон конструктивно представляет
собой большой электромагнит, между полюсами которого расположена тороидальная
вакуумная камера (см. рисунок). Электромагнит создаёт в зазоре между полюсами
переменное (меняющееся со временем по закону синуса, обычно с промышленной
частотой 50 Гц) магнитное поле напряженностью H, которое в плоскости вакуумной
камеры создаёт вихревое электрическое поле Е (э.д.с. индукции). В вакуумную
камеру с помощью инжектора (электронная пушка) в начале каждого периода
нарастания магнитного поля (т.е. с частотой 50 Гц) впрыскиваются электроны,
которые увлекаются вихревым электрическим полем Е в процесс ускорения по
круговой орбите. В момент, когда магнитное поле достигает максимального
значения (в конце первой четверти каждого периода), процесс ускорения
электронов прекращается и сменяется их замедлением, так как вихревое поле Е
меняет направление, а э.д.с. индукции - знак.
Электроны, достигшие наибольшей
энергии, смещаются с равновесной орбиты и либо выводятся из камеры, либо
направляются на специальную мишень внутри камеры, называемую тормозной.
Торможение электронов в этой мишени в кулоновском поле ядер и электронов
приводит к возникновению электромагнитного тормозного излучения, максимальная
энергия которого
равна
кинетической энергии Ее электронов в конце ускорения:
= Ее.
Тормозные фотоны летят в направлении движения первичных электронов в узком
конусе. Их энергетический спектр непрерывен, причем, чем меньше энергия
фотонов, тем их больше в тормозном излучении. Формирование высокоэнергичного
электромагнитного γ-излучения
торможением высокоэнергичных электронов в мишени - наиболее простой и
эффективный способ создания пучка γ-квантов высокой энергии для
экспериментов в области ядерной физики и физики частиц.
Бетатроны преимущественно и
используются как источники тормозного излучения. Благодаря простоте конструкции
и управления, а также дешевизне бетатроны получили широкое применение в
прикладных целях в диапазоне энергий 20-50 МэВ. Создание бетатронов на более
высокие энергии сопряжено с необходимостью использования электромагнитов
слишком большого размера и веса (магнитное поле приходится создавать не только
на орбите, но и внутри неё).
Микротрон.
Рис. 48 - Схема микротрона
В циклотронах нельзя ускорять
электроны по той же схеме, как и протоны, так как они быстро достигают
релятивистских скоростей. Тем не менее существуют ускорители (микротроны), в
которых электроны, также как и протоны в циклотроне, многократно ускоряются
импульсами высокочастотного электрического поля в постоянном однородном
магнитном поле (принцип действия микротрона предложен в 1944 г. В. Векслером).
В микротроне (рис. 1) частицы вводятся в ускорительную камеру не в центральной
части магнитного поля, как в циклотроне, а на его краю. В месте ввода частиц
помещается полый ускоряющий резонатор. При каждом обороте электроны получают
энергию » 0.5 МэВ и попадают в резонатор точно в момент ускорения на каждом
витке (период n-го оборота кратен периоду первого оборота). Электроны движутся
по окружности увеличивающегося радиуса, причём все окружности касаются внутри
резонатора. Энергии электронов в “классических” микротронах обычно не превышают
30 МэВ и ограничиваются размерами постоянного магнита и возрастающими
требованиями к однородности его поля при увеличении габаритов ускорителя.
Рис. 49 - Схема разрезного
микротрона
В настоящее время ограничения на
энергии микротронов сняты использованием его варианта, названного разрезным
микротроном (предложен А. Коломенским). Переход от классического микротрона к
разрезному можно пояснить с помощью рис. 2.
Если магнит классического микротрона
“разрезать” на две одинаковые части вдоль пунктирной линии АА и две эти части
раздвинуть, оставив ускоряющий резонатор между половинками магнита, то приходим
к схеме разрезного микротрона.
Теперь пространство между магнитами
позволяет заменить небольшой резонатор, допускающий лишь малый ≈0.5 МэВ)
прирост энергии за оборот, на самостоятельный (линейный) ускоритель с энергией ≈10
МэВ и более и это позволит многократно увеличить конечную энергию электронов
(есть разрезные микротроны на энергию ≈1 ГэВ).
Ускорение электронов по схеме разрезного
микротрона или сходной с ней в настоящее время используется для генерации
пучков электронов большой энергии в непрерывном режиме. Дело в том, что
ускорители, как правило, работают в импульсном режиме, т. е., например,
электроны в них ускоряются в течение короткого временнoго промежутка ∆t,
когда возможно ускорение, после чего следует сравнительно длительная пауза для
возврата в режим нового цикла ускорения.
Период времени Т между циклами
ускорения обычно много больше длительности электронного импульса (Т >> ∆t).
Характерная величина D = ∆t/T, называемой рабочим циклом, ≈10-3.
Таким образом, для физических экспериментов удается использовать лишь ≈0.1%
времени работы ускорителя.
Ускорение электронов по схеме
разрезного микротрона позволяет осуществить непрерывный режим работы
ускорителя, когда D равен или близок к единице.
Это достигается непрерывностью
режима работы основной ускорительной структуры (линейного ускорителя),
расположенной между разделенными частями постоянного магнита микротрона.
В микротроне непрерывного действия
вся ускорительная камера заполнена электронами, находящимися на всех стадиях
ускорения - от начальной (т.е. с наименьшей энергией) до максимально возможной.
Непрерывный режим работы такого ускорителя позволяет использовать для
экспериментов все время его работы и, тем самым, повысить количество актов
изучаемого взаимодействия за фиксированное время в ≈1/D103 раз, что
особенно важно для исследования редких событий.
Крупнейшим ускорителем электронов,
работающим в непрерывном режиме (D = 1) является ускоритель Национальной
лаборатории им. Томаса Джеферсона (TJNAF) в г. Ньюпорт-Ньюс (США).
Он использует сверхпроводящие
ускорительные структуры и позволяет ускорять электроны до энергии 5.71 ГэВ. Ток
его электронного пучка 200 мкА.
Энергетическое разрешение ∆E/E
= 2.5*10-5.
Синхротрон.
Рис. 50 - Схема синхротрона
Синхротрон - кольцевой циклический
ускоритель заряженных частиц, в котором частицы двигаются по орбите неизменного
радиуса за счёт того, что темп нарастания их энергии в ускоряющих промежутках
синхронизован со скоростью нарастания магнитного поля на орбите. Он позволяет
ускорять как лёгкие заряженные частицы (электроны, позитроны), так и тяжёлые
(протоны, антипротоны, ионы) до самых больших энергий. В настоящее время все
циклические ускорители на максимальные энергии - это ускорители синхротронного
тип (их принцип предложен в 1944 г. В. Векслером (СССР) и независимо в 1945 г.
Э. Макмилланом (США).
В синхротронах (рис. 1) магнитное
поле переменное и частицы двигаются по одной и той же замкнутой траектории,
многократно проходя прямолинейные промежутки с ускоряющим электрическим полем
радиочастотного диапазона. Частицы, увеличивающие свою энергию, удерживаются на
фиксированной орбите с помощью нарастающего поля мощных отклоняющих (в том
числе и сверхпроводящих) кольцевых магнитов. Для удержания частиц на орбите
постоянного радиуса темп нарастания поля синхронизован с темпом нарастания
энергии частиц (отсюда происходит название этого типа ускорителя). По
достижении максимального магнитного поля ускоренные частицы либо направляются
на неподвижную мишень, либо (в коллайдерах) сталкиваются со встречным пучком,
после чего цикл ускорения повторяется. В синхротронах есть два типа
чередующихся кольцевых магнитов: отклоняющие двухполюсные (дипольные),
удерживающие частицы на орбите, и фокусирующие четырёхполюсные (квадрупольные).
Последние фокусируют частицы (как линзы свет), собирая их в узкий пучок,
циркулирующий в вакуумной камере.
Когда скорость частицы близка к
скорости света, соотношение между кинетической энергией частицы Е и радиусом
траектории R имеет в системе СИ вид
= cqHR (1)
где H - величина напряженности
магнитного поля, а q - заряд частицы. Поэтому максимально достижимая энергия
частицы пропорциональна радиусу траектории и величине магнитного поля.
Сократить размеры установки можно, увеличивая величину поля, а она ограничена
эффектом насыщения металла (обычно, железа), используемого в качестве материала
сердечника электромагнита. В самых современных ускорителях, в этой связи,
используются электромагниты с катушкой из сверхпроводящего материала,
работающие при температуре жидкого гелия.
Синхротроны используют как для
ускорения тяжелых заряженных частиц (протонов, ионов), так и для ускорения электронов.
Однако в случае электронов при высоких энергиях становятся существенными потери
ими энергии на излучение (называемое синхротронным) при криволинейном движении
по орбите. Мощность синхротронного излучения Р для релятивистской частицы
следующим образом зависит от её массы m энергии Е и радиуса траектории R:
~
(2)
Таким образом, если электроны и
протоны одинаковых энергий, двигаются по орбитам одного радиуса, то потери
энергии на синхротронное излучение у электронов будут в (mp/me)4≈1013 раз
больше. Поэтому на синхротронах пока не удалось ускорить электроны до энергий
бoльших 100 ГэВ. Крупнейшим современным синхротроном является синхротрон в
Батавии (США). Он ускоряет протоны и антипротоны до энергии 1 ТэВ = 1012 эВ и
называется Теватрон. Радиус круговой орбиты в этом ускорителе 1 км.
В 80-е годы ХХ века было предложено
сразу нескольких проектов строительства коллайдеров с энергией соударения,
достигающей десятков ТэВ. Однако сложность их реализации привела к тому, что в
настоящее время сооружается лишь один такой коллайдер, где будут сталкиваться
протоны с суммарной энергией соударения 14 ТэВ в системе центра инерции. Он
носит название “Большой адронный коллайдер” (LHC - Large Hadron Collider) и
создается в CERN.
На рис. 2 показан фрагмент кольца
протонного синхротрона на энергию 7 ТэВ в ЦЕРН (г. Женева, Швейцария), который
входит в состав установки LHC (Large Hadron Collider). Длина его кольца 26.7
км.
Синхофазатрон.
Синхрофазотрон - циклический
резонансный ускоритель тяжелых заряженных частиц (протонов, ионов), в котором
объединяются свойства фазотрона и синхротрона. Здесь управляющее магнитное поле
и частота ускоряющего электрического поля одновременно изменяются во времени
так, чтобы радиус равновесной орбиты частиц оставался постоянным.
Рассмотрим действие лоренцевой силы
и рассчитаем энергию протонного ускорителя, представляющего собой кольцевой
магнит диаметром 2 км. Между полюсами этого магнита расположена тороидальная
вакуумная камера, в которую инжектирован пучек протонов. Если смотреть на
ускоритель сверху (рис. 4.6), то пучок протонов движется по часовой стрелке со
скоростью υ,
близкой
к скорости света.
На протон действует
центростремительная сила, направленная к центру. Если поле
направлено
из плоскости чертежа, то сила Лоренца
всегда направлена к центру.
Рис. 51
Центростремительная сила равна:
где mr - релятивистская масса
протона. Так как эта сила обусловлена действием магнитного поля, она равна
. Тогда

Поскольку
, то можно
записать
- так можно
рассчитать полную релятивистскую энергию протонов:
Заметим при этом, что магнитное поле
не увеличивает скорость или энергию частиц. Ускорение протонов осуществляется
при каждом их обороте в кольце за счет электростатического поля, которое
действует на коротком участке кольца.
Планируется построить в г. Серпухове
протонный синхрофазотрон на энергию примерно 3 000 ГэВ (диаметр установки
примерно 6 000 м).
В фазотронах, микротронах,
синхротронах и синхрофазотронах частицы ускоряются до релятивистских скоростей.
Масса частицы m зависит от ее
скорости
:
где
- масса покоя частицы;
- отношение
скорости частицы
к скорости
света
в вакууме.
Кинетическая энергия частицы K:
, где
- полная
энергия частицы;
- энергия
покоя частицы.
Импульс релятивистской частицы
.
Период обращения релятивистской частицы
Радиус окружности траектории
релятивистской частицы
Линейные ускорители.
Линейные ускорители - ускорители
заряженных частиц, в которых частица движется по прямолинейной траектории. Линейные
ускорители можно разбить на две категории - ускорители прямого действия и
собственно линейные ускорители.
Наиболее известным ускорителем
прямого действия является электростатический генератор (генератор Ван де
Граафа), где частицы или ионы ядер ускоряются непосредственно за счет одно- или
двукратного (в тандемах) прохождения разности потенциалов, достигающей 20
миллионов вольт. Однако, в таких ускорителях трудно обеспечить энергию частиц
больше 40 - 50 МэВ для протонов и для достижения ещё больших энергий используют
собственно линейные ускорители.
Рис. 52 - Схема линейного ускорителя
В линейных ускорителях (рис. 53) частица
подвергается многократному ускорению, пролетая сквозь ряд цилиндрических
трубок, присоединенных к электрическому генератору высокой частоты (используют
радиочастотные генераторы). Пучок частиц двигается вдоль оси трубок. Внутри
каждой трубки электрическое поле равно нулю. Соседние трубки имеют
противоположную полярность. Таким образом, ускорительное поле находится в
зазорах между трубками. Частота генератора и размеры трубок подбираются так,
чтобы сгусток ускоряемых частиц подходил к очередному зазору в тот момент,
когда полярность трубок изменяется на противоположную. Длина трубки l, скорость
частицы v и период высокочастотного поля T связаны соотношением l = vT/2. В
линейных ускорителях частицы могут ускоряться также электромагнитной волной,
распространяющейся внутри цилиндрических полостей (ускорители бегущей волны).
Рис. 53 - Стэнфордский линейный ускоритель
(SLAC)
Для достижения больших энергий приходится
строить линейные ускорители большой длины. Наибольший линейный ускоритель был
построен в Стэнфорде (США). Он работал в период 1989-1998 гг., имел длину около
3 км и ускорял как электроны, так и позитроны до энергии 50 ГэВ. Для достижения
такой энергии частицы испытывают около 80 000 актов ускорения. Этот ускоритель
работал в режиме коллайдера, когда пучок электронов с энергией 50 ГэВ
сталкивается с пучком позитронов такой же энергии.
2.5 Ускоритель на встречных пучках
(коллайдер)
Существует два типа ускорительных установок:
ускорители с неподвижной мишенью и ускорители со встречными пучками (или
коллайдеры). В ускорителях первого типа частицы после ускорения выводят из
ускорительной камеры и направляют на неподвижную мишень, например,
металлическую пластину. В этом случае далеко не вся кинетическая энергия
ускоренной частицы может быть “вложена” в изучаемый процесс, например, во
внутреннее возбуждение атомного ядра или частицы-мишени или в рождение новой
частицы, так как значительная, а часто и подавляющая часть этой энергии не
может быть “изъята” у частицы, поскольку идёт на “обеспечение” выполнения
закона сохранения импульса - большой импульс частицы до столкновения должен
сохраниться в виде большого импульса (а значит, и кинетической энергии)
продуктов реакции.
Конкретные оценки (см. эквивалентная энергия)
позволяют увидеть огромную разницу между кинетическими энергиями, например,
протонов в ускорителе с неподвижной мишенью и со встречными пучками, которые
необходимы для рождения частиц большой массы.
Рис. 54 - Два типа ускорителей на встречных
пучках: а - для частиц, имеющих одинаковые заряды или разные массы (например,
протон-протон или электрон-протон); б - для частиц с противоположными по знаку
зарядами и равными массами, т. е. частиц и античастиц (электрон-позитрон,
протон-антипротон)
Огромное энергетическое преимущество ускорителей
на встречных пучках сделало их совершенно необходимым атрибутом ведущих
современных центров исследования физики элементарных частиц. Есть две основные
схемы реализации коллайдеров (рис. 1). Если встречные пучки состоят из частиц,
имеющих равные массы и противоположные по знаку заряды (т.е. античастицы,
например, электрон-позитрон или протон-антипротон), то для обоих пучков
используется одно кольцо магнитов (рис. 1б). В некоторых точках этого кольца
имеются участки взаимодействия ускоренных встречных пучков. Если же встречные
частицы имеют одинаковые заряды или разные массы (например, протон-протон или
электрон-антипротон), то необходимы два кольца магнитов и в некоторых местах
создаются области столкновения (пересечения) пучков (рис. 1а).
Во встречных пучках, двигающихся навстречу друг другу,
накапливается максимально возможное число частиц (до 1015 в пучке). Однако
накапливаемые плотности частиц малы и при каждом обороте реальные столкновения
испытывают немногие частицы. Взаимодействие пучков почти не нарушает динамику
их движения в ускорительном кольце и пучки многие часы и даже сутки могут
циркулировать в ускорителе без пополнения.
Важной характеристикой коллайдеров является
светимость, обозначаемая буквой L (от англ. Luminosity).
Рис. 55 - К понятию “светимость”. Два
сталкивающихся сгустка частиц (банча) в коллайдере
Встречные пучки состоят из отдельных сгустков
частиц, называемых банчами (от англ. bunch), двигающихся с определенным
интервалом (частотой) друг за другом. Рассмотрим два цилиндрических банча
одинакового сечения, летящих навстречу друг другу и затем сталкивающихся (рис.
2). Будем считать, что банчи равномерно заполнены частицами и при столкновении
полностью перекрываются. В левом банче n1 частиц, а в правом n2. Вначале
положим, что на орбите коллайдера банчи сталкиваются один раз в единицу
времени. Число взаимодействий N1 в единицу времени между частицами этих двух
банчей (т. е. число актов реакций в единицу времени) можно вычислить по формуле
(2) из раздела "Сечение реакции", приняв левый банч за
частицы-снаряды, а правый - за мишень:
(1)
где σ - эффективное
сечение взаимодействия. Здесь учтено, что плотность потока падающих на правый
банч частиц левого банча j = n1/S, а полное число частиц в правом банче
(принятом в качестве мишени) n2 = nSl, где n - концентрация частиц в правом
банче. Если банчи сталкиваются f раз в единицу времени (т. е. с частотой f), то
число актов реакции N будет даваться выражением
(2)
где
(3) и есть светимость коллайдера.
Пример. В коллайдере TEVATRON
сталкиваются протоны и антипротоны с энергиями 1 ТэВ. Чему равно число актов их
взаимодействия в 1 сек, если сечение полного взаимодействия протона и антипротона
при этих энергиях = 75 мб, а светимость коллайдера L = 5.1031см-2сек-1.
Используем (2):
N = Lσ= 5*1031 см-2сек-1*75*10-27
см-2 = 3.75*106 сек-1.
Крупнейшие современные центры, предназначенные
для исследования физики элементарных частиц, представляют собой многоцелевые
комплексы из нескольких ускорителей, функционально связанных между собой.
Хорошим примером такого ускорительного комплекса является ЦЕРН (Женева). Схема
комплекса приведена на рис. 56.
Рис. 56 - Ускорительный комплекс ЦЕРН
Самым крупным ускорителем этого комплекса
является Большой Адронный Коллайдер LHC (Large Hadron Collider), на котором
будут сталкиваться пучки ускоренных до энергии 7 ТэВ протонов, а также ядра
свинца. Этот ускоритель сооружается в подземном кольцевом туннеле (его периметр
26.7 км) на месте другого недавно действовавшего крупнейшего е+е- - коллайдера.
LEP - Large Electron Positron (Collider), ускорявшего электроны и позитроны до
энергии 101 ГэВ.
Для инжекции протонов и ионов в LHC будет
использоваться ускоритель SPS (Super Proton Synchrotron), на выходе которого
протоны имеют энергию около 450 ГэВ. Его периметр 6.9 км и он расположен под
землей на глубине 50 м. В SPS тяжелые частицы поступают от протонного
синхротрона PS (он также упомянут в таблице), в который в свою очередь протоны
и ионы попадают из бустера (ускорителя-инжектора) “Изольда”.
2.6 Вторичные пучки
В современных экспериментах широко используются
вторичные пучки частиц, которые рождаются после взаимодействия первичного
ускоренного пучка частиц с мишенью. Применяя электромагнитные сепараторы и
коллиматоры, из огромного числа частиц, образующихся на мишени, можно выделить
частицы определённого типа и определенного импульса. В ядерной физике таким
способом получают вторичные пучки радиоактивных ядер, время жизни которых может
составлять несколько миллисекунд. Аналогично можно получить вторичные пучки π-
и
K-мезонов. Вторичные пучки π-мезонов
можно использовать для образования нейтринных пучков, которые получаются при
распаде π-мезонов:
π-→μ- +ν μ,
π+→μ+
+ νμ.
Чистый пучок нейтрино можно получить, фильтруя
образующиеся частицы через толстый поглотитель.
2.7 Лазерное ускорение электронов
Идея использования лазеров для ускорения
электронов в плазме была выдвинута в 1979 г. американскими учеными [3].
Применительно к коротким лазерным импульсам первые аналитические исследования
были опубликованы в 1987 г. [4] и в 1988 г. [5]. По сути, лазерное ускорение
электронов в плазме очень близко к так называемому коллективному методу ускорению
электронов, который разрабатывался в течение многих лет в Харьковском
физико-техническом институте под руководством Я.Б.Файнберга. О тех проблемах, с
которыми сталкивается традиционная вакуумная ускорительная техника, и о
коллективных методах ускорения в плазме можно прочитать в статье,
опубликованной в журнале “Природа” ранее [6].
Рис. 57 - Распространение короткого лазерного
импульса в плазме и возбуждение кильватерных волн
Пунктиром показаны линии пониженной электронной
плотности, сплошной - линии повышенной электронной плотности. Стрелка
показывает направление распространения лазерного импульса.
Применительно к коротким лазерным импульсам
ускорение электронов в плазме можно схематически представить следующим образом.
Распространяясь в плазме, импульс выталкивает электроны из той области, где он
в данный момент находится (рис.3). Кроме сил со стороны импульса, на электроны
действует электрическое поле со стороны ионов плазмы, которые можно считать
неподвижными из-за их большей массы. После того, как импульс покинул данную
область, на электроны действует только поле разделения зарядов, стремящееся
вернуть электроны в их исходное положение. Разогнавшись в этом поле, электроны
проскакивают свое начальное положение и начинают колебаться относительно ионов
на так называемой плазменной частоте. Поскольку импульс бежит по плазме и все
время выталкивает те электроны, которые встречаются на его пути, он все время
позади за собой запускает плазменные колебания. При этом начальная фаза этих
колебаний различна в разных точках на пути импульса. В результате возбуждается
волна разделения зарядов, фаза которой распространяется по плазме со скоростью
импульса (так называемая кильватерная волна, рис.4). Электрическое поле этой волны
в одной половине периода направлено по направлению распространения импульса, а
в другой половине периода - навстречу направлению распространения импульса.
Если электрон с начальной скоростью, равной скорости импульса, поместить в ту
область плазменной волны, где действующая на него со стороны электрического
поля сила направлена по направлению его движения, то электрон, двигаясь вместе
с волной, начнет ускоряться. Такой ускоритель получил название “ускоритель на
кильватерной волне”. Для релятивистских частиц, скорость которых близка к
скорости света, даже маленькое увеличение скорости отвечает большому
возрастанию их энергии. В результате ускорения энергия электрона может
значительно увеличиться.
Рис. 58 - Возмущение плотности электронов в
кильватерной волне, возбуждаемой лазерным импульсом с длительностью 30 фс и
мощностью ~30 ТВт в плазме с плотностью 2.2·1018 см-3. По вертикальной оси -
радиальная координата, отсчитываемая от оси импульса. По горизонтальной оси - время
после прохождения лазерного импульса через данную точку
Проведенные во Франции эксперименты показали,
что описанный выше механизм ускорения электронов действительно реализуется. Но
полученное увеличение энергии электронов оказалось незначительным из-за очень
малой длины, на которой это ускорение возникало.
Сначала считалось, что для возбуждения
кильватерных волн лучше всего подходят лазерные импульсы с длительностью,
близкой к периоду плазменных колебаний, в то время как более длинные импульсы
для этой цели не годятся. Но численные расчеты [7-9] и последующие эксперименты
показали, что это не так. Лазерный импульс, длина которого значительно
превосходит длину плазменной волны, а мощность превышает определенную величину,
в процессе распространения в плазме изменяет свою форму (рис.5). Сначала
возникает модуляция его амплитуды, а затем он разбивается на последовательность
более коротких импульсов с периодом следования, равным плазменному периоду.
Этот эффект получил название самомодуляции импульса. Между последовательностью
коротких импульсов и плазменными колебаниями возникает резонанс. Каждый
последующий короткий импульс увеличивает амплитуду той кильватерной волны,
которую возбудил первый короткий импульс. В результате уже внутри лазерного
импульса поле плазменной волны становится весьма большим и достигает 109 В/см.
Часть электронов плазмы при этом захватывается в плазменную волну. Они начинают
двигаться вместе с волной и ускоряются до энергии порядка 100 МэВ на длине в
несколько миллиметров.
Рис. 59 - Развитие самомодуляции импульса и его
разбиение на цепочку более коротких импульсов
На первоначальном импульсе с плавно изменяющейся
в пространстве интенсивностью (левый рисунок) появляется сначала модуляция
амплитуды (средний рисунок), а затем он разбивается на цепочку импульсов малой
длины (правый рисунок), расстояние между которыми равно длине плазменной волны
lp.
Эксперименты, проведенные во Франции, США,
Японии, Англии, показали, что в режиме самомодуляции максимальная энергия
ускоренных электронов достаточно высока, но энергетический спектр получается
очень широким, что является недостатком с точки зрения возможных применений.
В 2004 г. почти одновременно три
экспериментальные группы обнаружили новый режим ускорения электронов, при
котором энергия доходила до 250 МэВ, а энергетический спектр был достаточно
узким. В этом режиме интенсивность лазерного излучения превосходила 1019
Вт/см2, а длина импульса была близка к длине плазменной волны. Силы
высокочастотного давления, действующие на электроны плазмы, были столь велики,
что сразу позади импульса возникала почти сферическая область, в которой
практически не было электронов. Эту область стали называть bubble (пузырь), а
сам режим ускорения - bubble-режимом (рис.6). Из плазмы в эту область
захватывалось некоторое количество электронов плазмы, которые и ускорялись.
В настоящее время накоплен уже значительный
экспериментальный и теоретический материал, достаточный для проектирования и
строительства лазерного ускорителя на энергию электронов более 1000 МэВ. Сейчас
несколько таких проектов близки к реализации.
Рис. 60 - Распространение лазерного импульса в
bubble-режиме. Сразу сзади за импульсом образуется область, в которой нет
электронов (электронный пузырь). В нее захватывается из плазмы маленький
электронный сгусток, который ускоряется
протон частица детектор ускорение
В 2000 г. при облучении тонких фольг
высокоинтенсивными (более 1018 Вт/см2) лазерными импульсами были обнаружены
протоны с энергией до 10 МэВ, вылетающие в основном из задней стенки фольги в
направлении распространения импульса [10]. Этот результат вызвал большой
интерес. Опыты были повторены во многих лабораториях. Максимальная измеренная
энергия протонов в некоторых из них достигала 60 МэВ, а их число доходило до
1012 на один лазерный импульс.
Как возникают протоны с такой высокой энергией?
Анализ экспериментальных данных и численные расчеты показали, что под действием
лазерного импульса в фольге возникают быстрые электроны, которые проходят
фольгу насквозь и вылетают с ее противоположной стороны. Но далеко улететь они
не могут. Их останавливает электрическое поле ионов, оставшихся в фольге.
Вблизи задней поверхности мишени образуется отрицательно заряженный слой, состоящий
из электронов. Электрическое поле, создаваемое этими электронами, направлено
перпендикулярно к поверхности и достигает величины, достаточной для того, чтобы
ионизовать атомы, находящиеся на поверхности. Затем, под действием этого же
электрического поля, ионы начинает ускоряться. Возникает двойной слой,
состоящий из разделенных в пространстве слоев электронов и ионов, который
вылетает из мишени. В процессе ускорения энергия от электронов переходит к
ионам. Наиболее эффективно ускоряются легкие ионы (протоны), образовавшиеся из
атомов водорода, адсорбированного на поверхности фольги (рис. 61).
Рис. 61 - Ускорение ионов (протонов) при
облучении коротким лазерным импульсом тонкой фольги. Лазерный импульс падает на
левую границу фольги, быстрые электроны вылетают через правую границу фольги и
ускоряют ионы своим электрическим полем
Такие источники энергичных ионов уже находят
применение в протонной радиографии, когда изображение объекта получают,
просвечивая его пучком протонов. Таким методом удается, в частности, определить
структуру электрических полей внутри исследуемого объекта. Но наибольшие
перспективы лазерные источники быстрых ионов имеют в медицине (онкология). Дело
в том, что именно протоны целесообразнее использовать для воздействия на
раковые опухали. В настоящее время источниками таких протонов служат различные
вакуумные ускорители, весьма громоздкие и дорогие. Высказываются надежды, что
лазерные источники окажутся более компактными и дешевыми.
2.8 Индукционные ускорители
К индукционным ускорителям принадлежат линейные
индукционные ускорители.
Рис. 62 - Схема устройства линейного
индукционного ускорителя: 1-сердечник индуктора; 2-возбуждающая обмотка;
3-фокусирующая катушка
В линейных индукционных ускорителях силовые
линии электрического поля (с напряжённостью Е) направлены вдоль оси ускорителя.
Электрическое поле индуцируется изменяющимся во времени магнитным потоком,
проходящим через расположенные друг за другом кольцевые ферритовые индукторы 1
(рис. 3). Магнитный поток возбуждается в них короткими (десятки или сотни нс)
импульсами тока, пропускаемыми через одновитковые обмотки 2, охватывающие
индукторы. Фокусировка производится продольным магнитным полем, которое
создаётся катушками 3, расположенными внутри индукторов. Линейные индукционные
ускорители позволяют получать в импульсе рекордные (килоамперные) токи;
наиболее мощный из работающих ускорителей- АТА (США) - ускоряет электроны до
энергии 43 МэВ при токе 10 кА. Длительность токовых импульсов 50 нc.
2.9 Перспективы развития ускорителей
Среди проектов крупных ускорителей, которые
находятся в стадии разработки, строительства или уже вступили в строй, можно
перечислить следующие.
В России (г. Троицк, Моск. обл.) заканчивается
сооружение "мезонной фабрики" на энергию 600 МэВ со ср. током 70 мкА.
В 1993 она уже выдавала пучок с энергией 430 МэВ. Для производства изотопов
используется пучок протонов с энергией 160 МэВ и со ср. током 100 мкА. В
Протвино ведётся сооружение ускорительно-накопительного комплекса (УНК),
рассчитанного на ускорение протонов до 3 ТэВ. УНК располагается в подземном
туннеле с периметром 21 км. Ожидается интенсивность частиц в импульсе 5.1012.
В ФРГ (Гамбург) вступил в строй У. на встречных
пучках (HERA), предназначенный для изучения взаимодействия протонов (820 ГэВ) с
электронами и позитронами (30 ГэВ). Проектная светимость ~2.1031 см-2.с-1.
Протонный синхротрон содержит сверхпроводящие магниты, а электронный - обычные
(чтобы не увеличивать потери на син-хротронное излучение). В оснащении этого
ускорителя и в работе на нём принимают участие 37 ин-тов из разных стран.
В Германии разрабатывается также проект
линейного коллайдера DESY с энергией частиц 250x250 ГэВ (1-й вариант) или 500 х
500 ГэВ (2-й вариант). В ЦЕРНе (Швей-цария) в тоннеле кольцевого
электронно-позитронного У. (LEP) начинается сооружение коллайдера для тяжёлых
частиц LHC (Large Hadron Collider). На нём можно будет изучать столкновения
протонов (2x7 ТэВ), протонов и электронов, протонов и ионов (вкл. свинец, 1148
ТэВ).
Ускорение тяжёлых ионов может производиться на
нук-лотроне (Дубна, Россия). Начиная с 1977 на протонном синхротроне в Дубне
ускорялись различные ионы вплоть до углерода (4,2 ГэВ/нуклон, а с 1992-до 6
ГэВ/нуклон).
На У. "Сатурн" в Сакле (Франция)
ускоряются ионы вплоть до аргона (до 1,15 ГэВ/нуклон). Ускоритель SPS (ЦЕРН)
позволяет ускорять ионы кислорода и серы до 200 ГэВ/нуклон.
В США разработан проект наиболее крупного
сверхпроводящего суперколлайдера (SSC) на энергию 2 х 20 ТэВ. Сооружение этого
ускорителя отложено.
В Международном комитете по ускорителям рассматриваются
ещё более крупные проекты, осуществление которых потребует совместных усилий
развитых государств. Конкретный проект такого ускорителя ещё не определён. Все
осуществляемые и разрабатываемые проекты основаны на известных, хорошо
зарекомендовавших себя принципах. Новые методы ускорения, о которых говорилось
выше, могут в случае успеха полностью изменить эти планы.
2.10 Применение ускорителей
Кроме научного ускорения имеют и практическое
применение. Так, линейные ускорители используются для создания нейтронных
генераторов для радиационного испытания материалов, активно обсуждаются
электроядерные методы наработки ядерного горючего и ускорения тяжёлых
малозарядных ионов для управляемого инерционного термоядерного синтеза. В
Лома-Линде (США) заканчивается сооружение специализированного комплекса с
протонным синхротроном для лучевой терапии. Аналогичный проект рассматривается
в России.
Заключение
Современный ускоритель - это своего рода фабрика
для производства новых частиц и для получения, по существу, новых видов
материи, без изучения которых, как выяснилось, нельзя понять и строение
«обычных» частиц, таких, как нейтрон и протон. Именно после сооружения и
запуска мощных ускорителей и детекторов были открыты многие десятки
элементарных частиц, изучены сотни различных реакций, связанных с тремя
возможными типами взаимодействия: сильным, электромагнитным и слабым.
Пожалуй, один из самых важных и поразительных
выводов, к которому в последние годы привели исследования в области физики
высоких энергий, заключается в том, что нуклоны и многие другие элементарные
частицы, по сути дела, нельзя считать элементарными, они представляют собой
сложные составные объекты. И одна из основных задач, которую сегодня стремится
решить физика высоких энергий, состоит в том, чтобы выяснить свойства этих
«более элементарных» объектов, из которых, в частности, состоят нуклоны,
выяснить число этих объектов и законы их взаимодействия.
Другая важнейшая задача состоит в том, чтобы
установить возможную взаимосвязь между различными типами взаимодействия
элементарных частиц. Как известно, электрические и магнитные силы представляют
собой различные проявления единого электромагнитного поля. Открытие взаимосвязи
электричества и магнетизма привело к существенному прогрессу в понимании многих
явлений физики и дало огромный толчок развитию техники. Достаточно вспомнить
электрогенераторы, электродвигатели, радиосвязь и многие другие блага,
полученные человеком благодаря тому, что удалось понять взаимосвязь
электричества и магнетизма. Существующие к настоящему времени экспериментальные
данные свидетельствуют в пользу того, что три типа взаимодействий элементарных
частиц - сильные, электромагнитные и слабые - это различные проявления
некоторого универсального взаимодействия. Если существование такого
универсального взаимодействия подтвердится - это будет величайшим прогрессом в
человеческих знаниях и в принципе может дать способ управлять одними силами с
помощью других.
Выяснение строения элементарных частиц и свойств
их взаимодействия, несомненно, будет иметь для человечества столь же большое
научное и практическое значение, как познание атома и атомного ядра.
Дальнейший прогресс в этой области,
исключительно важной для всей науки, в решающей степени зависит от того,
насколько совершенную технику получат экспериментаторы. И прежде всего от того,
насколько мощные ускорители и детекторы окажутся в их распоряжении, насколько
удастся поднять энергию ускоряемых частиц.
Литература
1.
Б.С. Ишханов, И.М. Капитонов, Э.И. Кэбин. "Частицы и ядра. Эксперимент",
М.: Издательство МГУ, 2005.
.
Горбунов Л.М. Ускорители XXI века? // Природа. 1988.
№5. С.15-23.
.
Mourou G., Tajima T., Bulanov S.V. // Review of Modern Physics. 2006.
V.78. P.309-371.
.
Ананьев Л. М., Воробьёв А. А., Горбунов В. И. Индукционный ускоритель
электронов - бетатрон. Госатомиздат, 1961.
.
Коломенский Д. Д., Лебедев А. Н. Теория циклических ускорителей. М.: Физматгиз,
1962.
.
Вальднер О. А., Власов А. Д., Шальнов А. В., Линейные ускорители, М., 1969.
.
Брук Г., Циклические ускорители заряженных частиц, пер. с франц., М., 1970.
.
Комар Е. Г., Основы ускорительной техники, М., 1975;
.
Линейные ускорители ионов, под ред. Б. П. Мурина, т. 1-2, М., 1978;
.
Бахрушин Ю. П., Анацкий А. И., Линейные индукционные ускорители, М., 1978.
.
Лебедев А. Н., Шальнов А. В., Основы физики и техники ускорителей, т. 3, М.,
1981.
.
Москалев В. А., Бетатроны, М., 1981; Капчинский И. М., Теория линейных
резонансных ускорителей, М., 1982. Л. Л. Гольдин.