Система полного привода

  • Вид работы:
    Курсовая работа (т)
  • Предмет:
    Транспорт, грузоперевозки
  • Язык:
    Русский
    ,
    Формат файла:
    MS Word
    806,19 Кб
  • Опубликовано:
    2012-12-12
Вы можете узнать стоимость помощи в написании студенческой работы.
Помощь в написании работы, которую точно примут!

Система полного привода

Министерство образования и науки РФ

Федеральное государственное общеобразовательное учреждение

Волгоградский государственный технический университет

Кафедра «Автомобильного транспорта»








СЕМЕСТРОВАЯ РАБОТА

по дисциплине

Техника транспорта

на тему

«СИСТЕМА ПОЛНОГО ПРИВОДА»

Выполнил

студент гр.АТ-312

Верховых И.А.

Проверил

доц. Липатов Е.Ю.


Волгоград 2012г.

1. Преимущества и недостатки полного привода по сравнению с передним или задним приводом

Полный привод - конструкция трансмиссии автомобиля, когда крутящий момент, создаваемый двигателем, передаётся на все колеса.

Особенности полного привода:

Полный привод - все колеса ведущие. Крутящий момент передается либо с помощью коробки передач, если полный привод постоянный, или через раздаточную коробку в случае подключаемого привода. Следует заметить, что подключаемый привод конструктивно может быть передним либо задним. Современные производители упростили задачу его подключения и отключения. На многих машинах сейчас внедрено автоматическое подключение.

Рис. 1 - Полный привод

Плюсы:

повышенная проходимость

высокая устойчивость на дороге, особенно скользкой;

хорошая управляемость.

Минусы:

расход топлива больше;

довольно дорогое обслуживание из-за более сложной конструкции и дефицита запасных частей;

при кажущейся простоте управления автомобилем полный привод требует от водителя особенных навыков вождения и осторожности.

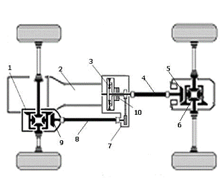
2. Устройство и работа постоянного (не отключаемого) полного привода

Устройство и работа раздаточной коробки: назначение и способ включения пониженной передачи, устройство и особенности работы несимметричного межосевого дифференциала, раздаточной коробки и симметричного межосевого дифференциала между средним и задним ведущими мостами. Система постоянного полного привода (другое наименование - система полного привода Full Time, в переводе «полное время») обеспечивает постоянную передачу крутящего момента на все колеса автомобиля.

Система имеет следующее общее устройство

1. Межколесный дифференциал передней оси; 2. Коробка передач; 3. Межосевой дифференциал; 4. Карданная передача задней оси; 5. Главная передача задней оси; 6. Межколесный дифференциал задней оси; 7. Раздаточная коробка; 8. Карданная передача передней оси; 9. Главная передача передней оси; 10. Вискомуфта

Постоянный полный привод применяется как на автомобилях с заднеприводной компоновкой (продольное расположение двигателя и коробки передач), так и на автомобилях с переднеприводной компоновкой (поперечное расположение двигателя и коробки передач). Такие системы различаются в основном по конструкции раздаточной коробки и карданных передач.

Сцепление обеспечивает кратковременное отсоединение двигателя от трансмиссии при переключении передач, а также предохранение элементов трансмиссии от перегрузок.

Коробка передач служит для изменения крутящего момента, скорости и направления движения автомобиля. В автоматической коробке передач функцию сцепления выполняет гидротрансформатор.

Раздаточная коробка предназначена для распределения крутящего момента по осям автомобиля и его увеличения при необходимости. Современная раздаточная коробка включает цепную передачу (зубчатую передачу), обеспечивающую передачу крутящего момента на переднюю ось, понижающую передачу в виде планетарного редуктора (в отдельных конструкциях) и межосевой дифференциал.

.1 Назначение и устройство систем блокировки дифференциалов: межосевого и колесных

Наличие межосевого дифференциала является отличительной особенностью раздаточной коробки системы постоянного полного привода. Для полной реализации полноприводных возможностей в конструкции системы предусматривается блокировка межосевого дифференциала.

Блокировка дифференциала может осуществляться автоматически или вручную. Современными конструкциями автоматической блокировки межосевого дифференциала является вискомуфта, самоблокирующийся дифференциал Torsen, многодисковая фрикционная муфта.

Ручная (принудительная) блокировка дифференциала производится водителем с помощью механического, пневматического, электрического или гидравлического привода.

На некоторых конструкциях раздаточной коробки предусмотрены функции как автоматической, так и ручной блокировки межосевого дифференциала.

Карданные передачи обеспечивают передачу крутящего момента от вторичных валов раздаточной коробки на валы главных передач.

Главная передача служит для увеличения крутящего момента и его передачи на полуоси колес.

Межколесный дифференциал обеспечивает распределение крутящего момента между ведущими колесами и позволяет полуосям вращаться с различными угловыми скоростями. В системах полного привода межколесный дифференциал применяется на передней и задней оси.

Для реализации полноприводных возможностей один или оба дифференциала имеют возможность блокировки. Блокировка межколесного дифференциала может осуществляться вручную или автоматически (вискомуфта, дифференциал Torsen). На современных автомобилях применяется электронная блокировка дифференциала.

передний мост привод задний

2.2 Устройство и принцип действия самоблокирующихся дифференциалов повышенного трения

Дифференциал повышенного трения представляет собой механическое устройство, в котором блокировка происходит за счет трения поверхностей деталей (чаще всего сухарей и звездочек), изготавливаемых из особо-прочных материалов.

Он является компромиссом между свободным дифференциалом и полной блокировкой дифференциала, т.к. позволяет реализовать при необходимости возможности и того и другого.

Различают два вида самоблокирующихся дифференциалов:

дифференциалы, блокирующиеся от разности угловых скоростей колес;

дифференциалы, блокирующиеся от разности крутящих моментов.

К первым относятся дисковый дифференциал, дифференциал с вязкостной муфтой, а также т.н. электронная блокировка дифференциала. Блокируется в зависимости от разности крутящих моментов червячный дифференциал.

Простейший дисковый дифференциал представляет собой симметричный дифференциал, в который добавлены один или два пакета фрикционных дисков. Часть фрикционных дисков жестко связана с корпусом дифференциала, другая часть - с полуосью.

Принцип действия дифференциала повышенного трения дискового типа основан на силе трения, возникающей вследствие разности скоростей вращения полуосей.

При прямолинейном движении корпус дифференциала и полуоси вращаются с одинаковой скоростью, фрикционный пакет вращается как единое целое. При увеличении частоты вращения одной их полуосей, соответствующая ей часть дисков в пакете начинает вращаться быстрее. При этом между дисками возникает сила трения, препятствующая увеличению частоты вращения. Крутящий момент на свободном колесе увеличивается, чем достигается частичная блокировка дифференциала.

Степень сжатия фрикционных дисков может быть фиксированной (реализуется с помощью пружин постоянной жесткости) или переменной (осуществляется с помощью гидравлического привода, в т.ч. с электронным управлением).

Дисковый дифференциал применяется в качестве межколесного дифференциала спортивных автомобилей, а также межосевого дифференциала автомобилей повышенной проходимости.

3. Система подключаемого переднего привода

.1 Способы подключения передачи крутящего момента на передний мост; преимущества и недостатки каждого способа, автоматическое и ручное подключение

Подключаемый полный привод - самая простая и в то же время самая надежная схема полного привода: при нормальной эксплуатации момент передаётся только на одну ось, а при необходимости подключается вторая ось - с помощью раздаточной коробки. При подключении оси жестко связываются между собой и вращаются с одинаковой скоростью, что создаёт некоторые ограничения: полный привод можно использовать только на покрытиях, допускающих проскальзывание колес .

Система полного привода подключаемого автоматически (другое наименование - система полного привода On demand, в переводе «по требованию») является перспективным направлением развития полного привода легковых автомобилей. Данная система обеспечивает подключение колес одной из осей в случае проскальзывания колес другой оси. В обычных условиях эксплуатации автомобиль является передне- или заднеприводным.

Практически все ведущие автопроизводители имеют в своем модельном ряду автомобили с автоматически подключаемым полным приводом.

Система полного привода подключаемого автоматически имеет следующее общее устройство.

. Двигатель

. Раздаточная коробка

. Карданная передача

. Межколесный дифференциал задней оси

. Муфта подключения задней оси

. Межколесный дифференциал передней оси

. Коробка передач

Принцип работы системы полного привода подключаемого автоматически, оборудованного фрикционной муфтой, заключается в следующем. Крутящий момент от двигателя, через сцепление, коробку передач, главную передачу и дифференциал передается на переднюю ось автомобиля. Крутящий момент через раздаточную коробку и карданные валы также передается на фрикционную муфту. В нормальном положении фрикционная муфта имеет минимальное сжатие, при котором на заднюю ось передается до 10% крутящего момента. При проскальзывании колес передней оси по команде электронного блока управления срабатывает фрикционная муфта и передает крутящий момент на заднюю ось. Величина передаваемого на заднюю ось крутящего момента может изменяться в определенных пределах.

Система полного привода подключаемого вручную

Система полного привода подключаемого вручную (другое наименование - система полного привода Part Time, в переводе «частичное время») в настоящее время практически не применяется, т.к. является низкоэффективной. Вместе с тем, именно эта система обеспечивает жесткую связь передней и задней оси, передачу крутящего момента в соотношении 50:50 и поэтому является по настоящему внедорожной.

Устройство системы полного привода подключаемого вручную в целом аналогично системе постоянного полного привода. Основные отличия - отсутствие межосевого дифференциала и возможность подключения переднего моста в раздаточной коробке.

Плюсы и минусы разных полноприводных систем:

Временно подключаемый полный привод имеет хорошую проходимость на плохих участках дороги и довольно простую конструкцию, что делает эго дешевым. При этом пользоваться постоянно им нельзя, да и при езде по трассе управление оставляет желать лучшего.

Автоматически подключаемый полный привод экономичный и дает возможность включать и выключать полный привод по желанию. Но у него слабая проходимость по бездорожью.

3.2 Отключение передних ведущих колес от трансмиссии при неиспользовании переднего моста: назначение и конструктивное исполнение

При жесткой связи ведущих мостов в трансмиссии может возникнуть циркуляция мощности. При движении по хорошей горизонтальной дороге циркулирующая мощность (ЦМ) может быть значительной. ЦМ не используется для преодоления сил сопротивления движению автомобиля, дополнительно нагружает механизмы трансмиссии и шины, вызывая их повышенное изнашивание. Кроме того, из-за увеличения суммарной мощности, передаваемой через механизмы трансмиссии, возрастают потери мощности в трансмиссии на буксовании колес, увеличивая расход топлива и изнашивание деталей двигателя. Поэтому ЦМ является вредной, и ее часто называют паразитной мощностью. Чтобы уменьшить дополнительное изнашивание механизмов трансмиссии, шин и расход топлива, вызванных ЦМ и перераспределением крутящего момента, при раздаточной коробке с блокированным приводом необходимо включать передний ведущий мост только для повышения проходимости и устойчивости автомобиля. При движении по хорошим дорогам необходимо принудительное отключение переднего ведущего моста для устранения циркуляции мощности или перераспределения крутящего момента.

4. Система подключаемого заднего привода

.1 Способы подключения: фрикционной муфтой, вязкостной муфтой, HALDEX-муфтой и другие

Многодисковая фрикционная муфта Haldex обеспечивает управляемую передачу крутящего момента (величина передаваемого крутящего момента определяется степенью замыкания муфты) от передней к задней оси автомобиля. Муфта Haldex встроена в картер дифференциала задней оси.

. Барабан; 2. Пакет фрикционных дисков; 3. Ступица; 4. Поршень; 5. тарельчатая пружина; 6. подающая магистраль; 7. клапан управления; 8. обратная магистраль; 9. блок управления; 10. обратный клапан; 11. Насос; 12. масляный фильтр; 13. аккумулятор давления; 14. масляный бак

Пакет фрикционных дисков представляет собой набор из фрикционных и стальных дисков. Фрикционные диски имеют внутреннее зацепление со ступицей. Стальные диски имеют внешнее зацепление с барабаном. Количество дисков определяет величину передаваемого крутящего момента (больше дисков - больше момент). Диски сжимаются поршнями.

Муфта Haldex имеет электронное управление, включающее входные датчики, блок управления и исполнительные устройства. Входным датчиком системы управления является датчик температуры масла.

Блок управления преобразует входящую информацию в управляющие воздействия на исполнительное устройство. Помимо датчика температуры масла электронный блок управления использует информацию от блока управления двигателем, блока управления системы ABS, получаемую по CAN-шине.

Исполнительным устройством системы управления является клапан управления, регулирующий давление сжатия фрикционных дисков от 0 до 100% максимальной величины. Величина давления определяется положением клапана.

Насос и аккумулятор давления обеспечивают поддержание давления масла в системе на уровне 3 МПа.

Алгоритм работы муфты Haldex:

начало движения;

начало движения с пробуксовкой;

движение с постоянной скоростью;

движение с пробуксовкой;

торможение.

При трогании с места и разгоне автомобиля клапан управления закрыт, диски муфты максимально сжаты. На задние колеса передается максимальный крутящий момент.

Если движение начинается с пробуксовкой обоих передних колес, клапан управления закрывается, фрикционные диски муфты сжимаются. Крутящий момент полностью передается на заднюю ось. При пробуксовке одного из передних колес в работу системы вначале включается электронная блокировка дифференциала.

При движении с постоянной скоростью клапан открывается, а диски сжимаются в зависимости от условий движения. На заднюю ось крутящий момент передается в определенных (незначительных) пределах.

Пробуксовка в движении автомобиля определяется на основании сигналов от блока управления системы ABS. При этом клапан открывается в зависимости от условий движения (какая ось и какие колеса буксуют).

При торможении клапан управления открыт, фрикционные диски муфты полностью разжаты. Крутящий момент на заднюю ось не передается.

Похожие работы на - Система полного привода

 

Не нашли материал для своей работы?
Поможем написать уникальную работу
Без плагиата!
Без нейросетей!