Разработка по выданному чертежу 3D модели корпуса раздаточной коробки автомобиля в программе компас, описание и значение, условия его эксплуатации

  • Вид работы:
    Курсовая работа (т)
  • Предмет:
    Транспорт, грузоперевозки
  • Язык:
    Русский
    ,
    Формат файла:
    MS Word
    601,22 Кб
  • Опубликовано:
    2012-04-10
Вы можете узнать стоимость помощи в написании студенческой работы.
Помощь в написании работы, которую точно примут!

Разработка по выданному чертежу 3D модели корпуса раздаточной коробки автомобиля в программе компас, описание и значение, условия его эксплуатации

МИНИСТЕРСТВО ОБРАЗОВАНИЯ И НАУКИ РОССИЙСКОЙ ФЕДЕРАЦИИ

ГОСУДАРСТВЕННОЕ ОБРАЗОВАТЕЛЬНОЕ УЧЕРЕЖДЕНИЕ

ВЫСШЕГО ПРОФЕССИОНАЛЬНОГО ОБРАЗОВАНИЯ

"ПОВОЛЖСКИЙ ГОСУДАРСТВЕННЫЙ УНИВЕРСИТЕТ СЕРВИСА (ПВГУС)"

Кафедра: "Электротехнические комплексы и системы"




КУРСОВОЙ ПРОЕКТ

По дисциплине: Системы автоматизированного проектирования в сервисе

На тему: "Разработка по выданному чертежу 3D модели корпуса раздаточной коробки автомобиля в программе компас, описание и значение, условия его эксплуатации"


Работу выполнил

студент гр. СвА-402

Медников В. Ю.

Проверил: Грищенко А.В.

Оглавление

Введение

1. Типы раздаточных коробок

. Чертёж раздаточной коробки в 3D выполненный в программе компас

3. Описание раздаточной коробки

4. Механизм переключения и привод управления

5. Различия в конструкциях раздаточных коробок

6. Условия эксплуатации раздаточной коробки

Список используемой литературы

Введение

Раздаточной коробкой передач называется дополнительная коробка передач, распределяющая крутящий момент двигателя между ведущими мостами автомобиля. Раздаточная коробка служит для увеличения тяговой силы на ведущих колесах и повышения проходимости автомобиля. Она одновременно выполняет функции демультипликатора, что позволяет увеличить диапазон передаточных чисел коробки передач и эффективнее использовать автомобили в различных дорожных условиях.

1. Типы раздаточных коробок

Раздаточные коробки с соосными валами привода ведущих мостов имеют широкое применение, так как они позволяют использовать для переднего и заднего ведущих мостов одну и ту же главную передачу (взаимозаменяемую). Однако в этом случае ведущая шестерня главной передачи переднего моста, имея левое направление спирали зубьев, будет работать на "ввинчивание". Поэтому при ослаблении затяжки ее подшипников может произойти заклинивание главной передачи переднего ведущего моста. Раздаточные коробки с несоосными ведомыми валами в отличие от раздаточных коробок с соосными ведомыми валами не имеют промежуточного вала. Они более компактны, менее металлоемки, более бесшумны при работе и имеют более высокий КПД. Раздаточные коробки с блокированным приводом ведущих мостов позволяют использовать полную по условиям сцепления ведущих колес с дорогой тяговую силу без их пробуксовывания. Однако при движении автомобиля на повороте или на неровной дороге при блокированном приводе неизбежно проскальзывание колес, так как передние колеса проходят больший путь, чем задние. В этом случае увеличивается изнашивание шин, расход топлива и происходит перегрузка деталей трансмиссии. Для устранения таких отрицательных явлений передний мост отключают при движении по дорогам с твердым покрытием и включают только на тяжелых участках дороги.

Раздаточные коробки с дифференциальным приводом ведущих мостов исключают возникновение перечисленных выше отрицательных явлений. Применяемый в этих коробках межосевой дифференциал позволяет приводным валам ведущих мостов вращаться с разными скоростями и распределять крутящий момент двигателя между мостами в соответствии с воспринимаемыми ими вертикальными нагрузками. Если нагрузки одинаковы по величине, то используют симметричный дифференциал, а если неодинаковы, то несимметричный. При раздаточных коробках с дифференциальным приводом передний мост постоянно включен. В результате изнашивание шин меньше, чем при отключении переднего моста. Однако межосевой дифференциал ухудшает проходимость автомобиля, так как при буксовании на месте одного из колес автомобиль не может начать движение. Поэтому для повышения проходимости межосевые дифференциалы выполняют с принудительной блокировкой. Наибольшее распространение на автомобилях повышенной проходимости получили двухступенчатые раздаточные коробки.

. Чертёж раздаточной коробки выполненный в программе компас 3D

На рисунке 1 показан чертеж раздаточной коробки в 3D

Рисунок 1 Раздаточная коробка.

3. Описание раздаточной коробки

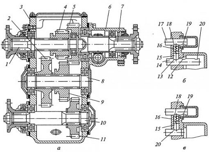
На рисунке 2 представлена раздаточная коробка грузовых автомобилей ГАЗ повышенной проходимости. Коробка двухступенчатая с прямой и понижающей передачами и блокированным приводом. Валы ведущий 1, промежуточный 8 и приводов переднего 10 и заднего 7 мостов установлены на шариковых подшипниках в картере 3 и крышке 6 раздаточной коробки. Задним концом ведущий вал 1 опирается на цилиндрический роликовый подшипник в выточке вала 7. На шлицах валов установлены шестерня 4 понижающей и прямой передач, шестерня 9 включения переднего моста и ведомые шестерни 2 и 11 понижающей передачи и вала привода переднего моста. Шестерня 5 изготовлена вместе с валом 7. Все шестерни раздаточной коробки прямо образуемые.

Рисунок 2 - Раздаточная коробка грузовых автомобилей ГАЗ повышенной проходимости, а - продольный разрез; б, в - механизм переключения; 1 - ведущий вал; 2, 4, 5, 9, 11 - шестерни; 3 - картер; 6 - крышка; 7, 10 - валы привода мостов; 8 - промежуточный вал; 12, 13, 18, 19, 20 - выемки; 14, 17 - ползуны; 15, 16 - сухари

4. Механизм переключения и привод управления

Механизм переключения передач раздаточной коробки имеет блокирующее устройство (замок), препятствующее включению понижающей передачи, если выключен передний мост, или включению моста, если включена понижающая передача.

Блокирующее устройство предохраняет механизмы привода колес заднего ведущего моста от перегрузок. Устройство состоит из двух сухарей 15 и 16 и разжимной пружины, которые находятся в картере между ползунами 14 и 17. Под действием разжимной пружины сухари входят в выемки ползунов. На ползуне 14 переключения передач имеется три выемки. В среднюю глубокую выемку 12 сухарь 15 входит при нейтральном положении шестерни 4, а в крайние меньшей глубины выемки 13 и 20 - при включении соответственно прямой и понижающей передач. Между выемками 12 и 13 выполнена лыска. Ползун 17 имеет две выемки - глубокую 18 для включения переднего моста и меньшей глубины 19 для выключения переднего моста. Положение ползунов, соответствующее включению переднего моста и прямой передачи, показано на рисунке 1, б, а понижающей передачи и переднего моста - на рисунке 1, в. Выключить передний мост при включенной понижающей передаче невозможно, так как зазор между сухарями блокирующего устройства меньше глубины выемки 18. При включенном переднем мосту сухарь 15 из выемки 12 можно переместить только в выемку 13 по лыске на ползуне 14.

Привод управления раздаточной коробкой имеет два рычага. Один рычаг служит для переключения передач и связан с ползуном 14. Другой рычаг служит для выключения переднего моста, он соединен с ползуном 17. Включать передний мост можно без выключения сцепления, так как скорости вращения шестерен 9 и 11 практически одинаковы.

5. Различия в конструкциях раздаточных коробок

Конструкция раздаточной коробки различается в зависимости от вида системы полного привода. Вместе с тем, можно выделить следующее общее устройство раздаточной коробки: ведущий вал; межосевой дифференциал; механизм блокировки межосевого дифференциала; вал привода задней оси; цепная (зубчатая) передача; понижающая передача; вал привода передней оси.

Вязкостная муфта (вискомуфта) является наиболее простым и недорогим устройством автоматической блокировки дифференциала. Работа муфты основана на возникновении блокирующего момента при разности угловых скоростей осей. Конструктивно муфта состоит из набора перфорированных дисков, половина из которых соединена со ступицей, другая - с корпусом муфты. Диски помещены в силиконовую жидкость. При проскальзывании одной из осей увеличивается частота вращения определенных дисков, силиконовая жидкость становиться более вязкой (густеет) и муфта блокируется - образуется связь ступицы с корпусом муфты. К недостаткам вискомуфты можно отнести срабатывание с запаздыванием, неполная блокировка межосевого дифференциала, перегрев при длительном использовании, несовместимость с системой ABS.

Самоблокирующийся дифференциал Torsen представляет собой конструкцию, состоящую из червячных шестерен: ведущих (сателлиты) и ведомых (солнечные шестерни приводов осей). Блокировка в дифференциале происходит за счет сил трения в червячной передаче. При движении по твердому покрытию устройство работает как обычный межосевой дифференциал и распределяет крутящий момент по осям в равных отношениях. При проскальзывании одной из осей крутящий момент перебрасывается на ось с лучшими сцепными свойствами, при этом соотношение крутящих моментов может достигать 20:80. Ввиду ограничений по прочности конструкции дифференциал Torsen не применяется на внедорожных автомобилях. Многодисковая фрикционная муфта представляет собой набор фрикционных дисков с контролируемой степенью сжатия (блокировки). Муфта обеспечивает распределение крутящего момента между осями в зависимости от дорожных условий. В нормальных условиях крутящий момент распределяется по осям в равных отношениях. При проскальзывании одной из осей фрикционные диски сжимаются, чем достигается частичная или полная блокировка межосевого дифференциала. Крутящий момент перераспределяется на ось, имеющую лучшее сцепление с дорогой. Для выполнения своих функций муфта может иметь электрический (электродвигатель) или гидравлический (гидроцилиндр) привод и электронную систему управления. Ручная (принудительная) блокировка дифференциала производится водителем с помощью механического, пневматического, электрического или гидравлического привода. На некоторых конструкциях предусмотрены функции как автоматической, так и ручной блокировки межосевого дифференциала. Вал привода задней оси выполнен, как правило, соосно с ведущим валом. Цепная передача обеспечивает передачу крутящего момента на переднюю ось. Она включает ведущее и ведомое зубчатые колеса и приводную цепь. Вместо цепной передачи в раздаточной коробке может использоваться цилиндрическая зубчатая передача. Раздаточная коробка в системе автоматически подключаемого полного привода представляет собой, как правило, конический редуктор. Понижающая передача служит для увеличения крутящего момента при движении по плохим дорогам и бездорожью. Она присутствует в отдельных конструкциях раздаточных коробок внедорожных автомобилей. На современных автомобилях понижающая передача выполнена в виде планетарного редуктора. В раздаточной коробке, устанавливаемой на автомобили с системой полного привода подключаемого вручную, предусмотрена возможность подключения переднего моста (в данном контексте мост и ось синонимы) в раздаточной коробке. Отдельные конструкции раздаточных коробок системы постоянного полного привода имеют функцию отключения передней оси. Режимы работы раздаточной коробки определяются ее конструкцией. В совокупности раздаточная коробка может иметь следующие режимы работы:

включен задний мост;

включены оба моста;

включены оба моста при блокировке межосевого дифференциала;

включены оба моста на понижающей передаче при блокировке дифференциала;

включены оба моста при автоматической блокировке дифференциала.

Переключение режимов осуществляется с помощью рычага управления, копок на панели приборов или поворотного переключателя.

6. Условия эксплуатации раздаточной коробки

Уход за раздаточной коробкой заключается в поддержании уровня масла в картере, его периодической смене, а также в выявлении и устранении неисправностей. Уровень масла в раздаточной коробке должен находиться у кромки наливного отверстия или ниже на 5-10 мм. Менять масло следует через каждые 6 тыс. км пробега, а также при смене сезона (весной и осенью). Нужно периодически следить, не засорен ли сапун раздаточной коробки, и, если необходимо, очищать его от грязи. Следует периодически проверять затяжку гаек крепления фланцев карданов (в трех местах). Ослабление посадки фланцев не допускается. При обнаружении течи смазки через сальники штоков переключения необходимо несколько подвернуть гайки 13 (фиг. 137). Отработанное масло нужно спускать из картера теплым (сразу после остановки автомобиля), иначе не будет обеспечено его полное удаление. Если отработанное масло оказалось загрязненным и в нем имеются продукты износа (металлические частицы), то после спуска масла раздаточную коробку нужно промыть керосином.

Заключение

В ходе выполнения курсового проекта была выполнена разработка по выданному чертежу раздаточной коробки, изучены технические и эксплуатационные свойства всех типов раздаточных коробок.

Список используемой литературы

1. Под редакцией Главного консультанта АО "ГАЗ" Ю.В.Кудрявцев.

. Автомобиль ГАЗ 3110 - 2001г.

. http://systemsauto.ru/transmission/razdatochnaja_korobka.html

Похожие работы на - Разработка по выданному чертежу 3D модели корпуса раздаточной коробки автомобиля в программе компас, описание и значение, условия его эксплуатации

 

Не нашли материал для своей работы?
Поможем написать уникальную работу
Без плагиата!
Без нейросетей!