Изоляция и перенапряжения в электрических системах
Федеральное
агентство по образованию
Государственное
образовательное учреждение
высшего
профессионального образования
«Омский
государственный технический университет»
Домашнее
задание
“Изоляция
и перенапряжения в электрических системах”
Вариант
№11
Выполнил:
студент
группы ЗЭ- 517
Проверил:
преподаватель
Шкаруба М.В.
Омск 2011 г
Исходные данные подстанции
|
Вариант задания
|
11
|
|
Размер подстанции А, м
|
35
|
|
Размер подстанции В, м
|
41
|
|
Ширина ЗРУ, м
|
8
|
|
Климатическая зона
|
3
|
|
Низкое напряжение, кВ
|
6
|
|
Ток замыкания, А
|
18
|
|
Грунт
|
Чер-м.
|
|
Удельное сопротивление, Ом∙м
|
46
|
|
Параметры системы
трос-опора
|
|
|
Сопротивление опоры, Ом
|
13
|
|
Длина пролета, м
|
350
|
|
Сечение троса, мм2
|
80
|
|
Высота оборудования
|
|
|
Портала, м
|
10
|
|
Трансформатора, м
|
6
|
|
ЗРУ, м
|
6
|
Рис.1. Понизительная подстанция на 110/6-10 кВ (тип I): а − план подстанции; б −
разрез
I. Расчет заземляющего устройства подстанции
Цель расчета: изучить назначение, порядок расчета, некоторые особенности
монтажа заземляющего устройства подстанции.
При вычислении периметра заземляющего контура следует учесть, что контур
расположен только на открытой части подстанции, поэтому от ширины А надо
отступить с каждой стороны по 2 м, а из длины В надо вычесть еще и ширину ЗРУ (рис.2).
Рис.2. Расчет периметра заземляющего контура для подстанции типа I
Периметр Р =(А1+В1)*2=(28+30)*2=116 м, где А1=34-2-2=30
м,
В1=40-8-2-2=28 м.
1. Определение допустимого сопротивления заземляющего
устройства
На стороне ВН (110 кВ) сопротивление следует взять по ПУЭ RЗ=0,5 Ом.
На
стороне НН (6 кВ) сопротивление вычисляется по формуле
, но не более 10 Ом.
Rрасч.нн=13,89 Ом, по ПУЭ принимаем RЗ=10 Ом.
Заземляющее
устройство является общим для электроустановок на различное напряжение, поэтому
расчетным сопротивлением заземляющего устройства является наименьшее из
требуемых.
Окончательное
значение сопротивления (меньшее из двух): RЗ=0,5 Ом.
2. Определение необходимого сопротивления искусственного
заземлителя (RИ)
На подстанции следует в качестве естественного заземлителя использовать
систему трос - опора, это позволит увеличить сопротивление искусственного
заземлителя.
Параметры системы трос - опора приведены в исходных данных.
Cопротивление
растеканию системы трос-опоры (при числе опор с тросом более 20)
где
- расчетное, т.е. наибольшее (с учетом сезонных
колебаний), сопротивление заземления одной опоры, Ом; r -активное
сопротивление троса на длине одного пролета, Ом; n - число тросов
в опоре. Активное сопротивление стального троса r = 0,15×ℓ /S, где ℓ -длина
пролета, м; S - сечение троса, мм2.
Принимаем
число тросов на опоре nТР=1,
число цепей ЛЭП nЦ=2.
Сопротивление
системы трос-опора RС=1,2 Ом.
Необходимое
сопротивление искусственного заземлителя
с учетом
использования естественных заземлителей:

Сопротивление искусственного заземлителя должно быть RИ=0,76 Ом.
3. Выбор формы и размеров электродов
Для вертикальных электродов берем пруток Æ 18 мм (черная сталь), длина
ℓ =5 м. Для горизонтальных электродов берем полосу 5*40 мм (черная
сталь) [13].
4. Составление предварительной схемы заземлителя
В
качестве первого приближения для подстанций с высшим напряжением 110 кВ
рекомендуется принять
, ℓ = 5 м.
По
отношению a/ℓ (табл.1) определяется коэффициент
использования вертикальных электродов
.
Таблица 1
Коэффициенты использования вертикальных электродов
|
Отношение а/L
|
Число вертикальных
электродов в контуре, n
|
|
4
|
6
|
10
|
20
|
40
|
60
|
100
|
200
|
|
1
|
0.69
|
0.61
|
0.56
|
0.47
|
0.41
|
0.39
|
0.36
|
0.33
|
|
2
|
0.78
|
0.73
|
0.68
|
0.63
|
0.58
|
0.55
|
0.52
|
0.48
|
|
3
|
0.85
|
0.80
|
0.76
|
0.71
|
0.66
|
0.64
|
0.62
|
0.59
|
Среднее расстояние между двумя электродами а=2,4
Отношение а/ ℓ = 0,48. Для такого отношения а/ ℓ табличные
данные отсутствуют, поэтому расчетное значение КИВ определяется с
помощью программы, разработанной на кафедре ЭсПП (рис. 3).
Рис. 3. Определение КИВ с помощью программы, разработанной на
кафедре ЭсПП
Расчетное значение КИВ=0,314.
5. Определение расчетного удельного сопротивления грунта
Расчетное
удельное сопротивление грунта отдельно для горизонтальных
и вертикальных
электродов
с учетом повышающих коэффициентов
,
учитывающих высыхание грунта летом и промерзание его зимой:
,
где
- измеренное или взятое из таблиц среднее значение
удельного сопротивления грунта.
Повышающие
коэффициенты
для различных климатических зон приведены в табл. 2 и
3.
Таблица
2
Коэффициенты
сезонности вертикальных электродов
|
Климатическая зона
|
Вертикальный электрод
|
|
длиной 3 м
|
длиной 5 м
|
|
1 2 3
|
1,7 1,5 1,3
|
1,4 1,3 1,2
|
Удельное сопротивления грунта ρ = 50 Ом*м. ρ расч.в = 55,2 Ом*м.
Таблица 3
Коэффициенты сезонности горизонтальных электродов
|
Климатическая зона
|
Сезонный коэффициент
|
4,5 3,0 2,0
|
Ррасч.г = 92 Ом*м.
6. Определение сопротивления растеканию одного вертикального
электрода
Сопротивление растеканию одного вертикального электрода равно
, (1)
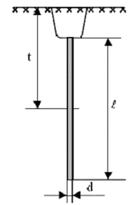
где
ℓ - длина вертикального электрода, м; d - диаметр
электрода, м; t - расстояние от поверхности грунта до середины
электрода, м.
По
формуле (1) определяют сопротивление вертикального электрода из трубы или
прутка.
Рис.
4. Параметры вертикального электрода
Расчетное сопротивление вертикального электрода: RВ=11,83 Ом.
7. Определение примерного числа вертикальных электродов
Примерное
число вертикальных электродов
при
предварительно принятом коэффициенте использования вертикальных электродов
определяется по формуле:
,
где
- необходимое сопротивление искусственного
заземлителя.
nВ= RВ/( КИВ* RИ) = 49,52
8. Определение сопротивления растеканию горизонтального
электрода
Сопротивление растеканию тока горизонтального электрода определяется по
формуле
, (2)
где
ℓ - длина горизонтального электрода, м; t - глубина его
заложения, м;
d - диаметр
электрода, м.
Для
полосы шириной b в формулу (2) подставляют вместо d
эквивалентный диаметр
(b=0.04 м, d=0.02 м)
Рис.
5. Параметры горизонтального электрода
Глубина залегания горизонтального электрода (равна глубине траншеи, 0,7
м).
Расчетное сопротивление горизонтального электрода RГ=1,69Ом.
9.
Уточнение коэффициентов использования
Коэффициент КИВ необходимо уточнить для нового значения числа
вертикальных электродов n =
50. Среднее расстояние между электродами а=2,4
Отношение а/L = 0,48.
Расчетное значение КИВ=0,314.
Затем надо определить коэффициент использования горизонтального
электрода, который также зависит от числа вертикальных электродов (табл.4).
Таблица 4
Коэффициенты использования горизонтального электрода
|
Отношение а/L
|
Число вертикальных
электродов в контуре, n
|
|
4
|
6
|
10
|
20
|
40
|
60
|
100
|
200
|
|
1
|
0.45
|
0.40
|
0.34
|
0.27
|
0.22
|
0.20
|
0.19
|
0.18
|
|
2
|
0.55
|
0.48
|
0.40
|
0.32
|
0.29
|
0.27
|
0.23
|
0.21
|
|
3
|
0.70
|
0.64
|
0.56
|
0.45
|
0.39
|
0.36
|
0.33
|
0.31
|
Расчетное значение КИГ также лежит за пределами таблицы,
поэтому определяется с помощью программы, разработанной на кафедре ЭсПП.
Расчетное значение КИГ=0,174.
Определяется уточненное число вертикальных электродов с учетом
проводимости горизонтального электрода
Если
уточненное число вертикальных электродов
более
чем на 10 % отличается от примерного числа
, то
рекомендуется вновь уточнить коэффициенты использования
и
и
повторить расчет
.
Предыдущее число вертикальных электродов было nВ=46
Уточненное числа вертикальных электродов nВУ=51,6
nВУ отличается от nВ на 2,65% (допускается менее 10%)
Округляем в сторону увеличения: nВ=46.
11. Окончательное значение сопротивления искусственного
заземлителя
Требуемое значение сопротивления RИ=0,76 Ом.
Расчетное значение сопротивления RИР=0,755 Ом.
Запас 0,005 Ом.
Для выравнивания потенциала на поверхности земли с целью снижения
напряжения прикосновения и шагового напряжения применяются выравнивающие сетки.
На открытых подстанциях рекомендуется укладывать сетки на глубине 0,5 - 0,7 м с
размером ячеек 6 -12 м. Сопротивление сетки в расчетах не учитывается,
обеспечивая дополнительное (резервное) уменьшение сопротивления.