Перенапряжения и молниезащита

  • Вид работы:
    Курсовая работа (т)
  • Предмет:
    Физика
  • Язык:
    Русский
    ,
    Формат файла:
    MS Word
    918,66 Кб
  • Опубликовано:
    2014-11-01
Вы можете узнать стоимость помощи в написании студенческой работы.
Помощь в написании работы, которую точно примут!

Перенапряжения и молниезащита

ФГОУ ВПО «НОВОСИБИРСКАЯ ГОСУДАРСТВЕННАЯ АКАДЕМИЯ

ВОДНОГО ТРАНСПОРТА»

Тобольский филиал

Кафедра «Электрооборудование и электротехника (ЭСЭ) »









РЕФЕРАТ

На тему: «Перенапряжения и молниезащита»


Выполнил:

Гончаров Игорь Юрьевич

Преподаватель:

Горелов Валерий Павлович



Тобольск - 2013

Содержание

Введение

1.      Импульсные испытательные напряжения

2.      Общие принципы координации изоляции

.        Основные схемы измерения в высоковольтной технике

.        Влияние полярности и заземление электродов

.        Заземление и конструктивное исполнение молниеотводов

.        Общая классификация заземлений в электрических установках

Заключение

Список используемой литературы

Введение

напряжение высоковольтный заземление молниеотвод

Рост производства электроэнергии - одно из самых приоритетных направлений технического прогресса. К 2010 году мировая выработка электроэнергии намного превысила 32 тыс. ТВт•ч, поэтому развитие электроэнергетики существенно опережает всех других отраслей промышленности и олицетворяет весь индустриальный потенциал страны.

Энергообеспеченность - важный показатель для общего уровня жизни в стране. Экономисты отмечают прямую связь между энергообеспеченностью и национальным доходом, приходящимся на душу населения. Достигнутая энергообеспеченность стала фундаментом для создания современной цивилизации, ведь без энергии современный человек свою жизнь представить уже не может.

С ростом производства электроэнергии растут потоки мощности в электрических сетях и расстояния, на которые эти мощности передаются. Соответственно, растут и напряжения в электрических сетях. В России пока что коэффициент полезного электростанций оставляет желать лучшего, но база развития велика и прочна. Улучшение энергосистем нашей страны требует решения сложных научно-технических проблем, но не менее важным на мой взгляд является вопрос о качественной подготовке специалистов в этой области, поэтому изучение дисциплины «Перенапряжения и молниезащита» имеет первостепенное значение.

Молниезащита - это комплекс технических решений и специальных приспособлений для обеспечения безопасности здания, а также имущества и людей, находящихся в нем. На земном шаре ежегодно происходит до 16-и миллионов гроз, то есть около 44 тысяч за день. Опасность для зданий (сооружений) в результате прямого удара молнии может привести к:

повреждению здания (сооружения) и его частей,

отказу находящихся внутри электрических и электронных частей,

гибели и травмированию живых существ, находящихся непосредственно в здании (сооружении) или вблизи него.

Молниезащита зданий разделяется на внешнюю и внутреннюю. Внешняя молниезащита представляет собой систему, обеспечивающую перехват молнии и отвод её в землю, тем самым, защищая здание (сооружение) от повреждения и пожара. В момент прямого удара молнии в строительный объект правильно спроектированное и сооруженное молниезащитное устройство должно принять на себя ток молнии и отвести его по токоотводам в систему заземления, где энергия разряда должна безопасно рассеяться. Прохождение тока молнии должно произойти без ущерба для защищаемого объекта и быть безопасным для людей, находящихся как внутри, так и снаружи этого объекта.

Внутренняя молниезащита представляет собой совокупность устройств защиты от импульсных перенапряжений (УЗИП). Назначение УЗИП - защитить электрическое и электронное оборудование от перенапряжений в сети, вызванных резистивными и индуктивными связями, возникающих под воздействием тока молнии. Общепринято выделяют перенапряжения, вызванные прямыми и непрямыми ударами молнии. Первые происходят в случае попадания молнии в здание (сооружение) или в подведенные к зданию (сооружению) линии коммуникаций (линии электропередачи, коммуникационные линии). Вторые - вследствие ударов вблизи здания (сооружения) или удара молнии вблизи линий коммуникаций. В зависимости от типа попадания различаются и параметры перенапряжений. Для организации защиты от прямых ударов молнии должны быть максимально использованы металлические элементы объектов, объединенные между собой. В ряде случаев достаточно эффективное использование штукатурки, содержащей порошки различных металлов.

Не менее важна надежная защита от вторичных воздействий молнии. Для ослабления индуцированных помех широкое применение нашло внешнее экранирование прокладки кабельных линий и экранирование линий питания и связи. Кабели должны иметь металлические экраны, заземленные на обоих концах и соединенные с системой молниезащиты, в том числе на границах зон. При открытой уличной проводке кабели электропитания и линий связи должны быть проложены в заземленных трубах. Кроме того, у слаботочных объектов, например ПЭВМ, должны быть установлены сетевые фильтры, в значительной степени снижающие уровень импульсов, приходящих по фазе, нулевому проводу и земле. И, наконец, для повышения надежности защиты от вторичных воздействий обязательно должны быть предусмотрены активные аппаратные средства защиты от перенапряжений. Для этого применяют различные виды «грубой» и «тонкой» защиты. Первая предусматривает газоразрядники, ограничители перенапряжений и т. д., вторая - комплекс различных защитных аппаратов, в том числе мощные диоды Зенера. Эти устройства должны быть установлены в месте пересечения линий электроснабжения, управления, связи, телекоммуникаций границы двух зон экранирования, как правило, это ввод в здание.

1. Импульсные испытательные напряжения

Испытания изоляции повышенным напряжением позволяют выявить локальные дефекты, не обнаруживаемые иными методами; кроме того, такой метод испытаний является прямым способом контроля способности изоляции выдерживать воздействия перенапряжений и дает определенную уверенность в качестве изоляции. К изоляции прикладывается испытательное напряжение, превышающее рабочее напряжение, и нормальная изоляция выдерживает испытания, а дефектная пробивается.

При профилактических или послеремонтных испытаниях проверяется способность изоляции проработать без отказа до следующих очередных испытаний. Контроль изоляции повышенным напряжением дает только косвенную оценку длительной электрической прочности изоляции, и основная его задача - проверка отсутствия грубых сосредоточенных дефектов.

Испытательные напряжения для нового оборудования на заводах-изготовителях определяется ГОСТ 1516.2-97, а при профилактических испытаниях величины испытательных напряжений принимаются на 10-15% ниже заводских норм. Этим снижением учитывается старение изоляции и ослабляется опасность накопления дефектов, возникающих при испытаниях.

Контроль изоляции повышенным напряжением в условиях эксплуатации проводится для некоторых видов оборудования (вращающиеся машины, силовые кабели) с номинальным напряжением не выше 35 кВ, поскольку при более высоких напряжениях испытательные установки слишком громоздки.

При испытаниях повышенным напряжением используются три основных вида испытательных напряжений: повышенное напряжение промышленной частоты, выпрямленное постоянное напряжение и импульсное испытательное напряжение (стандартные грозовые импульсы).

Важным видом испытательного напряжения являются стандартные грозовые импульсы напряжения с фронтом 1.2 мкс и длительностью до полуспада 50 мкс. Испытания импульсным напряжением производят потому, что изоляция в процессе эксплуатации подвергается воздействию грозовых перенапряжений со схожими характеристиками.

Для исследования электрической прочности изоляции при импульсных напряжениях, имитирующих грозовые перенапряжения, применяются генераторы импульсных напряжений (ГИН). ГИН представляет собой батарею конденсаторов, которые в зарядном режиме включены параллельно, а в разрядном - последовательно. Для коммутации применяются искровые разрядники (обычно шаровые).

Воздействие грозовых импульсов на изоляцию отличается от воздействия напряжения частотой 50 Гц из-за гораздо большей скорости изменения напряжения, приводящей к другому распределению напряжения по сложной изоляции типа изоляции трансформаторов; кроме того, сам процесс пробоя при малых временах отличается от процесса пробоя на частоте 50 Гц, что описывается вольт-секундными характеристиками. По этим причинам испытаний напряжением промышленной частоты в ряде случаев оказывается недостаточно.

Воздействие грозовых перенапряжений на изоляцию часто сопровождается срабатыванием защитных разрядников, срезающих волну перенапряжения через несколько микросекунд после ее начала, и поэтому при испытаниях используют и импульсы, срезанные через 2-3 мкс после начала импульса (срезанные стандартные грозовые импульсы).

Амплитуда импульса выбирается исходя из возможностей оборудования, защищающего изоляцию от перенапряжений, с некоторыми запасами, и исходя из возможности накопления скрытых дефектов при многократном воздействии импульсных напряжений. Конкретные величины испытательных импульсов определяются по ГОСТ 1516.1-76.

Испытания внутренней изоляции проводят трехударным методом. На объект подается по три импульса положительной и отрицательной полярности, сначала полные, а затем срезанные. Интервал времени между импульсами - не менее 1 мин. Изоляция считается выдержавшей испытания, если во время испытания не произошло ее пробоев и не обнаружено повреждений. Методика обнаружения повреждений довольно сложна и обычно проводится осциллографическими методами.

Внешняя изоляция оборудования испытывается 15-ударным методом, когда к объекту с интервалом не менее 1 мин. прикладывается по 15 импульсов обеих полярностей, как полных, так и срезанных. Изоляция считается выдержавшей испытания, если в каждой серии из 15 импульсов было не более двух полных разрядов (перекрытий).

. Общие принципы координации изоляции

В процессе эксплуатации на изоляцию воздействуют рабочее напряжение, внутреннее и внешнее перенапряжения. Выбор уровня (промежутка между электродами) изоляции электрооборудования электростанций и подстанций должен быть экономически оправдан. Под координацией изоляции с точки зрения технико-экономических показателей понимают установление и поддержание соответствия между уровнем ее электрической прочности и уровнем амплитуды воздействующего напряжения после защитного разрядника.

Установление и поддержание уровня изоляции электрооборудования основывается на многолетнем опыте его изготовления, эксплуатации и испытания на заводах и в энергосистемах. Уровень перенапряжения регистрируется в течение всего срока службы изоляции современными средствами защиты(разрядниками).Методическая и экспериментальная трудность получения результатов по вольт-секундным характеристикам (ВСХ) разрядников требуют при испытании большого числа дорогостоящих образцов изоляции электрооборудования, поэтому опубликованных данных по ВХС разрядников мало.

Чаще всего координация изоляции осуществляется с помощью сле-дующего неравенства:

> Uо,

где Ui - импульсная прочность изоляции, нижний предел которой определяется испытательным напряжением:

= Uисп Кi 2,

где Uо - остающееся напряжение сработанного разрядника;

Кi- коэффициент импульса изоляции.

В СНГ ГОСТ 1516.1-78 и 1516.2-78 устанавливает испытательные напряжения для оборудования каждого класса напряжения. В США уровни изоляции не связываются с номинальным напряжением, а выбираются по многоступенчатой шкале в зависимости от защитных характеристик разрядников в данной точке сети, что позволяет гибко и экономично осуществлять выбор оборудования, с расширенной номенклатурой разрядников.

Координация изоляции по атмосферным перенапряжениям

Импульсные испытательные напряжения станционного оборудования выбраны так, чтобы в схемах распределительных устройств, защищенных разрядником, не происходило повреждение изоляции электрооборудования волнами атмосферного перенапряжения. Испытания изоляции проводятся на полной и срезанной волнах (трехударный метод), получаемых от генератора импульсных напряжений (ГИН), согласно ГОСТ 1516.2-78. Таким испытаниям подвергается вся внешняя изоляция типа опорной. Координация изоляции по внутреннему перенапряжению.

Координация изоляции по внутреннему перенапряжению

Пробивные напряжения искровых промежутков разрядников на рабочей частоте Uпр являются определяющими при внутреннем перенапряжении. Остаточное напряжение на рабочем сопротивлении РВ после прохождения импульсного тока разряда молнии несколько ниже напряжения Uпр. Поэтому для внутренней изоляции выбор испытательного напряжения на рабочей частоте, согласно ГОСТ 1516.1-78, осуществляется по формуле

исп ~ = Uпр Кк / Кi

где Кк - коэффициент кумулятивности, равный 1,1;

Кi- коэффициент импульса внутреннем перенапряжении, принимаемый от 2,0 до 1,5 при увеличении длительности воздействия перенапряжения от 0,1 до 1,0 с. Для координации внешней изоляции с уровнем внутреннего перенапряжения находится ее прочность под дождем:

исп ~ = Uпр / (Кi Кр),

где Кi = 1 + 0,5 ((Uср / Uмр) - 1), т.е. зависит от соотношения Uср / Uмр изолятора,ср - сухоразрядное напряжение, т.е. разрядное напряжение по поверхности изолятора в сухую погоду при нормальных атмосферных условиях; мр - мокроразрядное напряжение, т.е. разрядное напряжение по поверхности изолятора при ливневом дожде со скоростью ветра в 3 м/с и направлением потока воды к оси изолятора под углом в 450, или принимается для всех видов внешней изоляции Кi= 1,1;

Кр - коэффициент, учитывающий атмосферное давление на высоте электрооборудования от 500 до 1000 м над уровнем моря, принимается 0,965 до 0,94.

Для внешней изоляции в сухом состоянии амплитуду испытательного напряжения рабочей частоты можно оценить

исп ~ = Uпр / (d / К),

где d / К - поправочный коэффициент, с учетом плотности воздуха d и коэффициента влажности К при высоте от 500 до 1000 м над уровнем моря, принимается соответственно от 0,89 до 0,84; - относительная плотность воздуха; Кi и Кк равны 1,0.

В системах сверхвысокого напряжения (СВН) внутренние перенапряжения являются доминирующими и длительными (до секунд и даже минут). Причиной их может быть сброс нагрузки, неправильная работа регуляторов напряжения, односторонний разрыв передачи и т.д. Снижение амплитуды и длительности такого перенапряжения до допустимых значений, определяемых внутренней изоляцией электрооборудования, можно обеспечить с помощью схемных мероприятий и автоматики.

Качество технической изоляции определяется не только культурой производства, но и налаженной службой контроля или проверки соответствия качества изоляции ГОСТу или заводским нормам. Контроль за качеством изоляции на производстве при изготовлении и выпуске электрооборудования и профилактика изоляции в эксплуатации направлены на выявление ее дефектов с последующей заменой или восстановлением поврежденного изоляционного участка.

Местные дефекты сосредоточены на небольшом участке изоляции и проявляются в виде газовых (воздушных полостей) и металлический включений, примесей, а также в виде механических и технологических нарушений (микротрещин, заусениц, морщин, смещений слоев ленты, вмятин и т.п.).

Общие дефекты наиболее распространены, среди них чаще обнаруживается проникающая влага в изоляцию, реже выявляются дефекты развитого газового включения (дырка) и проводящей примеси (металлическое включение). Разрушение изоляции в начале эксплуатации протекает медленно, а в конце - носит скачкообразный характер.

Методы контроля за изоляцией - это разрушающие методы при испытании повышенным напряжением и метод обнаружения дефектов под воздействием напряжения ниже номинального уровня или рабочих напряжений без разрушения изоляции. Опыт применения профилактических испытаний высоковольтной изоляции сводится к повышению надежности изделий в работе или к снижению вероятностей отказов электрооборудования.

Испытание изоляции повышенным напряжением.

Изоляция электрооборудования в условиях эксплуатации подвергается воздействию рабочего напряжения, перенапряжения внешнего и внутреннего характера и физико-механических факторов - теплового поля, вибраций, электродинамических усилий и т.д. Пооперационные испытания повышенным напряжением позволяют оценить способность изоляции противостоять таким воздействиям.

Повышенное испытательное напряжение должно:

эффективно обнаружить все виды дефектов;

не старить изоляцию, т.е. не развивать дефект, если он выдержал испытания;

дать распределение напряженности поля по изоляции во время испытания идентично перенапряжению во время эксплуатации;

установки повышенного напряжения должны быть транспортабельны, просты в обслуживании и электробезопасны.

В понятие эффективности испытания вкладывают различное содержание, вследствие чего сравнение эффективности испытаний, проводимых различными специалистами, затруднительно, а порой невозможно. Одни оценивают эффективность испытаний отношением числа выявляемых дефектов к числу испытаний машин, другие определяют отношение числа выявленных дефектов при испытаниях к числу машин, изоляция которых повреждена в эксплуатации за период времени между двумя испытаниями. В обоих случаях такой подход формальный. В ряде случаев дается оценка эффективности испытаний с применением нескольких форм испытательных напряжений и при неоправданно завышенных величинах испытательного напряжения.

Наряду с большим числом пробоев изоляции во время испытаний ожидается кумулятивный эффект в ней и, как следствие, аварийность изоляции в эксплуатации не снижается. Все выше сказанное относится как к традиционным испытаниям повышенным напряжением, существующим в настоящее время в Нормах и ГОСТах - это повышенное переменное напряжение повышенной частоты в течение 1 мин и выпрямленное в течении 5 мин, а также импульсное напряжение стандартной волны 1,5/40 мкс и срезанной - 1,5/2 мкс (трех ударный метод). К нетрадиционным испытаниям относят другие формы повышенных напряжений: трапецеидальная (завод "Электросила"), сверхнизкочастотные 0,1 Гц (США), полупериод напряжения 50 Гц (Нидерланды, С - ПГТУ им. М.И. Калинина). Анализ форм напряжений приведен в таблице ниже.


. Основные схемы измерения в высоковольтной технике

Измерение постоянных токов до 6000 А обычно производится при помощи приборов магнитоэлектрической системы с шунтами.

Шунты на большие токи становятся громоздкими, тяжелыми и дорогими, так, например, шунт типа 75ШС 6000 А весит 24 кг. Кроме того, применение шунтов на большие токи не обеспечивает достаточной точности и мощность потерь в них велика, например, в упомянутом шунте при номинальном напряжении 75 мВ мощность потерь 6 000 А х 0,075 В = 450 Вт. Поэтому для измерения больших постоянных токов применяются трансформаторы постоянного тока, которые изготавливаются на номинальные первичные токи от 7,5 до 70 кА при вторичном токе 5 А.

Шунт B6 - номинальный ток 1A - 15кA - падение напряжения 100мВ

Трансформатор постоянного тока состоит из двух одинаковых замкнутых сердечников, на каждый из которых наложено по две обмотки. Сердечники изготовлены из пермаллоя.

Измеряемый постоянный ток проходит по первичным обмоткам, соединенным последовательно. Две вторичные обмотки, соединенные между собой последовательно (или параллельно), через выпрямитель присоединяются к источнику питания с переменным напряжением.

Вторичные обмотки соединены так, что в течение первого полупериода переменного тока i2 вторичная н. с. i2w2 в первом сердечнике имеет встречное направление по отношению к первичной н. с. i1w21 а во втором сердечнике направления первичной и вторичной н. с. совпадают. В течение второго полупериода, наоборот, в первом сердечнике направления н. с. совпадают, а во втором они будут иметь встречные направления.

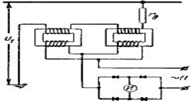
Схема измерительного трансформатора постоянного тока

При наличии постоянного измеряемого тока в первичной цепи трансформатора тока во вторичной цепи будет проходить переменный ток с прямоугольной формой кривой, а в диагонали мостовой выпрямительной схемы, в которую включен измерительный механизм, будет проходить постоянный ток. Изменение величины измеряемого тока вызовет изменение первичной н. с. F=i1wl.

Измеряя вторичный ток и умножая его на действительный коэффициент трансформации, получим действительное значение первичного тока.

Характеристики трансформатора тока: а - кривая намагничивания; б - кривая тока во вторичной цепи; в - кривая тока в измерителе.

Измерение больших переменных токов, как правило, производится амперметрами электромагнитной, ферро-динамической, электродинамической систем, включаемых через измерительные трансформаторы тока, которые изготавливаются на номинальные первичные токи до 25 кА.

Применяющееся в некоторых случаях включение амперметров непосредственно в рассечку проводов или шин (без трансформаторов тока) при напряжениях в цепи выше 500 В должно быть выполнено так, чтобы обеспечивались безопасность обслуживания и удобство наблюдения за показаниями прибора. Амперметры в таких случаях часто изолируются от земли путем установки их на изоляторах.

В цепях высокого напряжения, независимо от рода тока и частоты, надо стремиться включать амперметр в участок цепи с потенциалом, равным или близким к потенциалу земли, потому что в противном случае создается опасность для экспериментатора и обслуживающего персонала, могут возникать дополнительные погрешности от электрического поля, создаются неблагоприятные условия для работы изоляции прибора, которая в этом случае должна находиться в соответствии с рабочим напряжением измеряемой цепи.

В высоковольтных цепях постоянного тока напряжение можно измерять:

) вольтметрами магнитоэлектрической системы, которые изготавливаются на номинальные напряжения до 6 кВ,

) вольтметрами электростатической системы, которые изготавливаются на номинальные напряжения до 100 кВ,

) применяя измерительные трансформаторы напряжения постоянного тока.

На рисунке ниже дана схема измерительного трансформатора постоянного напряжения. Первичные обмотки трансформатора, соединенные последовательно с добавочным сопротивлением, подключены к измеряемому напряжению. Вторичные обмотки, соединенные параллельно, через выпрямитель присоединяются к источнику питания с переменным напряжением. В диагонали выпрямительной схемы включен измерительный механизм.

Схема измерительного трансформатора постоянного напряжения

В цепях высокого напряжения переменного тока измерение напряжения, как правило, производится вольтметрами с номинальным напряжением 100 В, включаемыми через измерительные трансформаторы напряжения. В этом случае, с одной стороны, отпадают трудности изготовления приборов непосредственно на высокое напряжение, с другой - устраняется опасность для обслуживающего персонала при работе с измерительными приборами, присоединенными непосредственно к проводам высокого напряжения.

4. Влияние полярности и заземление электродов

Заземление - преднамеренное электрическое соединение какой-либо точки сети, электроустановки или оборудования с заземляющим устройством.

Заземляющий электрод представляет собой критический элемент системы заземления. Используется большое количество различных электродов, некоторые из которых являются "естественными", а некоторые - "искусственными". К "естественным" электродам относятся подземные металлические водопроводные трубы, металлические каркасы зданий (при условии их надежного заземления), медные провода или арматурные стержни бетонного фундамента или подземные конструкции и системы. С целью обеспечения электрической связи с другими элементами заземления здания необходимо учитывать соединение естественных элементов заземления. "Искусственные" электроды устанавливаются специально для улучшения качества заземления системы. 5ля понижения сопротивления такие электроды заземления должны идеально проникать во влагосодержащий уровень, расположенный ниже уровня заземления. Они также должны быть снабжены металлическими проводниками (или сочетание металлических проводников различных типов), которые не будут подвержены чрезмерной коррозии за время своего ожидаемого срока службы. "Искусственные" электроды включают в себя заземляющие стержни или трубы, вбитые в землю, металлические пластины, закопанные в землю, или кольца из медного провода, проложенные вокруг строения. _ качестве электродов заземления. Не разрешается использовать подземные газовые трубы или алюминиевые электроды.

Очень часто подбор заземляющих стержней осуществляется исходя из их устойчивости к коррозии. Еще одним важным фактором является стоимость. Нередко под стоимостью продукта понимается его начальная цена приобретения, в то время как реальная величина стоимости стержневого заземляющего электрода определяется сроком его эксплуатации. Оцинкованные стальные стержни являются одними из самых дешевых электродов. Однако по той причине, что срок их службы относительно невелик, они не являются наиболее эффективными с точки зрения стоимости. Цельные стержни заземления из меди или нержавеющей стали обладают более длительным сроком службы, но их цена значительно выше цены оцинкованных стальных стержней заземления. Кроме того, цельные медные стержни заземления не годятся для забивания в грунт на большую глубину или даже на небольшую глубину в скалистый грунт, т.к. они могут погнуться.

Искусственный заземлитель, предназначенный для заземления нейтрали, как правило, должен быть расположен вблизи генератора или трансформатора. Для внутрицеховых подстанций допускается располагать заземлитель около стены здания. Если фундамент здания, в котором размещается подстанция, используется в качестве естественных заземлителей, нейтраль трансформатора следует заземлять путем присоединения не менее чем к двум металлическим колоннам или к закладным деталям, приваренным к арматуре не менее двух железобетонных фундаментов.

При расположении встроенных подстанций на разных этажах многоэтажного здания заземление нейтрали трансформаторов таких подстанций должно быть выполнено при помощи специально проложенного заземляющего проводника. В этом случае заземляющий проводник должен быть дополнительно присоединен к колонне здания, ближайшей к трансформатору, а его сопротивление учтено при определении сопротивления растеканию заземляющего устройства, к которому присоединена нейтраль трансформатора.

Во всех случаях должны быть приняты меры по обеспечению непрерывности цепи заземления и защите заземляющего проводника от механических повреждений.

В целях выравнивания электрического потенциала и обеспечения присоединения электрооборудования к заземлителю на территории, занятой оборудованием, следует прокладывать продольные и поперечные горизонтальные заземлители и объединять их между собой в заземляющую сетку.

Так как заземлитель обычно состоит из нескольких параллельно соединенных электродов, расположенных на сравнительно небольших расстояниях друг от друга, то возникает явление экранирования (рис. 8-10), приводящее к уменьшению объема грунта, в котором происходит растекание тока с каждого электрода и, как следствие этого, увеличение сопротивления заземлителя. Таким образом, если заземлитель из одного электрода имеет сопротивление Rэд, то заземлитель из nпараллельно включенных электродов будет иметь сопротивление не Rэд/n,а


где Ки,зм - коэффициент использования заземления.

Коэффициент использования уменьшается с увеличением числа электродов и уменьшением расстояния между ними. Вследствие этого увеличение числа вертикальных электродов при тех же размерах ряда или контура приводит к незначительному уменьшению сопротивления растеканию. По этой же причине дополнительное заполнение электродами внутренней части контура приводит к небольшому уменьшению его сопротивления.

. Заземление и конструктивное исполнение молниеотводов

Токоотвод присоединяют к контуру заземления сваркой или болтами. Если несколько молниеотводов, имеющих свои контуры заземления, связаны между собой (например, устанавливаемые на крыше), токоотводы присоединяют к контурам заземления через болтовые соединения, тобы иметь возможность проверить сопротивление растеканию каждого контура.

Если верхние слои грунта имеют значительно меньшее сопротивление растеканию, чем нижние, то выбирается поверхностная конструкция контура заземления, и наоборот.

Если заземление молниеотвода выполняется несколькими стержнями или полосами, то сопротивление его при стекании тока молнии можно рассчитать по формуле

При приеме в эксплуатацию после ремонта (или испытания) устройств молниезащиты представляется следующая документация: ведомость выборочной проверки на прочность соединений заземляющего контура с токоотводящими спусками и проверки на степень поражения коррозией молниеприемников, токоотводов и заземлений; ведомости выполненных ремонтных работ по восстановлению необходимых параметров молниезащиты; протоколы замеров сопротивления растеканию тока промышленной частоты всех заземлителей.

При капитальном ремонте сооружений молниезащиты производят следующий работы: проверку состояния элементов заземляющего устройства путем выборочного осмотра находящихся в земле и полностью всех остальных элементов в пределах их доступности к осмотру; проверку цепи между контуром заземления и заземляемыми элементами; проверку надежности соединений заземлителей с заземляющими устройствами; измерение переходного сопротивления заземляющего устройства.

При текущем ремонте проверяют состояние элементов заземляющего устройства, наличие цепи между контуром заземления и заземляемыми элементами, измеряют переходное сопротивление заземляющего устройства.

Проверка работоспособности схем управления, сигнализации, приборов электроавтоматики и системы возбуждения, крепления деталей и узлов агрегата, исправности заземления.

Текущий ремонт - выполняется объем работ осмотра и, кроме того: проверка крепления электродвигателя, проверка крепления обмотки статора, исправности заземления, исправности работы охлаждения и вентиляции, чистка и частичная разборка электродвигателя со снятием крышек, продувка его сжатым воздухом, проверка крепления и ремонт вентилятора, подтяжка контактных соединений ошиновки в коробе и кабелей 6 кВ, чистка изоляторов в коробе и проходных изоляторов в нише кабельных вводов.

При текущем ремонте - проверка крепления электродвигателей, подшипников, исправности заземления, степени нагрева и состояние корпуса и подшипников, правильности выбора плавких вставок предохранителей и установок автоматов; исправности работы охлаждения.

При техническом осмотре трансформаторов должны быть проверены: показания термометров и мановакууметров; состояние кожухов трансформаторов и отсутствие течи масла, соответствие уровня масла в расширителе по температурной отметке; состояние маслоохлаждающих и масло-сборных устройств, состояние изоляторов; состояние ошиновки и кабелей; состояние сети заземления; состояние термосифонных фильтров и влагопоглощающих патронов; состояние трансформаторного помещения.

При текущем ремонте выполняется объем работ осмотра и, кроме того: очистка изоляторов и бака, проверка измерительных и защитных устройств; проверка состояния всех уплотнений и спускного крана; проверка исправности мембраны выхлопной трубы, спуск грязи из расширителя и доливка масла; проверка исправности заземления, покраска трансформатора и ошиновки (при необходимости), ревизия вентиляторов обдува, электрические испытания); наличие течи масла и состояние кожухов трансформаторов; состояние ошиновки и кабелей, отсутствие нагрева контактов; состояние цепи заземления.

Текущий ремонт - проверка крепления трансформаторов, отсутствие следов перегрева токоведущих частей контактов и трансформаторного железа; отсутствие течи масла, очистка всех частей трансформатора; проверка исправности заземления; долив или смена масла; электрические испытания.

Технический осмотр - наружный осмотр всех узлов и сборок; проверка исправности ограждений и замков, проверка исправности заземления и освещения.

Текущий ремонт - очистка от пыли, грязи и копоти; удаление брызг металла с изоляционных деталей; проверка затяжки болтов, винтов и гаек; удаление старой смазки и нанесение новой; проверка состояния зазоров, зачистка подгоревших контактов, чистка дугогасительных камер; проверка механизма свободного расцепления; проверка работы блок-контактов и конечных выключателей дополнительных и максимальных расцепителей; проверка исправности заземления, проверка состояния проводок. Текущий ремонт - наружный осмотр сетей заземления; измерение сопротивления растекания контура заземления, измерение сопротивления металлической связи заземления между заземленным оборудованием и магистралью заземления.

Капитальный ремонт - выполняется объем работ текущего ремонта и, кроме того: проверка отдельных стыков (с выборочным вскрытием грунта); замена отдельных участков сети заземления; окраска сетей и при необходимости закладка нового заземления взамен старого; измерение полного сопротивления петли «фаза - нуль» в установках напряжением до 1000 В с глухим заземлением нейтрали.

Измерение сопротивления заземления опор с выборочным вскрытием отдельных элементов заземления

Текущий ремонт - выполняется объем работ осмотра и, кроме того: проверка исправности корпуса силовой сборки и его герметичности; исправности запоров; подтяжка креплений элементов в сборке (панели); осмотр всей схемы; проверка исправности заземления; проверка отсутствия видимых повреждений ошиновки, рубильников, автоматов, предохранителей, магнитных пускателей, кабелей, в том числе контрольных; протирка и зачистка рабочих контактов; проверка соответствия установок автоматов и предохранителей нагрузке.

При текущем ремонте должны выполняться: очистка от ныли, грязи и копоти; удаление брызг металла с изоляционных деталей; проверка состояния зазоров, зачистка подгоревших контактов; чистка дугогасительных камер; проверка работы механизма свободного расцепления; проверка работы блок-контактов и конечных выключателей дополнительных и максимальных расцепителей; проверка исправности заземления.

Конструктивное выполнение молниеотводов и заземлений.

При этом производятся: внешний осмотр генератора, коммутационной и вспомогательной электроаппаратуры и кабелей распределительного устройства электростанции; измерения сопротивления изоляции обмоток генератора, возбудителя и кабелей; проверка положения и осмотр вала генератора и возбудителя; проверка зазоров в подшипниках и затяжки гаек крепления подшипников; проверка зазоров междужелезного пространства генератора и возбудителя; измерение сопротивления изоляции коммутационной аппаратуры и измерительных трансформаторов и опробование трехкратным включением и отключением на рабочее напряжение; проверка взаимного положения ротора и статора в аксиальном положении, а также центровки генератора с двигателем; проверка схемы первичной и вторичной коммутации; проверка защиты и автомата гашения поля; проверка состояния измерительных приборов, их опробование на щитах; проверка аппаратуры синхронизации и регулирования напряжения; испытание электрической прочности изоляции обмоток генератора, кабелей и распределительного устройства 6 и 10 кВ; измерение сопротивления рабочего и защитного заземления; проверка фазировки генераторов и присоединенных к ним трансформаторов и сетей; измерение омического сопротивления обмоток статора, ротора и возбудителя; опробование генератора и возбудителя при совместной работе на холостом ходу и при нагрузке; опробование генератора при работе в течение 72 ч с номинальной нагрузкой, с контролем нагрева его обмоток и железа; снятие характеристик холостого хода и короткого замыкания генератора.

. Общая классификация заземлений в электрических установках

Международная электротехническая комиссия и с ее подачи 7 редакция ПУЭ (правила устройства электроустановок) различают 3 системы заземления и несколько их подсистем.

. Система TN (подсистемы TN-C, TN-S, TN-C-S);

. Система TT;

. Система IT.

Различаются они по источнику электроэнергии и способу заземления электрооборудования. Тип системы заземления обозначается буквами:

. По первой букве определяется, как заземлен источник питания: если это Т - то имеется непосредственное соединение нулевого рабочего проводника (нейтрали) источника электроэнергии с землей; если это I - то нейтраль источника энергии соединяется с землей исключительно через сопротивление.

. По второй букве определяется заземление в проводящих открытых частях электроустановки здания: буква Т обозначает местное (раздельное) заземление электрооборудования и источника электропитания; буква N говорит о том, что источник электропитания заземлен, но заземление потребителей происходит лишь через PEN-проводник.

. Следующие буквы за N определяют функциональный способ, по которому устроен нулевой рабочий и нулевой защитный проводник :если стоит S - значит функции рабочего (N) как и защитного (РЕ) проводников обеспечены раздельными проводниками; если стоит С - значит функции нулевого рабочего и защитного проводников обеспечены общим проводником (PEN).

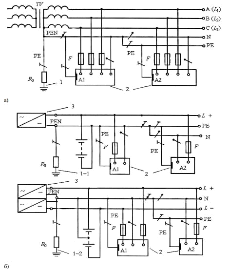
Система TN

Система TN, это система с глухозаземленной нейтралью, при которой открытые проводящие части электроустановки присоединены к глухозаземленной нейтрали источника с помощью нулевых защитных проводников.

Термин глухозаземленная нейтраль значит, что на трансформаторной подстанции нейтраль (ноль) подключен непосредственно к заземляющему контуру (заземлен).

Подсистема TN-C, это TN, в которой нулевой защитный и нулевой рабочий проводники совмещены на всем ее протяжении, т.е. защитное зануление <#"806074.files/image007.gif">

На предыдущем рисунке показаны электрические сети системы заземления TN-C переменного (а) и постоянного (б) тока. Нулевой защитный и нулевой рабочий проводники совмещены в одном проводнике: 1 - заземлитель нейтрали (средней точки) источника питания; 2 - открытые проводящие части; 3 - источник питания постоянного тока.

На рисунке выше показаны электрические сети системы заземления TN-S переменного (а) и постоянного (б) тока. Нулевой защитный и нулевой рабочий проводники разделены: 1-заземлитель нейтрали источника переменного тока; 1-1 - заземлитель вывода источника постоянного тока; 1-2 - заземлитель средней точки источника постоянного тока; 2 - открытые проводящие части; 3 - источник питания


На рисунке выше показаны электрические сети системы заземления TN-C-S переменного (а) и постоянного (б) тока. Нулевой защитный и нулевой рабочий проводники совмещены в одном проводнике в части системы: 1 - заземлителъ нейтрали источника переменного тока; 1-1 - заземлитель вывода источника постоянного тока; 1-2 - заземлитель средней точки источника постоянного тока; 2 - открытые проводящие части; 3 - источник питания

Система IT

Эта система отличается тем, что ноль источника в ней изолирован от земли либо заземлен через приборы, которые обладают большим сопротивлением, а проводящие открытые части электроустановок заземлены с использованием заземляющих устройств. IT применяется крайне редко. В основном - в электроустановках зданий специального назначения. Например, для аварийного освещения и электроснабжения в больницах. В общем там, где предъявляются повышенные требования безопасности и надежности.


На рисунке показаны электрические сети системы заземления IT переменного (а) и постоянного (б) тока. Открытые проводящие части электроустановки заземлены. Нейтраль источника питания изолирована от земли или заземлена через большое сопротивление: 1 - сопротивление заземления нейтрали источника питания (если имеется); 2 - заземлитель, 3 - открытые проводящие части; 4 - заземляющее устройство электроустановки; 5 - источник питании.

Система TT

Это система, в которой ноль источника заземлен, а открытые проводящие части электроустановки заземлены при помощи заземляющего устройства, электрически независимого от заземленного нуля источника. Иными словами, используется свой контур заземления на объекте никак не связанный с нулем.

Сегодня эта система является основной для мобильных сооружений, например бытовки, дома-вагоны и т.д. Отметим, что согласовать применение такой системы сложнее, чем TN. Становится обязательным применение УЗО, необходимо качественное заземление (4 Ом для 380 В), есть особенности при подборе защитных автоматов.

На предыдущем рисунке показаны электрические сети системы заземления ТТ переменного (а) и постоянного (б) тока. Открытые проводящие части электроустановки заземлены при помощи заземления, электрически независимого от заземлителя нейтрали: 1 - заземлитель нейтрали источника переменного тока; 1-1 - заземлитель вывода источника постоянного тока; 1-2 - заземлитель средней точки источника постоянного тока; 2 - открытые проводящие части; 3 - заземлитель ОПЧ ЭУ; 4 - источник питания.

Исходя из вышесказанного, лучше всего применять систему заземления TN.Система TN-C применялась ранее и ее нельзя рекомендовать для нового жилья.Всем хороша система TN-S, но дорога и пока применяется редко. Оптимальный вариант пока - это система TN-C-S.

Остановимся теперь на типичных трудностях и ошибках, встречающихся при модернизации систем заземления.

. Если рассматривать частный дом, в котором проводка уже сделана трехжильным проводом (фаза, ноль, заземление), то замена TN-C на TN-C-S довольно проста. Нужно только сделать качественное заземление, подключить его к вводному электрощитку и к точке соединения нуля и земли (N и РЕ) подключить РЕ провода розеток и светильников (обычно это желто-зеленый провод).

. В квартире или многоквартирном доме, не оборудованном контуром заземления так делать нельзя. Проводку, конечно, лучше сделать тоже трехпроводным кабелем, но провод заземления не нужно подключать, ни в розетках (светильниках) не в электрощитке

Причина заключается в том, что если вы подключите этот провод к нулю проводки (больше подключить его некуда, кроме разве батареи, что запрещено), то за счет падения напряжения в нулевом проводе от токов включенных нагрузок, корпуса вашей аппаратуры будут под напряжением относительно земли (батареи, трубы и т.д.).

. В процессе эксплуатации встречаются и другие казусы, например, после устранения аварии электрики перепутывают нулевой и фазный провод. Соседям, у которых нет нулевого провода на корпусе аппаратуры, ничего не грозит, а у вас корпус под потенциалом фазы!

. Нередки случаи отгорания нуля входного кабеля, происходящие при перекосе фаз, в этом случае на корпусе тоже будет опасный потенциал.

Исходя из вышесказанного, вытекает необходимость использования УЗО или дифавтоматов. Это устройства, выключающие сеть 220/380 В при протекании по телу человека незначительных (но чувствительных) токов 10-30 мА. Недостаток этих устройств в том, что они будут срабатывать при любых токах утечки, например, когда вас пролили соседи. Бывает весьма сложно найти, где проходят эти утечки.

На сегодняшний день наиболее рациональным является применение системы TN-C-S и модульно-штыревой технологии ее монтажа. Все факты говорят о том, что технологии устройства заземления последнего поколения по многим параметрам превосходят традиционные. Их применением сокращает срок проведения работ, уменьшает финансовые затраты, увеличивают срок службы заземляющих элементов.

Заключение

Общие задачи электроэнергетики тесно связаны с техникой высоких напряжений. В настоящее время перед энергетикой возникают новые сложности, требующие модернизации, ускорения темпов роста, внимания специалистов.

Создание энергетических систем высокого и сверхвысокого напряжения требует решения сложных научно-технических проблем, среди которых можно выделить комплекс вопросов, касающихся электрической изоляции и заземления.

Установление и поддержание уровня изоляции электрооборудования основывается на многолетнем опыте его изготовления, эксплуатации и испытания на заводах и в энергосистемах. Уровень перенапряжения регистрируется в течение всего срока службы изоляции современными средствами защиты (разрядниками). В нормальных рабочих режимах на изоляцию воздействует фазное напряжение. В переходных режимах, возникающих при включении и отключении элементов сети и коротких замыканиях в установившихся режимах, возникают так называемые внутренние перенапряжения. При грозовых разрядах в сетях возникают атмосферные перенапряжения. Так как возможность нарушения изоляции зависит от состояния самой изоляции, то нельзя указать определенной нижней границы, при которой повышение напряжения становится перенапряжением и, следовательно, термин «перенапряжение» имеет качественный характер. Испытание изоляции проводят повышенным напряжением. Изоляция электрооборудования в условиях эксплуатации подвергается воздействию рабочего напряжения, перенапряжения внешнего и внутреннего характера и физико-механических факторов - теплового поля, вибраций, электродинамических усилий и т.д. Пооперационные испытания повышенным напряжением позволяют оценить способность изоляции противостоять таким воздействиям.

Так же, важно грамотно применять заземление при проектировании и исполнении его конструкции, ведь оно играет важную роль в работе молниеотводов - надежно заземленные металлические провода или стержни, расположенные вблизи защищаемого объекта. На линии очень высокого напряжения в качестве молниеотводов применяются заземленные провода (тросы), подвешиваемые на опорах выше фазовых проводов. Несмотря на то, что защита тросами резко уменьшает вероятность появления на изоляции перенапряжений, но полностью ее не устраняет. Поэтому, помимо молниеотводов в целях грозозащиты применяются специальные защитные аппараты - разрядники и нелинейные ограничители перенапряжений.

Энергия, ее выработка и рациональное использование - важный показатель в определении уровня жизни в стране. На сегодняшний день Россия в огромном множестве показателей, связанных с энергией, занимает далеко не первое место. Решение таких проблем требует глобального подхода, включающего в себя не только работу с энергосистемами страны, но и с качественной подготовкой специалистов для этой области. Это крайне важно, так как по мнению ученых - футурологов именно энергия станет валютой будущего.

Список используемой литературы

1. http://www.google.ru/

. http://electricalschool.info/

. Горелов С.В. Перенапряжения и молниезащита: Учебное пособие / В.Н. Андреев, М.А. Бучельников, С.В. Горелов, В.И. Мухин; Под ред. В.П. Горелова.- 3-е изд., дополн.- Новосибирск: Новосиб. гос. акад. водн. трансп, 2003. - 251 с.

. Горелов В.П. Композиционные резисторы для энергетического строительства / В.П. Горелов, Г.А. Пугачев.- Новосибирск: Наука. Сиб. отд-ние АН СССР, 1989.- 216 с.

. Горелов, С.В. Технология конструкционных электротехнических материалов [Текст]: учеб. пособие: в 2 кн. Кн.1 /С.В. Горелов [и др.]; под общ. ред. В.П. Горелова, М.Н. Иванова. - 2-е изд. дополн. - Новосибирск: Новосиб. гос. акад. вод. трансп., 2005. - 354 с.

. Горелов, П.В. Технология конструкционных электротехнических материалов [Текст]: учеб. пособие: в 2 кн. Кн.2 /П.В. Горелов [и др.]; под ред. В.П. Горелова, Е.В. Ивановой. - 2-е изд., дополн. - Новосибирск: Новосиб. гос. акад. вод. трансп., 2005. - 239 с. 7. Грудинский М.Г. Электротехнический справочник; под ред. П.Г. Грудинского, М.Г. Чиликина (главн. ред.) и др. - изд. 4-е, перабот. - Т2, М.: Энергия, 1972.-816 с.

. Лихачев Ф.А. Защита от внутренних перенапряжений установок 3-220 кВ: 2-е изд., перераб. и доп. - М.: Энергия, 1968.-104 с.

. Пасынков, В.В. Материалы электронной техники: Учебник / В.В. Пасынков, В.С. Сорокин. - 5-е изд., стер. - СПб: Лань, 2003. - 368 с.

. Пейсахов, А.М. Материаловедение и технология конструкционных материалов: Учебник / А.М. Пейсахов, А.М.Кучер. - СПб: Изд-во Михайлова, 2003. - 407 с.

. Силенко, В.Н. Электротехнические материалы и их применение на водном транспорте: Учебник. - СПб.: Политехника, 1995. - 335 с.

. http://electrik.info/

. http://www.st-en.ru/

. http://ru.wikipedia.org/

Похожие работы на - Перенапряжения и молниезащита

 

Не нашли материал для своей работы?
Поможем написать уникальную работу
Без плагиата!
Без нейросетей!