Пьезоэлектрические преобразователи

  • Вид работы:
    Курсовая работа (т)
  • Предмет:
    Информатика, ВТ, телекоммуникации
  • Язык:
    Русский
    ,
    Формат файла:
    MS Word
    1,69 Мб
  • Опубликовано:
    2012-11-19
Вы можете узнать стоимость помощи в написании студенческой работы.
Помощь в написании работы, которую точно примут!

Пьезоэлектрические преобразователи

Содержание:

Введение

1. Группы пьезоэлектрических преобразователей

2. Явления, происходящие в пьезоэлектрике

3. Пьезоэлектрические материалы

. Пьезоэлектрические вилочные преобразователи уровня - вибрационные датчики для любых видов жидкости

. Пьезоэлектрические датчики давления 014МТ, 018, 019

. Пьезоэлектрический преобразователь: ламбда-зонд

. Датчик пьезоэлектрический искробезопасный ДПЭ22Ex для измерения виброскорости

. Глубиномеры микрометрические

Список литературы

Введение

Пьезоэлектрические преобразователи - это устройства, использующие пьезоэлектрический эффект <#"580906.files/image001.gif">

Рисунок 1. - Конструкции составных пакетных пьезокерамических преобразователей: 1 - излучающая накладка; 2 - пьезокерамические пластины; 3 - отражающая накладка; 4 -электроды; 5 -крепежный болт

Используются для формирования УЗК в жидких, твердых и газообразных веществах. Рабочие частоты от 20 кГц до 1000 кГц. Этот вид преобразователей получил наибольшее распространение, практически вытеснив из практики все остальные преобразователи. Поэтому основное внимание при рассмотрении вопроса об источниках ультразвуковых колебаний мы посвятим преобразователям, основанным на использовании пьезоэлектрического эффекта.

1. Группы пьезоэлектрических преобразователей

Исходя из физического принципа действия, все пьезоэлектрические преобразователи делятся на три группы:

. Преобразователи, использующие прямой пьезоэффект и применяемые в приборах для измерения параметров механических процессов, в том числе: силы, акустического и быстропеременного давления, линейных и угловых ускорений, а также вибрации, ударов. Преобразователи, основанные на использовании прямого пьезоэффекта, называют преобразователями-генераторами; они имеют механический вход и электрический выход. Прямой эффект используется, например, в микрофонах, звукоснимателях, датчиках механических сил, перемещений и ускорений, бытовых зажигалках для газа и др.

. Преобразователи, использующие обратный пьезоэффект и применяемые в качестве излучателей ультразвука в гидроакустике и дефектоскопии, преобразователях напряжения в перемещение (пьезодвигатели и пьезореле) для юстировки зеркал оптических приборов и исполнительных элементов систем автоматики. Преобразователи, основанные на использовании обратного пьезоэффекта, называют преобразователями-двигателями; они имеют электрический вход и механические выходы. Обратный эффект послужил основой для создания телефонов, громкоговорителей, ультразвуковых излучателей, реле, двигателей и т. п.

. Преобразователи параметрического типа, использующие одновременно прямой и обратный пьезоэффекты - пьезоэлектрические резонаторы, наиболее эффективно излучающие и принимающие энергию на фиксированной резонансной частоте. Пьезорезонаторы применяются в полосовых фильтрах, линиях задержки, преобразователях перемещения или присоединенной массы в частоту для датчиков уровня, плотности и др.

Достоинствами пьезоэлектрических преобразователей являются высокая линейность характеристик, широкие динамические и частотные диапазоны, простота конструкции и высокая надежность при эксплуатации.

Работа пьезоэлектрических преобразователей основана на использовании пьезоэлектрического эффекта, представляющего собой способность некоторых материалов образовывать на гранях поверхности при механическом нагружении электрические заряды (так называемый прямой пьезоэффект), а при приложении электрического поля механически деформироваться (обратный пьезоэффект).

. Явления, происходящие в пьезоэлектрике

Рассмотрим в общих чертах явления, происходящие в пьезоэлектрике, для двух случаев пьезоэлектрического преобразования энергии.

Пьезоэлемент (ПЭ) - тело из пьезоэлектрика определенных размеров, геометрической формы и ориентации относительно основных кристаллографических осей (или направления поляризации в случае пьезокерамики, имеющее проводящие обкладки (электроды).

Рис 2. Пьезоэлемент: 1 - пластина из пьезоэлектрика; 2 - электроды из проводящего материала, наложенные на грани пластины

Таким образом, пьезоэлемент представляет собой электрический конденсатор с твёрдым (кристаллическим или керамическим) диэлектриком. Особенностью такого конденсатора является наличие пьезоэлектрических свойств у диэлектрика, заполняющего пространство между электродами. Ниже будет показано, какое значение имеет наличие пьезоэффекта и каким образом он оказывает влияние на электрические и механические характеристики пьезоэлемента. Если пьезоэлемент используется как электромеханический преобразователь, то его ориентацию выбирают исходя из требований достижения наибольшего эффекта. Внешние силы (как механические, так и электрические), воздействующие на пьезоэлемент, могут быть как распределенными, так и сосредоточенными. Распределенные силы позволяют достичь более эффективного преобразования. Поэтому для более эффективной поляризации объема пьэзоэлектрика используют электроды,. покрывающие всю площадь граней пьезоэлемента, а для создания равномерно распределенного механического напряжения - накладки из упругого материала, хорошо прилегающие к граням пьезоэлемента и преобразующие внешние сосредоточенные силы в распределенные.

Внешняя сила вызывает деформацию пьезоэлемента, его поляризацию и возникновение на электродах противоположных электрических зарядов. Величина электрического заряда или возникающего при этом напряжения может быть измерена соответствующим измерительным прибором, присоединенным к электродам пьезоэлемента. Внешняя сила сообщает пьезоэлементу энергию в виде упругой деформации, которая может быть рассчитана, если известны величины воздействующей силы и жёсткость пьезоэлемента. Одновременно с деформацией пьезоэлемента на его электродах возникает электрическое напряжение. Следовательно, часть энергии, сообщаемой пьезоэлементу внешней силой, оказывается электрической и её величина может быть рассчитана, если известны электрическое напряжение на электродах и ёмкость пьезоэлемента.

Внешняя механическая сила, воздействующая на пьезоэлемент, сообщает последнему энергию W0 в виде энергии упругой деформации и энергии заряда ёмкости пьезоэлемента. Если обозначить энергию упругой деформации пьезоэлемента через Wм, а электрическую энергию заряда его ёмкости через Wэ, то полная энергия W0, сообщенная пьезоэлементу, будет равна их сумме. Как во всяком обратимом преобразователе, при этом возникает обратное действие (пьезоэлектрическая реакция), заключающееся в том, что возникшее вследствие прямого пьезоэффекта электрическое напряжение создаёт (уже в результате обратного пьезоэффекта) механические напряжения и деформации, противодействующие внешним силам. Это проявляется в увеличении жесткости пьезоэлемента. Если электрическое напряжение, возникающее вследствие пьезоэффекта, исключить, например, закоротив электроды пьезоэлемента, то обратного пьезоэлектрического действия наблюдаться не будет, следовательно, должно произойти уменьшение жесткости пьезоэлемента.

Подобные же рассуждения можно сделать и для случая обратного пьезоэффекта, т. е. воздействия на пьезоэлемент внешней электрической силы. При этом внешний источник электрической энергии сообщает пьезоэлементу энергию в виде энергии заряда ёмкости пьезоэлемента и механической энергии его упругой деформации. Здесь также имеет место обратное действие. Если воспрепятствовать деформации жестким зажатием пьезоэлемента, то можно обнаружить изменение его ёмкости. Этот факт легко наблюдается у сильных пьезоэлектриков, для слабых же, таких как кварц, изменение ёмкости невелико (около 1%). К этому выводу легко прийти, приняв во внимание термодинамические соображения. Из теории пьезоэлектричества известно, что упругие коэффициенты пьезоэлектриков зависят от электрических условий, как и их коэффициенты диэлектрических проницаемостей зависят от механических условий. Это естественно, так как пьезоэлектричество по определению предполагает наличие связи между упругими и диэлектрическими свойствами. Поэтому описание пьезоэлектрических свойств материала невозможно без привлечения упругих и диэлектрических коэффициентов с указанием граничных механических и электрических условий.

3. Пьезоэлектрические материалы

Важнейшими природными материалами, обладающими пьезоэлектрическими свойствами, являются кварц и турмалин. Из названных материалов особое предпочтение отдается кварцу, имеющему удовлетворительные пьезоэлектрические свойства, очень высокое сопротивление, относительно малую температурную зависимость пьезоизоляционных постоянных, высокую механическую прочность и большой модуль упругости.

Второй природный пьезоматериал турмалин в отличие от кварца имеет не две пьезочувствительные плоскости, а только одну оптическую ось Z. Поэтому турмалиновые пластины вырезают так, чтобы их рабочие поверхности были перпендикулярны к оптической оси. Благодаря этой особенности турмалин может применяться для измерения гидростатического давления, что делает его труднозаменимым для измерении давления в жидкости. К недостаткам турмалина следует отнести значительно большую по сравнению с кварцем температурную зависимость пьезомодуля.

Кроме того, он очень редко встречается в природе и имеет высокую стоимость, что существенно ограничивает его практическое применение. Наряду с указанными природными кристаллами в технике находят применение и искусственные кристаллы: сегнетовая соль (KNT), дигидрофосфат аммония (АДР), дигидрофосфат калия (КДР) и др. В отличие от кварца и турмалина пластины из искусственных кристаллов вырезаются под некоторым углом к полярным осям. Сегнетовая соль имеет очень высокий пьезомодуль (примерно в 150 раз больше пьезомодуля кварца).

К сожалению, она имеет низкую механическую прочность, большую зависимость от температуры и влажности. Другие сегнетоэлектрики (КДР и АДР) имеют более высокую механическую прочность, но вследствие значительной температурной зависимости для измерительных целей применяются редко. В последние годы широкое распространение получили сегнетоэлектрики в виде пьезокерамик титаната бария и его композиций, ниобатов, цирконата титаната свинца и др.

Все они по сравнению с кварцем имеют большой пьезомодуль, механически прочны, а кроме того, могут быть изготовлены любой формы и размеров. Та или другая форма (обычно диск, пластина, стержень или цилиндр) обеспечивается соответствующей прессформой. Полученная заготовка металлизируется и поляризуется при соответствующей температуре в электрическом поле. Исторически первым из пьезоэлектриков был открыт и внедрен в практику измерений титанат бария.

К сожалению, наряду с положительными качествами ему присущи и очень серьезные недостатки: изменение пьезомодуля при колебаниях температуры, в процессе хранения, в зависимости от величины приложенной нагрузки, величины шунтирующей емкости и т. д. Так, влияние механического напряжения сказывается в том, что при нагрузке около 8-Ю7 н м2 (8 кгс/мм2) пьезомодуль d33 начинает существенно снижаться и линейность характеристики Q=f(P) нарушается. Емкость, шунтирующая пьезоэлемент (так называемая масштабная емкость), при величине более 0,1 мкф также вызывает заметное уменьшение пьезомодуля.

По этим и другим причинам пьезокерамика из чистого титаната бария (ТБ-1) в ответственных измерениях не применяется. Присадка к титанату бария некоторого количества титаната кальция (двойная композиция типа ТБК-3) или титаната кальция с титанатом свинца (тройная композиция типа БКС) уменьшает температурную и временную зависимости пьезомодуля и диэлектрической проницаемости, однако абсолютные величины их при этом существенно уменьшаются.

Все перечисленные пьезокерамики имеют в настоящее время широкое распространение и используются для самых разнообразных целей. Пьезоэлемент, работающий на изгиб, состоит из двух одинаковых склеенных между собой балок или пластинок, между которыми находится металлическая прокладка. При изгибе такого элемента одна балка удлиняется, а другая укорачивается. При соответствующей поляризации элементов можно получить либо сумму напряжений, либо сумму зарядов.

Пьезокерамические материалы делятся на следующие классы:

. Материалы для высокочувствительных элементов, работающих в режиме приема и излучения (типа ЦТС-13, ЦТБС-1).

. Материалы, используемые для технологических аппаратов, в которых преобразователи работают в режиме сильных электрических и механических напряжений (типа ЦТС-23, ЦТС-24).

. Материалы для УЗП с повышенной стабильностью частотных характеристик в заданном интервале температур (типа ЦТС-22).

. Материалы для работы при температурах, превышающих 2500С и обладающих стабильностью пьезоэлектрических характеристик (типа ЦТС-21). Пьезоматериалы характеризуются различной рабочей температурой, то есть могут работать только до определенной температуры, называемой температурой Кюри. При достижении этой температуры пьезоэффект пропадает и не восстанавливается.

Преимуществом преобразователей, работающих на изгиб, является значительно большая чувствительность по сравнению с работающими на сжатие. В то же время изгибные преобразователи значительно уступают последним по прочности и по диапазону частот. Достоинство такого преобразователя заключается в том, что при приложении усилия в плоскости, перпендикулярной оси керамики, заряд на электродах не появляется, вследствие чего существенно уменьшается погрешность измерений из-за влияния боковых составляющих.

Пьезоэлектрические преобразователи пригодны для измерения силы, давления и других измерений, в которых прямо или косвенно проявляются силовые воздействия. При механическом воздействии на пьезокерамику на ее электродах сообразно с формулой (30) должно возникать то или иное напряжение. Однако в реальных случаях включение преобразователя в схему сопровождается подключением параллельно его собственной емкости С и других емкостей, образованных емкостью соединительного кабеля С" и входной емкостью усилителя Су.

. Пьезоэлектрические вилочные преобразователи уровня - вибрационные датчики для любых видов жидкости

Вилочные датчики из нержавеющей стали - это пьезоэлектрические преобразователи, которые имеют собственную резонансную частоту. При попадании жидкости на полость вилки преобразователя частота изменяется, что фиксируется встроенной интегрированной схемой обработки сигнала. В результате, преобразователь изменяет свое состояние на выходе.

LFV200 и LFV300 - это универсальные преобразователи уровня, которые позволяют определять превышение заданного уровня жидкости с точностью до миллиметра. Вне зависимости от максимальной емкости резервуара преобразователи можно использовать как сигнализаторы переполнения емкости, сигнализаторы падения уровня, для защиты насоса от холостой работы оборудования (без воды) и т.д. Преобразователи не требуют обслуживания и не изнашиваются в процессе эксплуатации.

LFV330 - это модель вибрационного преобразователя для вертикального монтажа с рабочим расстоянием до 6 метров. Полированная поверхность преобразователя (Ra <0.8μm) и использование специализированных разъемов позволяет использовать датчик уровня в соответствии с самыми строгими гигиеническими требованиями.

Преимущества преобразователей

Преимущества эксплуатации

Область применений

- Работа с любыми типами жидкости, включая пенящиеся с присутствием пара - Ввод в эксплуатацию без необходимости заполнения емкости, - Работа в температурах до 250 градусов - Нечувствительны к осадку жидкостей и другим отложениям, - Высокая повторяемость параметров, - Стандарты EHEDG, GL и FDA, - Полированная поверхность - Не требует обслуживания - Не требует калибровки - Низкая стоимость установки - Гибкий датчик уровня - Быстрый ввод в эксплуатацию

- Контроль уровня и переполнения контейнеров и резервных хранилищ - Пищевая промышленность, изготовление напитков - Работа во взрывоопасных средах - Контроль уровня в грузовых морских суднах - Соответствие гигиеническим нормам

Технические характеристики СерияLFV200LFV310LFV330 Давление жидкости-1...64 бар Температура жидкости-40...150°С-50...250°С Вязкость жидкости0.1 … 10000 мПас Точность измерений+/-2 мм Материал датчикасталь 1.4404 (316 L) Материал корпусасталь 1.4404 (316 L), PEIпластик, алюминий, нерж.сталь Тип выходного сигнала: Транзисторный выходной сигнал+++ Бесконтактный электронный ключ+++ Реле ++ Namur ++ СертификацияWHG, EHEDG, FDAWHG, Atex, EHEDG, FDA, GL Плотность жидкости0,7 кг/л...2.5 кг/л0,5 кг/л...2.5 кг/л Класс защитыIP67/IP65IP67/IP68 Электрическое подключениеM12x1, DIN43650 вилкаM20x1,5, ½“ NPT, M12x1

. Пьезоэлектрические преобразователи давления 014МТ, 018, 019

Герметичный корпус из коррозионностойкого материала, малые габариты, высокая чувствительность и надёжность, широкий диапазон рабочих температур и давлений.

Назначение: Преобразователи давления пьезоэлектрические типа 014МТ и 018, 019 предназначены для преобразования быстропеременного и импульсного давления в электрический сигнал и используются в первичных преобразователях скорости потока вихревых счетчиков воды, тепла, газа, пара и других однородных сред.

Принцип действия: Преобразователи попарно монтируются в элементы трубопровода с условным проходом от 25 до 200 мм за телом обтекания и регистрируют вихри, частота и количество которых пропорционально скорости потока и объемному расходу.

. Пьезоэлектрический преобразователь: ламда-зонд

Жесткие экологические нормы давно узаконили применение на автомобилях каталитических нейтрализаторов (в обиходе - катализаторы) - устройств, способствующих снижению содержания вредных веществ в выхлопных газах. Катализатор вещь хорошая, но эффективно работает лишь при определенных условиях. Без постоянного контроля состава топливно-воздушной смеси обеспечить катализаторам «долголетие» невозможно - вот тут и приходит на помощь датчик кислорода, он же О2-датчик, он же лямбда-зонд (ЛЗ).

Ламбда-зонд предназначен для определения концентрации кислорода в отработавших газах, состав которых зависит от соотношения топлива и воздуха в смеси, подаваемой в цилиндры двигателя. Информация, которую выдает датчик в виде напряжения (или изменения сопротивления), используется электронным блоком управления впрыском (или карбюратором) для корректировки количества подаваемого топлива. Для полного сгорания 1 кг топлива необходимо 14,7 кг воздуха. Такой состав топливо-воздушной смеси называют стехиометрическим, он обеспечивает наименьшее содержание токсичных веществ в отработавших газах и, соответственно, эффективное их "дожигание" в каталитическом нейтрализаторе. При стехиометрической смеси лямбда = 1, если лямбда < 1 (недостаток воздуха), смесь называют богатой, при лямбда >1 (избыток воздуха) смесь называют бедной. Наибольшая экономичность при полностью открытой дроссельной заслонке бензинового двигателя достигается при лямбда=1,1-1,3. Максимальная мощность обеспечивается, когда лямбда =0,85-0,9.

пьезоэлектрический датчик уровень глубиномер

Рис. 3. Устройство датчика кислорода:

- металлический корпус с резьбой; 2 - уплотнительное кольцо; 3 - токосъемник электрического сигнала; 4 - керамический изолятор; 5 - проводка; 6 - манжета проводов уплотнительная; 7 - токопроводящий контакт цепи подогрева; 8 - наружный защитный экран с отверстием для атмосферного воздуха; 9 - подогрев; 10 - наконечник из керамики; 11 - защитный экран с отверстием для отработавших газов

Рис. 4. Зависимость мощности двигателя (P) и расхода топлива (Q) от коэффициента избытка воздуха (l)


Рис. 5. Схема l-коррекции с одним и двумя датчиками кислорода двигателя: 1 - впускной коллектор; 2 - двигатель; 3 - блок управления двигателем; 4 - топливная форсунка; 5 - основной лямбда-зонд; 6 - дополнительный лямбда-зонд; 7 - каталитический нейтрализатор.

Принцип работы. Лямбда-зонд действует по принципу гальванического элемента с твердым электролитом в виде керамики из диоксида циркония (ZrO2). Керамика легирована оксидом иттрия, а поверх нее напылены токопроводящие пористые электроды из платины. Один из электродов «дышит» выхлопными газами, а второй - воздухом из атмосферы (рис.2). Эффективное измерение остаточного кислорода в отработавших газах лямбда-зонд обеспечивает после разогрева до температуры 300 - 400оС. Только в таких условиях циркониевый электролит приобретает проводимость, а разница в количестве атмосферного кислорода и кислорода в выхлопной трубе ведет к появлению на электродах лямбда-зонда выходного напряжения.

При пуске и прогреве холодного двигателя управление впрыском топлива осуществляется без участия этого датчика, а коррекция состава топливо-воздушной смеси осуществляется по сигналам других датчиков (положения дроссельной заслонки, температуры охлаждающей жидкости, числа оборотов коленвала и др.). Особенностью циркониевого лямбда-зонда является то, что при малых отклонениях состава смеси от идеального (0,97 Ј l Ј 1,03) напряжение на его выходе изменяется скачком в интервале 0,1-0,9 В (график 2).

Кроме циркониевых существуют кислородные датчики на основе двуокиси титана (TiO2). При изменении содержания кислорода (О2) в отработавших газах они изменяют свое объемное сопротивление. Генерировать ЭДС титановые датчики не могут; они конструктивно сложны и дороже циркониевых, поэтому, несмотря на применение в некоторых автомобилях (Nissan, BMW, Jaguar), широкого распространения не получили.

Рис. 6. Так выглядит "титановый" лямбда-зонд (применяется на двигателе В5252) будьте внимательны при выборе замены

Основная часть датчика - керамический наконечник, сделанный на основе диоксида циркония, на внутреннюю и наружную поверхности которого методом напыления наносится платина. Соединение наконечника и корпуса выполнено полностью герметичным во избежание попадания отработавших газов во внутреннюю полость датчика, сообщающуюся с атмосферой. Керамический наконечник находится в потоке отработавших газов, поступающих через отверстия в защитном экране. Эффективная работа датчика возможна при температуре не ниже 300-350оС. Поэтому, для быстрого прогрева после пуска двигателя, современные датчики снабжают электрическим нагревательным элементом, представляющим из себя керамический стержень со спиралью накаливания внутри керамического тела датчика, и подключаются к электросети автомобиля:

Датчики кислорода с различным количеством проводов: провод сигнала, провод "массы" сигнала, провод питания подогрева, провод "массы" подогрева.

Рис. 7. Конструкция датчика кислорода с подогревателем

- керамическое основание; 2, 8 - контакты НЭ; 3 - нагревательный элемент (НЭ); 4 - твердый электролит ZrO2 с напыленными платиновыми электродами; 5 - защитный кожух с прорезями; 6 - металлический корпус с резьбой крепления; 7 - уплотнительное кольцо; 9 - выводы датчика.

Датчики без нагревателя могут иметь один, или два сигнальных провода, датчики со встроенным электрическим нагревателем - три или четыре провода. Как правило, провода светлых цветов относятся к нагревателю, а темных - к сигнальному проводу. Все элементы датчика кислорода изготовлены из жаростойких материалов, так как его рабочая температура может достигать 950°С. Выходящие провода имеют термостойкую изоляцию.

В связи с тем, что датчик кислорода может вырабатывать электрический сигнал только при температуре 300-350°С и выше, датчики без нагревателя устанавливаются в выпускном трубопроводе ближе к двигателю, а с нагревательными элементами - перед нейтрализатором. В некоторых автомобилях в каталитическом нейтрализаторе установлен датчик температуры, который не следует путать с кислородным.

Датчики кислорода бывают одно-, двух-, трех- и четырехпроводные. Однопроводные и двухпроводные датчики применялись в самых первых системах впрыска с обратной связью (лямбда-регулированием). Однопроводный датчик имеет только один провод, который является сигнальным. Земля этого датчика выведена на корпус и приходит на массу двигателя через резьбовое соединение. Двухпроводный датчик отличается от однопроводного наличием отдельного земляного провода сигнальной цепи.

Недостатки таких зондов: рабочий диапазон температуры датчика начинается от 300 градусов. До достижения этой температуры датчик не работает и не выдает сигнала. Стало быть необходимо устанавливать этот датчик как можно ближе к цилиндрам двигателя, чтобы он подогревался и обтекался наиболее горячим потоком выхлопных газов. Процесс нагрева датчика затягивается и это вносит задержку в момент включения обратной связи в работу контроллера. Кроме того, использование самой трубы в качестве проводника сигнала (земля) требует нанесения на резьбу специальной токопроводящей смазки при установке датчика в выхлопной трубопровод и увеличивает вероятность сбоя (отсутствия контакта) в цепи обратной связи.

Причины выхода из строя датчика кислорода

- Применение этилированного бензина.

Использование при установке датчика герметиков, вулканизирующихся при комнатной температуре или содержащих в своем составе силикон.

Перегрев датчика из-за неправильно установленного угла опережения зажигания, переобогащения топливо-воздушной смеси, перебоев в зажигании и т.д.

Многократные (неудачные) попытки запуска двигателя через небольшие промежутки времени, что приводит к накапливанию несгоревшего топлива в выпускном трубопроводе, которое может воспламениться с образованием ударной волны.

Проверка работы цилиндров двигателя с отключением свечей зажигания

Попадание на керамический наконечник датчика любых эксплуатационных жидкостей, растворителей и моющих средств.

- Обрыв, плохой контакт или замыкание на "массу" выходной цепи датчика.

Негерметичность в выпускной системе.

Возможные признаки неисправности датчика кислорода:

- Неустойчивая работа двигателя на малых оборотах.

Повышенный расход топлива.

Ухудшение динамических характеристик автомобиля.

Характерное потрескивание в районе расположения каталитического нейтрализатора после остановки двигателя.

Повышение температуры в районе каталитического нейтрализатора или его нагрев до раскаленного состояния.

На некоторых автомобилях загорание лампы "СНЕСК ЕNGINЕ" при установившемся режиме движения.

Основные контролируемые параметры. Проверка параметров датчика кислорода осуществляется при достижении им рабочей температуры (350+50°С) с использованием газоанализатора, осциллографа, цифрового вольтметра и омметра.

Указанных недостатков лишены трех- и четырехпроводные лямбда зонды. В трехпроводный добавлен специальный нагревательный элемент, который включен, как правило, всегда при работе двигателя и, тем самым, сокращает время выхода датчика на рабочую температуру. А так же позволяет устанавливать лямбда-зонд на удалении от выхлопного коллектора, рядом с катализатором. Однако остается один недостаток - токопроводящий выхлопной коллектор и необходимость в токопроводящей смазке. Этого недостатка лишен четырехпроводный лямбда-зонд - у него все провода служат для своих целей - два на подогрев, а два - сигнальные. При этом вкручивать его можно так как заблагорассудится.

Если ЛЗ «врет»

В этом случае ЭБУ начинает работать по усредненным параметрам, записанным в его памяти: при этом состав образующейся топливно-воздушной смеси будет отличаться от идеального. В результате появится повышенный расход топлива, неустойчивая работа двигателя на холостом ходу, увеличение содержания СО в отработавших газах, снижение динамических характеристик, но машина при этом остается на ходу. В некоторых моделях автомобилей ЭБУ реагирует на отказ лямбда-зонда очень серьезно и начинает так рано увеличивать количество подаваемого в цилиндры топлива, что запас горючего в баке «тает» на глазах, из трубы валит черный дым, СО «зашкаливает», а двигатель «тупеет» и на ближайшую СТО вам, скорее всего, придется добираться на буксире.

Перечень возможных неисправностей лямбда-зонда достаточно большой и некоторые из них (потеря чувствительности, уменьшение быстродействия) самодиагностикой автомобиля не фиксируются. Поэтому окончательное решение о замене датчика можно принять только после его тщательной проверки, которую лучше всего поручить специалистам. Следует особо отметить, что попытки замены неисправного лямбда-зонда имитатором ни к чему не приведут - ЭБУ не распознает «чужие» сигналы, и не использует их для коррекции состава приготавливаемой горючей смеси, т.е. попросту «игнорирует».

При сгоревшем или отключенном лямбда-зонде содержание СО в выхлопе возрастает на порядок: от 0,1-0,3% до 3-7% и уменьшить его значение не всегда удается, т. к. запаса хода винта качества смеси может не хватить. В автомобилях, система l-коррекции которых имеет два кислородных датчика, дело обстоит еще сложнее. В случае отказа второго лямбда-зонда (или «пробивки» секции катализатора) добиться нормальной работы двигателя практически невозможно.

Вообще лямбда-зонд - наиболее уязвимый датчик автомобиля с системой впрыска. Его ресурс составляет 40-80 тыс. км в зависимости от условий эксплуатации и исправности двигателя. Плохое состояние маслосъемных колец, попадание антифриза в цилиндры и выпускные трубопроводы, обогащенная топливно-воздушная смесь, сбои в системе зажигания сильно сокращают срок его службы. Применение этилированного бензина категорически недопустимо - свинец «отравляет» платиновые электроды лямбда-зонда за несколько бесконтрольных заправок.

Рис. 8. Схема датчика кислорода на основе диоксида циркония, расположенного в выхлопной трубе: 1 - твердый электролит ZrO2; 2, 3 - наружный и внутренний электроды; 4 - контакт заземления; 5 - «сигнальный контакт»; 6 - выхлопная труба.

Рекомендованный заводом-изготовителем лямбда-зонд и сходные по конструкции циркониевые датчики взаимозаменяемы. Возможна замена неподогреваемых датчиков на подогреваемые (но не наоборот!). Однако при этом может возникнуть проблема несовместимости разъемов и отсутствия в машине цепи питания для нагревателя лямбда-зонда. Недостающие провода можно проложить самостоятельно, а вместо разъема использовать стандартные автомобильные контакты.

Рис. 9. Выводы лямбда-зондов

Цветовая маркировка выводов лямбда-зондов может различаться, но сигнальный провод всегда будет иметь темный цвет (обычно - черный). «Массовый» провод может быть белым, серым или желтым (рис. 4). Титановые лямбда-зонды от циркониевых легко отличить по цвету «накального» вывода подогревателя - он всегда красный. При замене 3-контактного лямбда-зонда на 4-контактный необходимо надежно соединить с «массой» автомобиля провод заземления подогревателя и сигнальный «минус», а накальный провод подогревателя через реле и предохранитель подключить к «плюсу» аккумулятора.

Подключение напрямую к катушке зажигания нежелательно, т. к. в цепи ее питания может стоять понижающее сопротивление. Подключиться к контактам топливного насоса достаточно сложно. Лучше всего подключить реле подогревателя лямбда-зонда к замку зажигания.

Ведущие в мире разработчики и изготовители лямбда-зондов

MERCEDES-BENZ 190 (W201) Лябмда-зонд: Регулирующий зонд, Количество проводов: 3, Длина (в мм): 315

Рис. 10

Фирма NGK/NTK является ведущим в мире разработчиком и изготовителем лямбда-зондов и основным поставщиком для автомобилей известных марок. Все зонды имеют оригинальные присоединения к выводам и точные длины кабелей надежного качества в соответствии со стандартами Немецкой службы технического надзора и имеют разрешение на эксплуатацию от Федерального автотранспортного ведомства ФРГ.

Лямбда-зонды от фирмы NGK/NTK отличаются очень простым монтажом, в максимально возможной степени обеспечивают щадящий режим работы двигателя, надежно работают и убедительно способствуют защите окружающей среды.

Рис. 11

Лямбда-зонд MAGNET MARELLI 460000209010, Лямда-зонд - Диагностический зонд, Длина кабеля [мм] - 540, Количество проводов - 4

Рис. 11

Циркониевые кислородные датчики

Кислородные датчики на основе двуокиси титана

Универсальные кислородные датчики

В Magneti Marelli ассортименте представлены два типа кислородных датчиков, изготавливаемых на основе керамических элементов, применяемых для определения состава отработавших газов. Существуют циркониевые и титановые лямбда-зонды. Наш полный ассортимент охватывает 250 наименований продукции, соответствующей оригиналам заводской сборки, которая имеет высокую надёжность и легко монтируется (имеет сертификаты TÜV/KBA). Magneti Marelli предлагает семь наименований универсальных кислородных датчиков - четыре циркониевых лямбда-зонда (с одно-, двух-, трёх и четырёхпроводным кабелем) и три титановых лямбда-зонда (с трёхпроводным кабелем - 12 и 18 мм, с четырёхпроводным кабелем - 18 мм). Универсальные кислородные датчики изготавливаются для 90% автомобилей европейского рынка и имеют свыше 3600 разновидностей.

. Датчик пьезоэлектрический искробезопасный ДПЭ22Ex для измерения виброскорости

Чувствительным элементом датчика виброскорости является пьезоэлектрический элемент, преобразующий действующую на него силу в электрический потенциал.

Применение элемента, генерирующего потенциал за счет усилий изгиба, позволяет резко уменьшить чувствительность датчика к деформациям основания и снизить его поперечную чувствительность.

Электрический потенциал пьезоэлектрического элемента усиливается, интегрируется, фильтруется, преобразуется в выходной сигнал по току 1-5 мА; 4 - 20мА.

Все датчики имеют нормированный коэффициент преобразования, это упрощает их замену и использование в любых измерительных системах.

Датчики, пьезоэлектрические преобразователи имеют герметичную конструкцию и устойчивы к воздействию паров и брызг воды, турбинного масла и жидкости ОМТИ.

Датчики, пьезоэлектрические преобразователи сохраняют свои характеристики при воздействии переменного магнитного поля сетевой частоты с напряженностью до 400 а/м, а преобразователи, усилители датчиков ДПЭ до 100 А/м.

Основное назначение: измерение вибрации подшипника

Норма

Диапазоны измерения СКЗ виброскорости (Vе) (от и до включ.) по выходу переменного тока, мм/c

0,4 - 15 0,8 - 30

Диапазон частот измерения (от и до включ.), Гц

10 - 1000

Выходной сигнал (от и до включ.) по выходу переменного тока, мА

1 - 5

Номинальное значение коэффициента преобразования (Kn), мА · с/мм: - по выходу переменного тока: для диапазона измерения 0 - 15 мм/c для диапазона измерения 0 - 30 мм/c

0,05 0,025

Пределы допускаемой основной относительной погрешности измерения на базовой частоте по выходу переменного тока, %

±2,5

Пределы отклонения коэффициента преобразования от номинального значения на базовой частоте по выходу переменного тока, %

±2,5

Нелинейность амплитудной характеристики на базовой частоте, %

±1

Неравномерность амплитудно-частотной характеристики, %

+1,5; -15

Относительный коэффициент поперечного преобразования на базовой частоте, %, не более

5,0

Сопротивление нагрузки, Ом, не более: - для выходного сигнала 1 - 5 мА - для выходного сигнала 4 - 20 мА

2000 500

Диапазон рабочей температуры окружающей среды (от и до включ.),°С: - для пьезоэлектрических преобразователей датчиков - для усилителей датчиков

+5 - +180 +5 - +70

Пределы допускаемой дополнительной погрешности измерения, вызванной изменением температуры окружающей среды от нормальной до конечных значений диапазона рабочих температур, %: - для пьезоэлектрического преобразователя - для усилителя

±8,0 ±2,0

Пределы допускаемой дополнительной приведенной погрешности измерения, вызванной влиянием переменного магнитного поля сетевой частоты для пьезоэлектрического преобразователя и усилителя, %

±0,5

Пределы допускаемой дополнительной погрешности измерения вызванной влиянием относительной влажности на датчик и преобразователь, %

±2,0

Уровень собственных шумов ниже минимального значения диапазона измерения, дБ, не менее

20

Базовая частота измерений, Гц

80±1

Напряжение питания, В

+(18-36)

Ток потребления, мА, не более

40

Диапазон рабочих температур окружающего воздуха (от и до включ.), °С

-20 - +180

Допустимая относительная влажность при температуре +35 °С: - для усилителей датчиков (без конденсации влаги) - для пьезоэлектрических преобразователей

до 95%

Средняя наработка на отказ, часов

300000

По устойчивости к воздействию синусоидальной вибрации датчика соответствует исполнению ГОСТ 12997-84

V2

Степень защиты узлов по ГОСТ 14254-80

IP67

Датчик является неремонтопригодным.

Дополнительные аксессуары для датчик ДПЭ22Ex:

·        КП23ПX - коробка преобразователей для установки трех усилителей датчиков ДПЭ22Ex

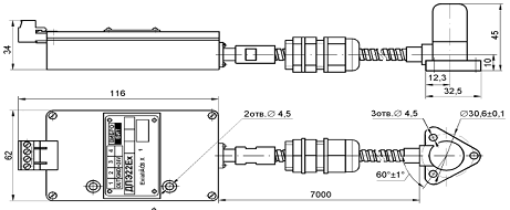
Рисунок 12. Габаритный чертеж ДПЭ22Ех

Таблица 2

Габаритные размеры, масса ДПЭ22Ex

Габаритный размер, мм

Масса, кг, не более

Длина кабеля датчика, м

33х33х45 101х62х30

1,50

7

1) Размеры усилителя.

. Глубиномеры микрометрические

Глубиномеры микрометрические предназначены для измерения глубины пазов и высоты уступов до 300мм.

1. Основные параметры и размеры:

1.1 Глубиномеры следует изготовлять:

с отчетом по шкалам стебля и барабана (ГМ) (черт.1);

с отчетом по электронному цифровому устройству (далее цифровое устройство) и шкалам стебля и барабана (ГМЦ) (черт.2).

.2 Диапазон измерений глубиномеров типов:

ГМ25 и ГМЦ25 - от 0 до 25 мм;

ГМ50 и ГМЦ50 - от 0 до 50 мм;

ГМ100 и ГМЦ100 - от 0 до 100 мм;

ГМ150 и ГМЦ100 - от 0 до 150 мм;

ГМ300 - от 0 до 300 мм.

.3 Цена деления шкалы глубиномера - 0,01 мм.

.4 Шаг дискретности цифрового устройства - 0,001 мм.

.5 Длина и ширина основания - не более 100х25 мм.

.6 Шаг микрометрического винта - 0,5 мм. Измерительное перемещение измерительного винта - 25 мм.

.7 Диаметр измерительного стержня - не более 5 мм.

.8 Измерительное усилие глубиномера - от 3 до 7 Н.

Колебание измерительного усилия в пределах указанного диапазона измерений глубиномера - не более 2 Н.

.9 Глубиномеры типа ГМЦ должны обеспечивать выполнение функций, характеризующих степень автоматизации, в соответствии с перечнем, приведенным в приложении.

.10 Глубиномеры типа ГМЦ следует изготовлять с встроенным цифровым устройством или выводом результата измерения на внешние устройства.

Рис.13. Микрометрические глубиномеры:

Черт. 1: 1- основание; 2- стебель; 3- барабан; 4- трещотка (фрикцион); 5- стопор; 6- Измерительный стержень

Черт. 2: 1- основание; 2- стебель; 3- барабан; 4- трещотка (фрикцион); 5- табло цифрового устройства; 6- стопор; 7- измерительный стержень

.11 Электрическое лишние глубиномером типа ГМЦ с встроенным цифровым устройством должно быть от автономного встроенного источника питания.

Электрическое питание глубиномером, имеющих вывод результата на внешние устройства, - от автономного встроенною источника питания и (или) от сети общего назначения через блок питания.

.12 Глубиномеры с верхним пределом измерения до 150 мм следует изготовлять классов точности I и 2, а свыше 150 мм - класса точности 2.

Пример условного обозначения глубиномера с отсчетом но шкалам стебля и барабана при диапазоне измерения от 0 до 100 мм. класса точности 2:

Глубиномер ГМ 100 - 2 ГОСТ 7470 -92

То же глубиномера с цифровым устройством при диапазоне измерения от 0 до 150 мм. класса точности I:

Глубиномер ГМЦ 150- I ГОСТ 7470-92

. Технические требования

2.1 Глубиномеры следует изготовлять в соответствии с требованиями настоящего стандарта по конструкторской документации, утвержденной в установленном порядке.

2.2 Предел допускаемой погрешности глубиномеров (в пределах перемещения микрометрического винта) при температуре окружающей среды (20±5) ’С и нормируемом измерительном усилии, а также при сжатом или отпущенном стопоре должен соответствовать указанному в табл. 1:

Таблица 1

Диапазон измерении, мм

Предел допускаемой погрешности, мкм. глубииомероа классе* точности


1

2

0-25

12

14

25-50

13


50-100


15

100-150

14

16

150-200


18

200-250

-

19

250-300


110


.3 Допуск плоскостности и измерительной поверхности основания глубиномеров - 0.9 мкм для глубинометров класса точности I; 1.8 мкм - для глубиномеров класса точности 2. Допускаются завалы измерительных поверхностей на расстоянии на более I мм от края.

2.4 Настройка глубиномеров должна проводиться с помощью установочных мер. Номинальная длина установочной меры, предельные отклонения длины, суммарный допуск плоскостности и параллельности измерительных поверхностей установочных мер указаны в табл. 2:

Таблица 2

Номинальная длина установочной меры.

Предельные отклонения дли пи мкм. дм классе* точности

Суммарный допуск плоскостности и параллельности и верительных

мм

1

2

поверхностей, мьм

25

10.50

±1.0

0,50

75

Ю.75

*1.5

0.75

125

11.25


1.00

175

1.20

225

-

12.5

1 60

275


13.0



2.5 Измерительная поверхность стержня должна иметь сферическую форму радиусом 5 мм. Смешение центра сферы от оси стержня не должно превышать 0.3 мм.

По заказу потребителя измерительная поверхность стержня для глубиномеров класса точности 2 может быть плоской. Допуск плоскостности измерительной поверхности стержня - 0.6 мкм.

2.6 Измерительные поверхности стержней дайны быть оснащены твердым сплавом по ГОСТ 38X2. По заказу потребителя стержни следует изготовлять с закаленными измерительными поверхностями.

.7 Твердость закаленных измерительных поверхностей стержней, основания и установочных мер должна быть не менее 59 HRCa.

2.8 Шероховатость измерительных поверхностей основания, стержней глубиномера и установочных мер по ГОСТ 2789 должна быть:

Ra й 0.2 мкм - для основания;5 0.04 мкм - для стержней с закаленными измерительными поверхностями и установочных мер:s 0,08 мкм - для измерительных стержней, оснащенных твердым сплавом.

2.9 Глубиномеры должны иметь трещотку (фрикцион) или другое устройство, обеспечивающее измерительное усилие в соответствии с п. 1.8.

2.10 Глубиномеры должны иметь стопорное устройство для закрепления микрометрического винта. При зажатом стопоре микрометрический винт не должен перемещаться под действием устройства, создающего измерительное усилие.

.11 Требования к устройству, обеспечивающему отсчет по шкалам стебля и барабана

2.11.1 Конструкция глубиномера должна обеспечивать возможность установки на нулевой отсчет. При нулевом отсчете начальный штрих шкалы стебля должен был, виден целиком, но расстояние от торца конической части барабана до ближайшего края штриха должно быть не более 0,1 мм.

2.11.2 Расстояние от стебая до измерительной кромки барабана у продольного штриха стебля должно быть не более значения, указанного на черт. 3. Угол а/2, образующий коническую часть барабана, на которую наносится шкала, должен быть не более 20‘.

Черт. 3

Рис. 14: 1 - стебли. 2 - измерительная кромка, 3 - барабан

.11.3 Па стебле глубиномера должна быть нанесена шкала с продольным штрихом с миллиметровыми и полу миллиметровыми делениями.

Коническая часть барабана должна быть разделена на 50 делений.

Начальные штрихи на шкалах и штрихи, соответствующие каждому пятому миллиметру на шкале стебля и каждому пятому миллиметру на шкале барабана, должны быть удлиненными и оцифрованы.

2.11.4 Длина деления шкалы барабана должна быть не менее 0.8 мм.

Ширина штрихов шкал и продольного штриха на стебле должна быть от 0.08 до 0.2 мм при том разность ширины штриха барабана и продольного штриха стебля должна быть не более 0.03 мм.

Допускается ширина всех штрихов не более 0.25 мм, если длина деления шкалы барабана более 1 мм. при этом разность ширины штриха барабана и продольного штриха стебля домена быть не более 0,05 мм.

2.12 Наружные поверхности глубиномеров, за исключением измерительных стержней, измерительных поверхностей основания, измерительных поверхностей установочных мер и микровинта. должны иметь защитное покрытие но ГОСТ 9.032 и ГОСТ 9.303.

2.13 Средняя наработка на отказ глубиномеров типа ГМ должна быть не менее 50 000. а типа ГМЦ - не менее 100 000 условных измерений.

Под условным измерением понимают перемещение микрометрического винта до контакта измерительных поверхностей с объектом измерения. При этом перемещение микрометрического вин га должно быть не менее 1/3 значения измерительного перемещения, указанного в и 1.6.

Критерием отказа является нарушение работоспособного состояния глубиномера, приводящее к невыполнению требований пп. 2.2 и 2.3.

2.14 Среднее время восстановления работоспособного состояния глубиномеров типа ГМ - не более 3 ч. типа ГМЦ - не более X ч.

2.15 Полный средний срок службы глубиномеров - не менее шести лет.

Критерием предельного состояния глубиномеров является потомка или износ микрометрического винта или фрикциона, приводящие к невыполнению требования п. 2.2 и характеризуемые невозможностью или нецелесообразностью восстановления поломанных или изношенных элементов.

2.16 Срок сохраняемости глубиномеров - не менее двух лет.

2.17 Комплектность

2.17.1 Глубиномеры должны быть укомплектованы:

-   при диапазоне измерения 0-50 мм - измерительными стержнями для измерений в диапазонах 0-25: 25-50 мм и установочной мерой длиной 25 мм:

-   при диапазоне измерения 0-75 мм - измерительными стержнями для измерений в диапазонах 0-25; 25-50; 50-75 мм и установочными мерами длиной 25 и 50 мм;

• при диапазоне измерения 0-100 мм - измерительными стержнями для измерений в диапазонах 0.25; 25-50; 50-75: 75-100 мм и установочными мерами длиной 25 и 75 мм:

-   при диапазоне измерения 0-150 мм - измерительными стержнями для измерений в диапазонах 0-25: 25-50: 50-75; 75-100; 100-125: 125-150 мм и установочными мерами длиной 25. 75 и 125 мм;

-   при диапазоне измерения 0-300 мм - измерительными стержнями для измерений в диапазонах 150-175; 175-200: 200-225; 225-250; 250-275: 275-300 мм и установочными мерами длиной 175, 225 и 275 мм.

Примечание. Комплектация глубиномеров при диапазоне измерения 0-300 мм измерительными стержнями для измерения в диапазонах 0-25; 25-50; 50-75; 75-100; 100-125: I2S-150 мм и установочными мерами длиной 25. 75 и 125 мм - по заказу потребителя.

Комплектация глубиномеров класса точности 2 измерительными стержнями с плоскими измерительными поверхностями - по заказу потребителя.

.17.2 К глубиномеру должен прилагаться паспорт по ГОСТ 2.601.

.18 Маркировка

2.18.1 На каждом глубиномере должны быть нанесены:

-  товарный знак предприятия-изготовителя;

-  цена деления шкалы барабана или шаг дискретности инфрового устройства глубиномеров:

-       порядковый номер по системе нумерации предприятия-изютовителя;

-  диапазон измерений глубиномеров:

-  год выпуска.

2.18.2 На установочной мере должна быть нанесена номинальная длина установочной меры.

2.18.3 Маркировка на футляре глубиномера - по ГОСТ 13762.

2.19 Упаковка

2.19.1 Глубиномер должен быть упакован в футляр, ни отопленным из материалов по ГОСТ 13762.

2.19.2 Упаковка глубиномеров - по ГОСТ 13762.

Список литературы

1. Агейкин, Д.И. Датчики контроля и регулирования / Д.И. Агейкин. Изд-во «Машиностроение». - М., 1965. - 416 с.;

2. www.vibrobit.ru <http://www.vibrobit.ru>;

. www.sensorica.ru <http://www.sensorica.ru>;

. www.maxparts.ru <http://www.maxparts.ru>;

. www.maxparts.ru;

. ГОСТ 7470-92. Глубиномеры микрометрические. Технические условия. М.: Издательство стандартов. 1992 - 8с.

Приложение (Рекомендуемое)

Перечень функций, характеризующих степень автоматизации

. Выдача цифровой информации » прямом поле (с указанием знака и абсолютной величины).

2. Установка начала отсчета в любом положении измерительного стержня.

3. Запоминание результата измерения.

4. Гашение памяти с восстановлением текущего результата измерения.

. Переход из абсолютной системы координат в относительную и обратно по внешней команде.

. Предварительная установка числа (виол констант).

. Ввод предельных отклонений и меряемого размера.

. Сравнение результатов измерения с пороговыми траншами.

. Индикация «годно» и «брак».

Похожие работы на - Пьезоэлектрические преобразователи

 

Не нашли материал для своей работы?
Поможем написать уникальную работу
Без плагиата!
Без нейросетей!