Схемотехника усилителей заряда
Балтийский
Государственный Технический
Университет
им. Устинова Д.Ф. «Военмех»
Контрольная
работа
по
теме «Схемотехника усилителей заряда»
Санкт-Петербург
Оглавление
Введение
.
Усилители заряда MIC-017-V2 и MIC-017-V4
.1
Технические характеристики
.2
Структурная схема
.
Измерительные цепи пьезоэлектрических преобразователей
Выводы
Список
используемой литературы
Введение
Методы регистрации скоростей и амплитуд
механических воздействий постоянно совершенствуются. Важной частью любой
измерительной системы являются датчики, выходные значения которых нужно
преобразовывать в сигнал для дальнейшего анализа. Для этого используются
датчики со встроенными усилителями заряда или внешние усилители заряда.
Например, сигналы датчиков вибрации нужно
преобразовывать в напряжение с помощью усилителя заряда.
«Усилители - преобразователи заряда представляют
собой многоканальные устройства для преобразования входных динамических
сигналов от датчиков в виде заряда в выходное напряжение, а также для усиления
и фильтрации выходных сигналов». [1]
Такие усилители могут применяться для работы с
пьезоэлектрическими датчиками с выходами по заряду, а также с
пьезоэлектрическими датчиками со встроенной электроникой типа ICP с выходом по
напряжению.
«Пьезоэлектрический датчик - это измерительный
преобразователь, действие которого основано на использовании
пьезоэлектрического эффекта».[2] Такие датчики нужны для регистрации
механических колебаний, генерируемых узлами различных механизмов. Они обладают
высокой точностью измерения.
«Сигнал пьезоэлектрического датчика в виде
электрического заряда, пропорционально виброускорению входного сигнала,
поступает на вход усилителя заряда, который осуществляет преобразование заряда
в пропорциональную величину напряжения». [2]
Рис. 1 - Эквивалентная схема усилителя заряда
В общем случае усилитель заряда представляет
собой операционный усилитель, охваченный емкостной обратной связью (рис. 1) [3]
При подключении усилителя заряда к первичному
преобразователю, вырабатывающему заряд, к входу усилителя подключаются также
емкость соединительного кабеля (Ск), первичного преобразователя (Сд),
паразитная входная емкость (Сп). Амплитуда входного сигнала изменяется в
широком диапазоне, необходима подстройка измерительного канала.
В некоторых схемах коэффициент усиления
усилителя заряда может регулироваться микроконтроллером так, чтобы обеспечить
необходимый динамический диапазон, не допуская при этом перегрузки по входному
каналу. Превышение сигналом динамического диапазона (рис. 2,а) приводит к
искажению формы сигнала и потерям информации. А с помощью коэффициента усиления
входной сигнал формируется так, что занимает весь динамический диапазон
измерительного канала, при этом сохраняя форму сигнала. [3] (рис. 2,б)
1.
Усилители заряда MIC-017-V2 и MIC-017-V4
Рассмотрим работу данных усилителей. Их
функциональные модули состоят из отдельных печатных плат, которые электрически
соединены при помощи объединительной платы и установлены в корпусе. Корпус
усилителей сделан из алюминиевого сплава и кожуха, передней и задней панелей,
которые крепятся к кожуху при помощи винтов. Вид на заднюю панель усилителя
приведен на рисунке 4. На задней панели усилителя расположены входные (1) и
выходные (2) разъемы каналов, разъем питания (5), разъемы интерфейсов USB (4) и
RS-485 (5), клемма заземления (7), серийный номер (3) усилителя. [1]

Рис. 3 Рис.
4
1.1 Технические характеристики
|
Количество
каналов
|
2
(MIC-017-V2); 4 (MIC-017-V4)
|
|
Режим
работы канала по входу (тип входа)
|
Дифференциальный
(вход по заряду); Недифференциальный (вход по заряду); ICP (вход по
напряжению)
|
|
Коэффициент
преобразования (усиление) канала в режиме работы входа по заряду
|
,003162
мВ/пКл (-50 дБ) 0,01 мВ/пКл (-40 дБ); 0,03162 мВ/пКл (-30 дБ) 0,1 мВ/пКл (-20
дБ) (внутренний коэффициент усиления 10); 0,3162 мВ/пКл (-10 дБ) 1 мВ/пКл (0
дБ) (внутренний коэффициент усиления 100); 3,162 мВ/пКл (10 дБ) 10 мВ/пКл (20
дБ) (внутренний коэффициент усиления 1000); 31,62 мВ/пКл (30 дБ) 100 мВ/пКл
(40 дБ) (внутренний коэффициент усиления 10000)
|
|
Коэффициент
преобразования (усиление) канала в режиме работы входа по напряжению
|
1В/В
(0 дБ)
|
|
Входной
амплитудный диапазон канала по заряду (в зависимости от коэффициента
усиления)
|
±1000000
пКл (-50 дБ; -40 дБ); ±100000 пКл (-30 дБ; -20 дБ); ±10000 пКл (-10 дБ; 0
дБ); ±1000 пКл (10 дБ; 20 дБ); ±100 пКл (30дБ; 40 дБ)
|
|
Основная
погрешность коэффициента преобразования канала на частоте 1 кГц, не хуже
|
±0,5
%
|
|
Полоса
пропускания канала по уровню -3дБ
|
0,7
Гц-80 кГц
|
|
Неравномерность
АЧХ канала в полосе частот 10 Гц-40 кГц (ФНЧ отключен), не хуже
|
±0,5
дБ
|
|
ФЧХ
канала (в полосе частот), не хуже
|
±2°
(0,7 Гц-1кГц); ±5° (1 кГц-10 кГц)
|
|
Взаимовлияние
каналов на частоте 1 кГц, не более
|
-80
дБ
|
|
Входное
сопротивление по постоянному току, не менее
|
50
МОм
|
|
Полное
входное сопротивление, не более
|
0,1
Ом
|
|
Подавление
синфазной составляющей сигнала в полосе частот 0-50Гц, не менее
|
-60
дБ
|
|
Частота
среза ФНЧ
|
10
Гц; 100 Гц; 1000 Гц; 10000 Гц
|
|
Полоса
анализа СКЗ сигнала на выходе канала
|
1
кГц; 10 кГц
|
|
Амплитуда
сигнала на выходе канала
|
±10
В; ±3,16 В
|
|
Ток
выходной, не менее
|
70
мА
|
|
Сопротивление
выходное
|
0,5
Ом
|
Электропитание усилителя осуществляется от
внешнего блока питания MBP-112-1, который имеет следующие технические
характеристики: входное напряжение переменного тока от 100 до 240 В, выходное
напряжение постоянного тока 12 В, максимальный ток нагрузки 3,33 А. Во время работы
на разъемах усилителя отсутствуют напряжения опасные для жизни человека.
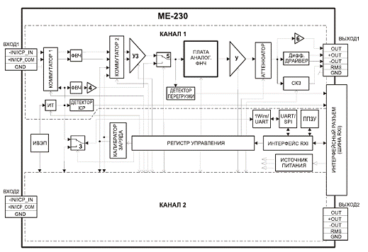
1.2 Структурная схема
Структурная схема усилителя приведена на рисунке
5. В зависимости от исполнения (числа каналов) в усилителях установлены один
или два модуля усилителя заряда ME-230.
Структурная схема модуля усилителя заряда ME-230
приведена на рисунке 6.
Рис. 6
Рассмотрим работу элементов на примере одного
канала.
Напряжение с выхода внешнего блока питания
подается на внутренний источник питания усилителя посредством разъема питания
(рис. 5), который формирует напряжения необходимые для работы внутренних
модулей и элементов усилителя. Сигналы от внешнего управляющего устройства
(MIC-300) через интерфейсный разъем усилителя подаются на модуль
крейт-контроллера, который осуществляет обмен данными с модулями усилителей
заряда ME-230, установленными в слотах объединительной платы. Индикация
состояния каналов осуществляется посредством блока индикации, управляемого
крейт - контроллером.
Каналы модулей ME-230 идентичны и независимы.
Напряжение питания подается с контактов
интерфейсного разъема модуля на внутренний источник питания (рис. 6), который
формирует напряжения необходимые для работы элементов. Управление модулем и
обмен данными осуществляется посредством сигналов, поступающим через контакты
интерфейсного разъема по шине на интерфейс RXI модуля. [1]
2. ИЗМЕРИТЕЛЬНЫЕ
ЦЕПИ ПЬЕЗОЭЛЕКТРИЧЕСКИХ ПРЕОБРАЗОВАТЕЛЕЙ
Основным элементом измерительных цепей
пьезопреобразователей являются предусилители. Главной задачей предусилителей
является преобразование высокого входного комплексного сопротивления этих
преобразователей в более низкое, допускающее непосредственное соединение
пьезопреобразователей с анализирующей или регистрирующей аппаратурой. К другим
задачам предусилителей относятся:
согласование параметров, отображающих
исследуемые механические величины, с параметрами сигналов (в частности,
чувствительностью) используемой аппаратуры;
усиление сигналов;
фильтрация обрабатываемых сигналов и,
следовательно, исключение ненужных или нежелательных составляющих этих
сигналов.
Вместе с преобразователями применяют
предусилители, образующие две группы:
) усилители заряда, выходное напряжение которых
пропорционально поступающему на их вход заряду. Нужно подчеркнуть, что эти
усилители не усиливают электрический заряд;
) усилители напряжения, выходное напряжение
которых пропорционально поступающему на вход напряжению. [1]
Применению усилителей заряда отдается предпочтение
в большинстве современных виброметрических систем. [4] Это отображается в
ассортименте изготовляемых, например, фирмой «Briiel & Kjer» предусилителей
для вибродатчиков, в котором практически отсутствуют усилители напряжения.
Основное преимущество усилителей заряда заключается в том, что они совершенно
исключают влияние длины соединительных кабелей на общую чувствительность и,
следовательно, допускают применение соединительных кабелей практически любой
длины. [5] .Изменение длины соединительного кабеля в системе, содержащей
усилитель напряжения, обусловливает необходимость подстройки коэффициента
усиления используемой аппаратуры и повторной калибровки системы.
Входной каскад усилителей заряда состоит из
операционного усилителя с емкостной обратной связью. [6] Операционный усилитель
с конденсатором в цепи обратной связи, по существу, является электронным
интегратором, интегрирующим поступающий на его вход электрический ток.
Эквивалентная электрическая схема усилителя
заряда, соединенного с пьезоэлектрическим преобразователем, показана на рис. 7.
э - электрический заряд, отдаваемый
пьезоэлементом акселерометра и пропорциональный ускорению механических
колебаний; Cпэ - емкость пьезоэлемента; Rпэ - сопротивление пьезоэлемента; Ск -
емкость соединительного кабеля и соответствующих соединителей; Rk -
сопротивление соединительного кабеля и соответствующих соединителей; Свх -
емкость входной цепи пред усилителя; Rbx - сопротивление входной цепи пред
усилителя; Соc - емкость цепи обратной связи; Roc - сопротивление цепи обратной
связи; А - коэффициент усиления операционного усилителя; Ubыx - выходное
напряжение усилителя.
Сопротивления пьезоэлемента, входной цепи и цепи
обратной связи предусилителя обычно имеют большие значения. Следовательно,
показанную на рис. 4.1 эквивалентную электрическую схему можно упростить и
представить в показанном на рисунке 8 виде: [7]
На этом рисунке:
пэ - общий ток, вызванный зарядом, который
отдает пьезоэлемент; Iс - ток от Сс, Iос - ток, протекающий в цепи обратной
связи операционного усилителя.
Входное и выходное напряжения предусилителя (Ubx
и Ubыx) связаны друг с другом выражением:
усилитель заряд пьезоэлектрический
преобразователь
Для напряжения Uoc можно написать выражение:
Входной ток идеального операционного усилителя
равен нулю. Показанные на рис. 4.2 токи связаны по закону Кирхгофа уравнением:
Учитывая другие параметры показанной на рис. 8
эквивалентной схемы, для токов 1пэ, 1с и Ioc можно записать следующие
выражения:

После подстановки этих выражений в приведенное
выше уравнение Кирхгофа получается выражение:
Решение этого дифференциального уравнения можно
получить путем интегрирования. Постоянные, соответствующие исходным напряжениям
постоянного тока на выходе операционного усилителя, полагаются равными нулю.
Это вполне допустимо ввиду того, что всякого рода напряжения смещения при
активной работе операционного усилителя быстро уменьшаются до нуля.
Следовательно, решение упомянутого уравнения можно представить в виде: [7]
С учетом присущего современным операционным
усилителям большого значения коэффициента усиления (А 105) выражение
упрощается, и решение дифференциального уравнения принимает вид:
Отсюда следует, что выходное напряжение
предусилителя пропорционально входному заряду и обратно пропорционально емкости
цепи обратной связи. [6]
Эквивалентная емкость на входе вообще не влияет
на напряжение сигнала на выходе последнего, так как в идеальном случае А -> ∞
и входное напряжение равно нулю.
Следовательно, эквивалентное входное
сопротивление не влияет на напряжение выходного сигнала предусилителя. «Это
значит, что на входе предусилителя имеются лишь токи от преобразователя и от
конденсатора в цепи обратной связи операционного усилителя. [6] Эти токи имеют
идентичную амплитуду, но противоположные друг другу знаки. Следовательно, весь
отдаваемый пьезопреобразователем электрический заряд сообщается конденсатору в
цепи обратной связи операционного усилителя» [7].
На этом можно закончить обсуждение упрощенной
эквивалентной электрической схемы усилителя заряда, соединенного с
пьезоэлектрическим преобразователем. Кривые на рис. 9 показывают влияние
входной емкостной нагрузки на участок амплитудно-частотной характеристики
усилителя заряда. Хотя увеличение параллельной емкости почти не сказывается на
чувствительности по заряду акселерометра, добавление соединенного
последовательно конденсатора приводит к уменьшению электрического заряда на
выходе. [7]
Хотя увеличение параллельной емкости почти не
сказывается на чувствительности по заряду акселерометра, добавление
соединенного последовательно конденсатора приводит к уменьшению электрического
заряда на выходе. Уменьшение поступающего на вход предусилителя заряда может
быть целесообразным при исследованиях механических колебаний с большими
амплитудами, в частности при применении высокочувствительного акселерометра.
Соответствующим образом можно предотвратить перегрузку по входу используемого
усилителя заряда. Следовательно, путем последовательного и параллельного
подключения к выходу акселерометра тщательно отобранных конденсаторов с точно
определенными емкостями параметрами можно ослабить поступающий на вход
предусилителя электрический заряд. Эквивалентная электрическая схема акселерометра,
соединенного с описанным емкостным аттенюатором, показана на рисунке 10.
Поскольку емкость Сос определяет коэффициент
усиления предусилителя, собственный шум последнего увеличивается с уменьшением
значения коэффициента усиления и, следовательно, с увеличением значения емкости
цепи обратной связи используемого в предусилителе операционного усилителя. [6]
Исходя из этого, применение высокочувствительных пьезопреобразователей и
больших значений коэффициента усиления предусилителей способствует увеличению
значений отношения сигнала к шуму.
Нужно подчеркнуть, что подвергаемые воздействию
механических колебаний соединительные кабели генерируют электрический шум.
Применение малошумящих кабелей особенно важно в системах, используемых при
исследованиях механических колебаний с малыми амплитудами.[6]
Кривые на рисунке 11 отображают зависимость
отнесенного ко входу собственного шума от емкостной нагрузки на его входе. [7]
В области низких частот (<100 Гц) собственный
шум усилителя заряда обычно обратно пропорционален частоте, т. е. его амплитуды
увеличиваются с уменьшением частоты. Увеличение собственного шума на низких
частотах является нежелательным свойством операционных усилителей. Эффективным
с точки зрения подавления такого шума является применение дополнительных
фильтров верхних частот.
Отметим, что почти все изготовляемые и
выпускаемые фирмой «Briiel & Kjer» предусилители снабжены соответствующими
фильтрами верхних частот [5].
Существенное уменьшение сопротивления нагрузки
на входе предусилителя, т.е. уменьшение приблизительно до 10 МОм,
сопровождается увеличением собственного шума. Увеличение собственного шума
предусилителя более заметно в области низких частот. Однако его причины нелегко
выявить, так как необходима подробная информация, относящаяся к параметрам
отдельных схемных элементов и к их соединениям во входном каскаде
предусилителя. [7]
Показанные на рисунке 12, кривые являются
результатом экспериментальных исследований и отображают зависимость
узкополосного собственного шума усилителя заряда от сопротивления нагрузки на
его входе. [7] Значения собственного шума выражены в единицах напряжения,
отнесенных к квадратному корню, и ширины частотной полосы, т. е. мкВ/√Гц.
Выводы
В результате исследования усилителей заряда
выяснила, что они нужны для преобразования сигнала в напряжение.
Усилители заряда с большими функциональными
возможностями еще долго останутся востребованными в высокоточных областях
применения. Датчики со встроенным усилителем, скорее всего, займут нишу
узкоспециализированных усилителей с малым диапазоном регулировки. Так, они
эффективны в технологическом оборудовании с высокими собственными шумами и
узкой полосой частот полезных сигналов, которое не требует высокоточных
измерений.
Усилители заряда получили широкое применение в
различных областях науки, техники и промышленности:
научные исследования вибрационных и ударных процессов;
в составе комплексов по измерению вибрации и
виброанализаторов;
в составе виброакустических систем в области
защиты информации;
в составе гидроакустических систем;
в системах неразрушающего контроля;
в приборах технической диагностики и контроля
действующих механизмов на производстве;
в комплексах и стендах авиационных испытаний;
в системах контроля качества.
Список
используемой литературы
.
Полищук Е.С. Измерительные преобразователи. - Киев: Вища школа 1981.
.
Техническое описание устройства УЗ-2
.
Проспекты фирмы «Briiel and Kjer» . Nerum,
Denmark, 1995.
.
Проспекты
фирмы
-Kistler Instrumente AG». Winterthur, Switzerland, 1996.
6.
Шарапов В.М. Пьезоэлектрические датчики М: Техносфера, 2006
.
Пьезоэлектрические акселерометры и предусилители: Справочник по теории и
эксплуатации. 1987.