Особливості виконання зварювальних робіт

  • Вид работы:
    Отчет по практике
  • Предмет:
    Другое
  • Язык:
    Украинский
    ,
    Формат файла:
    MS Word
    463,52 Кб
  • Опубликовано:
    2012-11-06
Вы можете узнать стоимость помощи в написании студенческой работы.
Помощь в написании работы, которую точно примут!

Особливості виконання зварювальних робіт

Міністерство освіти і науки молоді та спорту України

Черкаський художньо-технічний коледж

Механіко технологічне відділення






Звіт

Про проходження навчальної практики

на підприємстві


Студента групи МС-25

Конюшенка Миколи Олександровича

Спеціальності 5.05050401

"Зварювання виробництва"

Кваліфікація "молодший спеціаліст"






рік

Зміст

 

1. Організаційно-економічна характеристика підприємства

1.2 Вступ

1.2 Місцезнаходження підприємства

1.3 Розміри підприємства та його спеціалізація

2. Розділ-рішення задач практикиъ

2.1 Технологічна послідовність виконання робіт

2.2 Характеристика інструментів, матеріалів та устаткування, яке необхідне для роботи

3. Організація робочого місця на основі практики попередніх робітників

4. Описання правил техніки безпеки

Висновок

Список використаної літератури

1. Організаційно-економічна характеристика підприємства

1.2 Вступ


Зварювання - технологічний процес утворення нероз'ємного з'єднання між матеріалами при їх нагріванні або пластичному деформуванні за рахунок встановлення міжмолекулярних і міжатомних зв'язків. Для забезпечення зварюваності двох частин матеріалу необхідно зблизити їх настільки, щоб створити можливість для утворення міжатомних зв'язків стисненням деталей без термічної обробки,

Існує багато способів утворення нероз'ємного з'єднання:

·        Ручне дугове зварювання

·        Газополум'яневе зварювання

·        Плазмове зварювання

·        Лазерне зварювання

Ручне дугове зварювання є найпоширенішим видом електрозварювання, застосовується для зварювання м'якої та легованої сталей, чавуну, нержавіючих сталей, у деяких випадках кольорових металів. Електрод має вигляд стрижня діаметром 1,5 - 10 мм, закріплений в ручному електродотримачі. При дотику електрода до металевої зварної деталі, замикається електричне коло, й кінець електрода нагрівається. Якщо потім електрод відвести на 3 - 5 мм від деталі, то встановлюється дуговий розряд, за рахунок якого далі і підтримується струм. Інтенсивне локальне нагрівання викликає розплавлювання основного металу (металу деталі) поблизу дуги розряду. Кінець електрода теж плавиться, і метал електрода вливається в розплавлену "зварювальну ванну" основного металу. Зварювальник, стежачи за тим, щоб дуговий проміжок не змінювався, веде електродом уздовж стикованих країв зварюваних деталей. При проходженні електрода утворюється розплавлена зварювальна ванна. Саму дугу при цьому не видно. Процес зварювання допускає майже повну автоматизацію і може забезпечувати високу продуктивність при великій товщині зварюваних деталей.

Газополум'яне зварювання - зварювання плавленням, під час якого кромки з'єднуваних частин нагрівають полум'ям газів, що спалюються на виході пальника для газового зварювання. Гази зазвичай підводять до зварювального пальника по гнучких шлангах від газових балонів високого тиску, обладнаних редукційним клапаном, що знижує тиск. Зварювальник тримає в одній руці пальник, а в іншій - присадковий прутик. Цей метод особливо підходить для зварювання сталевих трубопроводів малого діаметра, а також для приєднання арматур до трубопроводів, для ремонтних робіт, пайки-зварювання. Обладнання для газового зварювання можна використати для розрізання сталевих елементів товщиною 10 - 15 мм і більше. При так званому різанні кисневим списом нагріта сталь окислюється і видувається з утвореного вузького прорізу, тонким струменем кисню, який підводиться під високим тиском.

Плазмове зварювання - зварювання плавленням, при якому нагрів кромок деталей, які необхідно з'єднати, відбувається за рахунок тепла потоку плазми, утвореної дуговим розрядом і спрямованої на деталі через сопло.

Лазерне зварювання. Місцеве розплавлення призначених для з'єднання частин при лазерному зварюванні здійснюється енергією світлового проміння, отриманого від оптичного квантового генератора - лазера.

1.2 Місцезнаходження підприємства


Підприємство ТОВ "Метал - Драбів" знаходиться за адресою Україна, Черкаська область, Драбівський район, с. Драбово - Барятинське, вулиця Заводська 2. Підприємство було відкрито на базі колишнього ремонтно-транспортного підприємства. Воно має вигідне розташування завдяки тому, що в селищі проходить залізнична дорога яка дає можливість знизити вартість матеріалу та готової продукції. Підприємство знаходиться неподалік від районного центру Драбів та обласного центру міста Черкас. До Черкас іде залізнична дорога що дає можливість збільшити територію збуту продукції, також залізниця веде до районного центру Полтавської області міста Гребінка в якому знаходиться одна з найбільших залізничних розвилок в Україні

1.3 Розміри підприємства та його спеціалізація


На підприємстві працює 40-45 робочих з них 10 зварників залежності від замовлень. Є зварювальний та малярний цехи. Зварювальний цех складається зі зварювальних постів та зіркової лінії на якій працює 1 напівавтомат всього на підприємстві 5 зварювальних напівавтоматів та 5 постів РДЗ. Також є різні станки такі як фрезерний згинальний різальний та, дробоочисна машина, 4 кран балки та 2 козлові крани, плазмовий різак на якому також встановлений газовий різак. Використання сучасного обладнання дає можливість виготовлення більш ніж 500 тонн металоконструкцій на місяць. Підприємство в змозі виконати вимоги замовників щодо якості, розмірів та обсягів продукції.

Сучасна технологічна лінія підприємства забезпечує різання, зварювання та фарбування продукції будь-якого розміру та форми, що задовольнить вимоги замовників.

Товариство спеціалізується на виробництві металевих конструкцій, які використовуються на будівництві

2. Розділ-рішення задач практики


2.1 Технологічна послідовність виконання робіт


На навчальній практиці ТОВ "Метал-Драбів" працював з бригадиром на робочому місці електро-газозварника, яке було об лаштоване усім необхідним зварювальних робіт

Я був ознайомлений з інструментами та обладнанням які потрібні для виконання зварювання такі як: зварювальний трансформатор, напівавтомат, комплект інструментів, пристосувань, матеріалів та інші

Під час виконання плану практики я виконував наплавку валика у різних положеннях, зварювання різних типів зварних з'єднань різання металу різної товщини, зварювання нескладних конструкцій та вузлів

Дугову зварку плавким електродом виконують електродом, який розплавляється при зварюванні, служить присадковим металом. Додаючи ці три твердження, можна сказати, що ручна дугова зварка плавлячим електродом виконується зварником за допомогою інструмента отримуючого енергію від спеціального джерела; розплавлюваний при зварюванні електрод, закріплений в інструмент, служить присадковим металом введеним в зварювану ванну в додаток до розплавленого основного металу. Цей вид зварювання в теперішній час займає по обсягу виконання зварювальних робіт займає перше місце в будівничо-монтажному виробництві.

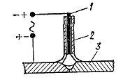
Ручна зварка плавким електродом, покритим обмазкой

-стержень; 2 - обмазка; 3-основний метал

На навчальній практиці виконував зварні з’єднання різних типів таких як:

Стиковим з’єднанням називають з’єднання двох елементів, прилягаючих один до одного торцьованими поверхнями. На малюнку 2.1 показані форми підготовки торцьованих поверхонь (кромок) і межа зварювального з’єднаного шва, отриманого в результаті зварки.

Існує 32 типи стикових з’єднань, умовно позначених літерами С1, С2, С28 і т.д. маючих різну підготовку кромок в залежності від товщини, розміщення зварюваних елементів, технології зварювання і наявності обладнання для обробки кромок. На малюнку 2.1, а показана підготовка кромок для елементів товщиною 1-4 мм в вигляді відбортування, при розплавленні якої виникає шов. На малюнку 2.1, б показані два види підготовки кромок без їх скосу. При великій товщині металу ручною зваркою неможливо забезпечити проплавку кромок на всю товщину тому роблять розбивку кромок тобто зріз з двох сторін. На малюнку 2.1, в показаний один з най поширеніших видів підготовки кромок при товщині метала 3-60 мм

Мал.2.1 стикові з’єднання та шви: а-підготовка кромок в виді відсортування, б-підготовка кромок без скоса, в-підготовка кромок зі скосом, г-підготовка кромок для металу товщиною 8-120мм

Кутове з’єднання (малюнок 2.2) називають з’єднання двох елементів, розміщених під кутом і зварених разом біля стику країв. Для товщини металу 3-60 мм кромку прилягаючого елемента зрізають під кутом 45о зварний шов основний "О" та підварковий "П" (малюнок 2.2, а). При цій товщині і наскрізному проварі можна обійтися без підваркового шва (малюнок 2.2, б). Часто застосовують кутове з’єднання з металевою прокладкою (малюнок 2.2, в), яка забезпечує надійний провар по всьому перерізу. При товщині металу 8-100 мм (малюнок 2,2, г) застосовують двох стороннє розрілення прилягаючого елемента під кутом.

Мал.2.2 кутові з’єднання и шви.

а-з підварковим швом; б-з металевою прокладкою; в-без підваркового шва; г - з двох стороннім розділенням

Таврове з’єднання (малюнок 2.3.) називають з’єднання, в якому торець одного елемента прилягає під кутом і зварений кутовими швами до бокової поверхні іншого елемента. Стандартом передбачено декілька типів таких з’єднань: з Т1 по Т9. Розповсюдженими є з’єднання вказане на малюнку 2.3, а, для металу товщиною 2-40мм.

При товщині металу 2-60 мм і необхідності суцільного шва між елементами що передбачується проектом конструкції, в прилягаючому елементі утворюють розділення кромок (малюнок 2.3, б) під кутом 45о. на практиці часто застосовують таврове з’єднання з підкладкою (малюнок 2.3, в). При товщині металу 8-30 мм, а також з’єднання з двохстороннім скосом кромок прилягаючого елемента при товщині сталі 8-40 (малюнок 2.3, г). Всі ці з’єднання зі зрізом кромок прилягаючого елемента забезпечують отримання суцільного шва та найкращі умови роботи конструкцій

Мал.2.3 таврове з’єднання и шви: а-для металу товщиною 2-40 мм; б - товщиною 3-60 мм; в-з’єднання з підкладкою; г-двох стороннім зрізом кромок

Напускним з’єднанням називають зварне з’єднання, в якому зварені кутовими швами елементи розміщені паралельно и частино перекривають друг друга. Стандартом передбачено два такі з’єднання: Н1 і Н2 (малюнок 2.4). Як видно з малюнка, вони відрізняються тільки тим що в з’єднанні на малюнку 2.4, а зварюються два торця до поверхні елемента, а в з’єднанні на малюнку 2.4, б-тільки один торець. Інколи застосовують різновиди напускного з’єднання: з накладкою (малюнок 2.4, в) і точковими швами (малюнок 2.4, г), з’єднуючими частини елементів конструкцій

Із перерахованих вище з’єднань найбільш міцним та економним вважається стикове з’єднання воно найкраще витримує навантаження і зусилля так як і цілий. Однак потрібно мати на увазі що обробка кромок стикових з’єднань та їх підготовка під зварювання достатньо складні.

2.2 Характеристика інструментів, матеріалів та устаткування, яке необхідне для роботи


При роботі на підприємстві, ознайомився з наступним обладнанням:

1) Зварювальний напівавтомат Fronius Vario Star 357

Технічні характеристики Vario Star 357:

Назва параметра Значення

Напруга живлячої мережі, В 3 х 380

Частота живлячої мережі, Гц 50/60

Номінальний зварювальний струм, А (при ПВ, %) 280 (60%)

(100%) Межі регулювання зварювального струму, А 30-370 Швидкість подачі електродної проволоки, м/хв. до 18 Кількість роликів, шт.4

Потужність електродвигуна подаючого механізму, Вт 1 64

Робоча напруга, В 15,5-32,5

Напруга холостого хода, В, не більше 43

Споживана потужність при номінальному струмі 220А, кВа 16,4

Діаметр електродної проволоки, мм 0,8-1,6

Тип роз’єму пальника евророзєм Вага, кг 138

Розміри, мм, не більше 895/465/860

2)"Зеніт" ЗСИ-250 М

Тип Електрозварювання Напруга 220 В Зварювальний струм 20-250 А Діаметр зварювального електрода 1.6-5.0 мм Захист від перегріву Є Додаткові характеристики Робоча частота: 50 Гц Потужність: 7.7 кВт Робочий цикл,% за 10 хв: 70 ККД: 85% Коефіцієнт потужності: 0.93 Ступінь захисту: IP21S Вага 5.3 кг

) Зварювальний інвертор Kaiser NBC-250

Характеристики Kaiser NBC-250

Назва параметра Значення

Напруга мережі, В 220

Напруга холостого ходу, В 75

Споживана потужність, кВт/кВА 10/н. д.

Мінімальний зварювальний струм, А 20

Максимальний зварювальний струм, А 200

Цикл роботи 40%

Мінімальний діаметр електрода, мм 1,6

Максимальний діаметр електрода, мм 5

Запобіжник мережі, А н. д.

Клас ізоляції Н

Клас захисту IP21

Розміри, мм 445х180х271

Вага, кг 6,6

4) СТШ-401-СГД-"Патон" Напруга живильної мережі, В-380 Номінальний зварювальний струм, А-400 Напруга холостого ходу, В-53 Тривалість навантаження, ПН% - 60 Межі регулювання зварювального струму, А-90-400, 25-400 Охолодження-примусове Габаритні розміри ДхШхВ, мм-540x520x595 Маса, кг-55 Номінальна споживана потужність, кВт-22 наявність стабілізатора

5) Електроди марки "Монолит" або "Ано-21”

"Ано-21” - Для зварювання конструкцій із низько вуглецевих сталей малих товщин, марок Ст3, 10,20 и др. Електроди забезпечують легке запалювання дуги, мілкочешуйчасте формування металу шва, легку або самовільну віддільні шлакової кірки. Вони можуть застосовуватися для зварювання водопровідних труб, газопроводів малого тиску. Тип покриття: рутил-целюлозне.

) інструмент та приладдя: шлаковіддільник, металева щітка, слюсарний молоток, штангель циркуль, лінійка, кутник, електродотримач, рукавиці спецодяг, маска або щиток, проводи (кабелі) - призначені для з'єднання джерела живлення з електродотримачем, світлофільтри та стекла, стіл зварника для підготовки та складання деталей під зварювання.

3. Організація робочого місця на основі практики попередніх робітників


У сучасних умовах високорозвиненого виробництва, оснащеного складною технікою, необхідний науковий підхід до організації праці на робочих місцях. Раціонально організоване робоче місце забезпечує умови праці і правильну побудову трудового процесу. Робоче місце є первинною ланкою виробничо-технологічної структури підприємства, в якій здійснюється процес виробництва, його обслуговування та управління. Досить цілеспрямовано мені було назначено керівника, для подальшого ознайомлення та роботи в період практики. Добрі відносини і система роботи персоналу, дали мені можливість швидше ознайомитись з устаткуванням, обладнанням, та підприємством загалом.

Місце спеціально обладнане для зварювальних робіт, називають зварювальним постом. До складу поста входить: джерело живлення зварювальної дуги (трансформатор, випрямляч тощо), пускова та захисна апаратура, зварювальні кабелі, електродотримач, або пальник і місце виробничої дільниці, на якому працює зварник.

Електродотримачі мають забезпечувати надійне закріплення покритих електродів у одній площині не менш як у двох положеннях

За конструктивним виконанням електродотримачі розрізняють пасатижні ЄП та ЄТ, важільні ЄР, защипні ЄДС та ЄУ, гвинтові ЄВ. Для підведення струму до електродотримача та виробу від джерела живлення застосовують гнучкі кабелі марок РГД, РГДО, РГДВ. Довжина зварювального кабеля за допомогою якого з’єднується електродотримач зазвичай дорівнює 2-3 м.

Інструменти зберігаються в ящику розміром 385х340х115 мм, маса інструментів з ящиком 6,5…9,5кг. Виготовляються також і набори інструментів.

зварювання інструмент з'єднання матеріал

До кожного такого набору входить: електродотримач з запчастинами; сполучна муфта; клема заземлення; щітка-зубило; викрутка з діелектричною ручкою; дві діелектричні ручки; комбіновані плоскогубці; гайковий розвідний ключ; клеймо зварника; молоток; два захисні світлові фільтри; відрізок кабелю марки РГД завдовжки 3м.

Кабіна для одного зварника має розміри 2х2х2 або 2х2,5м її каркас виготовляється з металу, а стіни й підлога з вогнестійких матеріалів. Дверний проріз закривають брезентовою завісою з вогне стійким просоченням.

Для збирання та зварювання деталей використовують металеві столи заввишки від 0,5 до 0,9м з гратами та витяжкою.

У кабіні для зварника є стілець з підйомним гвинтовим сидінням. Поруч з зварником часто розташовують стелажі та контейнери для заготовок і готових виробів, тумбочки з ящиками для зберігання інструментів, запасних деталей, шафу для зберігання особистих речей та документів.

4. Описання правил техніки безпеки


·        При провадженні електрозварювальних робіт на зварника діють промені зварної дуги, на очі й частини тіла. Можуть попасти бризки розплавленого металу й шлаку; йому загрожує небезпека враження електрострумом.

·        Безпека зварювальних робіт цілком залежить від рівня професійної майстерності, знань і уміння виконання їх зварником.

·        До виконання електрозварювальних робіт допускаються особи не молодше 18-літнього віку, які пройшли медичний огляд, навчені за програмою теоретичної і практичної підготовки, склали іспит кваліфікаційній комісії і мають посвідчення установленого зразка з вкладишем талона пожежної безпеки та яким присвоєна II група з техніки безпеки.

·        Осіб жіночої статі можна допускати до виконання ручного електродугового зварювання тільки на відкритих майданчиках, не в приміщенні.

·        Кожен електрозварник може бути допущений до роботи тільки після проходження ним ввідного (загального) інструктажу з техніки безпеки, виробничої санітарії та пожежної безпеки, інструктажу на робочому місці, який слід проводити при кожному переході на іншу роботу або при зміні умов праці.

·        Повторний інструктаж провадиться не рідше одного разу на три місяці. Проведення інструктажу реєструється у спеціальному журналі. Знання зварниками правил техніки безпеки перевіряються щорічно.

·        Електрозварювальна установка (трансформатор, агрегат, перетворювач) повинні мати паспорт, інструкцію по експлуатації та інвентарний номер.

·        Джерелами зварного току можуть бути спеціально призначені для електрозварювальних робіт трансформатори, генератори і випрямлячі. В електричну мережу їх включають тільки за допомогою пускових пристроїв. Здійснювати живлення зварною дугою від силової або освітлювальної електромережі забороняється.

·        Включати в електромережу і відключати від неї електрозварювальні установки, а також ремонтувати їх повинні тільки електромонтери. Зварникам виконувати ці роботи забороняється.

·        При одночасному використанні кількох трансформаторів їх встановлюють не ближче як 0,35 м один від одного. Відстань між ними і ацетиленовими генераторами повинна бути не менше 3 м. Електрозварювальні трансформатори слід перевіряти не рідше одного разу на місяць.

·        Оглядають і чистять установки пускової апаратури не рідше як один раз на місяць. Ізоляцію струмоведучих частин зварного ланцюга перевіряють не рідше як один раз на три місяці (при автоматичному зварюванні під шаром флюсу - один раз на місяць). При цьому втримується напруга 2 кВ протягом 5 хв. Результати перевірки реєструються в журналі.

·        Електродотримач повинен бути легким, зручним у роботі, забезпечувати надійний затиск і швидку зміну електродів, просто і надійно з'єднуватись зі зварювальним проводом, а також мати козирок, який захищає руку зварника.

·        Користуватися саморобними електродотримачами забороняється.

·        Держак електродотримача повинен бути з теплоізоляційного діелектричного матеріалу.

·        Забороняється застосовувати електродотримачі з підвідними проводами в держаку при силі току 600 А й більше. Як зворотний провід, який з'єднує зварювальний виріб з джерелом току, можуть бути гнучкі проводи, а також, де це можливо, стальні шини будь-якого профілю достатнього перерізу, плити і сама зварювана конструкція. Використання як зворотного проводу мережі заземлення металевих будівельних конструкцій, комунікацій і не зварюваного технологічного обладнання забороняється. Корпус зварювального трансформатора і вторинну обмотку необхідно заземлювати (занулювати). Діаметр заземлюючого гвинта - не менше 8 мм.

·        Виконують електрозварювальні роботи в спеціальному приміщенні, вільна площа якого (без обладнання) повинна бути не менше 3 м2 для кожного поста, підлога - щільна, з вогнестійких матеріалів, стіни пофарбовані світлою матовою фарбою (сірою, голубою, жовтою), стіл - заземлений, стілець - на ніжках з регулятором висоти сидіння, під ногами - килимок.

·        Працюючи на висоті, зварник повинен мати пенал для недогарків електродів.

·        Роботу в закритих місткостях слід вести не менше як двом особам, причому одна повинна мати кваліфікаційну групу не нижче II і знаходитися зовні зварювальної місткості для контролю за безпечним веденням роботи зварником. Електрозварник, який працює всередині місткості, забезпечується запобіжним поясом з прив'язаною до нього вірьовкою, кінець якої повинна тримати особа, що знаходиться за місткістю.

·        Електрозварювальні установки, що працюють в особливо небезпечних умовах, повинні забезпечуватися пристроями автоматичного включення. Місця провадження робіт при відсутності неспалимого захисного настилу, захищеного неспалимим матеріалом, повинні бути захищені від спалимих матеріалів у радіусі не менше 5 м, а від вибухонебезпечних 10 м.

·        Електрозварник повинен бути забезпечений необхідними засобами індивідуального захисту - брезентовим костюмом, черевиками, щитками-масками з світлофільтрами

·        При зварюванні стелі, крім спецодягу, взуття та рукавиць, зварнику слід користуватися шлемом, азбестовими або брезентовими нарукавниками, а при зварюванні кольорових металів і сплавів з вмістом цинку, міді, свинцю - респіраторами і хімічним фільтром.

·        З'єднують зварювальні проводи методом гарячого паяння, зварювання або за допомогою з'єднувальних муфт з ізолюючою оболонкою. Над зварювальними установками, які знаходяться на відкритому повітрі, повинні бути навіси, у противному разі роботи під час дощу, снігопаду слід припиняти. Місця електрозварювальних робіт треба огороджувати від дії електричної дуги на оточуючих не менше, як з трьох боків.

·        Для видалення шкідливих речовин над робочим місцем зварника влаштовують вентиляційні відсмоктувачі (зонти) на відстані не більше 0,5--0,8 м від зварної дуги.

·        У майстернях, на будівельних майданчиках, робочих місцях необхідно вивішувати плакати, попереджувальні написи про небезпеку опромінення очей і шкіри працюючих. Усі обертові частини зварних агрегатів повинні бути огороджені.

·        Електрозварювальна установка повинна бути зареєстрована, паспорт та інструкція по експлуатації знаходитися у головного механіка підприємства. Кожен зварювальний агрегат слід підключати до індивідуального рубильника з запобіжниками або до автомата.

·        Електрозварювальні установки, що знаходяться над землею або перекриттям на висоті більше 2 м обладнуються освітленими робочими майданчиками з настилом, драбинами і поручнями.

·        працювати з несправною апаратурою, зварювати свіжопофарбовані конструкції та вироби до повного висихання фарби, користуватися одягом і рукавицями зі слідом на них масел, жирів, бензину, гасу та інших горючих рідин;

·        зберігати в зварювальних кабінах одяг, горючу рідину та інші легкозаймисті предмети або матеріали, допускати стикання електричних проводів з балонами зі стиснутими газами;

·        зварювати або нагрівати відкритим вогнем апарати і комунікації, заповнені горючими і токсичними речовинами, а також знаходитися під тиском негорючих рідин, газів, парів, повітря та електричної напруги.

·        Не допускаються до роботи на автоматі або півавтоматі особи, які не мають відношення до електрозварювання. Опиратися або сідати на трансформатор і апаратний ящик автомата забороняється. Не можна торкатися струмоведучих частин трансформатора і апаратного ящика автомата і півавтомата. Тим, хто працює на автоматах, забороняється усувати несправності - замінювати запобіжники, вкладиші струмовводу.

·        У перервах між подачею електроенергії, при відході робітника від робочого місця (навіть на короткий час), несправностях автомата чи пристроїв, чищенні, змазуванні автомата та прибиранні робочого місця автомат обов'язково треба виключити. При зварюванні на автоматі відкритою дугою для захисту очей слід користуватися екраном з захисним склом, установленим на автоматі. Якщо при зварюванні світло електричної дуги проскакує з-під флюсу, треба підняти головку автомата і збільшити подачу флюсу;


Висновок


Проходження навчальної практики проходило в дружньому колективі, кожен член якого намагався мені допомогти в засвоєнні практичних знань та виконанні моїх прямих обов’язків. При проходженні практики я виконав ті цілі та завдання які були поставлені в коледжі. Мені були надані всі необхідні можливості та дані для проходження навчальної практики на підприємстві. За час проходження практики я здобув необхідний багаж знань для подальшого навчання. В мене з’явилися невеликі труднощі у володінні кисневим різаком через відсутність практичного досвіду. Жодного дискомфорту з недостачі матеріальних ресурсів та технічного забезпечення я не відчував.

Керівник практики показав себе кваліфікованим працівником та передав мені всі необхідні знання для роботи.

Список використаної літератури


1.       http://fronius.com

2.       <http://bria.com.ua>

3.       http://uk. wikipedia.org/ <http://uk.wikipedia.org/>

.        Баласанян Р.А. "Атлас деталей машин: Навчальний посібник для техн. вузів." - Х.: Основа, 1996-256с.

.        Технология и оборудование сварки плавлением/А.И. Акулов и др. М.: Машиностроение, 1977. −432 с.

.        Технология и оборудование сварки плавлением /Под ред. Г.Д. Никифорова.

.        Теория сварочных процессов: Учеб. для ВУЗов по спец. "Оборудование и технология сварочного производства" /под ред.В. В. Фролова. - М.: Высшая школа, 1988. - 559 с.

.        Федин А.П. Сварочное производство - Минск "Вышейшая школа", - 1992. −303 с.

Похожие работы на - Особливості виконання зварювальних робіт

 

Не нашли материал для своей работы?
Поможем написать уникальную работу
Без плагиата!
Без нейросетей!