Разработка технологического процесса изготовления детали 'Направляющая'
Министерство
образования и науки РФ
Южно-Уральский
государственный университет
Кафедра
“Станки и инструмент”
Пояснительная
записка к курсовой работе
По
дисциплине "Технологические процессы в машиностроении"
Разработка
технологического процесса изготовления детали "Направляющая"
Автор работы
Студент группы зф-218
Никитин А.А.
Челябинск
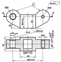
1.Анализ технологичности детали
Материал детали - литейная сталь с квадратным сечением,
корозионностойкая, обладающая стойкостью в агрессивных средах, например в
концентрированной азотной кислоте.
Сталь 16Х18Н12С4ТЮЛ
.16% углерода
% хрома
% никеля
% кремния
% алюминия
% титана
Л - литейная.
Процесс изготовления детали.
.Зенковка - две фаски 4*45 .
.Нарезание резьбы метчиком М 16
. Зенкерование отверстия диаметром 20 мм.
.Развёртывание отверстия 20-0.04, Ra 0.63
.Протягивание квадратного сечения 30+0.04.Ra 0.63.
деталь заготовка технология литье резание
НАПРАВЛЯЮЩАЯ
2. Технология получения заготовки
.1 Возможные способы получения заготовки
Перечислим возможные способы получения заготовки. Заготовку для заданной
детали можно получить литьём так как сталь литейная. Литьё в пестчано-глинестые
формы, литьё в оболочковые формы, литьё по выплавляемой модели, литьё в кокиль
, литьё под давлением. Программа выпуска серийная (2000 штук),то для большей
производительности и снижения припусков на механическую обработку и получения
высокой точности заготовки целесообразно получать заготовку литьём под
давлением.
Литьём под давлением мы получим приближённые размеры отверстий , контур
резьбы к заданным и нужный класс шероховатости.
Сущность процессов литья
Литьем (или литейным производством) называют метод производства, при
котором изготовляют фасонные заготовки деталей путем заливки расплавленного
металла в заранее приготовленную литейную форму, полость которой имеет
конфигурацию заготовки детали. После затвердевания и охлаждения металла в форме
получают отливку-заготовку детали.
Основной задачей литейного производства является изготовление литейных
сплавов отливок, имеющих разнообразную конфигурацию с максимальным приближением
их формы и размеров к форме и размерам детали (при литье невозможно получить
отливку, форма и размеры которой соответствует форме и размерам детали).
Инструментом литейного производства является литейная форма -
приспособление образующее рабочую полость, при заливке которой расплавленным
металлом и после охлаждения получают отливку.
По степени использования формы делят на :
разовые;
полупостоянные;
постоянные;
Разовые формы служат для изготовления только одной отливки и изготовляют
их из кварцевого песка, зерна которого соединены каким-либо связующим веществом.
Полупостоянные формы - это формы в которых получают несколько отливок (до
10-20), такие формы изготовляют из керамики.
Постоянные формы - формы, в которых получают от нескольких десятков до
нескольких сотен тысяч отливок. Такие формы изготовляют обычно из чугуна или
стали.
Различные по форме, размерам и точности отливки из различных сплавов
невозможно наиболее экономично получить одним и тем же способом. Экономически
целесообразно изготовлять отливку с определенными качественными свойствами
каким-либо одним или двумя способами. В настоящее время в производстве
используют около 15 способов литья, а в производстве приборов применяют
следующие способы литья:
) литье в песчаные формы.
) литье в оболочковые формы;
) литье в кокиль (металлические защищенные формы);
) литье по выплавляемым моделям;
) литье под давлением;
) центробежное литье;
Основные этапы производства отливок
Последовательность производства отливок рассмотрим на примере литья в
песчаные формы. Этот способ изучается в учебных мастерских:
. Разработка чертежа отливки.
. Изготовление модели и стержневого ящика.
. Изготовление формы из заранее приготовленной формовочной смеси.
. Сборка формы (установка ранее изготовленного из стержневой
смеси стержня и соединение частей формы).
. Заливка формы ранее расплавленным сплавом или металлом.
. Охлаждение формы с отливкой.
. Освобождение отливки от формы.
. Отрезка литников и прибылей
. Отжиг отливок.
. Термообработка.
. Контроль.
Основные свойства литейных сплавов и влияние их на качество
отливок
К основным свойствам литейных сплавов относят следующие:
Жидкотекучесть - это способность сплава в жидком состоянии заполнять
литейную форму и воспроизводить ее очертания в отливке. Жидкотекучесть
определяют по стандартной пробе в виде канала определенной длины и диаметра с
литниковой чашей.
Простейшая
проба на жидкотекучесть
Жидкотекучесть
определяют по длине пути, пройденному жидким металлом до затвердевания. Чем
длиннее пруток, тем больше жидкотекучесть. Высокую жидкотекучесть (>700 мм)
имеют силумины, серый чугун, кремнистая латунь;
среднюю
жидкотекучесть (350-340 мм) имеют углеродистые стали, белый чугун,
алюминиево-медные и алюминиево-магниевые сплавы;
С
повышением температуры сплава жидкотекучесть увеличивается.
Кристаллизация
- это процесс перехода от жидкого состояния расплава к твердому состоянию с
образованием структуры. Кристаллизация сплава происходит в направлении
перпендикулярном поверхности теплоотвода. Скорость кристаллизации меняется от
максимальной у поверхности до минимальной в центре стенки отливки.
Изменение
кристаллической структуры по сечению отливки.
-
литейная “корка”. 2 - столбчатые кристаллы.
-
крупнозернистые кристаллы. 4 - литейная форма.
Для
создания равномерной кристаллической структуры желательно уменьшить толщину
отливки. Наилучшие свойства имеют сплавы при мелкокристаллической
(мелкозернистой) структуре. Изменением скорости охлаждения невозможно
достигнуть равномерной структуры. С целью получения мелкозернистой структуры в
сплавы вводят особые добавки - модификаторы для силумина АЛ -2 - натрий, для
серого чугуна - магний.
Процесс
кристаллизации и кристаллическое строение отливки зависят от ее формы,
температуры заливки сплава, от марки сплава, от вида литейной формы. На рис.2
показана качественная картина влияния этих параметров на кристаллическое
строение отливки.
.
Усадка - свойство металлов и сплавов уменьшать свои размеры и объем при
затвердевании и охлаждении. При затвердевании отливки выделяются также ранее
растворенные расплавом газы. Усадка может способствовать образованию усадочных
раковин, а выделяющиеся при охлаждении отливки газы способствуют образованию
газовых раковин. Различают линейную и объемную усадку.
Линейная
усадка изменяет линейные размеры отливки по сравнению с соответствующими
размерами формы и при неблагоприятной конструкции заготовки образует трещины и
коробление из-за торможения усадки в отдельных местах.
Объемная
усадка приводит к образованию усадочных раковин.
Схема
образования усадочной раковины (а - г) и схема вывода усадочной раковины в
прибыль (д).
Представлена
схема образования концентрированной усадочной раковины. Часто имеют место
случаи образования рассеянных раковин. При затвердевании в полости формы есть
три фазы сплава:
)
жидкая,
)
твердая,
)
жидкая и твердая или двухфазная зона.
При
затвердевании в двухфазной зоне могут возникнуть рассеянные поры. Увеличение
толщины твердого слоя происходит до тех пор пока в двухфазной зоне не возникает
сплошной скелет из кристаллов. Теперь жидкий металл, питающий затвердевающую
зону встречает значительное сопротивление своему продвижению, которое
увеличивается по мере уменьшения ячеек указанного скелета. И при прекращении
питания каких-либо ячеек при дальнейшем охлаждении в них возникает усадочная
межкристаллическая раковина. Раковины там меньше, чем позже прекратилась связь
жидкого раствора с питаемой ячейкой.
В
этом случае возникает рассеянная микропористость. Эти поры нарушают сплошность
металла и могут при значительных механических нагрузках являться
концентраторами напряжений (как надрезы) и тем самым ухудшать механические
свойства деталей.
Для
уменьшения влияния на качество отливки усадочных концентрированных раковин
применяют два способа:
а)
одновременное затвердевание,
б)
направленное затвердевание.
Одновременное
затвердевание - это одновременная и равномерная кристаллизация расплава во всех
частях отливки, что обеспечивается определенными условиями. Приближенно эти
условия можно считать выполненными, если толщина отливки во всех ее точках
неизменна или изменяется равномерно. Наилучшим образом соблюдаются эти условия
при возможно меньшей толщине стенки.
При
направленном затвердевании кристаллизация отливки происходит последовательно в
направлении противоположном вектору отвода тепла и источнику питания жидким
сплавом. При направленном затвердевании отливка получается наиболее плотной,
без концентрированных раковин, которые выводятся в прибыль.
Направленное
затвердевание можно осуществить несколькими путями:
а)
охлаждением нижней части формы или нагревом прибыли;
б)
конструкцией отливки, имеющей с постепенно увеличивающейся толщиной в
направлении к прибыли;
в)
подводом расплавленного металла под прибыль.
.
Поглощение газов в значительной мере зависит от вида и свойств газа, природы
растворителя, температуры и давления. Если воде с повышением температуры
растворимость газов уменьшается, то в жидких металлах и сплавах растворимость
газов может увеличиваете с увеличением температуры.
Для
уменьшения объема растворенных газов, газовых раковин и пористости применяют
следующие методы:
а)
дегазации исходных (шихтовых) материалов;
б)
дегазацию жидкого металла перед заливкой в форму;
в)
предупреждения выделения газов из раствора в процессе кристаллизации металла в
форме.
.
Склонность к образованию неметаллических включений
В
затвердевшем сплаве окислы, нитриды, более тугоплавкие соединения и др.,
являются телами, нарушающими сплошность и единообразие его структуры.
Неметаллические включения неблагоприятно оказываются на физико-химических
свойствах,
.
Ликвация
При
охлаждении сплава в форме вследствие неодинаковой удельной массы, неодинаковой
температуры кристаллизации составляющих сплава в отдельных участках возникает
химическая неоднородность - ликвация. Ликвация зависит от скорости охлаждения
большая скорость охлаждения способствует получению более однородного по
химическому составу отливки, к получению отливки с лучшими механическими
свойствами.
Литейные
сплавы и их характеристика
Чугун
- многокомпонентный сплав железа с углеродом и другими компонентами (углерода
2-4%).На характер кристаллизации чугуна влияют содержание элементов (C, Si, Mn, P, S ) и
скорости охлаждения. При этом структура и свойства чугунов различны:
если
весь углерод кристаллизуется в виде графита, а металлическая основа в виде
феррита, то получают серый чугун,
если
же весь углерод кристаллизуется в составе цементита Fe3C ,
то получают белый чугун.
В
половинчатом чугуне находятся одновременно графит и свободный цементит.
Получающиеся при кристаллизации структуры можно существенно изменить
последующей термообработкой.
Чугун
широко применяют благодаря хорошим технологическим свойствам (хорошая
жидкотекучесть и обрабатываемость резанием) и малой относительной стоимости.
Стали
- железоуглеродистые сплавы, содержащие до 2% С. Кроме углерода в сталях
содержатся Mn, Si, S, P, N, H, O и другие элементы. Стали с добавкой Cr, Ni, Mo, V, W
имеют особые физические, физико-химические свойства или повышенную прочность.
В
производстве применяют три группы литейных сталей: конструкционные,
инструментальные и легированные. Литейные свойства сталей ниже литейных свойств
чугунов, легированные стали имеют плохие литейные свойства. При усадке получают
раковины и пористость.
Плотные
(без пор и раковин) отливки получают при правильной их конструкции, то есть
когда есть прибыль или обеспечено направленное затвердевание. Усадка в твердом
состоянии может вызвать горячие или холодные трещины, коробление отливок,
высокие внутренние напряжения и изменение литейных размеров.
Алюминиевые
сплавы - сплавы основной составной частью которых является алюминий. В качестве
дополнительных компонентов, создающих те или иные специфичные технологические
свойства, применяют кремний, медь, магний, титан, натрий, марганец.
Добавка
кремния улучшает литейные свойства, добавка меди улучшает обрабатываемость резанием,
магний увеличивает коррозионную стойкость и прочность.
Магниевые
сплавы - сплавы на магниевой основе и в зависимости от требуемых свойств
содержащие добавки: марганец, алюминий, цинк, цирконий и другие редкоземельные
элементы. Литейные свойства удовлетворительные.
Медные
сплавы - сплавы не медной основе с добавками различных элементов; различают две
основные группы медных сплавов:
латуни
- сплав меди с цинком;
бронзы
- сплав меди с другими (Кроме цинка) элементами.
Литейные
свойства - удовлетворительные.
Титановые
сплавы - сплавы на основе титана, содержащие добавки, которые создают особые
свойства. Литье этих сплавов связано с большими технологическими трудностями
(из-за активного взаимодействия расплава с материалами формы).
)
Литьё в песчаные формы
Литье
в песчаные формы обеспечивает невысокое качество поверхности (ниже Rz =320 мкм), низкую точность (ниже 16 квалитета), трудно
автоматизируется и не обеспечивает удовлетворительные условия труда. Для
получения более высоких качественных показателей применяют литье в формы из
жидких самоотвердевающих смесей (ЖСС). Этот способ литья применяют в любом виде
производства.
Формовочная
смесь состоит из связки - жидкой композиции и огнеупорной составляющей -
наполнителя. Наполнителем являются мелкозернистые кварцевые пески и
феррохромовый шлак. В жидкую композицию входит жидкое стекло,
поверхностно-активные вещества и вода.
Для
приготовления формовочной смеси - ЖСС - используют специальные установки.
Схема
получения оболочки бункерным способом.
Сначала
в растворомешалке тщательно перемешивают песок и шлак в течение 1-1,5 мин,
затем - жидкая композиция и производят перемешивание 1,5-2 мин. При этом
образуется пенообразная масса, имеющая жидкотекучесть.
Модели
и стержневые ящики изготовляют из дерева и металла. Поверхность деревянных
моделей и стержневых ящиков покрывают нитрошпаклевкой и затем красят
нитрокраской, так как ЖСС обладает повышенной прилипаемостью к дереву.
Изготовление
форм и стержней длится несколько секунд путем подачи под действием собственной
массы ЖСС на модель или в стержневой ящик. Для их легкого отделения от
застывшей формы модели и подмодельные плиты покрывают разделительным покрытием.
Изготовление формы занимает несколько секунд. Затем форму подвергают сушке.
Дальнейшие
операции: сборки и заливки формы и другие делают также как и при литье в
песчано-глинистые формы. Так как заливку металла осуществляют в сухую форму,
теплопроводность которой меньше чем теплопроводность сырой формы, то можно
получать более тонкие стенки.
Применение
способа. Способ применяют для изготовления больших корпусов приборов из чугуна
и алюминиевых сплавов с толщиной стенки 4...6 мм, точностью 14...16 квалитета,
шероховатостью поверхности Rz =80...40 мкм,
Процесс
можно легко механизировать в автоматизировать.
)
Литье в оболочковые формы
Этот
способ является, как и предыдущие, способом литья в разовые формы. Для
изготовления тонких оболочковых форм нужно в 20-30 раз меньше формовочных
материалов, чем для песчаных или форм из ЖСС. Способ применяют для стальных, и
для алюминиевых отливок, простой конфигурации без внутренних полостей в
серийном производстве.
Способ
обеспечивает получение шероховатости поверхности Rz
=80...40 мкм, и точность - 12...14 квалитет. Способ легко можно механизировать
и автоматизировать.
Применяют
следующие способы:
бункерный;
прессования
через резиновую диафрагму;
пескодувный.
В
основе бункерного способа положен принцип поворотного бункера
Порядок
получения оболочки следующий.
Схема
получения оболочки бункерным способом.
Нагретую
до 200оС и смазанную разделительным слоем (силикововый лак №5)
модель закрепляют на съемной крышке бункера, затем бункер поворачивают на 180о
и формовочная смесь попадает на модель, пульвербакелит расплавляется и
склеивает песчинки, образуя оболочку. Толщина оболочки зависит от времени
выдержки формовочной смеси на модели. В течение 15-20 с образуется оболочка
толщиной 8-12 мм. Затем бункер поворачивают в исходное положение,
нерасплавленная смесь ссыпается вниз, а модель с оболочкой помещают в
электропечь с температурой 250-300о С, где происходит окончательная
полимеризация пульвербакелита. Наилучшее качество отливок получают при
использования вибрации бункера, несколько хуже при прессовании оболочек через
резиновую диафрагму.
Полученную
оболочку снимают с модели специальными механизированными выталкивателями,
встроенными в модельную плиту.
Затем
оболочковые полуформы склеивают клеем БФ-2 или №88 в нагретом состоянии, а
перед заливкой зажимают пневматическими зажимами с резиновыми амортизаторами
или устанавливают в рабочем положении в формовочном ящике с помощью песка или
металлической дроби.
Оболочковая
форма перед заливкой металла.
)
Литье в кокиль
В
приборостроении литье в кокиль (кокиль - это металлическая форма, имеющая
защитную огнеупорную облицовку на рабочей поверхности) применяют для отливки
толстостенных деталей из алюминиевых или магниевых сплавов, реже из чугуна в
серийном и массовом производстве.
Экономическая
целесообразность кокильного литья зависит от стойкости металлической формы.
Для
равномерного охлаждения отливки металлическая форма должна иметь стенки
постоянной толщины, равной
b=13=0.6отл
где
b - толщина стенки кокиля, мм.
dотл - средняя толщина стенки отливки, мм.
На
рис.6 представлена конструкция створного кокиля с одной вертикальной плоскостью
разъема.
Створочный
кокиль с вертикальной плоскостью разъема.
Кокиль
с вертикальной плоскостью разъема:
-
вентиляционные каналы.
-
металлические стержни.
,5
- две головки кокиля.
-
литник.
-
ребра жесткости.
Отверстия
в отливках оформляют металлическим или песчаным стержнями. Металлические
стержни применяют для неглубоких отверстий, имеющих конусность 10о.
В остальных случаях применяют сухие песчаные стержни. Рекомендуют применять
также оболочковые стержни.
В
массовом производстве закрытие и открытие кокиля и удаление отливки
осуществляют автоматически. Для этого применяют станки с пневматическим или
гидравлическим приводом.
Для
повышения стойкости кокилей их рабочую поверхность вскрывают после изготовления
каждых 50...100 отливок огнеупорной облицовки толщиной 0,1..0,5 мм (ее состав в
%-х для алюминиевых сплавов: окись цинка 5, жидкое стекло - 2, вода - 93).
Кроме
облицовки перед каждой заливкой рабочую поверхность кокиля смазывают тонким
слоем краски на основе мела и жидкого стекла.
Качественные
параметры отливок: точность 12...13 квалитет, шероховатость поверхности - Rz =80...20 мкм.
4)
Литье по выплавляемым моделями
Литье
по выплавляемым моделям применяют в приборостроении для изготовления отливок
различной сложности из любых сплавов массой от нескольких граммов до нескольких
килограммов с толщиной стенок 0,4-20 мм, точностью размеров до 12 квалитета и шероховатостью
поверхности до Rz =20 мкм. Способ применяют при любом виде
производства.
Процесс
литья заключается в изготовлении моделей из легкоплавкого материала, покрытия
моделей тонкой огнеупорной оболочкой , выплавление модельного материала из
огнеупорной оболочки и заливки освободившейся от моделей полости металлом.
В
процессе литья по выплавляемым моделям применяют две формы. Первую форму
используют для изготовления моделей, вторая форма - это литейная изготовляемая
на основе мелкого песка и связующего вещества.
Конструкция
модельной формы - прессформы зависит от вида производства. Для опытного и
единичного производства применяют прессформы с ручным разъемом и выталкиванием,
в серийном и массовом производстве изготовление моделей механизировано или автоматизировано.
Пресс-форма
для изготовления выплавляемых моделей
Размеры
рабочей полости определяют с учетом усадки материала и изменения размеров формы
при нагреве.
Изготовление
моделей и модельных блоков. Для изготовления моделей применяют выплавляемые,
растворяемые и выжигаемые модельные составы. Наиболее часто применяют
выплавляемые составы. Основными компонентами выплавляемых составов являются
парафин и стеарин.
Примеры
составов:
(температура
запрессовки 42-45оС)
ПС-50-50
- парафин 50%, стеарин 50%
ПС-70-30
- парафин 70%, стеарин 30%
(температура
запрессовки 58-60оС)
ППэ-85-15
- парафин 85%, полиэтилен 15%
Модельный состав расплавляют в водяном термостате и заливают под давлением
0,5...0,6 МПа/мм2 в прессформу. Для получения более точных деталей
нужно запрессовывать модельный состав при температуре 42...43оС,
когда усадка равна 0,8% (При 50оС - усадка 2-2,5%). После охлаждения
модельного состава до 15...18оС модель удаляют из формы. Для
быстрого охлаждения прессформы охлаждают в холодильнике до 10оС.
После этого модели зачищают по плоскости разъема и собирают в блок.
) Литье под давлением
Литье под давлением является самым производительным способом изготовления
тонкостенных деталей сложной конфигурации в серийном и массовом производстве.
Процесс литья заключается в заливке расплавленного металла в камеру сжатия
машины и последующем выталкивании его через литниковую систему в полость
металлической формы, которая заполняется под давлением. Заполнение полости
происходит при высокой скорости впуска металла, которая обеспечивает высокую
кинетическую энергию, поступающего в форму металла:
где
m - масса расплавленного металла, v -
скорость металла,
p - давление, gm - удельная масса металла.
Энергия
движения струи при резком замедлении ее скорости в форме до нуля частично
переходит в тепловую энергию, повышающую температуру металла в его
жидкотекучестъ и создает гидродинамическое давление на стенку формы:
Скорость
выпуска при литье под давлением в зависимости от типа отливки и сплава может
быть в пределах от 0,5 до 120 м/с. Различают три способа литья под давлением.
.
Литье с низкими скоростями впуска (0,5-2,5 м/с), обеспечивающее заполнение
формы сплошным ламинарным потоком. Применяют этот способ для изготовления
толстостенных отливок из алюминиевых сплавов и латуней.
.
Литье со средними скоростями впуска (2-15 м/с), обеспечивающее турбулентное
движение расплавленного металла, при котором в результате срыв струй
захватываются в поток металла пузырьки воздуха, оттесняемые затвердевающим
сплавом к середине отливки. Это создает воздушную пористость, которую удалить
почти невозможно, но можно уменьшить под действием высокого давления.
Изготовляют при этом отливки средней сложности.
.
Литье с высокими скоростями впуска (более 30 м/с), обеспечивает заполнение
только в режиме турбулентного течения истока расплава, но и со значительным его
распылением, результатом которого является еще больший объем захваченного в
полость отливки воздуха, для уменьшения воздушной пористости и в этом случае
создают высокое давление [до 500МПа(н/мм2)] Этот способ применяют
для тонкостенных отливок сложной конфигурации.
Для
литья под давлением применяют литейные машины с горячей и холодной камерой
прессования.
Машины
с горячей камерой прессования применяют для отливок, материал которых имеет
температуру плавления не более 450°С.
Схема
литья под давлением на машине с горячей камерой прессования.
Камера
сжатия такой машины погружена всегда в расплав металла, а при поднятии вверх
прессующего поршня заполняется расплавом и при рабочем ходе (вниз) прессующего
поршня расплав из камеры сжатия вытесняется в рабочую полость литейной формы.
После охлаждения отливки форму раскрывают и отливку из нее при этом удаляют.
Машины
для литья под давлением с холодное камерой прессования применяет для отливок,
материал которых имеет температуру плавления 450°С. В производстве применяют
машины с вертикальной и горизонтальной камерой прессованиям Использование машин
с горизонтальной камерой прессования предпочтительнее, так как в них меньше
потери тепла, давления и металла из-за более короткой литниковой системы..

Схема
литья под давлением на машине с холодной горизонтальной камерой прессования;
камера
сжатия;
прессующий
поршень;
водоохлаждающие
каналы;
стержень;
выталкиватель;
подвижная
полуформа;
неподвижная
полуформа;
С
помощью мерного ковша расплав заливают в камеру сжатия, откуда прессующий
поршень вытесняет его в рабочую полость формы. Здесь расплав остывает и затем при
раскрытии формы отливка автоматически удаляется из формы. Для поддержания
температуры формы на определенном уровне (предупреждения перегрева) в форме
предусмотрено охлаждение водой с помощью специальных каналов.
Требования
и литейным сплавам для литья под давлением:
.
Достаточная прочность при высоких температурах, чтобы отливка не ломалась при
выталкивании.
.
Минимальная усадка.
.
Высокая жидкотекучесть при небольшом перегреве.
.
Небольшой интервал кристаллизации
.
Этим требованиям удовлетворяют сплавы на основе цинка, алюминия, магния и меди.
Основными
факторами, определяющими выбор того или иного способа литья под давлением (в
зависимости от скорости впуска) и сплава является конфигурация отливки и
требования к качеству.
.
При литье под давлением получают высокое качество отливок. Достижимая точность:
9-11 квалитет по размерам, получаемым в одной части литейной формы и 11-12
квалитет по размерам, получаемым в двух частях формы. Точность зависит от
точности изготовления формы, обычно форму изготовляют на 1-2 квалитета точнее
детали. Выше указана экономически достижимая в производстве точность.
.
Шероховатость поверхности отливки зависит от шероховатости поверхности рабочей
поверхности формы, продолжительности ее эксплуатации и материала отливки. Обычно
рабочую поверхность формы полируют (при этом достигают параметр Ra=0,16 мкм). При литье до 500 отливок получают шероховатость поверхности
Ra=1,25-0,63 мкм - для отливок из цинковых сплавов. Ra =2,5-1,25 мкм - для отливок из алюминиевых сплавов и Ra =2,5- Rz мкм - для медных сплавов, а при изготовлении 10000
отливок соответственно получают Ra =2,5-1,25 мкм, Ra
=2.5 - Rz =20 мкм, Rz = 160-80 мкм.
.
При питье под давлением механические свойства неравномерны по толщине отливки и
отличаются в лучшую сторону по сравнению с этими свойствами отливок полученных
другим способом. При быстром охлаждении у отливок образуется литейная корочка с
мелкозернистой структурой, толщина которой не более 1-1-1,5мм. Поэтому
тонкостенные отливки имеют мелкозернистую структуру, повышенную прочность (на
20-30%).
.
Важным показателем качества является пористость, вскрываемая при механической
обработке и являющаяся причиной брака. Так как пористость всегда имеет место
при литье сложных тонкостенных деталей, то необходимо применять конструктивные
меры для предупреждения вскрытия пор. В этом случае для уменьшения влияния
воздушной пористости на качество необходимо устранять механическую обработку
отливок, предусматривать отливку отверстий. А при необходимости механообработки
назначать припуск не более 0,5 мм.
Особенностью
конструкции отливок при литье под давлением является наличие приливов для
выталкивателей. Приливы для выталкивателей создают в тонкостенных отливках со
стороны подвижной части формы для предупреждения деформации и прокола отливок
выталкивателями.
)
Центробежное литьё
Прямо
из ковша раскалённый метал наливают во вращающуюся форму N-1500-2000
оборотов в минуту.
На
машинах с вертикальной осью - получают изделие небольшой высоты.
На
машинах с горизонтальной осью - получают трубы до 5метров в длину и диаметром
300мм. Производительность 50метров в час.
3.
Технология получения заготовки
.1
Возможные способы получения заготовки
Перечислим
возможные способы получения заготовки.
Заготовку
для заданной детали можно получить литьём так как сталь литейная. Литьё в
песчанно-глинестые глинестые формы, литьё в оболочковые формы, литьё в кокиль,
литьё по выплавляемой модели и литьё под давлением. Так как программа выпуска
серийная (2000 шт.), то для большей производительности и снижения припусков на
механическую обработку целесообразно получить заготовку литьём под давлением.
Тем самым мы получим приближённые размеры отверстий и контур резьбы к заданным.
Разработка
технологии получения детали резанием
Получая
заготовку литьём под давлением, мы получаем приближённые к требуемым размерам
отверстия, контур резьбы и точную форму детали с классом шероховатости, тем
самым избегаем черновую обработку резанием.
Снятие
фасок, зенкерование, развёртывание и нарезание резьбы метчиком получим на
радиально-сверлильном станке. Квадратное отверстие сделаем квадратной протяжкой
на горизонтально-протяжном полуавтомате.
После
достижения требуемых размеров передаём деталь на операцию контроля.
Наиболее
эффективным и экономически обоснованным будет применение радиально-сверлильного
и горизонтально-протяжного станка.
На
радиально-сверлильном станке произведём обработку 4 фасок зенковкой в две
установке .Вторая операция будет зенкерование, зенкером. Окончательную операцию
по обработке отверстия с допуском -0.04 мы получим развёрткой. Операцию
нарезание резьбы мы выполним также на радиально-сверлильном станке метчиком.
Следующая операция опирация будет выполнятся на горизонтально-протяжном
полуавтомате квадратной протяжкой.
Описание
переходов операции
.)Закрепляем
заготовку в приспособлении на радиально-сверлильном станке 2Ш55.
.)Делаем
две фаски под 45 градусов в отверстиях.
.)Переустанавливаем
деталь и выполняем операцию №2.
.)Зенкером
из твёрдого сплава для обработки коррозионно-стойкой стали ВК6М обрабатываем
отверстие .
.)Развёрткой
из твёрдого сплава для коррозионно-стойкой стали ВК6М получаем нужный размер
отверстия 20-0.04., с шероховатостью Ra0.63.
.)Метчиком
из твёрдого сплава ВК6М нарезаем резьбу М16.
.)Протягиваем
квадратное отверстие на горизонтально-протяжном полуавтомате для внутреннего
протягивания 7Б55У , квадратной протяжкой и получаем квадратное отверстие
30+0.04., с шероховатостью Ra0.63.
После
обработки детали резанием передаём на операцию контроля
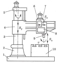
Радиально-сверлильный
станок.
Инструмент
используемый на сверлильном станке.
А-
зенковка, Б- развёртка, В- зенкер, Г- метчик.
Протяжка
для квадратных отверстии
Контроль
размеров детали
Данная
операция необходима для контроля полученных размеров. Инструмент, применяемый
при измерении размеров, зависит от точности измерения (количества знаков после
запятой). После измерения всех размеров, следует сравнить их с допусками на
размер. Если контролируемые параметры вписываются в допуск, то можно
производить дальнейшею обработку детали. Если же нет то имеет место брак. После
обнаружения брака нужно установить характер брака исправляемый или не
исправляемый. Если брак является исправимый, то следует его исправить, если же
нет то деталь нужно отправить на переплав. Данная операция проводится после
всех финишных механических обработок.
Заключение
В
данном курсовом проекте были рассмотрены несколько способов получения заготовок
и найден наиболее эффективный способ - литьё под давлением, также рассмотрен
способ получения детали.
Список
используемой литературы
деталь заготовка технология литье резание
1. Технология
конструкционных материалов. А.М. Дальский 1990г.
2. Справочник
технолога-машиностроителя А.Г. Косилова 1985г.
3. Технология
конструкционных материалов. Сборник заданий к курсовой работе. А.В. Щурова
2007г.