Автоматизация процесса ректификация
1. Исходные данные
- Регламент технологического процесса
Данные для расчета ротаметра:
Конусность: К = 0,01;
Длина шкалы: l = 0,25 м;
Количество оцифрованных отметок на шкале:11;
Диаметр трубки в месте нулевого диаметра шкалы: D0 = 0,0171 м;
Объём поплавка: V = 3,075·10-6 м3;
Диаметр миделя поплавка: d = 0,0164 м;
Материал поплавка: нерж. ст. Х18H9Т
Вес поплавка: G0 = 0,176 Н;
Температура среды: t = 300 С;
Вещество: Н2О;
Плотность вещества: ρ30 = 996 кг/м3;
Динамическая вязкость вещества: μ30 = 804·10-6 Па·с.
Данные для расчета потенциометра:
Шкала прибора: 0 - 1000 °С;
Градуировка термоэлектрического термометра: ВР (А3) ;
Начальное значение: Е(tн, t0)= 0 мВ;
Конечное значение: Е(tк, t0)= 15,98 мВ;
Диапазон измерения: Ед= 15,98 мВ;
Нормированное номинальное сопротивление реохорда: Rн.р.= 90 Ом;
Нерабочий участок реохорда (l= 0,025): 2l= 0,05;
Нормированное номинальное значение падения напряжения на реостате
Rк: Uk= 1019 мВ;
Выходное напряжение ИПС - 148П: Uи.п= 5 В;
Номинальное значение силы тока в цепи ИПС - 148П: I0= 5 мА;
Сопротивление нагрузки ИПС - 148П: Rи.п.=1000 Ом;
Номинальное значение силы тока в верхней ветви измерительной схемы
прибора: I1= 3 мА;
Номинальное значение силы тока в нижней ветви измерительной схемы
прибора: I2= 2 мА;
Температурный коэффициент электрического сопротивления меди: a= 4,25×10-3 К-1.
Функциональная схема автоматизации
. Графический материал
Функциональная схема автоматизации
3. Перечень вопросов
- Описание технологического процесса
Выбор средств автоматизации
Расчет потенциометра
Расчет ротаметра
4 Рекомендуемая литература
1 Зингель
Т.Г. Системы управления химико-технологическими процессами. - Красноярск:
СибГТУ, 2003. - 344 с.
Кулаков М.В.
Технологические измерения и приборы для химических производств. - М.: Машиностроение,
1983. - 424 с.
Техника
чтения схем автоматического управления и технологического контроля /А.С. Клюев,
Б.В. Глазов, М.Б. Миндин, С.А. Клюев. - М.: Энергоатомиздат, 1991. - 432 с.
Содержание
Введение
.
Описание технологического процесса и выбор средств автоматического контроля
.1
Ректификация
.2
Основные характеристики
.3
Выбор средств автоматизации
.4
Обоснование выбора средств автоматического контроля
.4.1
Технологические требования
.4.2Системные
требования
.4.3
Создание безопасной жизнедеятельности
.5
Средства автоматизации
.5.1
Измерение температуры
.5.2
Измерение уровня
.5.3
Измерение расхода
.5.4
Измерение давления
.
Расчетная часть
.1
Расчет ротаметра
.1.1
Описание ротаметра
.1.2
Расчет ротаметра
.2
Расчет сопротивлений резисторов измерительной схемы автоматического
потенциометра типа КСП4
Заключение
Библиографический
список
Введение
Развитие промышленности, в том числе и химической, в данное время тесно
связано с автоматизацией, позволяющей повысить производительность оборудования,
снизить себестоимость продукции, улучшить ее качество и повысить прибыль от
реализации.
Для того чтобы повысить выше перечисленные показатели, на производстве
усовершенствуется старая, и вводится новая система автоматизированного
управления. На рынке средств производства в данное время присутствует высокое
разнообразие средств автоматизации технологических процессов, выпускаемых как
отечественными, так и зарубежными производителями.
Задачи, которые ставятся перед специалистами, требуют не только глубокого
знания технологических процессов, но и знания принципов составления
автоматических систем, позволяющих управлять процессом наиболее эффективно, а
также умение выбирать современные средства автоматизации.
Базовой системой любой современной АСУ ТП является система автоматического
контроля, позволяющая получать измерительную информацию о режимных параметрах
процессов, а также о параметрах качества сырья, промежуточных и конечных
продуктов. Эффективностью работы системы автоматического контроля во многом
определяется эффективностью работы всей АСУ ТП. Так рациональная система
автоматического контроля позволяет: осуществить управление по показателям
качества сырья и продуктов, упростить алгоритмы и структуру АСУ ТП, уменьшить
ее стоимость, повысить надежность и улучшить качество продукции.
Научной основой систем автоматического контроля являются метрология и
физические принципы измерений параметров технологического контроля, а
технической базой этих систем служат средства измерений и преобразований
соответствующих параметров.
С различными измерениями человек сталкивается с момента своего рождения
всю жизнь, осуществляя их самостоятельно или наблюдая за выполнение измерений.
Достаточно вспомнить как часто приходится использовать стеклянные термометры,
линейки, весы и др.
1 Описание
технологического процесса и выбор средств автоматического контроля
1.1
Ректификация
.2 Основные
характеристики
.3 Выбор
средств автоматизации
.4
Обоснование выбора средств автоматического контроля
При выборе наиболее предпочтительного варианта технических средств для
системы, учитывают основные требования:
технологические;
системные.
-создание безопасной жизнидеятельности.
.4.1
Технологические требования
Выбраны технологические требования исходя из следующих параметров:
по виду измеряемого параметра (приборы температуры -термометры
сопротивления ТСМ - 0879 позиции 3-1, 3-2, 7-1,6-1; давления - Метран-43Ф-ДИ
3595 позиция 1-1,4-1; расхода - диафрагмы ДКС позиция 2-1,8-1 и преобразователи
расхода Метран-43- ДД-3196 позиция 2-2,8-2; уровня - преобразователь
гидростатического давления Метран 43Ф-ДГ 3595 позиции 5-1;
по величине параметра (например: выбран термометр сопротивления ТСМ -
0879, у которого диапазон измерений -50..+180 0С; верхний предел 180 0С);
по характеру измеряемой среды (вода, воздух, пар, взрывоопасная);
по характеру окружающей среды - внешние воздействующие факторы
(климатические);
по месту установки прибора или отборного устройства;
- по размещению объекта (расстояние от мест установки датчиков,
преобразователей и исполнительных механизмов до пунктов контроля и управления с
учетом прокладки импульсных и командных линий). Технические характеристики
приборов приведены в Приложении А.
1.4.2Системные
требования
- серийности выпуска современных технических средств (выбраны датчики
концерна «Метран» позиции 1-1, 4-1,5-1,2-2,8-2);
степени функционального развития (многофункциональность и модификация,
комплектность поставки);
вида потребляемой энергии (электрические);
унификации входных и выходных сигналов (по току - Метран-45ДД и др.);
энергетических параметров (напряжение, потребляемая мощность);
метрологических характеристик (класс точности, предел допускаемой
основной погрешности, номинальная статическая характеристика по ГОСТ Р50431 и
др., например - выбран термометр сопротивления ТСМ - 0879
, у которого предел основной приведенной погрешности 0,25%);
- взрывозащиты (выбраны взрывозащищенные датчики Метран).
1.4.3
Создание безопасной жизнедеятельности
Так как производство является пожара и взрывобезопасным то при
автоматизации данного производства применяется электрический способ передачи
сигнала и метод измерения.
Так как регулирование по температуре не осуществляется, для измерения
температуры выбираем термопреобразователи сопротивления медные ТСМ-50, их класс
точности достаточен для измерения параметров этого процесса, и как достоинство
имеют невысокую цену.
Для измерения температуры воды на входе и выходе из конденсатора выбираем
термопреобразователи сопротивления медные ТСМ - 0879 в диапазоне от 0 до 300С,
( градуировка 23).
Прибор на щите: вторичный прибор агрегатных средств контроля
регистрирующий А-100Н число каналов измерения 2, климатическое
исполнение-УХЛ4.2, шкала 0 -1800 С.
Для измерения температуры на входе продукта из испарителя выбираем
термопреобразователи сопротивления медные ТСМ - 0879 в диапазоне от 0до1000С,
(градуировка 23).
Прибор на щите: вторичный прибор агрегатных средств контроля
регистрирующий А-100Н число каналов измерения 1, климатическое исполнение-УХЛ4.2,
шкала 0 -1800С.
Для измерения и регулирования температуры на выходе продукта из
испарителя выбираем термопреобразователи сопротивления медные ТСМУ 9313 в
диапазоне от 0до1000С,выходной сигнал 0-5мА (градуировка 23).
Прибор на щите: вторичный прибор агрегатных средств контроля
регистрирующий Диск-250И-1311, показывающий со встроенным ПИ- регулятором,
шкала 0 -1800С
ректификация автоматический контроль потенциометр
1.5.2
Измерение уровня
Выбор метода измерения уровня зависит от вида среды, температуры,
агрессивности, токсичности, взрыво и пожароопасности среды, а так же параметров
окружающей среды. Так как происходит регулирование уровня в испарителе
требуется высокий класс точности прибора измеряющего уровень, поэтому выбираем
датчик гидростатического давления Метран - 43 - ДГ применяется для измерения
гидростатического давления газа, пара, жидкости нейтральные и агрессивные,
высоковязкие, верхний предел измерения 10кПа, класс точности-0,25, имеет
стандартный выходной токовый сигнал. В нашем случае это датчик давления Метран
- 43 - ДГ-3535
С токовым выходным сигналом 0-5 мА.
Прибор на щите: вторичный прибор агрегатных средств контроля
регистрирующий Диск-250И-1311, показывающий со встроенным ПИ- регулятором,
шкала 0 - 1,5 м.
.5.3
Измерение расхода
Количество жидкости (объем или масс), газа или пара, проходящее через
данное сечение канала в единицу времени называют расходом и измеряют
расходомерами.
Расход газа или жидкости на современных предприятиях измеряют различными
способами, подавляющее большинство промышленных установок оснащено дроссельными
расходомерами (переменного перепада давлений), основным элементом, которых
является сужающее устройство.
Стандартизованы сужающие устройства трёх видов: диафрагма (камерная и
бескамерная), сопло и сопло Вентури. Выбор того или иного сужающего устройства
определяется обычно следующими соображениями: диафрагма обычно проще в
изготовлении и устройстве, чем сопло, однако сопло позволяет измерять большой
расход и в ряде случаев обеспечивает более высокую точность, чем диафрагма. Для
измерения расхода выбираем диафрагму ДКС6-200-камерная условное давление от
0,6-10 МПа.
Главный параметр, который необходимо контролировать при выборе, является
контролируемая среда.
Для измерения расхода воды через конденсатор выбираем датчик разности
давлений Метран - 45 - ДД -3494с пределом измерения до 1,6 кПа, классом
точности 0,25 и унифицированным токовым выходным сигналом 0-5 мА.
Прибор на щите: вторичный прибор агрегатных средств контроля
регистрирующий А-100 число каналов измерения 1, климатическое
исполнение-УХЛ4.2, шкала 0 - 150 м3 /ч.
Для измерения расхода продукта, выбираем датчик разности давлений Метран
- 45 - ДД -3494с пределом измерения до 0,4 кПа классом точности 0,25 и
унифицированным токовым выходным сигналом 0-5 мА.
Прибор на щите: вторичный прибор агрегатных средств контроля
регистрирующий А-100 число каналов измерения 1, климатическое
исполнение-УХЛ4.2, шкала 0 - 10 м3/ч.
1.5.4
Измерение давления
При выборе средств автоматизации, для измерения давления данного
технологического процесса следует учитывать диапазон измеряемых давлений,
среду, в которой они работают.
Для измерения давления на входе в конденсатор выбираем датчик избыточного
давления Метран - 43 - ДИ - 3595 с пределом измерения до 2,5 МПа классом точности
0,25 и унифицированным токовым выходным сигналом 0-5 мА.
Прибор на щите: вторичный прибор агрегатных средств контроля
регистрирующий А-100 число каналов измерения 1, климатическое
исполнение-УХЛ4.2,шкала 0 - 250 кгс/см2.
Для измерения и регулирования давления в трубопроводе выбираем датчик
избыточного давления Метран - 43 - ДИ -3595с пределом измерения до 2,5 МПа
классом точности 0,25 и унифицированным токовым выходным сигналом 0-5 мА.
Прибор на щите: вторичный прибор агрегатных средств контроля регистрирующий
Диск-250И-1311, показывающий со встроенным ПИ- регулятором, шкала 0 - 250
кгс/см2
2. Расчетная
часть
.1 Расчет
ротаметра
Таблица 1 - Исходные данные
|
Наименование
|
Обозначение
|
Значение
|
|
1. Конусность трубки
ротаметра
|
k
|
0,01
|
|
2. Длина шкалы ротаметра
(шкала имеет 11-ть оцифрованных делений с градацией Dl = 0,025 м)
|
l
|
0,25
м
|
|
3. Диаметр трубки ротаметра
в месте нулевого деления шкалы
|
D0
|
0,0171 м
|
|
4. Объём поплавка
|
V
|
3,075×10-6 м3
|
|
5. Диаметр миделя поплавка
|
d
|
0,0164 м
|
|
6. Материал поплавка
|
Сталь Х18H9Т
|
-
|
|
7. Вес поплавка
|
G0
|
0,147 Н
|
|
8. Измеряемая среда
|
Кислород
|
-
|
|
9. Температура измеряемой
среды
|
t0
|
200
|
|
10. Плотность среды (при t0 = 200)
|
1,33
кг/м3
|
|
|
11. Динамическая вязкость
вещества
|
m20
|
20,2* 10-6 Па×с
|
.1.1 Описание
ротаметра
Ротаметр является расходомером постоянного перепада давлений. Так же к
ним относятся поплавковые и поршневые расходомеры. Наибольшее применение имеют
ротаметры и поплавковые расходомеры, шкалы которых практически равномерны. Их
можно использовать для измерения малых расходов, так как потери давления в них
незначительны и не зависят от расхода. Ротаметры и поплавковые расходомеры
имеют большой диапазон измерения (Qmax/Qmin = 10:1).
Проходящий
через ротаметр (рисунок 6) снизу поток жидкости или газа поднимает поплавок до
тех пор, пока расширяющаяся кольцевая щель между телом поплавка и стенками
конусной трубки не достигнет такой величины, при которой действующие на
поплавок силы уравновешиваются. При равновесии сил поплавок устанавливается на некоторой
высоте, зависящей от расхода.

Рисунок
6-Поплавок
На
поплавок ротаметра сверху вниз действуют две силы: сила тяжести
(где
- объём
поплавка;
- плотность материала поплавка;
- ускорение свободного падения) и сила от давления
потока на верхнюю плоскость поплавка
(где
- среднее давление потока на единицу площади верхней
поверхности поплавка;
- площадь наибольшего поперечного сечения поплавка).
Снизу
вверх на поплавок действуют также две силы: сила от давления потока на нижнюю
плоскость поплавка
и сила трения потоков о поплавок
(где
-
коэффициент сопротивления, зависящий от числа Рейнольдса и степени
шероховатости поверхности;
- средняя
скорость потока в кольцевом канале, охватывающем боковую поверхность поплавка;
- площадь боковой поверхности поплавка;
- показатель, зависящий от скорости).
Поплавок
уравновешен в случае, если соблюдается равенство
(2.1)
из (2.1) получаем:
. (2.2)
Если
допустить, что
при всех расходах - величина постоянная (с
увеличением расхода увеличивается площадь кольцевого канала), то правая часть
уравнения (2.1) будет постоянной, так как остальные величины для данного
прибора неизменны. Следовательно, разность давлений на поплавок
, т.е. ротаметр является прибором постоянного перепада
давления
Коэффициент расхода a для ротаметров зависит от большого числа величин, которые не поддаются
аналитическому определению, поэтому ротаметры градуируют экспериментально. Для
экспериментальной градуировки ротаметров, предназначенных для измерения расхода
жидкостей или газов, применяют в качестве градуировочной среды воду или воздух
(ГОСТ 13045 - 81). Экспериментальная градуировка шкалы ротаметра точна лишь в
том случае, если при эксплуатации значения всех величин соответствуют
градуировочным условиям. Изменение температуры потока меняет плотность среды и
её вязкость, а следовательно, и коэффициент расхода. Ещё большей степени будут
изменяться величины в случае, если ротаметр применяют для измерения расхода
среды, отличающейся от градуировочной.
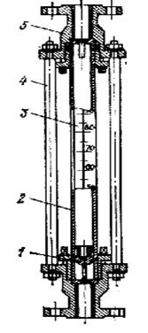
Ротаметр со стеклянной трубкой (рисунок 2.2) состоит из конической трубки
1, закреплённой в двух металлических головках 2 и 3, снабжённых сальниками и
фланцами для монтажа в вертикальном трубопроводе. Головки соединены несколькими
тягами 4, образующими вместе с поперечными 5 защитную решетку вокруг стеклянной
трубки. Внутри трубки 1 свободно перемещается поплавок 6, имеющий форму волчка.
В нижней головке имеется седло, на которое опускается поплавок при прекращении
потока.
В верхней части поплавка иногда делают косые прорези (рисунок 1),
благодаря чему поплавок вращается вокруг вертикальной оси. При вращении
поплавок центрируется внутри трубки, не соприкасаясь со стенками; его
чувствительность повышается. По вращению поплавка определяют состояние прибора
(отсутствие трения и засорения).
Ротаметры со стеклянной трубкой изготовляют на давление жидкости или газа
не более 0,58 МПа. При более высоких давлениях жидкости или газа, а также для
измерения расхода пара применяют ротаметры с металлической конусной трубкой.
Ротаметры имеют следующие недостатки: невозможность регистрации показаний
и передачи их на расстояние; недостаточная четкость шкал приборов.
Рисунок 7-
Ротаметр со стеклянной конусной трубкой
2.1.2 Расчет
ротаметра
1. Определяем диаметр трубки ротаметра D10 в месте усиления шкалы для максимального расхода Qmax по формуле:
, (м).
(2.3)
м.
2. Определяем расстояние от нулевого сечения шкалы D0 до сечения диаметром d (высота нулевой отметки) по
следующей формуле:
, (м). (2.4)
м.
3. Вычисляем безразмерный параметр аi для оцифрованных отметок шкалы:
(2.5)
где
; (2.6)
; (2.7)
т.к
, то получим:
|
h, м
|
0
|
1
|
2
|
3
|
4
|
5
|
6
|
7
|
8
|
9
|
10
|
|
0,07
|
0,095
|
0,12
|
0,145
|
0,17
|
0,195
|
0,22
|
0,245
|
0,27
|
0,295
|
0,32
|
Исходя из полученных данных, вычислим:
|
а
|
0
|
1
|
2
|
3
|
4
|
5
|
6
|
7
|
8
|
9
|
10
|
|
4,268
|
5,793
|
7,317
|
8,841
|
10,366
|
11,89
|
13,415
|
14,939
|
16,463
|
17,988
|
19,512
|
. Определим вес поплавка в измеряемой среде:
Н ;(2.8)
5.
Определим значение безразмерной величины
и
значение ее десятичного логарифма:
м2/с ; (2.9)
получим:
; (2.10)
(2.11)
Для
нахождения этой величины воспользуемся графиком, который изображен на рисунке
8.
Рисунок
8 - График для определения безразмерной величины
Для
нахождения промежуточных значений аi воспользуемся формулой
нелинейной интерпретации:
; (2.12)
где:
х - расстояние от искомой точки до нижней кривой;
-
значение нижней кривой;
-
значение верхней кривой;
b - расстояние
между верхней и нижней кривой.
Получим:
Таблица
2 - Определение недостающих расчетных данных
|
0
|
1
|
2
|
3
|
4
|
5
|
6
|
7
|
8
|
9
|
10
|
|
Х
|
0,035
|
0,078
|
0,02
|
0,059
|
0,019
|
0,045
|
0,013
|
0,028
|
0,014
|
0,04
|
0,016
|
|
3,2973,4583,5733,6733,7503,8263,8793,9153,9714,0254,084
|
|
|
|
|
|
|
|
|
|
|
|
Все полученные данные сведем в таблицу 3:
Таблица 3 - Расчетные данные
li 


nd, м3/сQ, м3/с
|
´10-3Q, л/ч
|
|
|
|
|
|
|
|
|
0
|
4,2683
|
-8,7314
|
3,297
|
1981,527
|
2,4643×10-7
|
0,4888
|
1760
|
|
0,025
|
5,7927
|
|
3,458
|
2870,780
|
|
0,7066
|
2544
|
|
0,05
|
7,3171
|
|
3,573
|
3741,105
|
|
0,9223
|
3320
|
|
0,075
|
8,8415
|
|
3,673
|
4709,773
|
|
1,1599
|
4176
|
|
0,1
|
10,3659
|
|
3,750
|
5623,413
|
4990
|
|
0,25
|
11,8902
|
|
3,826
|
6698,846
|
|
1,6508
|
5943
|
|
0,15
|
13,4146
|
|
3,879
|
7568,329
|
|
1,8668
|
6720
|
|
0,175
|
14,9396
|
|
3,915
|
8222,426
|
|
2,0259
|
7293
|
|
0,2
|
16,4634
|
|
3,971
|
9354,057
|
|
2,3063
|
8303
|
|
0,225
|
17,9878
|
|
4,025
|
10592,53
|
|
2,6116
|
9402
|
|
0,25
|
19,5122
|
|
4,084
|
12133,89
|
|
2,9926
|
10773
|
7.
Построим градуировочный график в виде зависимости
, который изображен на рисунке 9:
8. Расчет
геометрических размеров поплавка
Расчет веса поплавка
Найдем вес поплавка по формуле
(2.13)
.
Найдем объем, высверловки м3
(2.14)
.
Найдем диаметр высверловки, м3
(2.15)
.
Глубина высверловки и длина поплавка, м
(2.16)
9. Выполним чертеж поплавка ротаметра и трубки ротаметра.
Рисунок 10 - Чертеж поплавка ротаметра
Рисунок 11 - Чертеж трубки ротаметра
Чертеж трубки
ротаметра в сборе представлен на рисунке 12
Рисунок 12 - Ротаметр в сборе
Вывод
В результате проведенного расчета для заданных параметров прибора и
среды, была получена градуированная характеристика ротаметра, а также
рассчитаны глубина и диаметр высверловки поплавка.
2.2 Расчет
сопротивлений резисторов измерительной схемы автоматического потенциометра типа
КСП4
Таблица 4 - Исходные данные
|
Наименование
|
Обозначение
|
Значение
|
|
1. Шкала прибора
|
|
0- 400 0С
|
|
2. Градуировка температуры
свободных концов термометра
|
|
ХА
|
|
3. Расчетное значение
температуры свободных концов термометра
|
t0
|
|
4. Возможное значение
температуры свободных концов термометра
|
tI0
|
50 0C
|
|
5. Начальное значение шкалы
|
E(tн, t0)
|
0 мВ
|
|
6. Конечное значение шкалы
|
E(tк,
t0)
|
16,4 мВ
|
|
7. Диапазон измерений
|
EД
|
16,4 мВ
|
|
8. Нормированное номинальное сопротивление реохорда
|
RН.Р.
|
90 Ом
|
|
9. Нерабочие участки реохорда
|
2l
|
0,05
|
|
10. Нормированное
номинальное значение падения напряжения на резисторе RК
|
UК
|
1019 мВ
|
|
11. Выходное напряжение ИПС - 148П
|
UИ.П.
|
5 В
|
|
12. Номинальное значение
силы тока в цепи ИПС - 148П
|
I0
|
5 мА
|
|
13.
Сопротивление нагрузки ИПС - 148П
|
RИ.П.
|
1000 Ом
|
|
14. Номинальное значение
силы тока в верхней ветви измерительной схемы прибора
|
I1
|
3 мА
|
|
15. Номинальное значение
силы тока в нижней ветви измерительной схемы прибора
|
I2
|
2 мА
|
|
16. Температурный
коэффициент электрического сопротивления меди
|
a
|
4.25 *10-3 К-1
|
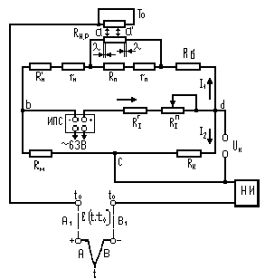
Рисунок
13- Принципиальная компенсационная измерительная схема автоматического
потенциометра.
.
Определим сопротивление резистора RП:
Ом; (2.17)
Ом;
принимаем
Ом и
.
Определим приведенное сопротивление реохорда RПР:
Ом; (2.18)
Ом.
Производим проверку правильности определения RПР:
мВ.
. Определим сопротивление контрольного резистора RК:
Ом;
(2.19)
Ом;
принимаем
сопротивление контрольного резистора
Ом.
.
Определим сопротивление резистора Rб:
Ом;(2.20)
Ом;
принимаем
значение сопротивления резистора
Ом.
.
Найдём сопротивление медного резистора Rм:
(2.21)
где:
;
принимаем
значение сопротивления медного резистора
Ом.
.
Определим значение сопротивления резистора RН:
Ом;(2.22)
Ом;
принимаем
Ом и
Ом.
.
Определим значение сопротивления резистора Rbd;
Ом; (2.23)
8. Определим сопротивление резистора R1 по формуле:
Ом;
(2.24)
Ом;
принимаем
Ом,
Ом и
Ом.
.
Определим изменения показания потенциометра для конечного значения шкалы при
изменении температуры свободных концов термометра от
до
по
формуле:
(2.25)
Вывод:
В ходе расчета по заданным параметрам: шкала прибора, градуировка
термоэлектрического термометра, были рассчитаны сопротивление резисторов
измерительной схемы автоматического потенциометра КСП-4.
Заключение
В соответствии с заданием на курсовое проектирование разработана
функциональная схема автоматизации процесса ректификации, а также составлена
заказная спецификация на средства автоматизации используемых в функциональной
схеме. Предлагаемая система автоматизации выполнена на базе отечественных
средств автоматизации.
Расчётная часть проекта содержит расчёт расходомера(ротаметра) и расчёт
сопротивлений резисторов измерительной схемы автоматического потенциометра.
Библиографический
список
1. Кулаков
М.В. Технологические измерения и приборы для химических производств, М.
«Машиностроение» 1983 г.
. Т.Г.
Зингель Приборы средства автоматизации: Справочное пособие к практическим
занятиям, курсовому и дипломному проектированию для студентов всех
специальностей и форм обучения. - Красноярск: СибГТУ, 2000. - 260 с.
3. Техника
чтения схем автоматического управления и технологического контроля /А.С.Клюев,
Б.В.Глазов, М.Б.Миндин, С.А.Клюев; Под ред. А.С.Клюева. -3-е изд., перераб. и
доп. - М.:Энергоатомиздат, 1991.- 432 с.: ил.
. Кулаков
М.В. Технологические измерения и приборы для химических производств, М.
«Машиностроение» 1983 г.
.
Номенклатурный каталог группы предприятий Метран - 2001г.