Автоматизация колонны отгонки бензола в процессе производства изопропилбензола

  • Вид работы:
    Курсовая работа (т)
  • Предмет:
    Другое
  • Язык:
    Русский
    ,
    Формат файла:
    MS Word
    772,37 Кб
  • Опубликовано:
    2013-05-12
Вы можете узнать стоимость помощи в написании студенческой работы.
Помощь в написании работы, которую точно примут!

Автоматизация колонны отгонки бензола в процессе производства изопропилбензола

Министерство образования и науки РФ

федеральное государственное бюджетное образовательное учреждение

высшего профессионального образования

«Санкт-Петербургский государственный технологический институт

(технический университет)»

Специальность 220301 Автоматизация технологических процессов и производств

Квалификация Бакалавр



КУРСОВОЙ ПРОЕКТ

Дисциплина

Автоматизация процессов химической промышленности

Тема

Автоматизация колонны отгонки бензола в процессе производства изопропилбензола

Студентка Калиниченко Е.А.

Руководитель

Доцент Ремизова О.А.





Санкт-Петербург 2012

1. Задание на курсовой проект по АТП и ПХП N 5б

Автоматизация колонны отгонки бензола в процессе производства изопропилбензола (к.N 50)

. Исследование процесса ректификации как объекта автоматизации

Объект автоматизации - ректификационная установка для отгонки бензола в процессе производства изопропилбензола (файл texnipb.doc).

Составить схему автоматизации ректификационной установки для получения в качестве целевого - кубового продукта, обеспечив косвенное регулирование показателя эффективности - по (qн), материальный баланс по жидкой фазе верха и низа колонны ( hфл, hк ); материальный баланс по паровой фазе верха колонны; тепловой баланс верха колонны (qв ); стабилизацию параметров потока питания: температуры (qп) и расхода (Gп).

. Исследование процесса ректификации как объекта управления уровнем кубового продукта (hк) с каналом возмущения по расходу греющего пара (Gгр):

·   архив rekt.rar;

·   архив МЕТw(p).zip;

·   файл для расчета параметров объекта - «RK_KUB_B.doc»

3. Синтез и исследование одноконтурной АСР концентрации кубового продукта (Ск).

·   файл Alg_SYNT.doc

·   методические указания - dcontasr.zip.

·   пакет SYNTEZ;

4. Синтез и исследование комбинированной АСР уровня кубового продукта (hк) c динамическим компенсатором по расходу греющего пара (Gгр).

·   файл Иссл.ASRK.doc

·   методические указания - dasrk11.zip или dasrk12.zip,

·   проекты в среде MVW - ASR_Zd5b\ASRK11, ASRK12;

Конструктивные и технологические параметры процесса в ректификационной колонне № 50 в производстве изопропилбензола (зд.№5).

№ п.п.

Наименование Параметра

Обозначение Параметра

Идентификатор в rk_kub.exe

Величина параметра

1

Диаметр колонны

dk

dk

2,9м

2

Высота колонны

H

H

43м

3

Число тарелок

n

n

67

4

Номер тарелки питания

nf

nf

41

5

Расстояние между тарелками

h

h

0,5м

6

Расход: потока питания потока дистиллята парового потока

 Gп. Gд. Gy0.

 Gf. Gd. Gy0.

 162,026кмоль/ч 97,75кмоль/ч 163,6 кмоль/ч

8

Давление в колонне

Pv

7.84*Е4 Па

9

Температура: в кубе потока питания верха колонны

 qк qп qв

 Tk Tf Tv

 180°C 120°C 90°C

10

Плотность: кубового продукта греющего пара

 к гр

 Ro_k Ro_gr

 745 кг/м^3 4,113 кг/м^3

11

Молекулярный вес: кубового продукта дистиллята

 М.к Mд

 Mk Md

 78,11 кг/кмоль 67,00 кг/кмоль

12

Теплота: конденсации греющ. пара испарения куб. продукта

 rгр rк

 r_gr r_k

 2056 Кдж/кг 1028 Кдж/кг

13

Скорость потока Gгр

vгр

v_gr

10м/с


·   Модель для расчетов «rk_kub.exe». Файл установок «zd5.stt».

·   Пересчет размерностей «Razm2».

·   Расчетное время по модели - часы перевести в мин.

·   Принять запаздывания и постоянные времени по каналам управления:

t2 =0.3*Т2(мин);

t1 =Т1 = 0.5(мин);

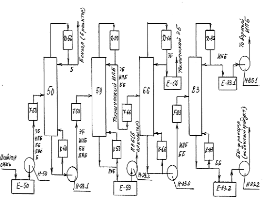
Описание технологической схемы отделения ректификации производства изопропилбензола.

Отделение включает в себя 4 колонны:

к. 50 - колонна отгонки бензола;

к. 59 - колонна выделения технического изопропилбензола:

к. 66 - колонна выделения технического этилбензола:

к. 83 - колонна выделения товарного изопропилбензола.

Конструктивные параметры ректификационных колонн.

№ п.п.

Параметр

№ колонны



50

59

66

83

1

Число тарелок, шт.

67

69

82

76

2

Диаметр колонны, мм.

2900

2900

2000

1800

3

Расстояние между тарелками, мм.

500

500

250

300

4

Высота колонны, м.

43

43

28

26

5

Номер тарелки питания.

41

40

18

28


Общие особенности ректификационных колонн отделения:

1. Колонны являются простыми колоннами многокомпонентной ректификации.

2. Наличие в питании колонн компонентов значительно различающихся по величине концентрации.

3. Наличие большого количества тарелок во всех рассматриваемых колоннах.

Технологическая схема отделения ректификации представлена на рис.1.

Работа колонны к 50.

В первой по ходу движения алкилата колонне 50 из исходной смеси, состоящей из этилбензола (ЭБ), изопропилбензола (ИПБ), бутилбензола (ББ), полиалкилбензола (ПАБ) и бензола (Б), отгоняется бензол. Обогрев колонны осуществляется паром высокого давления.

Сверху колонны отбирается бензол, который возвращается в реактор. Из куба колонны отбирается укрепленная реакционная масса, состоящая из ЭБ,ИПБ,ПАБ и ББ.

Параметры режима работы колонны № 50.

Питание - до 165кмоль/ч;

Температура верха - до 96 С;

Температура куба - 170 С - 180 С;

Давление в кубе - 7,84*104 Па.

Работа колонны к 59.

Далее укрепленная реакционная масса, состоящая из ЭБ,ИПБ,ПАБ и ББ, подается насосом на питание колонны к 59, предназначенной для выделения технического изопропилбензола (ИПБ),состоящего из фракций ЭБ, ИПБ и ББ. Колонна работает под вакуумом; обогревается паром высокого давления. Из верхней части колонны отбирается технический изопропилбензол, а из куба колонны отбирается полиалкилбензол (ПАБ), который направляется для приготовления катализаторного комплекса, а затем его направляют в алкилатор вместе с исходным сырьем.

Параметры режима работы колонны № 59.

Питание - до 65 кмоль/ч;

Температура верха - до 80 - 95 С;

Температура куба - 160 - 170 С;

Давление в кубе - 7,84*104 Па.

Работа колонны № 66.

Технический изопропилбензол (ИПБ), состоящий из фракций ЭБ, ИПБ и ББ, подается на колонну 66, предназначенную для выделения технического этилбензола (ЭБ). Технический этилбензол выводится из верха колонны, конденсируется, собирается в емкость и реализуется как побочный продукт, а фракции ИПБ и ББ выводятся из куба колонны.

Параметры режима работы колонны № 66.

Питание - до 55 кмоль/ч;

Температура верха - 155 С;

Температура куба - 180 С;

Давление в кубе - 5,99*104 Па.

Работа колонны № 83.

Укрепленный технический изопропилбензол (ИПБ), состоящий из ИПБ и ББ, подается на колонну 83 для выделения товарного изопропилбензола. Обогрев колонны осуществляется паром высокого давления. Вверху колонны отбирается товарный изопропилбензол, который поступает на склад готовой продукции. Кубовый продукт (бутилбензольная фракция - ББ) реализуется как побочный продукт.

Параметры режима работы колонны № 83.

Питание - до 55 кмоль/ч;

Температура верха - до 160 С;

Температура куба - 170 С - 180 С;

Давление в кубе -5,94*104 Па.

Рисунок 1 - Технологическая схема отделения ректификации изопропилбензола (ИПБ).

2. Анализ технологического процесса как объекта управления

Объект управления

Схема ректификационной установки.

1 - ректификационная колонна; 2 - подогреватель потока питания; 3- кипятильник; 4 - конденсатор (дефлегматор); 5 - флегмовая емкость.

Рисунок 2- Схема ректификационной установки

Описание установки.

Объект управления - ректификационная установка для выделения из исходной жидкой смеси целевого компонента в составе дистиллята.

Процесс массопередачи происходит на тарелках укрепляющей (верхней) и исчерпывающей (нижней) частей колонны в результате взаимодействия жидкой и паровой фаз, движущихся в колонне противотоком. Движущая сила - разность между равновесной и рабочей концентрациями целевого компонента в жидкой или паровой фазе:  и  соответственно.

Работа установки.

Исходная смесь Gп (Gxf) нагревается в подогревателе потока питания 2 до температуры кипения θп0 и подается в колонну 1 на тарелку питания (i=f).

Исходная смесь стекает по тарелкам нижней части колонны в виде жидкостного потока Gx в куб колонны, участвуя в массообменном процессе с паровым потоком Gy.

Из куба колонны выводится кубовый продукт Gкуб. Часть кубового продукта подается в кипятильник 3, где испаряется с образованием парового потока Gy0 , который подается в низ колонны.

Паровой поток поднимается вверх колонны, контактируя с жидким потоком и обогащаясь целевым компонентом.

Обогащенный целевым компонентом паровой поток Gyn выводится из верха колонны и подается в дефлегматор 4, где конденсируется.

Конденсат собирается во флегмовой емкости 5. Из сборника флегмы отбирается два потока:

·   поток дистиллята Gд - целевой продукт;

·   поток флегмы Gфл - жидкая фаза, используемая для орошения верха колонны.

Показатель эффективности процесса сд - концентрация дистиллята.

Цель управления процессом - обеспечение сд.=сдзд.

Математическое описание процесса ректификации

Структурная схема ректификационной установки.

Рисунок 3- Структурная схема ректификационной установки.

Математическое описание низа колонны

Структурная схема куба и кипятильника.

Рисунок 4- Структурная схема куба и кипятильника

Тепловой баланс низа колонны ( н = 0 ). (с кипятильником)

Уравнение динамики:

·   Уравнение статики:

гр*rгр + Gх1*Cрх1*х1 = Gy0*Cpy0*н + Gk*Cpk*н (6).

·   На основании (1) и (2) можно считать:

н = f (Gгр, Gк ).

·   Предпочтительное управляющее воздействие Gгр .

Тепловой баланс с учетом затрат тепла на испарение - Gy0 rk


где  (5в);

Так как

,

то выражение (5б) с учетом (5в) адекватно выражению (5)}.

Материальный баланс по всему веществу.

·   Уравнение динамики


·   Уравнение статики

x1 = G k + G y0

где ρ k - плотность кубовой жидкости , кг/м3;k - сечение куба колонны, м2 ;k - уровень кубовой жидкости, м;x1 , G k , G y0 - массовые расходы потоков в кубе колонны.

·   На основании (1) и (2) можно считать:

k = f(G k ,G y0 )

·   Предпочтительное управляющее воздействие Gk .

Материальный баланс по легколетучему компоненту.

·   Уравнение динамики:


·   Уравнение статики:

G x1 C x1 = G k C к + G y0 C y0

·   Основные допущения:

·   Кипятильник с полным испарением, т.е. C y0=C x0;

·   Тепловой баланс кипятильника:


·   Обозначения:

М0 - масса жидкости в нижней части колонны, кг;гр - удельная теплота конденсации пара, дж/кг;k - удельная теплота испарения кубовой жидкости, дж/кг.

·   На основании (3) и (4) можно записать:

.

·   Предпочтительное управляющее воздействие Gгр .

Информационная схема низа колонны.

Рисунок 5- Информационная схема низа колонны

Информационная схема низа колонны как многосвязного объекта по hk,  или hk, Ck .

Рисунок 6- Информационная схема низа колонны как многосвязного объекта по hk,  или hk, Ck

Математическое описание верха колонны.

Структурная схема дефлегматора с флегмовой емкостью.

Рисунок 7- Структурная схема дефлегматора с флегмовой емкостью

Материальный баланс по всему веществу.

·   Уравнение динамики:


где фл - плотность флегмы , кг/м3 ;фл - сечение флегмовой емкости , м2 ;фл - уровень флегмы , м;, Gфл, Gдист - массовые расходы, кг/с.

·   Уравнение статики:

= Gфл + Gдист

·   На основании (7) и (8) можно считать:

фл=f(Gyn, Gфл, Gд )

·   Предпочтительное управляющее воздействие Gдист .

Материальный баланс по целевому компоненту.

·   Уравнение динамики:


·   Уравнение статики:

Gyn Cyn = Gдист Cx n+1 + Gфл Cx n+1 (10).

·   На основании (9) и (10) можно считать:

дист=f(Gyn, Gфл, Gд )

·   Предпочтительное управляющее воздействие Gфл .

Тепловой баланс верха колонны ( в = н ).

Структурная схема n-ой тарелки

Рисунок 8- Структурная схема n-ой тарелки

·   Уравнение динамики:


·   Уравнение статики

Gyn-1*Cpyn-1 *yn-1 + Gфл*Cрфл *фл =*Cpyn *в + Gxn *Cpxn *в (12).

·   Обозначения:

·   Мxn - масса паровой фазы наверху колонны;

·   Cpyn, Cpy,n-1, Cрфл, Cpxn - удельные теплоемкости паровой и жидкой фазы на n-ой тарелке;

·   Gyn-1, Gyn, Gxn - расходы паровой и жидкой фазы на n-ой тарелке.

·   На основании (11) и (12) можно считать


·   Предпочтительное управляющее воздействие Gфл .

Баланс по паровой фазе.

Структурная схема конденсатора без флегмовой емкости.

Рисунок 9- Структурная схема конденсатора без флегмовой емкости

·   Уравнение динамики


·   Уравнение статики


·   Особенности:

·   Решение уравнения динамики для pв дает выражение для интегрального звена.

·   Если учесть выражение Gyn = f (pв ), то звено получается апериодическим 1 порядка.

·   Gyк = f (Gхл ), можно получить на основании теплового баланса конденсатора


·   На основании (13), (14) и (15) можно принять:Pв =f(Gхл).

Информационная схема верха колонны.

Рисунок 10- Информационная схема верха колонны

Информационная схема верха колонны как многосвязного объекта по qв и pв

Рисунок 11- Информационная схема верха колонны как многосвязного объекта по qв и pв

Информационная схема верха колонны как многосвязного объекта по hфл и qв

Рисунок 12- Информационная схема верха колонны как многосвязного объекта по hфл и qв

Информационная схема колонны как многосвязного объекта по qв и qн.

Рисунок 13- Информационная схема колонны как многосвязного объекта по qв и qн.

Математическое описание подогревателя потока питания.

Тепловой баланс

·   Уравнение динамики.


·   Уравнение статики.

т Cрт твх - Gт Cрт твых = Gп Cpп n0 - Gп Cpп n

·   Обозначения:

·   т вх ,т вых ,n 0 ,n - температуры потоков теплоносителя и питания на входе и выходе из теплообменника;

·   Vn - объем потока питания в трубах теплообменника;

·   Cpп, Срт - удельные теплоемкости потоков питания и теплоносителя;

·   Gт, Gп - массовые расходы теплоносителя и питания, кг/ч.

·   На основании (16) и (17) можно считать:

.

·   Предпочтительное управляющее воздействие Gт.

Информационная схема подогревателя потока питания как объекта управления п0

Рисунок 14- Информационная схема подогревателя потока питания как объекта управления п0

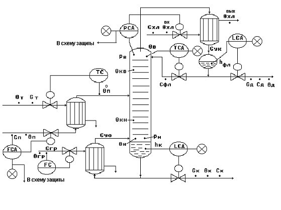
Типовая схема автоматизации процесса ректификации.

Рисунок 15- Типовая схема автоматизации процесса ректификации.

Типовое решение автоматизации процесса ректификации.

1. Регулирование.

·   Регулирование θв=f(cд) по подаче флегмы - косвенное регулирование показателя эффективности процесса cд.

·   Регулирование Pв по подаче хладоагента Gхл - обеспечивает материальный баланс по паровой фазе.

·   Регулирование hфл по отбору флегмы Gфл - обеспечивает материальный баланс по жидкой фазе верха колонны.

·   Регулирование hк по отбору кубового продукта Gк - обеспечивает материальный баланс по жидкой фазе низа колонны.

·   Стабилизация расхода питания Gп - обеспечивает:

·   материальный баланс по всему веществу,

·   снятие наиболее существенных возмущений,

·   заданное положение рабочей области колонны;

·   стабилизацию производительности установки.

·   Стабилизация расхода греющего пара Gгр - обеспечивает:

·   стабилизацию Gy0 .

·   Регулирование θп0 по подаче Gт обеспечивает:

·   заданное положение рабочей линии;

·   эффективность процесса разделения;

·   тепловой баланс

2. Контроль.

·   Температуры и расходы всех исходных потоков.

·   Температуры - θв, θн, θкв, θкн, θп0.

·   Давление - Рв, Рн.

·   Уровень - hфл, hк.

·   Концентрации - сд или ск .

3. Сигнализация.

·   существенные отклонения hфл, hк, θв от заданий:

повышение ;

резкое снижение или прекращение подачи потока питания .

3. Исследование технологического процесса как объекта управления

Математическое описание астатического объекта на основе материального баланса по жидкой фазе.

Уравнение динамики:


Уравнение статики при :


Информационная схема астатического объекта.

Рисунок 16- Информационная схема астатического объекта.

Вывод передаточной функции астатического объекта методом безразмерных переменных.

·   Принимаем канал управления - Qпр - Н.

Обозначим

 ü

 ý (

. þ

·   Подставим обозначения в уравнение:


Вычтем из уравнения уравнение статики и получим уравнение динамики в приращениях для канала :


·   Введем безразмерные переменные

;

Подставим в уравнение выражения для  и  на основании


Выполним нормализацию выражения (3.8) делением на постоянную при входной переменной :


где  - время разгона объекта.

·   Выражение можно записать в виде

·   Представим Нб из (3.10) в явном виде с учетом того, что уравнение динамики является характеристикой объекта в области действительного переменного t

откуда


·   Выполним линеаризацию выражения (3.11б) на основе преобразования Лапласа


·   На основании (3.12) получим выражение для передаточной функции объекта


где .

Переходная характеристика астатического объекта.

Переходная характеристика h(t) на основании решения уравнения динамики при :

График h(t) для астатического объекта 1-го порядка.

Рисунок 17- График h(t) для астатического объекта 1-го порядка

Структурная схема астатического объекта.

Рисунок 18- Структурная схема астатического объекта

где ;

Найдем численные значения для постоянной времени T1:гр = 163,6*1028/2056= 81,8 кмоль/ч

 10,36 ч

Передаточная функция объекта будет иметь следующий вид:


Обозначим

Из уравнения динамики вычтем уравнение статики, получим выражение вида:


Введем безразмерные переменные:


С учетом безразмерных переменных:


Выполним линеаризацию выражения на основе преобразования Лапласа:


где ;

Найдем численные значения для коэффициента усиления K2 и постоянной времени T2:

м3

 мин


Передаточная функция регулятора будет иметь следующий вид:


4. Синтез и исследование одноконтурных АСР концентрации и уровня в кубе колонны.

Рисунок 19 - Структурная схема одноконтурной АСР

4.1 Расчет настроек регуляторов методами Циглера-Никольса, РЧХ и ВТИ

С помощью пакета «SYNTEZ» получим настройки регуляторов тремя методами: методом Циглера-Никольса, методом расширенных частотных характеристик, и формулами ВТИ. Из этих настроек выберем лучшие.

Таблица 1 - Параметры настройки регулятора АСР

Метод

Закон регулирования

Параметры настройки регулятора



S1

S0

S2

Ц - Н

П

0,4997

-

-


ПИ

0,4498

0,0871

-


ПИД

0,5997

0,1945

0,4645

РЧХ

И

-

3,0165

-


П

0,5062

-

-


ПИ

0,4863

0,3999

-

ВТИ

П

0,5

-

-


ПИ

0,5

0,0804

-


ПИД

0,4423

0,0548

0,4421


В пакете <SYNTEZ> приняты следующие обозначения параметров настройки регуляторов:= Кр - коэффициент усиления регулятора;= 1/ Tи, где Tи - время интегрирования;= Тд - время дифференцирования.

Для дальнейших исследований выбираем ПИ-регулятор для АСР.

.2 Построение переходных характеристик для АСР

Построим переходные характеристики с использованием полученных настроек в пакете <MATLAB> по основному каналу управления. Результаты приведены в таблице 3. Ниже приводим графики исследований.

Переходные характеристики для АСР с передаточной функцией объекта

:

Метод Циглера-Никольса

ПИ-регулятор

Показатели качества

tр, ч

500

J2

35


Метод РЧХ

ПИ-регулятор

Показатели качества

tр, ч

500

J2

40


Метод ВТИ

ПИ-регулятор

Показатели качества

tр, ч

350

Yдин

26

Данные исследования одноконтурных систем показали, что лучшим регулятором для первой АСР является ПИ-регулятор, настройки которого рассчитаны методом ВТИ.(J2=26, tp = 350), т.к. в данном случае минимальное время регулирование, максимальное динамическое отклонение минимально:


5. Основы синтеза комбинированных АСР с динамическим компенсатором, подключенным на вход объекта

Основы синтеза комбинированных АСР с динамическим компенсатором, подключенным на вход объекта, рассмотрим на примере проектирования комбинированной системы регулирования уровня в испарителе.

Функциональная схема комбинированной АСР с динамическим компенсатором, подключенным на вход объекта.

На рис.1. представлена АСР уровня в испарителе. Уровень регулируется по подаче греющего пара Gгр. По входной температуре жидкого технологического потока Твх.ж. действует сильное возмущение.

Функциональная схема комбинированной АСР уровня с динамическим компенсатором ,подключенным на вход объекта.

Рисунок 20- Функциональная схема комбинированной АСР уровня с динамическим компенсатором ,подключенным на вход объекта

Инвариантность уровня h по отношению к возмущению по температуре Твх. ж. обеспечивается с помощью динамического компенсатора Rк.

Структурная схема комбинированной АСР с динамическим компенсатором, подключенным на вход объекта.

Рисунок 21- Структурная схема комбинированной АСР с динамическим компенсатором, подключенным на вход объекта

Методика расчета компенсатора Rк, подключенного на вход объекта.

Применим к схеме, приведенной на рис.2, условие инвариантности выходной величины Y по отношению к возмущающему воздействию Xв:

= Xв*Wв(p) - Xв*Rк(p)*Wоб(p) = 0

Где Wв(p) - передаточная функция по каналу возмущения;к(p) - передаточная функция компенсатора;об(p) - передаточная функция объекта.

Произведя преобразование, получаем:

в(p)_к(p) = Wоб(p

Обозначим : Wв=Wв*exp(-p*в )об=Wоб*exp(-p*об )

Тогда с учетом запаздываний в объекте по каналам возмущения и управления получим:

Wв(p)*exp(-p*в ) Wв(p) *exp(-p*к )к(p) = Wоб(p)*exp(-p*об ) = Wоб(p)

Проверяем выражение (2) на физическую реализуемость компенсатора.

Компенсатор физически реализуем, если

) к > 0, что возможно при в > об

) mк £ nк, т.е. если порядок полинома числителя Rк(p) меньше или равен порядку полинома знаменателя.

Структурная схема комбинированной АСР типа <ASRK11> по отношению к воздействию Xв.

Когда сигнал от компенсатора подается на вход объекта, структурная схема комбинированной АСР типа <ASRK11> преобразуется к последовательному соединению разомкнутой системы и замкнутого контура (рис.3).

Структурная схема комбинированной АСР типа <ASRK11> по отношению к воздействию Xв.

Рисунок 22- Структурная схема комбинированной АСР типа <ASRK11> по отношению к воздействию Xв.

Передаточная функция АСР W АСР (p) в соответствии со структурой, приведенной на рис.3:

ректификация автоматизация изопропилбензол астатический

XBАСР(p) = Wр.с.(p)*Wз.c.(p)

Где Wр.с. - передаточная функция разомкнутой системы;з.с. - передаточная функция замкнутой системы.

Математическое описание структуры разомкнутой системы, на основании рис.3., будет иметь вид:

.c.(p) = Wв(p)-Rк(p)*R(p)*Wоб(p)

Математическое описание замкнутой системы, на основании рис.3.будет:

_______ Wз.с.(р) = 1+Wоб(p)*R(p) (5)

Подставив (4) и (5) в (3) получим выражение W АСР в развернутом виде:

АСР(р) = [Wв(p) - Rк(p)*R(p)*Wоб(p)]*[1/{1+Wоб(p)*R(p)}]

Анализ выражения (6) показывает, что если в системе будет использован теоретический компенсатор типа (1), то

АСР(р) =0,

что и обеспечит инвариантность Y по отношению к Xв.

5.2 Результаты исследования комбинированной АСР при независимом расчете настроек регуляторов

Исследование комбинированной АСР выполнено с помощью моделей, разработанных в среде «MATLAB» (см. Приложение 1). Мы получили переходные процессы комбинированной АСР с настройками регуляторов, полученными при исследовании одноконтурной АСР.

№ п.п.

Вх. возд.

Комп.

АСР




Y1

tp1

J2_Y1

1

XB=1

RK11 Выкл

1

350

24

2

XB=1

RK11Вкл

1

300

9

3

XB=1

RK12 Выкл

1

350

24

4

XB=1

RK12Вкл

1

300

9


Лучшей принимаем систему RK11.

Выполняем исследования при следующих комбинациях входных воздействий:

                   Yzd            X1XB                  YzdXB_K  Yzd_K        X1XB_K    YzdXB_K

Таблица 3

№ п.п.

Вх. возд.

Комп.

АСР




Y1

tp1

J2_Y1

1

X1=1

Выкл

1

350

27

2

X1=1

Вкл

1

350

27

3

Yzd=1

Выкл.

1,75

350

25

4

Yzd=1

Вкл

1,75

350

25

5

X1=1 XB=1

Выкл

1,25

350

44

6

X1=1 XB=1

Вкл

1,25

350

22

7

Yzd=1 XB=1

Выкл.

1,1

350

1,5

8

Yzd=1 XB=1

Вкл

1,25

350

7,5


Рисунок 23- Переходная характеристика при входном воздействии х1=1 и включенном компенсаторе

Рисунок 24 - Переходная характеристика при входном воздействии х1=1

Рисунок 25- Переходная характеристика при входном воздействии Узд=1 и включенном компенсаторе

Рисунок 26- Переходная характеристика при входном воздействии Узд=1 и выключенном компенсаторе

Рисунок 27- Переходная характеристика при входном воздействии х1=1 И хв=1и включенном компенсаторе

Рисунок 28 - Переходная характеристика при входном воздействии х1=1 и хв=1и выключенном компенсаторе

Рисунок 29 - Переходная характеристика при входном воздействии Узд=1 хв=1и включенном компенсаторе

Рисунок 30- Переходная характеристика при входном воздействии Узд=1 хв=1 и выключенном компенсаторе

6. Разработка упрощенной функциональной схемы автоматизации процесса

Составить схему автоматизации ректификационной установки для получения в качестве целевого продукта - дистиллята, обеспечив баланс по паровой фазе верха колонны с учетом наличия хвостовых газов; тепловой баланс верха колонны; материальный баланс по жидкой фазе верха и низа колонны (hфл, hк); тепловой баланс для подогревателя потока питания (qп) при условии высокой инерционности канала управления; минимизацию энергозатрат при наличии возмущений по расходу питания (Gп).

Функциональное решение автоматизации процесса ректификации:

Регулирование.

·   Регулирование Pв по подаче хладоагента Gхл - обеспечивает материальный баланс по паровой фазе.

·   Регулирование hфл по отбору флегмы Gфл - обеспечивает материальный баланс по жидкой фазе верха колонны.

·   Регулирование hк по отбору флегмы Gфл - обеспечивает материальный баланс по жидкой фазе верха колонны

·   Стабилизация расхода питания Gп - обеспечивает:

- материальный баланс по всему веществу,

снятие наиболее существенных возмущений,

заданное положение рабочей области колонны;

стабилизацию производительности установки.

·   Регулирование θп по подаче Gт обеспечивает:

- заданное положение рабочей линии;

эффективность процесса разделения;

тепловой баланс

Контроль.

·   Температуры и расходы исходных потоков.

·   Температуры - θт, θп

·   Давление - Рв.

·   Уровень - hфл, hк.

Сигнализация.

·   существенные отклонения hфл, от задания;

повышение ;

Выводы по работе

В данном курсовом проекте была автоматизирована ректификационная установка для выделения товарного пергидроля в производстве перекиси водорода:

Был исследован объект автоматизации и получены его передаточные функции.

 

С помощью программного продукта «SYNTEZ» и «MATLAB» получены настройки регуляторов для одноконтурных систем регулирования и после исследования этих АСР выбраны наилучшие настройки.

Была исследована каскадная АСР температуры потока питания со вспомогательным контуром стабилизации расхода теплоносителя

После проведенных исследований была разработана функциональная схема автоматизации, которая включает в себя подсистемы регулирования, контроля, сигнализации и защиты.

Похожие работы на - Автоматизация колонны отгонки бензола в процессе производства изопропилбензола

 

Не нашли материал для своей работы?
Поможем написать уникальную работу
Без плагиата!
Без нейросетей!