Молекулярно-лучевая эпитаксия

  • Вид работы:
    Курсовая работа (т)
  • Предмет:
    Информатика, ВТ, телекоммуникации
  • Язык:
    Русский
    ,
    Формат файла:
    MS Word
    572,03 Кб
  • Опубликовано:
    2012-04-10
Вы можете узнать стоимость помощи в написании студенческой работы.
Помощь в написании работы, которую точно примут!

Молекулярно-лучевая эпитаксия

СОДЕРЖАНИЕ


Введение

. Основные положения процесса молекулярно-лучевой эпитаксии

. Устройство установки и принципы действия

.1 Рабочий объем

.2 Эффузионные ячейки

.3 Картины на экране ДБЭ

.4 Подготовка подложки

. Применение

Заключение

Список использованных источников

ВВЕДЕНИЕ


Работы по исследованию искусственно созданных полупроводниковых сверхрешеток были инициированы идеей о создании одномерной периодической структуры чередующихся сверхтонких слоев, высказанной в 1969 г. Эсаки и Цу. Изготовление подобной кристаллической структуры из сверхтонких слоев представляло в то время необычайно сложную задачу[1]. Выбор метода изготовления наноструктур определяется требуемой точностью воспроизведения заданного химического состава и толщин слоев. Из опыта известно, что в обычном высоком вакууме 10-6 Торр атомарно чистая поверхность покрывается монослоем из адсорбированных молекул за несколько секунд. Поэтому для контроля процесса нанесения на уровне монослоев необходимы:

) сверхвысокий вакуум, то есть остаточное давление порядка 10-10 Торр;

) особо тщательная очистка подложек от окисных пленок;

) особо чистые исходные материалы;

) "измельчение" частиц в осаждаемом пучке до размера отдельных молекул;

) контроль за атомной структурой растущих наноструктур в реальном режиме времени.

Только метод молекулярно - лучевой эпитаксии (МЛЭ) удовлетворяет всем этим требованиям. Поэтому, несмотря на дороговизну, он широко применяется при изготовлении наноструктур[2].

1. ОСНОВНЫЕ ПОЛОЖЕНИЯ ПРОЦЕССА МОЛЕКУЛЯРНО-ЛУЧЕВОЙ ЭПИТАКСИИ


Молекулярно-лучевая эпитаксия появилась как развитие метода химического осаждения пленок в сверхвысоком вакууме (давление остаточных газов ниже 10-7 Торр - высокий вакуум, 10-11 - сверхвысокий)[3]. Использование чистых источников напыляемых материалов, сверхвысокий вакуум, точный контроль температуры подложки, различные методы диагностики растущей пленки в сочетании с компьютерной системой управления параметрами процесс - все это вместе привело к созданию качественно новой технологии, способной решать сложные задачи выращивания тонких пленок[1].

МЛЭ была изобретена Альфредом Чо и Джоном Артуром в Bell Labs в 1968 году[4]. Широкое использование МЛЭ началось с появлением промышленного вакуумного оборудования в начале 70-х годов, развитие которого позволило проводить контролируемое осаждение последовательных атомных слоев. МЛЭ в своей основе является утонченной модификацией метода вакуумного напыления. Рост пленок при МЛЭ, представляющей собой вакуумное напыление, определяется в основном кинетикой взаимодействия пучков с поверхностью кристалла в отличие от других методов, таких как жидкостная эпитаксия или химическое осаждение, которые происходят в условиях, близких к равновесным. Кроме того, поскольку процесс МЛЭ происходит в сверхвысоком вакууме, его можно контролировать "in situ" с помощью таких диагностических методов, как дифракция отраженных быстрых электронов (ДОБЭ), электронная ожеспектрометрия (ЭОС), вторично-ионная масс-спектрометрия (ВИМС), рентгеновская фотоэлектрическая спектроскопия (ФЭС) и т. д., поместив в систему соответствующую аппаратуру вместе с квадрупольным массанализатором для контроля интенсивности пучков и ионной пушкой для очистки поверхности. Эти богатые возможности контроля и анализа, устраняющие большую часть сомнений, безусловно дают МЛЭ существенные преимущества перед другими технологическими методами. Перечислим важнейшие задачи, решение которых обеспечивается специфическими чертами МЛЭ:

а) получение монокристаллов высокой чистоты - за счет роста в сверхвысоком вакууме и высокой чистоты потоков веществ;

б) выращивание сверхтонких структур с резкими изменениями состава на границах - за счет относительно низких температур роста, препятствующих взаимной диффузии;

в) получение гладких бездефектных поверхностей для гетероэпитаксии - за счет ступенчатого механизма роста;

г) получение сверхтонких слоев с контролируемой толщиной - за счет точности управления потоками и относительно малых скоростей роста;

л) создание структур со сложными профилями состава и(или) легирования;

е) создание структур с заданными внутренними напряжениями растяжения или сжатия, локально модифицирующими зонную диаграмму, - "зонная инженерия"[1].

Молекулярно-лучевая эпитаксия представляет собой усовершенствованную разновидность методики термического напыления в условиях сверхвысокого вакуума. Давление остаточных газов в вакуумной камере поддерживается ниже 10-8 Па (~10-10 мм рт. ст.)[5].

Потоки атомов (или молекул) необходимых элементов направляются на нагретую монокристаллическую подложку в сверхвысоком вакууме и осаждаются там с образованием тонкой пленки требуемого состава. Как только атомы примеси окажутся на поверхности подложки, они движутся в результате диффузии, пока не достигнут термодинамически выгодного расположения на подложке[6]. Высокая температура способствует быстрой миграции атомов по поверхности, в результате чего они занимают строго определенные положения, ориентированные относительно подложки - происходит эпитаксиальный рост кристаллической пленки[7].

Основным блоком системы МЛЭ является ростовая камера, в которой потоки атомов или молекул образуются за счет испарения жидких или сублимации твердых материалов из эффузионных ячеек (эффузия - медленное истечение газов через малые отверстия). Эффузионная ячейка представляет собой цилиндрический либо конический тигель диаметром 1-2 см и длиной 5-10 см. На выходе ячейка имеет круглое отверстие - диафрагму диаметром 5-8 мм[5].

Схематическое изображение основных узлов установки МЛЭ приведено на рисунке 1.1. В одной ростовой камере может располагаться несколько испарителей, каждый из которых предназначен для нанесения одного вещества[7]. Количество эффузионных ячеек зависит от состава пленки и наличия легирующих примесей. Для выращивания элементарных полупроводников (Si, Gе) требуется один источник основного материала и источники легирующей примеси n- и р-типа. В случае сложных полупроводников (двойных, тройных соединений) требуется отдельный источник для испарения каждого компонента пленки. Температура эффузионной ячейки определяет величину потока частиц, поступающих на подложку, и тщательно контролируется. Она подбирается таким образом, чтобы давление паров испаряемых материалов было достаточным для формирования соответствующих молекулярных пучков. Ячейки располагаются так, чтобы максимумы распределений интенсивности пучков пересекались на подложке[8]. Управление составом основного материала и легирующих примесей осуществляется с помощью заслонок, перекрывающих тот или иной поток. Использование этих заслонок позволяет резко прерывать или возобновлять попадание любого из молекулярных пучков на подложку. Если в ходе выращивания структуры требуется резко менять концентрацию одной и той же примеси, то используют несколько источников этой примеси при разной температуре эффузионной ячейки. Однородность состава пленки по площади и ее кристаллическая структура определяются однородностью молекулярных пучков. В некоторых случаях для повышения однородности подложка с растущей пленкой постоянно вращается[5].

Рисунок 1.1 - Схема простейшей установки молекулярно-лучевой эпитаксии: 1 - держатель образца c нагревателем; 2 - образец; 3 - масс-спектрометр; 4 - эффузионные ячейки; 5 - заслонки; 6 - манипулятор; 7 - электронная пушка ДОБЭ; 8 - люминесцентный экран[9].

Наиболее важная для технологического процесса область ростовой камеры находится между эффузионными ячейками и подложкой (рисунок). Эту область можно разделить на три зоны, которые обозначены на рисунке цифрами I, II и III. Зона I - зона генерации молекулярных пучков, в этой зоне молекулярные пучки, формируемые каждой из эффузионных ячеек, не пересекаются и не влияют друг на друга. Во второй зоне (зона II - зона смешения испаряемых элементов) молекулярные пучки пересекаются и происходит перемешивание различных компонент. О физических процессах, происходящих в этой зоне известно в настоящее время очень мало. В непосредственной близости от поверхности подложки располагается зона III -зона кристаллизации. В этой зоне происходит эпитаксиальный рост в процессе молекулярно-пучковой эпитаксии[9].

Для достижения желаемой концентрации пленки важно учитывать не только скорость потока вещества, но и его поведение на подложке. При низком давлении потока примесей происходит десорбция на поверхности подложки и поведение осаждаемого материала очень зависит от температуры. Для получения гетероструктуры GaAs из твердых источников испаряют Ga и As. Температура, как правило, поддерживается для давления паров 10-2 до 10-3 Торр внутри эффузионной ячейки, в результате чего получается плотность потока около 1015 молекул/см2 при открытом затворе ячейки. Форма и размер отверстия ячейки оптимизирован для равномерного распределения частиц на подложку. При этом получается потоки из элементарного Ga и тетрамерного As4. Для подложки GaAs поток Ga имеет коэффициент прилипания очень близкий к 1, что указывает на большую вероятность адсорбции атомов. Крекинг-установка часто используют для As4 целью получения As2, что приводит к ускорению роста и более эффективному использованию источника материала. Крекинг-установка используется для получения мономерных (иногда димерных или тетрамерных) частиц из источника. Крекинг-установки расположены таким образом, что поток вещества проходит через них сразу после эффузионной ячейки. Поток вещества, выходящий из эффузионной ячейки, проходит через крекинг-установку, которая производит диссоциацию молекул этого вещества. Некоторые элементы, такие как кремний, имеют достаточно низкое давление пара, поэтому для его испарения используют методы прямого нагрева, такие как электронная бомбардировка или нагрев лазерным излучением. Для электронного пучка используют электромагнитную фокусировку с целью предотвращения попадания кремния в источник электронов. Поскольку материал испаряется с поверхности, загрязнение стенок тигля уменьшается. Кроме того, для этой конструкции не требуется затвор. Модуляцией пучка можно производить очень резкие границы на подложке. Подложки подвергаются предварительной обработке перед процедурой МЛЭ. Сейчас производители подложек поставляют чистые подложки, готовые к эпитаксиальному росту и защищенные слоем окисла, выращенного в тщательно контролируемой окислительной атмосфере[2]. Они проходят химическую очистку, а затем помещаются в загрузочную камеру, где подвергаются бомбардировке ионами аргона с последующим отжигом. Этим процессом удаляют верхний слой окисла. Отжиг исправляет дефекты, вызванные бомбардировкой. Условия сверхвысокого вакуума и требование к низкому уровня загрязнения требуют определенного подхода к выбору материалов, из которых будут изготовлены компоненты установки МЛЭ. В первую очередь материал должен иметь низкое давление пара. Низкая скорость испарения уменьшает концентрацию загрязняющих веществ в рабочем объеме. Поэтому для изготовления компонентов установки используют тугоплавкие металлы. Система МЛЭ должна находиться всегда под высоким давлением. При разгерметизации камера наполняется загрязнениями. Чем меньше система будет возвращаться к атмосферному давлению, тем эффективней будут происходить в ней процессы выращивания. Современные системы состоят из двух камер: загрузки подложек и выращивания. При загрузке подложек камера роста остается в сверхвысоком вакууме. Так же можно выделить дополнительную секцию для эффузионных ячеек. Это позволить наполнять их без разгерметизации камеры роста. Ростовые камеры современных технологических комплексов МПЭ оборудованы, как правило, квадрупольным масс-спектрометром для анализа остаточной атмосферы в камере и контроля элементного состава на всем технологическом процессе. Для контроля структуры и морфологии формируемых эпитаксиальных структур в камере роста располагается также дифрактометр отраженных быстрых электронов. Часто ростовые камеры или в многокамерных комплексах МЛЭ в камере для подготовки и анализа подложек и эпитаксиальных структур располагаются электронная пушка с энергоанализатором вторичных электронов и ионная пушка для очистки подложек ионным травлением и послойного анализа состава эпитаксиальных структур. Так же для исследования гладкости поверхности используют метод эллипсометрии. Возможность контроля непосредственно в процессе выращивания - одно из значительных преимуществ МЛЭ. В настоящее время большинство установок для МЛЭ состоят из автоматизированных модулей, которые подразделяются на технологические и вспомогательные. Технологические модули предназначены для проведения определенного технологического процесса - очистки подложек, осаждения пленок, анализа формируемых структур и т.д. Вспомогательными являются, например, модуль загрузки-выгрузки, модуль предварительной откачки и обезгаживания вакуумных камер и др. Входящие в состав комплекса МЛЭ модули соединяются между собой шлюзовыми устройствами и системой перемещения подложек и образцов из одного модуля к другой без нарушения вакуума.

Рисунок 1.2 - Схема установки МЛЭ[12].

. УСТРОЙСТВО УСТАНОВКИ И ПРИНЦИПЫ ДЕЙСТВИЯ

.1 РАБОЧИЙ ОБЪЕМ

Рабочий объем (РО) делается из нержавеющей стали. Для создания сверхвысокого вакуума (P=10-10 Торр) рабочий объем обезгаживается многочасовым прогревом до температур около 300 - 400oС. Обезгаживать при больших температурах нельзя, т.к. около 500oС начинается интенсивная диффузия углерода из нержавеющей стали. Это резко увеличивает диффузию газов внутри стали, и она перестает обеспечивать сверхвысокий вакуум. Для прогрева стенки РО окружены резистивными нагревателями, покрытыми сверху асбестовым теплоизолятором и алюминиевыми защитными кожухами[2]. Так же здесь важна насосная система. В нее обычно входят ионный и криогенный насосы[13].

Для получения слоев высокой чистоты важно, чтобы источники содержали как можно меньше посторонних примесей. Для этого в тигли источников помещают только сверхчистые материалы. Для перехвата частиц, испаряющихся со стенок, внутри РО стоят металлические экраны, охлаждаемые жидким азотом.

Материал в форме молекулярного пучка (луча) из эффузионных ячеек наносится на подогреваемую (примерно до 600o С) вращаемую (для однородности роста слоев) кристаллическую подложку. Этот пучок обычно получается с помощью теплового испарения из источника, содержащего наносимый материал в виде одного химического элемента. Но применяются и источники с металлоорганикой (МОМЛЭ), источники с газообразными гидридами (МЛЭ с газообразными источниками) или некоторой комбинацией таких источников (химическая лучевая эпитаксия - ХЛЭ).

Для образования атомно резких границ между соседними слоями с разным составом важно, чтобы скорость роста слоя равнялась нескольким ангстремам в секунду. Тогда прерывание роста слоя за долю секунды можно обеспечить поворотом механической заслонки, управляемой от компьютера. Расстояние от источника до подложки зависит от размеров последних. В промышленных установках это расстояние больше, чем в лабораторных установках, так как там подложки больше и требуется большая степень однородности слоя вдоль их поверхности.

.2 ЭФФУЗИОННЫЕ ЯЧЕЙКИ

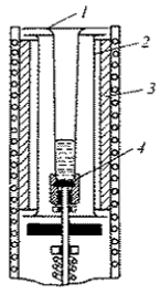
Эффузионная ячейка представляет цилиндрический резервуар (рисунок 2.2.1), выполненный из пиролитического нитрида бора, который выдерживает температуру около 1300oС без заметного испарения, или высокочистого графита. Его форма может быть цилиндрической или конической с различным углом сужения в зависимости от испаряемого материала. Толщина стенок должна быть относительно большой, чтобы выдерживать работу на протяжении нескольких месяцев[13]. Поверх тигля располагаются нагревательная спираль из танталовой проволоки и тепловой экран, изготовленный обычно из танталовой или молибденовой фольги[7].

Эффузионные ячейки могут работать в области температур до 1400o С и выдерживать кратковременный нагрев до 1600o С. Для испарения тугоплавких материалов, которые используются в технологии магнитных тонких пленок и многослойных структур, нагревание испаряемого материала осуществляется электронной бомбардировкой. Температура испаряемого вещества контролируется вольфрам-рениевой термопарой, прижатой к тиглю. Испаритель крепится на отдельном фланце, на котором имеются электрические выводы для питания нагревателя и термопары. Как правило, в одной ростовой камере располагается несколько испарителей, в каждом из которых размещены основные компоненты пленок и материалы легирующих примесей[12]. С целью предотвращения взаимного загрязнения и уменьшения теплового взаимодействия испарительные ячейки разделяют экранами, охлаждаемыми жидким азотом. Такой же экран помещают позади держателя образца для уменьшения загрязнения остаточной атмосферы в камере. С этой же целью держатели источников, подложки изготавливают из материалов с низким давлением паров, таких, как алунд, тантал, графит[7].

Рисунок 2.2.1 - Схема эффузионной ячейки: 1 - тигель; 2 - нагреватель; 3 - радиационный экран; 4 - термопара[11].

Источники молекулярных пучков нагреваются независимо, пока не будет достигнута требуемая величина выходящего из них потока осаждаемого материала. Изменение температуры эффузионной ячейки на полградуса приводит к изменению потока примерно на один процент. Чтобы контролировать толщину с точностью около 1% для управления температурой ячеек применяются высокостабильные устройства с обратной связью, состоящие из вольфрамо-рениевых термопар и контроллеров. Для предотвращения взаимного теплового влияния соседние ячейки разделены охлаждаемыми экранами.

Пока заслонка перед ячейкой закрыта, часть излучаемого тепла отражается от нее и возвращается обратно в ячейку. Поэтому открытие заслонки вызывает падение температуры ячейки, которое приводит к уменьшению потока вещества из нее на несколько процентов с характерной постоянной времени восстановления равновесия в несколько минут. Этот переходной процесс зависит от таких деталей конструкции как тип заслонки и ее местонахождение, устройство нагревательного элемента и расположение термопары контроллера[2].

Первый аналитические исследования по распределению потока проводлись на так называемых ячейках Кнудсена, с небольшими отверстиями, которые обеспечивают термодинамические равновесие между расплавом в ячейке и парами. Однако чаще в установках МЛЭ используют ячейки Люнгмюра. Из-за больших размеров выходного отверстия ячейки создание потока может быть достигнуто при более низкой температуре, чем в ячейках Кнудсена, что приводит к снижению энергопотребления и тепловой генерации примесей. Однако в данном типе ячейки поток определяется не только давлением пара, но и геометрией этой ячейки[13].

Рассмотрим модель Кнудсена эффузионной ячейки. В замкнутом объеме с чистым материалом в твердой или жидкой форме, нагретым до температуры Т, устанавливается термодинамическое равновесие между этим материалом и паром вокруг него. Предполагается, что каждая частица, достигшая поверхности, остается на ней, и для компенсации осевших частиц такой же поток должен уходить с поверхности в пар. Если же коэффициент прилипания К частиц к поверхности меньше единицы, то часть из них отражается и возвращается в пар.

Этот коэффициент прилипания К зависит от многих микроскопических параметров поверхности и налетающих частиц, что делает непредсказуемым поток в такой конфигурации с открытой границей раздела между конденсированной и газовой фазами.

Чтобы избежать этой неопределенности, для источника применяют конструкцию ячейки Кнудсена (рисунок 2.2.2). Здесь излучающая поверхность расплава окружена экраном с маленьким отверстием, которое и является источником испаряемых частиц.

Рисунок 2.2.2 - Конструкция ячейки Кнудсена.

Это отверстие в экране должно быть меньше длины свободного пробега частиц при заданном давлении и толщина стенок отверстия должна быть как можно меньше. При этих условиях влетающие в отверстие частицы не смогут вылететь обратно, то есть эффективный коэффициент прилипания такого источника равен единице независимо от типа материала и температуры. В результате число вылетающих частиц в единицу времени для любого материала пропорционально площади А отверстия ячейки и равно А*Smax (Smax - максимальный поток частиц, испаряющихся с поверхности), а угловое распределение вылетающих частиц пропорционально косинусу угла между направлением вылета и направлением нормали к площади отверстия ячейки. Отклонения от этого косинусного распределения становятся заметными при утолщении стенок ячейки до величины, сравнимой с диаметром выходного отверстия. При дальнейшем увеличении толщины выходной пучок становится все более параллельным (рисунок 2.2.3).

Рисунок 2.2.3 - Эффузионная ячейка с большой толщиной стенок

.3 КАРТИНЫ НА ЭКРАНЕ ДБЭ

Наиболее популярной технологией слежения за ходом нанесения слоев является дифракция быстрых электронов (ДБЭ) при их отражении от поверхности растущего слоя (отражательная дифракция высокоэнергичных электронов или RHEED в английской транскрипции) (рисунок 2.3.1). С ее помощью калибруют скорости роста слоев и температуру подложки, наблюдают удаление оксидов с поверхности подложки, определяют вид упорядочения поверхностных атомов и подходящее избыточное давление паров, обеспечивают обратную связь для управления источником в зависимости от состояния поверхности растущего слоя и получают информацию о кинетике роста слоя.

Рисунок 2.3.1 - Схема получения изображения растущего слоя путем дифракции быстрых электронов.

Электронная пушка ДБЭ эмитирует электроны с энергией около 10 КэВ, которые падают на поверхность под скользящим углом около 1 градуса. Затем электроны отражаются от нее, падают на экран с фосфорным покрытием и образуют здесь следующие 3 объекта: 1) дифракционный узор из светящихся пятен, 2) пятно зеркального отражения пучка от поверхности подложки, и 3) яркое пятно от электронов первичного пучка, совсем миновавших подложку. Изображение с экрана далее записывается на видеокамеру для записи всей картины или для слежения за изменением во времени интенсивности свечения одного из дифракционных пятен.

Рисунок 2.3.2 - Картина, полученная ДБЭ

Из вида дифракционной картины ДБЭ делают качественные выводы о состоянии поверхности. Если поверхность монокристаллическая и гладкая, то картина состоит из полос, перпендикулярных поверхности подложки (рисунок 2.3.2). При нарушении гладкости поверхности эти полосы разбиваются на отдельные пятна и тускнеют. Аморфная поверхность, например, слой окисла, дает туманное размытие вместо дифракционной картины. Поликристаллическая поверхность дает дифракционную картину, состоящую из колец, окружаюших пятно первичного пучка.

Кроме качественных выводов о состоянии поверхности дифракционная картина содержит и количественные данные об изменении параметра кристаллической решетки в ходе роста слоев. Например, таким способом было измерено 4% рассогласование параметров решеток Ge и Si при эпитаксиальном росте напряженных сплошных и островковых пленок GexSi1-x на подложках Si (100)[2].

.4 ПОДГОТОВКА ПОДЛОЖКИ

Выращивание высококачественных эпитаксиальных слоев методом МЛЭ требует тщательности в подготовке подложек, поскольку, как правило, не используется очистка поверхности в самой камере роста, за исключением удаления окисных слоев[5].

Создание пленки можно проводить на подложках различной структуры, ориентации и химического состава. При выборе материалов первоочередное внимание уделяется постоянной решеток. Источником деформации так же является коэффициент температурного расширения, поскольку пленки выращиваются при больших температурах. При охлаждении до комнатной температуры могут возникнуть различные дислокации и дефекты. Так же, плотноупакованные плоскости имеют низкую поверхностную энергию, что способствует десорбции атомов с поверхности, замедляя темпы роста осаждаемых материалов[6].

Для эпитаксиального роста нужна атомарно высокая чистота исходной подложки, так как атомы примеси из атмосферы или другого источника легко соединяются с подложкой и либо создают дефекты кристаллической структуры, либо ухудшают оптические и электрические свойства растущего эпитаксиального слоя. Для контроля чистоты подложки применяется электронная оже-спектроскопия. Сейчас производители подложек поставляют чистые подложки, готовые к эпитаксиальному росту и защищенные слоем окисла, выращенного в тщательно контролируемой окислительной атмосфере. Этот защитный окисный слой удаляется с подложки внутри рабочего объема перед самым началом процесса МЛЭ.

Когда подложка только загружена в рабочий объем и повернута навстречу источникам, экран ДБЭ показывает туманное размытие вместо дифракционной картины, что говорит об аморфном состоянии защитного окисла на поверхности подложки. Для удаления этого оксидного слоя подложки нагреваются в условиях избыточного давления As до тех пор, пока на экране ДБЭ не появится дифракционная картина монокристаллической подложки. Температура подложки контролируется термопарой, прижимаемой пружиной к молибденовому основанию подложки.

Температура, при которой подложка становится чистой, зависит от вида окисного слоя, от скорости роста температуры и отличается для соседних подложек примерно на 20o С, а иногда испытывает отклонения на 40o С от типичного значения 600o С. Эти отклонения вызваны не различием прижимов термопар к подложкодержателям, а природой удаляемого сорбированного слоя. Кроме термопары для контроля температуры подложки применяется также оптический пирометр, направляемый на поверхность подложки через противоположное окно. После появления кристаллической дифракционной картины на экране ДБЭ, говорящей об удалении окисного слоя, подложка нагревается еще на 50o С и выдерживается около 10 минут для удаления остатков окисла[2].


. ПРИМЕНЕНИЕ

молекулярный эпитаксия эффузионный фотоприемник

Использование структур со сверхрешетками, квантовыми ямами и квантовыми точками позволяет создавать уникальные проборы микро-, нано- и оптоэлектроники, принцип действия которых основан на волновой природе электрона. Это, в первую очередь, полупроводниковые лазеры и чувствительные фотодетекторы с квантовыми ямами, сверхрешетками и квантовыми точками в активной области, транзисторы с высокой подвижностью электронов в канале, нанотранзисторы, туннельно-резонансные диоды, одноэлектронные приборы и т.п.

В настоящее время дополнительный импульс как исследовательским, так и технологическим работам по МЛЭ придают идеи и перспективы создания элементной базы для квантовых компьютеров.

Промышленная реализация и развитие метода МЛЭ убедительно показали, что он незаменим при получении многослойных эпитаксиальных структур с атомной гладкостью границ, прецизионно заданными толщинами слоев, составом и профилем легирования[14].

МЛЭ в коммерческих целях используется в основном для создания GaAs. Для устройств на основе GaAs требуется высокая скорость в СВЧ диапазоне и поэтому требуется очень хорошее качество эпитаксиальных слоев. С этой целью очень хорошо справляется процесс МЛЭ.

Так же с помощью МЛЭ выращивают слои GaAs на кремниевых подложках. Они получаются на больших пластинах, имеют лучшую теплопроводимость и обходятся более дешево. Не смотря на проблемы такого выращивания (довольно большое рассогласование постоянных решеток, что приводит к образованию дислокаций), на их основе было сделано много транзисторов, лазеров и светодиодов.

Кроме GaAs с помощью МЛЭ получают структуры с требуемыми параметрами из полупроводников III-V групп. Используя чередующиеся тонкие пленки (в несколько моноатомных слоев) из этих материалов получают сверхрешетки. Такие структуры особенно применяются светодиодах и лазерах (так же с излучением спектра синего цвета). Так же из этих структур изготавливают инфракрасные датчики, требующие очень малой ширины запрещенной зоны[6].

На основе соединений типа AIIIBV выпускают полупроводниковые индикаторы и приборы двух категорий: светодиодные индикаторы (LED) и микроволновые интегральные схемы.

Светодиоды изготавливают из монокристаллического GaAs, в котором р-n переходы формируются путем добавления соответствующих легирующих примесей. Обычно это теллур, цинк или кремний. Эпитаксиальные слои трехкомпонентных и четырехкомпонентных материалов типа AIIIBV, таких как фосфид арсенид галлия (GaAsP), наращиваются на подложку. Они дают полосу излучения волн определенной длины в видимом спектре для индикаторов или в инфракрасном спектре для источников излучения или датчиков. Например, красный свет с длиной волны примерно в 650 нм происходит от прямой рекомбинации р-n электронов и дырок. Диоды, излучающие зеленый свет, как правило, изготавливаются из фосфида галлия (GaP).  Микроволновые интегральные схемы - специализированный тип интегральных схем. Они применяются в качестве высокочастотных усилителей (от 2 до 18 Ггц) для радарных, телекоммуникационных и телеметрических установок, а также для октавных и многооктавных усилителей, применяющихся в электронных военных системах. Изготовители микроволновых интегральных схем, как правило, закупают подложки из монокристаллического арсенида галлия у фирм-поставщиков материалов (как это делают изготовители кремниевых приборов). Основные этапы изготовления включают жидкофазное эпитаксиальное выращивание, технологические и нетехнологические процессы, аналогичные процессам, применяемым при изготовлении кремниевых приборов[15].

Постепенно растет спрос на структуры Si-Ge, материалов II-VI групп. Так же были попытки вырастить сплавы из магнитных материалов Co-Pt и Fe-Pt для улучшения магнитного хранения данных[6].

Структуры кремний на сапфире (КНС) до сих пор составляют основу радиационно-стойких, быстродействующих интегральных схем. Кроме того, такие структуры могут быть использованы в оптоэлектронике. В связи с необходимостью совершенствования известных и создания новых, все более сложных, интегральных схем ужесточаются требования к слоям кремния на сапфире по однородности электрофизических характеристик, уровню автолегирования и концентрации донорных примесей, уменьшению влияния переходного слоя на границе кремний - сапфир. Несмотря на большое число исследований, направленных на улучшение свойств тонких слоев кремния на сапфире при выращивании их методом газофазной эпитаксии, протяженность переходной области менее 0.5 мкм достичь не удалось. Метод молекулярно-лучевой эпитаксии (МЛЭ) наиболее приемлем для гетероэпитаксии КНС-структур, поскольку температуру роста в нем можно снизить до 650°С с сохранением высокого структурного совершенства слоев и качества поверхности[16].

Полупроводниковые гетероструктуры с квантовыми точками привлекают все больший интерес исследователей в связи с уникальными оптическими свойствами, обусловленными атомоподобным энергетическим спектром электронных состояний, наличием воспроизводимых технологий получения, а также возможностями их применения в современных микро- оптоэлектронных приборов.

Оптические свойства полупроводниковых светоизлучающих приборов с активной областью на основе гетероструктур с квантовыми точками определяются, в том числе, средним латеральным размером, формой, однородностью по размерам, степенью пространственной упорядоченности и поверхностной плотностью островков. Необходимость управления геометрическими параметрами ансамблей квантовых точек за счет изменения технологически контролируемых условий их выращивания стимулирует развитие теоретических и экспериментальных исследований кинетики формирования когерентных островков. Наиболее подходящим методом создания таких структур является молекулярно-лучевая эпитаксия[17].

В ряде работ обсуждался вопрос о возможности получения излучения терагерцового диапазона за счет переходов электронов с верхних расщепленных уровней квантовой молекулы (две квантовые точки, связанные друг с другом за счет туннельных эффектов) на нижние. Таким образом, квантовые молекулы могут рассматриваться в качестве излучателей терагерцового излучения[18].

Существует возможность создания перестраиваемого под ближний и средний ИК диапазон фотодетектора с Ge квантовыми точками[19].

Разработанные нитридные гетероструктуры для СВЧ-микроэлектроники демонстрируют полное отсутствие эффекта коллапса (падение мощности в СВЧ-режиме по сравнению со статическими характеристиками), что характерно для нитридных транзисторов. На созданных гетероструктурах были изготовлены транзисторы с удельной мощностью 3,8 Вт/мм при 10 ГГц, что близко к предельным значениям для структур, выращенных на сапфире. Достижение указанных результатов в значительной степени обусловлено возможностями ростового оборудования. Возможность проведения процесса при ~12000С позволяет растить гетероструктуры с переходного слоя AlN, имеющего высокое кристаллическое совершенство. Выращенный на таком слое объемный нитрид галлия демонстрирует рекордные значения подвижности свободных носителей.

Важный приборный аспект включающего переходной слой AlN ростового процесса - возможность его легкой адаптации к различным видам подложек: сапфир, кремний, карбид кремния. Высокая теплопроводность подложек Si и, в особенности, SiC позволяет существенно снизить влияние теплового разогрева на работу мощного транзистора[20].

Базовым материалом для разработки и производства инфракрасных (ИК) фотоприемников (ФП) является твердый раствор кадмий-ртуть-теллур CdxHg1-xTe (КРТ). Это обусловлено физическими свойствами КРТ (большим быстродействием, возможностью изменения ширины запрещенной зоны КРТ в широких пределах и высокой квантовой эффективностью в диапазоне перекрываемых длин волн)[21]. ИК ФП на основе КРТ различного состава обеспечивают регистрацию ИК-излучения в широком диапазоне длин волн (1-20 мкм и более)[22]. Тепловизионная техника, основанная на применении фотоприемников инфракрасного (ИК) диапазона длин волн 3−12 мкм, требуется для применения как в военной технике для систем ночного видения, обнаружения и наведения, так и в народном хозяйстве для медицины, сельского хозяйства, химической, металлургической, топливодобывающей промышленностей[21].

Эпитаксиальные слои КРТ на подложках большого диаметра необходимы для создания матричных ИК ФП с большим числом элементов для повышения производительности производства и снижения стоимости изделий. В соответствии с этим к эпитаксиальным технологиям получения такого материала КРТ предъявляются жесткие требования - высокое структурное совершенство и однородность фотоэлектрических свойств по площади. Успехом эпитаксиальных методов являются как прогресс в увеличении размеров и структурного совершенства подложек CdZnTe, согласованных по параметру решетки с выращиваемой пленкой КРТ, так и возможность выращивания гетероэпитаксиальных структур на альтернативных подложках (буферные эпитаксиальные слои CdTe или CdZnTe на подложках из объемного Al2O3, GaAs или Si). Использование альтернативных подложек имеют несомненное преимущество перед подложками из CdZnTe по размерам, доступности, низкой цене и улучшенному согласованию коэффициента температурного расширения с системами считывания[22].

Наиболее привлекательным материалом для альтернативных подложек является кремний несмотря на большое (19 %) рассогласование параметров решеток с КРТ. Достоинством подложек из кремния являются не только низкая стоимость и большой размер пластин, но также и то обстоятельство, что совмещение кремниевой подложки с кремниевой системой считывания позволяет производить ИК ФП, обнаруживающие устойчивость при длительном термоциклировании. Полагается, что использование подложек из кремния приведет к созданию монолитных ИК ФП, в которых фоточувствительный материал осаждается непосредственно на кремниевую схему считывания[22].

Молекулярно-лучевая эпитаксия превосходит другие эпитаксиальные методы выращивания слоев КРТ на альтернативных подложках благодаря в первую очередь низким температурам роста (180oС), что предотвращает диффузию примесей из подложки и снижает фоновое легирование примесями. Технология МЛЭ КРТ достигла уровня, необходимого для приготовления материала для практических приложений. Этот метод позволяет при массовом производстве на подложках из GaAs и Si снизить стоимость КРТ, что является необходимым условием широкого применения инфракрасных сенсоров. Метод обладает практически неограниченными возможностями совершенствования инфракрасных сенсоров и дает возможность приготовления структур для новых классов приборов[21].

Пленки нитридов AlN, GaN, InN перспективны как барьерные слои туннельных гетероструктур благодаря своей большой ширине запрещенной зоны, а также для акустооптических гетероструктур[2].

Одним из основных применений структур на основе нитридов металлов третьей группы является изготовления мощных полевых СВЧ-транзисторов[23]. Полевые транзисторы на основе гетероструктур (HEMT-транзисторы - с высокой подвижностью электронов) AlGaN/GaN отличаются работой на сверхвысоких частотах, высокой мощностью и лучшей эффективностью в сравнении с классическими МОП-транзисторами[24].

В настоящее время проводится множество исследования светодиодов, излучающих свет в ультрафиолетовом диапазоне, с использованием нитрида галлия и сплава GaAlN. К областям использования AlN можно отнести: оптоэлектронику; диэлектрические слои в оптических носителях; высокотеплопроводные подложки; изготовление тиглей для роста арсенида галлия; датчики поверхностно-акустических волн[25].

С помощью МЛЭ выращивают InAs. Арсенид индия - перспективный материал электронной техники. Высокая подвижность электронов в арсениде индия прямозонная структура позволяют использовать его для изготовления высокоэффективных электронных и оптоэлектронных приборов, в частности быстродействующих транзисторов и интегральных схем, фотоприемных детекторов ИК - диапазона, инжекционных лазеров с длиной волны »3,5 мкм[11].

На основе квантовых точек InGaAs-GaAs изготавливают светодиоды и полупроводниковые лазеры поверхностного излучения с вертикальным объемным резонатором (vertical cavity surface-emitting lasers - VCSEL) [26]. Последние характеризуется излучением света в направлении перпендикулярно поверхности электродов - отсюда и словосочетание "вертикальное излучение" в названии.

По сравнению с поперечными излучателями у лазеров VCSEL имеются некоторые преимущества. Они гораздо проще в изготовлении. Поперечные излучатели необходимо сначала вырезать из соответствующего материала, затем поместить в корпус, и лишь после этого их можно тестировать. В то же время, лазеры VCSEL можно тестировать уже тогда, когда они только помещены на пластину-носитель, на которой осуществляется их сборка. Кроме того, VCSEL более эффективны и потребляют меньше энергии по сравнению с боковыми излучателями. Они вырабатывают меньше тепла, требуют меньшего внимания в вопросах теплоотвода и обычно служат дольше. Наконец, подобно другим типам лазеров, лазеры VCSEL допускают высокоскоростную модуляцию, благодаря чему они позволяют генерировать сигналы со скоростью более 1 Гбит/с.

Доступные в настоящее время лазеры VCSEL изготовляются из арсенида галлия (GaAs) и излучают свет в волновом диапазоне примерно от 750 до 1000 нм. Длины волн этого диапазона недостаточно велики для того, чтобы можно было передавать сигналы по волоконно-оптическим кабелям на большие расстояния, поэтому VCSEL используют не столько для дальней связи, сколько в LAN, развернутых в пределах одного здания, в которых интенсивный обмен информацией осуществляется на небольших расстояниях[27].

ЗАКЛЮЧЕНИЕ


В данной курсовой работе был рассмотрен метод молекулярно-лучевой эпитаксии. Из всего сказанного выше можно сделать однозначный вывод, что метод молекулярно-лучевой эпитаксии находится в ряде перспективных технологий выращивания тонких пленок и многослойных структур. Сверхвысокий вакуум позволяет выращивать очень качественные бездефектные тонкие пленки. Вакуум исключает загрязнения в камере роста а также увеличивает свободный пробег атомов, что позволяет значительно увеличить качество выращиваемых пленок. Низкая температура процесса уменьшает диффузию атомов и молекул из прилегающих материалов. Конструкция эффузионных ячеек позволяет использовать практически любые материалы для испарения и осаждения на подложку. Так же эти ячейки дают возможность резкого прерывания и возобновления поступления потоков атомов и молекул выращиваемого материала, что позволяет создавать резкие границы структур между слоями. Получению совершенных эпитаксиальных структур способствует и возможность анализа структуры, состава и морфологии растущих слоев в процессе их формирования методом дифракции отраженных быстрых электронов (ДОБЭ) и электронной оже-спектроскопии (ЭОС)[28].

С помощью МЛЭ было выращено множество нано-слоев, нитей и точек, которые обладают уникальными свойствами для наноэлектроники. Их можно использовать в создании полупроводниковых лазеров и чувствительных фотодетекторов с квантовыми ямами, сверхрешетками и квантовыми точками в активной области, транзисторов с высокой подвижностью электронов в канале, нанотранзисторов, туннельно-резонансных диодов, одноэлектронных приборов и т.п.

Однако существует ряд недостатков, которые не позволяют методу МЛЭ быть принятым для массового изготовления гетероструктур. Сверхвысокий вакуум способствует высокому качеству роста тонких пленок, однако сложность установки определяет высокую энергоемкость и дороговизну эксплуатации. Так же большой проблемой является скорость роста пленок. Однако исследования не стоят на месте, и, возможно, уже в скором будущем будут решены основные проблемы применения МЛЭ для широкого производства совершенных гетероструктур.

СПИСОК ИСПОЛЬЗОВАННЫХ ИСТОЧНИКОВ


[1] Молекулярно-лучевая эпитаксия и гетероструктуры / под ред. Л. Ченга и К. Плога - М.: Издательство "Мир", 1989. - 584 с.

[2] Методы формирования наноструктур при производстве наноприборов: Учеб. Пособие. - Ч.1: Молекулярно лучевая эпитаксия нанослоев, нанонитей и наночастиц / К.В. Малышев, Б.В. Стрелков, С.А. Мешков. - М.: Изд-во МГТУ им. Н.Э. Баумана, 2007. - 49 с.

[3] Наноэлектроника / В.Е. Борисенко, А.И. Воробьева, Е.А. Уткина. - М.: БИНОМ. Лаборатория знаний, 2009. - 223 с.: илл. - (Нанотехнология).

[4] Scribd [Электронный ресурс]. - Электронные данные. - Режим доступа: http://www.scribd.com/doc/50634824/nanotechnology-brita

[5] Рефераты, дипломы, курсовые [Электронный ресурс]. - Электронные данные. - Режим доступа: http://works.tarefer.ru/89/100352/index.html

[6] Connexions [Электронный ресурс]. - Электронные данные. - Режим доступа: http://cnx.org/content/m25712/latest/

[7] Нанотехнологии. Азбука для всех. / Под ред. Ю.Д. Третьякова. - М.: ФИЗМАТЛИТ. 2008 - 368 с.

[8] КФТТ [Электронный ресурс]. - Электронные данные. - Режим доступа: http://dssp.petrsu.ru/~KOF/OLD/phys/spesh/vlsi/mlepit_a.html

[9] Кафедра технической физики СибГАУ [Электронный ресурс]. - Электронные данные. - Режим доступа: http://sibsauktf.ru/courses/surface/TECHNOLOGY/Techn_i.htm

[10] Appropedia [Электронный ресурс]. - Электронные данные. - Режим доступа: http://www.appropedia.org/Molecular_beam_epitaxy

[11] Рефераты. Российская электронная библиотека [Электронный ресурс]. - Электронные данные. - Режим доступа: www.erudition.ru/referat/ref/id.17566_1.html

[12] "Физики и студенты" электронный журнал [Электронный ресурс]. - Электронные данные. - Режим доступа: http://psj.nsu.ru/lector/aseev/partsix.html

[13] TASC [Электронный ресурс]. - Электронные данные. - Режим доступа: http://www.tasc.infm.it/research/amd/file/school.pdf

[14] Усехи физических наук [Электронный ресурс]. - Электронные данные. - Режим доступа: http://ufn.ru/ru/articles/2000/9/d/

[15] Производство полупроводниковых приборов на соединениях типа AIIIBV [Электронный ресурс]. - Электронные данные. - Режим доступа: http://base.safework.ru/iloenc?print&nd=857200063&spack=110LogLength%3D0%26LogNumDoc%3D857200813%26listid%3D010000000100%26listpos%3D3%26lsz%3D7%26nd%3D857200813%26nh%3D1%26

[16] Молекулярно-лучевая эпитаксия кремния. Структурные и электрофизческие свойства сильнолегированных тонких слоев кремния на сапфире, выращенных методом молекулярно-лучевой эпитаксии. / Д.А. Павлов, С.В. Тихов, П.А. Шиляев, С.А. Денисов, В.Ю. Чалков, В.Г. Шенгуров, Е.В. Коротков, С.В. Турков // Вестник Нижегородского университета им. Н.И. Лобачевского. - 2010. - №5(2).

[17] Теоретические и экспериментальные исследования влияния скорости роста InAs на свойства ансамблей квантовых точек в системе InAs/GaAs. / В.Г. Дубровский, В.А. Егоров. - Физика и техника полупроводников. - 2003. - том. 37, вып. 7.

[18] Исследование способов получения и свойств квантовых молекул InAs в матрице GaAs / Ю.Б. Самсоненко, Г.Э. Цырлин, А.А. Тонких, Н.К. Поляков. - Физика и техника полупроводников. - 2001. - том. 39, вып. 1.

[19] Молекулярно-лучевая эпитаксия и электронные свойства гетеросистем Ge/Si с квантовыми точками / А.В. Двуреченский, А.И. Никифоров, О.П. Пчеляков, С.А. Тийс, А.И. Якимов. // Физика низких температур. - 2004. - том 30, № 11.

[20] Нанотехнологии | Нанотехнологическое сообщество - Нанометр [Электронный ресурс]. - Электронные данные. - Режим доступа: http://www.nanometer.ru/2010/01/18/molekularno_puchkovaa_epitaksia_oborudovanie_geterostruktura_162990.html

[21] Молекулярно-лучевая эпитаксия твердых растворов кадмий-ртуть-теллур на "альтернативных" подложках / Ю.Г. Сидоров, С.А. Дворецкий, В.С. Варавин, Н.Н. Михайлов, М.В. Якушев, И.В. Сабинина // Физика и техника полупроводников. - 2001. - том. 35, вып. 9.

[22] ФГУП "ВИМИ" [Электронный ресурс]. - Электронные данные. - Режим доступа: http://www.vimi.ru/applphys/2002/4/f6-4.htm

[23] =MOSKLINE=ELEKTRONINE=BIBLIOTEKA== [Электронный ресурс]. - Электронные данные. - Режим доступа: http://www.ebiblioteka.lt/resursai/Uzsienio%20leidiniai/ioffe/pztf/2005/20/pztf_t31v20_04.pdf

[24] Nitronex Corporation Home [Электронный ресурс]. - Электронные данные. - Режим доступа: http://www.nitronex.com/ganessentials.html

[25] Wikipedia [Электронный ресурс]. - Электронные данные. - Режим доступа: http://en.wikipedia.org/wiki/Aluminium_nitride

[26] SpringerLink [Электронный ресурс]. - Электронные данные. - Режим доступа: http://www.springerlink.com/content/l234632v0240r203/fulltext.pdf

[27] Мобилюм [Электронный ресурс]. - Электронные данные. - Режим доступа: http://www.mobilum.ru/articles/vcsel/

[28] Edu [Электронный ресурс]. - Электронные данные. - Режим доступа: http://edu.ioffe.ru/PTN/rus/PTNS/Prep/Dubrovsk/Posobie.pdf

Похожие работы на - Молекулярно-лучевая эпитаксия

 

Не нашли материал для своей работы?
Поможем написать уникальную работу
Без плагиата!
Без нейросетей!