Анализ установившихся и переходных режимов в линейных электрических цепях
Анализ установившихся и переходных
режимов в линейных электрических цепях
ОГЛАВЛЕНИЕ
Задание на выполнение курсовой работы
1. Расчет
источника гармонических колебаний
.1 Расчет
тока первичной обмотки методом эквивалентного источника
.2 Построение
волновых диаграмм для мгновенных значений напряжения и тока первичной обмотки
трансформатора
.3
Определение параметров M68, M69, L8, L9
. Расчет
четырехполюсника при синусоидальном воздействии
.1 Расчет
токов и напряжений методом входного сопротивления
.2 Мгновенные
значения uвх , iвх и uвых, сдвиг по фазе между uвх и uвых
.3 Расчет
передаточных функций
.4 Расчет
АФЧХ
.5 Построение
годографа
. Расчет
резонансных режимов в электрической цепи
3.1 Расчет
параметра реактивного элемента в резонансном контуре
. Расчёт
переходных процессов классическим методом
.1 Расчет
переходной и импульсной характеристики
.2 Расчёт iвх(t) и uвых(t) с учётом запаса энергии в элементах цепи от предыдущего
режима работы
а) на
интервале t[0+;T]
б) в
квазиустановившемся режиме
. Расчет
установившихся значений напряжений и токов при несинусоидальном воздействии
.1 Расчёт iвх(t) и uвых(t) частотным методом
.2 Построение
графиков входного напряжения и тока четырёхполюсника
.3
Определение параметров несинусоидальных токов и напряжений
.4 Расчет
переходных процессов операторным методом
Выводы
Список
использованной литературы
Задание на
выполнение курсовой работы
. Расчет источника гармонических колебаний (ИГК)
1.1 Представить исходную схему ИГК относительно первичной обмотки трансформатора
эквивалентным источником напряжения. Определить его параметры (ЭДС и внутреннее
сопротивление) и значение тока в первичной обмотке трансформатора. В качестве
первичной обмотки трансформатора выбрать индуктивность в любой ветви, кроме
ветви с идеальным источником тока.
.2 Записать мгновенные значения тока и напряжения в первичной обмотке
трансформатора и построить их волновые диаграммы.
.3 Определить значения Mnq, Mnp, Lq,
Lp ТР из условия, что индуктивность первичной обмотки Ln известна, U1 = 5 B, U2 = 10 B.
Коэффициент магнитной связи обмоток k следует выбрать самостоятельно в диапазоне: 0,5 < k < 0,95 (n, p, q, - номера индуктивностей Т1).
2. Расчет установившихся значений напряжений и токов в
четырехполюснике при синусоидальном входном воздействии
2.1 Рассчитать токи и напряжения в схеме четырехполюсника методом
входного сопротивления (или входной проводимости) при u1=u3=uвх.
.2 Записать мгновенные значения uвх , iвх и uвых ; определить сдвиг по фазе между выходным и входным
напряжениями, а также отношение их действующих значений.
.3 Определить передаточные функции: W(s)= Uвых(s)/ Uвх(s), W(jw) = Uвых/Uвх .
.4 Определить и построить амплитудно- и фазочастотную характеристики. АЧХ
и ФЧХ построить в диапазоне частот от 0 до 5000 1/с. Используя частотные
характеристики, определить uвых
при заданном uвх. Сравнить этот результат с
результатом, полученным в п. 2.2.
.5 Построить годограф - линию семейства точек комплексной передаточной
функции в диапазоне частот от 0 до ¥ на комплексной плоскости. Указать на годографе точки,
соответствующие частотам 0, 1000 1/с., ¥.
3. Расчет резонансных режимов в электрической цепи
.1 Включить в схему четырехполюсника реактивное сопротивление
(индуктивность или емкость) таким образом, чтобы uвх и iвх совпадали по фазе (режим резонанса
напряжений). Определить значение параметра реактивного элемента, а также
входное сопротивление, входной ток, добротность и ширину полосы пропускания
резонансного контура.
Норма отчетности на данном этапе - 25%. 4 неделя
4. Расчет переходных процессов классическим методом
.1 Определить и построить переходную и импульсную характеристики
четырехполюсника для входного тока и выходного напряжения. Показать связь
переходной и импульсной характеристик для выходного напряжения с передаточной
функцией.
.2 Переключатель Кл перевести в положение 2 (см. рис.2) в момент времени,
когда входное напряжение u3(t)=0, du3/dt > 0, т.е. в момент начала положительного импульса
напряжения u4(t).
Это условие будет выполнено при равенстве аргумента входного напряжения (wt + yu3) = 2 kp,
где k = 0, 1, 2, 3.
Рассчитать и построить графики изменения тока iвх и напряжения uвых
четырёхполюсника
при подключении его к клеммам с напряжением u4(t) в момент
времени t = (2kp - Yu3)/w с учетом запаса энергии в реактивных элементах схемы от
предыдущего режима работы (п. 2.2):
а) на интервале t [0+,
T], где T - период изменения напряжения u4,
б) с использованием ЭВМ на интервале времени [0+, nT ], где n - количество периодов, при котором
наступает квазиустановившийся режим.
Норма отчетности на данном этапе - 50%. 7 неделя
.
5.1 Рассчитать законы изменения тока iвх(t) и напряжения uвых(t) частотным методом, представив напряжение uвх(t) = u4(t) в виде ряда Фурье до 5-й гармоники:
5
uвх(t) = S (4 U m / kp) sin kwt, где k - целое нечетное число.
1
.2 Построить графики uвх(t) = u4(t), uвх(t), iвх(t), uвых(t) в одном масштабе времени один под другим, где uвх(t), iвх(t),и uвых(t) - суммарные мгновенные значения.
.3 Определить действующие значения uвх(t), iвх(t), uвых(t), а также активную мощность, потребляемую четырехполюсником,
и коэффициенты искажения iвх(t), uвых(t). Сравнить графики iвх(t), uвых(t) п.5.2 с
соответствующими графиками п.4.2 б на интервале времени [0+, nT ]
путем их наложения, сделать выводы.
.4 Заменить несинусоидальные кривые uвх(t), iвх(t) эквивалентными синусоидами и построить их графики.
Норма отчетности на данном этапе - 75%. 10 неделя.
6. Оформление расчетно-пояснительной записки
Расчетно-пояснительная записка должна содержать:
. Техническое задание
. Содержательную часть, включающую расчетную часть, текстовое пояснение и
рисунки схем и графиков. Рисунки должны быть пронумерованы и следовать в тексте
сразу после ссылки на них.
. Выводы.
. Список литературы, использованной в работе.
.Оглавление с указанием страниц выполненных пунктов и подпунктов работы.
Норма отчетности - 100%. 13 неделя
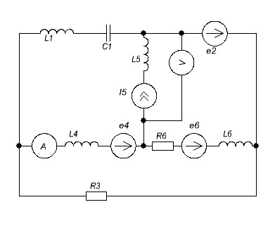
1. Расчет источника гармонических колебаний (ИГК)
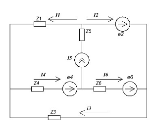
Исходная схема ИГК изображена на рис. 1
Рис. 1
Параметры элементов ИГК:
|
10
|
в
|
|
|
 А
|
|
|
 В
|
|
|
300 мГн
|
|
|
5 мкФ
|
|
|
100 Ом
|
|
|
|
200 мГн
|
|
|
100 мГн
|
|
150 Ом
|
|
|
100 мГн
|
|
|
е2
|
 В
|
1.1 Определение значения тока в первичной обмотке
трансформатора
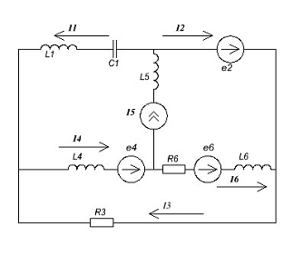
Выберем положительные направления токов в ветвях. Здесь и далее комплексные
напряжения измеряются в вольтах, комплексные токи - в амперах, комплексное
сопротивление (как активное, так и реактивное) - в Омах.
Эквивалентное преобразование схемы (учитывая, что внутренние
сопротивления источника ЭДС и амперметра равно нулю, а источника тока и
вольтметра равно бесконечности):
Рис. 2
Все независимые источники представим в комплексной форме
Представлю пассивные элементы каждой ветви в виде комплексных
сопротивлений:
Рис. 3
Рассчитываю комплексные сопротивления всех ветвей схемы:
Для
расчета неизвестного тока
исходной схемы использую метод эквивалентного
источника напряжения (рис.4). Суть этого метода заключается в том, что схема
представляется в виде активного двухполюсника, к зажимам которого подключен
элемент, через который протекает искомый ток. Для нахождения этого тока нам
необходимо рассчитать ЭДС
и входное
сопротивление
этого двухполюсника.
Рис.
4
Найду
ЭДС источника напряжения методом контурных токов (рис. 5). Эта ЭДС равняется
напряжению на зажимах в режиме холостого хода.
Рис.
5
,
Найду
параметры
и
. Схема
для определения
:
Рис.
6
Найду
ток:
1.2 Мгновенные значения тока и напряжения в первичной
обмотке трансформатора и их волновые диаграммы
Комплексная
амплитуда тока
Мгновенное
значение тока
Комплексное
действующее напряжение
Комплексная
амплитуда напряжения
Мгновенное
значение напряжения
.
Рис 7.1
Рис 7.2
1.3
Определить значения
ТР из условия, что индуктивность первичной обмотки
известна,
а
коэффициент магнитной связи k обмоток следует выбрать самостоятельно из
указанного диапазон: 0.5<k<0.95 (n, p, q - номера индуктивностей ТР)
Известно, что
Отсюда
Воспользовавшись
соотношением
, приняв
получаю:
Аналогично,
для катушек n и q:
Тогда
напряжения на вторичных обмотках в комплексной форме:
Соответствующие им мгновенные значения:
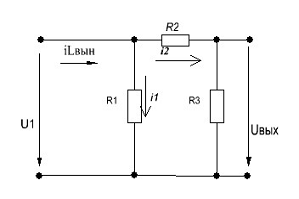
2. Расчет установившихся значений напряжений и токов в
четырехполюснике при синусоидальном входном воздействии
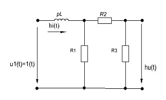
Схема четырехполюсника приведена на рис. 8:
r1=80
Ом
r2=15
Ом
r3=5
Ом
L=64
мГн
2.1 Расчет токов и напряжений в схеме четырехполюсника
методом входного сопротивления, построение векторных диаграмм токов и
напряжений
.
Все
токи в четырехполюснике рассчитываются методом входного сопротивления:
Входной
ток
:
Определяю
2
и
3:
Определяю напряжения:
R1 =
1 · R1 =
2.353+0.588j
R2 =
2 · R2
=1.765+0.441j
R3 =
вых =
2 · R3 =0.588+0.147j
2.2 Нахождение мгновенных значений iвх и uвых, определение сдвига по фазе между
входным и выходным напряжениями, а также отношение их действующих значений
вх =10j
вых = 0.588+0.147j
Отношение действующих значений выходного и входного напряжений:
Сдвиг
по фазе между выходным и входным напряжениями:
.
.3
Определение передаточных функций четырехполюсника
W(s) = Uвых(s)/Uвх(s), W(jω) =Uвых/Uвх
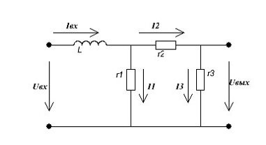
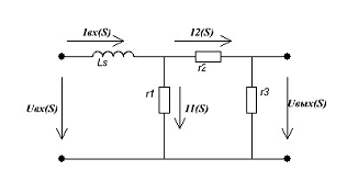
Преобразую исходную схему четырехполюсника, перейдя к операторной форме
замещения, считая при этом, что независимые начальные условия нулевые. Вид
схемы четырехполюсника после преобразований показан на рисунке 9:
Рис. 9
По второму закону Кирхгофа получаю уравнение цепи:
Для
того, чтобы получить комплексную передаточную функцию, необходимо перейти от
преобразования Лапласа к преобразованию Фурье, приняв s = jω. Тогда комплексная передаточная функция будет равна:
.4 Определить и построить амплитудно- и фазочастотную
характеристики. АЧХ и ФЧХ построить в диапазоне частот от 0 до 5000 1/с.
Используя частотные характеристики, определить uвых при заданном uвх. Сравнить этот результат с
результатом, полученным в п. 2.3
Преобразую вид комплексной передаточной функции:
W(ω) - модуль передаточной функции,
называемый амплитудно-частотной характеристикой, φ(ω) -
аргумент передаточной
функции, или фазочастотная характеристика. Таким образом:
Wu(jω) = W(ω)·exp[j·
(ω)]
Графики
АЧХ и ФЧХ изображены на рис.10 и рис.11 соответственно.
Как
видно из графика (рис.10), результат для действующего значения выходного
напряжения при заданном входном напряжении совпадает с результатом, полученным
в п.2.2.
Рис 10 АЧХ

результаты
совпали с результатами пункта 2.2
Зная
частотные характеристики можно определить напряжение на выходе четырехполюсника
по заданному напряжению на входе:
2.5 Построение годографа
Построю годограф - линию семейства точек комплексной передаточной функции
при разных частотах в диапазоне частот от 0 до ¥ на комплексной плоскости (рис.12).
Рис 12
электрический цепь ток напряжение
3. Расчет резонансных режимов в электрической цепи
.1 Включить в схему четырехполюсника реактивное сопротивление
(индуктивность или емкость) таким образом, чтобы uвх и iвх совпадали по фазе (режим резонанса
напряжений). Определить значение параметра реактивного элемента, а также
входное сопротивление, входной ток, добротность и ширину полосы пропускания
резонансного контура
Резонанс - это явление, при котором в колебательном контуре, ток и
напряжение совпадают по фазе, и колебательный контур ведет себя как чисто
резистивный элемент.
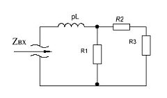
Комплексное входное сопротивление системы посчитано в п. 2.1.
Рис
13. Эквивалентная схема четырехполюсника
Рис
14. Эквивалентная схема в режиме резонанса
По условию резонанса, входное реактивное сопротивление четырехполюсника
должно равняться нулю, т.е.
Следовательно,
при циклической частоте w=1000 емкость включенного элемента будет равна:
Входное
сопротивление колебательного контура:
Входной
ток в режиме резонанса:
В
данном случае добротность можно рассматривать как отношение напряжения на
индуктивности L к входному напряжению, или, что равносильно, как
отношения реактивного сопротивления индуктивности L к полному
входному сопротивлению.
Ширина
полосы пропускания резонансного контура:
.
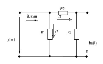
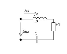
Расчет переходных процессов классическим методом
.1
Определить и построить переходную и импульсную характеристики четырехполюсника
для входного тока и выходного напряжения. Показать связь переходной и
импульсной характеристик для выходного напряжения с передаточной функцией
Переходная характеристика h(t) линейной цепи, не содержащей
независимых источников, численно равна реакции на единичное входное воздействие
тока или напряжения в виде единичной ступенчатой функции 1(t) или 1(t - t0) при нулевых начальных условиях.
Задачу будем решать классическим методом, в качестве единичного входного
воздействия выберем входное напряжение. Вид схемы четырехполюсника после всех
преобразований показан на рисунке 15:
Рис. 15
Независимые начальные условия:
iL(0- ) = iL( 0+ ) = 0
Определяю вынужденную составляющую при установившемся режиме (t = ∞, ток постоянный). Вид
схемы четырехполюсника в установившемся режиме:
Рис. 16
Рис. 17
Составим характеристическое уравнение:
Корень
характеристического уравнения:
Ток
на индуктивности:
Напряжение
на выходе определяется по законам Кирхгофа:
Определим
переходную характеристику для входного тока и переходную характеристику для
выходного напряжения:
Определим
импульсные характеристики цепи. Импульсная характеристика k(t)
линейной цепи, не содержащей независимых источников, численно равна реакции
цепи на воздействие единичного импульса в виде δ(t) или δ(t - t0) функции при нулевых начальных условиях. Импульсную
функцию δ(t)
можно рассматривать как производную единичной ступенчатой функции и поэтому:
k(t) = h(0+)·δ(t) + dh(t)/dt
Импульсную
характеристику для выходного напряжения можно найти, дифференцируя переходную
характеристику для выходного напряжения:
Графики
переходных характеристик:
Рис.
18
Рис.
19
Графики
импульсных характеристик:
Рис.
20
Рис. 21
Покажем связь переходной характеристики huвых(t) с передаточной функцией. Переходная характеристика может
быть определена через передаточную функцию с помощью обратного преобразования
Лапласа:
huвых(t) = L-1[W(s)/s]
Тогда:
Оригинал:
.
Совпадает
с ранее найденным значением huвых(t).
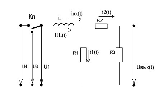
4.2 Расчет и построение графиков изменения тока iвх
и напряжения uвых четырёхполюсника при подключении его к клеммам с
напряжением u4(t) в момент времени t0 = (2kp - Yu3)/w с учетом запаса энергии в элементах
схемы от предыдущего режима работы
a) на интервале t [0+;T],
где Т - период изменения напряжения u4(t)
Рис. 22
Первый интервал: t [0+,T/2-] uвх =10 B
Из предыдущих пунктов известно:
1)
2)
В
начальный момент переходного процесса:
В
последующем t0 примем
за нуль, тогда:
Корень
характеристического уравнения был найден в пункте 4.1: р=-250; Общий вид
решения:
Определим вынужденную составляющую (t = ∞). Схема в установившемся режиме:
Рис. 23
iвын = iвх(∞)
=
Определяем неизвестный коэффициент А:
iвх(0)=A+0.625=-0.146
Откуда получаем, что А=-0.77
Решение
на первом интервале t
[ 0+ , T / 2 -]:
Второй интервал t [T/2+,T-] uвх =-10 B
iвын = iвх(∞)
= -
Определяем
неизвестный коэффициент А для второго интервала:
iвх(0) = A +(-0.625) = 0.274
Откуда получаем, что А = 0.899
Решение
на втором интервале t
[T / 2+ , T- ]:
Составим решение для обоих интервалов t [0+ , T-]:
Графики uвых и iвх представлены
соответственно на рис.24 и рис.25
Рис 24
б) Расчет и построение графиков изменения тока iвх и напряжения uвых четырёхполюсника на интервале, при
котором наступает квазиустановившийся режим
При квазиустановившемся режиме наблюдается установившийся переходный
процесс, т.е. периодический процесс, обладающий для всех t свойствами периодичности
f(t)= f (t + T )
Т.к. на входе последовательность разнополярных прямоугольных импульсов,
то в течение периода происходят две коммутации, поэтому переходный процесс разбивается
на два временных интервала: первый - [0+; T/2-], второй - [T/2+; T-]. Так как
процесс повторяется через период, то момент времени [nT-] соответствует [0-],
а [(n + 1)T+] - [T+].
С высокой степенью точности можно сказать, что такой режим в нашем
четырехполюснике наступает по прошествии 5-ти периодов. Это следует из
аналитических выражений для входного тока и выходного напряжения на отрезке t
[0+, 5T] (вычислено с помощью ЭВМ):
Рис. 26
Рис. 27
5. Расчет установившихся значений напряжений и токов в
четырехполюснике при несинусоидальном входном воздействии
.1 Рассчитать законы изменения тока iвх(t) и напряжения uвых(t) частотным методом, представив
напряжение uвх(t) = u4(t) в виде ряда Фурье до 5-й гармоники
, где k -
целое нечетное число. U m=10 В
АЧХ и ФЧХ данного четырехполюсника известны из пункта 2.5:
Заменим в АЧХ и ФЧХ текущую частоту на дискретную kω :
Выходное
напряжение в общем виде может быть записано следующим образом:
Получим:
Из предыдущих пунктов известно:

5.2. Построить графики uвх(t)=u4(t), uвх(t), iвх(t), uвых(t) в одном масштабе времени один под
другим, где uвх(t), iвх(t),и uвых(t) - суммарные мгновенные значения.
Рис 28, 29, 30, 31:
.3 Определить действующие значения uвх(t), iвх(t), uвых(t), а также активную мощность, потребляемую
четырехполюсником, и коэффициенты искажения iвх(t), uвых(t). Сравнить графики iвх(t), uвых(t) с соответствующими графиками п. 4.1
б, сделать выводы
Действующие значения входного тока, входного и выходного напряжений для
данного режима:
Активная
мощность, потребляемая четырехполюсником, равна сумме активных мощностей, потребляемых
четырехполюсником в результате действия каждой гармоники.
где
-
разность фаз между
и
k - номер
гармоники.
Определим реактивную мощность по формуле:
Тогда
Коэффициент
искажения сигнала - это отношение действующего значения первой гармоники
сигнала к полному действующему значению этого сигнала. В моем случае
коэффициенты искажения тока и напряжения будут равны соответственно:
Сравним
графики iвх(t), uвых(t) с соответствующими графиками п.4.1б:
Наложим
кривые, полученные частотным методом, на те, что были выведены классическим
методом. Кривые совпадают практически на всех участках.
Рис
32, 33:
5.3. Заменить несинусоидальные кривые uвх(t), iвх(t) эквивалентными синусоидами и
построить их графики
Чтобы заменить входные ток и напряжение эквивалентными
синусоидами, необходимо сохранить действующие значения величин, частоту
воздействия и мощность, рассеиваемую на четырехполюснике.
Примем входное напряжение за опорный сигнал. Его фаза равняется нулю.
-разность
фаз между функциями. Она находится из треугольника мощностей. Сдвиг по фазе
между током и напряжением у эквивалентных синусоидальных сигналов равен
арктангенсу отношения реактивной мощности несинусоидального входного сигнала к
его активной мощности:
Следоватеьно:

Выводы:
В данной курсовой работе необходимо было исследовать линейную
электрическую цепь. На первом этапе я рассчитала источник гармонических
колебаний. Расчет проводился методом эквивалентного генератора напряжений,
который позволил найти ток в первичной обмотке трансформатора. Использование
этого метода наиболее рационально, так как позволяет уменьшить количество
вычислений, например, по сравнению с методом контурных токов. Суть метода
заключается в том, что всю схему, кроме первичной обмотки трансформатора,
заменяют эквивалентным генератором активного двухполюсника. ЭДС этого источника
напряжений равна напряжению на разомкнутых зажимах данной ветви и выбирается
так, чтобы обеспечить режим холостого хода. Внутреннее сопротивление этого
источника равно входному сопротивлению пассивного двухполюсника со стороны этой
разомкнутой ветви. Ток определяется напряжением на разомкнутых зажимах и суммой
сопротивлений (входного сопротивления и сопротивления ветви, в которой надо
определить ток). Зная ток, я смогла определить значения взаимных индуктивностей
и напряжений u1 и u2.
На втором этапе я провела расчет четырехполюсника методом входного
сопротивления. На этом этапе была определена передаточная функция. В ходе
расчета я убедилась, что передаточная функция не зависит от значений входного и
выходного напряжения, а зависит от параметров и от структуры цепи. Сравнив
отношение действующих значений входного и выходного напряжения при циклической
частоте, равной 1000 Гц, с графиком АЧХ я убедилась в правильности проведенных
расчетов.
На третьем этапе я провела расчет резонансных режимов. В схему я включила
такую емкость, чтобы входное реактивное сопротивление равнялось нулю,
рассчитала добротность и ширину полосы пропускания колебательного контура.
На четвертом этапе я провела расчет переходных процессов классическим
методом. В основе расчета лежит один из законов коммутации. Построив графики
изменения входного тока и выходного напряжения при квазиустановившемся режиме,
я графически подтвердила проведенные расчеты.
На пятом этапе я с невысокой степенью аппроксимации оценила значения
напряжений и токов в четырехполюснике при несинусоидальных воздействиях. Для
этого входное напряжение я представила в виде ряда Фурье до пятой гармоники.
Выходное напряжение я определила, используя выведенную на втором этапе
передаточную функцию. Для оценки несинусоидальных кривых я использовала
коэффициент искажения. Так как у меня несинусоидальные кривые, то коэффициент
искажения меньше 1. Для того, чтобы заменить несинусоидальные кривые
эквивалентными синусоидами, необходимо определить значение фазового угла,
который можно найти, пользуясь правилом треугольника мощностей. Действующие
значения эквивалентных синусоид тока и напряжения равны действующим значениям
несинусоидальных величин. При наложении графиков, полученных при
квазиустановившемся режиме и при несинусоидальном входном воздействии, я
убедилась, что входной ток и выходное напряжение изменяются по кривым, близким
к отклику, и кривым, полученным при квазиустановившемся режиме.
Итак: расчеты переходных процессов в четырехполюснике для определения
входного тока и выходного напряжения и расчеты процессов в четырехполюснике с
использованием разложения несинусоидального входного воздействия в ряд Фурье
дают близкие результаты. Их небольшое отличие объясняется тем, что разложение
сигнала в ряд Фурье имеет некоторую погрешность по сравнению его истинным
значением. Наибольшую точность расчета в данном случае дает классический метод
расчета переходных процессов. Дополнительное отличие результатов полученных
этим методом по сравнению с методом, использующим разложение в ряд Фурье, дает то,
что при расчете переходного процесса учитывается запасы энергии от предыдущего
режима работы, что не учитывалось в первом случае.
Анализ четырехполюсника показал, что проходящий через него сигнал
претерпевает значительные изменения и ослабевает. Это объясняется тем, что в
четырехполюснике происходит некоторая потеря энергии на его элементах.
В ходе выполнения курсовой работы я закрепила теоретический материал и
приобрела навыки работы с готовыми программами систем инженерных и научных
расчетов типа MathCad. Для построения изображения схем я
использовала программу sPlan.
Все приобретенные навыки, безусловно, будут необходимы в моей дальнейшей
профессиональной деятельности.
Список использованной литературы
1. Стрелков Б.В., Шерстняков Ю.Г. Анализ
установившихся и переходных режимов в линейных электрических цепях. М.: Изд-во
МГТУ им. Н.Э. Баумана, 2001.
2. Л.А. Бессонов. Теоретические основы
электротехники. Электрические цепи М.: «Высшая школа», 1996