Привод ленточного конвейера
Привод
ленточного конвейера
Содержание
Введение
1. Выбор
структурной схемы привода
2. Определение
требований к приводу со стороны исполнительного механизма машины
. Определение
мощности электродвигателя. Выбор электродвигателя
. Определение
передаточных отношений привода
. Выбор
редукторов
. Выбор
муфт и определение их параметров
. Расчет
параметров маховика. Выбор места установки маховика
. Проверочные
расчеты элементов привода на прочность
8.1. Расчет
на прочность вала установки маховика
.1.1. Расчет
на статическую прочность
8.1.2. Расчет
на усталую прочность
8.2. Расчет
шпоночного соединения
8.3. Проверочный
расчет болтов крепления электродвигателя
9. Расчет
подшипников на долговечность
Заключение
Список
используемых источников
Введение
Цель курса «прикладная механика» - научить будущих инженеров-механиков
применять общие методы исследования и проектирования схем механизмов к созданию
высокопроизводительных, надежных и экономичных машин. Курсовая работа по теории
механики - один из основных видов изучения курса, который способствует
закреплению, углублению и обобщению теоретических знаний, а также применению их
к решению комплексной задачи по исследованию и расчету механизмов и машин,
развивает у студентов творческую инициативу и самостоятельность, повышает их
интерес к изучению дисциплины и прививает навыки научно-исследовательской и
конструкторской работы.
1. Выбор структурной схемы привода
Привод - устройство для приведения в действие двигателем разных рабочих
машин. Энергия, необходимая для приведения в действие машины, передается от
вала двигателя с помощью дополнительных устройств механических передач
(рубчатых, ременных и др.).
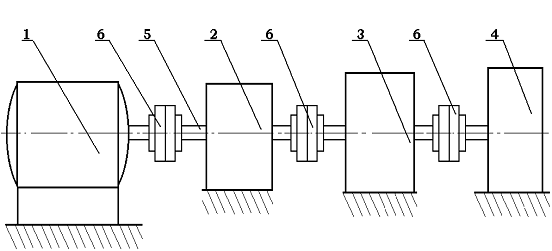
Рис. 1.1 - Структурная схема агрегата:
- двигатель
- планетарный редуктор
- цилиндрический редуктор
- исполнительный механизм
- ротор двигателя
- муфта
Проектирование привода начинается с разработки его кинематической схемы.
Схему подвергают тщательной оценке, с точки зрения конструктивной
целесообразности, совершенства кинематических и силовых параметров, габаритов,
металлоемкости и т. д. Особенностью рассматриваемых в практике машин является
изменение в широких пределах за период цикла приведенных моментов инерции. В
связи с этим в приводе должны быть установлены дополнительные массы (маховик),
обеспечивающие заданную неравномерность движения входного звена исполнительного
механизма машины. Изменение силовых и массовых параметров исполнительных
механизмов машины приводит к большим динамическим нагрузкам в приводе, для
снижения которых вводятся упругие элементы.
В соответствии с заданием, структурная схема привода (машинного агрегата)
включает в себя (рис. 1.1):
Двигатель
- частота вращения ротора двигателя (
)
задается на курсовое проектирование; момент инерции ротора (
) и момент движущих сил определяются при выборе
двигателя.
1. Планетарный редуктор - передаточное
отношение, габариты, крутящий момент на выходном валу определяется при выборе
конкретного редуктора, выпускаемого промышленностью.
2. Цилиндрическая зубчатая передача -
передаточное число, габариты, крутящий момент на выходном валу определяется при
выборе редуктора.
Механизм
для выполнения конкретной технологической операции - частота вращения кривошипа
(
) задается в задании на курсовое проектирование:
приведенные моменты инерции маховика определяются при расчете параметров
механизма.
1. Определение требований к приводу со
стороны исполнительного механизма машины
При расчете исполнительного механизма должны быть определены следующие
характеристики:
- кинематические параметры движения выходного звена механизма (перемещение,
скорость) в предположении, что угловая скорость входного звена постоянна и
звенья абсолютно жесткие, являющиеся этапом требования к машине с точки зрения
выполнения технологического процесса.
- момент инерции маховика, обеспечивающий заданный момент коэффициент
неравномерности движения входного звена механизма.
- приведенные к входному звену исполнительного механизма момент сил
сопротивления и момент инерции звеньев механизма, являющиеся возникающими
факторами привода.
2. Определение мощности электродвигателя.
Выбор электродвигателя
Двигатель выбирают с учетом требований его присоединения к механизму,
охлаждению, способа защиты от окружающей среды, номинальной скорости вращения и
механической характеристики. При этом следует учитывать, что асинхронные
двигатели переменного тока и параллельного возбуждения постоянного тока имеют
жесткие характеристики (скорость вращения ротора мало зависит от изменения
нагрузки). Двигатель последовательного возбуждения постоянного тока имеет
мягкую характеристику (скорость вращения ротора существенно зависит от
изменения нагрузки). Первые используют в станках, конвейерах, механизмов
передвижения кранов, механизмов систем управления и др. Вторые - в механизмах
подъема кранов, в качестве тяговых двигателей транспортных систем, в
лентопротяжном механизме и др.
Для рассматриваемых машин режим нагрузки двигателя длительный. Исходя из
условия равенства движущих сил и сил сопротивлений на участке цикла, при
установившемся движении, находим момент движущих сил на валу кривошипа по
формуле
, (3.1)
где
- работа движущих сил за цикл,
- работа
сил полезных сопротивлений
- к.п.д.
исполнительного механизма (
)
Тогда
мощность электродвигателя равна
, (3.2)
где
- угловая скорость кривошипа
(3.3)
-
коэффициент полезного действия привода
К.П.Д.
привода может быть ориентировочно определен по формуле
(3.4)
Подставим данные в формулу (3.2)
При
заданной частоте вращения ротора электродвигателя, числе оборотов двигателя
выбираем по таблице (Приложение 6) двигатель
асинхронный
мощностью
Момент
инерции ротора двигателя составляет
.
Технические
данные асинхронных электродвигателей серии
общепромышленного
назначения (габаритные размеры, размеры выходных валов, размеры мест крепления)
приведены в Справочном пособии [4].
электродвигатель
редуктор привод муфта маховик
4. Определение передаточных отношений привода
Общее передаточное отношение привода от двигателя к кривошипу
исполнительного механизма равно
,
(4.1)
где
- частота вращения ротора электродвигателя;
- частота
вращения кривошипа.
Значения
,
берутся
из задания на курсовое проектирование.
В состав рассматриваемого привода входят двигатель, одноступенчатый
планетарный редуктор и одноступенчатая цилиндрическая передача. Поэтому общее
передаточное отношение привода равно
, (4.2)
где
- передаточное отношение планетарного редуктора
-
передаточное отношение цилиндрической передачи
По
ГОСТ 21355-75 и нормали Минцветмета 0-16404 выбираем передаточное отношение
планетарного редуктора
и цилиндрической передачи
.
5.
Выбор редукторов
Параметры
редукторов выбираются по передаточному отношению, максимальному статическому
крутящему моменту на выходном валу и числу оборотов входного вала. Крутящие
моменты на валу двигателя
, тихоходных валах планетарного
и цилиндрического
редукторов,
на валу кривошипа определяются по формулам
, (5.1)
где
- максимальное значение приведенного к валу кривошипа
момента сил полезных сопротивлений,
-
максимальное значение крутящего момента на валу кривошипа,
- максимальное
значение крутящего момента на тихоходном валу цилиндрического редуктора,
-
максимальное значение крутящего момента на тихоходном валу планетарного
редуктора,
-
максимальное значение крутящего момента на валу двигателя,
- к.п.д.
цилиндрического редуктора;
- к.п.д.
отдельных элементов редукторов (Приложение 5)
- к.п.д.
планетарного редуктора,
определяется аналогично




Таблица 5.1 - Параметры цилиндрического редуктора.
|
Типоразмер
|
Межосевое расстояние, Ном. передаточное числоНом. крутящий моментК.П.Д.Ном.
радиальная нагр. на валу, Масса,
|
|
|
|
|
|
|
1002,551998входвыход27
|
|
|
|
|
|
|
|
|
|
|
|
|
630
|
2240
|
|
Таблица 5.2 - Параметры планетарного редуктора.
|
Типоразмер
|
Передаточное отношение
|
Ном. частота вращения
|
Ном. крутящий момент
|
Ном. радиальная нагр. на
валу, К.П.Д.Масса,
|
|
|
|
6,6922423020008382
|
|
|
|
|
|
|
Угловые скорости двигателя, вала кривошипа, быстроходных валов редукторов
определяются по формулам
; (5.2)
где
- угловая скорость двигателя,
- число
оборотов двигателя,
-
угловая скорость вала кривошипа,
- число
оборотов кривошипа,
-
угловая скорость вала цилиндрического редуктора,
- число
оборотов цилиндрического редуктора,
-
угловая скорость вала планетарного редуктора,
- число
оборотов планетарного редуктора,


1. Выбор муфт и определение их
параметров
Т. к. изменение силовых параметров исполнительного механизма приводит к
большим динамическим нагрузкам в приводе, то для их снижения применяют другие
элементы (упругие муфты).
Параметры муфт выбираются по максимальному статическому крутящему моменту
и диаметру вала.
Для соединения вала двигателя и вала планетарного редуктора подойдет
муфта «Перифлекс» с разрезной тарообразной оболочкой.
Таблица 6.1. - Параметры муфты «Перифлекс»
На второй вал - выходной планетарного редуктора и входной вал
цилиндрического ставим муфту «Гурифлекс».
Таблица 6.2. - Параметры муфты «Гурифлекс»
Для соединения выходного вала цилиндрического редуктора и вала кривошипа
используем муфту «Кардафлекс».
Таблица 6.3. - Параметры муфты «Кардафлекс».
7. Расчет параметров маховика. Определение места установки маховика
Для
того чтобы установить маховик на вал, имеющий угловую скорость
, момент инерции определяется из выражения
(7.1)
Следовательно, при установке маховика на быстроходном валу, его момент
инерции уменьшается обратно пропорционально квадрату передаточного отношения.
Соответственно будут меньше габаритные размеры маховика.
Этот вариант установки маховика применяется все чаще по мере прогресса
редукторостроения и выпуска достаточно надежных и долговечных передач.
При определении момента инерции маховика в приводе следует учитывать
моменты инерции ротора двигателя и вращающихся частей планетарного и
цилиндрического редукторов.
В этом случае исходя из условия равенства кинетической энергии маховика,
кинетической энергии вращающихся частей привода момента инерции маховика,
установленного на приводе, определяется из выражения
,
(7.2)
где
- крутящий момент кривошипа
-
крутящий момент цилиндрического редуктора
-
крутящий момент планетарного редуктора
-
крутящий момент ротора
-
крутящий момент реального механизма (маховика)
Это
же уравнение можно записать в другом виде
(7.3)

(7.4)
С учетом того, что мы рассчитываем момент инерции маховика на первом
валу, определим его габаритные размеры и материал, из которого он изготовлен.
Так
как крутящая скорость маховика порядка
, то
выполняем маховик из стали
.
Определим
диаметр маховика по формуле
, (7.5)
где
,
-
плотность материала, 

Так
как диаметр маховика
,
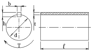
рекомендуется выполнить маховик в виде диска (рис 7.1).
Рис. 7.1 Маховик
Определим массу маховика

(7.6)
где
- момент инерции маховика
-
диаметр маховика
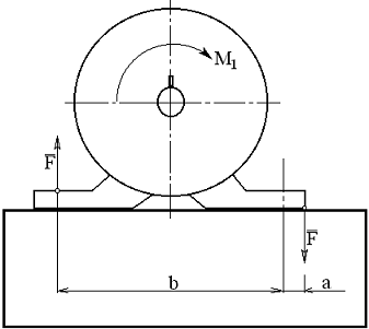
8. Проверочный расчет элементов привода на прочность
.1 Расчет на прочность вала установки маховика
Рис. 8.1 - Силы, действующие на вал
Вес маховика
, (8.1)
где
- масса маховика,
-
ускорение свободного падения,
Сила
инерции от неуравновешенности маховика
, (8.2)
где
- масса маховика,
-
угловая скорость,
-
допустимая погрешность,
Определим
момент
маховика
, (8.3)
где
- вес маховика
- сила
инерции маховика
при
, 
при
, 
Определим
реакции
и
:
)
Сумма моментов сил относительно точки А
где
,
тогда

(8.4)
).
Сумма проекций сил на ось У

(8.5)
Передаваемый
крутящий момент

.1.1
Расчет на статическую прочность.
Определим
эквивалентное напряжение вала (рис. 8.1) в сечении
(8.6)
где
- крутящий момент, действующий на вал
-
установочный диаметр подшипников,
Допуская
напряжения с учетом достаточной жесткости вала 
, поэтому
выполняется условие
.1.2
Расчет на усталостную прочность
Так как при работе вала имеем коэффициент запаса, для рассматриваемого
сечения:
(8.7)
По
справочным таблицам имеем





(8.8)

(8.9)
Следовательно,
выполняется условие:
, где
.
8.2
Расчет шпоночных соединений
Проверим
шпоночное соединение на быстроходном валу планетарного редуктора. Так как через
шпонку передается крутящий момент, то разумно проверить ее на смятие (плоскости
соприкосновения) и на срез (плоскости среза).
Рис.
8.2 - Вал со шпонкой
А)
Смятие.
, (8.10)
где
- крутящий момент
Таблица
8.1 - Параметры шпонки

Следовательно,
выполняется условие
.
Б)
Срез.
, (8.11)
где

Выполняется
условие:
.
.3
Проверочный расчет болтов крепления электродвигателя
При
работе двигателя, болты, которые крепят его к раме, работают на растяжение.
Рис.
8.3 - Электродвигатель на опорах
Сила,
действующая на болты
(8.12)
где
;
Сила,
действующая на каждый болт:
, (8.13)
где
- количество болтов,


, (8.14)
где
- диаметр внутренней резьбы,
- сила,
действующая на каждый болт,

(8.15)
где
- предел текучести, 

Выполняется
условие:
9.
Расчет подшипников на долговечность
Подшипники
качения являются наиболее распространенным видом опор вращающихся деталей. В
отличие от подшипников скольжения в них реализовано трение качения.
По
форме тел качения подшипники классифицируются на шариковые и роликовые
подшипники.
Согласно
заданию по курсовому проектированию выбираем шариковые подшипники легкой серии
ГОСТ 8338-75.
Рассчитаем
предварительно динамическую нагрузку
, (9.1)
где
,
- находим по справочным таблицам (
;
)
- сила,
максимальная из
и
Формула
для расчета силы
(9.2)
где
- коэффициент радиальной нагрузки,
-
коэффициент осевой нагрузки,
-
коэффициент, учитывающий, какое кольцо вращается; для внутренних подшипников
- осевая
нагрузка,
-
радиальная нагрузка на подшипник,
-
температурный коэффициент,
-
коэффициент безопасности,


По
справочным таблицам найдем подшипник с близким значением
и по диаметру вала.
Таблица 9.1. - Технические данные подшипников.
|
Легкая серия диаметров 2,
узкая серия ширин 0
|
|
Обозначение подшипника
|
   
|
|
|
|
|
|
208
|
40
|
80
|
18
|
25,6
|
18,1
|
Рис. 9.1. - Подшипник.
Долговечность подшипников рассчитывается по формуле:
(9.3)
где
- эквивалентная нагрузка,
-
динамическая грузоподъемность,
- для
радиальных подшипников
Вычислим
долговечность


Заключение
В результате выполнения курсовой работы я приобрел навык разработки
привода конвейера, что способствовало закреплению и углублению теоретических
знаний путем решения комплексной задачи, разработки компоновочной схемы,
кинематического и силового исследования привода, выбора его отдельных элементов
и выполнения проверочных расчетов из-за возникающих при работе колебаний. В
процессе выполнения работы я научился определять мощность электродвигателя, а
также выбирать его по определенным характеристикам. Научился определять
передаточные отношения и крутящие моменты, опираясь на редуктора которые
выбрал. Для соединения валов между собой были использованы упругие муфты, чтобы
при смещении они не передавали крутящие моменты. Был расчитан вал, проведены
проверочные расчеты на прочность элементов привода: вала (усталость, изгиб),
шпоночных соединений, болтовых креплений, долговечности подшипников. На валу
быстроходном был установлен маховик для сглаживания колебаний частоты вращения.
Список используемых источников
1. Коляда А.Ф., Борисова С.И.
Методические указания к выполнению курсового проекта по курсу “Прикладная
механика” с применением ЭВМ - Запорожье, ЗМИ, 1990.
2. Заблонский К.И. Прикладная механика -
К.,1979.
3. Коляда А.Ф., Борисова С.И. Динамика
электропривода. Механические процессы - Запорожье, ЗМИ, 1991.
4. Кузьмин А.В. Курсовое проектирование
деталей машин 4.1,2 Минск, 1982.
5. Отраслевая нормаль Минцветмета.
Редуктора, моторедуктора №0 - 16404 Л., 1982.
6. Первицкий Ю.Д. Расчет и
конструирование точных механизмов - Л., 1976.
7. Поляков В.С. Справочное пособие по
муфтам - Л., 1979.