Нормирование точности и технические измерения
Курсовая
работа
По дисциплине
"Нормирование точности и технические измерения"
Оглавление
Задание на курсовую работу
Введение
Расчет и выбор посадок с натягом
Расчет и выбор посадок подшипников качения
Выбор посадок для гладких цилиндрических соединений методом
подобия
Выбор степеней точности и посадок резьбового соединения
Выбор степеней точности и вида сопряжения зубчатой передачи
Определение допусков и предельных отклонений размеров,
входящих в размерную цепь
Выбор шпонки
Нормирование точности формы и расположения, шероховатости
поверхностей деталей узла
Индикаторы часового типа
Список используемой литературы
подшипник качение резьбовой шероховатость
Задание на курсовую работу.
|
Требования к зубчатой
передаче
|
Точность вращения
|
|
Характер нагрузки
|
Спокойная или с умеренными
толчками, перегрузка до 150%.
|
|
Материал корпуса
|
АЛ8
|
|
Материал зубчатого колеса
|
Сталь 40Х
|
|
корпуса
|
-25˚С
|
|
зубчатого колеса
|
-25˚С
|
|
Посадка с натягом
|
|
Материал венца зубчатого
колеса
|
Сталь 40Х
|
|
Материал втулки (ступицы
зубчатого колеса)
|
СЧ 15
|
|
Диаметр соединения, мм
|
56
|
|
Длина соединения, мм
|
20
|
|
Вращающий момент, Н∙м
|
1100
|
|
Шероховатость сопрягаемых
поверхностей, мкм
|
|
5
|
|
|
2,5
|
|
Подшипник и вал
|
|
Диаметр внутреннего кольца
подшипника d, мм
|
20
|
|
Диаметр наружного кольца
подшипника D, мм
|
47
|
|
Ширина кольца подшипника b,
мм
|
14
|
|
Радиальная реакция опоры R,
кН
|
4
|
|
Резьба крепежная
|
M8 1
|
|
Зубчатое колесо
|
|
Модуль m,
мм
|
2,5
|
|
Число зубьев z
|
56
|
|
Передаточное число i
|
2
|
|
Окружная скорость , м/с
|
14
|
|
Размеры размерной цепи, мм
|
|
Б∆max
|
+0,30
|
|
Б∆min
|
-0,15
|
Введение
Одной из главных целей конструктора в ходе проектирования и
конструирования новых и усовершенствования устаревших изделий, является
разработка чертежной документации для чертежей, обеспечивающей необходимую
технологичность и высокое качество изделий.
Цель курсовой работы по дисциплине "Нормирование точности и
технические измерения":
1) Приобретение студентом необходимых знаний
и навыков для расчета и выбора допусков и посадок типовых соединений деталей
машин:
- расчет и выбор посадки с натягом;
расчет и выбор посадок подшипников качения;
выбор посадок для гладких цилиндрических соединений методом подобия;
выбор допусков и посадок шлицевого соединения;
выбор степеней точности и посадок резьбового соединения;
выбор и расчет точности зубчатых колес и передач;
) Определение допусков и предельных отклонений размеров, входящих в
размерную цепь
) Нормирование точности формы и расположения, шероховатости поверхностей
узла.
Достоинствами курсовой работы по сравнению с другими видами обучения
являются практически полная самостоятельность студента во время её выполнения,
необходимость использования знаний из других параллельных областей.
Расчет и выбор посадок с натягом
Посадки с натягом предназначаются для образования неподвижных соединений.
Величина натяга N складывается из деформации сжатия и деформации растяжения контактных
поверхностей соответственно вала и отверстия. Упругие силы, возникающие при
деформации, создают на поверхности деталей напряжение, препятствующее их
взаимному смещению.
Расчет посадки с натягом в курсовой работе выполняется по типовой
методике, приведенной в литературе (2, стр. 222). Порядок расчета:
1. Определяются минимальный и максимальный функциональные натяги по
формулам:
, мкм,
, мкм,
где T -
вращающий момент, Н∙м; D,L - диаметр и длина соединения, м; CD, Cd - коэффициенты жесткости
конструкции; ED = 2∙1011, Ed = 1∙1011 - модули
упругости материалов охватывающей детали и вала, Н/м2 (1, т.1
табл.1.106 стр.335); f = 0,15 - коэффициент трения при нагреве или охлаждении сопрягаемых
деталей (2, табл.9.2, стр.225); Pдоп - наибольшее допустимое давление на
поверхности контакта вала и охватывающей детали, при котором отсутствуют
пластические деформации, Н/м2.
Коэффициенты жесткости конструкции определяются по следующим формулам (2,
стр.223):
; 
где
мм - наружный диаметр охватывающей детали (зубчатого колеса); D1 = 20мм - внутренний диаметр полого вала (ступицы
зубчатого колеса); μD = 0,30;
μd = 0,25 - коэффициенты Пуассона (1, табл.1.106 стр.335);
Наибольшее допустимое давление Pдоп (2, стр. 224) определяется по
формулам:
а. для охватывающей детали
Н/м2;
б. для вала
Н/м2,
где σТ - предел текучести материалов
охватывающей детали и вала (приложение 2, таблица 2 методических указаний к
выполнению курсовой работы).
σТ = 3,4∙108 Н/м2
- охватывающей детали,
σТ = 2,1∙108 Н/м2
- вала.
В формулу Nmax ф подставляется меньшее допустимое
давление Pдоп = 8,37∙107 Н/м2.
Определяем коэффициенты жесткости:
Определяем минимальный и максимальный функциональные натяги:
мкм,
мкм.
Определяем поправки к найденным значениям Nmin ф и Nmax ф:
а) поправка u учитывает смятие неровностей контактных поверхностей вала и охватывающей
детали
мкм,
где Kd = 0,8 и KD = 0,2 - коэффициенты, учитывающие величину смятия
неровностей на поверхности вала и охватывающей детали (приложение 2, таблица 3
методических указаний к выполнению курсовой работы);
Rzd и RzD - высота неровностей поверхностей вала и охватывающей
детали.
б) поправка ut учитывает различие рабочей температуры и температуры сборки,
и различие коэффициентов линейного расширения материалов вала и отверстия:
мкм,
где αD = 12∙10-6 и
αd = 10,5∙10-6 -
коэффициенты линейного расширения материала деталей (приложение 2, таблица 2
методических указаний к выполнению курсовой работы);
tрD и tрd - рабочие температуры деталей;
t = 20˚C -
температура сборки деталей.
Определяем Nmin ф и Nmax ф с учетом поправок:
мкм,
мкм.
При
и
поправка берется со знаком "минус".
Находим функциональный допуск посадки
мкм.
Распределим функциональный допуск между эксплутационным и конструктивным
таким образом, чтобы
мкм.
Принимаем 
мкм.
мкм,
,
мкм, тогда принимаем
мкм,
где NЗ.Э. и NЗ.Э. - запас прочности соединения
соответственно при эксплуатации и сборке;
TD и Td - допуски размеров деталей по сопрягаемым поверхностям.
Определяем число единиц допуска а и соответствующий квалитет
(приложение 2, таблица 4 методических указаний к выполнению курсовой работы):
,
где i -
единица допуска, мкм
мкм.
.
Из приложения 2, таблицы 4 методических указаний к выполнению курсовой
работы, выбираем квалитет - IT6.
1. Выбираем стандартную посадку по СТ СЭВ 144-75, при этом соблюдаем
следующие условия:
-
,
где
;
мкм;
мкм.
Проверяем выполнение этих условий:
- 133
153.8
87
64.5
22.5
20.8
Выбираем посадку Ø56
и вычерчиваем схему полей допусков:
Итоговые данные по выбору посадки с натягом.
Расчет и
выбор посадок подшипников качения
Выбор класса точности подшипника
Выбор класса точности подшипника производят в зависимости от условий
работы проектируемого механизма. При ограниченной информации об условиях работы
механизма, что имеет место в задании на курсовую работу, точность подшипника
можно выбрать исходя из заданной окружной скорости (
).
При скорости вращения вала
м/с и требовании к точность вращения
к зубчатой передаче класс точности подшипника принимаем 4-й (1, стр. 805).
Выписываем отклонения на средние значения диаметров колец
- для внутреннего диаметра и
- для наружного.
dm=20 мм: ES=0, EI=-5 мкм (1, табл.4.71 стр.807),
Dm=47 мм: es=0, ei=-6 мкм (1, табл.4.72 стр.808).
Выбор посадок.
Определяем вид нагрузки.(1, стр. 813). Т.к. происходит вращение вала, то
вращающееся кольцо подшипника должно быть смонтировано с натягом, исключающим
возможность обкатки и проскальзывания этого кольца по посадочной поверхности
вала, такой вид нагружения внутреннего кольца - циркуляционный. Наружное кольцо
должно быть установлено в корпусе с небольшим зазором. При этом наружное кольцо
будет воспринимать нагрузку лишь ограниченным участком. Такой вид нагружения
называется местным .
Предварительно рассчитываем интенсивность нагрузки
подшипника(1, стр.814):
где R = 4 кН - радиальная реакция опоры на подшипник.
b = 14 мм =0.014 м - рабочая ширина
кольца подшипника.
k = 1 - динамический коэффициент
посадки, зависящий от характера нагрузки ( в нашем случае - спокойная или с
умеренными толчками, перегрузка до 150%.)(1, стр. 814).
F = 1 - коэффициент, учитывающий
степень ослабления натяга при полом вале (1, табл. 4.80, с.817).
FA = 1 (1, стр. 814).
Н/м = 285,714 кН/м.
По (1, табл. 4.82, с.818) заданным условиям соответствует поле допуска
для внутреннего кольца js6.
По (1, табл. 4.84, с.821) выбираем поле допуска отверстия корпуса (под
нагруженное кольцо подшипника) K7.
Итоговые данные по расчету и выбору посадок подшипников качения
Выбор
посадок для гладких цилиндрических соединений методом подобия
Выбор посадок для соединений с распорными втулками и кольцами.
Посадки втулок должны иметь минимальный зазор или минимальный натяг. Т.к.
поле допуска вала задано в связи с установкой подшипников качения, то выбираем
посадку
. Для соединения
"кольцо-вал" посадку выбирается в зависимости с полем допуска вала, а
так как на валу установлен подшипник, следовательно выбираем посадку
.
Выбор посадки для соединения "крышки подшипников - корпус".
Поле допуска центрирующей поверхности (буртика) привертной глухой крышки
принимают согласно ГОСТ 18511-73 d11,
а имеющей отверстие для прохода вала принимают по ГОСТ 18512-73 h8.
Соединение буртика крышки подшипника с корпусом должно быть выполнено с
зазором.
Соединение с глухой крышкой считаем неответственным. Принимаем посадку
крышки подшипника в корпус
(1, стр. 309).
Крышка со сквозным отверстием должна обрабатываться по более высокому
квалитету, чем глухая, и должна более точно центрироваться. Это необходимо для
надежной работы сальника или иного защитного уплотнения. Принимаем посадку
крышки со сквозным отверстием и вала
(1, стр. 309).
Итоговые данные по выбору посадок для гладких цилиндрических соединений методом подобия.
Выбор
степеней точности и посадок резьбового соединения
Выбор параметров резьбового соединения "болт - корпус".
Тип посадки рассматриваемых соединений определяется характером заданной
нагрузки. Если для узла задана спокойная нагрузка, то следует применять посадку
с зазором. Эти посадки наиболее распространенные для резьбовых деталей,
обеспечивают быструю и легкую свинчеваемость, в том числе при небольшом
загрязнении резьбовых деталей или имеющий на рабочих поверхностях
антикоррозионные покрытия.
Для соединения "болт - корпус" выбираем посадку с зазором 7H/7g6g (4 стр. 123), посадку
выбирали из числа рекомендуемых ,т.к. корпус выполнен из алюминиевого сплава
длина свинчивания увеличенная и равна 12 мм и принимается средний класс
точности.
Итоговые данные по выбору посадок.
|
Наименование деталей
|
Обозначение на чертеже
|
Номинальные размеры
пара-метров резьбы, мм
|
Предельные отклонения
диаметров резьбы, мкм
|
Допуск,мкм
|
|
|
|
Верхнее отклонение
|
Нижнее отклонение
|
|
|
Болт
|
М6 - 7g6g -
12
|
d = 6
|
-26
|
-206
|
180
|
|
|
d1 = 4,917
|
-26
|
не норм-ся[1, с.701]
|
-
|
|
|
d2 = 5,35
|
-26
|
-166
|
140
|
|
Гнездо в корпусе
|
М6 - 7H -
12
|
D = 6
|
не нормиру-ется
|
0
|
-
|
|
|
D1 =
4,917
|
300
|
0
|
300
|
|
|
D2 = 5,35
|
190
|
0
|
190
|
|
Болт
|
M8-7g6g-16
|
d = 8
|
-26
|
-206
|
180
|
|
|
d1 = 4,917
|
-26
|
не норм-ся[1, с.701]
|
-
|
|
|
d2 = 5,35
|
-26
|
-166
|
140
|
|
Гнездо в корпусе
|
М8 - 7H -
16
|
D = 6
|
не нормиру-ется
|
0
|
-
|
|
|
D1 =
4,917
|
300
|
0
|
300
|
|
|
D2 = 5,35
|
190
|
0
|
190
|
Выбор
степеней точности и вида сопряжения зубчатой передачи
Выбор степеней точности зубчатого колеса
По степени точности зубчатые колеса и передачи подразделяются в порядке
убывания точности на 12 степеней. При выборе степеней точности зубчатого колеса
учитывается назначение передачи, режим ее работы, требования к надежности и
долговечности и т.п. Все показатели точности сгруппированы в три нормы: норму
кинематической точности, норму плавности работы и норму контакта зубьев. Т.к.
по условию необходима "бесшумность работы", то мы должны будем
выбрать степень точности, необходимую для бесшумности работы зубчатой передачи.
В зависимости от окружной скорости выбираем степень кинематической
точности равную 6 (высокая), так как
, (1, табл.5.12, с. 857).
Расчет бокового зазора и выбор вида сопряжения
Гарантированный боковой зазор находится по формуле (1.стр. 873):
где V - толщина слоя смазки между зубьями;
- межосевое расстояние;
и
- коэффициенты линейного расширения материала колеса и
корпуса;
и
- отклонение температур колеса и корпуса от 20°С;
- угол профиля исходного контура,
(1. стр. 837).
Величина толщины слоя смазки зависит от способа смазывания и окружной
скорости колес. Ориентировочно ее можно определить по формуле (1. стр. 873):
где m - модуль зубчатого колеса, мм.
мм
Межосевое расстояние определим по формуле (2, с.160):
,
где d1 и d2 - начальные диаметры шестерни и
колеса.
мм;
мм, (2. стр 160).
где z1 = 56 и
- число зубьев шестерни и колеса.
мм.
Определяем
:
мкм
Из условия
выбираем вид сопряжения зубьев С (1, табл.
5.16, с. 863), для которого
мкм. Наибольший боковой зазор,
получаемый между зубьями в передаче
не ограничен стандартом. Принимаем вид допуска соответствующий виду сопряжения,
т.е. виду сопряжения С соответствует вид допуска с
(1, табл. 5.23, с. 874). Наибольший
боковой зазор определяется по формуле (1. стр.873):
,
где TH1 = 95мкм и TH2 = 110мкм - соответственно допуск на смещение контура колес
зубчатой передачи (1, табл 5.18, с.866);
2fa = 2∙58=116мкм - алгебраическая разность верхнего и
нижнего отклонений межосевого расстояния зубчатой передачи (1, табл. 5.16,
с.863).
Определяем
:
мкм.
Итоговые данные по выбор и расчёту точности зубчатой передачи
Ширина зубчатых колес b=15 мм.
Числовые значения параметров взяты из (1.табл.5.7, 5.8, 5.9, 5.10
стр.845-852).
Определение
допусков и предельных отклонений размеров, входящих в размерную цепь
Расчет размерной цепи методом на максимум-минимум.
1) Составляем размерную цепь.
Для этого необходимо на основе анализа взаимосвязи и взаимозависимости
между размерами деталей узла установить, какие размеры влияют на размер
замыкающего (исходного) звена, указанного на чертеже узла. Размеры с
предельными отклонениями стандартизованных деталей, которые входят в размерную
цепь, (ширина B колец
подшипников и высота буртиков крышек подшипников) необходимо установить по
соответствующим стандартам.
Размерная цепь
Определяем, какие из составляющих звеньев размерной цепи являются
увеличивающими, а какие уменьшающими (1. стр. 552).
Увеличивающие звенья - Б7.
Уменьшающие звенья - Б1 , Б2
, Б4 , Б5 , Б6,
B.
В качестве зависимого звена принимаем Б7.
Составим основное уравнение размерной цепи (1. стр. 559) и определим
номинальный размер замыкающего звена Б∆:
,
где Б1, Б2, …, Бm+n - номинальные значения всех звеньев
размерной цепи;
ξ1,
ξ2,
ξm+n - коэффициенты, характеризующие
расположение звеньев по величине и направлению или передаточные отношения.
Номинальный размер замыкающего звена Б∆
определяется по следующей формуле (1. стр. 560):
Определяем среднее число единиц допуска ac составляющих звеньев, кроме
зависимого звена, по формуле (1, с.561):
где ТБ∆ - допуск замыкающего (исходного)
звена, мкм;
ТВ - допуск ширины кольца подшипника;
к1 - число подшипников, размер В которых входит в
размерную цепь;
i - значения единиц допуска составляющих звеньев.
Применим способ допусков одного квалитета, так как все составляющие цепь
размеры могут быть выполнены с допуском одного квалитета. Значения i выбираем из (1, табл.3.3, с.564).
ТБ∆ = 450 мкм,
ТВ = 200 мкм,
iБ1 = 1,08 мкм,
iБ3 = 0,73 мкм,
iБ4 = 1,56 мкм,
iБ5 = 1,56 мкм,
iБ6 = 1,08 мкм,
iБ7 = 2,52 мкм,
мкм.
По (1, табл. 1.8, с.43) принимаем 6-й квалитет.
1) Назначаем допуски на составляющие звенья по установленному квалитету,
кроме зависимого звена (1, табл. 1.8, с.43).
ТБ1 = 11 мкм,
ТБ3 = 6 мкм,
ТБ4 = 16 мкм,
ТБ5 = 16 мкм,
ТБ6 = 11 мкм,
ТВ = 200 мкм (стандартизированное изделие).
Допуск зависимого звена определяем по формуле:
,
где ТБj - допуски составляющих звеньев.
Устанавливаем предельные отклонения размеров составляющих звеньев, кроме
зависимого звена.
Б7 - охватывающий размер, а Б1, В, Б3,
Б4, Б5 и Б6 -
охватываемые. Соответственно предельные отклонения для них назначаются как для
основного отверстия и основного вала.
|
Звено размерной цепи
|
Предельные отклонения, мкм
|
|
ES
|
EI
|
|
Б1
|
0
|
-11
|
|
Б3
|
0
|
-8
|
|
Б4
|
0
|
-16
|
|
Б5
|
0
|
-16
|
|
Б6
|
0
|
-11
|
|
В
|
-200
|
2) Определяем координаты середин полей допусков составляющих звеньев и
замыкающего звена.
;
,
мкм,
мкм,
мкм,
мкм,
мкм,
мкм,
мкм.
Координата середины поля допуска зависимого звена входящего в число
увеличивающих звеньев определяется по формуле:
,
где
- координаты середин полей допусков увеличивающих звеньев
размерной цепи;
- координаты середин полей допусков уменьшающих звеньев
размерной цепи.
3) Определяем предельные отклонения зависимого звена по формуле:
;
мкм;
мкм.
Расчет размерной цепи вероятностным методом.
Порядок расчета размерных цепей теоретико-вероятностным методом тот же,
что и методом по максимум-минимум.
Условия для расчёта размерной цепи вероятностным методом следующие:
процент риска принят р=0,27%
кривая рассеяния действительных размеров звеньев цепи имеет нормальный
закон распределения
центр группирования действительных отклонений размеров звеньев цепи
совпадает со средними отклонениями табличных полей допусков размеров.
1)
Определяем среднее число единиц допуска ac составляющих звеньев по формуле (1,
с.561):
мкм,
По таблице (1, табл. 1.8 с.43) принимаем 11-й квалитет.
2) Назначаем допуски на составляющие звенья по установленному квалитету
(1, табл. 1.8 с.43)
ТБ1 = 90 мкм,
ТБ3 = 75 мкм,
ТБ4 = 160 мкм,
ТБ5 = 160мкм,
ТБ6 = 90 мкм,
ТВ = 200 мкм (стандартизованное изделие).
Допуск зависимого звена определяем по формуле:
мкм,
Устанавливаем предельные отклонения размеров составляющих звеньев, кроме
зависимого звена.
Б7 - охватывающий размер, а Б1, В, Б3,
Б4, Б5 и Б6 -
охватываемые. Соответственно предельные отклонения для них назначаются как для
основного отверстия и основного вала.
|
Звено размерной цепи
|
Предельные отклонения, мкм
|
|
ES
|
EI
|
|
Б1
|
0
|
-90
|
|
Б3
|
0
|
-75
|
|
Б4
|
0
|
-160
|
|
Б5
|
0
|
-160
|
|
Б6
|
0
|
-90
|
|
В
|
0
|
-200
|
3) Определяем координаты середин полей допусков составляющих звеньев и
замыкающего звена.
мкм,
мкм,
мкм,
мкм,
мкм,
мкм,
мкм.
Координата середины поля допуска зависимого звена входящего в число
увеличивающих звеньев определяется по формуле:
4) Определяем предельные отклонения зависимого звена по формуле:
;
мкм;
мкм.
Данные расчёта размерной цепи.
|
Метод расчёта
|
Замыкающее звено цепи Б∆
|
Составляющие звенья цепи Бj с указанием их предельных отклонений
|
Зависимое звено Б4
|
|
|
Б1
|
Б3
|
Б4
|
Б5
|
Б6
|
B
|
|
|
Максимум- минимум
|
|
|
|
|
|
|
|
|
|
Вероятностный метод
|
|
|
|
|
|
|
|
|
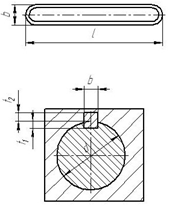
Выбор
шпонки
Выбор шпонки производится по СТ СЭВ 189-75 (основные нормы
взаимозаменяемости. Соединения шпоночные с призматическими шпонками. Размеры,
допуски и посадки). В нашем случае - призматическая шпонка (исполнение А)
размеры которой выбираем из (1, табл.4.52, c.773) в зависимости от диаметра вала.
|
Диаметр вала, мм
|
Размеры сечения шпонки
|
Глубина паза, мм
|
Интервалы длин шпонок, мм
|
|
|
вала
|
втулки
|
|
|
b
|
h
|
|
|
от
|
до
|
|
40
|
12
|
8
|
5
|
3,3
|
28
|
140
|
Длину шпонки принимаем l = 60мм.
Размер сечения паза для призматической шпонки (исполнение А).
Нормирование точности формы и расположения, шероховатости
поверхностей деталей узла
1) Допуски формы посадочных поверхностей для подшипников 4-го класса
точности по ГОСТ 3325-85. Допуск круглости вала равен 3,5мкм, допуск профиля
продольного сечения 3,5мкм (4, табл. 7.8.9). Допуски осевого биения заплечиков
валов равны 4мкм (1, табл. 4.86).
2) Нормирование точности формы и расположения поверхностей зубчатого
колеса.
Допуск радиального биения заготовок зубчатого колеса 6-ой степени
точности (d = 140мм)
равен 22мкм (4, табл. 10.2.5), допуск осевого биения базовых поверхностей венца
и ступицы - 12мкм и 20мкм соответственно (4, табл. 10.2.6).
Нормирование поверхностей
Шероховатость посадочных поверхностей валов и отверстий корпусов под
подшипники качения 4-го класса точности Ra = 0,32мкм и Ra = 0,63мкм соответственно.
Шероховатость торцов заплечиков валов и отверстий корпусов Ra = 1,25мкм (1, табл. 4.87).
Шероховатость поверхностей зубчатых колес зависит от степени точности и
вида колес. В данном случае для 6-ой степени точности Ra = 0,63мкм - боковая (рабочая)
поверхность зубьев, Ra = 1,25мкм - диаметр вершин зубьев, боковая базовая
поверхность венца, боковая поверхность ступицы (4, табл. 10.2.7).
Индикаторы
часового типа
ОСНОВНЫЕ ПАРАМЕТРЫ И РАЗМЕРЫ
Индикаторы следует изготовлять с диапазонами измерений: 0-2, 0-5, 0-10,
0-25 мм.Индикаторы с диапазоном измерения 0-2 мм следует изготовлять двух
исполнений:
ИЧ - с перемещением измерительного стержня параллельно шкале (черт. 1);
ИТ - с перемещением измерительного стержня перпендикулярно шкале (черт.
2).
- корпус; 2 - циферблат; 3 - ободок; 4 - стрелка; 5 - указатель; 6 -
гильза; 7 - измерительный стержень; 8 - измерительный наконечник.
Черт. 2
По исполнению корпуса индикаторы разделяются па обыкновенные,
брызгозащищенные и пылезащищенные. Обыкновенным
считается исполнение, предохраняющее механизм индикатора от загрязнений и
механических повреждений.
Брызгозащищенным
считается исполнение, предохраняющее механизм индикатора от попадания брызг во
время пребывания в брызгонесущей среде. Пылезащищенным
считается исполнение, предохраняющее механизм индикатора от попадания пыли во
время пребывания в воздухе с повышенной концентрацией пыли.
По заказу потребителя индикаторы брызго- и пылезащищенного исполнений
следует изготовлять с креплением за ушко.
По заказу потребителя индикаторы с механизмом, защищенным от ударов (с
демпфирующим или другим устройством), следует изготовлять с креплением за
гильзу или ушко. Индикаторы должны поставляться двух классов точности: 0 и 1.
Примеры условных обозначений индикатора
исполнения ИЧ с диапазоном измерения 0-2 мм, обыкновенного, класса точности 0:
Индикатор ИЧ02 кл. 0 ГОСТ577-68
индикатора исполнения ИЧ с диапазоном измерения 0-10 мм,
брызгозащищенного, класса точности 1:
Индикатор ИЧ10Б кл. 1 ГОСТ 577-68
индикатора исполнения ИТ, пылезащищенного, класса точности 1:
Индикатор ИТП кл. 1 ГОСТ 577-68
индикатора исполнения ИЧ с диапазоном измерения 0-10 мм, с механизмом,
защищенным от удара, класса точности 1:
Индикатор ИЧ10Р кл. 1 ГОСТ577-68
индикатора исполнения ИЧ с диапазоном измерения 0-25 мм, обыкновенного,
класса точности 1:
Индикатор И Ч25 кл. 1 ГОСТ 577-68 1.4.1-1.5.
Присоединительные размеры и исполнения индикаторов; в части крепления -
по ГОСТ 15593-70.
Наибольший диаметр индикатора Dmax не должен превышать, мм: 42 - для индикаторов с диапазоном измерения 0-2
мм; 60 - для индикаторов с диапазоном
измерения 0-5, 0-10 мм; 100 - для индикаторов с диапазоном измерения 0-25 мм.
ТЕХНИЧЕСКИЕ ТРЕБОВАНИЯ
Метрологические характеристики индикаторов не должны превышать значений,
указанных в табл. 1.
Таблица 1
Примечания:
1.Под D0,1, D1 понимают алгебраические разности ординат самой высокой и
самой низкой точек кривой погрешностей индикатора в пределах любого участка
длиной соответственно 0,1 мм (D0,1 -
черт. 4) и 1 мм (D1 - черт. 3)
диапазона измерений при прямом или обратном ходе измерительного стержня.
2.Под D2, D3, D5, D10 и D25 понимают алгебраические разности ординат самой высокой и
самой низкой точек кривой погрешностей индикатора с диапазоном измерения
соответственно 0-2 мм (D2),
0-3 мм (D3), 0-5 мм (D5), 0-10 мм (D10) и
0-25 мм (D25) при прямом или обратном ходе
измерительного стержня.
Измерительное усилие и его колебание не должно превышать значении,
указанных в табл. 2.
|
Диапазон измерений, мм
|
Наибольшее измерительное
усилие при прямом ходе, H
|
Колебание измерительного
усилия, H, при
|
|
|
прямом или обратном ходе
|
изменении направления
движения измерительного стержня
|
|
0-2
|
1,5
|
0,4
|
0,5
|
|
0-5 0-10
|
|
0,6
|
|
|
0-25
|
3,0
|
1,8
|
1,0
|
Примечание. Допускаются увеличенные значения наибольшего измерительного
усилия и его колебания для индикаторов брызго-, пылезащищенного исполнения и с
механизмом, защищенным от удара.
Отклонение от цилиндрической гильзы 6 (черт. 1-3) не должно превышать 8
мкм.
Общий ход измерительного стержня должен превышать рабочий, мм, не менее
чем на:
,3 - у индикаторов с диапазоном измерения 0-2 мм;
,5 - у индикаторов с диапазоном измерения 0-5 и 0-10 мм;
,0 - у индикаторов с диапазоном измерения 0-25 мм.
Кривые погрешности индикаторов
Черт. 3
Черт. 4
Изменение показания индикатора при нажиме на измерительный стержень в
направлении, перпендикулярном его оси с усилием 2-2,5 Н, не должно превышать
0,5 деления шкалы для индикаторов с диапазоном измерения до 10 мм и 1,5 деления
шкалы - для индикаторов с диапазоном измерения свыше 10 мм.
Стрелка и элементы шкалы (штрихи, цифры) должны быть отчетливо видны на
фоне циферблата.
Длина деления должна быть не менее 1 мм.
Ширина штрихов должна быть 0,15-0,25 мм.
Разница в ширине отдельных штрихов в пределах одной шкалы не должна превышать
0,05 мм. Допускается изготовлять индикаторы со штрихами шириной 0,25-0,35 мм
для диапазонов измерений свыше 10 мм.
Каждое пятое деление шкалы должно быть отмечено удлиненным штрихом.
Каждое десятое деление должно быть отмечено соответствующим делению числом.
Оцифровка шкалы должна быть двойная и разная по цвету (черная и красная).
Числовые отметки шкалы должны быть нанесены в двух направлениях для индикаторов
с верхними пределами измерения до 10 мм и в одном - для индикаторов с верхними
пределами измерения свыше 10 мм.
Ширина стрелки в той ее части, которая находится над шкалой, должна быть
в пределах 0,15-0,20 мм. Конец стрелки должен перекрывать короткие штрихи шкалы
не менее чем на 0,3 и не более чем на 0,8 их длины. Расстояние между концом
стрелки и циферблатом не должно превышать 0,7 мм.
Стрелка должна быть насажена на ось таким образом, чтобы при свободном
перемещении измерительного стержня или его резкой остановке она не
проворачивалась.
В обоих крайних положениях двойного хода измерительного стержня стрелка
должна переходить ось симметрии не менее чем на 5 делений у индикаторов с
верхним пределом измерения до 3 мм и на 10 делений - у индикаторов с верхним
пределом измерении свыше 3 мм.
Циферблат должен быть закрыт прозрачным материалом, не имеющим дефектов,
препятствующих отсчету показаний.
Индикаторы следует изготовлять с указателем числа оборотов и передвижными
указателями поля допуска. Допускается по заказу потребителя изготовлять
индикаторы без передвижных указателей поля допуска.
Оцифровка шкалы указателя должна быть черного цвета и соответствовать
шкале прямого хода.
При установке индикатора по указателю оборотов на любое число полных
оборотов отклонение стрелки от направления оси измерительного стержня
индикатора не должно превышать 15 делений, для индикаторов с верхним пределом
измерений до 10 мм и 20 делений - для индикаторов с верхним пределом измерений
свыше 10 мм.
Индикаторы должны иметь устройство совмещения стрелки с любым делением
шкалы. Устройство должно работать плавно, без заеданий и предохранять от
самопроизвольного смещения стрелки с установленного положения.
Присоединительную гильзу и измерительный стержень индикатора следует
изготовлять из инструментальной или нержавеющей стали.
Наружные металлические поверхности индикаторов, за исключением
измерительной, должны иметь надежное защитное покрытие.
Параметр шероховатости Ra по
ГОСТ 2789-73 наружной поверхности присоединительной гильзы должен быть не более
0,63 мкм. Параметр шероховатости Ra рабочей поверхности измерительного наконечника должен быть не более. 0,1
мкм.
Средняя наработка на отказ не менее:
500000 условных измерений для индикаторов с диапазоном измерений 0-2 мм
(исполнения ИТ);
условных измерений для индикаторов с диапазоном измерений 0-2 мм
(исполнения ИЧ), 0-5 и 0-10 мм; 500000 условных измерений для индикаторов с
диапазоном измерения 0-25 мм.
Установленная безотказная наработка соответственно не менее: 75000,
150000, 50000 условных измерений.
Критерием отказа является несоответствие индикаторов требованиям
Твердость измерительной поверхности стальных наконечников должна быть не
менее 61 НRСэ.
Наработка до первого отказа при вероятности 0,85 должна быть не менее:
500000 условных измерений- для индикаторов с верхним пределом измерения
до 10 мм;
- для индикаторов с верхним пределом измерения свыше 10 мм;
условных измерений - для индикаторов с верхним пределом измерения до 10
мм, которым в установленном порядке присвоен государственный Знак качества.
Список
используемой литературы
подшипник качение резьбовой шероховатость
1. Допуски и посадки. Справочник в 2-х частях. Под ред.
Мягкова В.Ф. 5-ое изд. Ленинград "машиностроение", 1978.
2. Якушев А.И., Воронцов Л.Н., Федотов Н.М.
Взаимозаменяемость, стандартизация и технические измерения. Учебник для вузов,
шестое издание, переработанное и дополненное. Москва
"машиностроение", 1987.
. Методические указания к курсовой работе по дисциплине ВСТИ
для студентов спец. 1201. Новополоцк, 1991.
. Единая система допусков и посадок СЭВ в машиностроении и
приборостроении: Справочник: В 2 т. - 2-е изд., перераб. и доп. - М.:
Издательство стандартов, 1989.