Проектирование электрического пищеварочного котла емкостью 250 дм3
Федеральное агентство по образованию
Государственное образовательное учреждение
высшего профессионального образования
«Тюменский Государственный Нефтегазовый
Университет»
Технологический институт
Курсовой проект
по дисциплине: Оборудование предприятий общественного
питания
Проектирование электрического пищеварочного котла емкостью
250 дм3
Исполнитель
студент гр. ТПП-02-1 Е. В. Студент
Руководитель
ст. преподаватель Л.С. Препод
Тюмень 2006
Введение
Варочное оборудование
широко применяется не только на предприятиях массового питания, но и на предприятиях
мясной, молочной и консервной промышленности. Варка – один из основных видов тепловой
обработки пищевых продуктов. Это процесс гидротермической обработки пищевых продуктов
в жидкой среде: воде, бульоне, молоке, соусе и т. п.
Варка ряда пищевых
продуктов протекает в специфических условиях теплообмена.
Конструкции варочных
аппаратов должны соответствовать технологическим требованиям конкретного процесса
варки пищевого продукта или кулинарного изделия в целом.
Основные технологические
требования, предъявляемые к конструкциям варочных аппаратов сводятся к получению
высококачественного готового продукта с максимальным сохранением пищевых (белков,
жиров, углеводов), минеральных, экстрактивных веществ, витаминов при минимальных
затратах теплоты.
В последние годы
наметилась тенденция на использование в конструкциях аппаратов греющих элементов,
состоящих из унифицированных листоканильных панелей.
Такое конструктивное
решение создает оптимальные условия для унификации основных узлов, уменьшения металлоемкости,
улучшает технологические и эргономические показатели и улучшает условия труда обслуживающего
персонала.
Правильный выбор и эффективная эксплуатация технологического оборудования
позволяют повысить уровень обслуживания клиентов предприятий общественного питания,
интенсифицировать труд обслуживающего персонала, снизить затраты физического труда,
уменьшить потери сырья и удельные расходы энергии.
Кроме отечественного оборудования на российском рынке широко представлены
и зарубежные машины и аппараты. К сожалению, иногда технический уровень некоторых
видов оборудования не соответствует рекламным параметрам и уровню цен. Насыщение
рынка происходит на фоне появления большого количества однотипного оборудования,
поставляемого различными зарубежными фирмами, при прекращении производства и продажи
отечественных аналогов.
В представленном курсовом проекте освещаются вопросы, связанные с назначением,
классификацией, устройством, особенностями эксплуатации, а также принципами расчета
и конструирования оборудования.
Целью работы является проектирование электрического пищеварочного котла емкостью
250 л.
Для реализации цели необходимо решить задачи:
-
проанализировать существующие конструкции пищеварочных котлов;
-
описать проектируемый котел;
-
выполнить теплотехнический расчет электрического пищеварочного котла
емкостью 250 дм³;
-
определить геометрические характеристики электрического пищеварочного
котла;
-
выполнить графическую часть.
1. Обзорная часть
1.1 Рынок технологического оборудования
Современный рынок технологического оборудования представлен, как отечественными
производителями, так и зарубежными.
Oscartielle - один из ведущих итальянских производителей холодильного оборудования
для магазинов и супермаркетов, была основана более 40 лет назад и имеет огромный
опыт работы в данной сфере бизнеса. Продукция Oscartielle получила широкое признание
рынка в Италии и Европе, а также хорошо известна в других странах, в том числе и
в России, где активно продается уже более семи лет. Выбор в пользу продукции этой
компании уже сделали крупные сети Москвы, Екатеринбурга, Тюмени.
«IFI» - лидер в производстве барных стоек и мебели для баров и ресторанов
любого формата. Сотрудничая с известными итальянскими дизайнерами, такими как Valter
Panaroni, Massimo Simonetti, компания IFI создает барные стойки уникального дизайна
со встроенным технологическим оборудованием высокого качества.
«EMMEPI»- это технологическое оборудование для столовых, баров и ресторанов.
Профессиональное тепловое оборудование EMMEPI отличается широким выбором функциональных
возможностей. Основными характеристиками оборудования EMMEPI являются: высокое качество
материалов, высокая производительность, простота в исполнении, долговечность, практичность,
высокий уровень безопасности.
Предлагают тепловое оборудование серий 600/650, 700, 750, 900 для предприятий
общественного питания в зависимости от их пропускной способности, ассортимента и
производительности.
Все оборудование изготовлено из нержавеющей стали, легко и удобно в обслуживании,
отвечает самым высоким стандартам безопасности и гигиены. Оборудование EMMEPI выпускается
в двух вариантах: электрическое и газовое.
«Nuova Simonelli» - представлена на рынке более 60 лет и является мировым
лидером по производству кофемашин и барного оборудования. В ассортименте компании
более ста автоматических и полуавтоматических кофемашин для приготовления эспрессо,
каппуччино и напитков на основе кофе. Машины Nuova Simonelli отличаются оригинальным
дизайном, высокотехнологичны, просты в использовании и техническом обслуживании.
Итальянская компания Sigma работает на рынке технологического оборудования
более тридцати лет, специализируясь на производстве оборудования для приготовления
теста. Особое внимание конструкторы компании уделяют эргономичности оборудования,
легкости и безопасности в использовании. Оборудование Sigma надежно, долговечно,
проходит обязательное сертифицирование и прекрасно подходит для использования в
помещениях с небольшой площадью.
Компания CAS производит весы и измерительное электронное оборудование для
торговли, промышленности, сельского хозяйства. Оборудование CAS успешно продается
более чем в ста странах мира и прекрасно зарекомендовало себя на российском рынке.
Итальянская компания Elettrobar, основана в 1969 году, и является одним из
лидеров в производстве профессиональных посудомоечных машин Ассортимент посудомоечных
машин фирмы насчитывает более 40 моделей (конвейерные, с фронтальной загрузкой и
купольного типа).
Компания Carimali работает на рынке практически 90 лет и за внушительный срок
работы сумела занять лидирующие позиции среди производителей профессиональных кофемашин.
Модельный ряд Carimali насчитывает более 30 машин для использования в кафе и барах
самого различного формата.
Компания BERTOS была создана в 1974 году. Занимается разработкой, производством
теплового оборудования для предприятий общественного питания. Компания BERTOS поставляет
свою продукцию в 75 стран мира, оборудование Berto's отличает универсальность использования,
надежность и прочность, что гарантирует долгую эксплуатацию даже при жестком режиме
использования.
Компания Enofrigo представлена на рынке холодильного технологического оборудования
около 30 лет и предлагает клиентам широкий спектр элитного оборудования для ресторанов
баров кафе. В ассортименте компании охлаждаемые кондитерские витрины, салат-бары,
шкафы для демонстрации бутилированного вина, буфеты.
Компания Fimar - итальянский лидер по производству электромеханического технологического
оборудования и современной кухонной техники. Продукцией «Fimar» можно полностью
оснастить кухонное пространство и барную стойку. Это тепловое оборудование: фритюрницы,
мармиты, тостеры, контактные грили, грили SALAMANDER, тепловые поверхности, блинницы,
печи для пиццы, тепловые витрины и многое другое; электромеханическое - миксеры,
блендеры, соковыжималки, барные комбайны, льдодробители, планетарные миксеры, тестораскатки,
слайсеры, фаршемешалки, мясорубки, сыротерки, кухонные комбайны, овощерезки.
Компания GARBIN (Италия) предлагает конвекционные печи и расстоечные шкафы
специально созданные для работы с полуфабрикатами из замороженного теста.
Компания SIRMAN занимает лидирующие позиции среди итальянских производителей
оборудования для предприятия общественного питания и супермаркетов, постоянно находится
в процессе своего развития и расширения.
Компания Tecnoinox – одна из ведущих компаний, выпускающих тепловое оборудование
для профессиональной кухни. Продукция фирмы имеет сертификат ISO 9001-94. В разработке
модельного ряда, участвуют опытные конструкторы. Небольшие габариты делают привлекательным
использование оборудование этой серии в баре и кафе. Оборудование TECNOINOX полностью
выполнено из нержавеющей стали, удобно в эксплуатации и обслуживании.
Итальянская фирма Afinox, основанная в 1980 году, производит высокотехнологичное
холодильное оборудования элит класса для ресторанов, кафе, баров – охлаждаемые столы,
линии для приготовления пиццы, салат-бары, кондитерские и винные витрины. Все модели
Afinox выполнены из экологически безопасных материалов и имеют сертификаты качества.
Derby - один из европейских лидеров по производству оборудования для продажи
мороженого и замороженных продуктов. Оборудование Derby это надежность в эксплуатации
и высокие технические показатели.
Polair - совместный российско-итальянский проект по производству холодильного
оборудования бизнес класса. Завод работает на отечественном сырье и итальянском
оборудовании по импортным технологиям. Под торговой маркой «Polair» выпускают однокамерные
и двухкамерные холодильные шкафы. Оборудование отличается высокой степенью надежности,
срок службы изделий — не менее 12 лет.
Golfstream с 1996 года, выпускает холодильное оборудование для презентаций,
торговли и хранения продовольственных продуктов. Оборудование максимально приближено
к европейскому уровню качества, благодаря использованию современных технологий и
местному контролю продукции и тестирования производственного процесса на всех этапах.
1.2 Требования, предъявляемые к конструкции оборудования
Тепловые аппараты, применяемые на предприятиях общественного питания отличаются
устройством, принципом действия, конструктивным исполнением, назначением и правилами
эксплуатации. Однако можно выделить общие требования, предъявляемые к тепловым аппаратам,
которые условно группируют на: технологические, эксплуатационные, энергетические,
экономические, безопасности и дизайна. Все приведенные группы требований связаны
и взаимообусловлены между собой — одна группа требований предопределяет другие.
Технологические требования. Конструкция аппарата должна прежде всего
удовлетворять технологическим требованиям процесса тепловой обработки продуктов.
Технологические требования заключаются в максимально возможном соответствии
режима работы, параметров, устройства рабочей камеры, загрузочного и разгрузочного
устройства аппарата физическим и химическим изменениям, происходящим в пищевых продуктах
при их тепловой обработке, которая существенно влияет на качество готового изделия.
Под технологическими параметрами понимают температуру, относительную влажность
воздуха, давление в аппарате, скорость движения продукта через аппарат и т. д. При
этом необходимо, чтобы конструктивные и эксплуатационные показатели аппарата обеспечивали
оптимальные режимы технологического процесса, т.е. процесс должен осуществляться
за возможно минимальный промежуток времени с получением наилучшего результата (высокие
органолептические показатели, максимальное сохранение пищевых, ароматических веществ
и вкусовых качеств, максимальный выход и другие качественные показатели готового
продукта).
Соответствие конструкции аппарата требованиям технологического процесса является
наиболее важным фактором в повышении качества кулинарной продукции. В связи с этим
на предприятиях общественного питания эксплуатируется большое количество специализированных
аппаратов, предназначенных для реализации одного или нескольких технологических
процессов (котлы, фритюрницы, сковороды, кипятильники, шкафы и др.), наиболее полно
удовлетворяющих требованиям конкретного процесса.
К эксплуатационным требованиям относят соответствие режима работы,
конструктивных особенностей машины или аппарата его рациональной эксплуатации. Эксплуатационные
требования к аппаратам предусматривают в качестве непременного условия простоту
их обслуживания с минимальной затратой труда; устойчивость к коррозии, которая может
возникнуть при воздействии обрабатываемых продуктов, воздействии окружающей среды
(кислорода воздуха) и моющих средств; доступность аппарата для осмотра, чистки,
ремонта; высокая надежность и экологичность. Эксплуатационные требования предопределяют
необходимость автоматизации контроля и регулирования параметров технологического
процесса. Автоматизация обеспечивает более точное проведение технологического режима
в аппарате (по сравнению с ручным), упрощает его обслуживание, ведет к уменьшению
численности обслуживающего персонала, экономит энергию и способствует повышению
качества кулинарной продукции.
Энергетические требования. Энергетические требования отражают возможность
машины или аппарата затрачивать минимальное количество энергии на выполнение технологического
процесса, т.е. аппараты должны быть энергосберегающими. Существенным резервом улучшения
энергетических показателей тепловых аппаратов является снижение потерь теплоты.
Одним из основных энергетических показателей работы аппаратов является удельный
расход энергии на единицу готовой продукции.
Конструктивные требования. Сущность этих требований заключается в соответствии
конструкции аппарата современным условиям машиностроения.
Конструктивные требования, предъявляемые к аппаратам, связаны с их проектированием,
изготовлением, транспортировкой и монтажом. Важными конструктивными требованиями
являются:
- технологичность, т.е. соответствие конструкции технологическому процессу;
- унификация и нормализация деталей и узлов, максимальное использование стандартизированных
деталей и изделий. Соблюдение этих требований позволяет организовать поточность
производства и контроль качества;
- секционность, которая улучшает условия его эксплуатации, облегчает разборку,
а при необходимости и замену, доступность при осмотре и ремонте;
- техническое совершенство, работоспособность и надежность.
Техническое совершенство аппарата характеризуется периодом, в течение которого
аппарат по своим основным показателям соответствует современному уровню развития
техники.
Под надежностью машины или аппарата понимается их способность выполнять
свои технологические функции, сохраняя эксплуатационные показатели в заданных пределах
в течение требуемой наработки.
Наработка — продолжительность или объем работы машины или аппарата, измеряемые
в единицах времени или весовых (объемных) единицах по перерабатываемому сырью.
Надежность машины или аппарата зависит от их безотказности, долговечности,
ремонтопригодности и сохраняемости.
Безотказность характеризует способность машины или аппарата сохранять
работоспособность в течение некоторой наработки без вынужденных перерывов.
Долговечность — это способность машины или аппарата сохранять работоспособность
до предельного состояния с необходимыми перерывами для технического обслуживания
и ремонта. Долговечность характеризуется ресурсом или сроком службы до одного из
видов ремонта.
Ремонтопригодность характеризует приспособленность машины или аппарата к предупреждению,
обнаружению и устранению отказов и неисправностей путем проведения плановых профилактических
осмотров и ремонтов.
Сохраняемость отражает свойство машины или аппарата сохранять эксплуатационные
показатели в процессе их транспортировки и хранения при соблюдении условий, рекомендуемых
заводом-изготовителем.
Конструктивными достоинствами аппарата являются также простота его устройства,
небольшая масса и габариты, изготовление из недорогих и доступных материалов, удобство
эксплуатации.
Экономические требования. Данные требования отражают минимальные затраты
на изготовление, монтаж и эксплуатацию машины или аппарата при сохранении их высоких
технико-экономических показателей. К числу таких показателей относятся производительность,
удельный расход энергии, коэффициент полезного действия, текущие расходы на обслуживание.
1.3 Материалы, применяемые для изготовления оборудования предприятий общественного
питания
Материалы, которые применяются для изготовления оборудования предприятий общественного
питания, должны обеспечивать его надежность при минимальных габаритах и массе. Материалы
непосредственно контактирующие с пищевыми продуктами, должны соответствовать требованиям
санитарного надзора.
Такие материалы не должны подвергаться коррозии в результате контакта с пищевыми
продуктами, кроме того, они должны легко очищаться от остатков продуктов и не разрушаться
под влиянием моющих средств.
По назначению материалы могут быть подразделены на три группы: конструкционные,
теплоизоляционные и электротехнические.
В качестве конструкционных материалов применяют черные, цветные металлы, сплавы,
пластмассы и другие синтетические материалы.
К черным металлам относятся железо и его сплавы, важными из которых являются
чугун и стали.
Чугун представляет собой высокоуглеродистый сплав железа с углеродом. Углерода
в чугуне содержится от 2 до 4,5%. Марки чугуна составлены следующим образом: первые
буквы обозначают название чугуна (СЧ – серый чугун), первые две цифры – предел прочности
на растяжение в кг/мм², вторые две цифры – предел прочности на изгиб в кг/мм².
Например, для изготовления корпусных деталей механического оборудования, испытывающих
небольшие нагрузки, применяют чугун марок СЧ 15-32, СЧ 21-40, СЧ 35-56; конфорки
плит изготовляют обычно из чугуна СЧ 18-36 и СЧ 21-40.
Сталь – это сплав железа с углеродом. Углерода в стали обычно содержится от
0,04 до 2,0%. В качестве добавок используют марганец (0,1 – 1,0%), кремний (до 0,4%)
и др. Сплавы с указанными пределами изменения состава называются углеродистой сталью.
По качеству эти сплавы подразделяются на сталь углеродистую обыкновенного качества
и сталь углеродистую качественную.
Из стали углеродистой обыкновенного качества изготовляют сварные корпусные
детали, крышки, кожухи и другие детали, не несущие больших нагрузок и не соприкасающиеся
с пищевыми продуктами.
Чтобы придать железоуглеродистым сплавам определенные свойства, к ним добавляют
различные элементы. Так, при добавлении хрома повышается твердость и прочность сплавов;
при добавлении никеля – прочность,
пластичность и устойчивость к коррозии; молибдена и вольфрама – твердость
и жароустойчивость; кремния – прочность, коррозионная стойкость; марганца – прочность,
износоустойчивость и твердость.
В зависимости от основных свойств качественные стали и сплавы можно подразделить
на три группы:
-
коррозийонно-стойкие (нержавеющие) стали и сплавы, обладающие стойкостью
к электрохимической и химической коррозии (щелочной, кислотной, соленой, атмосферной
и др.);
-
жаростойкие (окалиностойкие) стали и сплавы, обладающие стойкостью
к химическому разрушению в газовых средах при температурах выше 550° С; эти стали
и сплавы могут работать в ненагруженном или слабо нагруженном состояниях;
-
жаропрочные стали и сплавы, способные работать в нагруженном состоянии
при высоких температурах в течение определенного времени и обладающие достаточной
термостойкостью.
Те или иные качественные стали и сплавы применяются в зависимости от условий
эксплуатации, величины нагрузки, наличия или отсутствия контакта с пищевыми продуктами.
Так, для изготовления деталей, испытывающих большие нагрузки (валы, шестерни, тяги,
рабочие инструменты), применяются качественные углеродистые и нержавеющие стали
марок 45, 50, 40Х, 65Г, 15, 20Х, I2ХНЗ. Для изготовления деталей машин и аппаратов,
непосредственно контактирующих с пищевыми продуктами, применяется сталь легированная
конструкционная марок 20Х и 40Х, сталь инструментальная легированная марок Х12,
9ХС и 9ХВТ, стали и сплавы высоколегированные коррозионно-стойкие, жаростойкие и
жаропрочные марок Х18Н9, Х18Н9Т, 1Х13 и др.
Из цветных металлов для изготовления оборудования предприятий общественного
питания наиболее широко применяются алюминий и его сплавы (с марганцем, магнием
и кремнием). Собственно алюминий применяется для изготовления посуды и деталей аппаратов,
непосредственно контактирующих с пищевыми продуктами. Для этих же целей применяют
сплавы алюминия с кремнием (силумины). Для лужения стальных деталей непосредственно
контактирующих с пищевыми продуктами, используется олово.
Пластмассы и некоторые другие синтетические материалы используют для изготовления
деталей, испытывающих средние нагрузки (шестерни, шкифы). Преимущество пластмасс
– в их легкости, антикоррозийности, бесшумности в работе, технологичности. Однако
пластмассы обладают низкой термостойкостью, что затрудняет использование их для
теплового оборудования.
Теплоизоляционные материалы применяются для уменьшения потерь тепла в окружающую
среду и снижения температуры наружных поверхностей тепловых аппаратов.
Теплоизоляционные материалы бывают минерального (асбест, глина, кизельгур,
гипс), растительного (пробка, древесные опилки, измельченный торф) и животного (шерсть,
шелк, войлок) происхождения.
По конструктивному оформлению все теплоизоляционные материалы можно подразделить
на четыре группы: засыпные (перлит в засылке, минеральная вата, торфяная крошка);
пластичные (асбозурит, совелит мастичный); оберточные гибкие (асботкань, маты и
войлок из минеральной ваты, строительный войлок); формовочные (скорлупы, цилиндры
и плиты из минеральной ваты, сегменты и торфоплиты, плиты перлитовые).
Теплоизоляционные материалы должны отвечать следующим требованиям: иметь низкие
коэффициенты теплопроводности и теплоемкости, небольшую плотность, высокую термостойкость,
достаточную прочность, низкую гигроскопичность, биостойкость, антикоррозийность,
безвредность, а также быть удобными при монтаже и дешевыми.
Электротехнические материалы могут быть подразделены на две основные группы:
материалы с высоким удельным сопротивлением и электроизоляционные.
Материалы с высоким удельным сопротивлением предназначены для изготовления
собственно нагревательных элементов, в которых электрическая энергия преобразуется
в тепловую. Помимо высокого удельного сопротивления (1,0 – 1,5 Ом·мм²/м), такие
материалы должны иметь высокую температуру плавления, незначительный температурный
коэффициент линейного расширения, быть стойкими к окислению при сильном и продолжительном
нагревании в воздушной среде, выдерживать высокие температуры и резкие колебания
ее без изменения механических свойств. Этим требованиям отвечают так называемые
нихромы – сплавы никеля с хромом и фехрали – железохромалюминиевые сплавы. В зависимости
от марки нихрома оптимальная рабочая температура его колеблется в пределах от 950
до 1250°С; для фехрали эта температура находится в пределах от 650 до 900° С. Широкое
распространение получили нихромы, так как фехраль хотя и дешевле нихрома, но более
хрупка в нагретом состоянии, и поэтому чаще выходит из строя.
Электроизоляционные материалы не должны содержать веществ, которые при температуре
900 – 1100°С могут вступать в химические реакции с нагревательными элементами. Кроме
эго, они должны обладать высокой электрической и механической прочностью, иметь
хорошую теплопроводность и малую влагопоглощаемость, обладать способностью противостоять
резким колебаниям температуры. Этим требованиям отвечают периклаз (плавленая окись
магния), кварцевый песок, шамот (прокаленная и измельченная огнеупорная глина),
слюда, кварцевое стекло, фарфор и керамика.
Максимальной рабочей температурой является: для периклаза – 1400 – 1700° С,
шамота – 1400 – 1500, фарфора – 500 – 600° С.
1.4 Направления развития конструирования
Анализ конструктивных
и эксплутационных особенностей таких серийно выпускаемых аппаратов массового производства,
как пищеварочные котлы, позволяет сделать вывод о чрезмерной разнотипности их конструкций,
которая приводит к тому, что аппараты имеют мало общих узлов и деталей в пределах
своего типоразмерного ряда.
Например, котлы
емкостью 40 и 60 литров на электрическом обогреве имеют несколько модификаций и
коренным образом отличаются от котлов емкостью 100, 160 и 250 л.
Еще большие различия
наблюдаются при изготовлении аппаратов одного и того же технического назначения,
но при использовании разных видов обогрева: пар, газ, электроэнергия и твердое топливо.
Это обстоятельство
сводит к минимуму возможность унификации, уменьшения металлоемкости и упрощения
изготовления аппаратов.
Принцип модулирования
приобрел широкое распространение как в нашей стране, так и за рубежом. Современные
горячие цеха оснащаются модульными аппаратами, скомплектованными в линии.
Однако этот принцип
требует нового конструктивного оформления аппарата, оказывает влияние на его выходные
параметры с технико-экономические показатели. Расчеты показывают, чем больше модуль,
тем труднее конструировать аппарат, но тем больше возможность унификации узлов и
деталей.Оценивая серийные тепловые аппараты, сконструированные не по модульному
принципу, можно выявить следующие недостатки:
- малая степень
унификации;
- усложненная
технология изготовления;
- низкие эргономические
показатели;
- увеличенная
производственная площадь.
При сопоставлении
металлоемкости серийных котлов за сравнительную единицу принимают массу котла, отнесенную
к единице его емкости – кг/дм3.
Расчеты показывают,
что при использовании листоканальных панелей средний коэффициент уменьшения удельной
металлоемкости панельного котла по отношению к серийному составляет Р=0,55.
Как показывает
анализ, панельные котлы превосходят серийные по следующим показателям: металлоемкости,
технологичности при изготовлении, эргономичности благодаря приспособленности к функциональной
таре, возможности унификации в результате применения одинаковых панельных эффектов,
надежности в следствии жесткости панельных систем, к.п.д.
Следует также
отметить, что панельный принцип применим к достаточно широкому кругу тепловых аппаратов,
перспективен при создании новых аппаратов периодического действия и трансформаторов;
дает возможность по меньшей мере на 50% улучшить качество аппаратов, включая такие
их показатели, как металлоемкость, степень унификации, технологичность, эргономичность,
упрощает заводскую оснастку и производство.
2. Описание проектируемого
аппарата
2.1 Структурная схема
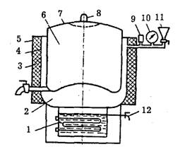
Принципиальная схема устройства электрического котла показана на рисунке 1
Рисунок 1 – Принципиальная схема устройства электрического котла
1 – парогенератор; 2 – паровая рубашка; 3 – тепловая изоляция; 4 – корпус;
5 – кожух; 6 – варочный сосуд; 7 – крышка; 8 – клапан-турбинка; 9 – двойной предохранительный
клапан; 10 – манометр; 11 – наполнительная воронка; 12 – клапан уровня
Рисунок 2 – Электрический котел КПЭ-250:
1 –крышка; 2 – варочный сосуд; 3 – теплоизоляция; 4 –пароводяная рубашка;
5 –станция управления; 6 – клапан-турбинка ; 7 – патрубок; 8 – противовес 9 –кран
уровня; 10 – пароотводная трубка; 11 – вентиль (отвода пара); 12,13 – рукоятки вентилей
подачи воды; 14 –наполнительная воронка; 15 –двойной предохранительный клапан; 16
– электроконтактный манометр; 17 – отражатель; 18 – двухстенная крышка; 19 – прижимные
болты; 20 – сливной кран; 21 – наружный корпус; 22 – постамент.
Котел (рис. 2) состоит из варочного сосуда, выполненного из нержавеющей стали,
наружного корпуса из листовой конструкционной стали, облицовки и постамента. Замкнутое
пространство между варочным сосудом и наружным корпусом служит пароводяной рубашкой.
В пространстве между наружным корпусом и облицовкой уложена теплоизоляция.
К нижней части наружного корпуса приварен корпус парогенератора, в котором на отдельном
щитке смонтированы шесть трубчатых электронагревателей (тэнов).
Варочный сосуд закрывается откидной, закрепленной на валу шарнира двустенной
крышкой, уравновешенной противовесом. Плотное прилегание крышки обеспечивается прокладкой
из термостойкой пищевой резины, уложенной в канавке крышки, и накидными винтами.
Для слива промывочных вод из варочного сосуда имеется сливной кран с сеткой.
Каждый котел оборудован контрольно-измерительными приборами и арматурой: электроконтактным
манометром, грузовым предохранительным клапаном, заливной воронкой с краном, клапаном-турбинкой,
краном уровня и электродом «сухого хода», смонтированным в корпусе парогенератора.
Котел оборудован трубопроводами холодного и горячего водоснабжения, служащими
для заполнения варочного сосуда водой и его санобработки.
Электроконтактный манометр – это контрольно-измерительный прибор, с помощью
которого автоматически регулируется нагрев котла в зависимости от давления пара
в пароводяной рубашке.
Предохранительный клапан состоит из двух клапанов: верхнего – парового – для
сброса давления из пароводяной рубашки при повышении его сверх 0,5 кгс/см и нижнего
– воздушного – для пропуска воздуха в пароводяную рубашку при остывании котла и
устранения тем самым вакуума.
В предохранительном клапане в процессе его эксплуатации возможно прикипание
клапанов, что может привести к взрыву котла или его смятию. Для предупреждения аварии
в предохранительном клапане предусмотрен рычаг, с помощью которого производится
подрыв клапанов.
Заливная воронка с краном предназначена для заполнения парогенератора водой.
Кран воронки служит воздушным клапаном, так как используется для выпуска воздуха
из пароводяной рубашки котла в момент его разогрева.
Клапан-турбинка с отражателем и пароотводной трубкой, смонтированные на крышке
котла, служат для отвода из варочного сосуда пара, образуемого в результате кипения
содержимого котла.
Кран уровня служит для контроля за верхним уровнем воды в парогенераторе.
Нижний уровень воды автоматически контролируется с помощью электрода «сухого хода»,
подключенного к схеме защиты.
Пищеварочный котел может поставляться со съемной подставкой под раздаточный
бачок и вставкой-вкладышем для варки рыбы и овощей на пару. Электрокотел снабжен
автоматическим управлением тепловым режимом и защитой тэнов от «сухого хода».
Двухступенчатое регулирование нагрева осуществляется по давлению пара в пароводяной
рубашке. Разогрев содержимого котла происходит на полной мощности, варка – на
.
Элементы автоматического управления тепловым режимом котла и система защиты
тэнов от «сухого хода» смонтированы в специальном шкафу станции управления.
2.2 Описание режимов работы электрического котла КПЭ-250
Режим I – доведение содержимого
котла до кипения на полной мощности и автоматический перевод его на
мощности для осуществления процесса
варки. Режим используется при варке супов, овощей и других блюд.
Режим II – доведение содержимого
котла до кипения на полной мощности и доваривание его за счет аккумулированного
тепла без расхода электрической энергии (котел отключен от электросети). Режим используется
при варке крупяных изделий, кипячении молока, чая и др.
2.3 Электрическая схема котла КПЭ-250
Котлы имеют шесть тэнов. Сильный нагрев достигается включением всех тэнов
двойным треугольником или двойной звездой в зависимости от напряжения питающей сети,
слабый нагрев – включением одного из тэнов.
Различное соединение тэнов для получения сильного нагрева достигается изменением
положения перемычек на клеммной панели.
Пищеварочные котлы КПЭ-100, КПЭ-160 и КПЭ-250 имеют одинаковую электрическую
схему (см. рис. 3) и различаются только мощностью тэнов.
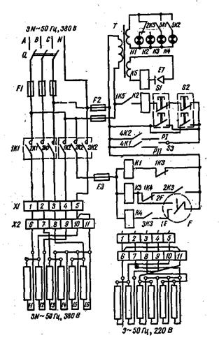
Рисунок 3 – Электрическая схема котлов типа КПЭ
Включение аппаратов осуществляется пакетным выключателем Q, а переключение режима работы – переключателем S3. При этом напряжение из сети подается на силовые контакты магнитных
пускателей К1, К2, трансформатор Т и цепь управления катушкой магнитного пускателя
К2.
Если электрод Е7 находится в воде, то цепь катушки реле К5 замкнута и реле
срабатывает. Контакт 1К5 этого реле, замыкаясь, подготавливает к работе магнитный
пускатель К2, а контакт 2К5 включает сигнальную лампу Н2 Для удобства обслуживания
котел имеет две кнопочные станции (S1, S2), одна из которых находится на станции управления, а другая
– непосредственно на котле. При нажатии на любую из кнопок «Пуск» под напряжением
оказывается катушка магнитного пускателя К2, который включает один тэн Е2, сигнальную
лампу Н4 и подает питание на нижнюю часть цепи управления. При этом под напряжением
оказывается катушка магнитного пускателя К1, который включает остальные пять тэнов
и сигнальную лампу Н3. В зависимости от режима (РI, РII), установленного переключателем режимов работы S3, кнопка «Пуск» будет сблокирована контактом 4К2 или 4К1.
По достижении в паровой рубашке котла максимального давления замкнется контакт
2F электроконтактного манометра
и сработает реле К3. Контакты этого реле отключат магнитный пускатель К1, отсоединив
пять тэнов и выключив сигнальную лампу Н3, сблокируют подвижную стрелку электроконтактного
манометра с контактом 2F и подготовят
реле К4 к работе.
Если переключатель режимов работы S3 был установлен
в положении РII, происходит отключение и магнитного пускателя
К2. При этом все нагреватели будут выключены и сигнальная лампа Н4 погаснет. Если
же переключатель режимов был установлен в положение РI,
то магнитный пускатель К2 будет продолжать работать, обеспечивая питание одного
тэна Е2. При этом мощность котла уменьшится в шесть раз.
В случае понижения давления в паровой рубашке котла до минимального значения
(при работе котла на
мощности)
замкнется контакт 1F электроконтактного
манометра F и включится реле К4,
контакт которого 1К4 разорвет цепь катушки реле К3. Реле К3 выключится и возвратит
свои контакты в исходное положение. При этом вновь включатся пять тэнов и загорится
сигнальная лампа Н3.
При понижении уровня воды в парогенераторе оголится электрод Е7 и разорвется
цепь катушки реле К5.
Реле отключится и его контакты 1К5, 2К5 придут в исходное положение. При этом
выключатся все тэны и загорится сигнальная лампа Н1 («Сухой ход»).
Котел устанавливается непосредственно на полу (рис. ) и крепится четырьмя
анкерными болтами. К котлу подводятся трубопроводы холодной и горячей воды и трубопровод
для отвода конденсата в канализацию.
Два задающих контакта ЭКМ (электроконтактного манометра) устанавливаются по
шкале манометра на минимальный предел давления 0,05 – 0,1 кгс/см
и максимальный —0,45 кгс/см
2.4 Технические характеристики котла КПЭ-250
Полезная вместимость, дм³………………………………………250
Продолжительность разогрева при номинальной мощности, мин..........55
Мощность, кВт:
номинальная…………………………...………………….…………30
минимальная……………………………………………………........5,0
Напряжение сети, В…………………………………………….220-380
Частота, Гц…………………………………………………………50
Количество ТЭНов, шт…………………………………………………… 6
Рабочее давление пара в рубашке, кПа……………………….110-150
Габариты, мм:
длина………………………………………………………………..1150
ширина……………………………………………………………...1040
высота………………………………………………………………1275
Масса (со станцией управления), кг……………………………….235
2.5 Монтаж электрокотла пищеварочного КПЭ-250
котел электрический оборудование пищеварочный
Электрокотел пищеварочный КПЭ-250 устанавливают на несгораемом полу или бетонной
подушке и закрепляют четырьмя фундаментными болтами М16. Высоту подушки определяют
с учетом длины закладной части
фундаментных болтов и высоты расположения сливного крана варочного сосуда,
под который должен подходить борт тары для сбора содержимого котла.
Станцию управления размещают в удобном для наблюдения и обслуживания месте
и крепят к стене или металлическим стойкам, заделанным в пол, цементным раствором.
До установки котла на место (рис. 4) готовят отверстия для закладной части
фундаментных болтов, прокладывают электропровода (силовые и цепей управления) от
станции управления, а также подводят трубопроводы холодного и горячего водоснабжения
и трубопроводы для отвода вторичного пара от клапана турбинки. Стальную трубу с
электропроводами выводят из пола внутри опорного фланца котла, а все технологические
трубопроводы – снаружи. Обрез трубы с выводом электропроводов надежно защищают от
попадания на него влаги. Трубопровод для отвода пара от клапана-турбинки прокладывают
с уклоном 0,005 и соединяют с канализацией через сифон и разрыв не менее 100 мм.
Рисунок 4 – Монтажная схема котла КПЭ-250:
1 – отвод вторичного пара; 2 – подвод горячей воды; 3 – подвод холодной воды;
4 – подвод электроэнергии; 5 – отвод промывочной воды; 6 – пробка пароводяной полости.
В процессе установки котел выверяют на горизонтальность по бортам варочного
сосуда уровнем, который устанавливают на монтажной линейке; допустимая негоризонтальность
котла 0,002. После закладки фундаментных болтов и выверки котла на горизонтальность
под его опорный фланец подливают раствор бетона.
Тэны включают под напряжение только после заполнения парогенератора котла
дистиллированной или кипяченой водой до уровня пробного крана. Воду заливают через
воронку, расположенную рядом с предохранительным клапаном, при этом кран уровня
должен быть открыт. На время разогрева котла открывают воздушный клапан парогенератора.
2.6 Безопасная эксплуатация
Перед началом работы проверяют санитарное состояние варочного сосуда, наличие
заземления, уровень воды в пароводяной рубашке.
Для проверки уровня воды открывают контрольный кран и, если через него не
пойдет вода, то добавляют в парогенератор через наполнительную воронку дистиллированную
или кипяченую воду до появления ее из крана.
Затем проверяют работоспособность клапава-турбинки, приподняв турбину за кольцо
вверх, и двойной предохранительный клапан, нажав несколько раз на рычаг. Потом проверяют
воздушный клапан или запорный кран воронки. Специальным ключом устанавливают на
манометре верхний и нижний пределы необходимого давления пара в пароводяной рубашке
котла.
Проверяют целостность резиновой прокладки крышки и состояние откидных винтов.
Потом в варочный сосуд загружают продукты и закрывают крышкой, закрепляя ее откидными
винтами. Заполнять продуктами и водой пищеварочный котел нужно не превышая предельного
уровня 8 – 10 см ниже кромки котла. Устанавливают тумблер на работу нужного режима
и включают котел в работу нажатием кнопки «Пуск». Процесс тепловой обработки продуктов
осуществляется автоматически. При необходимости корректируют положение верхнего
и нижнего пределов давления на электроконтактном манометре в процессе варки. Во
время работы котла контролируют состояние клапана-турбинки, двойного предохранительного
клапана, манометра и сигнальных ламп.
После окончания работы отключают котел от электросети при помощи красной кнопки
«Стоп». Прежде чем открыть крышку выпускают пар из варочного сосуда путем поднятия
турбинки вверх до отказа, затем ослабляют откидные винты-зажимы и плавно без рывков
откидывают крышку котла.
После выгрузки готовой продукции, остывший варочный сосуд и крышку промывают
горячей водой и протирают снаружи сухой чистой тканью.
Надо помнить, что использование котла с загрязненным или неисправным клапаном-турбинкой
всегда приводит к аварийным случаям, с травмированием и ожогами обслуживающего персонала.
При работе с пищеварочными котлами нужно строго выполнять правила техники безопасности
и безопасность труда.
2.7 Ремонт и испытания котлов
Капитальный ремонт котлов производят в специализированных ремонтных цехах,
оснащенных стендами для производства разборочно-сборочных работ и испытаний тепловых
аппаратов.
Примерная последовательность основных операций по разборке стационарных котлов
на электрическом обогреве включает: снятие противовеса и крышки, отсоединение узла
арматуры, снятие облицовки корпуса и постамента, удаление тепловой изоляции, разбор
болтовых соединений, крепящих фланец блока тэнов, и вынимание блока.
Очистка от накипи. Тэны котлов на электрическом обогреве очищают вручную механическим
способом или путем обработки их горячим щелочным раствором в специальной ванне в
течение 8 – 12 ч.
Парогенераторы котлов, работающих на газовом обогреве, очищают раствором каустической
соды (15 г/л), который заливают через воронку в пароводяную полость до крана уровня.
Раствор разогревают, а затем поддерживают его температуру около 100 °С не менее
2 ч путем обогрева котла газовыми горелками. После этого котел разбирают, отделяют
от корпуса парогенератор и дочищают его ершами или стальными щетками.
Определение дефектов и ремонт узлов. Неплотности в сварных швах, фланцевых
и резьбовых соединениях, а также свищи в наружных стенках обнаруживают путем гидравлического
испытания пароводяной полости давлением до 0,1 МПа. Неплотности можно обнаружить
также по изменению окраски (посветлению) поверхностей деталей у мест выхода пара
и по отложению накипи у мест протекания воды.
Течь во фланцах и резьбовых соединениях устраняют соответственно заменой прокладок
из паронита ПОН и заменой уплотнительной подмотки из пенько-джутовой пряди. Паронитовую
прокладку перед установкой прогревают 15 – 20 мин в горячей воде, а затем смазывают
смесью машинного масла и графита.
Величину коррозионного износа наружной стенки пароводяной полости определяют
ориентировочно простукиванием ее заостренной частью молотка.
Для измерения остаточной толщины в стенке вырезают отверстие для прохода измерительного
инструмента, которое при необходимости закрывают вваркой заплаты.
При капитальном ремонте котлов равномерный коррозионный износ стенок допускается
в пределах 20% их первоначальной толщины.
Для исправления сварных швов внутреннего сосуда, выполненного из нержавеющей
стали 12Х18Н10Т, и приварки к нему штуцеров или других деталей из малоуглеродистой
стали применяют электроды ОЗЛ-12 или ОЗЛ-14; шов, выполненный этими электродами,
устойчив к межкристаллитной коррозии.
Варочные сосуды котлов, деформированные вследствие превышения установленного
давления, разрешается править киянками или молотками с пластмассовой ударной частью,
при этом с противоположной стороны стенки к месту нанесения ударов должна быть приложена
деревянная поддержка, профиль поверхности которой должен соответствовать профилю
поверхности стенки.
Узел арматуры в сборе перед установкой проверяют: на прочность – гидравлическим
давлением 0,1 МПа, на плотность – пневматическим давлением 0,05 МПа. При проверке
плотности арматуру погружают в ванну с водой.
Испытания. Перед сборкой узлов сварные швы, доступные для осмотра с
двух сторон, испытывают керосином. Последний наносят кистью или ветошью на внутреннюю
поверхность шва, при этом наружную поверхность его предварительно окрашивают меловой
краской, приготовленной на воде, и просушивают. Шов считается плотным, если в течение
15 мин на меловой краске не появятся пятна керосина.
По окончании сборки корпуса, перед нанесением тепловой изоляции, пароводяную
полость испытывают гидравлическим давлением 0,1 МПа. При испытании воздух из полости
полностью удаляют через верхний штуцер. Испытательное давление выдерживают 5 мин,
после чего снижают до 0,05 МПа и производят осмотр сварных швов, резьбовых и фланцевых
соединений. Наличие капель и отпотевание поверхностей не допускаются.
Гидравлическое испытание давлением сети городского водопровода разрешается
производить при условии установки редуктора, предварительно отрегулированного на
испытательное давление. Следует учитывать, что превышение испытательного давления
может вызвать повреждение (вспучивание) внутреннего сосуда котла.
Исправность клапана-турбинки и плотность прилегания крышки котла проверяют
давлением 0,0025 МПа.
3. Теплотехнический расчет электрического котла КПЭ-250С
3.1 Расчет теплового баланса и определение мощности КПЭ-250С
Исходные данные приведены в таблице, а схема котла КПЭ-250 – на рисунке 5
Рисунок 5 – Расчетная схема электрического пищеварочного котла:
-
диаметр крышки,
=
;
- диаметр кожуха;
- диаметр
наружного котла;
- диаметр варочного сосуда;
- общая высота аппарата;
- высота варочного сосуда;
- высота выпуклости крышки;
высота вогнутости варочного
сосуда;
- высота выпуклости
наружного котла;
длина парогенератора;
высота парогенератора;
толщина изоляции;
величина зазора между варочным
сосудом и наружным котлом;
высота постамента
3.1.1 Определение геометрических размеров аппарата
Определяем размеры варочного сосуда
:
, (1)
где
внешний диаметр варочного сосуда, м;
V – вместимость сосуда,
м³ ;
К =0,8;
К1 = 0,05.
Высота вогнутости варочного сосуда:
, 2)
где
высота вогнутости
варочного сосуда, м.
Высота варочного сосуда:
, (3)
Высота заполнения варочного сосуда
определяется по формуле:
, (4)
Определяем размеры наружного котла, установив предварительно его диаметр,
который должен быть больше диаметра варочного сосуда на 0,1 м. Это необходимо для
того, чтобы между варочным сосудом и наружным котлом образовалось пространство,
представляющее собой рубашку для промежуточного теплоносителя (см. таблицу 3).
, (5)
, (6)
Таблица 3– Исходные данные для расчета
|
Показатели
|
Обозначение
|
Величина
|
Примечание
|
|
Давление в варочном сосуде, кПа
|
|
|
Котел работает без избыточного давления
|
|
Коэффициент заполнения варочного сосуда
|
|
0,82
|
Для того, чтобы вода расширившись при нагревании, не переливалась
через кромку варочного сосуда, заполняют содержимым на 80 – 90 %. В расчет принимаем
=0,82
|
|
Максимальное количество воды в варочном сосуде при принятом
коэффициенте заполнения, кг
|
|
205
|
|
|
Варочный сосуд цилиндрической формы с вогнутым дном
|
|
|
|
|
|
|
0,8
|
Варочный сосуд выполнен из листовой нержавеющей стали толщиной
=2 мм
|
|
|
|
0,05
|
|
|
Показатели
|
Обозначение
|
Величина
|
Примечание
|
|
Зазор между стенками варочного сосуда и наружного котла,
м
|
|
0,05
|
По конструктивным соображениям
|
|
Крышка варочного сосуда одинарная сферическая выпуклая,
мм
|
|
2
|
Крышка выполнена из листовой нержавеющей стали толщиной
2 мм
|
|
Наружный котел цилиндрический, мм
|
|
3
|
Выполнен из углеродистой стали
|
|
Кожух
|
|
0,5
|
Выполнен из листовой углеродистой стали, покрытой светлой
эмалью с толщиной листа 0,5 мм
|
|
Температура наружной поверхности котла, °С
|
|
60
|
Согласно требованиям ГОСТ 16997-77
|
|
Избыточное давление пара в пароводяной рубашке, кПа
|
|
40 (0,4)
|
Согласно требованиям ГОСТ 16997-77
|
|
Степень сухости пара
|
|
0,9
|
|
|
Количество воды, испарившейся при стационарном режиме, кг
|
|
2,05
|
|
|
Температура воздуха в помещении, °С
|
|
18
|
|
|
Время работы котла при стационарном режиме, ч
|
|
1,0
|
|
|
Время разогрева котла, мин
|
|
55
|
|
|
Температура на крышке котла при стационарном режиме работы,
°С
|
|
95
|
|
|
Размеры парогенератора:
|
|
|
По аналогии с серийно выпускаемыми аппаратами
|
|
длина, мм
|
|
400
|
|
|
ширина, мм
|
|
200
|
|
|
высота, мм
|
|
200
|
|
|
Каркас и арматура котла, кг
|
|
250
|
% от массы варочного сосуда
|
|
Постамент, кг
|
|
400
|
% от массы варочного сосуда
|
|
Начальная температура воды, °С
|
|
12
|
|
|
Температура кипения воды в варочном сосуде, °С
|
|
100
|
|
|
|
|
|
|
Устанавливаем толщину изоляции стенок наружного котла, для чего предварительно
определяем удельные потери теплоты теплоизолированным котлом и коэффициент теплоотдачи
от наружной поверхности котла воздуха соответственно по формулам и для тонкой стенки;
температуру изолированной стенки
= 60°С по таблице, температуру стенки наружного
котла‚ принимаем равной температуре пара (при заданном избыточном давлении 40 кПа
=109,3°С).
(7)
(8)
где
- коэффициент
теплоотдачи, Вт/м²ּ°С;
q – потери теплоты, Вт/м²;
t
- температура внутренней поверхности изоляции,
°С;
t
- температура воздуха, °С.
Находим коэффициент теплопроводности мятой (гофрированной) альфоли:
(9)
(10)
Толщина изоляции определяется из формулы:
(11)
Диаметр защитного кожуха D
, будет равен
(12)
Учитывая, что для удобства обслуживания общая высота котла не должна превышать
Н
м и принимая сферическую
крышку
м, определяем высоту
постамента
(13)
3.1.2 Расчет теплового баланса котла
Тепловой баланс электрического котла рассчитывается для нестационарного и
стационарного режимов работы.
Для нестационарного режима тепловой баланс выражается формулой:
(14)
Для стационарного режима тепловой баланс выражается формулой:
(15)
Как указано в таблице, полезная теплота при расчете пищеварочных котлов определяется
из условия нагревания и кипячения воды.
Полезная теплота для нестационарного режима определяется по формуле
(16)
(17)
где
- плотность воды.
Полезная теплота для стационарного режима определяется по формуле:
(18)
где r
при атмосферном давлении,
(19)
Конечная температура воды
равна температуре кипения воды при атмосферном
давлении и составляет
.
Потери теплоты ограждениями котла в окружающую среду определяются для нестационарного
и стационарного режимов работы по формулам (20) и (21) соответственно:
(20)
, (21)
где
- соответственно
коэффициент теплоотдачи, площадь и температура I-того элемента
поверхности аппарата, Вт/(м² ּ°С), м², °С;
- время работы аппарата,
с.
Поверхность стенок кожуха котла определяется как боковая поверхность цилиндра
по выражению
(22)
Поверхность крышки и верхней горизонтальной поверхности котла определяется
приблизительно как площадь круга
(23)
Начальная температура ограждений принимается равной температуре воздуха в
помещении
Коэффициент теплоотдачи может быть рассчитан соответственно для стационарного
и нестационарного режимов, при этом средняя температура
i-того элемента
ограждения за период разогрева определяется как среднеарифметическая начальной
и конечной
:
;
;
По формулам (20) и (21) находим
и
:
где
где
Потери теплоты дном котла незначительны, и ими можно пренебречь. Потери на
разогрев конструкции определяется по формуле (24), используя данные таблицы 4:
(24)
По формуле (24) определяем
Потери теплоты на разогрев постамента не учитываются из-за их незначительной
величины.
3.1.3 Расчет минимальной поверхности нагрева варочного котла
Для определения минимальной поверхности нагрева варочного котла следует определить
количество теплоты, которое должно быть передано через поверхность нагрева за время
Коэффициент теплоотдачи для случая передачи теплоты от паровоздушной смеси
к воде приблизительно равен К = 2900 Вт/(м²ּ˚С).
Время разогрева
Среднеарифметическая разность температур определяется по формуле:
Количество теплоты, переданное через поверхность нагрева, равно
(25)
Необходимая площадь нагрева:
(26)
Фактическая поверхность нагрева:
(27)
т. е. больше необходимой.
Расход теплоты на нестационарный режим работы котла равен, см. формулу (14):
Расход теплоты на стационарный режим работы котла равен, см. формулу (15):
Коэффициент полезного действия котла при нестационарном режиме работы по формуле
(25):
(28)
Удельные металлоемкость и расход теплоты, определяемые по формулам соответственно
равны:
(29)
Мощность нагревательных элементов при нестационарном и стационарном режимах
работы электрического котла соответственно составит, см. формулы (30) и (31):
(30)
(31)
Соотношение мощности электрического котла при нестационарном и стационарном
режимах равно

Учитывая мощность тэнов, принимаем максимальную мощность
кВт, а минимальную
кВт. В этом случае время разогрева составит
(32)
Электрические пищеварочные котлы присоединяются к трехфазной сети, поэтому
с точки зрения равномерной нагрузки фаз тэны целесообразно устанавливать в количестве,
кратном трем.
Для рассчитываемого котла максимальную мощность Р целесообразно принять равной
28,1 кВт (при параллельно включенных трех тэнах по 6 кВт каждый), а минимальную
Р — равной 3,7 кВт (два последовательно соединенных тэна, один тэн отключен). В
этом случае соотношение мощности котла при нестационарном и стационарном режимах:
3.2 Расчет нагревательных элементов котла КПЭ-250С
3.2.1 Исходные данные для расчета нагревательных элементов
Для расчета ТЭНа необходимо иметь сведения о его мощности Р, напряжении в
электрической сети U, удельных нагрузках на поверхности
трубки
и поверхности
спирали Wn.
Суммарную мощность ТЭНов, установленных в аппарате и их количество определяем
из технической характеристики аппарата.
Мощность ТЭНа Р, Вт, определяем из соотношения:
(33)
где ΣΡ - суммарная
мощность ТЭНов, установленных в аппарате, Вт;
n - количество ТЭНов, шт.
Напряжение электрической сети U, В, определяем из технической характеристики
аппарата с учетом электрической схемы включения ТЭНа в сеть.
Принимаем
и
.
Исходные данные сводим в таблицу (см. таблицу 5).
Таблица 5 - Исходные данные для расчета ТЭНа
|
Наименование показателя
|
Значение показателя
|
|
Суммарная мощность ТЭНов, установленных в аппарате, ΣΡ, Вт
|
30
|
|
Количество ТЭНов в аппарате, n,
шт.
|
6
|
|
Единичная мощность ТЭНа Р, Вт
|
5
|
|
Напряжение электрической сети, U, В
|
220
|
|
Вид среды, в которой работает ТЭН
|
вода
|
|
Удельная нагрузка на поверхности трубки wt, Вт/м2
|
|
|
Удельная нагрузка на поверхности спирали Wn, Вт/м2
|

|
3.2.2 Расчетная схема
Эскиз ТЭНа с указанием расчетных
параметров показан на рисунке 6
Рисунок
6 – Схема к расчету ТЭНа
а - параметры трубки; б - параметры спирали.
3.2.3 Порядок расчета
Расчет ТЭНа выполняем в три этапа:
- определение размеров трубки;
- расчет размеров проволоки;
- нахождение размеров спирали.
Определяем длину активной части трубки ТЭНа la,
м, по формуле
(34)
где DТ – диаметр трубки ТЭНа. Диаметр трубки
принимают в пределах DТ = 0,006.. .0,016 м.
Рассчитываем длину активной части трубки ТЭНа до опрессовки
, м, из соотношения
(35)
где γ – коэффициент удлинения трубки в результате опрессовки, γ=1,15.
Находим полную развернутую длину трубки после опрессовки LТ, м, по формуле
(36)
где LП - длина пассивного конца трубки
ТЭНа, м (=5см).
Находим сопротивление проволоки ТЭНа после опрессовки R, Ом, из выражения
(37)
а сопротивление проволоки ТЭНа до опрессовки RО
OМ, из выражения
(38)
где αR -
коэффициент изменения сопротивления проволоки в результате опрессовки, αR = 1,3.
Рассчитываем удельное сопротивление проволоки при рабочей температуре, ρt, Ом ◦м, по формуле:
=1,25◦10
Ом◦м, (39)
где р20 - удельное сопротивление проволоки при рабочей температуре
20°С, Ом • м;
α - температурный коэффициент, учитывающий изменение удельного
сопротивления проволоки при изменении температуры, град-1;
t - рабочая температура проволоки,
°С.
Определяем диаметр проволоки ТЭНа d, м, по
формуле:
(40)
Находим длину проволоки ТЭНа lпр, м,
из выражения:
(41)
Проверяем значение фактической удельной поверхностной мощности на проволоке
WПФ, Вт/м2:
(42)
WПФ не превышает предельно допустимых величин.
Вычисляем длину одного витка спирали lв
, м, по формуле
(43)
где 1,07 - коэффициент увеличения диаметра спирали после снятия ее со стержня
намотки;
dС - диаметр стержня намотки, м, выбирают
из конструктивных соображений =0,003... 0,006м.
Находим количество витков спирали n, шт., по формуле
(44)
Расстояние между витками спирали а, м, связано с длиной активной части трубки
ТЭНа соотношением
(45)
Для обеспечения хорошего отвода тепла от внутренней поверхности спирали соблюдено
соотношением а > dПР
Определяем шаг спирали s, м
(46)
Вычисляем коэффициент шага Кш
(47)
и коэффициент намоток стержня
(48)
Определяем диаметр спирали ТЭНа dСП,
м, по формуле
(49)
Находим общую длину проволоки lo, м, с
учетом навивки на концы контактных стержней по 20 витков:
(50)
Заключение
В настоящее время вопросам повышения эффективности производства и качества
готовой продукции уделяется большое внимание.
Применительно к торговле и общественному питанию эти требования должны найти
свое отражение в сокращении продолжительности технологических процессов, снижении
удельного расхода энергии, уменьшении потерь сырья при его обработке, повышении
качества готовой продукции, улучшению санитарно-гигиенических условий.
Успешному решению поставленных задач будет во многом способствовать проектирование,
производство и использование современного высокоэффективного оборудования.
Поэтому тема проектирования современных конструкций теплового оборудования
актуальна.
Курсовой проект успешно завершен, котел пищеварочный электрический емкостью
250 л проектирован. Необходимые задачи для реализации цели решены.
Список использованных источников
1.
Беляев М.И. Оборудование предприятий общественного питания. 3 том. М.: Экономика,
1990.
2.
Белобородов В.В. Оборудование предприятий общественного питания. М.: Экономика,
1978.
3.
М. А. Богданова, «Оборудование предприятий общественного питания», М.: «Экономика»,
1986.
4.
М.И. Ботов. Тепловое и механическое оборудование предприятий торговли общественного
питания: Учебник для нач. проф. образования /. – М.: Иэдательский центр «Академия»,
2002. – 464 с.
5.
Вышелесский А.Н. Тепловое оборудование предприятий общественного питания.
М.: Экономика, 1976.
6.
Гусева Л.Г. Тепловое и электрическое оборудование предприятий общественного
питания. М.: Экономика, 1979.
7.
Дорохин В.А. Оборудование предприятий общественного питания (Справочник).
Киев: Тэхника. 1990.
8.
Золин В.П. Технологическое оборудование предприятий общественного питания.
М.ИРПО: Академия, 2000.
9.
Ключников В.П. Оборудование предприятий общественного питания (Справочник).
М.: Экономика, 1985.
10.
Кокурин В.Ф. и др. Секционное оборудование предприятий общественного питания.
М.: Экономика, 1969.