|
№ п/п
|
Наименование
машин
|
Марка
|
Гос. №
|
Год выпуска
|
Наработка на
1.01.2008 г., маш.-ч.
|
|
1
|
А/машина
|
МАЗ-5551
|
АВ 13-04-3
|
1992
|
-
|
|
2
|
-
|
МАЗ-5551
|
81-17 ГСП
|
1992
|
-
|
|
3
|
-
|
МАЗ-5551
|
81-18 ГСП
|
1992
|
-
|
|
4
|
-
|
МАЗ-5551
|
97-06 ЕА
|
1992
|
-
|
|
5
|
-
|
МАЗ-5551
|
37-02 ЕА
|
1998
|
-
|
|
6
|
-
|
МАЗ-5551
|
98-57 ЕА
|
2000
|
-
|
|
7
|
-
|
МАЗ-555102
|
АА 57-00-3
|
2006
|
-
|
|
8
|
-
|
МАЗ-555102
|
АА 82-31-3
|
2006
|
-
|
|
9
|
-
|
МАЗ-5537-02
|
АА 83-66-3
|
2004
|
-
|
|
10
|
|
МАЗ-6422 А8
|
АВ 35-25-3
|
2007
|
-
|
|
11
|
-
|
ЗИЛ-130
|
97-08 ЕА
|
1977
|
-
|
|
12
|
-
|
ЗИЛ-555
|
75-08 ЕА
|
1989
|
-
|
|
15
|
|
ГАЗ-33023
|
АА 14-32-3
|
2007
|
-
|
|
17
|
-
|
ГАЗ-33023
|
АА 21-37-3
|
2005
|
-
|
|
18
|
-
|
ГАЗ-330230
|
АА 82-35-3
|
2006
|
-
|
|
19
|
-
|
ГАЗ-33023
|
АК 78-60-3
|
2005
|
-
|
|
20
|
Сед. Тягач
|
УРАЛ-4320
|
97-09 ЕА
|
1991
|
-
|
|
21
|
-
|
КАМАЗ-5410
|
97-05 ЕА
|
1991
|
-
|
|
22
|
А/кран
|
КС-45729А
|
АА 57-59-3
|
2006
|
820
|
|
23
|
Бензовоз
|
ГАЗ-53 АЦ - 4,2
|
29-11 ГСМ
|
1985
|
-
|
|
24
|
А/гудронатор
|
АРБ-7
|
37-73 ЕВ
|
1998
|
2400
|
|
1
|
2
|
3
|
4
|
5
|
6
|
|
25
|
Разметочная
|
ДЭ-21
|
15-30 ГСП
|
1986
|
-
|
|
26
|
Автобус
|
ГАЗ-66
|
25-03 ГСП
|
1991
|
-
|
|
27
|
-
|
ГАЗ-66
|
25-04 ГСП
|
1991
|
-
|
|
28
|
Спец. легковая
|
УАЗ-3151
|
75-08 ЕАЕ
|
1989
|
-
|
|
29
|
Легковая
|
ГАЗ-3110
|
18-73 АС-3
|
1999
|
-
|
|
30
|
-
|
ГАЗ-3110
|
52-55 АС-3
|
1998
|
-
|
|
31
|
Погрузчик
|
ТО-18Б
|
22-59 ЕА
|
1998
|
11257
|
|
32
|
-
|
ТО-30
|
22-60 ЕА
|
1992
|
1242
|
|
33
|
-
|
Амкодор 342С-03
|
77-14 ЕА
|
2006
|
4117
|
|
34
|
А/грейдер
|
ДЗ-180
|
22-61 ЕА
|
1997
|
10740
|
|
35
|
-
|
ДЗ-180
|
77-42 ЕА-3
|
1992
|
8040
|
|
36
|
-
|
ГС 14-02
|
41-67 ЕА
|
2005
|
1018
|
|
37
|
Бульдозер
|
МП-18
|
|
2005
|
8629
|
|
38
|
Трактор
(колесный)
|
МТЗ-1221
|
22-54 ЕА
|
1999
|
9913
|
|
39
|
-
|
МТЗ-82
|
22-64 ЕА
|
1996
|
4080
|
|
40
|
-
|
МТЗ-80
|
22-65 ЕА
|
1992
|
9509
|
|
41
|
-
|
МТЗ-82
|
77-01 ЕА-3
|
2006
|
10227
|
|
42
|
-
|
МТЗ-82
|
22-69 ЕА
|
2005
|
9427
|
|
43
|
Фреза
|
ДЗ-133
|
22-63 ЕА
|
1999
|
2640
|
|
44
|
Машина
уборочная
|
МУ-82
|
22-62 ЕА
|
1998
|
9025
|
|
45
|
Асф/укладчик
|
Фогель-Супер
1800-1
|
88-04 ЕА-3
|
2004
|
6122
|
|
46
|
-
|
ДС-143
|
555
|
1990
|
6847
|
|
1
|
2
|
3
|
4
|
5
|
6
|
|
47
|
Мотокаток
|
В-854-2К
|
54-90
|
2003
|
4472
|
|
48
|
-
|
В-854-2
|
22-70
|
2004
|
4881
|
|
49
|
-
|
ДУ-47
|
443
|
1990
|
4230
|
|
50
|
-
|
ДУ-47
|
554
|
1990
|
4430
|
|
51
|
-
|
AR 65
|
|
2006
|
1580
|
|
52
|
-
|
ДУ-48
|
415
|
1989
|
9046
|
|
53
|
Машина для
ямочного ремонта
|
ФСИТ-42
|
22-55 ЕА
|
1999
|
847
|
1.3 Организация технического обслуживания и
ремонта
Для проведения ремонта и технического обслуживания
автотракторной техники в структуре управления находятся две
ремонтно-механические мастерские (РММ), расположенные в автогаражах №1 и №2, в
которых выполняют весь комплекс ремонтных работ закрепленной за гаражам
техники. Мастерские располагают ремонтными зонами площадью 1,32 га. Они
оснащены необходимым количеством постов, где производится непосредственный
ремонт техники, и производственными отделениями, где ремонтируются
комплектующие узлы и детали. В состав РММ входит 8 участков, разделенных по
видам выполнения работ на 32 отделения. Работы по текущему ремонту и
техническому обслуживанию выполняется комплексными бригадами РММ,
укомплектванными слесарями различных специальностей. На балансе РММ находится
166 единиц оборудования, подобранного в соответствии с технологией выполняемых
работ.
- ремонт и ТО автомобилей, прицепов, тракторов осуществляется
РММ автогаражей №1 и №2, возглавляемые начальниками мастерских;
по своей структуре ремонтно-механические мастерские состоят
из участков ТО и ТР возглавляемых мастерами РММ;
участки выполняют закрепленный за ними комплекс технических
воздействий подвижного состава, базирующемуся на территориях гаражей;
ремонтные работы проводятся слесарным персоналом РММ,
водителями, машинистами, трактористами и т.д. на специально отведенных для этих
целей местах (ремонтных постах, участков ТО и ТР РММ) оснащенных необходимым
оборудованием, приборами, приспособлениями, инвентарем, инструментом,
предусмотренным определенным видом работ;
ТР подвижного состава может проводиться слесарями участков
РММ и без участия водителей, машинистов, трактористов сообразуясь с
производственной необходимостью, трудоемкостью работ, наличием и загруженностью
ремонтного персонала, и т.д. При этом необходимость привлечения водителей,
машинистов, трактористов для ремонта определяется начальником РММ (ст.
мастером) исходя из конкретной обстановки;
поступившие на ремонт автомобили, трактора, прицепы
проверяются и принимаются мастером РММ, с обязательным контролем комплектности.
При выявлении не комплектности или поломок происшедших по вине водителя мастер
с участием инженера ПТО и начальника колонны составляет акт с описанием
некомплектных узлов или дефектов. Акт представляется главному инженеру для
принятия мер виновным. приемка автомобиля или трактора в ремонт считается
законченной посте оформления акта с указанием комплектности;
начальник РММ, мастер исходя из объемов работ, характера
неисправностей, определяет место постановки транспорта в зонах ремонта и выдает
нормированное задание бригадам слесарей и водительскому составу, привлекаемому
к ремонтным работам на производство ремонтных работ;
водитель, тракторист, машинист до окончания ремонта или ТО-2
находится в распоряжении начальники РММ, мастера участка;
время простоя подвижного состава в ремонте контролируется
инженером по нормированию простоев, анализ простоев ежедневно передается
главному инженеру;
в случае необходимости ремонта тракторной техники на линии
при невозможности доставки ее в ремонтную мастерскую, работы проводится на
объекте силами машиниста, с привлечением слесарей РММ. Контроль за проведением
ремонта и его оформление проводится в установленном порядке начальником
(механиком) колонны;
для ремонта техники без участия водителя распоряжением по РММ
создаются звенья слесарей. Звенья формируются с расчетом обеспечения
необходимых технических воздействий и соблюдением безопасности работ;
при обнаружении в процессе ремонта неисправностей не
указанных в листке учета ремонта и ТО слесарь ставит в известность мастера РММ
для принятия мер по устранению обнаруженной неисправности. Мастер РММ
информирует об этом начальника (механика) колонны;
начальник колонны (механик) в присутствии мастера РММ
проверяет наличие указанной неисправности, после чего вносит изменения в листок
учета ремонта и ТО и подтверждает их своей подписью;
на основании сделанных дополнительных записей в листке учета
ремонта и ТО мастер РММ организует работы по устранению обнаруженной
неисправности и отражает выполнение дополнительных работ в графе «Краткая
характеристика неисправности и выполненной работы» листка учета ремонта с
пометкой - дополнительно;
после окончания ремонта автомобилей мастер РММ проверяет
качество и объемы выполненных работ, оформляет листки учета ремонта и ТО и
предъявляет отремонтированные автомобили начальнику колонны;
проверив исправность выпускаемых из ремонта автомобилей и
качество выполняемых работ по заявке, начальник колонны расписывается в листке
учета ремонта и ТО при отсутствии претензий к качеству ремонта;
в том случае если имеются обоснованные претензии по качеству
ремонта, автомобили подлежат возврату в ремзону для устранения неисправности;
при отсутствии претензий к качеству ремонта мастер РММ
оформляет листки учета ремонта и ТО и сдает их в ПТО;
ТО №1 и №2 проводится на основании ежедневных списков
автомобилей назначенных на ТО-1 и ТО-2 инженером ПТО и предоставленных в РММ и
диспетчерской службе ОЭ. Если при проведении ТО возникает необходимость в
проведении ремонтных работ, то такие работы проводятся в ремонтных участках
после проведения ТО;
водители извещаются о предстоящем ТО-1, ТО-2 отметкой в
путевом листе, проставляемой диспетчером за день до проведения ТО-1 и за 2 до
поведения ТО-2;
ТО-2 подвижного состава и ремонт автомобилей со специальным
навесным оборудованием, автомобилей семейства МАЗ-КРАЗ грузоподъемностью 12-50
т., автомобилей и автобусов импортного производства, автобусов большой
вместимости (ЛАЗ, ИКАРУС, МАЗ), тракторов, а также капитальный ремонт кузовов
автобусов проводятся при обязательном участии водителя;
ТО-1 автомобилей и автобусов осуществляется в межсменное
время звеном слесарей участка ТО без участия водителя;
подготовительные и малярные работы автомобилям проводятся
персоналом РММ при участии водителя в течение трех рабочих смен;
обеспечение технологического процесса ремонта и ТО подвижного
состава необходимыми запасными частями и ремонтно-вспомогательными материалами
осуществляется через неснижаемый запас сосредоточенный на центральном,
промежуточном и оборотном складах;
начальник РММ определяет перечень минимально необходимых для
ремонта новых запасных частей и материалов, хранящихся на ЦМС, а ПТО перечень
отремонтированных узлов, агрегатов и деталей обменного фонда на промежуточном и
оборотных складах. Ответственность за поддержание неснижаемого запаса на ЦМС
несет инженер ОМТС, на промежуточном и оборотном складах - цеха и участка РММ
закрепленные за проведением определенного вида работ;
материалы и запасные части на ремонт и ТО подвижного состава
выписываются мастером участка с центрального, оборотного и промежуточного
складов по требованиям в установленном порядке;
снятые в процессе ремонта запасные части, узлы, агрегаты и
детали дефектуются: годные для дальнейшего использования и подлежащие
восстановлению сдаются на промежуточный и оборотный склад для восстановления и
дальнейшего использования, негодные подлежат утилизации. При списании на
основные агрегаты составляются дефектные акты.
1.4 Недостатки существующей организации ТО-2
Одним из главных недостатков зоны является малая пропускная
способность и устаревшее оборудование, которое не обеспечивает качественного
проведения ТО.
Для устранения этих недостатков предлагается приобретение
нового оборудования для проведения ТО.
2.
Технологическая часть
2.1 Расчет годовой производственной программы ТО
и ремонта на 2008 г.
Общие положения. Объем работ по техническому обслуживанию и
ремонту дорожных машин и автомобилей необходим для определения потребности в
рабочих, передвижных мастерских, заправочных средствах и оборудовании для
стационарных мастерских. Он определяется в номенклатурном и трудовом (чел.-ч)
выражении.
Расчет производственной программы ведется по каждой группе
машин одной марки или близких по своему характеру.
Списочное количество машин по типам и маркам принимается из
имеющихся на балансе организации.
Режим работы машин:
·
количество
рабочих дней машины в году - 254;
·
количество
рабочих смен в сутки - одна;
·
продолжительность
смены - 8 часов;
·
коэффициент
использования сменного времени Кв=0,85;
·
категория
условий эксплуатации-II; район-с умеренным климатам;
Расчет годовой производственной программы по ТО и ремонту
дорожных машин. Расчет фактического времени работы машин в сутки:
Тф = Тсм · n · Кв, (2.1)
где Тф - фактическое время работы машины в сутки,
маш-ч;
Тсм - продолжительность смены, час;
n - количество смен в сутки.
Тф = 8 · 0,85 · 1 = 6,8 маш-ч
Выбор периодичности и трудоемкости ТО и ремонта машин.
Выбор осуществляется на основании норм, которые даны в
источниках [1] и [2] и данные заносятся в таблицу 2.1
Таблица 2.1. Периодичность и трудоемкость ТО и ремонтов машин
|
Наименование
машин
|
Виды ТО и
ремонта машин
|
Периодичность
выполнения ТО и ремонта, час
|
Трудоемкость
одного ТО и ремонта, чел.-ч
|
|
Автогрейдер
ДЗ-180
|
ТО-1 ТО-2 СО Т,
в том числе ТО-3 К
|
100 500 2 раза
в год 1000 - 7000
|
6 17 43 270 32
480
|
|
Автогрейдер
ГС-14.02
|
ТО-1 ТО-2 СО Т,
в том числе ТО-3 К
|
100 500 2 раза
в год 1000 - 7000
|
8 21 46 325 36
660
|
|
Автогудронатор
АРБ-7
|
ТО-1 ТО-2 Т К
|
100 500 1000
5000
|
4 12 200 880
|
|
Автомобильный кран
КС-45729А
|
ТО-1 ТО-2 СО Т
К
|
50 250 2 раза в
год 1000 5000
|
8 32 16 820
1540
|
|
Бульдозер МП-18
(ДЗ-191)
|
ТО-1 ТО-2 СО Т,
в том числе ТО-3 К
|
50 250 2 раза в
год 1000 - 6000
|
5 15 36 420 30
730
|
|
Погрузчик
Амкодор 342С-03
|
ТО-1 ТО-2 СО Т,
в том числе ТО-3 К
|
50 250 2 раза в
год 1000 - 6000
|
4 14 35 420 28
680
|
|
Погрузчик
ТО-18Б
|
ТО-1 ТО-2 СО Т,
в том числе ТО-3 К
|
50 250 2 раза в
год 1000 - 6000
|
4 14 35 420 28
680
|
|
Погрузчик ТО-30
|
ТО-1 ТО-2 СО Т,
в том числе ТО-3 К
|
50 250 2 раза в
год 1000 - 6000
|
3 11 30 330 24
500
|
|
Трактор МТЗ-80
Трактор МТЗ-82
|
ТО-1 ТО-2 СО Т,
в том числе ТО-3 К
|
50 250 2 раза в
год 1000 - 6000
|
2 7 25 200 17
410
|
|
Трактор
МТЗ-1221
|
ТО-1 ТО-2 СО Т,
в том числе ТО-3 КР
|
50 250 2 раза в
год 1000 - 6000
|
2 7 25 200 17
410
|
|
Машина
уборочная МУ-82
|
ТО-1 ТО-2 СО Т,
в том числе ТО-3 К
|
50 250 2 раза в
год 1000 - 6000
|
2 9 25 250 17
460
|
|
Машина для
ямочного ремонта ФСИТ-42 на базе трактора МТЗ-82
|
ТО-1 ТО-2 СО Т,
в том числе ТО-3 К
|
50 250 2 раза в
год 1000 - 6000
|
2 9 25 250 17
480
|
|
Каток ДУ-47
|
ТО-1 ТО-2 СО Т
|
50 250 2 раза в
год 1000
|
2 6 18 120
|
|
Каток ДУ-48
|
ТО-1 ТО-2 СО Т
|
50 250 2 раза в
год 1000
|
2 7 22 195
|
|
Каток В-854-2К
Каток В-854-К
|
ТО-1 ТО-2 СО Т
|
50 250 2 раза в
год 1000
|
3 10 24 200
|
|
Асфальтоукладчик
Фогель-Супер 1800-1
|
ТО-1 ТО-2 СО Т
|
50 250 2 1000
|
4,4 14 19 417
|
|
Асфальтоукладчик
ДС-143
|
ТО-1 ТО-2 СО Т
|
50 250 2 1000
|
4,4 14 19 417
|
Корректирование периодичности, трудоемкости и
продолжительности ТО и ремонта дорожных машин - в дипломном проекте не
выполняется, так как проектируемая организация находится на территории
Республики Беларусь и число дорожных машин в парке составляет 24.
Расчет наработки на техническое обслуживание и ремонт по
каждой машине производится по формуле
Нтор = Нэ / Птор, (2.2)
где Нтор - наработка на очередной ремонт и ТО,
маш-ч;
Нэ - наработка с начала эксплуатации, маш-ч;
Птор - периодичность проведения ТО и ремонтов,
час;
В качестве примера производится расчет по автогрейдеру
ДЗ-180. Фактическая наработка на КР:
Нто-1 =
= 47
, принимается Нто-1 = 40 маш-ч
Нто-2 =
= 8
, принимается Нто-2 = 240 маш-ч
Нтр = Нто-3 =
= 4
, принимается Нтр = Нто-3
=240 маш-ч
Нкр =
, принимается Нкр = 4740 маш-ч.
Аналогично производится расчет по остальным машинам, и данные
сводят в таблицу 2.2
Таблица 2.2. Наработка по машинам на ТО и ремонт
|
Наименование
машин
|
Марка
|
Фактическая
наработка, маш-ч
|
|
|
КР
|
ТР
|
ТО-2
|
ТО-1
|
|
1. Автогрейдер
|
ДЗ-180
|
4740
|
240
|
240
|
40
|
|
2. Автогрейдер
|
ДЗ-180
|
2040
|
40
|
40
|
40
|
|
3. Автогрейдер
|
ГС-14.02
|
1918
|
418
|
418
|
18
|
|
4.
Автогудронатор
|
АРБ-7
|
2400
|
400
|
400
|
0
|
|
5.
Автомобильный кран
|
КС-45729А
|
870
|
870
|
120
|
20
|
|
6. Бульдозер
|
МП-18
|
2629
|
629
|
129
|
29
|
|
7. Погрузчик
|
Амкодор 342С-03
|
4117
|
117
|
117
|
17
|
|
8. Погрузчик
|
ТО-18Б
|
5257
|
257
|
7
|
7
|
|
9. Погрузчик
|
ТО-30
|
1242
|
242
|
242
|
42
|
|
10. Трактор
|
МТЗ-80
|
3509
|
509
|
9
|
9
|
|
11. Трактор
|
МТЗ-82
|
4080
|
80
|
80
|
30
|
|
12. Трактор
|
МТЗ-82
|
4227
|
227
|
227
|
27
|
|
13. Трактор
|
МТЗ-82
|
3427
|
427
|
177
|
27
|
|
14. Трактор
|
МТЗ-1221
|
3913
|
913
|
163
|
13
|
|
15. Машина
уборочная
|
МУ-82
|
3025
|
25
|
25
|
25
|
|
16. Машина для
ямочного ремонта
|
ФСИТ-42.
|
847
|
847
|
97
|
22
|
|
17. Каток
|
ДУ-47
|
-
|
230
|
230
|
30
|
|
18. Каток
|
ДУ-47
|
-
|
430
|
180
|
30
|
|
19. Каток
|
ДУ-48
|
-
|
0
|
0
|
0
|
|
20. Каток
|
В-854-2К
|
-
|
472
|
122
|
22
|
|
21. Каток
|
В-854-К
|
-
|
881
|
131
|
31
|
|
22.
Асфальтоукладчик
|
Фогель-Супер
1800-1
|
-
|
122
|
122
|
22
|
|
23.
Асфальтоукладчик
|
ДС-143
|
-
|
847
|
97
|
47
|
|
24. Фреза
|
ДЗ-133
|
2640
|
640
|
140
|
40
|
Определение количества ТО и ремонтов по машинам за год.
а) Расчет количества ТО и ремонтов аналитическим методом по
формуле
Nтор =
, (2.3)
где Nтор - количество КР, ТР, ТО-2 и ТО-1 по машине в планируемом
году;
Нтор - наработка на очередной ремонт и ТО, маш-ч;
Нпл - плановая наработка на год;
Птор - периодичность ТО и ремонтов;
Nn - количество ТО и ремонтов более высокого
воздействия, чем определяемое.
При расчете количество КР Nn = 0.
В качестве примера производится расчет по автогрейдеру ДЗ-180.
Nкр =
, принимается Nкр = 0
Nтр =
, принимается Nтр = Nто-3 = 2
Nто-2 =
, принимается Nто-2 = 1
Nто-1 =
, принимается Nто-1 = 11
Аналогично производится расчет по остальным машинам и данные
сводят в таблицу 2.3
Таблица 2.3. Производственная программа в номенклатурном выражении
|
Наименование
машин
|
Марка
|
Количество
ТО и ремонтов
|
|
|
ТР
|
СО
|
ТО-3
|
ТО-2
|
ТО-1
|
|
1. Автогрейдер
|
ДЗ-180
|
2
|
2
|
2
|
1
|
11
|
|
2. Автогрейдер
|
ДЗ-180
|
1
|
2
|
1
|
1
|
12
|
|
3. Автогрейдер
|
ГС-14.02
|
2
|
2
|
2
|
1
|
11
|
|
4.
Автогудронатор
|
АРБ-7
|
1
|
-
|
-
|
2
|
10
|
|
5.
Автомобильный кран
|
КС-45729А
|
1
|
-
|
-
|
1
|
5
|
|
6. Бульдозер
|
МП-18
|
1
|
2
|
1
|
3
|
16
|
|
7. Погрузчик
|
Амкодор 342С-03
|
2
|
2
|
2
|
6
|
|
8. Погрузчик
|
ТО-18Б
|
0
|
2
|
0
|
6
|
25
|
|
9. Погрузчик
|
ТО-30
|
1
|
2
|
1
|
3
|
6
|
|
10. Трактор
|
МТЗ-80
|
1
|
2
|
1
|
4
|
21
|
|
11. Трактор
|
МТЗ-82
|
1
|
2
|
1
|
6
|
31
|
|
12. Трактор
|
МТЗ-82
|
1
|
2
|
1
|
5
|
10
|
|
13. Трактор
|
МТЗ-82
|
1
|
2
|
1
|
6
|
23
|
|
1
|
2
|
3
|
4
|
5
|
6
|
7
|
|
14. Трактор
|
МТЗ-1221
|
2
|
2
|
2
|
5
|
25
|
|
15. Машина
уборочная
|
МУ-82
|
1
|
2
|
1
|
4
|
21
|
|
16. Машина для
ямочного ремонта
|
ФСИТ-42.
|
1
|
2
|
1
|
1
|
10
|
|
17. Каток
|
ДУ-47
|
0
|
2
|
-
|
2
|
6
|
|
18. Каток
|
ДУ-47
|
0
|
2
|
-
|
2
|
2
|
|
19. Каток
|
ДУ-48
|
0
|
0
|
-
|
0
|
0
|
|
20. Каток
|
В-854-2К
|
1
|
2
|
-
|
3
|
16
|
|
21. Каток
|
В-854-К
|
1
|
2
|
-
|
3
|
14
|
|
22.
Асфальтоукладчик
|
Фогель-Супер
1800-1
|
1
|
2
|
-
|
5
|
26
|
|
23.
Асфальтоукладчик
|
ДС-143
|
1
|
2
|
-
|
0
|
3
|
|
24. Фреза
|
ДЗ-133
|
1
|
2
|
1
|
1
|
10
|
Расчет годовой производственной программы в трудовом
выражении, чел.-ч - определяется по формуле:
Птор = Nтор
∙
tтор, (2.4)
где Птор - производственная программа по
соответствующему виду ТО и ремонтов, чел.-ч;
Nтор -
количество ТР, СО, ТО-2, ТО-1, ТО-3;
Tтор - трудоемкость
одного ТО, ТР, СО.
В качестве примера ведется расчет по бульдозеру ДЗ-110:
Птр = 1 ∙ 420 = 420 чел.-ч;
Псо = 2 ∙ 36 = 72 чел.-ч;
Пто-3 = 1 · 30 = 30 чел.-ч;
Пто-2
= 5 · 15 = 75 чел.-ч;
Пто-1 = 29 · 5 = 145 чел.-ч.
Аналогично производится расчет по другим машинам, и данные
сводятся в таблицу 2.4
Таблица 2.4. Годовая производственная программа по дорожным
машинам, чел.-ч.
|
Наименование
машин
|
Марка
|
Производственная
программа
|
|
|
Птр
|
Псо
|
Пто-3
|
Пто-2 Пто-1
|
|
|
1. Автогрейдер
|
ДЗ-180
|
540
|
86
|
64
|
17
|
66
|
|
2. Автогрейдер
|
ДЗ-180
|
270
|
86
|
32
|
17
|
72
|
|
3. Автогрейдер
|
ГС-14.02
|
750
|
92
|
72
|
21
|
88
|
|
4.
Автогудронатор
|
АРБ-7
|
200
|
-
|
-
|
24
|
40
|
|
5.
Автомобильный кран
|
КС-45729А
|
820
|
-
|
-
|
32
|
40
|
|
6. Бульдозер
|
МП-18
|
420
|
72
|
30
|
45
|
80
|
|
7. Погрузчик
|
Амкодор 342С-03
|
840
|
70
|
56
|
84
|
128
|
|
8. Погрузчик
|
ТО-18Б
|
-
|
70
|
-
|
84
|
100
|
|
9. Погрузчик
|
ТО-30
|
330
|
60
|
24
|
33
|
18
|
|
10. Трактор
|
МТЗ-80
|
200
|
50
|
17
|
28
|
42
|
|
11. Трактор
|
МТЗ-82
|
200
|
50
|
17
|
42
|
62
|
|
12. Трактор
|
МТЗ-82
|
200
|
50
|
17
|
35
|
20
|
|
13. Трактор
|
МТЗ-82
|
200
|
50
|
17
|
42
|
46
|
|
14. Трактор
|
МТЗ-1221
|
400
|
50
|
34
|
35
|
50
|
|
15. Машина
уборочная
|
МУ-82
|
250
|
50
|
17
|
36
|
42
|
|
16. Машина для
ямочного ремонта
|
ФСИТ-42
|
250
|
50
|
17
|
9
|
20
|
|
17. Каток
|
ДУ-47
|
0
|
36
|
-
|
12
|
12
|
|
18. Каток
|
ДУ-47
|
0
|
36
|
-
|
12
|
4
|
|
19. Каток
|
ДУ-48
|
0
|
0
|
-
|
0
|
0
|
|
20. Каток
|
В-854-2К
|
200
|
48
|
-
|
30
|
48
|
Расчет годовой производственной программы по ТО и ремонту
автомобилей выполняется по «Методике ускоренного расчета программы», основанной
на первоочередном расчете коэффициентов αт, αи и годового пробега ∑L всего парка (группы
однородных автомобилей).
Расчет исходных данных
С целью упрощения расчетов в каждой группе автомобилей
выбирается основная модель, а остальные приводятся к ней с помощью коэффициента
приведения, рассчитанному по трудоемкости текущего ремонта (как наиболее
сложного в условиях эксплуатационного предприятия).
Результаты расчетов оформляют в виде таблицы 2.5
Таблица 2.5. Состав приведенного парка автомобилей.
|
№ гр.
|
Модели
автомобилей
|
Кол-во шт.
|
Удельная
трудоем-кость ТР, чел.-ч/1000
|
Коэф-фициент
приве-дения
|
Кол-во
приве-денных а/м
|
Lсс, км
|
|
Основная
|
Приведен-ная
|
|
|
|
|
|
|
1
|
МАЗ-5551
|
- ЗИЛ-130
ГАЗ-53 МАЗ-5337 ЗИЛ-555 ГАЗ-66 КАМАЗ-5410
|
9 1 2 2 1 2 1
|
5.2 4,0 3,8 5.2
4.5 3.6 6.7
|
1,0 0,76 0,73
1,0 0,87 0,69 1,29
|
9 0,76 1,46 2,2
0,87 1,38 1,29
|
120
|
|
Итого:
|
16,96
|
|
|
2
|
ГАЗ-33023
|
- ГАЗ-3110
УАЗ-3151
|
7 2 1
|
3,2 3.2 3.6
|
1,0 1,0 1,13
|
7 2 1,13
|
160
|
|
Итого:
|
10,13
|
|
Расчет коэффициента технической готовности aт определяется согласно
[2] стр. 51 по формуле:
αт =
(2.5)
где Lсс - среднесуточный пробег, км;
d - простой автомобиля в ТР, дн/1000 км;
Дкр - простой в КР, дн;
Lкр -
принятый пробег до КР, км.
По автомобилям первой группы (МАЗ-5511) нормативные дни простоя
составят:
dн = 0,45 -
из [2] таблица 4;
Днкр = 22 дн - из [2] таблица 4;
Однако с учетом изношенности автомобилей
D = dн × К4
(2.6)
Дкр = Днкр · К4
(2.7)
где К4 - коэффициент, учитывающий степень изношенности
парка автомобилей - принимается из [2] таблица 6, при условии учета примечания
под таблицей:
К4 =
= 1,26
Тогда d = 0,45 · 1,26 = 0,56 дн,
Дкр = 22 · 1,26 = 18,9 ≈ 28 дн.
Пробег до КР определяется по формулам
Lкр = Lнкр ∙
К, (2.8)
К= К1 ∙ К2 ∙ К3 ∙
КК,
где Lнкр =
600000 км - нормативный пробег до КР, из [2] таблица 2.2. - для автомобиля
МАЗ-5551.
К1 - коэффициент, учитывающий условия эксплуатации,
согласно [2] таблица 2.7. - К1 = 1,1;
К2 - коэффициент, учитывающий модификацию подвижного
состава, согласно [2] таблица 2.8. - К2 = 1,00;
К3 - коэффициент, учитывающий природно-климатические
условия, согласно [2] таблице 2.9. - К3 = 1,0.
КК - коэффициент, учитывающий степень изношенности
парка автомобилей, согласно [2] таблица 6 имеем:
КК =
= 0,87
Тогда К = 1,1∙1,0∙1,0∙0,87 = 0,96
Lкр =
600000 ∙ 0,96 = 574200 км.
aт =
= 0,93
Общегрупповой пробег (по автомобилям МАЗ-5551) за год определяется
по формуле
ΣL = Аи · Lсс ·Дг · aт, км (2.9)
Дг - число рабочих дней в году (Дг = 254 дн. принимается из
календаря на проектируемый год).
ΣL = 16,96 · 120 · 254 ·0,93 ≈ 480755
км.
Результаты расчета сводят в таблицу 2.6
Таблица 2.6. Годовой пробег автомобилей
|
№ гр
|
Модель авто
|
Lсс, км
|
Аи
|
aт
|
ΣL, км
|
|
1
|
МАЗ-5551
|
120
|
16,96
|
0,93
|
480755
|
|
2
|
ГАЗ-33023
|
160
|
10,13
|
0,91
|
374632
|
Корректирование периодичности ТО и КР выполняется по формулам
L11 = Lн1 ∙ К1 × К3, км. L12 = Lн2 ∙ К1 ∙
К3, км, (2.10)
где Lн1, Lн2 - нормативная периодичность ТО-1 и ТО-2;
К1 - коэффициент, учитывающий условия
эксплуатации;
К3 - коэффициент, учитывающий
природно-климатические условия;
Для автомобилей группы МАЗ-5551 это составит Lн1 = 8000 км; и
Lн2 = 24000 км - из [2] таблицы 2.1.
К1 = 1,1 - из [2] таблицы 2.7.;
К3= 1,0- из [2] таблицы 2.9;
Тогда L11 = 4000 ∙ 0,8 ∙ 1,1 = 8800 км;
L12= 16000 ∙ 0,8 ∙ 1,1 = 26400 км;
Lкр = 574200 км - см. ранее.
Для ТО результирующий коэффициент составит
К = К1 ∙ К3 = 1,1;
А для капитального ремонта - К = 0,96 - см. ранее
Кроме того, необходимо произвести корректировку периодичности
ТО и КР с учетом кратности среднесуточному пробегу - это составит
n1 =
=
= 73,3; принимаем n1=73,
тогда L1 = 120 · 73 = 8760 км,
n2 =
=
= 3,01;
принимаем n2 = 3,
тогда L2 = 8760 ∙ 3 = 26280 км;
nкр =
=
= 21,85; принимаем nкр = 22,
тогда Lкр= 26820 · 22 = 590040 км.
Результаты расчета сводят в таблицу 2.7
Таблица 2.7. Откорректированные периодичности ТО и КР
автомобилей
|
№ гр.
|
Модель
автомобиля
|
Вид ТО и КР
|
Коррект.
коэфф., К
|
Периодичность
ТО и КР, км
|
|
|
|
|
Нормативная Lн
|
Для заданных
условия, L1
|
С учетом Lсс, L
|
|
1
|
МАЗ-5551
|
ТО-1 ТО-2 КР
|
1,1 1,1 0,96
|
8000 24000
600000
|
8800 26400
574200
|
8760 26280
590040
|
|
2
|
ГАЗ-33023
|
ТО-1 ТО-2 КР
|
0,9 1,0 0,96
|
10000 20000
350000
|
9000 20000
336000
|
8960 17520
332880
|
Корректирование трудоемкости ТО и ремонтов.
Нормативная трудоемкость ТО и ремонтов подлежит
корректированию с учетом условий эксплуатации автомобилей по формулам
tЕО = tНЕО · К2 · К5, чел.-ч; (2.11)
t1 = tН1 · К2 · К5, чел.-ч; (2.12)
t2 = tН2 · К2 · К5, чел.-ч; (2.13)
tтр = tНтр · К1 · К2 · К3 ·
К4 · К5, чел.-ч/1000 км, (2.14)
где tЕО, t1, t2, tтр - трудоемкость
соответствующего вида ТО и ремонтов, чел.-ч;
tНЕО, tН1, tН2, tНтр - исходные нормативные
величины трудоемкости, чел.-ч (принимается из [2] табл. 2.1);
К1 - коэффициент, учитывающий условия
эксплуатации, (принимается из [2] табл. 2.7);
К2 - коэффициент, учитывающий модификацию
подвижного состава, (принимается из [2] табл. 2.8);
К3 - коэффициент, учитывающий
природно-климатические условия, (принимается из [2] табл. 2.9);
К4 - коэффициент, учитывающий пробег автомобиля с
начала эксплуатации, (принимается из [2] табл. 2.10);
К5 - коэффициент корректирования нормативов ТО и
ТР в зависимости от количества автомобилей в парке и числа технологически
совместимых групп, (принимается из [2] табл. 2.11).
Следовательно по автомобилям группы МАЗ-5551 имеем:
tНЕО = 0,4 чел.-ч; tН1 = 4,6 чел.-ч; tН2 = 11,0 чел.-ч; tНтр = 5,2 чел.-ч;
К1 = 1,1; К2 = 1,0; К3 =
0,9; К4 = 1,4; К5 = 1,15; (т.к. число автомобилей 23 шт.,
а число совместимых групп - 2).
Тогда
tЕО = 0,4 ∙ 1,0 · 1,15 = 0,46 чел.-ч;
t1 = 4,6 ∙ 1,0 · 1,15 = 5,29 чел.-ч;
t2 = 11 ∙ 1,0 · 1,15 = 12,65 чел.-ч;
tтр = 5,2 ∙ 1,1 ∙ 1,0 · 1,0 · 1,4 ∙
1,15 = 9,2 чел.-ч;
Результаты расчета сводят в таблицу 2.8
Таблица 2.8. Трудоемкость одного ТО и ТР, чел.-ч
|
№ гр
|
Модель
автомобиля
|
нормативная
|
откорректированная
|
|
|
tНЕО
|
tН1
|
tН2
|
tНтр
|
tЕО
|
t1
|
t2
|
tтр
|
|
1
|
МАЗ-5551
|
0,4
|
4,6
|
11
|
5,2
|
0,46
|
5,29
|
12,65
|
9,2
|
|
2
|
ГАЗ-33023
|
0,3
|
2,5
|
10,5
|
3,0
|
0,35
|
2,88
|
12,08
|
5,69
|
Число обслуживаний и ремонтов рассчитывается по всему парку
(группе автомобилей).
Nкр =
; N2 =
- Nкр; N1 =
- Nкр - N2; NЕО =
, (2.15) (2.16) (2.17) (2.18)
Следовательно, по автомобилям группы МАЗ-5551 имеем:
Nкр =
= 0,82; принимается Nкр = 0;
N2 =
- 1 = 17,3; принимается N2 = 17;
N1 =
- 1 - 17 = 36,9; принимается N1 = 37;
NЕО =
= 4006,3; принимается NЕО = 4006.
Результаты расчета сводят в таблицу 2.9
Общепарковая годовая трудоемкость (производственная
программа) работ по видам ТО и ТР находится по формулам:
ПЕО = NЕО · tЕО, чел.-ч; (2.19)
П2 = N2 · t2, чел.-ч; (2.20)
П1 = N1 · t1, чел.-ч; (2.21)
Птр = ΣL · tтр/1000, чел.-ч. (2.22)
По группе автомобилей МАЗ-5551 это составит:
ПЕО = 4006 · 0,46 = 1842,76 чел.-ч, принимается ПЕО
= 1843 чел.-ч;
П1 = 37 · 5,29 = 195,73 чел.-ч, принимается П1
= 196 чел.-ч;
П2 = 17 · 12,65 = 215,05 чел.-ч, принимается П2
= 215 чел.-ч;
Птр = 480755 · 9,2/1000 = 4422,95 чел.-ч,
принимается Птр = 4423 чел.-ч;
Результаты расчета сводят в таблицу 2.9
Таблица 2.9. Годовая производственная программа по автомобилям
|
№ гр
|
Модель
автомобиля
|
Количество
|
Трудоемкость,
чел.-ч
|
|
|
NЕО
|
N1
|
N2
|
ПЕО
|
П1
|
П2
|
Птр
|
|
1
|
МАЗ-5551
|
4006
|
37
|
17
|
1843
|
196
|
215
|
4423
|
|
2
|
ГАЗ-33023
|
2341
|
21
|
20
|
819
|
61
|
242
|
1981
|
Расчет производственной программы зоны ТО-2. Принимаем, что
проектируемая строительная организация ведет строительство объектов,
расположенных в радиусе 30 км.
На основании рекомендаций, изложенных в пункте 2.1.4
источника [2] выбираются места выполнения ТО и ТР и оформляются в виде таблицы
2.10
Таблица 2.10. Распределение трудоемкости работ по местам
выполнения.
|
Марка машин
|
Место
выполнения и трудоемкость, чел.-ч
|
|
ТР
|
ТО-3
|
СО
|
ТО-2
|
ТО-1
|
|
1. Автогрейдер
ДЗ-180
|
СМ (540)
|
СМ (64)
|
СМ (86)
|
СМ (17)
|
СМ (66)
|
|
2. Автогрейдер
ДЗ-180
|
СМ (270)
|
СМ (32)
|
СМ (86)
|
СМ (17)
|
СМ (72)
|
|
3. Автогрейдер
ГС-14.02
|
СМ (750)
|
СМ (72)
|
СМ (92)
|
СМ (21)
|
СМ (88)
|
|
4.
Автогудронатор АРБ-7
|
СМ (200)
|
-
|
-
|
СМ (24)
|
СМ (40)
|
|
5.
Автомобильный кран КС-45729А
|
СМ (820)
|
-
|
-
|
СМ (32)
|
СМ (40)
|
|
6. Бульдозер
МП-18
|
СМ (420)
|
СМ (30)
|
СМ (72)
|
ПМ (45)
|
ПМ (80)
|
|
7. Погрузчик
Амкодор 342С-03
|
СМ (840)
|
СМ (56)
|
СМ (70)
|
СМ (84)
|
СМ (128)
|
|
8. Погрузчик
ТО-18Б
|
СМ (0)
|
СМ (0)
|
СМ (70)
|
СМ (84)
|
СМ (100)
|
|
9. Погрузчик
ТО-30
|
СМ (330)
|
СМ (24)
|
СМ (60)
|
СМ (33)
|
СМ (18)
|
|
10. Трактор
МТЗ-80
|
СМ (200)
|
СМ (17)
|
СМ (50)
|
СМ (28)
|
СМ (42)
|
|
11. Трактор
МТЗ-82
|
СМ (200)
|
СМ (17)
|
СМ (50)
|
СМ (42)
|
СМ (62)
|
|
12. Трактор
МТЗ-82
|
СМ (200)
|
СМ (17)
|
СМ (50)
|
СМ (35)
|
СМ (20)
|
|
13. Трактор
МТЗ-82
|
СМ (200)
|
СМ (17)
|
СМ (50)
|
СМ (42)
|
СМ (46)
|
|
14. Трактор
МТЗ-1221
|
СМ (400)
|
СМ (34)
|
СМ (50)
|
СМ (35)
|
СМ (50)
|
|
15. Машина
уборочная МУ-82
|
СМ (250)
|
СМ (17)
|
СМ (50)
|
СМ (42)
|
СМ (46)
|
|
16. Машина для
ямочного ремонта ФСИТ-42
|
СМ (250)
|
СМ (17)
|
СМ (50)
|
ПМ (36)
|
ПМ (42)
|
|
17. Каток ДУ-47
|
СМ (0)
|
-
|
СМ (36)
|
ПМ (12)
|
ПМ (12)
|
|
18. Каток ДУ-47
|
СМ (0)
|
-
|
СМ (36)
|
ПМ (12)
|
ПМ (4)
|
|
19. Каток ДУ-48
|
СМ (0)
|
-
|
СМ (0)
|
ПМ (0)
|
ПМ (0)
|
|
20. Каток
В-854-2К
|
СМ (200)
|
-
|
СМ (48)
|
ПМ (30)
|
ПМ (48)
|
|
21. Каток
В-854-К
|
СМ (200)
|
-
|
СМ (48)
|
ПМ (30)
|
ПМ (42)
|
|
21. Каток
В-854-К
|
СМ (200)
|
-
|
СМ (48)
|
ПМ (30)
|
ПМ (42)
|
|
22.
Асфальтоукладчик Фогель 1800-1
|
СМ (417)
|
-
|
СМ (36)
|
ПМ (70)
|
ПМ (106)
|
|
23 Асфальтоукладчик
ДС-143
|
СМ (417)
|
-
|
СМ (36)
|
ПМ (0)
|
ПМ (13)
|
|
24. Фреза
ДЗ-133
|
СМ (200)
|
СМ (17)
|
СМ (50)
|
СМ (7)
|
СМ (20)
|
Производственная программа зоны ТО-2 на основании таблицы
2.10 определяется из соотношения:
П1уч = SПто-2+SПто-1+SПто-3+SПсо, чел.-ч.; (2.23)
Пуч=4404 чел.-ч.
Производственную программу зоны увеличивают на 10%. Это
необходимо, потому что мастерская будет выполнять внеплановые заявки,
изготовлять приспособления и инструменты для ТО и ремонта машин и производить
ТО и ремонт станочного оборудования, стендов и другого оборудования мастерской.
Следовательно, общая производственная программа зоны составит:
Поуч = 1,1 ∙ Пот,
чел.-ч; (2.24)
Поуч = 1,1 ∙ 4404 = 4844,4
чел.-ч, принимается Поуч = 4844 чел.-ч.
2.2 Расчет количества постов
МТОР =
; (2.25)
где МТОР - число постов зоны ТО-2 машин;
Поуч - производственная программа по ТО-2,
чел.-ч.;
Фрм - фонд времени рабочего места, Фрм =
2032 ч (в соответствии с производственным календарем на 2008 год);
Рср - среднее число рабочих, приходящихся на один пост,
Рср = 2 чел.;
= 0,75 -
коэффициент использования рабочего поста;
n - число рабочих смен в сутки, n = 1.
МТОР =
= 2;
2.3
Организация и режим работы зоны ТО-2 машин
На зоне ТО-2 будут выполняться такие виды обслуживаний как
ТО-2, ТО-1, ТО-3, СО которые будут включать в себя следующие виды
технологического воздействия на машину:
Контрольные осмотры и крепёжные работы.
Регулировка механизмов.
При проведении ТО к обязательным крепёжным работам будут -
проверка состояния креплений и устранение неисправностей обнаруженных в ходе
проверки будут подвергаться: пусковой двигатель, топливный насос, форсунки,
впускной и выпускной трубопроводы, корпуса топливных и масляных фильтров,
воздушный фильтр, карбюратор, фары, пальцы и конусы замыкающих звеньев гусениц,
башмаки, гайки крепления гусеничных тележек, передние и задние колёса, рулевое
управление.
Регулировочные работы будут выполняться в следующей
последовательности: ДВС, его механизмы и системы, элементы трансмиссии,
передачи, опорные устройства, системы управления гидравлики и пневматики,
ходовая часть.
При замене ТСМ будет производиться замена моторного,
трансмиссионного и гидравлических масел, промывка картеров, а также солидола и
других пластичных смазок.
На зоне будет организована односменная 8-ми часовая работа на
2-х постах. Все работы будут производиться 3 рабочими с водителями и
машинистами.
Зона будет оснащён подъёмным оборудованием. Рабочие будут
обеспечены необходимым оборудованием и инструментом.
2.4
Подбор оборудования в зоне ТО-2
В соответствии со спецификой работы в зоне ТО-2 машин
подбирается необходимое технологическое оборудование, без которого не возможно
качественное выполнение технологических операций или обеспечения требуемого
уровня производительности труда в соответствии с требованиями охраны труда.
Подобранное оборудование и оснастку сводим в таблицу 2.11
Таблица 2.11. Технологическое оборудование зоны ТО-2 машин.
|
Наименование
оборудования
|
Кол-во, шт.
|
Модель
оборудования
|
Размер, мм
|
Занимаемая
площадь, м2
|
Мощность, кВт/ч
|
|
Противооткатные
упоры
|
6
|
-
|
-
|
- // -
|
|
|
Детектор люфтов
|
1
|
LMS-101 ф. «MAHA»
|
-
|
- // -
|
|
|
Дымомер
|
1
|
MDO-2
|
-
|
- // -
|
|
|
Люфтомер
|
1
|
К-524
|
-
|
- // -
|
|
|
Прибор для
измерения натяжения клинового ремня
|
1
|
TEPRO
M12 Франция
|
-
|
- // -
|
|
|
Тележка для
снятия (установки) колес передвижная
|
1
|
ПС-299
|
1084 х 893
|
0,97
|
|
|
Солидолонагнетатель
передвижной электромеханический
|
1
|
мод. С321
|
595х420
|
0,25
|
1,1
|
|
Тележка-емкость
для сбора отработанного масла
|
1
|
ПИ-119
|
1165х446
|
0,51
|
|
|
Пистолет для
обдува сжатым воздухом, ручной
|
1
|
С417
|
-
|
Площадь не
учитывается
|
|
|
Емкость для
заправки агрегатов трансмиссионным маслом
|
1
|
-
|
-
|
- // -
|
|
|
Емкость для
заливки тормозной жидкости
|
1
|
-
|
-
|
- // -
|
|
|
Емкость для
заправки масла картера рулевого механизма
|
1
|
-
|
-
|
- // -
|
|
|
Верстак
слесарный
|
2
|
ВС-1 «ГАРО»
|
1390 х 780
|
2,18
|
|
|
Шкаф для
инструмента и приспособлений
|
1
|
Р-934
|
800 х 400
|
0,32
|
|
|
Кран-балка Q=5 т.с.
|
1
|
НКМ 203
|
-
|
Площадь не
учитывается
|
8,87
|
|
Пожарный
инвентарь
|
2
|
-
|
-
|
- // -
|
|
|
Урна для мусора
|
2
|
-
|
-
|
- // -
|
|
|
Передвижной
шкаф с комплектом инструмента
|
1
|
HAZET
(Германия))
|
800 х 400
|
0,32
|
|
|
Ларь для
обтирочных материалов
|
3
|
ПИ-19
|
502 х 460
|
0,69
|
|
2.5 Расчет площади зоны
Fуч = (Sfоб + Sfм) × Ко, м2 (2.26)
где Sfоб - суммарная площадь, занимаемая оборудованием, м2;
Sfм - суммарная площадь, занимаемая машинами, м2;
Sfм = fм × МТОР
(2.27)
где fм - площадь занимаемая одной машиной (условно
принимается 20 м2);
Sfм = 20 × 2 = 40 м2
Ко - коэффициент, учитывающий рабочие зоны,
проходы, проезды;
Fуч = (5,56+ 40) × 4 = 180 м2
2.6
Расчет освещения
В производственных помещениях предусматривается естественное
и искусственное освещение.
Расчет естественного освещения
SFок =
, м2, (2.28)
где Fп - площадь пола зоны, м2;
α - удельная площадь окон, приходящаяся на 1
м2 пола, α = 0,15;
t - коэффициент, учитывающий потери света от загрязнения
остекления,
t = 0,8;
SFок =
= 33,75м2
Расчет числа окон ведется по формуле
nок =
, ()
где Fок - площадь одного окна, м2;
Fок = В × hок, м2 (2.29)
где В-ширина окна, м;
Hок -
высота окна, м;
Fок = 5 × 3,2 = 21 м2
nок =
= 1,61
Принимается nок = 2.
Расчет искусственного освещения
Выбор значения освещенности Е = 200.
Определение удельной мощности осветительной установки
Ру = 10,6 Вт/м2.
Определение суммарной мощности ламп
SNл = Ру × Fп = 10,6 × 180 = 1908 Вт (2.30)
Выбор мощности одной лампы - принимаются люминесцентные лампы
мощностью Nл = 150 Вт.
Расчет числа светильников
Nл =
, (2.31)
nл =
= 6,36;
Принимаем nл=6 светильников, расположенных в два ряда
по три светильника.
Следовательно, принятая мощность осветительной установки составит:
SNл = 300 × 6 = 1800 Вт.
Расход электроэнергии на освещение
Wосв = Тосв
× SNл, кВт/час, (2.32)
где Тосв - годовое время работы освещения (ч), Тосв
= 800 ч.
Wосв = 800 × 1800 = 1440 кВт/ч.
2.7
Расчет вентиляции
На зоне ТО-2 предусматривается смешанный вид вентиляции.
Механическая вентиляция рассчитывается в следующей последовательности.
Выбор часовой кратности воздухообмена
к = 3 (из таблицы 18 источника [3])
Расчет воздухообмена
Q = Vn × к, м3/ч (2.33)
где Vn - объем помещения, м3;
Vn = Fn × H = 180 × 7,2 = 1296 м3 (2.34)
Q = 1296 × 3 = 3888 м3/ч
Выбор типа, номера и КПД вентилятора (источника [3]).
Принимаем вентилятор Ц4-70 №10;
КПД hв = 0,7;
марка электродвигателя А02-72-6,
мощностью 22 кВт.
Расчет мощности электродвигателя для привода вентилятора
Nэ = Кп
×
, кВт, (2.35)
где Нв - напор воздушного потока, кг/м2 (из
источника [3]);
hв-КПД
вентилятора;
hn =
0,95 - КПД передачи;
Кп = 1,3 - коэффициент, учитывающий неучтенные потери
воздушного потока.
Nэ = 1,3
= 1,44 кВт;
Окончательно мощность двигателя должна составлять
N1э = Nэ × Ко, (2.36)
где Ко - коэффициент, учитывающий затраты мощности на
первоначальный пуск вентилятора, Ко = 1,4.
N1э = 1,44 ×1,4 = 2,02 кВт.
Следовательно принятый электродвигатель обеспечит нормальную
работу вентилятора.
2.8 Расчет численности работающих
Явочный состав производственных рабочих определяют по формуле
Ряв =
, чел., (2.37)
где Поуч - годовая производственная
программа зоны, чел.-ч;
Фрм - фонд времени рабочего места, час;
Фрм = 2026 ч (из производственного календаря на 2008
год);
Кп - коэффициент выполнения норм выработки;
Кп = 1,05 - 1,3.
Ряв =
= 2,27 чел., принимается Ряв = 2 чел.
Списочный состав производственных рабочих
Рсс =
, чел.; (2.38)
Фр = Фрм - (Дот + Дув)
∙ Тсм, час (2.39)
где Дот - число дней отпуска рабочего (≈ 26
дней);
Дув - число дней невыхода по уважительной причине (≈
3 дня);
Тсм - продолжительность смены (8 часов);
Фр = 2026 - (26 + 3) · 8 = 1794, час;
Рсс =
= 2,57 чел., принимается Рсс = 3 чел.
Количество вспомогательных рабочих принимают в размере 18-20% от
числа производственных рабочих.
Рвр = (0,18 ÷ 0,20) ∙ Рсс, чел.; (2.40)
Рвр = (0,18 ÷ 0,20) ∙ 3 = 0,54
÷ 0,6; принимается Рвр
= 1 чел.
Численность руководителей и специалистов принимается в
размере 10-15% от числа основных и вспомогательных рабочих.
Рсп = (0,10
÷ 0,15) · (Рсс + Рвр); (2.41)
Рсп = (0,10
÷ 0,15) · (3 + 1) = 0,4 ÷ 0,6; принимается Рсп = 1 чел.;
Численность МОП составляет 2-4% от численности основных и
вспомогательных рабочих.
РМОП = (0,02
÷ 0,04) · (Рсс + Рвр); (2.42)
РМОП = (0,02
÷ 0,04) · (3 + 1) = 0,08 ÷ 0,16, принимается РМОП = 0 чел.
Обязанности по уборке возлагаются на уборщика зоны ТР.
3. Техника безопасности и противопожарные
мероприятия, охрана окружающей среды при проведении работ
Производство всех видов
строительно-монтажных и погрузочно-разгрузочных работ, перевозка людей,
транспортировка материалов и конструкций должны производиться с соблюдением
правил техники безопасности и промышленной санитарии.
Основные мероприятия по технике
безопасности:
• назначение ответственных лиц;
• проведение всех видов инструктажа;
• проведение мероприятий по технике
безопасности и охране труда;
• контроль за соблюдением правил техники
безопасности.
Технический персонал обязан соблюдать
правила техники безопасности предусмотренные СНиП-4-80 «Техника безопасности в
строительство. Производство работ в зоне действующих подземных и надземных
коммуникаций следует осуществлять под непосредственным руководством
ответственного за производство работ лица в присутствии работников
эксплуатирующей организации.
Выполнение указаниях мероприятий и правил
возлагается на инженерно-технических работников подрядной организации.
Инженеры по охране труда и окружающей
среды работают, как правило, под руководством главных инженеров и обязаны
организовывать всю работу по охране труда и окружающей среда; контролировать
состояние охраны труда непосредственно при производстве работ; следить за
своевременностью учебы и инструктажей по охране труда и окружающей среды; вести
пропаганду по безопасным методам работ путем организации лекций, показа
кинофильмов, освещения в местной стенной печати и фотовитринах происшествий,
несчастных случаев, мер, принятых по тем или иным вопросам безопасности работ;
следить за наличием плакатов, инструкций; проводить вводные инструктажи вновь
поступающим рабочим; организовав смотры на участках работ состояния охраны
труда и культуры производства, а также представлять взысканиям или поощрениям
ответственных лиц. Инженеры по охране труда участвуют и расследовании
несчастных случаев, аварий, пожаров и др.; работе по анализу состояния, замера
показателей вредных факторов производства, по профилактике профессиональных
заболеваний; обобщают показатели и составляют установленную отчетность для
статистического управления.
4. Конструкторская часть
4.1 Назначение приспособления, его устройство и
работа
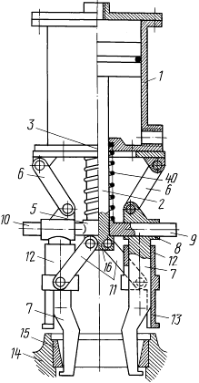
Рисунок 4.1. Общий вид съемника
Изобретение относится к машиностроению, в частности к
инструментам для демонтажа деталей с прессовой посадкой. Цель изобретения -
повышение удобства пользования. Захваты 7 поворачивают вверх тяги 6, скользя к
центру по концам 9 и 10 траверсы 5, которая сжимает пружину 4. Дополнительные
тяги 11 поворачиваются при этом захватами 7 к центру, в результате чего втулки
12 несколько отдалятся от концов 9 и 10 траверсы 5, скользя по захватам 7.
Траверса 5 под действием пружины 4 опускается, вызывая расхождение захватов 7,
пока они не охватятся деталью 15. Захваты 7 поворачивают вниз тяги 6 и разводят
дополнительные тяги 11. Как только захваты 7 охватятся деталью 15, втулки 12,
скользя по захватам 7, отдаляются от концов 9 и 10 траверсы 5, пока не вопрутся
на корпус 14, вызвав прижим захватов 7 к детали 15.
4.2 Расчет пружины
Для обеспечения нормальной работы
необходимо проверить условие прочность пружины:
, (4.1)
где
- поперечная сила, кН;
D - диаметр витка, мм;
d - диаметр проволоки, мм;
к - поправочный коэффициент;
- допускаемое напряжение при расчете, МПа,
=430МПа.
Поперечная сила будет равна:
кН (4.2)
где d - диаметр цилиндра, мм;
q - рабочее давление, МПа.
Диаметр витка равен D= мм;
Диаметр проволоки равен d= мм;
Поправочный коэффициент будет равен:
(4.3)
где сп - индекс пружины
(4.4)
Тогда
Условие прочности обеспечивается.
5. Экономическая часть
.1 Расчет прямых затрат по зоне
Расчет основной заработной платы основных производственных
рабочих.
Расчет среднего тарифного разряда
(5.1)
где: Npi - число рабочих i-ого разряда, чел.;
Pi - разряд рабочего.
Таблица 5.1. Распределяем основных производственных рабочих по
разрядам
|
Разряды
|
1
|
2
|
3
|
4
|
5
|
6
|
|
Количество
рабочих, чел.
|
-
|
-
|
1
|
1
|
1
|
-
|
|
Удельный вес, %
|
-
|
-
|
33
|
33
|
33
|
-
|
Расчет среднего тарифного коэффициента
Ктср=Ктб - (Ктб-Ктм)∙(Рб-Рср) (5.2)
где: Ктб - тарифный коэффициент соответствующий большему
разряд 2-х смежных, Ктб=1.73;
Ктм - тарифный коэффициент соответствующий меньшему разряду
2-х смежных, Ктм=1.57;
Рб - тарифный разряд рабочего соответствующий большему
разряду 2-х смежных, Рб=4.
Ктср =1,73 - (1,73-1,57) (5-4)=1,57 руб./час
Расчет средней часовой тарифной ставки
, руб.\час (5.3)
где
часовая тарифная ставка рабочего 1-го
разряда, руб./час
, руб.\час. (5.4)
где См - месячная тарифная ставка ремонтного рабочего (171000
руб.), руб./ч
Фм - месячный фонд рабочего времени (168,7) часов из
производственного календаря;
К - отраслевой коэффициент повышение ставок рабочего
(Постановление Министерства труда и соц. защиты от 09.01.98 г. - К=1,2).
руб.\час.
руб.\час
Расчет тарифной заработной платы производственных рабочих
, руб. (5.5)
где ПОТ - производственная программа отделения, ПОТ
=4844 чел.-ч.
Расчет доплат за профессиональное мастерство (Постановление
Министерство труда и социальной защиты от 16.01.1999 №7 с 3 разряда по 6 разряд
12-24%)
.Nр(3-6), руб. (5.6)
где Nр(3-6) - количество рабочих с 3
по 6 разряды
руб.
Расчет премии ремонтных рабочих (Декрет президента РБ от
18.07.2002 г. №17 до 30%)
, руб. (5.7)
руб.
Надбавки за непрерывный стаж работы. (Статья 63 п. 44 ТКРБ до 20%
от заработной платы)
, руб. (5.8)
руб.
Итого основная заработная плата производственных рабочих
, руб. (5.9)
руб.
Расчет дополнительной заработной платы основных производственных
рабочих. В статью затрат «Дополнительная заработная плата» основных
производственных рабочих включает выплаты за непроработанные на производство
неявочное время предусмотренное законодательством о труде:
оплата очередных и дополнительных отпусков;
оплата льготных часов подростков;
оплата перерывов в работе кормящих матерей;
оплата времени, связанного с прохождением медицинских осмотров, с
выполнением государственных обязанностей;
оплата учебных отпусков (10%)
, руб. (5.10)
где: Кдз - коэффициент дополнительной заработной платы (Кдз=0,1).
руб.
Расчет затрат на материалы и запасные детали для выполнения
ремонтных работ (рекомендации по составлению планаво-расчетной цены маш.-ч.
Минск: НПО «Дорожно-строительная техника» 1991)
руб. (5.11)
где Нм/зч - норма затрат на материалы и запасные части (150-200%
от основной заработной платы основных производственных рабочих), руб. (Нм/зч
=160%)
Зм/зч - затраты на материалы и запасные части.
Зм/зч=14596286·160/100=23354058 руб.
Расчет начислений на заработную плату (35%-фонд соц. защиты;
0,7% - страховой тариф (Указ Президента РБ от 25.08.06 г. №-532; код
отросли-14941)
, руб. (5.12)
руб.
Итого прямых затрат
, руб. (5.13)
руб.
5.2 Расчет накладных расходов
Расчет затрат на содержание и эксплуатацию оборудования
Расчет затрат на электроэнергию для производственных нужд
, руб. (5.14)
где Nу-установленная мощность всех потребителей (норма 0,16кВт на
100 чел.-ч.);
Nу=0,16∙Ттр/100, кВт (5.15)
Кс-коэффициент спроса учитывающий одновременно с работающим
оборудованием (0.6-0.7);
Кз - коэффициент загрузки оборудования (0,7-0,8);
Кд - коэффициент полезного действия электродвигателя (0,85-0,9);
Кп - коэффициент потерь в сети (0,96);
Цэ - цена одного кВт\час, руб. (227,2 руб.);
Фоб - действующий фонд рабочего оборудования, час.
, час. (5.16)
где tсм - продолжительность смены, час. tсм=8 часов;
Псм - количество смен (исходные данные);
Ки - коэффициент использования оборудования по времени (0,95-0,97)
Nу=0,16∙4844/100=7,75 кВт
Тогда
час.
руб.
Расчет амортизационных отчислений по оборудованию
где: На - годовая норма амортизационных отчислений (10%)
Соб - стоимость оборудования, (руб.)
Примечание: Расчет стоимости основных производственных фондов.
а) Стоимость помещения
, руб. (5.18)
где V - объем ремонтной мастерской;
Цп - цена одного кубического метра в рублях, (90000 руб.)
руб.
б) Стоимость оборудования (принимаем 55% от стоимости здания).
, руб. (5.19)
руб.
в) Стоимость инструмента и приспособлений (принимаем 8% от
стоимости здания)
, руб. (5.20)
руб.
г) Стоимость инвентаря (принимаем 4% от стоимости здания)
, руб. (5.21)
руб.
д) Итого стоимость основных производственных фондов
, руб. (5.22)
руб.
руб.
Расчет затрат на ремонт оборудования (2,5%)
, руб. (5.23)
руб.
В том числе 50% - затрат на зарплату, 50% - на материалы.
Расчет начислений на зарплату
, руб. (5.24)
руб.
Итого затрат на эксплуатацию и содержание оборудования
, руб. (5.25)
руб.
Расчет общепроизводственных и общехозяйственных расходов
Затраты на освещение
, руб. (5.26)
где: F - площадь помещения;
Нос - годовой фонд работы освещения установок, (800 ч.);- норма
расхода электроэнергии на 1 м2, (14 кВтч/м2);
Псм - число смен работы, (1);
Цэ - цена 1 кВт., (227,2 руб.)
руб.
Затраты на холодную и горячую воду
, руб. (5.27)
где: g - норма расхода воды на 1-го рабочего (холодная 25 л;
горячая 40 л.);
Цв - цена одного 1 м2 воды (горячей 4538 руб.; холодная
2275 руб.)
руб.
Затраты на отопление
, руб. (5.28)
где: V - объем помещения;
Нt - норма расхода условного топлива, Нт = 8 кг/м3;
Цт - цена 1т условного топлива, Цт = 605000 руб.;
М - длительность относительного сезона, М = 4 месяца.
руб.
Затраты на содержание помещения (2% от стоимости помещения)
, руб. (5.29)
, руб.
В том числе 50% - на материалы, 50% - на зарплату.
Расчет амортизационных отчислений
а) По помещению
, руб. (5.30)
где Нзд - норма амортизационных отчислений по помещению
(3,3%)
руб.
б) По инвентарю
, руб. (5.31)
где Ни - норма амортизационных отчислений по инвентарю (9%)
руб.
в) По инструментам и приспособлениям
, руб. (5.32)
где Нип - норма амортизационных отчислений по инвентарю и
приспособлениям (16,67%).
руб.
Затраты охрану труда и мероприятия по энергосбережению
, руб. (5.33)
где Нохр.эн. - норма затрат на охрану труда и мероприятия по
энергосбережению (8% от прямых затрат)
руб.
Расчет начислений на зарплату
, руб. (5.34)
руб.
Прочие общепроизводственные и общехозяйственные расходы, включая
налоги относимые на себестоимость работ, экологический налог, налог на землю,
(3%)
, руб. (5.35)
Итого общепроизводственных расходов
Итого накладных расходов
НР=Зэс+Зобщ, руб. (5.36)
НР=68524840+40011640= 108536480 руб.
Таблица 5.2. Смета затрат на производство ремонтных работ
|
Статьи затрат
|
Сумма, тыс.
руб.
|
|
1. Материальные
затраты
|
78440
|
|
2. Расходы на
оплату труда
|
53640
|
|
3. Отчисление
на социальное страхование
|
15940
|
|
4. Амортизация
|
4764
|
|
5. Прочие
затраты
|
1165
|
|
Итого:
|
153679
|
Заключение
В дипломном проекте описаны общие принципы реконструкции
зоны.
В общей части описана работа предприятия, характеристика
зоны, объем выполняемых работ, специфика работ, технико-экономические
показатели, а также недостатки в работе существующей зоны.
В расчетно-технологической части я рассчитал необходимое
количество рабочих требуемых для выполнения плана и оптимальное количество
прогрессивного технологического оборудования, также произведен расчет в
потребности электроэнергии.
В целях обеспечения безопасного труда на зоне, разработаны
мероприятия по пожарной безопасности, охране труда и промсанитарии.
Для более полного представления о проектируемом зоне мною
рассчитана экономическая деятельность зоны.
Рассчитана заработная плата рабочим, основные фонды,
производственная деятельность и экономическая эффективность. Все экономические
показатели сведены в таблицу.
Для облегчения труда рабочему, мною было предложено
приспособление, съемник для втулок, которое увеличит производительность труда,
культуру производства, и уменьшит трудоемкость операции по извлечению втулок.
Список использованных источников
подвижной ремонт дорожный технический
1.
‹‹Указания по организации и проведению технического обслуживания и ремонта
дорожных машин›› ВСН 6-79, М. ‹‹Транспорт ››, 1980, 136 с.
.
Рекомендации по организации технического обслуживания и ремонта строительных
машин. ЦНИИМТП. - М.: 1993. - 92 с.
3.
Справочник проектировщика «Внутренние санитарно-технические устройства» под
редакцией И.Г. Староверова, часть II «Вентиляция и кондиционирование воздуха», М,
«Стройиздат», 1977, 502 с.
4.
В.П. Карташов ‹‹ Технологическое проектирование автотранспортных предприятий
››, М., ‹‹Транспорт ››, 1988, 171 с.
.
Н.Е. Дроздов ‹‹ Строительные машины и оборудование, курсовые и дипломные
проектирования ››, М., ‹‹ Стройиздат ››, 1988, 191 с.
.
А.c. 2015869 RU, МПК7 В25
В21/00 Гидравлический съемник/Ф.Г. Ганин, А.Г. Творогов, А.А. Митюков, Р.А.
Акчурин, В.Г. Пугин (RU). - №2003119085/03 заявл. 24.06.2003; опубл.
10.03.2005, Бюл. №7.-7с:ил.