Запорная задвижка Ду400
Министерство образования и науки РФ
ФГАОУ ВПО «Уральский Федеральный
университет» «Уральский Энергетический институт»
Кафедра «Турбины и двигатели»
Курсовой проект
Запорная задвижка Ду400
ЗАДАНИЕ
Спроектировать для трубопроводной системы запорную задвижку с приводной
головкой с цилиндрическим зубчатым редуктором для условий:
Условный проход Dу=400
мм
Рабочая среда вода
Рабочее давление Рраб=6,5 МПа
Температура среды t=180oC
Время полного закрытия t=12 сек
Строительная длина L=840
мм
Способ присоединения задвижки к трубопроводу - сваркой. Предусмотреть
возможность ручного управления задвижкой.
Выполнить чертежи:
1. Сборочный чертеж задвижки (формат А1)
2. Рабочий чертеж корпуса (формат А2)
3. Рабочий чертеж зубчатого колеса
(формат А3)
4. Рабочий чертеж шпинделя задвижки
(формат А3) в AutoCAD
СОДЕРЖАНИЕ
ВВЕДЕНИЕ
1.
ПРОЕКТИРОВАНИЕ КЛИНОВОЙ ЗАДВИЖКИ
.1
Конструирование затвора
.2
Конструирование шпинделя
.3
Конструирование сальникового уплотнения
.4 Силовой
расчет затвора
.5
Конструирование корпуса, крышки и стойки задвижки
. РАСЧЕТ
ПРИВОДНОЙ ГОЛОВКИ
.1 Подбор
электродвигателя
.2 Расчет
зубчатой передачи
.3 Подбор
маховика для ручного управления
. ПРОВЕРКА
ПРОЧНОСТИ ДЕТАЛЕЙ ЗАДВИЖКИ
.1 Проверка
прочности корпуса и крышки
3.2 Расчет
фланцевого соединения
.3 Расчет
стоек
.4 Расчет
шпинделя
.5 Расчет
крышки сальника
ЗАКЛЮЧЕНИЕ
БИБЛИОГРАФИЧЕСКИЙ
СПИСОК
ВВЕДЕНИЕ
Запорная задвижка является частью запорной трубопроводной арматуры и
служит для включения и отключения потока среды (жидкость, газ, пар). Преимущество
задвижек перед другой запорной арматурой (вентили, краны) реализуется в
качестве минимального гидравлического сопротивления, что делает их незаменимыми
для трубопроводов, через которые постоянно движется поток среды с высокой
скоростью.
Трубопроводная арматура выбирается по значению условного давления и по
диаметру условного прохода. По схеме управления арматура может быть с ручным
или дистанционным управлением. По конструкции различают арматуру с фланцевыми
крышками и безфланцевую с самоуплотняющимся соединением корпуса с крышкой.
Задвижки выпускаются на условные проходы Dу=100¸600 мм. Запорный орган задвижек выполняется в виде клинового затвора с
двумя самоустанавливающимися дисками (тарелками) и двух седел, вваренных в тело
корпуса.
Подьем и опускание задвижки осуществляется с помощью невращаемого
шпинделя установленного в ходовую гайку. Соединение ходовой гайки с маховиком
или валом двигателя осуществляется через редуктор
В проектируемой задвижке шпиндель является выдвижным и имеет только поступательное
движение. В этом случае управление затвором осуществляется путем вращением
ходовой гайки, связанной с шестерней привода. Управление может осуществляться
как ручным способом так и при помощи электро-, пневмо-, гидропривода
1. ПРОЕКТИРОВАНИЕ КЛИНОВОЙ ЗАДВИЖКИ
.1 Конструирование затвора
Уплотняющие кольца клиновых задвижек расположены под углом и образуют
клин. Обычно при температуре рабочей среды
применяют клинья с уклоном 1:12 (
). Клин затвора выбирается с
самоустанавливающимися тарелками см. рис.1.1. Толщину тарелки
можно определить по формуле:
где
- допускаемое напряжение материала тарелок, МПа;
- рабочее давление среды, МПа;
- условный проход, мм;
- толщина тарелки, мм.
Конструкция затвора и рекомендации к назначению размеров
Рис. 1.1
1 - тарелкодержатель; 2 - тарелка правая; 3 - распорное кольцо; 4 - штифт
распорного кольца; 5 - регулирующая прокладка; 6 - компенсирующая прокладка; 7
- штифт, фиксирующий тарелки; 8 - пружина; 9 - наплавка; 10 - тарелка левая:
Принимаем по ГОСТ 6636-69:
Для определения допускаемых напряжений назначается материал тарелок:
Материал тарелки задвижки: 25Х1МФ с наплавкой ЦН-6.
Допускаемые напряжения определяются по формуле:
, МПа,
где
- предел текучести материала при рабочей температуре среды,
Мпа.
- коэффициент запаса прочности,
= 2.
Проводим линейную интерполяцию табличных данных:
Конструктивно принимаем Sт=28мм.
Конструирование корпуса задвижки и рекомендации к назначению размеров
Рис. 1.2.
Толщина наплавляемых поясов
=4 мм для
.
Наружный диаметр тарелки
и внутренний диаметр наплавленного уплотнительного пояса
для:
;
;
;
Размеры взаимного расположения тарелок:
;
;
Конструирование остальных элементов затвора производится на основе
рекомендуемых соотношений, представленных на рис.1.1.
.2 Конструирование шпинделя
Диаметр шпинделя
определяется с точки зрения отсутствия потери его
устойчивости при закрывании.
,
где
- ход не вращаемого шпинделя (определяется из условия, что
клин затвора должен полностью освобождать проходное сечение для среды),
;
;
Выбираем ближайшую трапецеидальную резьбу и уточняем диаметр шпинделя по
ГОСТ 9484-60:
,
- средний диаметр резьбы,
,
- угол подъема винтовой линии,
,
S - шаг резьбы, S=10мм.
1.3 Конструирование сальникового уплотнения
Узел сальникового уплотнения в конструкциях современной энергетической
арматуры имеет вид представленный на рис. 1.3.
Узел
сальникового уплотнения
Рис. 1.3.
1 - шпиндель; 2 - нажимная планка; 3 - грундбукса; 4 - набивка
сальниковая; 5 - болт откидной с гайкой и шайбой; 6 - ось откидного болта; 7 -
втулка.
Геометрические размеры сальникового уплотнения:
,
где
- толщина сальникового уплотнения,
.
Выбор сальниковой набивки производим по
;
Набивка асбестовая проклеенная с графитом сквозного плетения, квадратная
(Г1).
Высоту сальниковой набивки выбираем в зависимости от давления рабочей
среды:
;
Диаметр сальниковой камеры:
.
Высота калиброванной части грундбуксы:
, принимаем по [1] hг=36.
Силовые факторы:
Необходимое усилие затяжки сальника:
,
где 
и
- в мм;
- коэффициент, зависящий от рабочего давления
и размеров сальниковой набивки
(табл.2.8.)
,
,
где
- сила трения между выдвижным шпинделем и сальниковой
набивкой,
- коэффициент, зависящий от коэффициента трения и
геометрических размеров сальника
.
В узле сальникового уплотнения используются два откидных болта, которые
должны обеспечить усилие затяжки сальника. Болты несут статическую нагрузку
растяжением.
,
где
- внутренний диаметр резьбы,
- усилие затяжки сальника, Н;
,
где
- допустимые напряжения, МПа;
- предел текучести материала болта, МПа;
- коэффициент запаса прочности болта
;
.
Материал болта (Крепеж)- Сталь 25Х1МФ
Проводим линейную интерполяцию табличных данных:
Расчетное значение
уточняем по ГОСТ 14724-69:
Принимаем откидной болт М20.
1.4 Силовой расчет затвора
Определение типа уплотнения
Рассмотрим условие, при котором создается плотное перекрытие среды задвижкой.
Для этого необходимо сопоставить величины давления среды
на диск тарелки затвора и удельного
давления на уплотняющих кольцах седла задвижки, необходимого для обеспечения
плотности
.
, Н;
, Н;
где b - ширина уплотняющих колец:
,
- средний диаметр уплотняющей поверхности колец
.
МПа,
где
- необходимое удельное давление на уплотняющих кольцах, МПа,
С - коэффициент зависящий от материала уплотнительных колец, для стали и
твердых сплавов С=35.
Н;
Н;
≤
- одностороннее самоуплотнение.
Определение веса клина затвора
Одним из суммарных усилий, действующих на клин затвора, является сила
собственного веса клина затвора:
, Н
где
- сила собственного веса, g = 9,81
,
- плотность материала тарелки (в расчете принимается 7800
),
- размеры тарелки, м
Н.
Расчет усилий для перемещения клина и максимального усилия вдоль
шпинделя.
Наибольшие усилия, необходимые для перемещения клина в клиновой задвижке
при угле клина
, определяются по формулам представленным в таб.2.9 при
одностороннем уплотнении с поджатием.
где
- наибольшее усилие на шпинделе в конечный момент закрывания,
- наибольшее усилие на шпинделе в начальный момент
открывания,
- сила трения шпинделя в сальниковом уплотнении,
Твердый сплав -
Конечный момент закрывания:
.
Начальный момент открывания:
.
Усилие, с которым рабочая среда выдавливает шпиндель из задвижки:
Расчет крутящего момента на ходовой гайке.
Крутящий момент на ходовой гайке рассчитывается из условия, что он
обусловлен только силами трения в резьбе между шпинделем и ходовой гайкой:
В конечный момент закрывания максимальный крутящий момент будет:
Максимальный крутящий момент в начальный момент открывания:
где
- угол подъема винтовой линии резьбы
,
r - угол трения скольжения,
r’- угол трения покоя,
,
где
- коэффициент трения скольжения в резьбе равный 0,15 (табл.
2.11.).
,
где
- коэффициент трения покоя
.
Материал для ходовой гайки - Бр.АЖМц10-3-1.5.
1.5 Конструирование корпуса, крышки и стойки задвижки
Материал этих деталей выбираем в соответствии рекомендации табл. 2.12.-
Сталь 25Х1МФ.
Конструкция крышки
Рис. 1.4.
Рекомендации к назначению размеров
где
- средняя толщина корпуса задвижки,
- рекомендуемое значение толщины стенки корпуса,
Конструктивно
При
=6 МПа для нелегированных и легированных сталей по ГОСТ
977-75
Патрубки задвижки, присоединяемые к трубопроводу сваркой, выполняются
так, как показано на рис. 1.2.
Диаметр отверстий под оси шарнирных болтов сальника:
,
где
доп.ср.- допустимые напряжения на срез для осей шарнирных
болтов (принимаем
доп.ср.=100 МПа).
Qс -усилие
затяжки сальников, Н
так как приняли откидной болт - М20.
Конструктивно задаемся диаметром фланцевых болтов
Шаг между болтами:
Конструктивно
Количество фланцевых болтов:
шт.
Расчетная нагрузка на один болт:
,
где
- коэффициент затяжки (1,25…2,0) ,
= 1,25,
- средний диаметр прокладки между фланцем корпуса и фланцем
крышки;
1ф=20,752мм - внутренний диаметр резьбы болта (подбор из ряда
стандартных по [2,3]).
Материал болтов (крепеж): Сталь 25Х1МФ
-коэффициент запаса прочности болта


Конструкция стойки
Рекомендации к назначению размеров
Рис. 1.5.
Принимаем по ГОСТ6874 - 75 упорный одинарный шарикоподшипник 8330 с V=250 мм, (Внутренний диаметр резьбы М
должен быть больше диаметра V
(диаметр посадки упорного подшипника) на 1…3 мм)
Принимаю:
М=252мм.
Болты крепления стойки к кронштейнам крышки задвижки работают только на
растяжение, и максимальная нагрузка здесь реализуется в конечный момент
закрывания затвора.
Подбираем болт М16 (подбор из ряда стандартных по [2,3]).
Диаметры отверстий в лапах стойки dос должны быть не более чем на 0,5 мм больше
наружного диаметра резьбы болтов dс
.
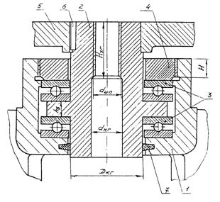
1.6 Конструирование узла ходовой гайки
Узел ходовой гайки
Рис. 1.6.
1 - горловина стойки; 2 - ходовая гайка; 3 - подшипники упорные; 4 -
гайка; 5 - зубчатое колесо; 6 - шпонка призматическая; 7 - набивка сальника.
Выбираем материал для ходовой гайки Бр.АЖМц10-3-1,5.
Высота резьбы упорной гайки определяется по условию прочности резьбы на
срез в конечный момент закрывания:
В целях повышения надежности принимаем Н = 15 мм;
Так как выбран упорный подшипник 8330
Наружный диаметр подшипников: D=V=250мм.
Внутренний диаметр подшипников:
.
Высота подшипника: H=80мм.
Посадочный диаметр для зубчатого колеса dв=125мм (примем конструктивно)
Внутренний диаметр резьбы горловины стойки: M=V+2=250+2=252мм.
М=252мм.
Допускаемые напряжения на срез резьбы горловины:
.
Высота упорного буртика:
,
принимаем hб=10мм.
Высота резьбы ходовой гайки определяется с точки зрения сопротивления
смятию поверхности витков трапецеидальной резьбы:
- средний диаметр трапецеидальной резьбы;
- допускаемое напряжение на смятие (
=60 МПа).
Узел ходовой гайки показан на рис.1.6.1
2. РАСЧЕТ ПРИВОДНОЙ ГОЛОВКИ
2.1 Подбор электродвигателя
Частота вращения ходовой гайки:
,
где
- ход не вращаемого шпинделя,
S=10мм - шаг трапецеидальной резьбы,
- время полного закрытия задвижки.
.
Мощность необходимая для вращения ходовой гайки:
- крутящий момент на ходовой гайке, принимаем максимальный
- КПД привода
- КПД муфты
- КПД подшипника скольжения
- КПД зубчатого зацепления
.
Типоразмер двигателя: 4А250S4У3.
- синхронная частота вращения
Асинхронная частота вращения:
Передаточное число приводной головки:
.
Выбираем по ГОСТ 2185-66: UПР =8
Крутящий момент на ведущем валу (шестерне):
.
2.2 Расчет зубчатой передачи
Выбор материалов и допускаемые напряжения
Расчет ведется по [4] .
Выбираем
материалы зубчатых колес
Шестерня:
Сталь 50 ГОСТ 4543-71, термическая обработка - улучшение
, где
,
, принимаем по [3, табл.14];
принимаем по [3, табл.14];
. Колесо: Сталь 35 ГОСТ 4543-71, термическая обработка - улучшение
, где
,
, принимаем по [3, табл.14];
принимаем по [3, табл.14];
Допускаемое
контактное напряжение для стальных зубчатых колес:
.
- коэффициент долговечности (табл. 21)
SH
=1,1 - коэффициент безопасности для нормальных передач (табл. 17)
Базовые пределы контактной выносливости:
Расчетный крутящий момент и межосевое расстояние
Принимаем коэффициент ширины зубчатого колеса: (табл. 24)
Значение коэффициента
для закрытой цилиндрической передачи:
Расчетный крутящий момент:
где: затвор
шпиндель электродвигатель крышка
коэффициент, учитывающий неравномерность распределения нагрузки по длине
контактных линий:
принимаем степень точности - 8
коэффициент, учитывающий внутреннюю динамику нагружения:
Определяем межосевое расстояние:
По ГОСТ 2144 - 76 принимаем: aw=315мм.
Модуль, суммарное число зубьев, основные геометрические размеры
Сумма чисел зубьев:
*-суммы чисел зубьев осуществимы без смещения
Определим количество зубьев на шестерне и колесе:
Определяем делительные диаметры шестерни и колеса:
Определяем диаметры вершин зубьев шестерни и колеса:
Определяем диаметры впадин зубьев шестерни и колеса:
Проверка межосевого расстояния:
Определяем ширину зубчатого колеса:
округлено по Ra 10
Принимаем 140мм.
Другие геометрические размеры:
Толщина обода зубчатого венца
Принимаем 10 мм.
Толщина диска
Округлено по Ra 5
Наружный диаметр ступицы
Фактическая окружная скорость
Окружная скорость шестерни и колеса должна быть меньше 6 метров в секунду
для цилиндрических прямозубых передач:

Контактные
напряжения на шестерне и колесе:
Контактные напряжения определим по формуле:
где К=10720 - постоянная
Условия прочности по контактным напряжениям на шестерне и колесе
выполняются
Изгибные напряжения на шестерне и колесе
Расчетный крутящий момент:
Где коэффициент, учитывающий неравномерность распределения нагрузки по
длине контактных линий:
принимаем степень точности - 8
коэффициент, учитывающий внутреннюю динамику нагружения:
коэффициент: g=1
коэффициенты, учитывающие форму зуба, и концентрацию напряжений:
YF1=12,84 (для шестерни),
YF2=11,3(для колеса)
Напряжения изгиба на шестерне и колесе:
Базовые пределы изгибной выносливости:
Расчетные напряжения изгиба на шестерне и колесе:
Принимаем следующие значения коэффициентов:
- коэффициент безопасности,
- коэффициент условия работы зубьев,
- коэффициенты долговечности
Условия прочности по изгибным напряжениям на шестерне и колесе
выполняются
2.3 Подбор маховика для ручного управления
Маховик (его диаметр) подбираем по величине крутящего момента на ведущей
шестерни приводной головки (Мкр1=339,3Нм) так как они насажены на одном валу
(табл. 3.1.). Мкр1=340Нм. Диаметр маховика D=500 мм. Расположение маховика - горизонтальное на уровне
груди и управление осуществляется двумя операторами.
3. ПРОВЕРКА ПРОЧНОСТИ ДЕТАЛЕЙ ЗАДВИЖКИ
.1 Проверка прочности корпуса и крышки
Расчет корпусов и крышек производиться по отдельным элементам: стенки,
фланцы, бугели и т.д.
Стенки корпусов и крышек обычно имеют сложное сечения, поэтому расчет их,
как, правило, выполняется для различных участков отдельно. Обычно выделяют
фланцы, участки с шаровой формой стенки, плоский участок и т.д. и рассчитывают
их в соответствии с условиями, в которых они работают (давление, температура и
т.д.), затем учитывается влияние дополнительных факторов (переходы, ребра, местные
утолщения и т.д.)
Расчет
сферических стенок
Материал
корпуса, крышки, стойки и крышки сальника для удобства в отливке этих деталей
принимаем одинаковый - Сталь 25Х1МФ.
Для тонкостенных шаровых оболочек:
где
- внутренний радиус оболочки.
Расчет цилиндрических стенок.
Для обеспечения прочности толстостенных цилиндров необходимо соблюдать
условие:
МПа
Кроме этого, цилиндрический участок после расчета толщины стенки
необходимо проверить на прочность при растяжении в продольном (осевом)
направлении:
где
- рабочее давление, МПа
F-
площадь проходного сечения, мм2
f -
площадь поперечного сечения стенок, мм2
Цилиндр
400
1. Напряжение в сферической части с
учетом действия давления среды и усилий
вдоль шпинделя при закрывании:
- коэффициент, учитывающий влияние коррозии.
2. Определение напряжения среза по
диаметру
в месте соединения коробки сальника
со сферой (см. рис. 1.4.):
,
принимаем
3. Определение напряжения в
поддерживающих ребрах по сечению А-А (см. рис. 1.4.), пренебрегая влиянием
заделки опорных площадок.
Напряжение в опорах под стойку при изгибе их относительно ребра:
.
где изгибающий момент
,
плечо изгиба
,
момент сопротивления сечения
где В и Нкр-см. рис. 1.4.
. Напряжение изгиба в ушках.
Изгибающий момент, действующий в ушке
где Qc - усилие затяжки сальника, Н
Момент сопротивления ушка
3.2 Расчет фланцевого соединения
При расчете должно быть обеспечено условие, заключающееся в том, что при
возникновении рабочего давления в трубопроводе запасы прочности фланцев по
отношению к действующим усилиям не должны быть ниже определенной величины.
Данный расчет представляет собой расчет фланцев по допускаемым
напряжениям. Здесь фланец рассматривается как консольная балка. Метод применим
для Dнф/D0£2 (см. рис. 1.2). На рис. 3.1. представлен эскиз фланца со всеми
необходимыми размерами.
Рассчитываемые
сечения фланца
Рис. 3.1.
Dнф/D0=800/560=1,4
1. Определяем усилие от давления среды.
2. Определяем общую расчетную нагрузку
на фланец.
3. Определяем радиальные напряжения в сечении I-I
Определяем осевые напряжения в сечении I-II
где:
определяется при температуре среды
nT-коэффициент запаса прочности
Проводим линейную интерполяцию для нахождения допускаемого предела
текучести
3.3 Расчет стоек
Стойка подвергается растяжению усилием, равным Q0 при закрывании задвижки, или сжатию усилием Q0/ при открывании. В стойках
колонковой конструкции проверяются величины напряжений в сечении А-А и Б-Б (см.
рис. 1.5.).
Напряжения в сечении А-А.
где
- напряжение изгиба, МПа,
- напряжение растяжения, МПа.
В этих формулах
- расчетное усилие вдоль шпинделя - берется по силовому
расчету задвижки, Н
- площадь сечения, подвергаемая растяжению
расстояние от центра тяжести сечения тавра до оси B-B
- изгибающий момент в сечении А-А создаваемый усилиями
образуемыми от крутящего момента и приложенными на наибольшем расстоянии
от сечения А-А,
- момент сопротивления в сечении А-А (тавра)
В сечении Б-Б возникает напряжение изгиба, равное (условно)
- плечо изгиба.
- момент сопротивления в сечении Б-Б
Проводим линейную интерполяцию для нахождения допускаемого предела
текучести
В конечном итоге условие прочности проверяем по условию:
.4 Расчет шпинделя
Определяем материал шпинделя - Сталь 38Х2МЮА с азотированием
Расчет сечений, работающих на растяжение или сжатие, проводится по методу
допускаемых напряжений. Расчет сечения ведется по формуле.
- расчетная нагрузка, Н
- минимальное рабочее сечение шпинделя с учетом отверстия под
штифт.
,
- запас прочности для шпинделя
,
;
(проводим интерполяцию)
Сечения, работающие на кручение, обычно рассчитываются по методу
допускаемых напряжений:
- расчетный момент
- допускаемые напряжения при кручении
Момент сопротивления при кручении с учетом отверстия под штифт:
Условие выполняется.
Дополнительно проверяем на прочность по срезу штифт, соединяющий шпиндель
с тарелкодержателем. В качестве нагружающего усилия необходимо принять
наибольшие усилия на шпинделе в начальный момент открывания Q0’:
Условие выполняется.
.5 Расчет крышки сальника
Крышка
сальника
Рис. 3.2.
Крышка сальника работает только на изгиб. Конструкция крышки и ее
расчетная схема представлена на рис.3.2. Принимаем геометрические размеры из
[3]:
Расчетные формулы для крышки сальника:
ЗАКЛЮЧЕНИЕ
В данном курсовом проекте мы рассчитали и сконструировали запорную
задвижку с приводной головкой. В последовательности расчетов были учтены все
требования государственных стандартов и единой системы конструкторской
документации. Задвижка как элемент трубопроводной системы удовлетворяет
предъявляемым к ней требованиям в отношении прочности, коррозионной и
эрозионной стойкости, удобства управления, гидравлической характеристики и т.д.
БИБЛИОГРАФИЧЕСКИЙ СПИСОК
1. Гуревич Д.Ф. Расчет и конструирование
трубопроводной арматуры. Л.: Машиностроение, 1969. 837с.
2. Анурьев В.И. Справочник конструктора
машиностроителя: В 3т. М: Машиностроение, 1978.
3. Расчет и конструирование запорной
задвижки с приводной головкой: Приложение к методическим указаниям по курсовому
проектированию/ П.Н. Плотников. Екатеринбург: УГТУ, 1995. 27с.
4. Казанский Г.И. Методические указания
по расчету зубчатых и червячных передач. Свердловск: УПИ, 1983.44с.
5. Дунаев
П.Ф. , Леликов О.П. Конструирование узлов и деталей машин: Учеб. пособие для
техн. спец. вузов.-6-е изд.,исп.-М.:Высш. Шк., 2000.-447 с., ил.
6. Расчет и
конструирование запорной задвижки с приводной головкой: Методические указания к
курсовому проекту/П.Н. Плотников. Екатеринбург: Изд-во УГТУ, 1999. 46с.