Разработка технологии и оборудования для восстановления уплотнительных поверхностей клина корпуса задвижки

  • Вид работы:
    Курсовая работа (т)
  • Предмет:
    Другое
  • Язык:
    Русский
    ,
    Формат файла:
    MS Word
    1,14 Мб
  • Опубликовано:
    2016-05-28
Вы можете узнать стоимость помощи в написании студенческой работы.
Помощь в написании работы, которую точно примут!

Разработка технологии и оборудования для восстановления уплотнительных поверхностей клина корпуса задвижки

Министерство образования и науки РФ

ФБГОУ ВПО «Омский государственный технический университет»

Кафедра «Машиностроение и материаловедение»








Курсовой проект

на тему: «Разработка технологии и оборудования для восстановления уплотнительных поверхностей клина корпуса задвижки»










Омск 2015

Введение

В системах добычи, транспорта и хранения газа и нефти запорная арматура играет исключительно важную роль в обеспечении надежности систем на всех режимах функционирования. В процессе эксплуатации конструктивные элементы трубопроводных систем различного назначения находятся под действием широкого спектра нагрузок и воздействий, обуславливающих сложные процессы трения, износа, усталости и старения. Несмотря на систематические совершенствования конструкций запорной арматуры решение проблемы обеспечения их работоспособности все еще не отвечает современным требованиям надежности и безопасности трубопроводных систем [1], [2].

В связи с этим в последние годы усилилось внимание к вопросам создания новых технических решений на конструкции трубопроводной арматуры и, в особенности, запорной арматуры, являющейся важнейшим элементом магистральных трубопроводов предприятий нефтегазовой промышленности. При этом обострились конкуренция и поиск новых технических решений в области арматурострония [3], [4],[5].

Широкое распространение в числе большого количества видов запорной трубопроводной арматуры получили клиновые задвижки, благодаря своим достоинствам: незначительному гидравлическому сопротивлению при полностью открытом проходе, простоте обслуживания, возможности подачи сырья в любом направлении и др. [6].

В нашей работе рассматриваем повышение надежности уплотнительных поверхностей путем наплавки высоколегированной стали на клин задвижки.

1. Состояние вопроса

.1 Описание изделия

Рассматриваемая конструкция - клин задвижки марки (30с541нж) представляет собой деталь запорной арматуры (рисунок 1.1).

задвижка клин качество материал

Рисунок 1.1 - Клин задвижки

Запорная арматура предназначена для отключения одной части трубопровода от другой, включения и отключения технологических установок, аппаратов и сосудов.

Клин задвижки имеет клинообразный вид, который обеспечивает полное перекрытие потока продукции. Диаметр клина 1000мм., ширина верхней части клина 500мм., вес клина 650кг. На клине имеются направляющие, которые выполнены механическим путём, при помощи которых клин перемещается в корпусе задвижке. Клин отлит из углеродистой стали 20Л [8].

1.2 Характеристика материала

Сталь для отливок нелегированная 20Л применяется: для изготовления арматуры, деталей общего машиностроения, изготовляемых литьем по выплавляемым моделям; деталей сварнолитых конструкций и других деталей, работающих при температуре от -40 до 450 °С; Линейная усадка 2.2 - 2.3%. Свариваемость - без ограничений. Химический состав и механические свойства стали приведены в таблице 1и 2.

Таблица 1 -Химический состав в % материала 20Л

C

Si

Mn

S

P

0.17 - 0.25

0.2 - 0.52

0.45 - 0.9

до 0.06

до 0.06


Примечание: Доля примесей фосфора и серы зависит от группы отливок и вида выплавки стали.

Таблица 2 -Механические свойства при Т=20oС материала 20Л

Сортамент

Размер

Напр.

sT

d5

y

KCU

Термообр.

-

мм

-

МПа

МПа

%

%

кДж / м2

-

Отливки, К20, ГОСТ 977-88

до 100


412

216

22

35

491

Нормализация 880 - 900oC,Отпуск 630 - 650oC,


Способы сварки: РД, РАД, АФ, МП, ЭШ и КТ[15].

1.3 Выбор способа восстановления поверхности (наплавка)

Способ наплавки выбирают в зависимости от конфигурации наплавляемой поверхности, серийности производства, наличия оборудования, требований к качеству наплавленного слоя. Наплавку клина из стали 20Л, высоколегированной сталью можно производить ручной дуговой сваркой, автоматической и полуавтоматической сваркой под флюсом и в среде защитных газов электрошлаковой сваркой.

Наплавка это процесс нанесения при помощи сварки слоя металла заданного состава на поверхность изделия. Нанесенный металл прочно связывается с основным, образуя надежное соединение.

Рассмотрим возможные способы наплавки клина с учётом материала и толщины.

Ручная дуговая наплавка покрытым электродом благодаря простоте, возможности наплавки на поверхности любой формы широко применяется в промышленности.При наплавке ке плавящимся электродом (рисунок 1.2) дуга горит между обеспечивающих устойчивое горение дуги, составляет m = 0,3÷0,45. Использование поперечных колебаний позволяет снизить долю участия основного металла до m = 0,25.

Рисунок 1.2 - Схема ручной дуговой сварки (наплавки) штучным электродом: 1- основной металл; 2 - сварочная ванна; 3 - электрическая дуга; 4 - проплавленный металл; 5 - наплавленный металл; 6 - шлаковая корка; 7 - жидкий шлак; 8 - электродное покрытие; 9 - металлический стержень электрода; 10 - электрододержатель

Однако дальнейшее снижение m увеличивает вероятность образования непровара. В зависимости от требований, предъявляемых к наплавленному слою, используют или обычные покрытые электроды для дуговой сварки различных сталей, металлов и сплавов, или специальные покрытые электроды для ручной дуговой наплавки поверхностных слоев с особыми свойствами по ГОСТ 10051-75 (например, электроды марки ОЗШ-4 типа Э-10М9Н8К8Х2СФ по ГОСТ 10051-75, предназначенные для наплавки штампов холодной штамповки).

Основные недостатки способа - низкая производительность, тяжелые условия труда, непостоянство химического состава наплавленного металла из-за неизбежных колебаний проплавления. Это особенно проявляется при однослойной наплавке.

Наплавку рекомендуется выполнять в один слой, графитовым электродом, на постоянном токе прямой полярности. Для получения наплавленного слоя толщиной 2-3 мм толщина слоя порошкообразной смеси должна быть 6-8 мм. Наплавку ведут с использованием флюса. Обычно используют буру в количестве 2-5 % массы шихты. Следует отметить, что использование только шлаков не обеспечивает достаточной защиты. По этой причине наблюдается некоторое окисление легирующих элементов и образование в наплавленном металле дефектов: пор, неметаллических включений [7].

Сущность наплавки под слоем флюса. Наплавка под слоем флюса представляет собой процесс, во время которого сварочная дуга между сварочным электродом и металлической деталью защищается с помощью слоя предварительно расплавленного флюса - толщина слоя при этом может колебаться от 20 до 40 миллиметров (рисунок 1.3). Стоит отметить, что до расплавленного состояния флюс доводится при помощи той же сварочной дуги.

Рисунок 1.3 - Наплавка под слоем флюса

Такая защита необходима для того, чтобы оградить металл от воздействия окружающего воздуха, предотвращая, таким образом, возникновение окисления металла кислородом. Кроме того, слой флюса выполняет и еще одну задачу - он не позволяет расплавленному металлу разбрызгиваться и сохраняет тепло. Таким образом, флюс позволяет добиться экономии металла и повышает производительность труда сварщика. При проведении наплавки под слоем флюса, как правило, в качестве электрода выступает сварочная проволока, не имеющая покрытия. Диаметр проволоки выбирается в зависимости от задач, поставленных перед сварщиком, и может варьироваться от 1 до 6 миллиметров. Что касается вида тока, используемого при наплавке под слоем флюса, то чаще всего здесь применяется ток с обратной полярностью - плюс от источника электрического тока подается на сварочную проволоку, а минус - на наплавляемую поверхность изделия. Для того, чтобы еще больше повысить производительность этого метода, часто используют ленточные электроды или подачу сразу двух проволок в зону наплавки с помощью двух полуавтоматических приспособлений.

Рисунок 1.4

Преимущества наплавки под слоем флюса. Дуговая наплавка под флюсом занимает лидирующие позиции среди всех видов наплавки металла, благодаря тем преимуществам, которыми она обладает. К основным достоинствам наплавки под слоем флюса можно отнести:

высокую производительность труда. Особенно хорошо это достоинство проявляется в тех случаях, когда производится наплавка на большую площадь поверхности изделия, обладающего достаточно простой формой;

невысокую сложность процесса. Наплавка под слоем флюса не требует высокой квалификации от сварщика, поэтому для ее производства не требуется искать специалиста, обладающего большим опытом именно в этом спектре сварочных работ;

высокое качество работы. При применении наплавки под слоем флюса внешний вид валика из наплавленного металла обладает отличными эстетическими характеристиками, что имеет большое значение для внешнего вида всей детали. Кроме того, получаемый в результате наплавки валик обладает высокой прочностью и надежностью и прекрасно проявляет себя в ходе дальнейшей эксплуатации изделия;

высокую безопасность работы сварщика. Сокрытие сварочной дуги под слоем флюса позволяет избежать разбрызгивания расплавленного металла, что значительно повышает безопасность рабочего, предотвращая возможность получения ожогов.

Недостатки наплавки под слоем флюса. Вместе с несомненными достоинствами наплавка металла под слоем флюса имеет и определенные недостатки. И основными минусами этого вида наплавки можно считать:

высокую стоимость оборудования. Как правило, оборудование, применяемое в ходе наплавки под слоем флюса, стоит дороже, чем оборудование для ручной дуговой наплавки с применением стержневых электродов с покрытием;

большую зону нагрева, из-за чего этот вид наплавки не может быть применен в тех случаях, когда требуется наплавка металла на мелкие изделия, особенно, в том случае, если эти изделия обладают достаточно сложной формой;

кроме того, часто к недостаткам этого вида наплавки относят и тот факт, что он снижает усталостную прочность металлической детали, причем, показатель снижения прочности металла может в некоторых случаях достигать 40% [11] .

Вибродуговая наплавка. Эта наплавка является разновидностью электрической дуговой наплавки металлическим электродом и выполняется путем вибрации электрода. Амплитуда вибрации находится в пределах от 0,75 до 1,0 диаметра электродной проволоки. Вибродуговая наплавка эффективна, если необходимо наплавлять слои металла небольшой толщины.

Недостатками вибродуговой наплавки являются сравнительно низкий коэффициент наплавки и невысокая производительность наплавки[12].

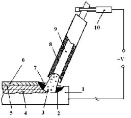
Электрошлаковая наплавка. Отличительной особенностью этого способа наплавки является высокая производительность, при которой могут быть достигнуты не только десятки, но и сотни килограммов наплавленного металла в час. Наплавка производится с принудительным формированием металла за один проход. Электроды применяются практически любого сечения: прутки, пластины и т. п. Глубину проплавления основного металла можно регулировать в широких пределах. При электрошлаковой наплавке для оплавления основного и присадочного металла служит шлаковая ванна, разогреваемая проходящим через нее электрическим током. Этот способ наплавки, как правило, сочетается с принудительным формированием наплавляемого слоя. Сущность процесса электрошлаковой наплавки (рисунок 1.4) состоит в том, что в пространстве, образованном поверхностью наплавляемого изделия 1 и формирующим кристаллизатором 4, охлаждаемым водой, создается ванна расплавленного шлака 3, в которую подается электродная проволока 5.

Рисунок 1.5 - Схема электрошлаковой наплавки на вертикальную поверхность

Ток, проходя между электродом и изделием, нагревает шлаковую ванну до температуры выше 2000°С, в результате чего электродный и основной металлы оплавляются, образуя металлическую ванну, при затвердевании которой формируется наплавленный слой 2.

Для осуществления процесса электрошлаковой наплавки различных поверхностей необходима достаточно глубокая шлаковая ванна, получение которой проще всего при вертикальном или наклонном расположении деталей. По сравнению с дуговой наплавкой это менее универсальный способ, но он весьма эффективен в тех случаях, когда на деталь необходимо наплавить слой металла большой толщины (более 14 - 16 мм). Благодаря применению большой силы тока и электродов большого сечения можно достичь высокой производительности - до 150 кг наплавленного металла в час[12].

Наплавка открытой дугой. Для этой цели применяют порошковую проволоку с внутренней защитой, которая позволяет расширить область применения механизированной износостойкой наплавки. При наплавке этой проволокой применение флюса или защитного газа не требуется, поэтому способ отличается простотой и маневренностью и создается возможность восстановления деталей сложной формы, глубоких внутренних поверхностей, деталей малых диаметров и пр. В настоящее время имеются различные конструкции аппаратуры, а также разработана технология упрочения деталей широкой номенклатуры. Расход проволоки составляет 1,15- 1,35 кг на 1 кг наплавленного металла. Производительность при полуавтоматической наплавке повышается в 2- 3 раза по сравнению с наплавкой штучными электродами [12].

Плазменная наплавка. При плазменной наплавке источником тепла является высокотемпературная сжатая дуга, получаемая в специальных горелках. Большое применение получили плазменные горелки с дугой прямого действия, горящей между неплавящимся вольфрамовым электродом и наплавляемым изделием. Иногда применяют горелки комбинированного типа, в которых от одного электрода одновременно горят две дуги - прямого и косвенного действия. Присадочным материалом при этом способе наплавки служит проволока, лента, порошок и пр. Практический интерес представляет прежде всего наплавка с присадкой мелкозернистого порошка. В этом случае применяется плазменная горелка комбинированного типа. Порошок при помощи транспортирующего газа подается из питателя в горелку и там вдувается в дугу. За время пребывания в дуге большая часть порошка успевает расплавиться, так что на наплавляемую поверхность попадают уже капельки жидкого присадочного материала [12].

Дуговая наплавка в защитных, газах. Наплавку в защитных газах применяют в тех случаях, когда невозможны или затруднены подача флюса и удаление шлаковой корки. Преимуществами данного вида наплавки являются визуальное наблюдение за процессом и возможность его широкой механизации и автоматизации с использованием серийного сварочного оборудования. Ее применяют при наплавке деталей в различных пространственных положениях, внутренних поверхностей, глубоких отверстий, мелких деталей и сложных форм и т. п. Технология выполнения наплавки в защитных газах во многом сходна с технологией наплавки под флюсом, отличие лишь в том, что вместо флюсовой применяют газовую защиту зоны сварки. Помимо перечисленных преимуществ это освобождает сварщика от необходимости засыпки флюса и удаления шлака. С целью уменьшения разбрызгивания металла наплавка в защитном газе производится самой короткой дутой. Наплавку плоских поверхностей во избежание коробления деталей производят отдельными участками «вразброс». Цилиндрические детали можно наплавлять по винтовой линии как непрерывным валиком, так и с поперечными колебаниями электрода: Короткие участки могут наплавляться продольными валиками вдоль оси цилиндрической детали, но здесь возможно возникновение деформаций, которые в процессе наплавки следует уравновешивать. Для этого наплавка каждого последующего валика должна производиться с противоположной стороны по отношению к уже наплавленному. При наплавке внутренних цилиндрических и конических поверхностей применяют специальные удлиненные мундштуки. Наплавка может производиться в углекислом газе, аргоне, гелии и азоте. Высоколегированные стали, а также сплавы на алюминиевой и магниевой основе наплавляются в аргоне или гелии. Наплавка меди и некоторых ее сплавов может производиться в азоте, который ведет себя по отношению к ней нейтрально. При наплавке углеродистых и легированных сталей используют более дешевый углекислый газ. Наплавка может производиться как плавящимся, так и неплавящимся электродами. Неплавящийся вольфрамовый электрод обычно применяют при наплавке в аргоне и гелии. Наибольшее распространение получила наплавка в углекислом газе плавящимся электродом на постоянном токе обратной полярности. Учитывая, что углекислый газ окисляет расплавленный металл, в наплавочную проволоку обязательно вводят раскислители (марганец, кремний и др.). При наплавке применяют как проволоку сплошного сечения, так и-порошковую. Для наплавки деталей из углеродистых и низколегированных сталей с целью восстановления их размеров применяют сварочные проволоки сплошного сечения Св-08ГС, Св-08Г2С, Св-12ГС, а также наплавочные Нп-40, Нп-50, Нп-ЗОХГСА и др. При необходимости получения наплавленного слоя с особыми свойствами применяют порошковые проволоки.

Недостатком способа является то, что в процессе наплавки в углекислом газе наблюдается сильное разбрызгивание жидкого металла, приводящее к налипанию брызг на мундштук и засорению сопла горелки. Кроме того, возможность сдувания газовой струи ветром затрудняет наплавку на открытом воздухе[13].

Из вышеперечисленных способов в курсовом проекте для наплавки клина выбираем автоматическую дуговую наплавку в защитных газах.

Автоматическая наплавка является самым эффективным способом повышения износостойкости, быстроизнашивающихся деталей. Рабочие поверхности (уплотнители) наплавляем на основной металл клина сварочным автоматом в смеси защитных газах. Наплавка установкой EFCO-CW1000 в защитных газах обеспечивает достаточно надёжную изоляцию наплавочной ванны при работе в заводских условиях (рисунок 1.6).

Рисунок 1.6 - Установка для наплавки деталей запорной арматуры

CW1000

Автоматическую дуговую наплавку в защитных газах производим в смеси защитных газов (Аr75%+С0225 %), таблица. 3 и активном газе углекислота.

Наплавка в защитных газах имеет ряд преимуществ: высокая производительность процесса, хорошее качество наплавочного слоя, возможность непосредственного наблюдения за процессом, отсутствие вредных выделений, малая токсичность при наплавке, что ведет к улучшению технологических свойств защитной атмосферы и экономии дорогих газов.

Таблица 3 - Свойства инертного газа - аргон

Газ

Атомный вес

Плотность при 200С

Коэффициент теплопроводности

Потенциал ионизации

Аргон

39,94

1,662

0,378

15


Газ аргон поставляется по ГОСТ 10157- 62., трех сортов: высший, первый и второй. Содержание аргона соответственно равно - 99,99%; 99,98%; 99,95%. Примесями служат кислород, азот и влага. На практике реализуется преимущество аргона - стабильность дуги. Добавка к аргону небольшого количества углекислого газа существенно повышает устойчивость горения дуги и улучшает качество формирования. Углекислый газ поставляется по ГОСТ 8050- 76. Углекислый газ обладает достаточно благоприятными теплофизическими свойствами. Сравнительно высокий удельный вес углекислого газа увеличивает защиту зоны наплавки. Сварочная дуга в углекислом газе горит устойчиво. Этому способствуют низкие теплоемкости и теплопроводность. Углекислый газ является активным защитным газом. Наряду с защитной зоной наплавки от непосредственного воздействия воздуха, газ играет активную роль, как окислитель расплавленного металла. Для сварки используют сжиженный углекислый газ 1-го и 2-го сорта, которые отличаются лишь содержанием паров воды (соответственно 0,178 и 0,515 Н20 в 1м3 С02). Иногда применяют пищевую углекислоту, содержащуюся в баллоне с примесью в виде свободной воды, в связи, с чем требуется особенно тщательное осушение газа.

1.4 Контроль качества

Перед наплавкой производят, визуальный и физический контроль качества металла. При осмотри, выявляют: каверны, вмятины, выработки, (расслоение металла внутри) После наплавки также производят визуальный и физический контроль наплавленного металла (осмотр и ультразвук) и выявляют внутренние и наружные дефекты. Наружные дефекты: горячие трещины и поры. Внутренние дефекты: внутренние поры и шлаковые включения. Физический контроль производят после зачистки и обработки изделия. Качество наплавки считается неудовлетворительным, если при любом виде контроля будут обнаружены внутренние или наружные дефекты, выходящие за пределы норм соответствующих ТУ-1468-006-74238272-06 стандартов и технических условий, инструкций по наплавке. При обнаружении дефектов необходимо устранить их соответствующим образом[9].

1.5 Выводы и постановка задачи работы

Рассмотрев вопросы о наплавки деталей запорной арматуры и возможные способы наплавки, мы выбираем для наплавки клина автоматическую сварку в среде защитных газов. Выбранный метод позволяет нам получить качественные сварные соединения с необходимыми нам свойствами и позволяет полностью отказаться от применения ручного труда при изготовлении трубных секций.

Для разработки процесса наплавки клина в среде защитных газов необходимо:

разработать и усовершенствовать технологический процесс;

выбрать сварочные материалы;

подобрать основное сварочное и вспомогательное механическое оборудование.

2. Конструкторский раздел

.1 Описание установки для наплавки EFCO-CW1000

Установка служит, для передвижения и направления сварочной горелки по клину (рисунок 2.1). На установки находится пульт управления. При помощи пульта управления задаются нужные параметры для заданной наплавки

Рисунок 2.1 - Сварочная автоматическая установка (EFCO-CW1000): 1 - фундаментная плита, 2 - колонна, 3 - электра двигатель на поворотной опоре, 4 - консоль, 5 - суппорт для перемещения сварочной горелки, 6-сварочная горелка, 7 - пульт управления, 8 - координатный горизонтальный вращающийся стол, 9 - смеситель газов, 10 - устройство для подач проволоки MSGV, 11 - два баллона с газом, 12 - источник питания

В качестве принадлежностей соединительные кабели и пакеты шлангов.

Технические данные автоматической установки EFCO-CW1000

Общая высота: Н = около 4850мм

Поворотное перемещение: S = 120°

Вылет кронштейна: L = 2200мм

Скорость перемещения: Vh = 1,5 м/мин

Предельная допускаемая нагрузка:        G = 10000декаН

Предельно допускаемая нагрузка:         F = 200 Н

Номинальное напряжение

подключённой электрической установки: U = 400 В/ 50 Гц

Номинальная мощность

Сварочная горелка предназначена для наплавки в среде защитных газах проволоки диаметром 1.6мм (рисунок 2.2)

Рисунок 2.2 - Сварочная горелка

Проволока из кассеты непрерывно подается в зону наплавки. Подача проволоки в зону наплавки осуществляется устройством WELDON DRIVE 4L (рисунок 2.3.) по специальному шланговому кабелю. Защитные газы аргон и углекислота из баллонов попадают в смеситель газов (рисунок 2.3) и затем по специальным трубкам попадают в зону наплавки.

Рисунок 2.3 - Устройство подачи проволоки WELDON DRIVE 4L

Технические данныеDRIVE 4L

Напряжение питания 42 В переменного тока

Макс. сварочный ток при ПВ 60% 500 A

Скорость подачи сварочной проволоки

От 0,5 м/мин до 24 м/мин

Стандартный комплект роликов для подачи сварочной проволоки 1,0 + 1,2 мм (для стальной проволоки).

Температура окружающей среды От -10C до +40C

Подключение сварочной горелки Евроразъём с центральным направляющим каналом / Разъём Dinse с центральным направляющим каналом

Механизм подачи сварочной проволоки

-роликовый (37мм)

Степень защиты IP 23

Габариты (длина/ширина/высота), мм 690 x 300 x 410

Масса без принадлежностей, включая

промежуточный пакет шлангов

длиной 1,5 м

около 20,5 кг

Стандарты, соблюдаемые при изготовлении

EN 60974 / IEC 60974 / VDE 0544 EN 50199 / VDE 0544 Часть 206 символ S / CE

Клин располагается на утопленном в полу горизонтальном вращающемся столе (рисунок 2.4). Вращающийся стол с горизонтально расположенной поворотной тарелкой и плавно регулируемым поворотным приводом. Вращающийся стол располагает массивной машинной станиной сварной конструкции с опорой на поворотную тарелку при помощи сферического поворотного соединения с внутренним зацеплением и уплотнением.

Для привода поворотной тарелки используется усиленный плавно регулируемый редукторный двигатель тормозного механизма, действующий на передачу, для исключительно замедленного числа оборотов. Установленная пылезащищённая муфта сварного тока служит для передачи тока на поворотную тарелку с обходом установки на опоры подшипников качения.

Рисунок 2.4 - Горизонтальный вращающийся стол

Технические данные горизонтальный вращающийся стол

Габаритные размеры:

длина х ширина х высота L х В х Н = 950 х 950 х 600 мм Предельная допускаемая нагрузка: G = 10000 daH (Ньютон)

Размер поворотной тарелки:        А = 1500 х 1500 мм

Специальное - число оборотов: N = 0,0005 - 0,025 об/мин

Предельно допускаемая нагрузка

токового соединения (муфты): I =1000 А

Номинальное напряжение U = 400 В / 50 Гц

Номинальная мощность N =2,5 кВА

2.2 Выбор наплавочных материалов

В промышленности используют весьма разнообразные наплавочные материалы. К ним относятся углеродистые, легированные, высоколегированные стали, сплавы на основе никеля, кобальта и др[10].

Для наплавки уплотнителей рабочей поверхности клина. Выбираем высоколегированную проволоку Ø 1,6мм Св-20X13 Сварочная проволока, полученная горячей прокаткой. Поверхность проволоки должна быть чистой (без окалины, ржавчины, грязи и масла). При автоматическом способе сварки плавлением, проволоку используют в виде непрерывного плавящегося электрода, намотанного на специальные кассеты. Высоколегированная проволока для сварки должна удовлетворять требованиям, регламентированным ГОСТ 2246-70. Химический состав проволоки Св-20Х13приведен в таблице .4.

Таблица 4 - Химический состав проволоки Св-20Х13[15].

Марка проволоки



Химический состав стали 20X13 в %




С

Si

Mn

Cr

Ni

S

P

 

.3 Источник питания (Total Arc 3000)

Источник питания Total Агс 2 ЗООО (рисунок 2.5 ) это сварочный выпрямитель с первичным тактом, с транзисторным управлением в двойной инверторной конструкции с частотой тока включения 60 КГц, для профессиональной сварки и наплавки. Используется программное или ручное управление, с «однокнопочным» обслуживанием. В стандартном исполнении предусмотрены 72 программы сварки и наплавки, для нелегированных и высоколегированных сталей, сплавов [14].

Рисунок 2.5 - Источник питания Total Агс 2 ЗООО

Технические данные Total Arc2 3000

Welding amperage range

3-270 A

40% Duty cycle amperage

270A

60% Duty cycle amperage

210A (270A at 25°C)

100% Duty cycle amperage

170A (210A at 25°C)

Operating voltage

14.2-27.5V

Open circuit voltage

50V

Power supply

3 x 400/50/60Hz

Power at primary (100%)

Fuse rating

16 AT/400 V

Protection index

IP 23

Dimensions L x W x H (mm)

940 x 580 x 900

Weight

71 kg


Список использованной литературы

1.      Мустафин С.Ю. Исследование износостойкости подвижных сопряжений запорной арматуры газо-нефтепроводов [текст]: дис. канд. техн. наук: 05.02.04 / Мустафин Салават Юлаевич. - М., 2002. - 228 с.

.        Белобородов, А. В. Совершенствование методики проектирования запорной арматуры с использованием численных методов[текст]:дис.канд. техн. наук: 25.00.19/ БелобородовАнатолий Владимирович. - Тюмень, 2005. - 148 с.

.        3.ValveWorldAmericasExpo&Conference[Электронныйресурс]-Режимдоступа: http://www.valveworldexpoamericas.com/ (доступ свободный)- Загл. с экрана. - Яз.англ.

.        HowValveManufacturersHelpMaintainGeothermalPowerPlants[Электронный ресурс] - Режим доступа: http://www.gwcvalve.com/news/industrynews.php (доступ свободный). - Загл. с экрана.- Яз.англ.

.        5.Обзор российских патентов в арматуростроении [текст] //Арматуростроение. Межотраслевой журнал, 2012, № 6 (81). - С. 31-35.

.        Севастьянихин, Г.И. Задвижки: конструкции, новые разработки. Выбор в зависимости от условий и параметров эксплуатации[текст] //Арматуростроение. Межотраслевой журнал, 2006, № 5. -С. 41-43.

.        Иванова, Е. К. Совершенствование методики прочностного расчета деталей клиновых задвижек с учетом параметров технологического потока[текст]:дис. канд. техн. наук: 05.02.13 / Иванова Екатерина Ивановна. - Уфа, 2008. - 124 с.

.        [Каховский Н.И. Сварка нержавеющих сталей. -Киев: Техника, 1968.-312с.

.        Никифорова Г.Д. Технология и оборудование сварки плавлением /Под ред. - М.: Машиностроение, 1978. - 328с.

.        Патон Б.Е. Технология электрической сварки металлов и сплавов плавлением/Под ред. - М.: Машиностроение, 1974. -767с.

.        Петров Г.Л. Сварочные материалы. - Л.: Машиностроение, 1972.-277с.

.        http://stalevarim.ru/pub/naplavka-pod-sloem-flusa .

.        http://www.shtorm-its.ru/tehnologiya-dugovoy-naplavki-metallov

.        http://masterweld.ru/naplavka

. http://sibmk.com/katalog/svarochnyie-i-naplavochnyie-materialyi/svarochnoe-oborudovanie/oborudovanie-dlya-migmag-svarki/total-arc-2-dual-p

.        Марочник сталей и сплавов. 2 - е изд., доп. и испр. /А.С. Зубченко, М.М. Колосков, Ю.В. Каширский и др. Под общей ред. А.С. Зубченко - М.: Машиностроение, 2003. - 784 с: ил.

Похожие работы на - Разработка технологии и оборудования для восстановления уплотнительных поверхностей клина корпуса задвижки

 

Не нашли материал для своей работы?
Поможем написать уникальную работу
Без плагиата!
Без нейросетей!