Измерение характеристик случайных сигналов

  • Вид работы:
    Доклад
  • Предмет:
    Информатика, ВТ, телекоммуникации
  • Язык:
    Русский
    ,
    Формат файла:
    MS Word
    42,03 Кб
  • Опубликовано:
    2015-05-20
Вы можете узнать стоимость помощи в написании студенческой работы.
Помощь в написании работы, которую точно примут!

Измерение характеристик случайных сигналов

МИНОБРНАУКИ РОССИИ

Федеральное государственное бюджетное образовательное учреждение высшего профессионального образования

Волгоградский государственный технический университет

Кафедра экспериментальной физики






Доклад

по физическим основам получения информации:

Измерение характеристик случайных сигналов



Выполнил: Степанов Александр

Студент группы ИИТ-273

Проверил: доцент Авакумов В.Е.





Волгоград, 2015

Содержание

1. Понятие случайных процессов

. Показатели Ляпунова

. Вероятностные характеристики случайных сигналов

. Измерение среднего значения, средней мощности и дисперсии

. Анализ распределения вероятностей

. Измерение корреляционных функций. Метод дискретных выборок

. Анализ распределения вероятностей методом дискретных выборок

Заключение

Список источников


. Понятие случайных процессов

Случайный процесс описывается статистическими характеристиками, называемыми моментами. Важнейшими характеристиками случайного процесса являются его стационарность, эргодичность и спектр мощности.

Случайный процесс в его математическом описании Х(t) представляет собой функцию, которая отличается тем, что ее значения (действительные или комплексные) в произвольные моменты времени по координате t являются случайными. Строго с теоретических позиций, случайный процесс X(t) следует рассматривать как совокупность временных функций xk(t), имеющих определенную общую статистическую закономерность. При регистрации случайного процесса на определенном временном интервале осуществляется фиксирование единичной реализации xk(t) из бесчисленного числа возможных реализаций процесса X(t). Эта единичная реализация называется выборочной функцией случайного процесса X(t). Отдельная выборочная функция не характеризует процесс в целом, но при определенных условиях по ней могут быть выполнены оценки статистических характеристик процесса. В дальнейшем при рассмотрении различных параметров и характеристик случайных процессов для сопровождающих примеров будем использовать данную модель процесса.

С практической точки зрения выборочная функция является результатом отдельного эксперимента, после которого данную реализацию xk(t) можно считать детерминированной функцией. Сам случайный процесс в целом должен анализироваться с позиции бесконечной совокупности таких реализаций, образующих статистический ансамбль. Полной статистической характеристикой процесса является N-мерная плотность вероятностей р(xn; tn). Однако, как экспериментальное определение N-мерных плотностей вероятностей процессов, так и их использование в математическом анализе представляет значительные математические трудности. Поэтому на практике обычно ограничиваются одно- и двумерной плотностью вероятностей процессов.

Допустим, что случайный процесс X(t) задан ансамблем реализаций {x1(t), x2(t),… xk(t),…}. В произвольный момент времени t1 зафиксируем значения всех реализаций {x1(t1), x2(t1),… xk(t1),…}. Совокупность этих значений представляет собой случайную величину X(t1) и является одномерным сечением случайного процесса X(t).

. Показатели Ляпунова

При исследовании нелинейных систем одной из важных задач является определение типа колебаний - периодического, квазипериодического, случайного, хаотического. Особенно сложно отличить квазипериодические колебания от хаотических и случайных, так как квазипериодические колебания часто имеют очень сложную форму, визуально слабо отличимую от «случайной». В настоящее время существуют различные критерии определения хаоса. Простейшим методом является исследование спектра колебаний на основе анализа Фурье. Дискретность спектра идентифицирует периодические или квазипериодические колебания, в случае непрерывности спектра колебания являются либо хаотическими, либо случайными. В качестве альтернативы анализу Фурье также успешно применяется вейвлет-анализ динамических систем.

Другой метод основан на применении отображений Пуанкаре, то есть сечений фазовой траектории при помощи секущей поверхности. Отображение Пуанкаре случайного процесса будет иметь вид облака, а для квазипериодических и хаотических решений - форму некоторой линии. Особенностью хаотических колебаний является их высокая чувствительность к малым изменениям начальных условий. Поэтому одним из наиболее надежных способов детектирования хаоса является определение скорости разбегания траекторий, которая оценивается с помощью показателей Ляпунова. Для n -мерной динамической системы, описываемой дифференциальными уравнениями


существуют n показателей Ляпунова, определяемых формулой


где xi определяет взаимное отклонение двух траекторий. Геометрический смысл показателей Ляпунова состоит в том, что два решения, начальные значения которых расположены в некоторой окрестности радиуса ε, за время T разойдутся в n -мерный эллипсоид по n главным полуосям и в момент времени t радиусы будут определяться значениями

Знаки показателей Ляпунова полностью характеризуют тип колебаний решения динамической системы. Наличие положительного показателя является критерием хаотичности решения динамической системы. Для большинства динамических систем расчёт показателей Ляпунова возможен только численно. В настоящее время существует несколько алгоритмов. Наиболее важно определение старшего (наибольшего) показателя Ляпунова, так как именно он описывает тип колебаний. Для его вычисления обычно используется алгоритм Бенеттина. Так как компонент решения, отвечающий старшему показателю Ляпунова, является доминирующим по величине, то для вычисления младших показателей приходится использовать специальные методы, один из наиболее точных и надёжных из которых основан на ортогонализации Грама - Шмидта.

3. Вероятностные характеристики случайных сигналов

Случайный сигнал описывается случайной функцией времени Х(t). Эту функцию можно рассматривать как бесконечную совокупность функций xi(t), каждая из которых представляет собой одну из возможных реализаций X(t). Графически это можно представить следующим образом (рисунок 1):

Рисунок 1

Полное описание случайных сигналов может быть произведено с помощью системы вероятностных характеристик. Любая из этих характеристик может быть определена либо усреднением по совокупности реализации xi(t), либо усреднением по времени одной бесконечно длинной реализации.

Зависимость или независимость результатов таких усреднений определяет следующие фундаментальные свойства случайных сигналов - стационарность и эргодичность.

Стационарным называется сигнал, вероятностные характеристики которого не зависят от времени.

Эргодическим называется сигнал, вероятностные характеристики которого не зависят от номера реализации.

Для стационарных эргодических сигналов усреднение любой вероятностной характеристики по множеству реализаций эквивалентно усреднению по времени одной теоретически бесконечно длинной реализации.

Для практических целей наиболее важными являются следующие вероятностные характеристики стационарных эргодических сигналов, имеющих длительность реализации Т:

среднее значение (математическое ожидание). Оно характеризует постоянную составляющую сигнала

; (1)

средняя мощность. Она характеризует средний уровень сигнала

; (2)

дисперсия, характеризующая среднюю мощность переменной составляющей сигнала:

; (3)

среднеквадратическое отклонение (СКО)

; (4)

функция распределения, которая определяется как интегральная вероятность того, что значение xi(tj) в j-й момент времени будут ниже некоторых значений X:

 (5)

Для заданных стационарных эргодичных сигналов Fx характеризуется относительным временем пребывания реализации ниже уровня Х (τi -, i -й интервал пребывания, n - количество интервалов, рисунок 2)

Рисунок 2

одномерная плотность вероятности, называемая дифференциальным законом распределения:

, (6)

где - расстояние между соседними уровнями X(t), называемое дифференциальным коридором;

 - i -й интервал пребывания реализации в пределах (см. рисунок 2).

корреляционная функция. Она характеризует стохастическую (случайную) связь между двумя мгновенными значениями случайного сигнала, разделенного заданным интервалом времени τ

; (7)

взаимная корреляционная функция. Она характеризует стохастическую связь мгновенными значениями случайных сигналов x(t) и y(t), разделенными интервалом времени τ

 (8)

Из выражений (1)-(8) видно, что все вероятностные характеристики представляют собой неслучайные числа или функции и определяется по одной реализации бесконечной длительности. Практически же длительность Т, называемая продолжительностью анализа, всегда ограничена, поэтому на практике мы можем определить не сами характеристики, а только их оценки. Эти оценки, полученные экспериментальным путем, называются статическими характеристиками. А раз оценка, значит приближение, которое характеризуется погрешностями, называемыми статистическими погрешностями.

вероятностный эргодический случайный дискретный

4. Измерение среднего значения, средней мощности и дисперсии

Согласно формуле (1) измерение mx сводится к интегрированию случайного сигнала за время Т. Интегрирование можно выполнить с помощью аналоговых или цифровых интегрирующих устройств, применяемых в вольтметрах.

При практическом выборе времени интегрирования Т надо минимизировать статистические погрешности. Это условие соблюдается при Тм.к. - максимальный интервал корреляции, за пределами которого выборки сигнала можно считать практически некоррелированными).

Для измерения Dx тоже может быть использован вольтметр среднеквадратичного значения, только в соответствии с формулой (3) он должен иметь закрытый вход. Показания такого вольтметра согласно (4) будут соответствовать значениям σх.

В настоящее время отечественной промышленностью серийно выпускаются анализаторы случайных процессов. К ним относятся многофункциональный статистический преобразователь Ф790, корреллометр Ф7016, комплекс измерителей характеристик случайных сигналов Х6-4/а, многофункциональные измерители вероятностных характеристик Ф36 и Ф37, анализаторы спектра Ф4326, Ф4327, Ф7058 и др. С помощью этих приборов и устройств можно измерять математические ожидания и дисперсии, а также значения функций распределения вероятности, корреляционных и спектральных функций с последующим восстановлением вида самих функций. Перечисленные анализаторы рассчитаны в основном на унифицированный входной сигнал и позволяют измерить от 256 до 4096 ординат анализируемой функции. Погрешность измерения не превышает ±5%.

Кроме того, для определения вероятностных характеристик случайных сигналов могут использоваться электроизмерительные приборы, предназначенные для измерения среднего и действующего значений сигнала. Для определения среднего значения применяют магнитоэлектрические приборы и цифровые интегрирующие приборы. Для определения среднего квадратического отклонения используют приборы, показания которых определяются действующим значением сигнала (термоэлектрические, электростатические и др.).

Корреляционные устройства получили применение в различных областях науки и техники для измерения различных величин. В качестве примера можно указать корреляционное устройство для измерения скорости прокатки. Эти устройства измеряют корреляционную функцию, зависящую от т, которая, в свою очередь, зависит от скорости прокатки.

. Анализ распределения вероятностей

Метод измерения по относительному времени пребывания

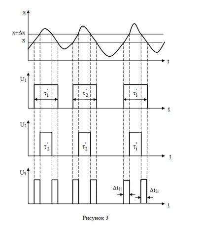
При измерении этим методом удобнее измерять не значение τi, фигурирующее в формуле (7), а значение τi, характеризующее время пребывания функции х(t) выше уровня х, поэтому при экспериментальном анализе определяется функция

, (9)

Для определения в соответствии с формулой (7) необходимо образовать дифференциальный коридор ∆х, как показано на рисунке 3, и измерить кроме значений τi еще и τi’’, характеризующее время пребывания реализации х(t) выше уровня х+∆х, причем

∆t¢i=∆t1i+∆t2i= τ¢i- τ²i. (10)

Анализаторы, реализующие данный метод, могут быть как аналоговыми, так и цифровыми. Структурная схема аналогового анализатора предоставлена на рисунке 3.

С помощью ВУ обеспечивается уровень сигнала, необходимый для нормальной работы других функциональных узлов измерителя. Компараторы К1 и К2 выполняют функции амплитудных селекторов и имеют уровни срабатывания х и х+∆х соответственно. Эти уровни задаются регулятором уровня (РУ) и могут изменяться при одновременном обеспечении постоянства ширины дифференциального коридора ∆х. Таким образом сигналы на выходе К1 и К2 имеют вид импульсов U1 и U2 (рисунок 3), длительности которых соответственно равны τi и τi’’. Формирующие устройства ФУ1 и ФУ2 стандартизируют эти импульсы по форме и амплитуде. Напряжения U1 и U2 позволяют измерить  и .

При измерении осуществляется усреднение или интегрирование напряжения U1 (переключатель П в положении «1»), а при измерении с помощью схемы вычитания образуется разностное напряжение U3, которое тоже усредняется. Вид индикаторного устройства (ИУ) определяется назначением анализатора. Например, в панорамных анализаторах управление уровнями срабатывания компараторов К1 и К2 осуществляется синхронно и автоматически с разверткой осциллографа, применяемого в качестве ИУ. Такое ИУ позволяет регистрировать графики функций  и .

Рисунок 3

Рисунок 4

. Измерение корреляционных функций. Метод дискретных выборок

Для измерения корреляционных функций наиболее часто используется метод перемножения. Алгоритм работы аналогового коррелометра, реализующего метод дискретных выборок, вытекает из формул (8) и (9). Этот метод предусматривает выполнение следующих операций:

задержку исследуемого сигнала или одного из сигналов на время τ;

перемножение задержанного и незадержанного сигналов;

усреднение результатов перемножения.

Если коррелометр цифровой, то перечисленным выше операциям должна предшествовать дискретизация по времени и квантование по уровню. Поэтому алгоритм работы цифрового коррелометра будет определяться следующим соотношениями

, (11)

, (12)

где и - квантованные по уровню значения центрированных реализаций X(t) и Y(t) в дискретные моменты времени ;

 - интервал сдвига во времени, р = 0,1,2,…;

N - количество выборок.

Коррелометры бывают двух модификаций: последовательного и параллельного действия.

В цифровых коррелометрах последовательного действия сначала по формуле (1.16) вычисляется значение корреляционной функции при р=0, т.е. значение реализации умножается само на себя, затем вводится задержка τ0, (р=1) и определяется значение функции  и  далее проводятся вычисления при p=2,3,…, до м.к.. (τм.к - максимальный интервал корреляции, за пределами которого выборки сигнала можно считать практически некоррелированными).

Цифровой коррелометр параллельного действия позволяет одновременно вычислить все р- значений корреляционной функции, но становится при этом многоканальным прибором. Поэтому на практике чаще всего реализуются коррелометры последовательного действия (рисунок 5).

Работа всех узлов коррелометра синхронизируется устройством управления (УУ). Схема задержки состоит из р регистров сдвига, управляемых тактовыми импульсами УУ. Вместо перемножителя и усреднителя может быть использован микропроцессор. Накопление результатов перемножения производится в течение всего цикла измерения, и в конце цикла мы имеем полную информацию о корреляционной функции. Эта информация воспроизводится на ИУ в виде коррелограммы. Эта схема работает в диапазоне до сотен килогерц.

. Анализ распределения вероятностей методом дискретных выборок

Если с помощью уровней квантования сформировать дифференциальный коридор, а тактовые импульсы УУ использовать в качестве импульсов опроса, то прибор, структурная схема которого приведена на рисунке 5, будет работать как измеритель распределения вероятностей, реализующий метод дискретных выборок.

Суть этого метода та же, что и рассмотренного выше метода измерения по относительному времени пребывания. Однако теперь это сравнение происходит в дискретных точках, которые задаются стробирующими импульсами опроса с периодом следования Т0. Эти импульсы задаются УУ. Значение Т0 определяет шаг дискретизации при преобразовании аналоговой величины х(t) в дискретную.

Если сосчитать число выборок n за интервал пребывания реализации x(t) выше уровня х (при измерении ) или в пределах дифференциального коридора ∆х (при измерении ), то мы получим:

;

Количество импульсов, соответствующее числу выборок n, накапливается в усреднителе за время Т. Обозначив , получим после подстановки в формулы (14) и (11) следующие выражения:

 (13)

После обработки значения  и  воспроизводится на индикаторном устройстве.

Основная погрешность работы прибора во всех режимах не превышает значения ±5%


Заключение

Измерение характеристик случайных сигналов сводится к обработке реализаций этих процессов по определенному алгоритму. Если реализации каким-либо образом записаны, то характеристики можно рассчитать, с помощью ЭВМ. Особенность задачи при этом состоит во вводе в оперативную память машины большего объема исходных данных. Существуют специализированные измерители характеристик случайных процессов, позволяющие измерить плотность вероятности, корреляционные функции и другие характеристики.

Измерения характеристик случайных сигналов базируются на общих принципах измерения значений физических величин и параметров сигналов, но имеют свою специфику, ряд особенностей и требуют применения методов и аппаратурных решений, зачастую существенно отличных от используемых в технике измерений детерминированных сигналов.

Измерения характеристик случайных сигналов необходимы при исследовании помехоустойчивости систем связи и определении качества и надежности элементов и узлов устройств техники связи и измерительных приборов.

Методика измерений характеристик стационарных эргодических случайных процессов заключается в преобразовании реализаций этих процессов по определенному закону. Например, при определении математического ожидания эта обработка сводится к нахождению среднего значения реализации. Обработка реализации может производиться с помощью аналоговой или цифровой аппаратуры. В последнем случае из реализации производятся дискретные выборки ее значений.

При измерении характеристик случайных процессов получить полностью достоверные результаты теоретически невозможно, так как время исследования процесса ограничено. Характеристики распределения, полученные экспериментально, называются статистическими характеристиками или оценками. Они дают приближенное значение теоретических характеристик случайных процессов.

При многих измерениях характеристик случайных процессов верхняя граница Т определяется длительностью интервала, на протяжении которого допустимо предположение о стационарности процесса, а нижняя граница Т задается приемлемой величиной относительной среднеквадратичной погрешности измерения.

Знаковые коррелометры широко используют при исследовании и измерении характеристик случайных процессов с нормальным законом распределения.

Указанные величины должны выбираться так, чтобы эта зависимость по абсолютной или относительной величине не превышала допустимой погрешности измерения характеристики случайного процесса.

Эргодические свойства широко используются в практике измерений характеристик случайных процессов.


Список источников:

1. Айфичер Э., Джервис Б. Цифровая обработка сигналов. Практический подход. М.: ИД "Вильямс", 2004. - 992 с.

2. Верисокин А.Ю. Определение показателей Ляпунова на примере модели Селькова в присутствии внешней периодической силы. Спектральный анализ и его приложения. Пер. с англ. - Москва, Мир, 1990. - 584 стр.

4. Метрология, стандартизация и измерения в технике связи: Учеб. пособие для вузов / Под ред. Б.П. Хромого. - М.: Радио и связь, 2006

. Сергиенко А.Б. Цифровая обработка сигналов: Учебное пособие. Второе издание.- СПб.: Питер, 2006.-752 с.

Похожие работы на - Измерение характеристик случайных сигналов

 

Не нашли материал для своей работы?
Поможем написать уникальную работу
Без плагиата!
Без нейросетей!