Проектирование фундаментов зданий и подземных сооружений
ОГЛАВЛЕНИЕ
1. ИСХОДНЫЕ
ДАННЫЕ ДЛЯ ПРОЕКТИРОВАНИЯ
.1 Основные
параметры здания
.2 Таблица
нагрузок
.3
Инженерно-геологические условия
. ОЦЕНКА
ИНЖЕНЕРНО-ГЕОЛОГИЧЕСКИХ УСЛОВИЙ
.1 Вычисление
дополнительных характеристик
.1.1 ИГЭ-1
.1.2 ИГЭ-2
.1.3 ИГЭ-9
.2 Построение
эпюры расчётных сопротивлений
.3 Выводы
. РАЗРАБОТКА
ВАРИАНТОВ ФУНДАМЕНТОВ
.1
Конструктивные особенности здания
.2 Фундамент
на естественном основании
.2.1
Определение глубины заложения фундаментов
.2.2
Конструирование фундамента
.2.3 Расчёт
фундамента по прочности
.2.4 Расчёт
фундамента по деформациям
.2.5 Расчёт
стоимости строительно-монтажных работ
.3Фундамент
на искусственном основании
.3.1
Определение глубины заложения фундаментов
.3.2
Конструирование фундамента
.3.3 Расчёт
фундамента по прочности
.3.4 Расчёт
фундамента по деформациям
.3.5 Расчёт
стоимости строительно-монтажных работ
.4 Свайный
фундамент
.4.1
Определение глубины заложения ростверка
.4.2 Расчёт
несущей способности свай
.4.3
Конструирование свайного фундамента
.4.4 Расчёт
ростверка по прочности
.4.5 Расчёт
свайного фундамента по деформациям
.4.6 Расчёт
стоимости строительно-монтажных работ
. РАСЧЕТ И
ПРОЕКТИРОВАНИЕ ВЫБРАННОГО ВАРИАНТА ФУНДАМЕНТА
.1
Конструирование фундамента
.1.1
Фундамент №1
.1.2
Фундамент №3
.1.3
Фундамент №4
. ЗАЩИТА
ПОДВАЛЬНЫХ ПОМЕЩЕНИЙ ОТ ПОДЗЕМНЫХ ВОД И СЫРОСТИ
РЕКОМЕНДАЦИИ
ПО ПРОИЗВОДСТВУ РАБОТ
СПИСОК
ИСПОЛЬЗОВАННОЙ ЛИТЕРАТУРЫ
1. ИСХОДНЫЕ ДАННЫЕ ДЛЯ
ПРОЕКТИРОВАНИЯ
Вариант курсового проекта - 6 (чётный).
Номер схемы сооружения - 2.
Номер инженерно-геологического разреза - 6.
Пролёт l
- 9 м.
1.1 Основные параметры здания
Район строительства - г. Санкт-Петербург.
Функциональное назначение здания - фабричный корпус.
Уровень ответственности здания - II (нормальный).
Конструктивная схема здания - полный железобетонный каркас.
Ограждающие конструкции - кирпич.
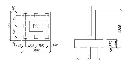
Рисунок 1. Схема здания
Рисунок 2. Схема расположения колонн
1.2 Таблица нагрузок
Таблица 1 - Расчётные значения нагрузок на обрез фундамента
|
№ фундамента
|
Размер несущей конструкции
(колонны/стены), мм
|
1-е сочетание
|
2-е сочетание
|
|
|
NII, кН
|
MII, кН*м
|
ТII, кН
|
NII, кН
|
MII, кН*м
|
ТII, кН
|
|
1
|
600х400
|
1400
|
-140
|
-20
|
1780
|
-178
|
22
|
|
2
|
600х400
|
2270
|
90302530 14431
|
|
|
|
|
|
3
|
600х400
|
1820
|
180
|
35
|
2100
|
220
|
37
|
|
4
|
400х400
|
620
|
50
|
-
|
730
|
56
|
-
|
1.3 Инженерно-геологические условия
В пределах пятна застройки пробурены 5 геологических скважин, глубиной
12,0 м. Схема расположения скважин и инженерно-геологические разрезы
представлены ниже.
Инженерно-геологическим разрезом вскрыты следующие напластования грунтов:
ИГЭ-1 - супесь (12);
ИГЭ-2 - суглинок (7);
ИГЭ-3 - песок (18).
Рисунок 3. Инженерно-геологический разрез
Таблица 2 - Расчётные значения физико-механических характеристик грунтов
Наименование грунта (№ ИГЭ)
, кН/м3
, градcI, кПа
, кН/м3
, градcII, кПа
, кН/м3


, см/сут
,
|
МПа
|
|
|
|
|
|
|
|
|
|
|
|
|
|
Техногенный грунт
|
|
|
|
17
|
|
|
|
|
|
|
|
|
|
Супесь (12)
|
17,4
|
20
|
5
|
19,2
|
24
|
8
|
26,5
|
0,21
|
0,23
|
0,18
|
2,5х10-7
|
14
|
|
Суглинок (7)
|
16,8
|
15
|
8
|
18,5
|
17
|
12
|
26,8
|
0,3
|
0,36
|
0,23
|
2,5´10-7
|
10
|
|
Песок средней крупности
(18)
|
18,2
|
34
|
-
|
20,1
|
38
|
-
|
26,4
|
0,16
|
-
|
-
|
2,0х10-2
|
40
|
2. ОЦЕНКА ИНЖЕНЕРНО-ГЕОЛОГИЧЕСКИХ УСЛОВИЙ
2.1 Вычисление дополнительных характеристик
Дополнительные производные характеристики грунтов, получаемые расчётным
путём, представлены ниже для каждого вскрытого слоя.
-
удельный вес скелета грунта, кН/м3;
-
коэффициент пористости, д.е.;
-
показатель пластичности, д.е.;
- показатель
текучести, д.е.;
-
пористость, д.е.;
-
удельный вес грунта с учётом взвешивающего действия воды, кН/м3;
где
- удельный вес воды;
- полная
влагоёмкость
-
степень влажности грунта
-
коэффициент относительной сжимаемости грунта, кПа-1;
где
- коэффициент, учитывающий отсутствие бокового
расширения грунта;
коэффициент
Пуассона, принимаемый в соответствии с табл. 3 (табл. 5.10 СП 22.13330.2011);
Таблица 3 - Значения коэффициента Пуассона для различных видов грунтов
|
Грунты
|
Коэффициент Пуассона, v
|
|
Крупнообломочные грунты
|
0,27
|
|
Пески и супеси
|
0,30 - 0,35
|
|
Суглинки
|
0,35 - 0,37
|
|
Глины при показателе
текучести IL:
|
|
|
0,20 - 0,30
|
|
|
0,30 - 0,38
|
|
|
0,38 - 0,45
|
|
|
Примечание: меньшие
значения v применяют при большей плотности грунта
|
.1.1 ИГЭ-1
Супесь
А) удельный вес скелета грунта γd, кН/м3:
15,87
кН/м3
Б)
коэффициент пористости е:
0,67
В)
пористость n:
0,4
Г) содержание твердых частиц в единице объема m
m= 1-n=1-0,4=0,6
Д) полная влагоемкость:
0,247
Е)
степень влажности
, д.е.:
0,85
Ж)
удельный вес с учетом взвешивающего действия воды
, кН/м3:
(26,5 -
9,8)*0,6= 10,02 кН/м3
И)
число пластичности:
0,23 -
0,18 = 0,05
К)
показатель текучести:
0,6
по
ГОСТ 25100-2011 супесь пластичная, так как 0≤
0,6≤1,00
л)
Сжимаемость грунтов (деформированность)
Е=14
МПа- среднедеформирован (по ГОСТ 25100-2011) 10≤14≤50
Полное наименование слоя: супесь пластичная, среднедеформированная.
.1.2 ИГЭ-2
Суглинок
А) удельный вес скелета грунта γd, кН/м3 :
14,23
кН/м3
Б)
коэффициент пористости е:
0,88
В)
пористость n:
0,47
Г)
содержание твердых частиц в единице объема m
m= 1-n=1-0,47=0,53
Д)
полная влагоемкость:
0,324
Е)
степень влажности
, д.е.:
0,93
Ж)
удельный вес с учетом взвешивающего действия воды
, кН/м3 :
(26,8 -
9,8)*0,53= 9,01 кН/м3
И)
число пластичности:
0,36 -
0,23 = 0,13
К)
показатель текучести:
0,54
по
ГОСТ 25100-2011 суглинок мягкопластичный, так как 0,5≤
0,54≤0,75
л)
Сжимаемость грунтов (деформированность)
Е=10
МПа- сильнодеформирован (по ГОСТ 25100-2011) 10≤14≤50
Полное
наименование слоя: суглинок мягкопластичный, сильнодеформируемый.
.1.3
ИГЭ-3
Песок
А)
удельный вес скелета грунта γd, кН/м3 :
17,33
кН/м3
Б) коэффициент пористости е:
0,523
По
ГОСТ 25100-2011 песок плотный, так как е=0,52≤0,55
В)
пористость n:
0,343
Г)
содержание твердых частиц в единице объема m
m=
Д)
полная влагоемкость:
0,193
Е)
степень влажности
, д.е.:
0,83
По
ГОСТ 25100-2011 песок водонасыщенный, так как
Ж)
удельный вес с учетом взвешивающего действия воды
, кН/м3 :
(26,4 -
9,8)*0,66= 10,956 кН/м3
Л)
сжимаемость грунтов (деформированность)
Е=40
МПа- среднедеформирован (по ГОСТ 25100-2011) 10≤40≤50
Полное
наименование слоя: Песок плотный, средней крупности, водонасыщенный, среднедеформированный.
.2
Построение эпюры расчётных сопротивлений
Расчётное сопротивление грунтов определяется в соответствии с п. 5.6.7 СП
22.13330.2011:
где
ggc1 и ggc2 -
коэффициенты условий работы, принимаемые по таблице 5.4 СП 22.13330.2011;
k - коэффициент, принимаемый равным единице, если прочностные
характеристики грунта (jII и cII)
определены непосредственными испытаниями, и k = 1,1, если они приняты по
таблицам приложения Б СП 22.13330.2011;y, Mq, Mc - коэффициенты,
принимаемые по таблице 5.5 СП 22.13330.2011;z - коэффициент,
принимаемый равным единице при b < 10 м; kz = z0/b +
0,2 при b ³ 10 м
(здесь z0 = 8 м);- ширина подошвы фундамента, м (при бетонной или
щебеночной подготовке толщиной hn допускается увеличивать b на 2hn);
gII -
осреднённое расчётное значение удельного веса грунтов, залегающих ниже подошвы
фундамента (при наличии подземных вод определяется с учётом взвешивающего
действия воды), кН/м3;
- то же,
для грунтов, залегающих выше подошвы фундамента, кН/м;
сII - расчетное
значение удельного сцепления грунта, залегающего непосредственно под подошвой
фундамента (см. 5.6.10), кПа;1 - глубина заложения фундаментов, м,
бесподвальных сооружений от уровня планировки или приведенная глубина заложения
наружных и внутренних фундаментов от пола подвала. При плитных фундаментах за d1
принимают наименьшую глубину от подошвы плиты до уровня планировки;b
- глубина подвала, расстояние от уровня планировки до пола подвала, м (для
сооружений с подвалом глубиной свыше 2 м принимается равным 2 м);
здесь hs - толщина
слоя грунта выше подошвы фундамента со стороны подвала, м;cf -
толщина конструкции пола подвала, м;
gcf -
расчетное значение удельного веса конструкции пола подвала, кН/м2;
При бетонной или щебёночной
подготовке толщиной hn допускается увеличивать d1 на hn.
Средневзвешенное значение
удельного веса грунтов определяется по следующей формуле:
Таблица 4 - Значения табличных коэффициентов для грунтов
|
Грунт
|
МγМqМсkz
|
|
|
|
|
|
Супесь
|
1
|
0,72
|
3,87
|
6,45
|
1
|
|
Суглинок
|
1
|
0,39
|
2,57
|
5,15
|
1
|
|
Песок
|
1,68
|
2,11
|
9,44
|
10,8
|
1
|
Значения глубины d, где
выполняется определение расчётных сопротивлений грунтов, назначается на 0,5 м
выше и ниже границы между слоями.
Точка 1 - супесь
d1=1,0+0,5=1,5 м
γII=19,2 кН/м3
γʹII=(17*1+19,2*0,5)/1,5=17,7 кН/м3
R1=1*[0,72*1*1*19,2+3,87*1,5*17,7+6,45*8]=168,2
кПа
Точка 2 - супесь
d2=2,2-0,5=1,7 м
γʹII=(17*1+19,2*0,7)/1,7=17,91 кН/м3
R2=1*[0,72*1*1*19,2+3,87*1,7*17,91+6,45*8]=183,3
кПа
Точка 3 - супесь
d3=2,2+0,5=2,7 м
R3=1*[0,72*1*1*19,2+3,87*2,7*16,7+6,45*8]=240
кПа
Точка 4 - супесь
d4=4-0,5=3,5 м
γII=19,2 кН/м3
R4=1*[0,72*1*1*19,2+3,87*3,5*15,2+6,45*8]=271,3
кПа
Точка 5 - суглинок
d5=4+0,5=4,5 м
γII= 18,5 кН/м3
R5=1*[0,39*1*1*18,5+2,57*4,5*13,91+5,15*12]=229,9
кПа
Точка 6 - суглинок
d6=11,7-0,5=11,2 м
γII= 18,5 кН/м3
R6=1*[0,39*1*1*18,5+2,57*11,2*10,98+5,15*12]=385,1
кПа
Результаты расчётов для наглядного отображения представлены в табличном
виде (табл. 5).
Таблица 5 - Результаты расчёта расчётных сопротивлений грунтов
|
№ точки
|
№ ИГЭ
|
d1, м
|
R, кПа
|
|
1
|
12
|
1,5
|
168,2
|
|
2
|
12
|
1,7
|
183,3
|
|
3
|
12
|
2,7
|
240
|
|
4
|
12
|
3,5
|
271,3
|
|
5
|
7
|
4,5
|
229,9
|
|
6
|
7
|
11,2
|
385,1
|
Рисунок 4. Эпюра расчётных сопротивлений грунтов основания
2.3 Выводы
На рассматриваемой площадке под строительство в г. Санкт-Петербурге
расположены 5 скважин глубиной 12 м на расстоянии 40,5 м и 42,0 м. Уровень
грунтовых вод находится на глубине -2,35 м.
Геологическим разрезом по скважине 2 вскрыты следующие напластования
грунтов:
Верхний слой - супесь - мощностью 3 м. Грунт является среднежимаемым и
находится в пластичном состоянии, со следующими характеристиками:
R1=269,8 кПа; R2=286,1 кПа; R3=335,8 кПа; R4=358,6 кПа;
,
.
Второй
слой - суглинок - мощностью 7,7 м. Грунт сильносжимаемый, находится в
мягкопластичном состоянии, со следующими характеристиками:
По
результатам оценки инженерно-геологических условий делаем вывод о возможности
строительства проектируемого сооружения на рассматриваемой площадке и выборе
несущего слоя основания. В качестве несущего слоя основания можно использовать
супесь.
3. РАЗРАБОТКА ВАРИАНТОВ
ФУНДАМЕНТОВ
.1 Конструктивные особенности здания
Проектируемое сооружение - производственное одноэтажное здание. За
относительную отметку 0,000 м принята отметка чистого пола фабричного корпуса,
что соответствует абсолютной отметке +7,150 м.
Планировка территории выполняется подсыпкой гравийно-галечниковыми
грунтами до относительной отметки -0,150 м, что соответствует абсолютной
отметке +7,000 м. Почвенно-растительный слой подлежит полному удалению с
последующей рекультивацией.
Фабричный корпус представляет собой производственное здание с полным
железобетонным каркасом. Основными несущими конструкциями здания являются
сборные железобетонные колонны.
В осях «Б»-«В» расположен подвал, глубиной 2,7 м от уровня чистого пола.
В соответствии с таблицей Д.1 СП 22.13330.2011 для всего сооружения
принимается предельные значения деформаций:
· Максимальная осадка su=10 см;
· Относительная разность осадок (Δs/L)u=0,002.
При вариантном проектировании фундаментов принимается наиболее
нагруженный фундамент №2 (табл.1).
При расчёте фундаментов на прочность значения нагрузок принимаются с
осреднённым коэффициентом надёжности по нагрузке gf =1,2.
3.2 Фундамент на естественном основании
.2.1 Определение глубины заложения фундаментов
Глубина заложения фундаментов фабричного корпуса определяется исходя из
климатических и инженерно-геологических условий площадки строительства, а также
в зависимости от конструктивных особенностей здания.
Глубина заложения исходя из климатических условий:
,
где dfn - глубина заложения фундамента;
kh - коэффициент теплового влияния здания, определяемый по табл. 5.2 СП
22.13330.2011.
dfn=do√Mt, где
do принимается в зависимость от вида грунта
do=0,23 м для суглинков и глин;
do=0,28 м для супесей, песков мелких и пылеватых;
do=0,30 м для песков гравелистых, крупных и средней крупности;t
-безразмерный коэффициент, численно равный сумме абсолютных значений
среднемесячных отрицательных температур за зиму в данном районе, принимаемых по
СНиП по строительной климатологии и геофизике.
Для Санкт-Петербурга Mt=-24,8оС
Для супеси:
dfn=do√Mt=0,28√24,8=1,4 м.
Для суглинка:
dfn=do√Mt=0,23√24,8=1,15 м.
Для песка средней плотности:
dfn=do√Mt=0,30√24,8=1,5 м.
Расчетная среднесуточная температура воздуха внутри
помещения принимается равной 200 С. Полы устраиваются по грунту.
В соответствии с таблицей 5.2 kh=0,4.
С поверхности залегают насыпные грунты, мощностью 1 м,
следовательно глубина заложения фундаментов назначается на 0,3 м ниже подошвы
насыпного слоя:
Глубина заложения подошвы фундамента от уровня
планировки при учёте подвала:
где db - расстояние от уровня планировки до пола подвала;
hcf - толщина плиты пола подвала;
hf - ориентировочная высота фундамента.
Толщина конструкции пола подвала принимается равной
0,3 м.
Окончательно принимается глубина заложения df=4,3 м с учётом бетонной подготовки
из бетона В10, толщиной 100 мм.
.2.2 Конструирование фундамента №2 (наиболее нагруженный)
1. Расчётное сопротивление
грунтов основания в уровне глубины заложения фундамента:
R=1*[0,39*1*1*18,5+2,57*4,3*14,13+5,15*12]=225,17 кПа
2. Требуемая площадь подошвы фундамента:
где
NII - продольное усилие в уровне обреза фундамента;
R - расчётное
сопротивление грунтов основания;
γm -
средневзвешенное значение удельного веса материала фундамента и грунта на его
уступах, принимаемое равным 20 кН/м3;
df -
глубина заложения подошвы фундамента.
3. Коэффициент соотношения ширины и длины подошвы фундамента
принимается равным 1,2, тогда ширина подошвы фундамента равна:
С
учётом рекомендуемого модуля 0,3 м размеры подошвы фундамента принимаются
равными 3,9х4,5 м.
4. Расчётное сопротивление грунтов основания:
R=1*[0,39*1*3,9*18,5+2,57*4,3*14,13+5,15*12]=246,1 кПа
. Давление по подошве фундамента:
где
M - момент в уровне подошвы фундамента от внешних
нагрузок;
W - момент
сопротивления подошвы фундамента;
-
условие выполнено.
В
соответствии с п. 5.6.27 СП 22.13330.2011 для фундаментов колонн зданий с
мостовыми кранами грузоподъёмностью более 75 т соотношение краевых давлений
должно превышать 0,25.
-
условие выполнено.
6. Определение собственного веса фундамента:
,
где
Vф - объем фундамента, м3;
gжб - удельный вес железобетона, равный 25 кН/м3.
;
.
Вес
грунта, находящегося на ступенях фундамента:
где
Vгр - объем грунта, находящегося на ступенях фундамента, м3;
g¢II - удельный вес грунта, находящегося на ступенях
фундамента, кН/м3 (gII=20,5 кН/м3 удельный вес грунта засыпки).
Определение среднего давления р по подошве фундамента и сравнение его с
расчетным сопротивлением грунта основания
R:
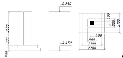
Конструктивные размеры фундаменты представлены на рис. 5.
Рисунок 5. Конструкция фундамента
.2.3 Расчёт фундамента по прочности
Расчет материала фундамента на прочность осуществляют в том случае, когда
применяется нетиповой монолитный железобетонный фундамент. При этом стремятся
максимально использовать прочность материала при минимальном его расходе.
Расчет на продавливание подошвы фундамента.
Для железобетонных фундаментов строим пирамиды продавливания посредством
проведения наклонных сечений под углом 45° от основания подколонника или низа колоны в подколоннике до
пересечения с арматурой.
В каждой из пирамид рассматривается, как правило, одна наиболее
нагруженная ее грань.
Расчет сводится к удовлетворению условия:
Fпр£kRpbсрh0,
где Fпр - расчетная продавливающая сила, кН;пр=1,2pAпр
;пр - часть площади подошвы фундамента, находящаяся за пределами
нижней грани пирамиды продавливания, м2;p - расчетное
сопротивление бетона при растяжении, кПа;ср - средняя линия
наклонной грани (трапеции);
0 - высота пирамиды
продавливания, считая от арматуры, или полезная высота фундамента, м;-
коэффициент, принимаемый для тяжелых бетонов равным 1.
Проектируется фундамент стаканного типа из бетона класса B12.5.
Характеристики
бетона:
при эксплуатации бетона в условиях высокой влажности
в соответствии с табл. 15 [4];
;
.
Расчёт
на продавливание.
Продавливающая сила:
,
где
= 4,25- часть площади подошвы фундамента, находящаяся
за пределами нижней грани пирамиды продавливания (определено из чертежа),
= 207,1- реактивное давление грунта от нагрузок 2
группы предельных состояний.
Проверка
прочности на продавливание:
,
где
- коэффициент, принимаемый для тяжёлых бетонов равным
1.0,
- средняя линия наклонной грани пирамиды
продавливания,
= 1150 мм - полезная высота сечения, принятая при
толщине защитного слоя 50 мм.
В соответствии с п. 8.2.2 [3] расчёт на действие поперечной силы можно не
производить, поскольку выполняется условие:
Рисунок 6. Расчётная схема для расчёта на продавливание.
.2.4 Расчёт
фундамента по деформациям
Выполняется методом послойного суммирования.
Целью расчета является ограничение абсолютных перемещений фундаментов и
подземных конструкций такими пределами, при которых гарантировалась бы
нормальная эксплуатация сооружения и не снижалась бы его долговечность.
Расчет сводится к удовлетворению условия:
£Su
где S - совместная деформация основания и сооружения, определяемая
расчетом;u - предельное значение совместной деформации основания и
сооружения.
Осадка основания S с использованием расчетной схемы в виде линейно
деформируемого полупространства определяется методом послойного суммирования по
формуле:
где b-безразмерный
коэффициент, равный 0,8;
szp.i -
среднее, значение дополнительного вертикального нормального напряжения в i-м
слое грунта, равное полусумме указанных напряжений на верхней zi-1 и
нижней zi границах слоя по вертикали, проходящей через центр подошвы
фундамента;i и Еi - соответственно толщина и модуль
деформации i-гo слоя грунта;- число слоев, на которое разбита сжимаемая толща
основания.
Для построения эпюр szg и szp разбивают толщу грунта ниже подошвы
фундамента на элементарные слои. При однородном основании высота элементарного
слоя hi может быть принята равной 0,4b, а при неоднородном
основании, принимают hi£0,4b таким образом, чтобы одна из точек находилась на границе
двух различных по составу грунтов.
В нашем случае высота элементарного слоя hi=0,4×3,9=1,56 м.
Вертикальное напряжение от собственного веса грунта на уровне подошвы
фундамента szg 0 при планировке срезкой определится
по формуле:
szg 0=g¢d
szg 0=17*1+19,2*1,2+10,02х1,8+9,01х0,3=60,8.
Вертикальное напряжение от собственного веса грунта szg на границе слоя, расположенного на
глубине z от подошвы фундамента, определяется по формуле:
где
gi и hi
- удельный вес и толщина i-го слоя грунта.
Дополнительное вертикальное давление на основание на уровне подошвы
фундамента определяют по формуле:
p0=p-szg 0=207,1-60,8=146,3кПа,
где p - среднее давление под подошвой фундамента.
Дополнительные вертикальные нормальные напряжения на глубине z от подошвы
фундамента по вертикали, проходящей через центр подошвы фундамента, определятся
по формуле:
.
где a - коэффициент,
принимаемый по табл. 1 прил. 2 СНиП в зависимости от формы подошвы фундамента,
соотношения сторон прямоугольного фундамента h=l/b и относительной глубины x=2z/b.
Нижняя граница сжимаемой толщи основания условно находится на глубине z=Hс
там, где szp=0,2szg, если модуль деформации этого слоя
или непосредственно залегающего под этой границей больше или равен 5 МПа. Если
же E<5 МПа, то граница сжимаемой толщи определяется исходя из условия szp=0,1szg.
Таблица 6 - Расчёт осадки основания
|
ИГЭ
|
№ точки
|
zi, м
|
hi, м
|
η
|
ξ=2z/b
|
α
|
σzp, кПа
|
σzpi, кПа
|
σzg, кПа
|
0,2σzp, кПа
|
Ei, МПа
|
si, см
|
|
Суглинок (7)
|
0
|
0
|
1,56
|
1,15
|
0
|
1
|
146,3
|
|
60,8
|
12,16
|
10
|
0
|
|
1
|
1,56
|
1,56
|
1,15
|
0,8
|
0,818
|
119,7
|
133,0
|
74,83
|
15,0
|
10
|
1,66
|
|
2
|
3,12
|
1,56
|
1,15
|
1,6
|
0,48
|
70,2
|
94,95
|
88,89
|
17,78
|
10
|
1,18
|
|
3
|
4,68
|
1,56
|
1,15
|
2,4
|
0,283
|
41,4
|
55,8
|
102,95
|
20,59
|
10
|
0,7
|
|
4
|
6,24
|
1,56
|
1,15
|
3,2
|
0,179
|
26,2
|
33,8
|
117
|
23,4
|
10
|
0,42
|
|
5
|
7,8
|
1,56
|
1,15
|
4
|
0,122
|
17,9
|
22,05
|
131,1
|
26,22
|
10
|
|
|
|
|
|
|
|
|
|
|
|
|
s =
|
3,96
|
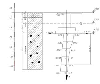
Мощность сжимаемой толщи определяется исходя из следующих условий:
· где выполняется условие σzp = 0,2σzg, Hc=6,24 м;
· не менее
при
Таким образом, мощность сжимаемой толщи составляет 6,24 м, осадка
основания s = 3,96 см<[su] = 10см. Условие выполнено.
Рисунок 7. Схема по определению осадки фундамента методом послойного
суммирования
.2.5 Расчёт стоимости строительно-монтажных работ
При расчёте технико-экономических показателей использовались укрупнённые
единичные расценки.
Особенности технического решения фундамента и производства работ:
- крепление котлована не требуется, принимается уклон откосов
1:1;
- водоотлив осуществляется из приямков;
- устраивается подстилающий слой из бетона толщиной 100 мм.
Таблица 7. - Объемы работ и
конструкций.
|
№ п/п
|
Наименование работ и
конструкций
|
Подсчёт объемов
|
|
Отдельный железобетонный
монолитный фундамент под колонну
|
|
|
Подстилающий слой из бетона
толщиной 100мм
|
|
|
Разработка грунта под
фундамент
|
|
|
Водоотлив при среднем
притоке воды, количество мокрого грунта менее 50%
|
|
Таблица 8. Стоимость работ по
устройству отдельного монолитного фундамента под сборную колонну.
|
№ п/п
|
Виды работы, элемент
конструкции
|
Ед. изм.
|
Кол-во
|
Стоимость работ, р.
|
|
|
|
|
единичная
|
общая
|
|
Разработка грунта под
фундаменты промышленных зданий при глубине котлована более 2 м, при
разработке мокрых грунтов. На каждые 0,5 м глубины заложения фундаментов
стоимость земляных работ увеличится на 10%: d=4,3 м
4,3-2=2,3 м, увеличив. 5*3,6*10%=1,8 р.; при ширине котлована более 1 м
стоимость земляных работ повышается на 7%: 3,6*7%=0,25 р.; При разработке
мокрых грунтов вводятся поправочные коэффициенты. При объеме мокрого грунта
(ниже уровня подземных вод) менее 50% от общего объема грунта Ка = 1,25:
3,6*1,25=4,5 р. 1,8+0,25+4,5=6,55 р.
|
м3
|
22,41
|
6,55
|
146,8
|
|
Водоотлив При отношении
мокрого грунта (ниже УПВ) к глубине котлована до 0,75
|
м3
|
22,41
|
1,8
|
40,3
|
|
Подстилающий слой из бетона
|
м3
|
1,755
|
34,73
|
61,0
|
|
Фундамент
|
м3
|
22,41
|
31.10
|
697,0
|
|
ИТОГО:
|
945,1
|
3.3 Фундамент на искусственном основании
Выбор материала подушки
В качестве материала для искусственного основания принимаем песок средней
крупности сложения в теле подушки.
Удельный
вес твёрдых частиц грунта принимаем
, кН/м3,
угол внутреннего трения jII=38
град.
удельный вес скелета грунта γd, кН/м3 :
17,33
кН/м3
коэффициент
пористости е:
0,523
По ГОСТ 25100-2011 песок плотный, так как е=0,52≤0,55
Удельный вес грунта подушки с учётом взвешивающего действия воды:
(26,4 -
9,8)*(1-0,343)= 10,91 кН/м3
где
- объём пор, вычисляемый по формуле:
0,343
3.3.1 Определение глубины заложения фундаментов
Аналогично п. 3.2.1 принимаем глубину заложения подошвы фундамента df=4,3 м.
.3.2 Конструирование фундамента
Определение расчётного сопротивления грунта основания
В
соответствии с табл. 1 прил. 3 [2] расчётное сопротивление принятого грунта
основания применительно к фундаменту, имеющему ширину
и глубину заложения
,
составляет
.
1. Требуемая площадь подошвы фундамента:
2. Принимаем размеры подошвы:
С
учётом рекомендуемого модуля 0,3 м размеры подошвы фундамента принимаются
равными 2,4х2,7м.
Фактическая площадь подошвы фундамента:
;
3. Давление подошвы фундамента на грунт:
4. Уточнённое значение расчётного сопротивление грунта подушки:
,
где
и d - ширина и глубина заложения подошвы фундамента;
- коэффициент, принимаемый для песчаных оснований
(кроме пылеватых песков);
-
коэффициент, принимаемый для оснований, сложенных крупнообломочными и песчаными
грунтами - 0,25;
gII’ -
расчетное значение удельного веса грунта, залегающего выше подошвы фундамента,
кН/м3.
5. Природное напряжение на уровне подошвы фундамента:
szg 0=g¢d
szg 0=17*1+19,2*1,2+10,02х1,8+9,01х0,3=60,8.
6. Дополнительное давление:
p0=p-szg 0=476,43-60,8=415,63кПа,
7. Принимаем
толщину висячей подушки
и проверяем условие прочности по грунту
на уровне кровли слабого подстилающего слоя.
- Природное напряжение на уровне низа подушки:
szg= szg 0 + γsb*hп=60,8+10,91*1,5=77,165 кПа
- Для данных размеров фундамента и толщины подушки коэффициенты
η
и ζ
определяются
η =l/b=2,7/2,4=1,125
ξ=2z/b=2*1,5/2,4=1,25
Дополнительное
вертикальное напряжение на уровне низа подушки:
,
где
- определяется в зависимости от η и ζ
- Площадь подошвы условного фундамента:
; Ширина
условного фундамента:
;
- Величина расчётного сопротивления на уровне кровли слабого
слоя:
где
- средневзвешенное значение удельных весов грунтов,
залегающих выше подошвы условного фундамента:
;
Проверка прочности:
szg+
=77,165+128,85=206,015 кПа < Rz=461,1
кПа
.3.3
Расчёт фундамента по прочности
Расчет на продавливание подошвы фундамента
Для железобетонных фундаментов строим пирамиды продавливания посредством
проведения наклонных сечений под углом 45° от основания подколонника или низа колоны в подколоннике до
пересечения с арматурой.
В каждой из пирамид рассматривается, как правило, одна наиболее
нагруженная ее грань. Расчет сводится к удовлетворению условия:
Fпр£kRpbсрh0,
где Fпр - расчетная продавливающая сила, кН;пр=1,2pAпр
;пр - часть площади подошвы фундамента, находящаяся за пределами
нижней грани пирамиды продавливания, м2;p - расчетное
сопротивление бетона при растяжении, кПа;ср - средняя линия
наклонной грани (трапеции);
0 - высота пирамиды
продавливания, считая от арматуры, или полезная высота фундамента, м;-
коэффициент, принимаемый для тяжелых бетонов равным 1.
Проектируется фундамент стаканного типа из бетона класса B12.5.
Характеристики
бетона:
при эксплуатации бетона в условиях высокой влажности.
;
.
Расчёт на продавливание.
Продавливающая сила:
,
где
= 0,5- часть площади подошвы фундамента, находящаяся
за пределами нижней грани пирамиды продавливания (определено из чертежа),
= 476,43 - реактивное давление грунта от нагрузок 2
группы предельных состояний. Проверка прочности на продавливание:
,
где
- коэффициент, принимаемый для тяжёлых бетонов равным
1.0,
- средняя линия наклонной грани пирамиды
продавливания,
= 550 мм - полезная высота сечения, принятая при
толщине защитного слоя 50 мм.
Расчёт на действие поперечной силы можно не производить, поскольку
выполняется условие:
Рисунок 6. Расчётная схема для расчёта на продавливание.
Расчёт производится аналогично приведённому в п. 3.2.4.
В нашем случае высота элементарного
слоя hi=0,4×2,4=0,96 м.
Таблица 9. - Расчёт осадки фундамента
|
ИГЭ
|
№ точки
|
zi, м
|
hi, м
|
η
|
ξ=2z/b
|
α
|
σzp, кПа
|
σzpi, кПа
|
σzg, кПа
|
0,2σzp, кПа
|
Ei, МПа
|
si, см
|
|
Грунт подушки
|
0
|
0
|
0
|
1,125
|
0
|
0
|
415,63
|
-
|
60,8
|
12,16
|
40
|
-
|
|
1
|
0,96
|
0,96
|
1,125
|
0,8
|
0,815
|
338,7
|
377,2
|
71,3
|
14,26
|
40
|
0,72
|
|
2
|
1,5
|
0,54
|
1,125
|
1,25
|
0,61
|
253,5
|
296,1
|
77,2
|
15,4
|
40
|
0,32
|
|
Суглинок (7)
|
3
|
2,46
|
0,96
|
1,125
|
2,05
|
0,35
|
145,5
|
199,5
|
85,8
|
17,2
|
10
|
1,53
|
|
4
|
3,42
|
0,96
|
1,125
|
2,85
|
0,21
|
87,3
|
116,4
|
94,5
|
18,9
|
10
|
0,89
|
|
5
|
4,38
|
0,96
|
1,125
|
3,65
|
0,14
|
58,2
|
72,8
|
103,1
|
20,62
|
10
|
0,56
|
|
6
|
5,34
|
0,96
|
1,125
|
4,45
|
0,099
|
41,1
|
49,7
|
111,8
|
22,36
|
10
|
0,38
|
|
7
|
6,3
|
0,96
|
1,125
|
5,25
|
0,074
|
30,8
|
36,0
|
120,4
|
24,1
|
10
|
0,28
|
|
8
|
7,26
|
0,96
|
1,125
|
6,05
|
0,056
|
23,3
|
27,1
|
129,1
|
25,82
|
10
|
0,21
|
|
9
|
8,22
|
0,96
|
1,125
|
6,85
|
0,044
|
18,3
|
20,8
|
137,7
|
27,54
|
10
|
|
|
|
|
|
|
|
|
|
|
|
|
s =
|
4,89
|
Проверка осадки фундамента:
S= 4,89 см < Su = 10 см,
где
- допускаемая осадка для здания с железобетонным
каркасом.
Мощность
сжимаемой толщи составляет Hc=7,26 м
Рисунок
7. Схема по определению осадки фундамента на искусственном основании методом
послойного суммирования
.3.5 Расчёт стоимости строительно-монтажных работ
Таблица
11. Объёмы работ и конструкций
|
№ п/п
|
Наименование работ и
конструкций
|
Подсчёт объёмов
|
|
Отдельный железобетонный
монолитный фундамент под колонну
|
|
|
Песчаная подушка
|
|
|
Разработка грунта под
фундамент
|
|
|
Водоотлив при среднем
притоке воды, количество мокрого грунта менее 50%
|
|
Таблица
12. Стоимость работ по устройству отдельного фундамента на песчаной подушке под
сборную колонну
|
№ п/п
|
Виды работы, элемент
конструкции
|
Ед. изм.
|
Кол-во
|
Стоимость работ, р.
|
|
|
|
|
единичная
|
общая
|
|
Фундамент
|
м3
|
13,56
|
31,10
|
421,72
|
|
Песчаная подушка
|
м3
|
74,52
|
7,2
|
536,54
|
|
Разработка грунта под
фундаменты промышленных зданий при глубине котлована более 2 м, при
разработке мокрых грунтов. На каждые 0,5 м глубины заложения фундаментов
стоимость земляных работ увеличится на 10%: d=4,3 м
4-2=2,3 м, увеличив. 5*3,6*10%=1,8, р. При разработке мокрых грунтов вводятся
поправочные коэффициенты. При объеме мокрого грунта (ниже уровня подземных
вод) менее 50 % от общего объема грунта Ка = 1,25: 3,6*1,25=4,5 р.
4,5+1,8+3,6=9,9
|
м3
|
18,3
|
9,9
|
181,17
|
|
Водоотлив При отношении
мокрого грунта (ниже УПВ) к глубине котлована до 0,75
|
м3
|
13,41
|
1,8
|
24,14
|
|
ИТОГО:
|
1163,57
|
.4 Свайный фундамент
.4.1 Определение глубины заложения ростверка
Подошву ростверка располагаем ниже расчётной глубины промерзания,
определённой в п. 3.2.1. Следовательно, глубина заложения ростверка составит:
.
Выбор типа, длины и марки сваи
Поскольку грунты, в которые будет погружаться свая относятся к сжимаемым,
то по характеру статической работы данную сваю можно отнести к висячим сваям.
Заделку
сваи в ростверк принимаем равной
.
В
качестве несущего слоя грунта принимаем слой - суглинок (7).
Длина
сваи определяется:
,
где
- мощности прорезаемых слоёв грунта, расположенных
выше несущего;
- величина заделки сваи в несущий слой.
Руководствуясь табл. 9.1 [3] принимаем сваю С13-40. Размеры поперечного
сечения данной сваи: 400×400, длина: 13 м, марка бетона: B25, сечение продольной арматуры: 8Ø16 класса А-I.
.4.2 Расчёт несущей способности свай
1. По материалу сваи:
где
- коэффициент условий работы сваи, принимаемый при
размере поперечного сечения сваи
равным
1,0;
- коэффициент продольного изгиба, при низком
ростверке равен 1,0;
- коэффициент условий работы бетона, равный 1,0 для
забивных свай;
- расчётное сопротивление сжатию бетона сваи;
- площадь поперечного сечения сваи;
- расчётное сопротивление арматуры на сжатие;
- площадь поперечного сечения арматуры.
По
грунту:
где
- расчетное сопротивление грунта под нижним концом
сваи; определяется по табл. 1 СНиП 2.02.03-85 «Свайные фундаменты»;
- площадь поперечного сечения сваи;
- периметр поперечного сечения сваи;
- расчётное сопротивление грунта по боковой
поверхности сваи, определяется по табл. 2 СНиП 2.02.03-85 «Свайные фундаменты»;
- толщина слоя грунта, соприкасающегося с боковой
поверхностью;
,
-
коэффициенты условий работы грунта под нижним концом и по боковой поверхности
сваи - по табл. 3 (принимаем погружение свай дизельными молотами).
Несущая
способность сваи определяется:
где
- коэффициент надёжности, зависящий от способа
определения несущей способности сваи (для расчётного метода равен 1.4).
Рисунок 8. Схема к определению несущей способности сваи по грунту
.4.3 Конструирование свайного фундамента
Минимальное расстояние между осями висячих свай в кусте принимается не
менее 3d. Расстояние в свету от края сваи до
края ростверка должно быть не менее 10 см. При центрально нагруженном
фундаменте верхние концы железобетонных свай заделываются в ростверк на 5 см.
Ростверки армируются в соответствии с расчетом. Поверху свай обычно
укладывается арматурная сетка. Габаритные размеры ростверка в плане кратны 0,3
м, по высоте - 0,15 м, что позволяет использовать унифицированные опалубки для
ростверка.
Условное давление под подошвой ростверка:
.
где d=0,4 м - диаметр или поперечная сторона
сваи.
Ориентировочная площадь подошвы ростверка:
.
где
- глубина заложения ростверка.
-
средний удельный вес материала ростверка и грунта на его ступенях.
-
коэффициент перегрузки.
Приближённый вес ростверка и грунта на его уступах:
.
Требуемое число свай:
Следовательно, принимаем 8 свай.
Проверка давления на сваю
Уточняем вес ростверка:
.
Уточняем вес грунта на уступах ростверка:
Проверка давления на сваю:
.
.4.4 Расчёт ростверка по прочности
1. Ростверк конструируется из бетона класса прочности B25 Характеристики бетона:
при
эксплуатации бетона в условиях высокой влажности в соответствии с табл. 15 [4];
;
.
2. Расчёт на продавливание колонной не требуется, поскольку под
горизонтальной проекцией подколонника размещены сваи.
3. Проверка прочности на продавливание угловой сваи
где
,
, b03 - расстояния от внутренних граней угловой сваи до
наружных граней ростверка;
,
- расстояния от плоскостей внутренних граней свай до
ближайшей грани подколонника;
-
коэффициенты, принимаемые по табл. 9.9[3] при
h0 - рабочая высота нижней ступени (расстояние до верха
свай).
4. Проверка прочности наклонных сечений ростверка:,
где
- сумма расчётных усилий всех свай, находящихся за
пределами наклонного сечения;
-
коэффициент, принимаемый по табл. 4 [1] при
;
- ширина подошвы ростверка;
- рабочая высота ростверка (принимается защитный слой
бетона 35 мм).
5. Проверка прочности на местное смятие под торцом сваи:
где
- коэффициент, зависящий от характера распределения
местной нагрузки по площади смятия;
-
расчётное сопротивление бетона смятию; Аloc -
площадь смятия (поперечного сечения колонны).
Рисунок 9. Конструкция ростверка
3.4.5 Расчёт свайного фундамента по
деформациям
Осреднённое значение угла внутреннего трения в пределах длины сваи:
Соответственно, угол α определится:
. Определяем bусл и lусл:
где а1 и а2 - расстояния между внешними гранями
крайних свай;
L -
длина сваи от подошвы ростверка до пяты.
- площадь условного фундамента.
Средняя
интенсивность давления по подошве условного фундамента от нагрузок, учитываемых
при расчете по деформациям:
должно
быть
R - расчетное
сопротивление грунта на уровне подошвы условного фундамента, кПа.
R=1*[0,39*1*4,78*18,5+2,57*10,25*11,16+5,15*12]=390,27
кН
Требование
п. 2.41 СНиП 2.02.01-83 удовлетворено.
Природное
давление на уровне подошвы условного фундамента:
Дополнительное
давление по подошве условного фундамента:
Вычисляем
природное и дополнительные напряжения в основании:
;
.
Таблица 13. - Расчёт осадки свайного
фундамента.
|
ИГЭ
|
№ точки
|
zi, м
|
hi, м
|
η=l/b
|
ξ=2z/b
|
α
|
σzp, кПа
|
σzpi, кПа
|
σzg, кПа
|
0,2σzp, кПа
|
Ei, МПа
|
si, см
|
|
Суглинок (7)
|
0
|
0
|
1,84
|
1,0
|
0
|
1
|
113,6
|
|
177,5
|
35,5
|
10
|
0
|
|
1
|
1,84
|
1,84
|
1,0
|
0,8
|
0,8
|
90,9
|
102,2
|
196,2
|
39,24
|
10
|
1,5
|
|
2
|
3,68
|
1,84
|
1,0
|
1,6
|
0,449
|
51,0
|
70,95
|
214,72
|
42,94
|
10
|
1,04
|
|
3
|
5,52
|
1,84
|
1,0
|
2,4
|
0,257
|
29,2
|
40,1
|
233,1
|
46,62
|
|
|
|
4
|
7,36
|
1,84
|
1,0
|
3,2
|
0,16
|
18,2
|
23,7
|
251,3
|
|
|
|
|
5
|
9,2
|
1,84
|
1,0
|
4
|
0,108
|
15,25
|
269,4
|
|
|
|
|
|
|
|
|
|
|
|
|
|
|
s =
|
2,54
|
Мощность сжимаемого слоя Нс=3,68 м.
Проверка
осадки фундамента: S=2,54 см < Su = 10 см,
где
- допускаемая осадка для здания с железобетонным
каркасом.
Рисунок 10. Схема к определению осадок свайного фундамента
3.4.6 Расчёт стоимости
строительно-монтажных работ
Таблица 14. - Объёмы работ и
конструкций
|
№ п/п
|
Наименование работ и
конструкций
|
Подсчёт объемов
|
|
1
|
Железобетонные забивные
сваи
|
|
|
2
|
Монолитный железобетонный
ростверк
|
|
|
3
|
Земляные работы
|
|
Таблица 15. - Стоимость работ по
устройству отдельного свайного фундамента под сборную колонну
|
№ п/п
|
Виды работы, элемент
конструкции
|
Ед. изм.
|
Кол-во
|
Стоимость работ, р.
|
|
|
|
|
единичная
|
общая
|
|
1
|
Установка свай
|
м3
|
16,64
|
88,4
|
1471
|
|
2
|
Устройство ростверка
|
м3
|
9,22
|
31,10
|
286,6
|
|
3
|
Разработка грунта
|
м3
|
9,22
|
3,6
|
33,2
|
|
ИТОГО:
|
1790,8
|
4. РАСЧЕТ И ПРОЕКТИРОВАНИЕ
ВЫБРАННОГО ВАРИАНТА ФУНДАМЕНТА
По результатам технико-экономического
сравнения стоимости разных вариантов фундаментов установлено, что наиболее
экономичным вариантом является фундамент на естественном основании.
Расчет фундамента на продавливание выполнен на стадии выбора варианта,
поэтому для остальных фундаментов этот расчет не проводим.
Абсолютную осадку следует определять только для одного фундамента № 4,
менее нагруженного и расположенного рядом с фундаментом, рассчитанным при
выборе варианта (№2), с тем, чтобы вычислить относительную разность осадок и
сравнить ее с предельно допустимой для проектируемого сооружения ((Δs/L)u=0,002.)
Таблица 16. - Расчётные значения нагрузок на обрез фундамента
|
№ фундамента
|
Размер несущей конструкции
(колонны/стены), мм
|
1-е сочетание
|
2-е сочетание
|
|
|
NII, кН
|
MII, кН*м
|
ТII, кН
|
NII, кН
|
MII, кН*м
|
ТII, кН
|
|
1
|
600х400
|
1400
|
-140
|
-20
|
1780
|
-178
|
22
|
|
2
|
600х400
|
2270
|
90302530 14431
|
|
|
|
|
|
3
|
600х400
|
1820
|
180
|
35
|
2100
|
220
|
37
|
|
4
|
400х400
|
620
|
50
|
-
|
730
|
56
|
-
|
.1 Конструирование фундамента
4.1.1 Фундамент №1
Расчётное сопротивление грунтов
основания в уровне глубины заложения фундамента: R=1*[0,39*1*1*18,5+2,57*4,3*14,13+5,15*12]=225,17 кПа
1. Требуемая площадь подошвы фундамента:
где
NII - продольное усилие в уровне обреза фундамента;
R - расчётное
сопротивление грунтов основания;
γm -
средневзвешенное значение удельного веса материала фундамента и грунта на его
уступах, принимаемое равным 20 кН/м3;
df -
глубина заложения подошвы фундамента.
2. Коэффициент соотношения ширины и длины подошвы фундамента
принимается равным 1,2, тогда ширина подошвы фундамента равна:
С
учётом рекомендуемого модуля 0,3 м размеры подошвы фундамента принимаются
равными 3,3х3,9 м.
3. Расчётное сопротивление грунтов основания:
R=1*[0,39*1*3,3*18,5+2,57*4,3*14,13+5,15*12]=241,8 кПа
. Давление по подошве
фундамента:
где
M - момент в уровне подошвы фундамента от внешних
нагрузок;
W - момент
сопротивления подошвы фундамента;
-
условие выполнено.
В
соответствии с п. 5.6.27 СП 22.13330.2011 для фундаментов колонн зданий с
мостовыми кранами грузоподъёмностью более 75 т соотношение краевых давлений
должно превышать 0,25.
-
условие выполнено.
5. Определение собственного веса фундамента:
,
где
Vф - объем фундамента, м3;
gжб - удельный вес железобетона, равный 25 кН/м3.
;
.
Вес
грунта, находящегося на ступенях фундамента:
где
Vгр - объем грунта, находящегося на ступенях фундамента, м3;
g¢II - удельный вес грунта, находящегося на ступенях
фундамента, кН/м3 (gII=20,5 кН/м3 удельный вес грунта засыпки).
Определение среднего давления р по подошве фундамента и сравнение его с
расчетным сопротивлением грунта основания
R:
Рисунок 11. Конструкция фундамента №1
.1.2 Фундамент №3
. Расчётное сопротивление
грунтов основания в уровне глубины заложения фундамента:
R=1*[0,39*1*1*18,5+2,57*4,3*14,13+5,15*12]=225,17 кПа
2. Требуемая площадь подошвы фундамента:
где
NII - продольное усилие в уровне обреза фундамента;
R - расчётное
сопротивление грунтов основания;
γm -
средневзвешенное значение удельного веса материала фундамента и грунта на его
уступах, принимаемое равным 20 кН/м3;
df -
глубина заложения подошвы фундамента.
3. Коэффициент соотношения ширины и длины подошвы фундамента
принимается равным 1,2, тогда ширина подошвы фундамента равна:
С
учётом рекомендуемого модуля 0,3 м размеры подошвы фундамента принимаются
равными 3,6х4,2 м.
4. Расчётное сопротивление грунтов основания:
R=1*[0,39*1*3,6*18,5+2,57*4,3*14,13+5,15*12]=243,92 кПа
. Давление по подошве
фундамента:
где
M - момент в уровне подошвы фундамента от внешних
нагрузок;
W - момент
сопротивления подошвы фундамента;
-
условие выполнено.
В
соответствии с п. 5.6.27 СП 22.13330.2011 для фундаментов колонн зданий с
мостовыми кранами грузоподъёмностью более 75 т соотношение краевых давлений
должно превышать 0,25.
-
условие выполнено.
6. Определение собственного веса фундамента:
,
где
Vф - объем фундамента, м3;
gжб - удельный вес железобетона, равный 25 кН/м3.
;
.
Вес
грунта, находящегося на ступенях фундамента:
где
Vгр - объем грунта, находящегося на ступенях фундамента, м3;
g¢II - удельный вес грунта, находящегося на ступенях
фундамента, кН/м3 (gII=20,5 кН/м3 удельный вес грунта засыпки).
Определение среднего давления р по подошве фундамента и сравнение его с
расчетным сопротивлением грунта основания
R:
Рисунок 12. Конструкция фундамента №3
.1.3 Фундамент №4
. Расчётное сопротивление
грунтов основания в уровне глубины заложения фундамента:
R=1*[0,39*1*1*18,5+2,57*4,3*14,13+5,15*12]=225,17 кПа
2. Требуемая площадь подошвы фундамента:
где
NII - продольное усилие в уровне обреза фундамента;
R - расчётное
сопротивление грунтов основания;
γm -
средневзвешенное значение удельного веса материала фундамента и грунта на его
уступах, принимаемое равным 20 кН/м3;
df -
глубина заложения подошвы фундамента.
3. Коэффициент соотношения ширины и длины подошвы фундамента
принимается равным 1,2, тогда ширина подошвы фундамента равна:
С
учётом рекомендуемого модуля 0,3 м размеры подошвы фундамента принимаются
равными 2,1х2,7 м.
4. Расчётное сопротивление грунтов основания:
R=1*[0,39*1*2,1*18,5+2,57*4,3*14,13+5,15*12]=233,1 кПа
. Давление по подошве
фундамента:
где
M - момент в уровне подошвы фундамента от внешних
нагрузок;
W - момент
сопротивления подошвы фундамента;
-
условие выполнено.
В
соответствии с п. 5.6.27 СП 22.13330.2011 для фундаментов колонн зданий с
мостовыми кранами грузоподъёмностью более 75 т соотношение краевых давлений
должно превышать 0,25.
-
условие выполнено.
6. Определение собственного веса фундамента:
,
где
Vф - объем фундамента, м3;
gжб - удельный вес железобетона, равный 25 кН/м3.
;
.
Вес
грунта, находящегося на ступенях фундамента:
где
Vгр - объем грунта, находящегося на ступенях фундамента, м3;
g¢II - удельный вес грунта, находящегося на ступенях
фундамента, кН/м3 (gII=20,5 кН/м3 удельный вес грунта засыпки).
Определение среднего давления р по подошве фундамента и сравнение его с
расчетным сопротивлением грунта основания
R:
Рисунок 13. Конструкция фундамента №4
7. Расчёт фундамента по деформациям
Высота элементарного слоя hi=0,4×2,1=0,84 м.
szg 0=17*1+19,2*1,2+10,02х1,8+9,01х0,3=60,8.
p0=p-szg 0=188,3-60,8=127,5кПа,
Таблица 17 - Расчёт осадки основания
|
ИГЭ
|
№ точки
|
zi, м
|
hi, м
|
η
|
ξ=2z/b
|
α
|
σzp, кПа
|
σzpi, кПа
|
σzg, кПа
|
0,2σzp, кПа
|
Ei, МПа
|
si, см
|
|
Суглинок (7)
|
0
|
0
|
0,84
|
1,3
|
0
|
1
|
127,5
|
|
60,8
|
12,16
|
10
|
0
|
|
1
|
0,84
|
0,84
|
1,3
|
0,8
|
0,836
|
106,6
|
117,05
|
68,4
|
13,68
|
10
|
0,79
|
|
2
|
1,68
|
0,84
|
1,3
|
1,6
|
0,511
|
65,2
|
85,9
|
75,94
|
15,2
|
10
|
0,58
|
|
3
|
2,52
|
0,84
|
1,3
|
2,4
|
0,308
|
39,3
|
52,25
|
83,51
|
16,7
|
10
|
0,25
|
|
4
|
3,36
|
0,84
|
1,3
|
3,2
|
0,198
|
25,2
|
32,25
|
91,1
|
18,22
|
10
|
0,22
|
|
5
|
4,2
|
0,84
|
1,3
|
4
|
0,136
|
17,34
|
21,27
|
98,64
|
19,73
|
10
|
0,14
|
|
6
|
5,04
|
0,84
|
1,3
|
4,8
|
0,098
|
12,5
|
14,92
|
106,2
|
21,2
|
10
|
|
|
|
|
|
|
|
|
|
|
|
|
s =
|
1,98
|
Мощность сжимаемой толщи составляет 4,2 м, осадка основания s = 1,98 см<[su] = 10см.
Условие выполнено.
5. ЗАЩИТА ПОДВАЛЬНЫХ ПОМЕЩЕНИЙ ОТ ПОДЗЕМНЫХ ВОД И СЫРОСТИ
Уровень грунтовых вод находится выше глубины заложения фундаментов, а так
как во второстепенной части здания имеется подвал, то возникает необходимость в
устройстве гидроизоляции и пригрузочной железобетонной плиты пола подвала, для
уравновешивания гидростатического давления воды, возникающего вследствие
водопонижения.
-толщина
плиты пола,
гидростатический
напор (расстояние от пола подвала до уровня грунтовых вод),
-удельный
вес железобетона,
-удельный
вес воды.
Рисунок
14. Схема гидроизоляции фундаментов и подвального помещения
6. РЕКОМЕНДАЦИИ ПО
ПРОИЗВОДСТВУ РАБОТ
Перед началом установки фундамента на естественном основании нужно
подготовить территорию.
Земляные работы включают подготовительные, вспомогательные и основные
работы (процессы). К подготовительным относятся: подготовка территории (валка
деревьев, корчевка пней, уборка камня, камня, срезка кустарников, снос строений
и др.); обеспечение водоотвода и осушение территории; геодезическая разбивка,
прокладка дорог.
К вспомогательным работам относятся: устройство временных креплений
котлованов и траншей, водоотлив, понижение уровня грунтовых вод, искусственное
закрепление слабых грунтов.
Основными процессами в комплексе земляных работ являются отрывка
котлованов и траншей, планировка площадок, отсыпка насыпей с уплотнением
грунтов, транспортирование грунта в отвал, подчистка и планировка дна
котлованов, отделка откосов.
Детальная разбивка котлованов или отрывка грунта под отдельно стоящие
фундаменты делается на основании рабочих чертежей подземной части здания после
геодезической разбивки и закрепления реперами или рисками на соседних зданиях
его основных осей и проектных горизонтов.
Водоотвод поверхностных сточных вод осуществляется во избежание
обводнения строительной площадки. Для этого необходимо обеспечить перехват этих
вод до поступления их на строительную площадку, ускорить сток «своих» вод. Для
этого необходимо устраивать по возможности дренажи. Для ускорения стока «своих»
вод площадке при вертикальной планировке придается соответствующий уклон и
устраивается сеть открытого или закрытого водостока (зумпфы) стенки которых при
необходимости укрепляются деревянным коробом с фильтрующей обсыпкой, и
производится откачка воды, откачивания воды применяются центробежные и
самовсасывающие центробежные насосы. Для предотвращения затопления котлованов и
траншей, являющихся искусственными водосборниками, к которым активно начинает
притекать вода во время дождей и таяния снега, их необходимо защищать
водоотводными канавами с нагорной стороны и оградительными обвалованиями, а
также надлежащей планировкой территории, прилегающей к выемке.
В открытых выемках необходимо сразу же возводить фундаменты, и вслед за
этим незамедлительно произвести обратную засыпку пазух фундаментов или траншей
с тщательным уплотнением.
Растительный слой необходимо срезать лишь в местах, предусмотренных
проектом, и непосредственно при выполнении планировочных работ, так как не
защищенный растительным слоем (дерном) грунт усиленно впитывает воду и
увлажняется. Излишки грунта следует своевременно вывозить со строительной
площадки.
Устройство креплений стенок котлована можно не производить, в данном случае
можно сделать откос. При рытье котлована используют одноковшовый экскаватор
обратной лопатой. Разработку котлована ведут лобовой проходкой с применением
транспортного средства. Территория разбивается на захватки. На первой захватке
после окончания разработки грунта зачищать дно котлована с помощью бульдозера
или вручную под отдельно стоящие фундаменты и в последующей работе монтировать
фундаменты, и одновременно с монтажом отрывать грунт под отдельно стоящие
фундаменты на второй захватке. Часть грунта отвозят на автосамосвалах.
Оставшийся грунт грузится в кавальер для обратной засыпки.
Укладка и уплотнения грунтов выполняют при планировочных работах,
возведении различных насыпей, обратных засыпках пазухах фундаментов. Для
получения наибольшей плотности уложенного грунта, наименьшей фильтрационной
способности и уменьшения последующей осадки его укладывают и уплотняют с
соблюдением определенных технологических требований. Основным параметром,
характеризующим процесс уплотнения грунта, является принятие трамбовочного
оборудования и зависящим от рода уплотняемого грунта. Наиболее трудным является
уплотнение грунта при обратной засыпке пазух фундаментов или траншей, так как
работы ведет в стеснённых условиях. В этом случаях грунт на ширину 0,8 м от
фундамента уплотняют слоями 15……20 см пневматическими и электрическими
трамбовками, а верхний слой - более производительными малогабаритными катками.
Уплотнения грунта производится с помощью трамбовочной машины.
фундамент эпюра строительный монтажный
СПИСОК ИСПОЛЬЗОВАННОЙ ЛИТЕРАТУРЫ
Ласточкин
В.С. Механика грунтов. Основания и фундаменты. (II): м/у по выполнению курсового проекта, Л. 1985;
Карлов В.Д.,
Мангушев Р.А. Основания и фундаменты: Методические указания по изучению
дисциплины и выполнению курсового проекта, СПб., 2003;
Далматов Б.И.
Проектирование фундаментов зданий и подземных сооружений: учебное пособие,
СПб.: СПбГАСУ, 2001;
СНиП
2.02.01-83* «Основания зданий и сооружений»;
СНиП
2.02.03-85 «Свайные фундаменты»;
СП
24.13330.2011 «Свайные фундаменты»;
СНиП
2.03.01-84 Бетонные и железобетонные конструкции.