Визначення показників техногенно-екологічної безпеки при роботі статичних начіпних розпушувачів

  • Вид работы:
    Реферат
  • Предмет:
    Строительство
  • Язык:
    Украинский
    ,
    Формат файла:
    MS Word
    763,82 Кб
  • Опубликовано:
    2016-02-18
Вы можете узнать стоимость помощи в написании студенческой работы.
Помощь в написании работы, которую точно примут!

Визначення показників техногенно-екологічної безпеки при роботі статичних начіпних розпушувачів

Міністерство освіти і науки України

Київський національний університет будівництва та архітектури











Реферат

З предмету:

Техногенно-екологічна безпека будівельних робіт

На тему:

Визначення показників техногенно-екологічної безпеки при роботі статичних начіпних розпушувачів







Київ 2015

Призначення розпушувачів

Будь-який будівельний процес починається з виконання земляних робіт, тобто розробки ґрунту. Так, для влаштування основ або фундаментів будь-якої будівлі чи споруди риють котловани необхідних розмірів і глибини, а для прокладки зовнішніх мереж трубопроводів - траншеї. Іноді, для влаштування таких споруд, як греблі, дамби або дороги, влаштовують насипи. Всі вони по суті є земляними спорудами, які за тривалістю служби можуть бути тимчасовими (влаштовуються тільки на період будівництва будівель, споруд, мереж трубопроводів, а потім засипаються ґрунтом) і постійними (розраховані на тривалий термін експлуатації). Земляні роботи по своїй питомій вазі в загальних обсягах будівельних робіт є найбільш масовими і трудомісткими, тому впоратися з ними ручними способами не є можливим. При їх виконанні вкрай необхідні механізовані способи робіт шляхом застосування спеціальних землерийних машин.

Землерийні машини, призначені для виконання своєї основної функції - відділення ґрунту від масиву. Однією з таких машин являються розпушувачі.

Розпушення ґрунтів для подальшої розробки землерийними і землерийно-транспортними машинами здійснюють спеціалізованими машинами-розпушувачами і бульдозерами-розпушувачами. Більш поширені бульдозери-розпушувачі, тому що вони не тільки розробляють верхній шар ґрунту, але й переміщують його, готуючи таким чином фронт робіт для розпушення наступного шару.

Розпушувачем називається машина з навісним або причіпним робочим обладнанням у вигляді рами з зубцями для пошарового руйнування і відокремлення шматків ґрунту від масиву. Розпушувачі використовуються, як правило, для ґрунтів, які безпосередньо не можуть розроблятись землерийними або землерийно-транспортними машинами з повним використанням їх продуктивності. В порівнянні з вибуховим розпушенням напівскельних і мерзлих ґрунтів, використання цих машин дозволяє знизити вартість земляних робіт майже вдвічі.

Розпушувачі використовуються в дорожньому будівництві, в кар’єрах по добуванню сировини для будівельних матеріалів, при розробці мерзлих ґрунтів, для видалення з ґрунту каменів і пеньків, демонтування дорожніх покриттів, при ритті котлованів і широких траншей, при улаштуванні виїмок в гідротехнічному будівництві, розробці мерзлих розсипів корисних копалин, проведенні розкривних робіт.

Класифікація розпушувачів

Розрізняють розпушувачі основні і допоміжні. Основні розпушувачі виготовляють як навісне обладнання до гусеничних або пневмоколісних тракторів, а допоміжні агрегатують з основним обладнанням ЗТМ і навантажувачів для розпушування щільних ґрунтів або матеріалів, які злежалися. Допоміжні розпушувачі дозволяють підвищити продуктивність і розширити сферу застосування основного обладнання. Останнім часом розпушувальним обладнанням оснащують універсальні будівельні гідравлічні екскаватори. У будівництві застосовують також бульдозерно-розпушувальні агрегати, у яких використовують як бульдозерне, так і розпушувальне робоче обладнання. Ефективність роботи основних розпушувачів залежить від тягово-зчіпних властивостей базових тракторів. Найбільш вигідно їх використовувати для розробки багаторічно мерзлих ґрунтів, потрісканих і вивітрених шаруватих або низькоміцних гірських порід (сланців, ракушняків, бурого вугілля, апатитів, фосфоритів, пісковиків, легких і середніх вапняків і т.п.).

Розпушувачі класифікують за призначенням, способом переміщення, потужністю тягача і конструктивними ознаками.

         За призначенням розрізняють розпушувачі загального призначення і спеціальні (перші розпушують ґрунт на глибину до 1 м, а другі - до 2 м).

         По способу переміщення розпушувачі бувають причіпні і навісні;

         По ходовому обладнанню - гусеничні і колісні;

         По механізму керування - гідравлічні і канатні;

         По потужності тягача - легкі, середні, великої потужності і надпотужні.

До легких відносяться розпушувачі з потужністю двигуна тягача до 55 кВт, до середніх - 55…100 кВт; до розпушувачів великої потужності - 110…220 кВт і до надпотужних - більше 220 кВт. Номінальне тягове зусилля базової машини складає, відповідно, до 135; 135…200; 200…300 і більше 300 кН;

         За конструктивними ознаками розпушувачі поділяються статичні і динамічні.

Розпушувачі статичної дії - це машини з навісним чи причіпним пасивним робочим органом у вигляді одного або кількох зубів. Розробка ґрунтів і порід цими машинами високопродуктивна і економічна, а їх конструкція досить проста. Все це обумовило широке застосування розпушувачів статичної дії в господарстві.

Конструкція розпушувачів статичної дії

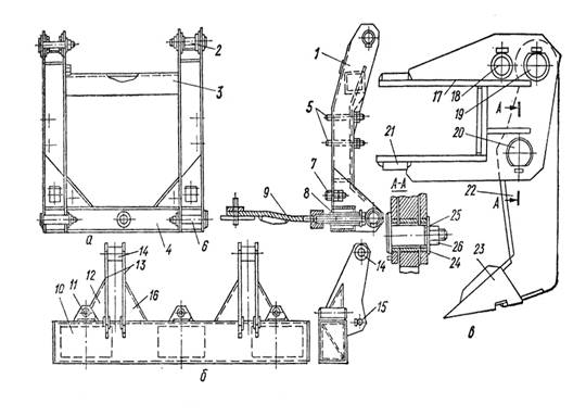
У причіпного розпушувача основним елементом конструкції (рис. 1 а) являється тягова рама 8. В її передній частині знаходиться зчіпний пристрій 9 для з‘єднання з тягачем 11, а в задній - баласт 4. До неї ж прикріплені зуби 5 зі зйомними наконечниками 6. Тягова рама шарнірно з‘єднана з підйомною рамою 3, яка опирається на піввісь коліс 7. Для переводу в транспортне положення або зменшення глибини розпушення тягова рама з зубами піднімається лебідкою 1 і поліспастом 2. Опускання тягової рами і заглиблення в ґрунт зубів відбувається під дією сил тяжіння при розгальмованій лебідці, яка приводиться в дію від валу відбору потужності 10.

Навісні розпушувачі статичної дії (рис.1 б-е) складаються з базової машини 12, робочого органу 14, підвіски і системи керування. Система керування, як правило, гідравлічна; підіймання і опускання рами 15 розпушувача, до якої кріпляться зуби, відбувається гідроциліндрами 13.

В порівнянні з причіпними навісні розпушувачі мають ряд переваг: меншу масу, так як для заглиблення зубів використовується сила ваги тягача; просту конструкцію, більшу маневреність і стійкість. Причіпні розпушувачі нині використовуються вже рідко.

Існує декілька типів підвісок навісних розпушувачів:

-        триточкова, з кріпленням внутрішньої рами 15 до корпусу заднього моста трактора (рис. 1 б);

Рисунок 1. Схеми розпушувачів

         три точкова з кріпленням охоплюючої рами 15 розпушувача до рам гусеничних візків чи корпусу базового трактора (рис. 1 в);

-        чотириточкова (паралелограмна), з кріпленням внутрішньої рами 15 до корпусу заднього моста базової машини (рис 1 г);

         чотириточкова з кріпленням внутрішньої рами 15 до заднього моста за допомогою додаткової охоплюючої рами 16 (рис 1 д);

         триточкова, з охоплюючою універсальною рамою 17 (рис. 1 е).

У випадку кріплення рами розпушувача до рам гусеничних візків або корпусу базового трактора кут різання зубів при зміні глибини розпушування міняється незначно, корпус заднього моста навантажений мало, зусилля в штоках гідроциліндрів порівняно невелике. Рама охоплюю чого типу забезпечує хорошу стійкість розпушувача в поперечному напряму і може бути легко перелаштована для роботи з штовхачем, однак дещо ускладнюється прохід ґрунту під поперечиною рами, підвіска має порівняно велику масу і тому використовується тільки в спеціальних розпушувачах.

При три точковому закріпленні рами розпушувача до корпусу заднього моста кут різання зубів змінюється більше, знижується поперечна стійкість машини, зростають навантаження в шарнірах і штоках гідроциліндрів. Але, завдяки простоті конструкції і порівняно невеликій масі, такий тип підвіски використовується на всіх типах розпушувачів.

При паралелограм ній підвісці рами розпушувача кут різання не залежить від заглиблення зубів, довжина поперечної балки рами може бути менше ширини трактора. Цей тип підвіски дає можливість легко встановлювати бокові зуби для роботи біля стіни. Однак, конструкція має більше число шарнірів, меншу поперечну стійкість і більше навантаження на корпус заднього моста машини, ніж при інших типах підвісок. Зберігаючи постійний кут різання, паралелограмна підвіска все більше використовується , особливо в потужних і надпотужних машинах.

Універсальні охоплюючи рами використовують в легких розпушувачах. Їх штовхаючі бруски разом з гідроциліндрами можуть використовуватися для переднього і заднього навісного обладнання.

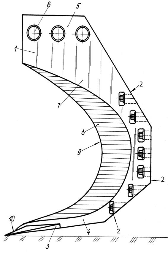
Рис. 2 Елементи конструкції розпушувача

а - стійка; б - рама; в - башмак з зубом.

На рисунку 2 показані елементи конструкції розпушувача, виконаного за схемою, зображеною на рисунку 1, б.

Стійка (рис. 2 а) слугує для з‘єднання рами розпушувача з корпусом заднього моста. Вона складається з дох вертикальних балок 1 і двох горизонтальних балок 3 і 4 коробчастого перерізу. За допомогою шпильок 5 і 7, а також причіпної сережки 9 з болтом 8 стійка кріпиться до корпусу заднього моста трактора. Пальцями 2 стійка з‘єднана з гідроциліндрами, а пальцями 6 - з рамою розпушувача.

Рама (рис. 2 б) складається із зварної балки 10 зі щоками 13 і провушинами 11. Всередині балка підсилена діафрагмами, а щоки - ребрами жорсткості 12 і 16. До верхніх кінців щік приварені втулки 14, котрими рама з‘єднується зі стійкою. В нижній частині щік є отвори 15, в яких знаходяться пальці штоків гідроциліндрів. У провушинах 11 рами монтуються три башмаки з зубами.

Башмак 17 (рис. 2 в) має бобишки 21 з отворами для кріплення до рами. Отвори 18, 19 і 20 слугують для установки в башмаку зуба 22. Кут різання зубом регулюється закріпленням його вершини в отворах 18 і 19. З‘єднується зуб з башмаком за допомогою пальця 25 , шайби 24 і корончатої гайки 26. На нижню частину зуба насаджена коронка 23.

Робочий орган обладнують одним або декількома зубами, кріплення яких може бути жорстким (рис. 1 а, б, д, е) і шарнірним (рис. 1 в, г). Кут повороту зубів в горизонтальній площині при шарнірному кріпленні обмежується 15° в обидві сторони. Така рухомість зубів зменшує бокові навантаження на машину і дозволяє їй краще зберігати прямолінійність руху. Але при шарнірному закріпленні зуби можуть обходити перешкоди в ґрунті, що ускладнює подальшу розробку ґрунту скреперами. Цей недолік усувається при жорсткому закріпленні зубів.

Шарнірне кріплення зубів застосовується при розпушенні скельних ґрунтів, а також ґрунтів з включеннями крупних глиб і валунів. На спеціальних розпушувачах з великою глибиною розпушення кріплення зубів частіше жорстке.

Робочий орган розпушувача являє собою зуб чи кілька зубів, які розміщені поряд або уступами. Зуби руйнують ґрунт не тільки попереду себе, але й по боках. Оптимальні значення геометричних параметрів зуба залежать від фізико-механічних властивостей ґрунту. Кількість зубів приймається від одного до п‘яти, в залежності від призначення розпушувача, потужності тягача і фізико-механічних властивостей ґрунту. Відстань між зубами для легких розпушувачів дорівнює 0,3…0,5 м, при п‘яти, і 0,8…1,0 м, при трьох зубах. У середині розпушувачів ця відстань дорівнює 0,9…1,3 м. У тяжких розпушувачів використовують три зуби з кроком до 1,4 м, чи один зуб.

Розміщення зубів таке, що один з них розташовується на поздовжній осі базового трактора, крайні зуби - за гусеницями трактора, чи по їх краям. Решта зубів розміщується між середнім і крайнім зубами. Зуби виготовляються кованими, рідше - литими, і оснащуються змінними наконечниками з більш зносостійкого матеріалу. Ріжучі ребра наконечників розміщуються в одній горизонтальній площині.

Робочий орган розпушувача (рис. 3) містить вертикально встановлений ніж 1 і долото 3 на нижній ділянці 4 ножа 1. На задній частині стійки ножа 1 виконана група технологічних отворів 2 для виконання монтажних робіт. Стійка ножа 1 має складну геометричну форму. Верхня монтажна частина 5 стійки ножа 1 має три отвори 6 для навішування стійки ножа 1 на раму ґрунтообробного знаряддя, забезпеченого опорними колесами. Фронтальна частина 7 стійки ножа 1 забезпечена двогранним лезом 8 з змінним за висотою ножа 1 кутом заточення і увігнуто-криволінійною ріжучою кромкою 9. На нижній ділянці 4 ножа 1 зварними швами закріплено долото 3. Долото 3 виконано з особливо міцного зносостійкого матеріалу. Долото 3 має фронтально встановлене лезо 10 з одностороннім заточуванням. Долото 3 має форму посадної призми. Поперечний перетин долота 3 по ходу переміщення стійки ножа 1 виконано змінним. Лезо 10 долота 3 з одностороннім заточуванням пов'язане з фронтальною частиною 7 стійки ножа 1 криволінійним ділянкою, плавно перехідним в стійку.

У нинішній час найбільше розповсюдження мають такі типи зубів:

-        прямі (рис. 4 а) для розпушення ґрунтів на глибину більш ніж 0,8 м, крім того, ними можна розпушувати мерзлі ґрунти і породи на меншу глибину;

-        криволінійні (рис 4 б), для розпушення ґрунтів на глибину до 0,8 м, а також для роботи в слабких скельних породах. Такі зуби забезпечують розпушення ґрунту з меншими зусиллями ніж прямі, застосовуються на легких і середніх розпушувачах;

         з розрізаючим пружним елементом (пластиною, струною) для ґрунтів, що містять в собі тверді включення (рис. 4 в);

         з невеликим вигином (рис 4 г) для розпушення будь-яких ґрунтів. Відзначаються легким заглибленням в ґрунтовий масив і є найбільш ефективним в роботі.

Зуби усіх типів конструюють таким чином, щоб при збережені потрібної міцності їх лобова поверхня була найменшою, для цього вони загострюються під кутом 60°.

Ефективність роботи розпушувача багато в чому залежить від форми і розмірів наконечника. для абразивних ґрунтів і слабких гірських порід рекомендуються більш довгі наконечники, короткі - для скельних порід і міцних замерзлих ґрунтів. Для збільшення ширини полоси розпушення застосовують розширювачі з жорстким або шарнірним кріпленням. за останній час зросла тенденція до переходу до вузьких і довгих наконечників.

Рис. 3 робочий орган розпушувача

Рис. 4 Типи робочих органів розпушувачів:

а - прямі; б - криволінійні; в - з пружним елементом; г - з гвинтом.

Для збільшення міцності і зносостійкості наконечники виготовляють з магнієво-марганцевих чи нікелевих сталей. Для виготовлення наконечників використовується лиття чи ковка, можуть бути також ковано - зварні наконечники.

Широке застосування мають наконечники, що володіють властивістю до самозаточування. Завдяки трикутним гребеням на передній і задній грані форма таких наконечників при зносі змінюється в значно меншій мірі ніж у інших.

Для розробки замерзлих та скельних ґрунтів КІБІ і заводом ім. Колющенко запропоновано наконечник, форма якого дозволяє концентрувати великі зусилля на невеликих площах. Конструкція відрізняється тим, що на передній грані наконечника по всій її довжині розміщений трикутний виступ перемінного перерізу з ріжучою кромкою В і трьома рівномірно розташованими виїмками. Виїмки криволінійного обрису мають плоскі передні грані, і загострені під кутом α = 40…60 °, при вершині, робочі задні грані, що сполучаються з ріжучою кромкою В під кутом β ≈ 160°. Задня грань наконечника має ребро жорсткості.

В робочому становищі кути розпушення елементів передньої грані мають наступне значення: для плоских ділянок δА = 35°; для ребра В трикутного виступу δВ = 50°; для робочих граней виїмок δГ = 80; задній кут різання δ1 = 10°.

Руйнування ґрунту таким наконечником відбувається таким чином. Під дією сили тяги трактора в контакт з ґрунтом першими вступають загострені кромки трикутного виступу (сировий потік Р1), які створюють випереджаючі деформації і тріщини в напрямку денної поверхні. Подальший розвиток деформації розчленування зони розпушення на окремі ділянки відбувається під дією на ґрунт бокових похилих поверхонь трикутного виступу (силовий потік Р2). Остаточне руйнування ґрунту, вже частково втратившого початкову міцність, протікає під дією плоских ділянок передньої грані (силовий потік Р2).

Проектують наконечники виходячи з умов забезпечення міцності конструкції. Рекомендується, щоб довжина передньої робочої грані не перевищувала подвоєної довжини посадочного хвостовика маточини робочого органу. Наконечники важких розпушувачів розраховують на подвійне тягове зусилля базового тягача.

Застосовують жорстке і шарнірне кріплення робочого органу розпушувача на рамі. При жорсткому кріпленні зуби закріплюються в кишенях, які приварюються до поперечного брусу рами, при шарнірному - в поворотних кронштейнах, які можуть повертатися в горизонтальній площині відносно вертикальної осі. Кут повороту перевищує 15° в обидва боки. Можливість повороту в горизонтальній площині дозволяє знизити вплив бокових навантажень на трактор.

Кут загострення наконечників призначається таким, щоб при будь-якому заглибленні зубів задній кут був не меншим 5…7°. При менших задніх кутах ковзання задньої грані наконечників по розпушеному ґрунту викликає збільшення енергоємності процесу. В той же час, кут загострення наконечників, виходячи із забезпечення умов міцності має бути в межах 20…30°.

Висота зубів повинна бути більшою за максимальну глибину розпушення на 0,2…0,3 м. Це необхідно для того, щоб рама мала можливість проходити над розпушеним ґрунтом. Зміна висоти здійснюється шляхом переставляння зубів для чого в них передбачені отвори.

Технологічні особливості робочого процесу

ґрунт розпушувач землерийний транспортний

Розпушують ґрунт заглибленими в нього зубами тяговим зусиллям тягача, який рухається на робочій швидкості. Для роботи в щільних ґрунтах вигідніше використовувати однозубий розпушувач з жорстким кріпленням зуба на поперечній балці, які в порівнянні з багатозубими розпушувачами реалізують все зусилля на одному зубі. З цією ж метою в тих же умовах багатозубі розпушувачі переобладнають у однозубого або обладнують їх буферними пристроями, які встановлюються у верхній частині середнього зуба для роботи з трактором-штовхачем, також обладнаним буферним пристроєм в його передній частині. При розробці шаруватих гірських порід і млявих пластично мерзлих ґрунтів, а також розпушування корки мерзлого ґрунту на зуби робочих органів встановлюють розширювачі, завдяки чому збільшується ширина розпушування за кожен прохід і підвищується продуктивність машини.

Бульдозери-розпушувачі мають максимальну ширину захвату (при трьох зубах) 1780…2140 мм. Продуктивність розпушувачів статичної дії на ґрунтах IV, V категорій 60 ... 150 /год, середня робоча швидкість руху 2,5 ... 5 км/год.

Розпушування здійснюють паралельними різами за двома технологічними схемами: без розворотів біля краю площадки з поверненням машини у вихідне положення заднім ходом (човникова схема) і з поворотом розпушувача в кінці кожного проходу (поздовжньо-поворотна схема). Човникова схема найбільш раціональна при малих обсягах робіт в обмежених умовах, поздовжньо-поворотна - на ділянках великої протяжності.

Причіпне обладнання менш ефективне ніж навісне, має меншу продуктивність, мобільність і маневреність.

Конструкція причіпних розпушувачів не передбачає можливості використання маси тягача для заглиблення зубів і підтримання необхідної глибини різання. Ці розпушувачі використовуються тільки для порівняно невеликих об‘ємів робіт і за відсутності навісних розпушувачів.

Розпушувач - машина безперервної дії, продуктивність якої визначається, в загальному випадку, як добуток площі поперечного перерізу шару розпушеного ґрунту на середню робочу швидкість переміщення. Разом з тим, продуктивність розпушувача залежить від конкретних технологічних і організаційних умов виробництва робіт. По закінченню роботи розпушувача ґрунт повинен стати таким, щоб скрепер, бульдозер, навантажувач або екскаватор могли розробляти його з повною продуктивністю. Схема робочих рухів розпушувача повинна відповідати робочим рухам або установкам основної технологічної машини. Наприклад, якщо розпушувачем готується забій для скрепера, протяжність ділянки підготовленого забою повинна бути достатньою для заповнення ковша скрепера. На потрісканих ґрунтах, як правило достатньо тільки поздовжнього або поперечного проходу розпушувача. Розпушення масиву із щільного ґрунту виконується в перехресних напрямках.

В залежності від призначення розпушення ґрунту режим розпушення може бути різним. При підготовці забою бульдозера слід прагнути, щоб глибина розпушення була максимально можливою (але не перевищувала критичну), а енергоємність процесу - мінімальною.

При підготовці забою для скрепера розмір кусків ґрунту не повинен перевищувати ширину щілини між ножем і засувкою ковша. Аналогічно роблять у випадках, коли добуваються корисні копалини, що потребують сортування. При нарізанні щілин в масиві для полегшення екскаваторної розробки розпушення здійснюється на граничній глибині, яка допускається тяговим зусиллям машини.

Визначення продуктивності

Технічна продуктивність розпушувача статичної дії:

Птех = ВkhkVp(Kпер/сn), (1)

Де Вk - корисна ширина захвату розпушувачем; hk - корисна глибина шару ґрунту, що розпушився; Vp - робоча швидкість розпушувача; Kпер = 0,75 - коефіцієнт перекриття зон розпушення; Kх - коефіцієнт характеру проходів (при паралельних проходах Kх = 1, при перехресних проходах Kх = 2); n - кількість проходів.

Вk = В - 2h1ctgγ; (2)

hk = h1 - (α/2)tgγ, (3)

де В - сумарна ширина розпушення ґрунту зубами розпушувача; h1 - глибина частини прорізу, що розширюється; α - проміжок між зубами; γ - кут нахилу бокових розширень прорізу.

Вплив роботи розпушувача на навколишнє середовище

Експлуатація землерийних машин, зокрема розпушувачів статичної дії, негативно впливає на навколишнє середовище (руйнування родючого шару землі; забруднення атмосфери вихлопними газами, продуктами випаровування ПММ і технічних рідин; потрапляння їх у землю, річки та водойми).

Атмосфера забруднюється вихлопними газами і продуктами згоряння ПММ при роботі двигунів внутрішнього згоряння, пилом при виконанні земляних робіт. При роботі двигунів внутрішнього згоряння в середньому на 1 кг палива припадає в середньому 650 вихлопних газів, токсичність яких регламентується вмістом оксидів вуглецю, азоту і сажі.

В сучасному будівництві експлуатується велика кількість машин. При їх зберіганні, транспортуванні, заправці, обслуговуванні та ремонті необхідно виключати попадання ПММ в навколишнє середовище. Всього тільки 1 г нафтопродуктів забруднює до 10  води, а якщо в 1  води міститься 10 г палива, то в ній гине все живе. Необхідно пам'ятати, що якщо за секунду втрачається одна крапля палива, то за добу це призведе до втрат понад 4 кг. Великої шкоди завдають довкіллю незакриті ємності з паливом і потрапляння ПММ в ґрунт при заправці, обслуговуванні та ремонті машин. Дослідження вчених світу показали, що за останні 20 років через присутність різних нафтопродуктів у водах річок, морів і океанів на 40% зменшилася кількість живих організмів в них.

Для збереження навколишнього середовища необхідно: пости миття та технічного обслуговування розпушувачів обладнати брудовідстійниками і маслобензоуловлювачами; зливати відпрацьоване масло і технічні рідини в спеціальні ємності з наступною відправкою їх на відновлення; унеможливити витік нафтопродуктів під час транспортування, зберігання і видачі; всі відходи експлуатаційних матеріалів технічного обслуговування збирати і складувати у спеціально відведених місцях з наступним прибиранням у встановленому порядку.

Вплив роботи розпушувача на оператора

При роботі на всіх землерийних машинах, в тому числі на розпушувачах статичної дії робітник зазнає впливу шкідливих факторів, таких як пил, вібрація і шум.

Шкідливий вплив пилу обумовлено багатьма факторами: фізико-хімічними властивостями, розмірами і формою пилових частинок; концентрацією їх у повітрі робочої зони; тривалістю впливу її протягом зміни і професійним стажем. Крім того, пил знижує рівень освітленості внаслідок забруднення світлових прорізів, ламп та освітлювальної арматури, що може сприяти виникненню аварій.

Хімічний склад пилу визначає різноманіття впливу його на організм. Специфічний вплив проявляється насамперед при вдиханні пилу; менше значення має заковтування його зі слиною і слизом. Вдихання пилу переважно може викликати ураження органів дихання - бронхіт, пневмоконіоз або розвиток загальних реакцій - алергії та інтоксикації. Неспецифічна дія пилу проявляється в захворюваннях верхніх дихальних шляхів, слизової оболонки очей, шкірних покривів. Вдихання пилу може сприяти розвитку пневмонії, туберкульозу, раку легенів.

Оператори розпушувачів статичної дії піддаються впливу загальної та локальної вібрації. На робочі місця передається низькочастотна поштовхоподібна вібрація безладного характеру, що виникає в процесі розпушення ґрунту та пересування машини по нерівній поверхні. На робоче місце водія, в тому числі і на органи управління, передається вібрація, що виникає в результаті роботи двигуна. Реакцією організму на вплив вібрації є: зниження працездатності, зміна серцевої діяльності, загальна втома, нудота, відчуття тряски внутрішніх органів і т. д..

Ще одним постійним супутником будь-якої землерийної машини являється шум. Шум через провідні шляхи слухового аналізатора впливає на різні центри головного мозку, змінює протікання процесів вищої нервової діяльності, порушує рівновагу процесів збудження і гальмування. При цьому змінюються рефлекторні реакції, виявляються патологічні фазові стани. Тривала дія шуму активізує структури ретикулярної формації, в результаті чого відбувається стійке порушення діяльності різних систем організму.

Для зменшення впливу вище вказаних факторів кабіни тягачів мають бути обладнані фільтрами для очищення повітря. Для зменшення вібрації підвищують точність балансування обертових деталей, точність обробки і чистоту поверхні спряжених деталей, застосовують врівноважуючі механізми.

Будь-яка вібрація супроводжується шумом, тому методи захисту від вібрації будуть дієвими і для захисту від шуму. Окрім них застосовують такі як: установка демпфуючих елементів та огороджуючих конструкцій, екранування або використання звукоізолюючих кожухів (капотів), в яких частина звукової енергії поглинається, частина відбивається, а частина проходить безперешкодно; Встановлення в кабіну звукопоглинальних матеріалів (повсть, перфорований картон і т. п.), в яких звукова енергія за рахунок в'язкого тертя у вузьких порах перетвориться в теплову. При цьому слід враховувати частотні характеристики шуму, так як коефіцієнт звукопоглинання таких матеріалів на різних частотах неоднаковий. Коли перерахованими заходами не вдається знизити рівень шуму до нормативних значень, застосовують засоби індивідуального захисту.

Список використаної літератури

1.       Лауш П.В. Техническое обслуживание и ремонт машин. - К.: Висшая школа, 1989;

2.      Полянський С.К. Будівельно-дорожні та вантажопідіймальні машини. - К.: Техніка, 2001;

.        Добронравов С. С, Дронов В.Г. Строительные машины и основы автоматизации. - М.: Высшая школа, 2001;

.        Добронравов С.С. Строительные машины и оборудование: Справочник. - М. :Высшая школа, 1991;

.        Технология строительных процессов / А.А. Афанасьев, Н.Н. Данилов, В.Д. Копылов и др.; Под ред.Н. Н. Данилова, О.М. Терентьева. - М.: Высшая школа, 2001;

.        Кудрявцев Е.М. Комплексная механизация, автоматизация и механовооруженность строительства. - М.: Стройиздат, 1989;

.        С.П. Алексеев, А.М. Казаков Борьба с шумом и вибрацией в машиностроении. 1970.

Похожие работы на - Визначення показників техногенно-екологічної безпеки при роботі статичних начіпних розпушувачів

 

Не нашли материал для своей работы?
Поможем написать уникальную работу
Без плагиата!
Без нейросетей!