Оценка гидрогеологических условий на площадке строительства и прогноз развития неблагоприятных процессов при водопонижении”
МИНИСТЕРСТВО
ОБРАЗОВАНИЯ И НАУКИ РФ
САНКТ-ПЕТЕРБУРГСКИЙ
ГОСУДАРСТВЕННЫЙ АРХИТЕКТУРНО-СТРОИТЕЛЬНЫЙ
УНИВЕРСИТЕТ
Кафедра
геотехники
Дисциплина:
Геология
Курсовая
работа по теме:
“Оценка
гидрогеологических условий на площадке строительства и прогноз развития
неблагоприятных процессов при водопонижении”
Санкт-Петербург
г.
Введение
В процессе строительства и эксплуатации зданий и
сооружений важное значение отводится роли подземных вод. Подземные воды
вызывают ряд процессов в грунтовой толще, которые могут серьезно осложнить
строительство и эксплуатацию сооружений. Подземные воды вступают во
взаимодействие с породами, ухудшая их механические свойства. Они довольно часто
являются агрессивной средой по отношению к бетону, алюминию, железу. На строительных
площадках из-за подземных вод возникает опасность затопления котлованов
(траншей), нарушение устойчивости их стенок, прорыв дна под воздействием
напорных вод и др.
Для целей проектирования и строительства понятие
«гидрогеологические условия» можно определить как совокупность следующих
характеристик водоносных горизонтов (слоев): 1) их количество в изученном
разрезе, 2) глубина залегания, 3) мощность и выдержанность, 4) тип по условиям
залегания, 5) наличие избыточного напора, 6) химический состав, 7)
гидравлическая связь с поверхностными водами и другие показатели режима.
Режим подземных вод изменяется как в процессе
строительства, так и в период эксплуатации зданий и сооружений. Изменения могут
иметь временный или постоянный характер. Наиболее часто встречаются:
понижение уровня грунтовых вод (проходка
котлованов, систематический дренаж, устройство дорожных выемок, дренирующих
засыпок траншей и др.);
снижение напоров в межпластовых водоносных
горизонтах (проходка котлованов и коллекторов глубокого заложения);
повышение уровня грунтовых вод (утечки из
водонесущих сетей, «барражный» эффект фундаментов глубокого заложения, крупных
подземных сооружений и т. п.);
изменение химического состава и температуры
подземных вод (утечки из сетей, антиналедные мероприятия и др.).
Понижение уровня грунтовых вод может влиять на
состояние песчаных и супесчаных грунтов, вызывая как разуплотнение, так и
уплотнение их.
Повышение уровня грунтовых вод вызывает
увеличение влажности и индекса текучести у пылевато-глинистых грунтов, что
приводит к уменьшению прочностных и деформативных показателей.
Практически все перечисленные изменения свойств
грунтов, вызванные нарушением гидрогеологических условий, могут приводить к
дополнительным осадкам грунтовой толщи и деформациям сооружений.
При выполнении работ по устройству оснований
зданий и сооружений должны предъявляться повышенные требования к
предварительному изучению в процессе строительства конкретных местных
геологических и гидрогеологических условий.
Исходные данные
. Карта фактического материала: Участок №
5. Скважины № 31,32,33 М 1:2000
Рис. 1
. Геолого-литологические колонки по разведочным
скважинам № 31,32,33
Таблица 1
|
Номер
скважины и абсолютнаяотметка устья
|
Но-мер
слоя
|
Индекс
слоя
|
Полевое
описание пород
|
Отметка
подошвы слоя, м
|
Отметка
уровней подземных вод
|
|
31
16,5
|
1
|
tg
IV
|
Насыпной
слой - песок со строительным мусором
|
15,7
|
14,6
14,8
|
|
2
|
ml
IV
|
Супесь
пылеватая, пластичная, с растительными остатками
|
13,5
|
|
|
3
|
lg
III
|
Суглинок
ленточный, мягкопластичный
|
10,8
|
|
|
4
|
lg
III
|
Супесь
слоистая,пластичная
|
8,6
|
|
|
5
|
g
III
|
Суглинок
с гравием, полутвёрдый
|
4,5
|
|
|
32
17,2
|
1
|
tg
IV
|
Насыпной
слой
|
16,1
|
16,4
16,5
|
|
2
|
ml
IV
|
Супесь
пылеватая, пластичная, с растительными остатками
|
13,5
|
|
|
3
|
lg
III
|
Суглинок
ленточный, текучий
|
10,1
|
lg
III
|
Супесь
слоистая, пластичная
|
7,8
|
|
|
5
|
g
III
|
Суглинок
с гравием, полутвёрдый
|
5,2
|
|
|
33
17,7
|
1
|
ml
IV
|
См.
табл. 2
|
14,2
|
16,0
16,1
|
|
2
|
lg
III
|
Суглинок
ленточный, мягкопластичный
|
9,8
|
|
|
3
|
g
III
|
Песок
гравелистый, плотный, водонасыщенный
|
7,8
|
9,5
15,8
|
|
4
|
g
III
|
Суглинок
с гравием, твёрдый
|
5,7
|
|
. Сведения о гранулометрическом составе грунтов
первого водоносного слоя
Таблица 2
|
Номеручастка
|
Номер
скважины
|
Галька
|
Гравий
|
Песчаные
|
Пылеватые
|
Глинистые
|
|
|
>100
|
10-2
|
2-0,5
|
0,5-0,25
|
0,25-0,1
|
0,1-0,05
|
0,05-0,01
|
0,01-0,005
|
|
|
5
|
33
|
-
|
-
|
20
|
26
|
11
|
16
|
14
|
12
|
1
|
. Сведения о физико-механических свойствах
грунтов первого водоносного слоя и первого водоупора.
Таблица 3
|
Грунт
|
Индекс
слоя
|
Плотность
т/м3
|
Число
пластичности Ip, д.ед.
|
Показатель
пористости, д.ед.
|
Модуль
деформации Е, МПа
|
Содержание
ОВ*, %
|
|
|
ρs
|
ρ
|
|
n
|
e
|
|
|
|
Супесь
пылеватая с расительными остатками
|
ml
IV
|
2,62
|
0,06
|
0,60
|
1,50
|
7-15
|
7,5
|
|
Песок
пылеватый
|
ml
IV
|
2,65
|
1,80
|
-
|
0,35
|
0,53
|
9-12
|
-
|
|
Суглинок
ленточный
|
lg
III
|
2,72
|
1,92
|
0,16
|
0,55
|
0,90
|
6-12
|
-
|
5. Результаты химического анализа грунтовых вод
Таблица 4
|
Номер
сква-жины
|
Ca
|
Mg
|
Na
|
SO4
|
Cl
|
HСО3
|
pH
|
|
мг/л
|
|
1
|
137
|
77
|
434
|
48
|
687
|
702
|
7,2
|
. Сведения о параметрах объектов и их размещение
в пределах площадки:
Котлован: скв. № 33:
глубина h=3,5м
длина l=20 м, ширина b=20 м, l /b=1
Траншея: скв. №32-33
глубина h=2 м
длина l=100 м
1. Геологические условия
гидроизогипс водопонижение грунтовый
котлован
Для грунта первого слоя, не имеющего
наименование:
На основе результатов гранулометрического анализа
получили, что грунт первого слоя (по ГОСТ 25100-95) - это песок пылеватый. Для
определения точного названия этого слоя и некоторых его характеристик построим
суммарную кривую гранулометрического состава.
Результат гранулометрического анализа
|
Диаметры
частиц, мм
|
10-2
|
2-0,5
|
0,5-0,25
|
0,25-0,1
|
0,1-0,05
|
0,05-0,01
|
0,01-0,005
|
<0,005
|
|
Содержание
фракций, %
|
-
|
20
|
26
|
11
|
16
|
14
|
1
|
Вспомогательная таблица
|
Диаметры
частиц, мм
|
<
10
|
<
2
|
0,5
|
<0,25
|
<0,1
|
0,05
|
<0,01
|
<0,005
|
|
Сумма
фракций, %
|
-
|
100
|
80
|
54
|
43
|
27
|
13
|
1
|
Действующий диаметр: d10 = 0,008 мм
Контролирующий диаметр: d60 = 0,32 мм
Результаты гранулометрического анализа позволяют
определить степень неоднородности грунта и некоторые его водные свойства -
суффозионную устойчивость, коэффициент фильтрации, высоту капиллярного
поднятия.
Степень неоднородности грунта:
=40
Так как 3<Cu>10, то грунт неизвестного
слоя - это песок пылеватый неоднородный, суффозионно неустойчивый.
Средние значения высоты капиллярного поднятия,
коэффициента фильтрации и радиуса влияния возьмем из таблицы средних значений,
поскольку условия для использования эмпирических формул ( Си < 5; d10
>0,1 ) не выполнены.
Ориентировочное значение коэффициента фильтрации
k=3 м/сут.
Радиус влияния R=40м
Высота капиллярного поднятия hk=1,5м
Определим ориентировочное значение высоты
капиллярного поднятия hk (см):
е = 0,53 д.ед. - коэффициент пористости
С = 0,1 - эмпирический коэффициент
Высота капиллярного поднятия
=236см=2,36м
Выделение инженерно-геологических элементов.
|
№
ИГЭ
|
Название
грунта
|
Индекс
|
e
|
I
|
|
1
|
Насыпной
слой
|
tg
IV
|
-
|
-
|
|
2
|
Супесь
|
ml
IV
|
-
|
0
- 1
|
|
3
|
Песок
пылеватый
|
ml
IV
|
>0,80
|
-
|
|
4
|
Суглинок
мягкопластичный
|
lg
III
|
-
|
0,50
- 0,75
|
|
5
|
Суглинок
текучий
|
lg
III
|
-
|
>1,00
|
|
6
|
Супесь
|
lg
III
|
-
|
|
7
|
Песок
гравелистый
|
g
III
|
<0,55
|
-
|
|
8
|
Суглинок
полутвёрдый
|
g
III
|
-
|
0
- 0,25
|
|
9
|
Суглинок
твёрдый
|
g
III
|
-
|
<0
|
В пределах пробуренной толщи коренные породы
отсутствуют.
Средняя категория сложности
инженерно-геологических условий, так как присутствует не более четырех
различных по литологии слоев, залегающих наклонно и с выклиниванием. Мощность
изменяется закономерно. Существенное изменение характеристик свойств грунтов в
плане и по глубине.
2. Гидрогеологические условия
.1 Анализ геолого-литологического
разреза
В пределах площадки буровыми скважинами вскрыты
два водоносных слоя.
тип по условиям залегания:
- грунтовые;
- межпластовые
наименование водовмещающих и водоупорных слоев:
слой:
водовмещающий - супесь пылеватая с растительными
остатками, песок пылеватый;
водоупорный - суглинок ленточный;
слой:
водовмещающий - супесь слоистая, песок
гравелистый;
водоупорный - суглинок с гравием;
глубина залегания и мощность каждого водоносного
горизонта (слоя):
слой:
Глубина залегания 1,6 м (скв.№33)
Мощность водоносного слоя 1,9м (скв.№33)
слой:
Глубина залегания 9,8м (скв.№33)
Мощность водоносного слоя 2м (скв.№33)
величина напора Низб для напорных водоносных
горизонтов:
Низб= 6,3 м
2.2 Карта гидроизогипс
По карте гидроизогипс определяем:
направление потока и его характер:
плоский.
величина гидравлического градиента i, м:
∆Hmin=0,1м, l=62м;
ΔHmax=1,4м,
l=44м
imin=
=0,0016=
=0,0318
где ΔНmin -
перепад отметок в скважинах №33 и 37(м),
ΔHmax - перепад отметок в
скважинах №33 и 34(м),- расстояние между этими скважинами (м)
скорости грунтового
потокаV(кажущаяся) и Vд(действительная)
на участке с максимальным перепадом
уровней грунтовых вод:
=kimin=3*0,0016=0,0048
м/сут=kimax=3*0,0318=0,0954 м/сут
где k- коэффициент фильтрации:k=3
м/сутд min=
= 0,0137
м/сутд max=
=0,2726м/сут
где n- пористость водовмещающих
пород(табл. 3)=0,35д. ед.
Используя данные химического анализа
грунтовых вод (табл.4) и руководствуясь прил. 7 составляем формулу химического
состава воды:
|
Ионы
|
Содержание,
мг/л
|
Эквивалентное
содержание
|
Эквивалентная
масса
|
|
|
мг×экв
|
(%-экв)
|
|
|
Катионы
|
Na2+
|
434
|
18,87
|
59
|
23,0
|
|
Mg2+
|
77
|
6,42
|
20
|
|
Ca2+
|
137
|
6,85
|
21
|
20,0
|
|
Сумма
катионов
|
648
|
32,14
|
100
|
-
|
|
Анионы
|
Cl-
|
687
|
19,63
|
61
|
35,0
|
|
SO42-
|
48
|
1,00
|
3
|
48,0
|
|
НСО3-
|
702
|
11,51
|
36
|
61,0
|
|
Сумма
анионов
|
1437
|
32,14
|
100
|
|
|
Общая
сумма
|
2085
|
|
|
|
наименование воды:
Хлориднонатриевая, солоноватая
Вода неагрессивная по всем
показателям.
Средняя категория сложности участка,
так как присутствуют два выдержанных горизонта подземных вод, обладающих
напором.
3. Гидрогеологические расчеты при
строительном водопонижении
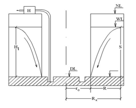
.1 Тип выемки: котлован -
совершенный
Рис. 2
Исходные данные:
Скважина №33.
Глубина котлована hк = 3,5 м
Размеры котлована 20 х 20 м
Характер потока вокруг выемки - радиальный.
Для расчета притока воды воспользуюсь формулой
Дюпюи:
=1,9м
Величина водопонижения: S=H1=1,9м
Коэффициент фильтрации: k=3м/сут
Приведенный радиус котлована:
=
=11.28м
Радиус влияния: R=40,0м
Радиус влияния котлована:
Rk =R+r0=11,28+40,0=51,28м,
3.2 Тип выемки: траншея -
несовершенная
Рис. 3
Исходные данные:
Глубина траншеи hтр = 2 м
Длина траншеи L=100 м
Водопонижение - до дна траншеи.
Характер потока вокруг выемки - радиальный.
Для расчета притока воды воспользуюсь формулой
Дюпюи:
=1.3·hwk=1.3*
0,9=1,17м,
где hwk - высота столба воды в котловане до
понижения
Величина водопонижения:= hwk
=0,9м=H01-S=1,17-0,9=0,27м
Коэффициент фильтрации:=3м/сут
Радиус влияния: R=40,0м

.1 Прогноз суффозионного выноса
График прогноза суффозионного выноса В.С.
Истоминой:
Рис. 4
степень неоднородности грунта Cu (установлена
ранее):
Сu=40
величина гидравлического градиента i:
Т.к. i<1 фильтрационного выпора нет.
Точка попала в область безопасных градиентов,
развитие суффозии невозможно.
4.2 Прогноз оседания поверхности
земли при снижении уровня грунтовых вод
Понижение уровня грунтовых вод вызывает
увеличение давления грунта от собственного веса. Величина связанной с этим
осадки зависит от глубины водопонижения и сжимаемости грунта.
Предварительный расчет осадки территории можно
произвести по формуле:
Sгр=
;
Где:∆g=g-gsb;
g
- удельный вес грунта, кН/м3
gsb=(gs-gw)(1-n), кН/м3
gsb
- удельный вес грунта в условиях взвешивания, кН/м3
gw
- удельный вес воды, кН/м3- пористость, д. ед.- величина водопонижения, м
Е - модуль общей деформации, к Па
удельный вес твердых частиц грунта:
γs=10*2,65=26,5 кН/м3(ps=2,65
т/м3)
удельный вес грунта:
γ=10*1,8=18,0 кН/м3 (p=1,8 т/м3)
удельный вес воды: γw=10
кН/м3
пористость: n=0,35
Модуль общей деформации грунта: E=10000 кПа
sb=
-
)*(1-0,35)=10,725
кН/м3
=18-10,725=7,275
кН/м3
Осадка территории:
Sгр = 
=0,0013м=1,3мм
Схема оседания поверхности земли при
водопонижении.
Рис. 5
А - зона аэрации до водопонижения,
где γ - удельный
вес грунта; B - зона полного водопонижения, где γsb -
удельный вес грунта; B - зона «осушенного» грунта после водопонижения
Рис. 6
4.3 Прогноз воздействия напорных вод
на дно котлованов
В случае если на площадке строительства выявлен
напорный водоносный горизонт, необходимо проверить устойчивость грунтов в
основании котлованов и траншей. Возможны три варианта:
pизб<pгр - дно выработки устойчиво;
pизб = pгр - подъем дна котлована за счет
разуплотнения грунта в его основании;
pизб>pгр - прорыв напорных вод в котлован,
где pизб= γw∙Hw;
pгр
= γ∙hгр.
Рис. 7
изб=6,3 м;гр=4,4 м.изб= 10∙6,3=63
кПа;гр=27,2∙4,4=119,68кПа;изб=63 кПа<pгр=119,68 кПа.
Можно сделать вывод, что дно выработки
устойчиво.
Заключение
На разрезе между скважинами № 31, 32, 33
представлено четыре литологических разновидности горной породы.
Инженерно-геологические элементы:
. Насыпной слой, песок со строительным мусором.
. Супесь пылеватая, пластичная, с растительными
остатками.
. Песок пылеватый.
. Cуглинок ленточный мягкопластичный.
. Суглинок ленточный, текучий.
. Супесь слоистая, пластичная.
. Суглинок с гравием, полутвёрдый.
. Песок гравелистый, плотный, водонасыщенный.
. Суглинок с гравием, твердый.
Категория сложности инженерно-геологических
условий - средняя, так как присутствует не более четырех различных по литологии
слоев, залегающих наклонно и с выклиниванием. Мощность изменяется закономерно.
Существенное изменение характеристик свойств грунтов в плане и по глубине.
По гидрогеологическим условиям - средняя
категория сложности участка, так как присутствуют два выдержанных горизонта
подземных вод, обладающих напором.
Неблагоприятные процессы в грунтовой толще,
связанные с техногенным воздействием при строительном освоении территории: имеют
ограниченное распространение и не оказывают существенного влияния.
Список используемой литературы
1. Задания
и методические указания для выполнения курсовой работы по курсу «Инженерная
геология» для студентов специальности 290300 - промышленное и гражданское
строительство (всех форм обучения) «Оценка гидрогеологических условий площадки
строительства» / СПб. гос. архит.-строит. ун-т; Сост.: Н. И. Зеленкова, В. А.
Челнокова. СПб., 2003. 56 с.
2. В.П.
Ананьев. А.Д. Потапов Инженерная геология: Учеб. Для строит.спец. вузов - 3-е
изд.,перераб. и испр.- М.: высш.шк., 2005.-575 с.
. ГОСТ
25100-95 Грунты. Классификация.
. СНиП
2.03.11-85 Защита строительных конструкций от коррозии.
. ТСН
50-302-96 Устройство фундаментов гражданских зданий и сооружений в Санкт-Петербурге
и на территориях, административно подчиненных Санкт-Петербургу.