Оценка гидрогеологических условий на площадке строительства и прогноз неблагоприятных процессов при водопонижении

  • Вид работы:
    Дипломная (ВКР)
  • Предмет:
    Строительство
  • Язык:
    Русский
    ,
    Формат файла:
    MS Word
    647,57 kb
  • Опубликовано:
    2012-02-25
Вы можете узнать стоимость помощи в написании студенческой работы.
Помощь в написании работы, которую точно примут!

Оценка гидрогеологических условий на площадке строительства и прогноз неблагоприятных процессов при водопонижении

Оглавление

Введение

. Исходные данные

.1 Карта фактического материала

.2 Геолого-литологические колонки опорных скважин

.3 Результаты гранулометрического анализа

.4 Результаты химического анализа грунтовых вод

.5 Сведения о физико-механических свойствах грунтов

. Аналитический блок

.1 Характеристика рельефа площадки

.2 Геологическое строение площадки и выделение инженерно-геологических элементов (ИГЭ)

.3 Гидрогеологическое строение площадки

.4 Химический состав подземных вод и оценка агрессивности воды по отношению к бетону

3. Гидрогеологические расчёты притоков воды при водопонижении

3.1 Расчёт притока воды к совершенным выработкам (котлован или траншея)

.2 Расчёт притока воды к несовершенным выработкам (котлован или траншея)

. Прогноз последствий водопонижения

.1 Прогноз суффозионного выноса

.2 Прогноз оседания земной поверхности при снижении уровня грунтовых вод

.3 Прогноз воздействия напорных вод на дно котлована (траншеи)

Заключение

Список использованной литературы

Введение

На строительных площадках многие трудности связаны с подземными водами: затопление котлованов (траншей), нарушение устойчивости их стенок, прорыв дна под воздействием напорных вод и др. В дальнейшем, уже при эксплуатации отдельных сооружений или застроенных территории в целом, также могут возникнуть осложнения: подтопление подвалов, коррозия бетона и других материалов, проседание поверхности земли за счет водопонижения. Поэтому оценка гидрогеологических условий является важнейшей составной частью инженерно-геологических изысканий (инженерно-геологические изыскания входят в состав "Инженерных изысканий для строительства" СНиП 11-02-96), на основе которых ведется проектирование оснований и фундаментов.

Для целей проектирования и строительства понятие "гидрогеологические условия" можно определить как совокупность следующих характеристик водоносных горизонтов (слоев): 1) их количество в изученном разрезе, 2) глубина залегания, 3) мощность и выдержанность, 4) тип по условиям залегания, 5) наличие избыточного напора, 6) химический состав, 7) гидравлическая связь с поверхностными водами и другие показатели режима.

Режим подземных вод изменяется как в процессе строительства, так и в период эксплуатации зданий и сооружений. Изменения могут иметь временный или постоянный характер. Наиболее часто встречаются:

• понижение уровня грунтовых вод (проходка котлованов, систематический дренаж, устройство дорожных выемок, дренирующих засыпок траншей и др.);

• снижение напоров в межпластовых водоносных горизонтах (проходка котлованов и коллекторов глубокого заложения);

• повышение уровня грунтовых вод (утечки из водонесуших сетей, "барражный" эффект фундаментов глубокого заложения, крупных подземных сооружений и т. п.);

• изменение химического состава и температуры подземных вод (утечки из сетей, антиналедные мероприятия и др.).

Понижение уровня грунтовых вод может влиять на состояние песчаных и супесчаных грунтов, вызывая как разуплотнение, так и уплотнение их.

Повышение уровня грунтовых вод вызывает увеличение влажности и индекса текучести у пылевато-глинистых грунтов, что приводил к уменьшению прочностных и деформативных показателей.

Практически все перечисленные изменения свойств грунтов, вызванные нарушением гидрогеологических условий, могут приводить к дополнительным осадкам грунтовой толщи и деформациям сооружений.

1. Исходные данные

1.1Карта фактического материала

Масштаб 1:1000

Скважины 15-16-17-18.

Условные обозначения:


1.2 Геолого-литологические колонки опорных скважин

Скважина №15

Н=13,8 м.

Геологический индекс

Отметка Подошвы слоя

Глубина залегания слоя, м

Мощность Слоя, м.

Литологическая колонка

Описание пород

Уровни подземных вод с датой замера



от

до




Появл

Установ

B IV

12,1

0

1.7

1.7


Торф

13.2

13.5

(m-l)IV

10.1

1.7

3.7

2.0


Супесь пылевая, с растительными остатками



lgIII

7.0

3.7

6.8

3.1


Суглинок ленточный, текучий



gIII

4.8

6.8

8.8

2


Суглинок с галькой, гравием тугопластичный




Скважина №16

Н=14.6м

Геологический индекс

Отметка подошвы слоя

Глубина залегания слоя, м

Мощность Слоя, м

Литологическая колонка

Описание пород

Уровни подземных вод с датой замера



от

до




Появл

Установ

(m-l)IV

12.4

0

2.2

2.2


Супесь пылевая, с растительными остатками

12.8

12.9

lg III

7.5

2.2

7.1

4.9


Суглинок ленточный, текучий.



gIII

6.1

7.1

6.1

1.0


Супесь с гравием, пластичная



gIII

4.6

6.1

7.6

1.5


Суглинок с галькой, гравием тугопластичный




Скважина №17

Н=17,0м

Геологический индекс

Отметка подошвы слоя, м

Глубина залегания слоя, м

Мощ- ность слоя

Литологическая колонка

Описание пород

Уровни подземных вод с датой замера



от

до




Появл.

Установ.

(m-l)IV

13.2

0

3.8

3.8


Песок среднезернистый с включением гравия.

15.2     10.2

16.0     15.5

B IV

12,2

3.8

4.8

1.0


Торф



lg III

10.3

4.8

6.7

1.9


Суглинок ленточный, текучий.



gIII

8.1

6.7

8.9

2.2


Супесь пылеватая с гнездами песка, гравием, пластичная.



gIII

5.0

8.9

12.0

3.1


Суглинок с галькой, гравием тугопластичный




Скважина №18

Н=16.9м

Геологический индекс

Отметка подошвы слоя, м

Глубина залегания слоя, м

Мощность Слоя, м

Литологичиская колонка

Описание пород

Уровни подземных вод с датой замера



от

до




Появл.

Установ.

(m-l)IV

12.2

0

4.7

4.7


Песок пылеватый, рыхлый ,с глубины 1,4 м. - водо насыщенный

15.5

15.7

lgIII

10.8

4.7

6.1

1.4


Суглинок ленточный, мягко пластичный



g III

9.5

6.1

7.4

1.3


Супесь пылеватая, с гравием, пластичная.



gIII

6.9

7.4

10.0

2,6


Суглинок с гравием, полутвердый




1.3 Результаты гранулометрического анализа

Номер участка

Номер скважины

Галька >100

Гравий 10-2

Песчаные

Пылеватые

Глинистые





2-0,5

0,5-0,25

0,25-0,1

0,1-0,05

0,05-0,01

0,01-0,005


3

17

-

1

2

16

57

11

3

2

6

3

20

-

-

9

13

28

12

25

12

1


Сведения о гранулометрическом составе грунтов

По данным гранулометрического анализа для 17скважины это супесь песчанистая с гравием до 1%, для 20 скважины песок разнозернистый, сильно пылеватый.

скважина гранулометрический вода гидрогеологический

1.4 Результаты химического анализа грунтовых вод

Номер скважины

Ca

Mg

K+Na

SO4

Cl

HCO3-

CO2cв

pH


Мг/л

17

44

27

7

110

36

144

110

5,7

20

116

35

35

273

38

207

25

6,8


1.5 Сведения о физико-механических свойствах грунтов

Значения некоторых показателей Физико-механических свойств грунтов.

Грунт

Индекс слоя

Плотность, т/м3

Число пластичности lp , д. ед.

Показатели пористости, д. ед.

Модуль деформации Е0 , МПа

Содержание ОВ, %

Степень разложения торфа D,%



ρs

ρ


n

e




Песок пылеватый

(m-l)IV

2,65

1,80

-

0,35

0,53

9-12

-


Супесь пылевая с растительными остатками

(m-l)IV

2,62

1,85

0,06

0,60

1,50

7-15

-


Супесь пылевая

(m-l)IV

2,15

1,72

0,07

0,77

3,44

4-10

-


Суглинок ленточный

lgIII

2,72

1,92

0,16

0,55

0,90

6-12

-


Суглинок с гравием, галькой

gIII

2,70

2,15

0,14

0,31

0,45

20-30

-


Торф верховой, слабо разложившийся

В IV

1.50

0.90

-

0.91

18

0.8

90

15

Песок средней крупности

(m-l)IV

2,65

1,65


0,4

0,66

25-35




ОВ - органическое вещество[%];

ρ - плотность [т/м3];

ρs - плотность минеральной части[т/м3];

n -пористость[д.ед.], это объем пор в единице объема грунта;

e - коэффициент пористости грунта[д.ед];

E - модуль общей деформации[МПа];

D - степень разложения торфа[%], характеристика, выражающаяся отношением массы бесструктурной (полностью разложившейся) части, включающей гуминовые кислоты и мелкие частицы негумицированных остатков растений, к общей массе тор­фа. Определяется по ГОСТ 10650

p=. WL-Wp

Iu=(W- Wp)/( WL-Wp)

2. Аналитический блок

.1 Определение пропущенных слоёв, их характеристика и классификация

Номер участка

Номер скважины

Галька >100

Гравий 10-2

Песчаные

Пылеватые

Глинистые





2-0,5

0,5-0,25

0,25-0,1

0,1-0,05

0,05-0,01

0,01-0,005


3

17

-

1

2

16

57

11

5

2

6

3

20

-

-

9

13

28

12

25

12

1


№17 - супесь тяжелая с включениями гравия

№20 - песок среднезернистый.

Номер скважины

Диаметр частиц, мм

<10

<2

<0,5

<0,25

<0,1

<0,05

<0,01

<0,005

17

Содержание фракций, %

100

99

97

81

24

13

8

6

20


100

100

91

78

50

38

13

1


Определение действующего (d10) и контролирующего (d60) диаметров

Скважина № 17 d10=0,018 м         d60=0,17 м

Скважина № 20 d10=0,08 м          d60=0,14 м

Определение степени неоднородности грунта.

Формула для определения степени неоднородности гранулометрического состава:

Cu= d60/ d1017=0.17/0,018=9,420=0,14/0,08=1,75

В скважине № 17 грунт неоднородный , так как Cu17>3;

В скважине № 20 грунт однородный, так как Cu20<3.

Средние значения высоты капиллярного поднятия, коэффициента фильтрации и радиуса влияния возьмем из таблицы средних значений, поскольку условия для использования эмпирических формул не выполнены.

Для скважины № 17

Коэффициент фильтрации k=0,1-0,7 м/сут.

Радиус влияния R=10-20 м.

Высота капиллярного поднятия hk=0,8-1.5 м.

Для скважины № 20.

Коэффициент фильтрации k=1-3 м/сут.

Радиус влияния R=20-40 м.

Высота капиллярного поднятия hk=0,4-1,5 м.

.2 Рельеф площадки

Территория рассматриваемого участка представляет собой фрагмент пологой возвышенности в пределах абсолютных отметок от 13,8 до 18,4 м. Максимальный уклон составляет 0,036; минимальный равен 0,002.

.3 Геологическое строение площадки

В геологическом строении площадки принимают участие следующие стратиграфо-генетические комплексы:

) (m-l)IV - современные морские и озерные нерасчлененные отложения.

Состав: песок пылеватый, рыхлый; супесь пылевая с растительными остатками, песок среднезернистый с включениями гравия.

Абсолютные отметки кровли лежат в пределах от 12,1 м (скв. № 15) до 18,4 м (скв. № 21); мощность слоя колеблется от 2 м (скв. № 15) до 4,7 м (скв. № 18).

В пределах слоя вскрыт безнапорный водоносный горизонт грунтовых вод.

) lgIII - верхнечетвертичные озерно-ледниковые отложения.

Состав: суглинок ленточный, супесь пылеватая, суглинок с гравием.

Глубина залегания кровли слоя от 3,7 м (скв. № 15) до 4,8 м (скв. № 17); мощность слоя колеблется от 1,4 м (скв. № 18) до 4,9 м (скв. № 16).

) g III - Верхнечетвертичные ледниковые отложения (моренные).

Состав: супесь пылеватая с гравием, суглинок с гравием полутвердый, суглинок с галькой тугопластичный.

Глубина залегания кровли слоя от 6,1 м (скв. № 16) до 8,9 м (скв. № 17); мощность слоя колеблется от 1,0 м (скв. № 16) до 3,1 м (скв. № 17).

В пределах слоя вскрыт (в скважине № 17) напорный (артезианский) горизонт подземных вод. Величина напора над кровлей 5,8 м.

) P IV - торф.

Состав: торф.

Глубина залегания кровли слоя от 3,8м (скв.№17) до 0м. (скв.№15)

Мощность слоя колеблется от 1,0м. (скв.№17) до 1,7м. (скв.№15).

В пределах слоя вскрыт безнапорный водоносный горизонт грунтовых вод.

2.4 Гидрогеологическое строение площадки

В пределах площадки буровыми скважинами вскрыты два водоносных горизонта:

Первый от поверхности горизонт грунтовых вод залегает на глубинах от 0,3 м (скв. № 15) до 1,7 м (скв. № 18,16) (от дневной поверхности) и приурочен к первому стратиграфо-генетическому комплексу: современные морские и озерные нерасчлененные отложения. Водовмещающими являются пески различной крупности (m-l)IV, супеси(m-l)IV и торф B IV, водоупорами служат суглинок слоистый и суглинок ленточный, мощность горизонта колеблется от 0,1 м (скв. № 16) до 0,3 м (скв. № 15,17). Водопроницаемость характеризуется коэффициентом фильтрации от 0.1-0.7 м/сут до 10-30 м/сут.

Второй горизонт напорных межпластовых (артезианских) вод вскрыт в скважине 17 и 20 . Водовмещающей породой является пылеватая супесь с гнездами песка, верхний водоупор суглинки , нижний водоупор суглинки с наличием гальки величина избыточного напора над кровлей 5,8 - 6,1 м.

2.5 Химический состав грунтовых вод и оценка агрессивности воды

Химический состав грунтовых вод изучен по пробам, отобранным в скважинах № 17 и № 20.

Далее приводится характеристика химического состава воды, формула Курлова, устанавливаются виды агрессивности воды по отношению к бетонам.

Пробы скважины 17

Ионы

Содержание мг/л

Эквивалентное содержание

Эквивалентная масса



мг - экв

% - экв


катионы

Ca2+

44

2,15

48,9

20,4


Mg2+

27

2,22

50,5

12,16


K++Na+

7

0,3

0,6

23,0

Сумма катионов

78

4,4

100


анионы

SO42-

110

2,3

42

48,03


Cl-

36

1,02

18,5

35,46


HCO3-

134

2,2

39,5

61,01

Сумма анионов

280

5,52

100


Общая сумма

358

9,92




рН=5,7 - среда кислотная

Химическая формула воды Курлова.


Вода сульфатно-бикарбонатно -хлоридно- магниево- кальциевая , пресная, агрессивная по водородному показателю.

Пробы скважины 20

Ионы

Содержание мг/л

Эквивалентное содержание

Эквивалентная масса



мг - экв

% - экв


катионы

Ca2+

116

5,7

49,6

20,4


Mg2+

35

2,9

25,4

12,16


K++Na+

35

2,9

25,4

23,0

Сумма катионов

186

11,5

100


анионы

SO42-

273

5,7

55,6

48,03


Cl-

38

1,1

10,4

35,46


HCO3-

207

3,4

36

61,01

Сумма анионов

518

10,2

100


Общая сумма

704





рН=6,8 - среда слабо кислотная

Химическая формула воды Курлова.


Вода сульфатно- бикарбонатно -хлоридно-кальциево-магниево-натриевая, пресная, агрессивная по сульфатному показателю.

Оценка качества воды по отношению к бетону

Показатель агрессивности среды (воды)

Для сильно- и среднефильтрующих грунтов k>0,1 м/сут

Для слабофильтрующих грунтов k<0,1 м/сут

Бикарбонатная щелочность HCO3- мг/л

>85,4

Не нормируется

Водородный показатель рН

>6,5

>5

Содержание магнезиальных солей в пересчете Mg2+ мг/л

<1000

<2000

Содержание едких солей в пересчете на ионы K+ и Na+ мг/л

<50 (для напорных сооружений)

<80

Содержание сульфатов в пересчете на ионы SO42- мг/л

<250

<300


Грунтовые воды, как показал химический анализ проб, являются неагрессивными по отношению к бетону по вышеперечисленным параметрам, но отличаются по химическому составу.

Гидравлический градиент

=ΔH/l; i=0,2/10=0,02

Перепад между соседними изогипсами

ΔH=0,1 м; кратчайшее расстояние между ними l=4 м

Кажущая скорость грунтового потока

=k*i=10*0,02=0,2 м/сут;

=30 м/сут - коэффициент фильтрации для крупного песка.

g=V/n=0,2/0,66=0,3 м/сут; n-пористость грунта

3. Гидрогеологические расчёты притоков воды при водопонижении


3.1 Расчёт притока воды к совершенным выработкам (котлован)

Так как коэффициент фильтрации больше 0,1 k>0,1, то воду из котлована откачиваем насосом (принудительный дренаж).

Исходные данные:

Глубина котлована hк=3,7 м.

Длина котлована l=160 м.

Ширина котлована b=80 м.

Эквивалентный радиус колодца rэ=, rэ==64 м.

Глубина залегания грунтовых вод hw=0,6м.

Коэффициент фильтрации k=30 м/сут.

Табличный и начальный радиусы влияния:

табл. =70 Rнач= м. при S=H.

Мощность водоносного горизонта dw=0,3 м.

Расчет притока воды в котлован:

м3/сут

Q=1374 м3/сут=15,9 л/с - начало откачки.

 м3/сут

Q=1227 м3/сут=14,2 л/с - конец откачки.


3.2 Расчёт притока воды к несовершенным выработкам (траншея)

Так как коэффициент фильтрации больше 0,1 k>0,1, то воду из траншеи откачиваем насосом (принудительный дренаж).

Исходные данные

Глубина траншеи hтр=2 м.

Длина траншеи l=160 м.

Глубина залегания грунтовых вод hw=1,9 м.

Коэффициент фильтрации k=3 м/сут.

Табличный и начальный радиусы влияния:

Rтабл=20 м, Rнач= м, где S=t.

Заглубление траншеи в водоносный горизонт t=0,1 м.

Мощность водоносного горизонта Н=0,2 м.

=H-t=0,1 м.

Расчет притока воды в траншею:

Начало откачки:


Конец откачки:


4. Прогноз последствий водопонижения

4.1 Оценка возможности развития суффозионного процесса

В условиях развития воронки депрессии вокруг горной выработки резко возрастает уклон поверхности потока, особенно в начальный период неустановившегося движения. В результате возрастает опасность развития суффозии.

Суффозионный процесс (вынос) связан с нисходящим потоком подземных вод в толще неоднородного грунта или на контакте различных по водопроницаемости грунтов.

Наиболее полно возможность суффозионного выноса устанавливается по графику В. С. Истоминой.

Координаты точки, наносимой на график, определяют:

Сu - по данным кривой гранулометрического состава;

i - по формуле i = S/0,33R, где S = h1 - h2 -разность мощностей водоносного слоя до и после водопонижения, м.

R = l - путь фильтрации, равный радиусу влияния, м; 0,33 - коэффициент, ограничивающий значимый путь фильтрации областью, прилегающей к стенке котлована (траншеи).

В зависимости от того, в какую область графика (разрушающих или неразрушающих градиентов) попадает точка, делают вывод о возможности суффозионного выноса. Последствиями суффозионного выноса могут быть обрушение стенок котлована (траншеи), проседание поверхности земли над трубопроводом и вблизи колодцев - за счет выноса тонких фракций грунта и его разуплотнения; изменение свойств песков, используемых для обратной засыпки траншей, пазух колодцев и дренажной сети - за счет вмывания тонких фракций (заиления), что может привести к изменению степени пучинистости грунта, выходу из строя дренажной системы и др.

1. При Rтабл

u17=9,4; i17=S17/0,33R17=0,3/0,33*70=0,012u20=1,75; i20=S20/0,33R20=0,2/0,33*70=0,008

. При R=

u17=9,4; i17=S17/0,33R17=0,3/0,33*56,9=0,02u20=1,75; i20=S20/0,33R20=0,2/0,33*84,4=0,007

4.2 Прогноз оседания поверхности земли при снижении уровня грунтовых вод

Откачки воды со значительными понижениями могут вызвать оседание поверхности вокруг котлованов за счёт изменения веса грунта в осушенной зоне!

Понижение уровня грунтовых вод вызывает увеличение давления грунта от собственного веса. Величина связанной с этим осадки зависит от глубины водопонижения и сжимаемости грунта.

Предварительный расчет осадки территории можно произвести по формуле:

гр = (∆g ´ Sw2 ) / 2E0

∆g=g-gsb;

g - удельный вес грунта, кН/м3

gsb=(gs-gw)(1-n)

gsb - удельный вес грунта в условиях взвешивания, кН/м3

gw - удельный вес воды, кН/м3

n - пористость, д. ед.

Sw - величина водопонижения, м

Е - модуль общей деформации, к Па

Sw=3,1 м

g=18,5 кН/м3

gs =26,2 кН/м3

gsb=(26,2 - 10)(1 - 0,6) = 6,48 кН/м3

∆g = 18,5 - 6,48 = 12,02 кН/м3

Sгр = (12,02 ´ 3,12 ) / (2´15000) = 0,003 м = 3 мм

Осадка поверхности минимальна.

4.3 Прогноз воздействия напорных вод на дно котлована


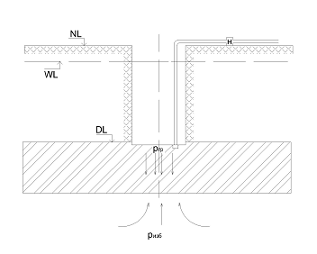
В случае, если на площадке строительства выявлен напорный горизонт, необходимо проверить устойчивость грунтов в основании котлована. Возможны три варианта:

ризбгр - дно выработки устойчиво;

ризбгр - подъем дна котлована за счет разуплотнения грунта в его основании;

ризбгр - прорыв напорных вод в котлован, где ризб=gwНw, pгр=ghгр

gw=10 кН/м3 - удельный вес воды;

Скважина 17.

Нw= 5,8 м - избыточный напор над кровлей;

g=16,5 кН/м3 - удельный вес грунта (суглинок ленточный);

hгр = 1,9 м

ризб=10*5,8=58 кПа

pгр=16,5*1.9=31,53 кПа

ризбгр произойдет прорыв напорных вод в котлован.

Для уменьшения избыточного напора необходимо применить глубинное водопонижение с помощью трубчатых колодцев-скважин (вода откачивается насосом или выходит самоизливом). Также можно увеличить мощность грунта, над напорными водами, что увеличит ргр.

Заключение

В ходе курсовой работы была изучена данная строительная площадка, с точки зрения инженерно-геологических изысканий. Был построен инженерно-геологический разрез, по которому были выявлены особенности геологического строения данной территории, а именно: количество ИГЭ, особенности их залегания, определить количество водоносных слоев, глубину их залегания, водоупоры и водовмещающие породы. Также на основании данных курсовой работы была построена карта гидроизигипс зеркала грунтовых вод, которая позволила определить направления потока грунтовых вод, а также участки возможного подтопления в процессе эксплуатации территории и заглубленных конструкций. Был проанализирован химический состав грунтовых вод, по которому была дана оценка их агрессивности по отношению к бетону, что позволит выбрать марку бетона, применимую для строительства сооружений на данном участке. Был дан прогноз притока воды к котловану (совершенному) и к траншее (несовершенной), которые располагаются на данной территории. Были получены величины притоков воды при водопонижении в начале и конце откачки, позволяющие определить мощность насосов для откачки воды из котлована. Следом был дан прогноз последствий водопонижения. Как показал прогноз развития суффозионного процесса, все точки для наших выработок попадают в зону безопасных градиентов на графике Истоминой, из чего можем сделать выводы о том, что стенки выработки не будут обрушаться при водопонижении за счет выноса тонких фракций грунта. Расчет оседания поверхности земли при снижении уровня грунтовых вод, показал что размер осадки близок к нулю и существенных коррективов в проектирование и монтаж строительных конструкций он не внесет. В данных геологических условиях действие напорных вод на дно котлована может достигнуть критических значений (т. е. может случиться прорыв напорных вод в котлован), чтобы этого избежать были даны рекомендации.

По СП 11-105-97 сделаем вывод о категории сложности инженерно-геологических условий строительной площадки.

по геоморфологическим условиям площадка относится к I (простой) категории сложности, так как находится в пределах одного геоморфологического элемента, поверхность горизонтальная, нерасчлененная.

по геологическим условиям в сфере взаимодействия зданий и сооружений с геологической средой участок имеет II (средней) категорию сложности, так как участок имеет 4 различных по литологии слоя, наблюдается закономерный перепад мощности слоев. Существенное изменение характеристик свойств грунтов, изменяющихся по глубине.

по гидрогеологическим факторам в сфере взаимодействия здания и сооружения с геологической средой участок имеет II (средней сложности) категорию, так как имеет два выдержанных горизонтов подземных вод, с неоднородным химическим составом, и один из слоев обладает напором.

по специфическим грунтам в сфере взаимодействия здания и сооружения с геологической средой участок имеет II (средней сложности) категорию, так как они имеют ограниченное распространение и не оказывают существенного влияния на выбор проектных решений, строительство и эксплуатацию объектов.

по техногенным воздействиям и изменением освоенных территорий площадка относится ко II (средней сложности) категории, так как они не оказывают существенного влияния на выбор проектных решений и проведения инженерно-геологических изысканий.

Список использованной литературы

Свод правил по инженерным изысканиям для строительства, инженерно-геологические изыскания для строительства, СП 11-105-97 часть I.

Конспект лекций.

Строительные нормы и правила российской федерации, инженерные изыскания для строительства СНиП 11-02-96.

Похожие работы на - Оценка гидрогеологических условий на площадке строительства и прогноз неблагоприятных процессов при водопонижении

 

Не нашли материал для своей работы?
Поможем написать уникальную работу
Без плагиата!
Без нейросетей!