Разработка и эксплуатация нефтяных и газовых месторождений

  • Вид работы:
    Курсовая работа (т)
  • Предмет:
    Геология
  • Язык:
    Русский
    ,
    Формат файла:
    MS Word
    1,38 Мб
  • Опубликовано:
    2015-07-07
Вы можете узнать стоимость помощи в написании студенческой работы.
Помощь в написании работы, которую точно примут!

Разработка и эксплуатация нефтяных и газовых месторождений

Содержание

Введение

. Бурение скважин

.1 Ликвидация нефте-газо-водопроявлений при бурении скважин

.2 Средства контроля процесса крепления скважин

.3 Методы вскрытия продуктивного пласта(схемы)

. Разработка и эксплуатация нефтяных и газовых месторождений

.1 Оборудование газовых скважин

.2 Оборудование скважин, эксплуатируемых ЭЦН

. Сбор, подготовка и транспортировка скважинной продукции

.1 Подготовка воды для заводнения нефтяных пластов

.2 Технологические схемы установок по подготовке сточных вод

Заключение

Список литературы

бурение скважина пласт нефтяной

Введение

Очень интересна история добычи и переработки нефти. Как и многие другие источники органических веществ, она была известна многим древним народам. Раскопки на берегах Евфрата установили, что за 6000-4000 лет до н. э. нефть применяли как топливо. Есть сведения, что у нас на Кавказе нефть использовалась 2000 лет тому назад. Арабский историк Истархи, живший в Х в., свидетельствует, что с древних времен бакинцы вместо дров жгли землю, пропитанную нефтью. Нефть издавна вывозили из Баку в качестве осветительного материала.Бурение скважин и промышленная добыча нефти началась, однако, гораздо позже. В 50-60-х годах XX в. на первый план среди горючих ископаемых выдвинулись нефть и газ.

Работа автомобилей и самолетов немыслима без бензина и керосина, на жидком топливе работают тепловозы и корабли. Переходят на дешевое газовое топливо электростанции. Из нефти и газа делают химические продукты, которые превращают потом в синтетические материалы.

Нефть и газ добывать проще и дешевле, чем уголь.

Главная машина для добычи нефти и газа - буровой станок. Первые буровые станки, появившиеся сотни лет назад, по существу, копировали рабочего с ломом. Только лом у этих первых станков был потяжелее и по форме напоминал скорее долото. Он так и назывался - буровое долото. Его подвешивали на канате, который то поднимали с помощью ворота, то опускали. Такие машины называются ударно-канатными. Их можно встретить кое-где и сейчас, но это уже вчерашний день техники: очень уж медленно пробивают они отверстие в камне, очень много расходуют энергии зря.

Гораздо быстрее и выгоднее другой способ бурения - роторный, при котором скважина высверливается. К ажурной металлической четырехногой вышке высотой с десятиэтажный дом подвешена толстая стальная труба. Ее вращает специальное устройство - ротор. На нижнем конце трубы - бур. По мере того как скважина становится глубже, трубу удлиняют. Чтобы разрушенная порода не забила скважину, в нее насосом через трубу нагнетают глинистый раствор. Раствор промывает скважину, уносит из нее вверх по щели между трубой и стенами скважины разрушенную глину, песчаник, известняк. Одновременно плотная жидкость поддерживает стенки скважины, не давая им обрушиться.

Но и у роторного бурения есть свой недостаток. Чем глубже скважина, тем тяжелее работать двигателю ротора, тем медленнее идет бурение. Ведь одно дело вращать трубу длиной 5-10 м, когда бурение скважины только начинается, и совсем другое - крутить колонну труб длиной 500 м. А что делать, если глубина скважины достигает 1 км? 2 км?

В 1922 г. советские инженеры М. А. Капелюшников, С. М. Волох и Н. А. Корнев впервые в мире построили машину для бурения скважин, в которой не нужно было вращать буровые трубы. Изобретатели поместили двигатель не наверху, а внизу, в самой скважине - рядом с буровым инструментом. Теперь всю мощность двигатель расходовал только на вращение самого бура.

У этого станка и двигатель был необыкновенный. Советские инженеры заставили ту самую воду, которая раньше только вымывала из скважины разрушенную породу, вращать бур. Теперь, прежде чем достигнуть дна скважины, глинистый раствор вращал маленькую турбину, прикрепленную к самому буровому инструменту.

Новый станок назвали турбобуром, со временем его усовершенствовали, и теперь в скважину опускают несколько турбин, насаженных на один вал. Понятно, что мощность такой “многотурбинной” машины во много раз больше и бурение идет во много раз быстрее.

Другая замечательная буровая машина - электробур, изобретенный инженерами А. П. Островским и Н. В. Александровым. Первые нефтяные скважины пробурили электробуром в 1940 г. У этой машины колонна труб тоже не вращается, работает только сам буровой инструмент. Но вращает его не водяная турбина, а электрический двигатель, помещенный в стальную рубашку - кожух, заполненный маслом. Масло все время находится под высоким давлением, поэтому окружающая вода не может проникнуть в двигатель. Чтобы мощный двигатель мог поместиться в узкой нефтяной скважине, пришлось делать его очень высоким, и двигатель получился похожим на столб: диаметр у него, как у блюдца, а высота-6-7 м.

Бурение - основная работа при добыче нефти и газа. В отличие, скажем, от угля или железной руды нефть и газ не нужно отделять от окружающего массива машинами или взрывчаткой, не нужно поднимать на поверхность земли конвейером или в вагонетках. Как только скважина достигла нефтеносного пласта, нефть, сжатая в недрах давлением газов и подземных вод, сама с силой устремляется вверх.

По мере того как нефть изливается на поверхность, давление уменьшается, и оставшаяся в недрах нефть перестает течь вверх. Тогда через специально пробуренные вокруг нефтяного месторождения скважины начинают нагнетать воду. Вода давит на нефть и выдавливает ее на поверхность по вновь ожившей скважине. А затем наступает время, когда только вода уже не может помочь. Тогда в нефтяную скважину опускают насос и начинают выкачивать из нее нефть.

1. Бурение скважин

На рисунке экрана модели изображены следующие органы управления:

- задвижка сброса;2 - выходная задвижка дросселя 1;3 - задвижка линии отвода;4 - выходная задвижка дросселя 2;5 - задвижка сброса в сепаратор;6 - дроссель 1;7 - входная задвижка дросселя 1;

входная задвижка дросселя 2;

дроссель 2;

доливная емкость;

входная задвижка линии дросселирования;

ручная задвижка линии дросселирования 2;

ручная задвижка линии дросселирования 1;

пульт бурильщика - управление лебедкой и ротором;

управление РПДЭ;

задвижка доливной емкости;

ручка тормоза лебедки;

гидрозадвижка линии дросселирования 2;

гидрозадвижка линии дросселирования 1;

плашечный превентор 2 (трубные плашки);

глухой превентор (глухие плашки);

ключ АКБ

клинья ротора;

элеватор;

плашечный превентор 1 (трубные плашки);

универсальный превентор;

свечеподающее устройство (СПУ);

гидрозадвижка линии глушения 2;

гидрозадвижка линии глушения 1;

дроссель 3;

ручная задвижка линии глушения 2;

ручная задвижка линии глушения 1;

задвижка линии обратной промывки;

блок очистки (вибросита);

задвижка стояка 1;

задвижка стояка 2;

дегазатор;

дополнительная емкость;

задвижка сброса в емкость;

дополнительный насосный агрегат;

выходная задвижка насоса 1;

буровой насос 1;

выходная задвижка емкости 1;

емкость 1;

задвижка подсоединения насосного агрегата;

разделительная задвижка насосов;

разделительная задвижка емкостей;

задвижка сброса;

выходная задвижка насоса 2;

буровой насос 2

выходная задвижка емкости 2;

емкость 2.

.1 Ликвидация нефте-газо-водопроявлений при бурении скважин

Фенолшлаковая композиция (ФШК)

Представляет собой состав, содержащий фенолспирт, воду, тампонажный шлаковый цемент и наполнитель. В зависимости от типа шлакового цемента и наполнителя (барит, гематит, руда) плотность раствора ФШК может изменяться от 1,7-2,3 гсм3. ФШК вследствие поликонденсации фенолспирта и гидратации шлака превращается в высокопрочную корозионностойкую органоминеральную композицию. Свойства ФШК в зависимости от температуры при давлении 10-80 МПа следующие.

Фильтрат ФШК при температуре выше 650С отверждается в монолитную пластмассу, обеспечивая при этом сцепление камня со стенками скважины колонны. Отвердевшая ФШК практически непроницаемая и корозионностойкая.

Смесь на основе резорциноформальдегидной смолы ФР-12 с отвердителем типа формалин или пароформ рекомендуется для изоляции «сухих» поглощающих горизонтов, так как во время затвердевания смолы, а так же качество затвердеваемого материала в значительной мере зависят от степени разбавления ее водой.

По свойствам синтетические смолы и отвердители различных партий могут отличаться друг от друга. Формалин, в частности довольно быстро стареет; уротропин может гидратировать влагу из воздуха и в зависимости от условий хранения изменять свои свойства. Поэтому каждая операция при проведении РИР должна тщательно готовиться. Проводиться в полном объеме лабораторный анализ исходных компонентов и полученной смеси.

Недостатки присущие материалам при использовании органических вяжущих материалов:

большая зависимость сроков отверждения вяжущего материала от температуры и исходных компонентов и окружающей среды;

усадка продукта отверждения в минерализованной пластовой воде;

смолы и формалин являются токсичными жидкостями, что создает определенные трудности при проведении изоляционных работ на скважинах.

К технологическим факторам возникновения проявлений относят причины, связанные с нарушением технологии проводки скважины. Сюда включают и ошибки, допущенные при разработке технического проекта на строительства скважины, прогнозирование пластовых давлений в процессе бурения и т.д.

Создание противодавления на пласт с целью предотвращения проявлений обеспечивается выбором плотности бурового раствора. Современная практика бурения предусматривает в основном проводку скважин при превышении забойным давлением пластового при статических условиях.

Недостаточная плотность бурового раствора - основная причина проявления и обусловлена ошибками в техническом проекте и технологических регламентах проводки скважины, неточность прогноза пластовых давлений в процессе бурения, несвоевременностью принятии решения об утяжелении бурового раствора или спуске промежуточной колонны, поступлением в буровой раствор жидкости (газа) с меньшей плотностью, вспениваем бурового раствора, некачественной очисткой бурового раствора от газа, седиментацией твердой фазы бурового раствора и др.

При выполнении отдельных технологических операций (спуск и подъем колонны труб, остановка буровых насосов) возможно уменьшение давления в скважине ниже гидростатического, что может способствовать в определенных условиях поступлению из пласта флюида.

При спуске колонны труб в скважину уменьшение давления ниже гидростатического в скважине наблюдается в начале и в конце операции. В начале спуска уменьшение давления связано с приподъемом колонны труб для снятия ее с пневмоклиньев или элеватора, а в конце - с инерционной компонентой столба бурового раствора.

В процессе остановки буровых насосов возникает импульсное уменьшение давления в скважине в следствие гирдавлического удара, что может привести к поступлению флюида только в особых случаях. Среди других технологических операций наибольшую опасность к возникновению проявлений флюида представляют операции, связанные с уменьшением давления в скважине. Это, в частности, ликвидация прихватов колонны труб с помощью жидкостных ванн и других способов, основанных на уменьшении давления в скважине.

Снижение давления на пласт, обусловлено также уменьшением высоты столба бурового раствора в скважине. Основными причинами снижения уровня раствора в скважине являются: поглощение бурового раствора с падением уровня, недолив скважины при подъеме колоны труб, перетоки между трубами и затрубным пространством или пластами. Для любой причины снижения уровня существует его критическое значение, превышение которого приводит к возникновению проявления.

Одна из возможных технологических причин возникновения проявлений - образование искусственных зон АВПД, которые характерны при разбуривании многопластовых месторождений, где залегают газо-нефтенасыщенные пласты. Образование искусственных зон АВПД связано с негерметичностью цементного камня за промежуточными и эксплуатационными колоннами, а также нарушением обсадных колонн. Некачественно зацементированные скважины и неизолированные аварийные стволы являются каналами для межпластовых перетоков флюидов из нижележащих пластов в вышележащие.

Пластовый флюид может поступать в скважину и при превышении забойного давления над пластовым в результате диффузионных и осмотических процессов, каппилярных перетоков, гравитационного замещения и других явлений.

Пластовые жидкости и газы могут поступать в скважину прежде всего, если пластовое давление хотя бы в одном из горизонтов будет выше давления, создаваемого на него промывочной жидкостью.

Приток жидкостей и газов может возникнуть при вскрытии объекта с повышенным коэффициентом аномальности, при плохом контроле за плотностью и дегазацией промывочной жидкости, при понижении уровня жидкости в скважине в результате поглощения, либо во время подъема колонны труб без долива, при быстром подъеме колонны труб (особенно с алмазным или одношарошечным долотом, с сальником на долоте либо с замках, с пакером и т.д.).

Интенсивность притока зависит от перепада давления, проницаемости приствольной зоны пласта, свойств пластовой жидкости и газов и других факторов и нередко бывает весьма значительной.

Некоторое количество пластовых жидкостей и газов поступает в промывочную жидкость с обломками выбуренной породы. Пластовый газ может поступать также в результате диффузии через проницаемые стенки скважины. Интенсивность притока пластовых жидкостей и газов, как правило, невелика и не представляет опасности, если нет длительных перерывов циркуляции, и на поверхности промывочная жидкость хорошо дегазируется.

При благоприятных условиях пластовые жидкости газы могут поступать в скважину под влиянием каппилярного давления, возникающего вследствие искривления менисков на поверхности контакта двух несмешивающихся жидкостей, например пластовой нефти и водного промывочного раствора.

При длительных перерывах циркуляции в промывочную жидкость может поступать некоторое количество газа из верхней части газоносного пласта. Во время промывки в первый период и после ее прекращения под влиянием избыточного давления из промывочной жидкости в газоносный объект отфильтровывается дисперсионная среда. Плотность газа невелика, поэтому избыточное давление вблизи подошвы газоносного объекта выше, чем у кровли, и эта разность тем значительнее, чем больше мощность объекта.

В покое поровое давление тиксотропного промывочного раствора (т.е. давление, создаваемое дисперсионной средой и взвешенными частицами твердой фазы) снижается по мере того, как часть твердой фазы выпадает из взвешенного состояния и зависает на стенках скважины и колонны труб. Если поровое давление против кровли газоносного объекта сравняется с пластовым, отфильтровывание дисперсионной среды из раствора в эту часть горизонта прекратится. Отфильтровывание же в нижнюю часть объекта будет продолжаться, но уже под влиянием избыточного давления, равного примерно поровому давлению столба промывочной жидкости, расположенного только против газоносного объекта.

Фильтрат, поступивший в верхнюю часть газоносного объекта, под действием гравитации стекает к его подошве, а пластовый газ получает возможность фильтроваться в скважину и замещать дисперсионную среду раствора, отфильтровавшуюся в нижнюю часть объекта. Со временем против верхней части газоносного объекта может образовываться пачка газированной промывочной жидкости.

Если газоносный пласт трещиноват, то в процессе бурения нередко в трещины поступает значительное количество промывочной жидкости, которая смешивается затем в них с пластовым газом. При понижении давления в скважине (например, при подъеме бурильной колонны) часть поглощенной жидкости вместе с содержащимся в ней газом из трещин возвращается вновь в ствол. Возможно, что это одна их основных причин появления в скважине газированной промывочной жидкости.

После восстановления циркуляции по мере продвижения газированной промывочной жидкости к устью, в область пониженного давления, содержащийся в ней газ расширяется, объемное соотношение газ: жидкость возрастает. В результате давление, оказываемое столбом промывочной жидкости на стенки скважины и пластовые жидкости, и газы, уменьшается, особенно на сравнительно небольших глубинах (до 100-1500 м); разность между пластовым давлением и давлением в скважине увеличивается, что способствует интенсификации притока жидкостей и газа из пласта.

Как только порция газированной жидкости оказывается на глубине нескольких сот метров от негерметизированного устья скважины, происходит бурное расширение пузырьков газа. При этом часть промывочной жидкости из скважины может быть выброшена, а давление на стенки скважины скачкообразно уменьшится. Часто подобные выбросы переходят в открытое фонтанирование.

Приток газированных и слабогазированных пластовых жидкостей (обычно воды) обнаруживается по переливу через устье после прекращения промывки, а иногда даже во время ее и по увеличению объема жидкости в приемной емкости буровых насосов.

При газировании, помимо уменьшения плотности промывочной жидкости, выходящей из скважины, значительно возрастает условная вязкость. В случае притока пресной воды снижается плотность, условная вязкость и статическое напряжение сдвига, возрастают водоотдача и суточный отстой, из утяжеленного раствора нередко выпадает утяжелитель.

Если же поступает минерализованная вода, может произойти коагуляция раствора, сопровождающаяся ростом условной вязкости, статического напряжения сдвига, водоотдачи и суточного отстоя.

Газо-нефте-водопроявления не только нарушают процесс бурения, но и являются причиной аварий. При интенсивных проявления нередки случаи разрушения устья скважины и бурового оборудования, возникновения взрывов и пожаров.

Для предотвращения притока пластовых жидкостей необходимо:

) герметизировать устье скважины превенторами, следить за их исправностью и работоспособностью, проверять надежность системы управления ими и своевременно устранять выявленные дефекты;

) систематически контролировать качество промывочной жидкости, выходящей из скважины; с момента подхода к горизонту со значительно повышенным коэффициентом аномальности следует непрерывно контролировать плотность выходящего из скважины раствора и величину газосодержания;

) применять промывочные жидкости с небольшой (не более 2-3 см3 за 30 минут), возможно, меньшим (но достаточным для удержания во взвешенном состоянии утяжелителя) статическим напряжением сдвига для вскрытия горизонтов со значительно повышенным коэффициентом аномальности (особенно газоносных);

) увеличивать плотность промывочной жидкости в скважине до уровня, достаточного для поддержания небольшого избытка давления в скважине над пластовым, но обязательно меньшего того, при котором возможно расслоение (или разрыв) пород и поглощение раствора, перед вскрытием горизонтов с повышенным коэффициентом аномальности;

) тщательно дегазировать промывочную жидкость, выходящую из скважины; в случае значительного увеличения газосодержания целесообразно приостановить углубление скважины и, не прекращая промывки, заменить газированную жидкость свежей с повышенной плотностью;

) иметь на буровой запас промывочной жидкости того качества, которое требуется для вскрытия горизонтов с повышенным коэффициентом аномальности, в количестве не менее двух-трех объемов скважины;

) доливать в скважину промывочную жидкость при подъеме колонны труб с таким расчетом, чтобы уровень ее всегда находился у устья;

) установить в нижней части колонны обратный клапан;

) не допускать длительных простоев скважины без промывки; при СПО необходимы промежуточные промывки продолжительностью 1-1,5 цикла через каждые 500-1000 м.

Нефтегазопроявления происходят в основном при снижении гидростатического давления бурового раствора на пласт и аномально высоких пластовых давлениях.

Основными методами предупреждения нефтегазопроявлений являются:

увеличение давления на пласт путем повышения плотности раствора;

снижение до минимально допустимых значений вязкости и СНС бурового раствора при вскрытии продуктивных и водоносных горизонтов;

обеспечение на буровых запаса химических реагентов и утяжелителей не менее чем на 5 суток перед вскрытием продуктивных или водоносных горизонтов;

постоянный контроль плотности , вязкости, СНС и содержания газа при подходе в процессе бурения к кровле продуктивных и водоносных горизонтов, а также при бурении после их вскрытия; необходимо также систематически следить за изменением уровня жидкости в приемных емкостях;

переход на утяжеленный буровой раствор за 50 метров до кровли продуктивного или водоносного горизонта при вскрытии пластов с аномально высокими пластовыми давлениями; бурение, промывка и проработка необходимы при максимально возможной подаче насосов.

Основными методами ликвидации нефтегазопроявлений являются:

усиление промывки скважины и увеличения давления на вскрытый пласт путем утяжеления бурового раствора, вводом утяжелителя в циркуляционную систему, а не порциями, при одновременной дегазации раствора (ввод пеногасителя, снижение СНС, пропуск раствора через дегазатор);

задавка тампонажного раствора в межколонное пространство через перфорационные в колонне отверстия;

замена всего объема раствора в скважине свежим при невозможности дегазации, а также при незначительном попадании нефти, так как падает плотность и возрастает вязкость раствора;

цементирование при закрытом привенторе с созданием максимально допустимого избыточного давления в межколонном пространстве в случае возникновения нефтегазопроявлений в процессе цементирования обсадных колонн;

установка силикатных ванн при проявлении пластовой вод, силикат натрия при взаимодействии с солями двух- и поливалентных металлов образуют труднорастворимые гидросиликаты кальция, магния и других металлов, что способствует быстрой кольматации пор пласта.

В момент установки силикатной ванны водоносный пласт должен принимать, а не проявлять. Это может быть достигнуто созданием необходимого противодавления при изоляции поглощающих пластов либо установкой пакера или цементных мостов. При силикатной ванне против водоносного пласта давление должно быть еще повышено при закрытом привенторе. Вязкость силикатного раствора должна быть 20-30 с, а бурового раствора - в 4-5 раз выше. Спустя 2-4 часа после установления постоянного давления испытывают скважину, постоянно снижая давление на пласт.

.2 Средства контроля процесса крепления скважин

С углублением ствола скважины по мере необходимости проводят работы по его креплению. Понятие крепления скважины охватывает работы по спуску в скважину обсадной колонны и ее цементированию. Спущенная в ствол обсадная колонна - составной элемент конструкции скважины.

В понятие конструкции скважины включают следующие характеристики: глубину скважины; диаметр ствола скважины, который можно оценивать по диаметру породоразрушающего инструмента (долота, бурголовки и т. п.), применяемого для бурения каждого отдельного интервала, и уточнять на основе замеров профилеметрии и кавернометрии; количество обсадных колонн, спускаемых в скважину, глубину их спуска, протяженность, номинальный диаметр обсадных колонн и интервалы их цементирования.

Конструкцию скважины разрабатывают и уточняют в соответствии с конкретными геологическими условиями бурения в заданном районе. Она должна обеспечить выполнение поставленной задачи, т. е. достижение запроектированной глубины и выполнение всего намеченного комплекса исследований и работ в скважине.

Конструкция скважины зависит от степени изученности геологического разреза, способа бурения, назначения скважины, способа вскрытия продуктивного горизонта и других факторов. При ее разработке необходимо учитывать требования по охране недр и защите окружающей среды.

Крепление скважины проводят с различными целями: закрепление стенок скважины в интервалах неустойчивых пород; изоляция зон катастрофического поглощения промывочной жидкости и зон возможных перетоков пластовой жидкости по стволу; разделение интервалов, где геологические условия требуют применения промывочной жидкости с весьма различной плотностью; разобщение продуктивных горизонтов и изоляция их от водоносных пластов; образование надежного канала в скважине для извлечения нефти или газа или подачи закачиваемой в пласт жидкости; создание надежного основания для установки устьевого оборудования.

На практике в глубокие скважины обычно спускают несколько обсадных колонн, которые различаются по назначению и глубине спуска:

- направление - служит для закрепления устья скважины и отвода изливающегося из скважины бурового раствора в циркуляционную систему, обычно спускается на глубину 3 - 10 м;

- кондуктор - устанавливается для закрепления стенок скважины в интервалах, представленных разрушенными и выветрелыми породами, и предохранения водоносных горизонтов - источников водоснабжения от загрязнения, глубина спуска до нескольких сот метров;

- промежуточная колонна - служит для изоляции интервалов слабосвязанных неустойчивых пород и зон поглощения; промывочной жидкости; глубина спуска колонны зависит от местоположения осложненных интервалов;

- эксплуатационная колонна - образует надежный канал в скважине для извлечения пластовых флюидов или закачки агентов в пласт; глубина ее спуска определяется положением продуктивного объекта. В интервале продуктивного пласта эксплуатационную колонну перфорируют или оснащают фильтром.

- потайная колонна (хвостовик) - служит для перекрытия некоторого интервала в стволе скважины; верхний конец колонны не достигает поверхности и размещается внутри расположенной выше обсадной колонны. Если она не имеет связи с предыдущей колонной, то называется «летучкой».

Спущенную обсадную колонну цементируют в стволе скважины по всей длине или в некотором интервале, начинающемся от нижнего конца колонны. Промежуточная колонна в отдельных случаях, когда имеется опасность чрезмерного ее износа при бурении нижерасположенного интервала, может быть съемной или проворачиваемой. В этом случае ее не цементируют.

При бурении скважин на морских акваториях с опорных или плавучих средств от водной поверхности к донному устью скважины устанавливают, подвесную водоизолирующую колонну, которая служит для подъема промывочной жидкости к поверхности и является направлением для бурильной колонны во время ее спуска в скважину.

Разработка конструкции скважины

В проекте строительства скважины разработка ее конструкции - очень ответственный раздел. От правильного учета характера нагружения, условий работы и износа колонн за период существования скважины зависит надежность конструкции. Вместе с тем выбранная конструкция предопределяет объем работ в скважине и расход материалов и поэтому существенным образом влияет на стоимостные показатели строительства и эксплуатации скважины.

Разработка конструкции скважины начинается с решения двух проблем: определения требуемого количества обсадных колонн и глубины спуска каждой из них; обоснования расчетным путем номинальных диаметров обсадных колонн и диаметров породоразрушающего инструмента.

Число обсадных колонн определяется на основании анализа геологического разреза в месте заложения скважины, наличия зон, где бурение сопряжено с большими осложнениями, анализа картины изменения коэффициентов аномальности пластового давления и индексов поглощения, а также накопленного практического опыта проводки скважин. Результаты изучения конкретной геологической обстановки позволяют сделать выводы о несовместимости условий бурения и на этом основании выделить отдельные интервалы, подлежащие изоляции. По имеющимся данным строят график изменения коэффициента аномальности пластового давления ka и индекса давления поглощения kп с глубиной и на нем выделяют интервалы, которые можно проходить с использованием раствора одной плотности.

В отдельных случаях, когда имеющихся геологических сведений недостаточно для обоснования количества колонн и у проектировщиков имеются серьезные опасения, что в скважине могут возникнуть непредвиденные осложнения, в конструкции первых поисковых и поисково-разведочных скважин может быть предусмотрена резервная колонна.

Глубину спуска каждой обсадной колонны уточняют с таким расчетом, чтобы ее нижний конец находился в интервале устойчивых монолитных слабопроницаемых пород и чтобы она полностью перекрывала интервалы слабых пород, в которых могут произойти гидроразрывы при вскрытии зон с аномально высоким пластовым давлением (АВПД) в нижележащем интервале.

Определив число обсадных колонн и глубину их спуска, приступают к согласованию расчетным путем нормализованных диаметров обсадных колонн и породоразрушающего инструмента. Исходным для расчета является либо диаметр эксплуатационной колонны, который устанавливают в зависимости от ожидаемого дебита скважины, либо конечный диаметр скважины, определяемый размером инструментов и приборов, которые будут использоваться в скважине.

По расчетному значению внутреннего диаметра в соответствии с размерами, указанными в ГОСТ 632, подбирают нормализованный диаметр обсадной колонны. Подобным образом повторяют расчет для каждой последующей колонны до самой верхней.

Если строительство скважины завершается без спуска обсадной колонны на конечную глубину, исходным является диаметр долота для конечного интервала.

Общие сведения о цементировании скважин

Разобщение пластов при существующей технологии крепления скважин - завершающий и наиболее ответственный этап, от качества выполнения которого в значительной степени зависит успешное строительство скважины. Под разобщением пластов понимается комплекс процессов и операций, проводимых для закачки тампонажного раствора в затрубное пространство (т. е. в пространство за обсадной колонной) с целью создания там надежной изоляции в виде плотного материала, образующегося со временем в результате отвердения тампонажного раствора. Поскольку в качестве тампонажного наиболее широко применяется цементный раствор, то и для обозначения работ по разобщению используется термин «цементирование».

Цементный камень за обсадной колонной должен быть достаточно прочным и непроницаемым, иметь хорошее сцепление (адгезию) с поверхностью обсадных труб и со стенками ствола скважины. Высокие требования к цементному камню обусловливаются многообразием его функций: плотное заполнение пространства между обсадной колонной и стенками ствола скважины; изоляция и разобщение продуктивных нефтегазоносных горизонтов и проницаемых пластов; предупреждение распространения нефти или газа в затрубном пространстве под влиянием высокого пластового давления; заякоривание обсадной колонны в массиве горных пород; защита обсадной колонны от коррозионного воздействия пластовых вод и некоторая разгрузка от внешнего давления.

Следует отметить, что роль и значение цементного камня остаются неизменными на протяжении всего срока использования скважины, поэтому к нему предъявляются требования высокой устойчивости против воздействия отрицательных факторов.

.3 Методы вскрытия продуктивного пласта (схемы)

Известно, что для сохранения коллекторских свойств пород околоскважинной зоны в продуктивном пласте необходимо поддерживать гидродинамическое давление на забое скважины на уровне пластового или несколько превышающем его. Это способствует уменьшению проникновения в продуктивный пласт фильтрата используемой жидкости и твердой фазы.

Одним из факторов, определяющих величину гидродинамического давления на забое при вскрытии продуктивного пласта бурением, является качество открытого ствола скважины, то есть отклонение его размеров от номинального. Дело в том, что сужение ствола (например, в зонах расположения проницаемых пропластков или в зонах расположения глинистых пород) вызывает дополнительные потери давления в кольцевом пространстве. Наличие же каверн способствует накоплению в них шлама и образованию пробок (сальников), что также приводит к увеличению гидродинамического давления на забое и ухудшению процесса бурения.

Самое нежелательное явление это кавернообразование. Для условий Западной Сибири оно развивается до совершения 13-14 спуско-подъемных операций. Дальнейшее их продолжение не приводит к изменению кавернозности ствола скважины. Следовательно, одной из причин кавернообразования является колебание гидродинамического давления в скважине при спуско-подъемных операциях, связанных, равным образом, с заменой бурового долота или забойного двигателя.

Таким образом, для обеспечения высокого качества открытого ствола скважины перед вскрытием продуктивного пласта при достаточно высоких экономических показателях необходимо создание бурового долота и забойного двигателя, обеспечивающих проходку за рейс не менее 1000 м, а также разработка усовершенствованной конструкции струйно-механичеокого долота шарошечного типа.

Вскрытие продуктивного пласта бурением

Одним из наиболее важных условий сохранения естественной проницаемости продуктивного пласта при его вскрытии является, как уже отмечалось, максимально возможное снижение репрессии на продуктивный пласт. При вскрытии продуктивного пласта наибольшая величина гидродинамического давления на забое скважины достигается при работе бурового долота. В этот момент давление на забой скважины складывается из давления столба бурового раствора, потерь давления в кольцевом пространстве за бурильной колонной и гидродинамического давления, вызываемого вибрацией колонны при работе долота.

Уменьшение давления столба бурового раствора достигается за счет снижения его плотности и реализации так называемого способа бурения"на равновесии" (или даже на депрессии).

При решении вопроса о снижении репрессии на продуктивный пласт особое внимание следует обратить на уменьшение вибрации бурильнойколонны при работе долота. Дело в том, что в большинстве своем нефтяники пренебрегают этим явлением до тех пор, пока не начинают часто ломаться элементы низа бурильной колонны. Однако из зарубежной печати известно, что при работе бурового долота колебания гидродинамического давления на забое скважины достигают порядка 5 МПа (данные получены прямыми измерениями в процессе бурения). Поэтому, решая вопрос о снижении репрессии на продуктивный пласт при его вскрытии бурением, необходимо создать высокоэффективное амортизирующее наддолотное устройство и включить его в компоновку низа бурильной колонны.

Особого внимания заслуживает также вопрос о регламентации скорости спуско-подьемных операций и соблюдении технологической дисциплины при вскрытии продуктивного пласта. Это связано с тем, что применяемые в практике бурения скорости спуско-подъемных операций могут обеспечить весьма высокие репрессии на пласт, вплоть до получения гидроразрыва.

Однако, как бы ни были совершенны техника и технология минимизации репрессии на продуктивный пласт при его вскрытии бурением, полностью исключить репрессию вряд ли возможно. Поэтому необходимо иметь буровой раствор (практика показывает, что он должен быть безглинистый), который предотвратил бы возможность глубокого проникновения его фильтрата в пласт в момент наличия репрессии. Кроме того, должны обеспечиваться высокая степень его очистки от выбуренной породы для поддержания минимальной плотности бурового раствора и отсутствие физико-химического взаимодействия с породами продуктивной зоны и пластовыми флюидами.

Одним из важных факторов при вскрытии продуктивных пластов является продолжительность контакта бурового раствора со стеной скважины, что определяет степень и глубину загрязнения околоскважинной зоны. В связи с этим необходимо стремиться к уменьшению продолжительности первичного вскрытия за счет приме нения высокопроизводительных технологий и бурового инструмента. Однако и этого не всегда бывает достаточно.

Так, в случае технологической необходимости использования буровых растворов с твердой фазой механическая скорость проходки и проходка на долото резко уменьшается из-за ухудшения условий работы бурового долота. Исключить или существенно уменьшить влияние твердой фазы в буровом растворе можно за счет установки над долотом забойного сепаратора твердой фазы, что позволит направить к инструменту очищенный от нее буровой раствор, а саму эту фазу вывести в кольцевое пространство.

Таким образом, для сохранения естественной проницаемости при первичном вскрытии продуктивного пласта необходимо минимизировать репрессию на пласт (до бурения на "равновесии"). При реализации такой технологии увеличивается вероятность возникновениянефтегазопроявлений и опасности фонтанирования скважины. В связи с этим для управления продуктивным пластом и снижения опасности открытого фонтанирования целесообразно разработать технические средства обнаружения нефтегазопроявления продуктивного пласта на начальной стадии, то есть фиксации момента появления пластового флюида в кольцевом пространстве в зоне продуктивного пласта. Наиболее перспективным направлением в этой области представляется, разработка акустической системы непрерывного контроля занефтегазопроявлениями при бурении скважин.

Цементирование эксплуатационной колонны

Вскрытие продуктивных пластов, в основном, осуществляют долотом того же диаметра, что и бурение вышележащего интервала.Эксплуатационная колонна спускается до забоя скважины, а цементный раствор за колонной поднимается на большую высоту вплоть до устья скважины. При этом на продуктивный пласт при цементировании создается высокое гидродинамическое давление, которое обеспечивает проникновение цементного раствора в поры и трещины продуктивного пласта и часто приводит к гидроразрыву пласта с последующим уходом в него значительных объемов цементного раствора, на что указывают нередкие случаи недоподъема цементного раствора до расчетного уровня. Вот почему весьма важной задачей при цементировании эксплуатационной колонны является снижение гидродинамического давления цементного раствора на продуктивный пласт и, по возможности, полное исключение контакта цементного раствора с продуктивным пластом.

Вторичное вскрытие продуктивного пласта

Заключительный этап строительства скважины перед ее освоением вторичное вскрытие продуктивного пласта, которое во многом определяет продуктивность скважины. Некачественное выполнение этого вскрытия может свести на нет все усилия, затраченные при выполнении предыдущих этапов работ.

Применяемые в настоящее время технологии вскрытия, в общем-то, дают неплохие результаты. Но они достигаются, как правило, на месторождениях с высокопроницаемыми коллекторами. При разработке месторождений с низкопроницаемыми коллекторами, которые более сильно, чем высокопроницаемые, реагируют на загрязнение пласта, необходимо совершенствовать применяемые технологии и внедрять (пусть более трудоемкие и дорогостоящие) технологии, обеспечивающие высокую продуктивность скважины.

В связи с этим представляется целесообразным уделять большее внимание поиску (разработке) более эффективных жидкостей для вторичного вскрытия продуктивных пластов, а также совершенствовать технику и технологию перфорации.

Увелечение проницаемости околоскважинной зоны

Разработка месторождений с низкопроницаемыми коллекторами сопровождается уменьшением продуктивности скважин по сравнению с высокопроницаемыми коллекторами. Даже при сохранении естественной проницаемости околоскважинной зоны пласта при первичном вскрытии, цементировании эксплуатационной колонны и вторичном вскрытии продуктивность скважины будет низкой.

Нетрудно заметить, что низкие дебиты скважин связаны не только с низкой проницаемостью коллекторов, но и с особенностью притока пластового флюида в скважину. Как отмечалось выше, не менее половины энергии пласта теряется в не большой околоскважинной зоне, что связано с увеличением гидравлического сопротивления движению жидкости по мере приближения к скважине. Поэтому естественно предположить, что, снизив гидравлическое сопротивление движению жидкости в околоскважинной зоне, можно существенно увеличить продуктивность скважины.

Наиболее перспективным направлением в данном случае представляются разработка и внедрение мероприятий, обеспечивающих увеличение проницаемости околоскважинной зоны выше естественной проницаемости продуктивного пласта.

Как показывает мировой опыт извлечения нефти из низкопроницаемых коллекторов, из числа известных и достаточно хорошо отработанных мероприятий наибольший эффект достигается при гидравлическом разрыве пласта (ГРП). За рубежом данный метод начал применяться с 1949 г., и только в США проведено более 900 тыс. успешных операций, благодаря чему гидроразрыв стал хорошо отработанным методом с успешностью около 90%. В настоящее время 35-40% фонда скважин в США обработано этим методом, в результате чего 25-30% запасов нефти и газапереведено из забалансовых в балансовые. В зарубежной практике ГРП стал неотъемлемой частью цикла строительства скважин при разработке месторождений с низкопроницаемыми пластами.

У нас в стране гидроразрыв пласта применяется в весьма незначительных объемах. Провидимому это связано с разработкой до последнего времени месторождений с высокопроницаемыми коллекторами, где эффективность ГРП низка, а также с отсутствием достаточно высокоэффективной отечественной техники и большой стоимостью реализации метода. Свою негативную роль сыграло и практически полное отсутствие целенаправленных НИОКР по совершенствованию и испытанию отечественной техники и технологии.

Методы вскрытия продуктивных пластов(горизонтов)

Вскрытие пластов и освоение скважины должны быть проведены качественно. Под качеством технологии вскрытия пласта и освоения скважин следует понимать степень изменения гидропроводности пласта (или пропластков) после выполнения соответствующей операции. Оценку качества вскрытия пластов и освоения скважин следует производить по Временной методике по оценке качества вскрытия пластов и освоения скважин.

Методы заканчивания скважин и вскрытия продуктивных горизонтов. В разрезе нефтяных и газовых месторождений встречается большое количество пористых пластов-коллекторов (песков, песчаников, известняков), разобщенных друг от друга глинами, мергелями, плотными песчаниками и другими породами. Эти пласты могут быть нефтеносными, газоносными, водоносными и сухими.

Особое внимание должно быть обращено на конструкцию забоя. Конструкцию забоя следует выбирать по РД.

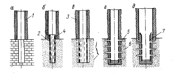
Рисунок 1. Схемы конструкции забоев при заканчивание скважин.

- обсадная колонна; 2 - фильтр; 3 - цементный камень; 4 - пакер; 5 - перфорационные отверстия; 6 - продуктивный пласт; 7 - хвостовик.

2. Разработка и эксплуатация нефтяных и газовых месторождений

Разработка месторождений полезных ископаемых - система организационно - технических мероприятий по добыче полезных ископаемых из недр. Разработка нефтяных и газовых месторождений осуществляется с помощью буровых скважин. Иногда применяется шахтная добыча нефти (Ярегское нефтяное месторождение, Республика Коми).

Под системой разработки нефтяных месторождений и залежей понимают форму организации движения нефти в пластах к добывающим скважинам.

Систему разработки нефтяных месторождений определяют:

порядок ввода эксплуатационных объектов многопластового месторождения в разработку;

сетки размещения скважин на объектах, темп и порядок ввода их в работу;

способы регулирования баланса и использования пластовой энергии.

Следует различать системы разработки многопластовых месторождений и отдельных залежей (однопластовых месторождений).

Объект разработки - один или несколько продуктивных пластов месторождения, выделенных по геолого-техническим условиям и экономическим соображениям для разбуривания и эксплуатации единой системой скважин.

При выделении объектов следует учитывать:

геолого-физические свойства пород-коллекторов;

физико-химические свойства нефти, воды и газа;

фазовое состояние углеводородов и режим пластов;

технику и технологию эксплуатации скважин.

Объекты разработки подразделяют на самостоятельные и возвратные. Возвратные объекты, в отличие от самостоятельных, предполагается разрабатывать скважинами, эксплуатирующими в первую очередь какой-то другой объект.

Сетка скважин - характер взаимного расположения добывающих и нагнетательных скважин на эксплуатационном объекте с указанием расстояний между ними (плотность сетки). Скважины располагают по равномерной сетке и неравномерной сетке (преимущественно рядами). Сетки по форме бывают квадратными, треугольными и многоугольными. При треугольной сетке на площади размещается скважин больше на 15,5 %, чем при квадратной в случае одинаковых расстояний между скважинами.

Под плотностью сетки скважин подразумевают отношение площади нефтеносности к числу добывающих скважин. Вместе с тем это понятие очень сложное. Плотность сетки определяется с учетом конкретных условий. С конца 50-х годов месторождения эксплуатируются с плотностью сетки (3060)·104 м2/скв. На Туймазинском месторождении плотность сетки 20104 м2/скв. при расстоянии между скважинами в рядах 400 м, Ромашкинском -60104 м2/скв. - 1000 м  600 м, Самотлорском - 64104 м2/скв.

Стадии разработки месторождений

Стадия - это период процесса разработки, характеризующийся определенным закономерным изменением технологических и технико- экономических показателей. Под технологическими и технико- экономическими показателями процесса разработки залежи понимают текущую (среднегодовую) и суммарную (накопленную) добычу нефти, текущую и суммарную добычу жидкости (нефти и воды), обводненность добываемой жидкости  (отношение текущей добычи воды к текущей добыче жидкости), текущий и накопленный водонефтяной фактор (отношение добычи воды к добыче нефти), текущую и накопленную закачку воды, компенсацию отбора закачкой (отношение закачанного объема к отобранному при пластовых условиях), коэффициент нефтеотдачи, число скважин (добывающих, нагнетательных), пластовое и забойное давления, текущий газовый фактор, средние дебит добывающих и приемистость нагнетательных скважин, себестоимость продукции, производительность труда, капитальные вложения, эксплуатационные расходы, приведенные затраты и др.

.1 Оборудование газовых скважин

Оборудование устья газовой скважины предназначено для соединения верхних концов обсадных колонн и фонтанных труб, герметизации межтрубного пространства и соединений между деталями оборудования, осуществления мероприятий по контролю и регулированию технологического режима эксплуатации скважин. Оно состоит из трех частей 1) колонной головки, 2) трубной головки и 3) фонтанной елки.

Колонная головка соединяет верхние концы кондуктора и эксплуатационной колонны, герметизирует межтрубное пространство, служит опорой трубной головки с фонтанной елкой.

На рисунке 2 изображена колонная головка на шлипсах. В нижней части расположен широкоопорный пьедестал 1, навернутый до отказа на наружную резьбу обсадной колонны и закрепленный на бетонном фундаменте анкерными болтами. Сверху к пьедесталу прикреплен при помощи фланцевого соединения опорный пьедестал 2, служащий для подвески эксплуатационной колонны. На конусных внутренних ребрах опорного пьедестала установлены шлипсы 3, на которых подвешена и закреплена эксплуатационная колонна. Для герметизации межтрубного пространства в опорном пьедестале над шлипсами установлен сальник, состоящий из газонефтестойкого специального уплотнения 6, зажатого между двумя кольцами 4 и 7 нажимной гайкой 8. Подвеска эксплуатационной колонны на шлипсах заменяет сложный способ подвески на резьбе.

Трубная головка служит для подвески фонтанных труб и герметизации межтрубного пространства

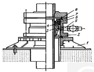
Рисунок 2: Схема колонной головки газовой скважины со шлипсовым креплением обсадных колонн

- широкоопорный пьедестал; 2 - опорный пьедестал для подвески эксплуатационной колонны;

- шлипсы; 4 и 7 - нижнее и верхнее кольца; 5 - отводной патрубок; 6 - уплотнение; 8 - нажимная гайка

Рисунок 3. Оборудование устья скважины

а - тройниковая арматура: 1, 11 - фланцы; 2, 9 - буферы; 3 - вентиль; 4 - манометр; 5 - задвижка; 6 - крестовина; 7, 10 - катушки; 8 - тройник; 12 - штуцер; б - крестовиковая арматура: 1 - фланец, 2 - уплотнитель, 3, 8, 11 - буферы, 4 - вентиль; 5 - манометр; 6 - задвижка; 7, 9 - крестовины; 10 - тройник; 12 - штуцер; 13 - катушка; 14 - фланец.

Между эксплуатационной колонной и фонтанными трубами. На трубную головку непосредственно устанавливают фонтанную елку крестовикового или тройникового типа.

Фонтанная елка монтируется выше верхнего фланца трубной головки. Она предназначена для:

) освоения скважины;

) закрытия скважины;

) контроля и регулирования технологического режима работы скважины.

Основной элемент фонтанной елки крестовикового типа - крестовина, а тройниковой елки - тройник. На ней монтируются штуцеры, термометры, установки для ввода ингибитора гидратообразования и коррозии, устьевой клапан-отсекатель

Устьевой клапан-отсекатель (К-301) предназначен для автоматического перекрытия выходной линии от скважины (шлейфа) при аварийном повышении давления до него или понижении давления после него (в шлейфе). Запорный элемент клапана-отсекателя К-301 выполнен в виде заслонки. Она удерживается в горизонтальном положении с помощью штока чувствительного элемента. При уменьшении давления в трубопроводе шток перемещается, освобождает заслонку, которая и перекрывает поток газа. Клапан-отсекатель открывается вручную после выравнивания давлений до и после заслонки.

На рисунке 3 изображены трубные головки и фонтанные елки с тройниковой (а) и крестовиковой (б) елками. Межтрубные пространства уплотняются кольцевыми прокладками. Нижние боковые отводы от трубной головки предназначены для обработки скважины и замера межтрубного давления.

Из двух отводов фонтанной елки один рабочий, второй резервный. Фонтанная елка крестовикового типа имеет небольшую высоту, удобна в обслуживании, уравновешена. Применяется в случае, если в потоке газа отсутствуют твердые взвеси, газообразные или жидкие коррозионные агенты, способные вызвать коррозию крестовины и тем самым вывести скважину из эксплуатации.

Фонтанная арматура (елка) тройникового типа имеет два тройника. Верхний - рабочий, нижний - резервный. Нижний используется только во время ремонта или замены верхнего. Фонтанная арматура тройникового типа имеет большую высоту (до 5 м от поверхности земли), неудобна в обслуживании, неуравновешена.

Рисунок 4. Комплекс устьевого оборудования для высокодебитных скважин:

- угловой регулирующий штуцер; 2 - автоматический отсекатель; 3 - стволовая пневматическая задвижка; 4 - трубная головка.

Применяется в особо сложных условиях эксплуатации скважины - при наличии твердых взвесей в потоке газа, вызывающих абразивный износ оборудования, газообразных или жидких коррозионных агентов (углекислый газ, сероводород, пропионовая, масляная или. другие кислоты жирного ряда), при резких колебаниях давления и температуры. В верхней части фонтанной елки устанавливается буферный патрубок с манометром, показывающим давление на головке скважины (буферное давление).

Фонтанная арматура выпускается на рабочие давления 4; 7,5; 12,5; 20; 30; 35; 70 и 100 МПа. Внутренний диаметр фонтанной арматуры (63 или 100 мм) выбирают в зависимости от дебита скважины и давления газа. Научно-технический прогресс в добыче газа приводит к необходимости увеличения дебита скважины и диаметра эксплуатационной колонны, а следовательно, диаметра фонтанной арматуры.

Предприятия ВПО «Союзнефтемаш» разработали комплекс устьевого оборудования для высокодебитных скважин газовых месторождений Тюмени (рисунок 4). Он состоит из блочной фонтанной арматуры АФБ6-150/160 х 210ХЛ с дублирующей дистанционно управляемой стволовой задвижкой, автоматическими отсекателями, угловыми регулирующими дросселями на боковых отводах елки; трубной головки, предусматривающей возможность подвески одного ряда насосно-компрессорных труб диаметром 168 мм; манифольда фонтанной арматуры, позволяющего отбирать продукцию по одному из двух или по обоим боковым отводам одновременно и менять штуцерные насадки без остановки скважины; колонной головки ОКК1-210 для обвязки обсадных колонн диаметрами 219 и 324 мм между собой и герметизации межтрубного пространства при помощи самоуплотняющегося уплотнителя. Диаметр условного прохода ствола 150 мм, боковых отводов трубной головки 65 мм, боковых отводов елки 100 мм, температура окружающей и рабочей среды до 213 и 393 ºК соответственно, давление 21 МПа.

Подземное оборудование ствола газовых скважин при добыче природного газа различного состава.

При эксплуатации скважин большое внимание должно уделяться надежности, долговечности и безопасности работы, предотвращению открытых газовых фонтанов, защите среды обитания. Условиям надежности, долговечности и безопасности работы должны удовлетворять как конструкция газовой скважины, так и оборудование ее ствола и забоя. Подземное оборудование ствола скважины позволяет осуществлять:

) защиту скважины от открытого фонтанирования;

) освоение, исследование и остановку скважины без задавки ее жидкостью;

) воздействие на призабойную зону

Рисунок 5. Схема компоновки подземного оборудования газовой скважины:

- пакер эксплуатационный; 2 - циркуляционный клапан; 3 - ниппель; 4 - забойный клапан-отсекатель с уравнительным клапаном; 5 - разобщитель колонны НКТ; 6 - ингибиторный клапан; 7 - клапан аварийный, срезной; 8 - НКТ; 9 - жидкий ингибитор коррозии и гидратообразования; 10 - хвостовик пласта с целью интенсификации притока газа к скважине; 4) эксплуатацию скважины на установленном технологическом режиме; 5) замену колонны насосно-компрессорных (фонтанных) труб без задавки скважины жидкостью.

Для надежной эксплуатации газовых скважин используется следующее основное подземное оборудование: разобщитедь (пакер); колонна насосно-компрессорных труб (НКТ); ниппель; циркуляционный клапан; ингибиторный клапан; устройство для автоматического закрытия центрального канала скважины, которое включает в себя забойный клапан-отсекатель, уравнительный клапан, переводник и замок; клапан аварийный, срезной; разъединитель колонны НКТ; хвостовик. Дополнительное рабочее оборудование для работы с клапанами-отсекателями включает в себя: посадочный инструмент; ловители; шар с седлом для посадки пакера; приемный клапан; головку к скважинным приборам; грузы; гидравлический ясс; механический ясс; шлипсовый замок; груз для обрыва скребковой проволоки; двурогий крюк; уравнительную штангу; инструмент для управления циркуляционным клапаном.

Разобщитель (пакер) предназначен для постоянного разъединения пласта и затрубного пространства скважины с целью защиты эксплуатационной колонны и НКТ от воздействия высокого давления, высокой температуры и агрессивных компонентов (Н2S, СО2, кислот жирного ряда), входящих в состав пластового газа.

Колонна НКТ спускается в скважину для предохранения обсадной колонны от абразивного износа и высокого давления, для создания определенных скоростей газожидкостного потока и выработки газонасыщенного пласта снизу вверх.

Ниппель служит для установки, фиксирования и герметизации в нем забойного клапана-отсекателя. Он спускается в скважину на колонне НКТ и устанавливается обычно выше пакера.

Циркуляционный клапан обеспечивает временное сообщение центрального канала с затрубным пространством с целью осуществления различных технологических операций: освоения и задавки скважины, промывки забоя, затрубного пространства в колонны НКТ, обработки скважины различными химическими реагентами и т. д. Клапан устанавливается в колонне НКТ во время ее спуска в скважину и извлекается вместе с ней.

Ингибиторный клапан предназначен для временного сообщения затрубного пространства скважины с внутренним пространством колонны НКТ при подаче ингибитора коррозии или гидратообразования в колонну. Клапан устанавливается в колонне НКТ во время ее спуска и извлекается вместе с ней (КИМ-89В-350К).

.2 Оборудование скважин, эксплуатируемых ЭЦН

Наземное оборудование УЭЦН: устьевое оборудование, трансформатор, ШГС

Это оборудование предназначено для герметизации устья и регулирования отбора нефти в период фонтанирования при эксплуатации штанговыми скважинными насосами, а также для проведения технологических операций, ремонтных и исследовательских работ в скважинах, расположенных в умеренном и холодном макроклиматических районах. В оборудовании устья типа ОУ колонна насосно-компрессорных труб расположена эксцентрично относительно оси скважины, что позволяет проводить исследовательские работы через межтрубное пространство.Запорное устройство оборудования - проходной кран с обратной пробкой. Скважинные приборы опускаются по межтрубному пространству через специальный патрубок. Подъемные трубы подвешены на конусе, Насосно-компрессорные трубы и патрубок для спуска приборов уплотнены разрезными резиновыми прокладками и нажимным фланцем. Конус и все закладные детали уплотнительного узла выполнены разъемными.В оборудовании применен устьевой сальник с двойным уплотнением. Для перепуска газа в систему нефтяного сбора и для предотвращения излива нефти в случае обрыва полированного штока предусмотрены обратные клапаны.Оборудование унифицировано с серийно выпускаемой фонтанной арматурой с проходными пробковыми кранами.

Техническая характеристика приведена ниже.

Рабочее давление, МПа:

в арматуре 14

при остановившемся станке-качалке 14

при работающем станке-качалке 4

Запорное устройство ствола и боковых отводов Кран пробковый проходной типа КПСС

Рабочая среда Некоррозионная

Габаритные размеры, мм 2100*430*996

Масса, кг 450

Оборудование ОУГ-65Х21

Предназначено для герметизации устья нефтяных скважин, оснащенных гидроприводными насосами.

Применяется в умеренном и холодном макроклиматических районах.Оборудование ОУГ-65Х21 (рисунок 6) обеспечивает подвеску лифтовых труб, проведение ряда технологических операций с целью спуска и извлечения гидропоршневого насоса, а также проведение ремонтных исследовательских и профилактических работ.

Рисунок 6. Оборудование устьевое ОУГ-65Х21:

- сливной вентиль; 2 - задвижка; 3 - тройник; 4 - переводной фланец; 5 - вентиль ВК.-3; 6 - крестовик; 7 - промежуточный фланец.

Трансформатор

У трансформаторов предусмотрено масляное охлаждение. Они предназначены для работы на открытом воздухе. На высокой стороне обмоток трансформаторов выполняется по пятьдесят ответвлений для подачи оптимального напряжения на электродвигатель в зависимости от длины кабеля, загрузки электродвигателя и напряжения сети.Переключение отпаек производится при полностью отключенном трансформаторе.Трансформатор состоит из магнитопровода, обмоток высокого ВН и НН напряжения, бака, крышки с вводами и расширителя с воздухосушителем. Бак трансформатора заполняется трансформаторным маслом, имеющим пробивное напряжение не ниже 40кВт.На трансформаторах мощностью 100 - 200кВт установлен термосифонный фильтр для очистки трансформаторного масла от продуктов старения.

На крышке бака смонтирован:

привод переключателя ответвлений обмоток ВН (один или два);

ртутный термометр для измерения температуры верхних слоев масла;

съемные ввода ВН и НН, допускающие замену изоляторов без подъема извлекаемой части;

металлический короб для предохранения вводов от попадания пыли и влаги.

Воздухоосушитель с масляным затвором предназначен для удаления влаги и очистки от промышленных загрязнений воздуха, поступающего в трансформатор при температурных колебаниях уровня масла.

Станция управления ШГС

Комплексное устройство, или станция управления ШГС 5805 предназначена для управления УЭЦН мощностью до 100 кВт. а комплексное устройство КУПНА - для установок с электродвигателями мощностью свыше 100 кВт.Станция управления ШГС 5805 располагается в металлическом шкафу, в котором размещено электрооборудование, обеспечивающее защиту электродвигателя и насоса от различных неполадок.Например: отключение ПЭД, защита при падении напряжения в сети, или при повышении напряжения выше номинального. Оператор по добыче нефти производит включение или отключение установки, а также контроль за работой установки по сигнальным лампам и по КИП на передней панели ШГС.

3. Сбор, подготовка и транспортировка скважинной продукции

Технологическая модель современной системы сбора промысловой продукции, транспорта и подготовки нефти и воды состоит из девяти элементов, которые представлены на рисунке 7.

Элемент 1. Участок от устья добывающих скважин до групповых замерных установок (ГЗУ), здесь продукция скважин в виде трехфазной смеси (нефть, газ, вода) по отдельным трубопроводам перекачивается до узла первичного замера и учета продукции.

Элемент 2. Включает участок от ГЗУ до дожимных насосных станций (ДНС), где продукция скважин разделяется на жидкую и газовую фазы (первая ступень сепарации). На данном участке возможно образование достаточно высокодисперсной водогазонефтяной эмульсии, стойкость которой будет зависеть от физико-химических характеристик конкретной нефти и воды.

Элемент 3. ДНС-газосборная сеть (ГСС). В этом элементе нефтяной газ из булитов (емкостей), являющихся первой ступенью сепарации, отбирается в газосборную сеть под давлением узла сепарации.

Элемент 4. ДНС - УКПН. Данный элемент включает участок от ДНС до установки комплексной подготовки нефти (УКПН). В некоторых нефтяных регионах такой узел называют «центральный пункт сбора продукции (ЦПС)».

Элемент 5. ДНС - установка предварительного сброса воды (УПСВ). Часто данный элемент бывает совмещенным с одновременным отделением газа первой ступени сепарации; затем вода проходит доочистку до нужного качества.

Элемент 6. УПСВ - КНС. Отделившаяся вода необходимого качества и количества из емкостей УПСВ (отстойные аппараты) силовыми насосами подается на кустовую насосную станцию (КНС) для нагнетания в пласт.

Элемент 7.УКПН -установка подготовки воды. Этот элемент также является совмещенным, т.к.одна из ступеней используется для отделения и очистки водной фазы, а вторая - для разделения и разрушения эмульсии промежуточного слоя, которая накапливается в резервуарах товарного парка.

Элемент 8.Установка подготовки воды - КНС. Вся водная фаза ( как сточная вода) с узла подготовки воды по отдельному трубопроводу транспортируется в этом элементе до кустовой насосной станции.

Элемент 9. КНС - нагнетательная скважина (пласт). На этом участке очищенная от мехпримесей и нефтепродуктов сточная вода силовыми насосами КНС закачивается в нагнетательную скважину и далее в пласт.

На основании обобщения передового опыта эксплуатации и научных исследований в отрасли разработаны унифицированные технологические схемы по сбору и подготовке нефти, газа и воды.


В основу этих схем положено совмещение в системе герметизированного нефтегазосбора процессовтранспорта и подготовки продукции скважин для ее последующего разделения в специальном оборудовании при максимальном концентрировании основного оборудования по подготовке нефти, газа и воды на центральных нефтесборных пунктах (ЦНП). Это дает возможность автоматизировать промысловые объекты с наименьшими капитальными вложениями.

Существует несколько вариантов унифицированных технологических схем. Например:

. I ступень сепарации размещается на площадке ДНС, осуществляется предварительное обезвоживание нефти при давлении I ступени сепарации. Качество сбрасываемой пластовой воды должно удовлетворять требованиям к ее закачке в трещиновато-пористые коллекторы как наиболее распространенные.

. На месторождении размещается сепарационная установка без сброса воды.

Нефть совместно с выделившимся из нее газом в нормальных условиях не может транспортироваться на большие расстояния, т.к. объем выделившегося газа в несколько десятков раз превышает объем жидкости и для совместного их транспорта необходимо было бы сооружать трубопроводы большого диаметра, что очень дорого. Поэтому на нефтяных месторождениях совместный сбор и транспорт нефти и нефтяного газа осуществляют только на экономически целесообразные расстояния (табл. 2), а затем нефть и выделившийся из нее газ транспортируют отдельно. Для этого предварительно разделяют нефтегазовый (нефтеводогазовый) поток на два - нефтяной (водонефтяной) и газовый.

.1 Подготовка воды для заводнения нефтяных пластов

Пластовые воды, отделяемые от нефти в процессе ее сбора и подготовки, сильно минерализованы, и по этой причине их нельзя сбрасывать в реки и водоемы, так как это приводит к гибели пресноводных. Поэтому пластовые воды закачивают в продуктивные или поглощающие пласты. Вместе с пластовыми закачивают и пресные воды, используемые в технологическом процессе при обесссоливании нефти, а также ливневые воды, попадающие в промышленную канализационную систему. В целом все эти воды называются сточными. В общем объеме сточных вод на долю пластовых приходится 85-88%, на долю пресных - 10-12% и на долю ливневых - 2-3%. Использование нефтепромысловых сточных вод в системе поддержания пластового давления при водонапорном режиме разработки месторождений - это важное техническое и природоохранное мероприятия в процессе добычи нефти, позволяющее осуществлять замкнутый цикл оборотного водоснабжения по схеме: нагнетательная скважина - пласт - добывающая скважина - система сбора и подготовки нефти и газа с блоком водоподготовки - система ППД.

Нефтепромысловые сточные воды представляют собой разбавленные дисперсные системы плотностью 1040-1180 кг/м3, дисперсионные среды которых - высокоминерализованные рассолы хлор-кальциевого типа (хлорид натрия, хлорид кальция). Дисперсные фазы сточных вод - капельки нефти и твердые взвеси. При извлечении из недр продукции скважин пластовая вода, находящаяся в эмульгированном состоянии, практически не содержит каких-либо загрязнений: примеси не превышают 10-20 мг/л, но после расслоения эмульсии на нефть и воду содержание диспергированных частиц в отделяемой воде сильно растет: нефти - до 4-5 г/л, механических примесей - до 0,2 г/л. Объясняется это тем, что в результате снижения межфазного натяжения на границе нефть-вода вследствие введения в систему реагента-деэмульгатора и турбулизации расслоенного потока интенсифицируется диспергирование нефти в воде, а также отмыв и пептизация различных шламовых отложений (продуктов коррозии, глинистых частиц) с внутренней поверхности трубопроводов. Кроме того, в аппаратах-водоотделителях накапливается промежуточный слой, состоящий из капель воды с неразрушенными бронирующими оболочками, агломератов твердых частиц, механических примесей, асфальтосмолистых веществ и высокоплавких парафинов, микрокристаллов солей и других загрязнителей. По мере накопления часть промежуточного слоя сбрасывается с водой, и значительное количество загрязняющих примесей переходит в водную среду. В результате смешения вод различного химического состава происходит нарушение сульфатного равновесия, что тоже приводит к увеличению твердого осадка.

Сточные воды содержат растворенные газы: кислород, сероводород, углекислый газ, которые интенсифицируют их коррозионую активность, что приводит к быстрому износу нефтепромыслового оборудования и трубопроводов и, следовательно, ко вторичному загрязнению сточных вод продуктами коррозии. В сточных водах содержится закисное железо - до 0,2 г/л, окисление которого приводит к образованию осадка и углекислого газа.

Нефтепромысловые сточные воды могут быть заражены суль-фатовосстанавливающими бактериями, поступающими с ливневыми водами, способствующими выпадению осадков карбоната кальция и сульфида железа.

Наличие в сточной воде капелек нефти и механических примесей приводит к резкому снижению приемистости продуктивных и поглощающих пластов. Поэтому перед закачкой сточных вод в продуктивные или поглощающие пласты требуется их очистка. Нормы качества сточной воды, закачиваемой в продуктивные пласты, приведены в таблице 1.

Нормы качества сточной воды для закачки в продуктивные пласты

Таблица 1

3.2 Технологические схемы установок по подготовке сточных вод

Установки по подготовке сточных вод для заводнения нефтяных пластов подразделяются на открытые и закрытые. Сточные воды I в установке по подготовке сточных вод открытого типа (рисунок 6), поступающие с установки подготовки нефти <#"888089.files/image013.gif">

Водонефтяная эмульсия I в установке по подготовке сточных вод закрытого типа (рисунок 8), поступающая с промысла, смешивается с горячей пластовой водой VII, выводимой из отстойников или подогревателей-деэмульсаторов установки подготовки нефти и содержащей реагент-деэмульгатор, проходит каплеобразователь 1 и поступает в резервуар-отстойник с жидкостным гидрофильным фильтром 2, в котором осуществляется предварительный сброс воды <#"888089.files/image014.gif">

Технологическая схема установки по подготовке сточных вод закрытого типа

Подготовка сточных вод, основанная на принципе флотации, осуществляется в резервуаре-флотаторе (рисунок 10). Флотация - это процесс извлечения из жидкости мельчайших дисперсных частиц с помощью всплывающих в жидкости газовых пузырьков. В резервуаре-флотаторе пузырьки газа образуются во флотационной зоне 5 за счет выделения растворенного газа из газонасыщенной сточной воды в результате снижения давления при поступлении ее в эту зону. Давление насыщения воды газом - 0,3-0,6 МПа; количество выделенного газа из воды - 25 л/м3. Газонасыщенная вода через патрубок ввода 1 вводится в нижнюю часть флотационной зоны с помощью перфорированного распределителя. Сточная вода поднимается во флотационной зоне со скоростью, обеспечивающей длительность пребывания воды во флотационной зоне около 20 мин. Выделяющиеся пузырьки газа, поднимаясь зверх, встречают на своем пути дисперсные частицы, распределенные в воде. Дисперсные частицы, которые плохо смачиваются водой (капельки нефти), захватываются пузырьками и флотируются на по-зерхность, образуя там слой пены. Уловленная нефть собирается в юльцевой желоб 4

для сбора нефти и выводится через патрубок 2. Вода из флотационной зоны 5 перетекает в отстойную зону 6, расположенную в кольцевом пространстве между корпусом 3резервуара и флотационной зоной, где медленно опускается вниз. Дисперсные частицы, которые хорошо смачиваются водой, не захватываются пузырьками газа во флотационной зоне, а под действием силы тяжести <#"888089.files/image015.gif">

Рисунок 10. Резервуар - флотатор

Электрофлотация - это флотация газом, образовавшимся в результате электролиза. При электролизе воды образуются пузырьки кислорода и водорода. Преимущество электрофлотации по сравнению с газовой флотацией - возможность получения при электролизе тонкодиспергированных пузырьков газа до 16 *107

шт/(м2*мин), что приводит к быстрому осветлению нефтесодержащей воды. Сущность электрофлотационногоспособа очистки сточных вод включается в следующем. В технологической емкости устанавливают электроды и пропускают постоянный электрический ток. В результате электролиза на электродах выделяются газовые пузырьки, которые поднимаются вверх, пронизывая слой обрабатываемой нефтесодержащей воды. При движении в сточной воде пузырьки сталкиваются с дисперсными частицами, взвешенными в воде, прилипают к ним и флотируют их. Таким образом, дисперсные частицы собираются в верхней части сосуда в виде пены, которую удаляют с помощью скребкового транспортера. Очищенная вода выводится через патрубок, расположенный внизу аппарата. На процесс очистки сточных вод методом электрофлотации существенное влияние оказывает расположение электродов. Рекомендуется располагать один электрод в нижней части аппарата так, чтобы он по возможности закрывал все дно. Это необходимо для того, чтобы пузырьки, выделяющиеся при электролизе на этом электроде, пронизывали весь объем обрабатываемой воды и обеспечивали флотацию дисперсных частиц. Второй электрод закрепляют в вертикальном положении, так чтобы он не препятствовал флотации дисперсных частиц. Электроды выполняют в виде пластин, решеток, можно использовать подвижные электроды с целью регулирования расстояния между ними.

Заключение

Продукция нефтяных скважин практически никогда не состоит из чистой нефти. Как правило, она представляет собой смесь нефти, воды и газа с небольшими примесями других веществ. Поэтому важнейшей задачей системы сбора и подготовки нефти является сепарация, то есть разделение нефти, газа и воды друг от друга.

Совершенствование поисково-разведочных работ и методов разработки нефтяных месторождений способствует поиску и извлечению все новых запасов нефти в самых разных уголках мира. Растет и спрос на добываемую нефть. Транспортировка нефти, соединяя районы добычи нефти с районами ее потребления, является жизненно важной составляющей нефтяной индустрии. Она обеспечивает необходимые нам потоки нефти, с помощью которой мы можем привести в движение наши машины, согреть наши дома, и в целом повысить наш уровень жизни.

По мере развития рыночных отношений в российской экономике повышается роль затрат на реализацию продукции предприятий. Именно затраты являются основой для ценообразования и решающим фактором формирования прибыли. Поэтому предприятия в условиях рынка постоянно стремятся поддерживать оптимальный уровень издержек обращения.

Внедрение в практику работы предприятий современных методов управления издержками и процессом ценообразования способствует повышению эффективности торгового процесса.

Учет затрат на реализацию продукции, планирование и калькулирование издержек обращения имеют наибольшую специфику в связи с особенностями технологии и организации торгового процесса. В связи с этим существует потребность освоения особенностей формирования затрат, которые определяются отраслевыми факторами и ситуациями, складывающимися на конкретном предприятии. Все это обуславливает возрастание значимости выполнения одной из основных целей предприятия - исчисление цены реализуемой продукции для расчетов и оценки финансовых результатов.

Список использованной литературы

Герасименко В.В. Управление ценовой политикой компании: Учебник.-М.: Эксмо, 2007.

Липсиц И.В. Коммерческое ценообразование. - М.: БЕК, 2005.

Липсиц И.В. Коммерческое ценообразование: Учебник. Сборник деловых ситуаций. Тесты. - 2-е изд., доп. и испр. - М., БЕК, 2007.

Либерман И.А. Цены и себестоимость продукции. - М.: Финансы и статистика, 2005.

Михайлова Е.А. Ценовые стратегии: современные мировые тенденции // Маркетинг в России и зарубежом. - 2009. - №5.

Никишкин В.В. Торговый маркетинг. - М.: Изд-во Рос. экон. акад., 2008.

Пирожкова Н. Проблемы ценообразования и учет затрат // Бух.учет. - 2008. - №1.

Порошина Н. Новые аспекты ценообразования // Маркетинг. - 2007. - №6.

Пунин Е.И. Маркетинг менеджмент и ценообразование на предприятиях в условиях рыночной экономики. М: Международные отношения 2009.

Родионова А.Н., Руднева Ю.Р., Пашин С.Т. Методы расчета цены на новый товар // Маркетинг в России и зарубежом. -2006. - №2.

Слепнева Т.А., Яркин Е.В. Цены и ценообразование: Учебное пособие. - М.: ИНФРА-М, 2008.

Слепов В.А. Попов Б.В. Вопросы комплексного подхода к ценообразованию в новых экономических условиях. - М.: Система, 2005.

Тарасевич В.М. Ценовая политика предприятия: Учебник. - СПб.: Питер, 2006.

Тарасевич В.М. Ценовая политика предприятия: Учебник для вузов. З-е издание. - СПб.: Питер, 2010.

Уткин Э.А. Ценовая политика: Учебник. - М.: Тандем, 2004.

Уткин Э.А. Цены. Ценообразование. Ценовая политика. - М.: ЭКМОС, 2006.

Чубаков Г.Н. Стратегия ценообразования в маркетинговой политики предприятия, М. Инерра - М. - 2008.

Цаиулин А.Н. Ценообразование в маркетинге. - М.: Филин, 2009.

Ценообразование: Учеб. пособие для вузов/ Под ред. И.К. Салимжанова. - 2-е изд., доп. - М.: АО «Финстатинформ», 2009.

Цены и ценообразование / Под ред. В.Е. Есипова. - СПб.: Питер, 2007.

Экономика предприятия: Учебник / Под ред. Проф. О.И. Волкова. - М.: ИНФРА-М, 2008.

Экономика и статистика фирм. 2-е издание переработанное и дополненное. - М.: Банки и биржи, ЮНИТИ, 2007.

Похожие работы на - Разработка и эксплуатация нефтяных и газовых месторождений

 

Не нашли материал для своей работы?
Поможем написать уникальную работу
Без плагиата!
Без нейросетей!