Разработка и эксплуатация нефтяных и газовых месторождений

  • Вид работы:
    Отчет по практике
  • Предмет:
    Геология
  • Язык:
    Русский
    ,
    Формат файла:
    MS Word
    1,34 Mb
  • Опубликовано:
    2011-10-28
Вы можете узнать стоимость помощи в написании студенческой работы.
Помощь в написании работы, которую точно примут!

Разработка и эксплуатация нефтяных и газовых месторождений

1. ОЗНАКОМЛЕНИЕ С РАЙОНОМ ПРАКТИКИ

.1 Общие сведения о месторождении

МЕСТОРОЖДЕНИЕ БАХМЕТЬЕВСКОЕ

Тип месторождения: нефтегазовое

Административная принадлежность: Волгоградская область

Нефтегазоносная провинция: Волго-Уральская

Нефтегазоносная область: Нижневолжская

Тектоническая принадлежность: Юго-восточный склон Воронежской антеклизы; Уметовско-Линевская впадина

Начало поискового бурения, год: 1951

Год открытия: 1951

Год начала разработки: 1955

Тип структуры: Брахиантиклиналь

Месторождение расположено в 330 км к северу от г. Волгограда. Разведочные работы проводились в комплексе геолого-геофизических исследований, осуществлявшихся в северных районах Доно-Медведицкого вала и завершившихся открытием в 1919 г. Жирновского месторождения. В декабре 1951 г. при опробовании отложении тульского горизонта получен нефтяной фонтан, ознаменовавший открытие Бахметьевского месторождения. В результате последующих разведочных работ установлена нефтегазоносность двенадцати пластов. Бахметьевское месторождение является одним из крупных в Волгоградской области и разрабатывается с 1955 г. На площади месторождения до передачи его в эксплуатацию было пробурено 16 разведочных скважин.

Бахметьевское поднятие отделяется от находящегося к югу Жирновского небольшим прогибом амплитудой до 40 м. Оно имеет по каменноугольным отложениям резко асимметричное строение и вытянуто с северо-востока на юго-запад. Углы падения на западном крыле достигают 40°. на посточном 1° 40'-2°. Размер поднятия уменьшается с глубиной. По кровле воронежского горизонта складка узкая, вытянутая, со сводом, смещенным на юго-запад по отношению к сводам каменноугольных отложений. На север и восток мощность терригенного девона значительно сокращается.

Нефтегазоносность месторождения приурочена к каменноугольным и верхнедевонским отложениям.

Залежь нефти воронежского горизонта приурочена к доломитизированным трещиноватым известнякам и серым доломитам. Залежь небольшая, разрабатывается с сентября 1965 г. Дебит скважины составлял 10 т/сутки.

Нефть имеет плотность 0,821- 0,835 г/см3, содержит 1,8-2,7% парафина, 0,31- 0,93% серы, 5-12% смол акцизных; выход легких фракций (до 300° С) 52-56%.

Залежь нефти и газа евлановско-ливенского горизонта приурочена к переслаиванию известняков, доломитов и доломитизированных известняков. Известняки трещиноватые, с псевдоолитовой структурой. Залежь расположена в самой верхней части горизонта и имеет небольшой размер. Начальный дебит скважин 40 т/сутки. Залежь разрабатывается с 1963 г.

Нефть легкая, плотностью около 0,815 г/см3, малосернистая (0,31%), малосмолистая (около 7% акцизных смол), парафинистая (3,49%); выход легких фракций (до 300° С) 54-66%.

Залежь нефти и газа кизеловского горизонта связана с органогенными детритусовыми известняками, участками перекристаллизованными, содержащими небольшие прослои глин. . Залежь нефти небольшая, плавающая. В верхней части пласта обнаружена небольшая газовая шапка. Залежь разрабатывается с 1960 г. со средним начальным дебитом на скважину 20 т/сутки.

Нефть имеет плотность 0,874- 0,908 г/см3, содержит 3,3-4,6% парафина. 0,3-0,8% серы, 12-30% смол акцизных: выход легких фракций (до 300° С) 26-41%.

Залежь нефти и газа бобриковского горизонта приурочена к серым и темно-серым песчаникам, средне- и мелкозернистым, кварцевым, слабосцементированным. Залежь пластовая сводовая, разрабатывается с 1956 г. с поддержанием пластового давления. Начальный дебит скважин 27,2 м3/сутки.

Нефть имеет плотность 0,868 г/см3, вязкость 18,51 сст, содержит 0,30% серы, 17% акцизных смол и 0,71% парафина. Выход легких фракций (до 300° С) достигает 45%.

В тульском горизонте залежи нефти и газа обнаружены в трех пластах: Б-1, А-2 и А-1.

Газонефтяная залежь пласта Б-1 тульского горизонта приурочена к нескольким песчаным прослоям, объединенным в две пачки с общим контуром нефтеносности, но с различным положением газонефтяного контакта. Коллекторами являются слабосцементированные песчаники. Залежь пластовая сводовая; средний дебит скважин 31,7 т/сутки. Залежи разрабатываются с 1955 г. с применением законтурного заводнения.

Нефть тульского горизонта имеет плотность 0,860 г/см3, вязкость 48,31 сст, содержит 0,23% серы, 6,17% смол силикагелевых, 2,48% парафина; выход легких фракций (до 300° С) 45%.

Газонефтяная залежь в пласте А-2 приурочена к рыхлым мелко-и среднезернистым кварцевым песчаникам. Залежь пластовая сводовая. Разрабатывается с 1957 г. Газонефтяная залежь в пласте А-1 приурочена к серым органогенным зернистым известнякам, залегающим на 7-10 м ниже кровли горизонта. Залежь нефти небольшая, с газовой шапкой, в разработку не введена.

Залежь нефти намюрского яруса связана со светло-серыми известняками зернистыми, сахаровидными, трещиноватыми и пористыми. Залежь пластовая сводовая, разрабатывается с 1959 г.; дебиты скважин 20-1000 т/сутки.

Нефть тяжелая, плотность 0,904 г/см3, вязкая (123,2 сст), малосернистая (0,52%), содержит 6,88% силикагелевых смол, 0,27% парафина; выход легких фракций (до 300° С) 29-32%.

Залежь нефти нижнебашкирского подъяруса связана с пористыми и кавернозными известняками. Залежь нефти разрабатывается с 1960 г.

Нефть тяжелая, плотностью 0,905 г/см3, малосернистая, содержит 0,5% серы, 29,0% акцизных смол и 0,70% парафина; выход легких фракции (до 300° С) 30-34%.

Залежи нефти и газа верхнебашкирского подъяруса приурочены к четырем пластам. Коллекторские свойства IV пласта незначительно отличаются от свойств вышележащей пачки I-III пластов. Дебиты нефти 1-7 т/сутки.

Нефть имеет плотность 0,899 г/см3, она вязкая (97,6 сст), малосернистая (до 0,36%), содержит 10,7% силикагелевых смол и 0,49% парафина; выход легких фракций (до 300° С) 25-35%.

2.ФОНТАННАЯ ЭКСЛУАТАЦИЯ СКВАЖИН

2.1 Условия, причины и типы фонтанирования

Причины фонтанирования

Нефтегазопроявления и открытое фонтанирование возможны при несоответствии технологии работы, выбранного оборудования геолого-техническим условиям эксплуатации скважин, при освоении и ремонте фонтанных и периодически фонтанирующих скважин, при пропусках газа и нефти вследствие ослабления соединений, сальников и нарушений в обвязке, при повышении давления в системе выше расчетного. При нефтегазопроявлениях и внезапных выбросах, когда из ремонтируемых скважин выделяются в атмосферу горючие газы, работа двигателя подъемного агрегата усугубляют аварийную ситуацию, создавая опасность пожара, разрушения самого двигателя, окружающих технологических средств и травмирования обслуживающего персонала. Персонал, занятый освоением или ремонтом скважин, при газопроявлении или открытом фонтанировании подвергается опасностям по ряду причин, внезапно оказываясь в экстремальных условиях. Например, он может отравиться газом, упасть, ушибиться и т.п. Большую опасность для ремонтных бригад представляет разлив нефти и распространение ее по площадке куста скважин. При загорании разлившейся нефти пожар может охватить большую часть площади куста и отрезать все пути эвакуации людей. Возможность открытого фонтанирования существует при ремонтах всех фонтанных скважин.

 <#"538604.files/image001.gif">

Рис. 2.1. Фонтанная тройниковая арматура кранового типа для подвески двух рядов НКТ (2АФТ-60 x 40 х КрЛ-125): 1 - тройник; 2 - патрубок для подвески второго ряда НКТ; 3 - патрубок для подвески первого ряда НКТ

Рис. 2.2. Штуцер быстросменный для фонтанной арматуры высокого давления (ЩБА-50-700):

- корпус, 2 - тарельчатая пружина, 3 - боковое седло, 4 - обойма, 5 - крышка, 6 - нажимная гайка, 7 - прокладка, 8 - гайка боковая. 9 - штуцерная металлокерамическая втулка.

3. ЭКСПЛУАТАЦИЯ СКВАЖИН ГЛУБИННЫМИ НАСОСАМИ

.1 Устройство и основные узлы ШСНУ

Штанговые скважинные насосные установки (ШСНУ) предназначены для подъема пластовой жидкости из скважины на дневную поверхность.

Установка состоит из:

·    привода

·        устьевого оборудования <#"538604.files/image003.gif"> 

Рис. 3.1. Штанговая скважинная насосная установка: 1 - фундамент; 2 - рама; 3 - электродвигатель; 4 - цилиндр; 5 - кривошип; 6 - груз; 7 - шатун; 8 - груз; 9 - стойка; 10 - балансир; 11 - механизм фиксации головки балансира; 12 - головка балансира; 13 - канатная подвеска; 14 - полированная штанга; 15 - оборудование устья скважины; 16 - обсадная колонна; 17 - насосно-компрессорные трубы; 18 - колонна штанг; 19 - глубинный насос; 20 - газовый якорь; 21 - уплотнение полированной штанги; 22 - муфта трубная; 23 - муфта штанговая; 24 - цилиндр глубинного насоса; 25 - плунжер насоса; 26 - нагнетательный клапан; 27 - всасывающий клапан

Устьевое оборудование I предназначено для герметизации полированного штока 14 с помощью сальника 21, направления потока жидкости потребителю, подвешивания насосно-компрессорных труб, замера затрубного давления и проведения исследовательских работ в скважине.

Колонна насосных штанг <#"538604.files/image004.gif"> 

Рис. 3.2. Устьевая арматура типа АУШ: 1 - отверстие для проведения исследовательских работ; 2 - сальниковое устройство; 3 - трубная подвеска; 4 - устьевой патрубок; 5, 8, 9 - угловые вентили; 6 - отборник проб; 7 - быстросборная муфта; 10 - перепускной клапан; 11 - уплотнительное кольцо

Устьевой патрубок 4 имеет два отвода с угловыми вентилями 8 и 9. Угловой вентиль 9 и его отвод предназначен для регулирования давления в затрубном пространстве и проведения различных технологических операций, связанных с ремонтом и профилактикой скважины.

Угловые вентили 5 и 8 перекрывают потоки нефти. К угловому вентилю 8 крепится быстросборная муфта 7, позволяющая быстро отсоединить выкидную линию и освободить пространство у скважины для проведения работ при ремонте и исследовании скважины.

Трубная подвеска 3, имеющая два уплотнительных кольца 11, является основным несущим звеном насосно-компрессорных труб с глубинным насосом на нижнем конце и сальниковым устройством 2 наверху. Отличительная особенность сальника - наличие пространственного шарнира между головкой сальника (содержащей уплотнительную набивку) и тройником. Шарнирное соединение, обеспечивая самоустановку головки сальника при несоосности сальникового штока с осью ствола скважины, исключает односторонний износ набивки, увеличивает срок службы сальника, одновременно облегчает смену набивки.

Сальник рассчитан на повышенные давления на устье скважины и обеспечивает надежное уплотнение штока при однотрубных системах сбора нефти и газа.

Корпус трубной головки имеет отверстие 1 для выполнения исследовательских работ.

Продукция скважины поступает через боковое отверстие трубной подвески. Для снижения давления в затрубном пространстве путем перепуска продукции в трубную часть предусмотрен перепускной клапан 10.

Устьевые сальники изготавливаются двух типов: СУС1 - с одинарным уплотнением (для скважин с низким статическим уровнем и без газопроявлений); СУС2 - с двойным уплотнением (для скважин с высоким статическим уровнем и с газопроявлениями).

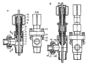
Самоустанавливающийся сальник СУС1 (рис. 3.3, а) состоит из шаровой головки 9 с помещенными в ней нижней 2 и верхней втулками с вкладышами 3 и 10 из прессованной древесины и уплотнительной набивки 8. На верхнюю часть шаровой головки навинчивается крышка 12 с двумя скобами, которыми подтягивается уплотнительная набивка.

Рис. 3.3. Устьевой самоустанавливающийся сальник: а - СУС1-73-25; б - СУС2-73-40; 1 - тройник; 2 - втулка нижняя; 3 - вкладыш; 4 - стопор; 5 - кольцо уплотнительное; 6 - манжетодержатель; 7 - крышка шаровая; 8 - уплотнительная набивка; 9 - головка шаровая; 10 - вкладыш; 11 - грундбукса; 12 - крышка головки; 13 - гайка; 14 - болт откидной; 15 - палец; 16 - шплинт; 17 - гайка накидная; 18 - ниппель; 19 - наконечник; 20 - сальниковый шток

В верхней части крышки головки над грундбуксой 11 имеется кольцевой резервуарчик, служащий для смазки трущихся поверхностей сальникового штока, набивки и вкладышей. Для надежного уплотнения шаровой головки предусмотрено уплотнительное кольцо 5.

Два стопора 4 в нижней части шаровой головки не позволяют ей проворачиваться вокруг своей оси при затяжке крышки.

Шаровая головка крепится к тройнику 1 двумя откидными болтами 14, укрепленными на тройнике пальцами 15, которые входят в проушины болтов. Тройник снабжен быстроразборным соединением для подсоединения к выкидной линии.

Устьевой сальник СУС2 (рис. 3.3, б) в отличие от сальника СУС1 имеет вторую камеру, включающую шаровую головку с помещенными в ней уплотнительной набивкой и промежуточной втулкой с вкладышами и двумя резиновыми кольцами.

При этом основная уплотнительная набивка помещена в корпусе, который навинчен на резьбу шаровой головки. Устьевой сальник с двойным уплотнением позволяет заменять изношенные верхние уплотнительные элементы на скважине. Изношенные направляющие втулки, необходимо заменять при текущем ремонте скважин, когда устьевой сальник вместе со штоком находится на мостках.

Перед установкой устьевого сальника на устье скважины вкладыши растачивают под соответствующий диаметр сальникового штока. Сальниковый шток желательно вставлять в устьевой сальник в горизонтальном положении на мостках. Можно устанавливать устьевой сальник тогда, когда шток находится в скважине. При этом используют зажим, устанавливаемый на сальниковом штоке.

При установке устьевых сальников на устье все резиновые кольца и уплотнительные набивки необходимо смазывать густой смазкой.

При потере герметичности в шаровой опоре или при ее заклинивании разбирать шаровую крышку и отделять головку от тройника можно только в мастерской. После разборки шаровой крышки и шаровой головки рабочие поверхности шарнира должны быть тщательно очищены. При потере герметичности в шаровой опоре заменяют уплотнительное кольцо.

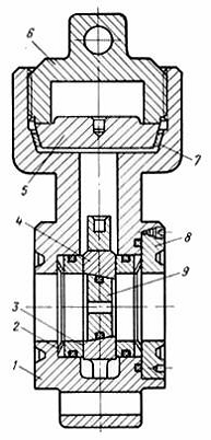
Запорное устройство оборудования - проходной кран с обратной пробкой. Скважинные приборы опускают по межтрубному пространству через специальный патрубок (рис. 3.2).


Экспериментальное моделирование считается по праву эффективным способом анализа процессов протекающих в оборудовании, расположенном в местах недоступных человеку. Штанговый скважинный насос спускают в скважину на большие глубины. Для определения эффективности работы такого насоса мы предлагаем использовать экспериментальное моделирование. Так как эксплуатация скважин штанговыми скважинными насосами широко распространена на большей части нефтедобывающих месторождений мира, то поставленная задача представляется нам актуальной.

В реальных условиях низкие показатели эксплуатации насосной установки во многом объясняются незаполнением цилиндра штангового насоса жидкостью. Наибольшее влияние на степень заполнения жидкостью оказывает наличие газа в продукции. При ходе плунжера вверх в цилиндр насоса поступает газожидкостная смесь, и по мере увеличения объема под плунжером происходит как расширение свободного газа, так и выделение растворенного. Поэтому под влиянием газа происходит уменьшение коэффициента заполнения штангового скважинного насоса за счет того, что газ занимает часть рабочего цилиндра, и при движении плунжера вниз подвергается сжатию, а при движении вверх расширению, что приводит к снижению эффективности работы насоса [1].

Экспериментальные исследования проводили на стенде специальной конструкции (рис. 3.4), изготовленном фирмой ООО ≪ФЕСТО-РФ≫, куда входит насос, состоящий из плунжера 1, всасывающего V03 и нагнетательного клапанов V04. Насос соединен с модулем, имитирующим растяжения штанг, оборудованным ультразвуковым датчиком Z1. Модуль соединен с приводом, представляющим собой регулируемый пневматический привод A1. Для поддержания необходимого уровня жидкости, емкость Н1 разделена на две части и оборудована циркуляционным насосом P1, подача которого превышает максимальную подачу штангового скважинного насоса. Компрессор C1 используется для поддержания давления для работы пневматического силового привода. Стенд оборудован дросселем V01 для регулирования подачи сжатого воздуха под нагнетательный клапан. Линия подачи сжатого воздуха имеет в своем составе обратный клапан V03.

Рисунок 3.4. Упрощенная принципиальная схема стенда [2]

- плунжер; V03 - всасывающий клапан; V04 - нагнетательный клапан; Z1 - ультразвуковой датчик; A1 - регулируемый пневматический привод; Н1 - емкость; P1 - циркуляционный насос; C1 - компрессор; V01 - дроссель; V03 -обратный клапан

Стенд обеспечил возможность: измерения коэффициентов подачи, наполнения, упругих растяжений штанг; измерения этих же показателей для каждого двойного хода; определения изменения показателей во время двойного хода; записи результатов замеров; изменения числа двойных ходов и длины хода; применения клапанов различных типоразмеров; работы с небольшим объемом жидкости; быстрой подготовки к новому циклу измерений.

Конструкция стенда позволяет получать необходимую для исследования точность измерения коэффициентов наполнения, упругих растяжений и подачи. Программируемый силовой пневматический привод дает возможность изменять число двойных ходов в минуту и длину хода. Исследованиям на стенде предшествует определение диапазона скоростей откачки путем выбора диаметра насоса, диаметра отверстия клапана, длины хода, числа двойных ходов. В реальном насосе скорость движения жидкости в отверстии клапана варьирует в интервале от 0,8 до 4,0 м/с (рекомендуется не более 2,5 м/с). Эксперименты проводили при условиях, позволяющих получать скорости течения жидкости через отверстия клапана в указанном диапазоне значений скорости. Для анализа степени влияния растворенного газа в нефти на коэффициент подачи штангового скважинного насоса, были проведены серии экспериментов: с помощью дросселя регулировалась подача воздуха с расходом 0.17 л/мин до 0.97 л/мин (рис. 3.5, рис. 3.6, рис. 3.7).

Для определения погрешности эксперимента на нескольких режимах проводили по нескольку десятков замеров, рассчитывали средние значения и дисперсию полученных данных.

Под влиянием свободного газа может произойти срыв подачи насоса, который заключается в том, что насос перестает засасывать из скважины газожидкостную смесь или пену, так как рабочая часть цилиндра целиком заполняется газом. При ходе плунжера вниз газ сжимается, а при ходе вверх - расширяется. Давление газа в цилиндре при ходе вверх не становится ниже давления всасывания и поэтому приемный клапан не может открыться. Срыв подачи может происходить только от действия газа, оставшегося во вредном пространстве. Если вредное пространство полностью освобождается от газа к началу хода вниз, то срыва не может быть. Это обстоятельство очень важно для практики, так как оно означает, что при отсутствии влияния вредного пространства работа насоса устойчива при любом даже самом низком коэффициенте наполнения [3]. Это достигается либо применением насоса с нагнетательным клапаном в нижней части плунжера (НСН- 2, НСВД), либо увеличением длины хода плунжера (длинноходовой насос, правильная посадка плунжера над всасывающим клапаном), либо одновременным увеличением длины хода плунжера при одновременном уменьшении диаметра насоса. Однако тип насоса всегда должен быть правильно подобран к условиям скважины.

Рисунок 3.5 - Коэффициент подачи насоса от расхода воздуха (длина хода 300 мм)

Рисунок 3.6. Коэффициент подачи насоса от расхода воздуха (длина хода 450 мм)

Рисунок 3.7. Коэффициент подачи насоса от расхода воздуха (длина хода 600 мм)

4. МЕТОДЫ УВЕЛИЧЕНИЯ НЕФТЕОТДАЧИ ПЛАСТОВ

.1 Требования, предъявляемые к нагнетаемой воде в системе поддержания пластового давления

Поддержание пластового давления закачкой воды, кроме повышения нефтеотдачи обеспечивает интенсификацию процесса разработки. Это обусловливается приближением зоны повышенного давления, создаваемого за счет закачки воды в водонагнетательные скважины, к добывающим скважинам.

Для принятия решения о проведении поддержания пластового давления закачкой воды на конкретной залежи нефти последовательно прорабатывают следующие вопросы:

·  определяют местоположение водонагнеательных скважин;

·        определяют суммарный объем нагнетаемой воды;

·        рассчитывают число водонагнеательных скважин;

·        устанавливают основные требования к нагнетаемой воде.

Местоположение водонагнетательных скважин определяется в основном особенностями геологического строения залежи нефти. Задача сводится к тому, чтобы подобрать такое расположение водонагнетательных скважин, при котором обеспечивается наиболее эффективная связь между зонами нагнетания воды и зонами отбора с равномерным вытеснением нефти водой.

В зависимости от местоположения водонагнетательных скважин в настоящее время в практике разработки нефтяных месторождений нашли применение следующие системы заводнения.

Законтурное заводнение применяют для разработки залежей с небольшими запасами нефти. Скважины располагают в законтурной водоносной части пласта Применение законтурной системы разработки возможно тогда, когда водонефтяной контакт при достижимых перепадах давления может перемещаться. Практикой разработки нефтяных месторождений выявлены случаи, когда непосредственно у поверхности залежь нефти “запечатана” продуктами окисления нефти (асфальтены, смолы, парафин и другие) или продуктами жизнедеятельности бактерий. Кроме того, проектирование и реализация этой системы требует детального изучения законтурной части пласта. Иногда характеристики законтурной части пласта, по пористости, проницаемости, песчанистости существенно отличаются от характеристик центральной части пласта.

Приконтурное заводнение применяют тогда, когда затруднена гидродинамическая связь нефтяной зоны пласта с законтурной областью. Ряд нагнетательных скважин в этом случае размещается в водонефтяной зоне или у внутреннего контура нефтеносности.

Внутриконтурное заводнение применяют в основном при разработке нефтяных залежей с очень большими площадными размерами. Внутриконтурное заводнение не отрицает законтурное заводнение, а в необходимых случаях внутриконтурное заводнение сочетается с законтурным. Для крупных залежей нефти законтурное заводнение недостаточно эффективно, так как при нем наиболее эффективно работает 3-4 ряда нефтедобывающих скважин, располагаемых ближе к водонагнетательным.

Расчленение нефтеносной площади на несколько площадей путем внутриконтурного заводнения позволяет ввести всю нефтеносную площадь в эффективную разработку одновременно. Для полноценного разрезания нефтеносной площади нагнетательные скважины располагают рядами. При закачке в них воды по линиям рядов нагнетательных скважин образуется зона, повышенного давления, которая препятствует перетокам нефти из одной площади в другую. По мере закачки очаги воды, сформировавшиеся вокруг каждой нагнетательной скважины, увеличиваются в размерах и, наконец, сливаются, образуя единый фронт воды, продвижение которого можно, регулировать так же, как и при законтурном заводнении. С целью ускорения образования единого фронта воды по линии, ряда нагнетательных скважин, освоение скважин под нагнетание в ряду осуществляют “через одну”. В промежутках проектные водонагаетательные скважины вводят в эксплуатацию как нефтедобывающие, осуществляя в них форсированный отбор. По мере появления в “промежуточных” скважинах закачиваемой воды, они переводятся под нагнетание воды.

Добывающие скважины располагают рядами параллельно рядам водонагнетательных скважин. Расстояние между рядами нефтедобывающих скважин и между скважинами в ряду выбирают, основываясь на гидродинамических расчетах, с учетом особенностей геологического строения и физической характеристики коллекторов на данной разрабатываемой площади.

Разработку каждой площади можно осуществлять по своей системе размещения добывающих скважин с максимальным учетом геологической характеристики площади.

Большое преимущество описываемой системы - возможность начинать разработку с любой площади и, в частности, вводить в разработку в первую очередь площади с лучшими геолого-эксплуатационными характеристиками, наибольшей плотностью запасов с высокими дебитами скважин.

Первоначальным проектом разработки, составленным ВНИИ, Ромашкинское месторождение рядами водонагнетательных скважин разрезалось на 23 участка самостоятельной разработки. В последующем отдельные площади дополнительно разрезались на более мелкие участки.

Разновидность системы внутриконтурного заводнения - блоковые системы разработки.

Блоковые системы разработки находят применение на месторождениях вытянутой формы с расположением рядов водонагнетательных скважин чаще в поперечном направлении. Принципиальное отличие блоковых систем разработки от системы внутриконтурного заводнения состоит в том, что блоковые системы предполагают отказ от законтурного заводнения. На рис. 3 показана принципиальная схема разработки пласта А4 Кулишовского нефтяного месторождения (Куйбышевская область). Как видно из схемы, ряды водонагнетательных скважин разрезают единую залежь на отдельные участки (блоки) разработки.

Широкое распространение получили блоковые системы на месторождениях Куйбышевской области и Западной Сибири.

Блоковые системы разработки предполагают расположение водонагнетательных скважин в направлении перпендикулярном к линии простирания складки. Вместе с тем, для спокойных полого залегающих антиклинальных складок целесообразно расположение водонагнетательных скважин по оси складки. В этом случае представляется возможность вместо нескольких линий нагнетания иметь одну.

4.2 Сущность и область метода заводнения с применением полимеров

Методы химического воздействия на продуктивные пласты осуществляются на основе изучения особенностей структуры и свойств пористой среды и физико-химических свойств насыщающих их жидкостей, а также процессов, протекающих на границе разделов жидкость-жидкость, жидкость-твердое тело.

В то же время методы исследования макро- и микропроцессов, протекающих между жидкостями и породой непосредственно в поровом пространстве, практически не исследованы ввиду чрезвычайно больших трудностей проведения таких исследований.

Что касается результатов промысловых испытаний, то в большинстве публикаций отмечается положительная эффективность испытуемых химических МУН. Авторами их являются, как правило, разработчики технологий, а также представители тех нефтяных компаний, которые осуществляли эти испытания. Публикации независимых экспертов по оценке эффективности химических МУН практически отсутствуют. Очевидно, те компании, которые продолжают применять химические МУН, уверены в их эффективности. Те компании, которые не применяют химические МУН, не считают нужным их применять, и потому не приглашают независимых экспертов. Те же компании, которые резко сократили или полностью отказались от применения этих методов (например, Сибнефть), очевидно, такой вывод сделали на основании собственных исследований и поэтому также не нуждаются в независимой экспертизе.

Методы, направленные на увеличение коэффициента вытеснения

Коэффициент вытеснения нефти - отношение объема нефти, вытесненной каким-либо агентом из образца породы или модели пласта до полного насыщения этим агентом получаемой продукции, к начальному объему нефти, содержащейся в образце породы или модели пласта (Л.Е.Ленченкова «Повышение нефтеотдачи пластов физико-химическими методами», М., Недра, 1998, стр.12).

Увеличение коэффициента вытеснения достигается за счет смешиваемости нефти и вытесняющего агента (углекислый газ, газ высокого давления, растворители), снижения межфазного натяжения и повышение смачиваемости пласта водой (поверхностно-активные вещества, щелочи). (М. Л. Сургучев. «Вторичные и третичные методы

Чем больше параметр мо, тем меньше коэффициент охвата пласта заводнением.

При увеличении коэффициента вытеснения нефти водой увеличивается водонасыщенность пласта. В соответствии с кривыми фазовой проницаемости с увеличением водонасыщенности увеличивается фазовая проницаемость для воды, а, следовательно, и параметр мо. В результате уменьшается коэффициент охвата пласта заводнением.

Таким образом, увеличение коэффициента вытеснения должно вести к увеличению нефтетдачи.. В тоже время уменьшается коэффициент охвата пласта заводнением, что ведет к уменьшению нефтеотдачи. То есть, применение агентов, увеличивающих коэффициент вытеснения, оказывают два противоположных эффекта. Поэтому все промысловые эксперименты по применению методов, увеличивающих коэффициент вытеснения, не дали однозначного четкого результата.

Основное свойство полимера заключается в загущении воды. То есть раствор полимера обладает более высокой вязкостью, чем обычная вода. Это приводит к уменьшению соотношения вязкостей нефти и рабочего агента, то есть параметра мо. и сокращению условий прорыва воды в следствие вязкостной неустойчивости. Растворы полимера оказывают влияние также на поведение фазовых проницаемостей.

Полимерные растворы обладают также вязкопластичными свойствами, или так называемыми неньютоновскими свойствами, то есть обладают начальным градиентом сдвига. В неоднородных средах это ведет к тому, что часть пор меньше определенного размера, будет отключена из фильтрации при одних и тех же давлениях нагнетания. А это означает снижение охвата пласта заводненнием. В целом указанные факторы снижают приемистость нагнетательных скважин.

Для поддержания достигнутых темпов разработки требуется повышение давления нагнетания. Однако повышение давления нагнетания может вести к созданию трещин или расслоению пласта, что будет сводить на нет положительные результаты растворов полимера.

Таким образом, изложенное также свидетельствует о неоднозначности эффективности полимерного заводнения.

Полимерное заводнение прошло широкие промысловые испытания. О их результатах будет отмечено ниже.

Потокоотклоняющие технологии и технологии выравнивания профиля приемистости.

Такое подразделение носит условный характер. В технологиях выравнивания профиля приемистости реагент закачивается в объеме 5 -- 40 м3 на 1 м толщины пласта, а в потокоотклоняющих технологиях -- значительно больше.

К потокоотклоняющим технологиям относят закачку реагентов, понижающих проницаемость отдельных высокопроницаемых промытых пропластков.

К ним относятся закачка суспензионных растворов; реагентов, образующих в пласте осадки в результате химического взаимодействия закачиваемого реагента с пластовыми флюидами, прежде всего с водой, или взаимодействия между реагентами закачиваемой композиции; композиции, образующие в пласте гель или эмульсии.

Считается, что структура реагентов такова, что они проникают в наиболее проницаемые пропластки пласта, снижая их проницаемость. Это приводит к перераспределению потоков жидкости в пласте в менее проницаемые пропластки и тем самым снижают степень неоднородности пласта. Поэтому эти методы получили наименование потокоотклоняющих или выравнивания профиля приемистости (отдачи при ограничении добычи попутной воды).

При лабораторных исследованиях при прокачке реагентов через модель пласта наблюдается снижение расхода жидкости. То же самое происходит, как правило, при закачке реагентов в скважины, что свидетельствует о том, что закачиваемые реагенты или имеют повышенную вязкость, или происходит кольматация пласта.

Поэтому закачка реагентов в нагнетательные скважины производится при повышенных давлениях. При этом может происходить раскрытие трещин или расслоения пласта. После закачки реагентов нагнетательные скважины подключаются к действующей системе ППД, где поддерживается то же давление, что и до закачки реагентов.

Спрашивается, почему до закачки реагентов низкопроницаемые пласты не принимали воду, а после закачки реагента начали принимать при тех же давлениях закачки?

Оценка фактического прироста коэффициента нефтеотдачи пластов за счет применения МУН

Одним из самых важных моментов является оценка фактического прироста коэффициента нефтеотдачи пластов за счет применения МУН.

В начале проведения промысловых испытаний оценку прироста коэффициента нефтеотдачи пытались осуществить путем сравнения технологических показателей разработки опытных и контрольных участков. При этом контрольный участок должен быть идентичен опытному, как по геолого-физическим свойствам, так и по условиям разработки. Выдержать же идентичность опытного и контрольного участков по всем показателям не удается практически никогда.

В связи с этим для оценки технологической эффективности используют статистические методы прогнозирования показателей разработки и конечной нефтеотдачи. В качестве статистических методов используются характеристики вытеснения, представляющие эмпирические зависимости между значениями отбора нефти, воды и жидкости. По полученным зависимостям производится прогноз добычи нефти, жидкости и воды по базовому варианту, т.е. без применения МУН.

Точность оценки технологической эффективности по характеристикам вытеснения зависит от соблюдения технологии разработки объекта после применения метода, которая должна быть такой же, как и до применения, а также от длительности периода, на который проводится экстраполяция. Также на точность определения дополнительной добычи нефти влияет точность замера дебита жидкости скважин и определения обводненности их продукции.

5. БУРЕНИЕ СКВАЖИН

5.1 Конструкция забоев скважин на нефтяных месторождениях

нефть месторождение скважина бурение

Конструкция забоев скважин на нефтяных, газовых и газоконденсат-ных месторождениях претерпевала много изменений: открытый забой, манжетная заливка, сплошная колонна с последующим цементированием и др. В современных условиях, когда в качестве эксплуатационного объекта принимают большие толщины продуктивной части, содержащей несколько пластов и прослоев, неоднородных по проницаемости, наиболее сообразной конструкцией забоя скважины следует считать наличие ной колонны с последующим цементированием. Поскольку сквозное долговременное сооружение, а с появлением воды в залежи возникают серьезные осложнения в обеспечении равномерной выработки луатац Ьных пластов и прослоев, объединенных в единый объект эксп- и позво ' Конструкция забоя скважин должна быть абсолютно надежной Чессы и ТЬ Репятственн° выполнять многие технологические проемы, связанные с поэтапным освоением, селективным воздействием, производством ремонтно-изоляционных работ и др. . упрощения, диктуемые соображениями экономии обсадных труб, Wo 'e существенно снизить степень надежности сооружения. Напротив как конструкция забоев скважин длительное время подвергается воздействию многочисленных факторов: кумулятивные струи и разлетавшиеся продукты детонации; эрозия и коррозия металла труб; тербарическое воздействие и многие другие факторы, которые отрицательно действуют на колонну и цементное кольцо, необходимо нижнюю часть колонны существенно усилить как за счет увеличения толщин, стенок труб, так и качества металла. Минимальный диаметр колонны при этом должен быть 146 мм.

Основными документами, на основании которых осуществляется строительство скважин, являются технический проект и смета.

Технические проекты разрабатывают специальные проектные институты (НИПИ) на основании проектных заданий , выдаваемых заказчиком, например, НГДУ. Задание содержит: сведения об административном расположениии площади; номер скважин, которые должны сооружаться по данному проекту; цель бурения, категорию скважин, проектный горизонт и проектную глубину; краткое обоснование заложения скважин; характеристику; геологического строения площади, перспективных на нефть и газ объектов, горно-геологических условий бурения; данные о пластовых давлениях, давлениях гидроразрыва пород, геостатических температурах, об объектах, подлежащих опробованию в процессе бурения и испытанию, об объеме геофизических , лабораторных и специальных исследований, диаметре эксплуатационной колонны, объеме подготовительных работ к строительству и заключительных после окончания испытания скважины; о строительстве объектов теплофикации, жилищных и культурно-бытовых помещений; название бурового предприятия, которое должно строить скважины; другую информацию, необходимую для разработки проекта.

Технический проект включает разделы: сводные технико-экономические данные; основание для проектирования; общие сведения; геологическая часть; конструкция скважины; профиль ствола скважины; буровые растворы; углубление скважины; крепление скважины; испытание скважины; дефектоскопия, опрессовка оборудования и инструмента; сводные данные об использовании спецмашин и агрегатов при проводке скважины; сведения о транспортировке грузов и вахт; мероприятия и технические средства для охраны окружающей среды; механизация , средства контроля и диспетчеризация на буровой; техника безопасности , промышленная санитария и противопожарная техника; строительно-монтажная часть; список нормативно- справочных и инструктивно-методических материалов, используемых при принятии пректных решений; приложения.

В приложение к проекту включаются: геолого-технический наряд, обоснование продолжительности строительства скважины, схема расположения бурового оборудования, схемы обвязки устья скважины при бурении и испытании, нормы расхода долот , инструмента и материалов, профиль наклонной скважины, схему транспортных связей, документы для обоснования дополнительных расходов времени и средств, а также могут включаться расчет обсадных колонн, расчет цементирования, специальные вопросы по предупреждению осложнений, решения по технологии углубления и испытания и т.д.

Смету на строительство скважины составляют к каждому техническому проекту. Она определяет общую стоимость скважины и служит основой для расчета бурового предприятия с заказчиком.

Смета состоит из четырех разделов, соответствующих основным этапам строительства скважины:

Раздел 1. Подготовительные работы к строительству скважины.

Раздел 2. Строительство вышки, привышечных сооружений, зданий котельных, монтаж и демонтаж оборудования.

Раздел 3. Бурение и крепление скважины.

Раздел 4 . Испытание скважины на продуктьивность.

В виде отдельных статей (кроме упомянутых разделов) в смету включают затраты на промыслово-геофизические работы, резерв на производство работ в зимнее время, затраты на топографо-геодезические работы, накладные расходы, плановые накопления (прибыль), дополнительные затраты (надбавка за работу на Севере и приравненных к нему районах и т.д.)

Буровая бригада перед началом строительства скважины получает три основных документа: геолого-технический наряд , наряд на производство буровых работ и инструктивно-технологическую карту.

Геолого-технический наряд (ГТН) - это оперативный план работы буровой бригады. Его составляют на основе технического проекта.

Наряд на производство буровых работ состоит из двух частей. В первой части указывают номер и глубину скважины, проектный горизонт, назначение ее и способ бурения, характеристики конструкции скважины, бурового оборудования и бурильной колонны, сроки начала и окончания работ по нормам, затраты времени на бурение и крепление отдельных интервалов и скважины в целом по нормам, плановую и нормативную скорости бурения, а также сумму заработной платы бригады.

Вторую, основную часть наряда составляет нормативная карта. Эта карта позволяет определить нормативную продолжительность работ от начала бурения до перфорации эксплуатационной колонны. Для составления карты используют материалы ГТН и отраслевые или утвержденные для данной площади нормы времени на выполнение всех видов работ. Для разработки нормативной карты скважину разбивают на несколько нормативных пачек; в карте перечисляют последовательно все виды работ, которые должны быть выполнены при бурении каждой пачки; указывают затраты времени на каждый вид работ по нормам; рассчитывают затраты времени на бурение и крепление каждого участка и в целом скавжины.

Инструктивно-технологическая карта предназначена для распространения передового опыта работы, накопленного в районе. Она состоит из трех частей : режимно- технологической , инструктивной и оперативного графика строительства. Карту составляют на основе анализа работы буровых бригад и вахт, которуые добились наиболее высоких показателей при бурении скважин на данной площади или при выполнении отдельных видов работ (например, по спуску и подъему бурильных колонн и т.п.). В режимно-технологической части помещают рекомендации о типоразмерах долот, забойных двигателей, параметрах режима бурения и свойствах промывочных жидкостей, при использовании которых могут быть достигнуты наиболее высокие показатели бурения.

В инструктивной части освещают новые или более совершенные способы выполнения отдельных, прежде всего, наиболее трудоемких видов работ, приводят рекомендации о более рациональной организации производственного процесса с учетом особенностей конкретного участка площади.

Третья часть содержит баланс времени бурения и крепления с учетом рекомендаций, сделанных в первых двух частях, и оперативный график бурения скважины в координатах «Глубина (м) - Продолжительность (сут)». На график нанесены две кривые : одна характеризует процесс углубления скважины по нормам, указанным в нормативной карте; вторая - процесс углубления с учетом реализации рекомендаций инструктивно-технологической карты. Во время бурения буровой мастер на этот же график наносит третью кривую, показывающую фактические затраты времени на бурение и крепление. Сопостаие вляя фактическую кривую с двумя первыми, буровая бригада имеет возможность контролировать выполнение нормативных показателей углубления скважины и сопоставлять свою работу с лучшими достижениями на площади.

Фактическая картина строительства скважин создается на основании оперативного и статистического учета результатов буровых работ.

Оперативный и статистический учет результатов буровых работ осуществляется путем заполнения и утверждения определенного числа документов, охватывающих все основные этапы строительства скважины.

Документы делятся на первичные (исходные) и итоговые (обобщающие).

К первичным относятся суточный рапорт бурового мастера, акты результатов крепления и суточный рапорт по заканчиванию, освоению и испытанию скважины и др.. К итоговым - все формы отраслевой статистической отчетности..

Значительное усложнение условий бурения, связанное с ростом глубин скважин, возможность больших технико-экономических потерь вследствие принятия несвоевременных или неквалифицированных решений по управлению процессами строительства скважин привели к необходимости создания и использования в бурении систем телеконтроля. Эти системы служат для передачи на диспетчерский пункт информации о важнейших параметрах технологических процессов с целью последующего принятия высококвалифицированным специалистом эффективных управляющих решений

В состав систем телеконтроля (например, КУБ-01) входят датчики и преобразователи, расположенные на буровой установке и в бурильной колонне, каналы связи, приемная аппаратура и вторичные приборы на диспетчерском пункте. Основная функция подобных систем - воспроизведение в режиме реального времени вторичными приборами на диспетчерском пункте информации, фиксируемой датчиками на буровой.

6. ПОДЗЕМНЫЙ РЕМОНТ СКВАЖИН

6.1 Виды работ при текущем ремонте скважин

Текущим ремонтом скважин (ТРС) называется комплекс работ, направленных на восстановление работоспособности скважинного и устьевого оборудования, и работ по изменению режима эксплуатации скважины, а также по очистке скважинного оборудования, стенок скважины и забоя от различных отложений (парафина, гидратных пробок, солей, продуктов коррозии).

В соответствии с Правилами ведения ремонтных работ в скважинах, введенными в действие с 01.11.97, к текущему ремонту относятся следующие работы (табл. 1).

Таблица 1 Разновидности текущего ремонта скважин

Шифр

Виды работ по ТРС

ТР1

Оснащение скважин скважинным оборудованием при вводе в эксплуатацию (из бурения, освоения, бездействия, консервации)

ТР1-1

Ввод фонтанных скважин

ТР1-2

Ввод газлифтных скважин

ТР1-3

Ввод скважин, оборудованных ТТТГН

ТР1-4

Ввод скважин, оборудованных ЭЦН

ТР2

Перевод скважин на другой способ эксплуатации

ТР2-1

Фонтанный - газлифт

ТР2-2

Фонтанный - ШГН

ТР 2-3

Фонтанный - ЭЦН

ТР 2-4

Газлифт - ШГН

ТР 2-5

Газлифт - ЭЦН

ТР 2-6

ШГН - ЭЦН

ТР 2-7

ЭЦН - ШГН

ТР 2-8

ШГН - ОРЭ

ТР 2-9

ЭЦН - ОРЭ

ТР2-10

Прочие виды перевода

ТРЗ

Оптимизация режима эксплуатации

ТРЗ-1

Изменение глубины подвески, смена типоразмера ШГН

ТРЗ-2

Изменение глубины подвески, изменение типоразмера ЭЦН

ТР4

ТР 4-1

Ревизия и смена насоса

ТР 4-2

Устранение обрыва штанг

ТР 4-5

Замена полированного штока

ТР 4-6

Замена, опрессовка и устранение негерметичности НКТ

ТР 4-7

Очистка и пропарка НКТ

ТР 4-8

Ревизия, смена устьевого оборудования

ТР5

Ремонт скважин, оборудованных ЭЦН

ТР5-1

Ревизия и смена насоса

ТР 5-2

Смена электродвигателя

ТР 5-3

Устранение повреждения кабеля

ТР 5-4

Ревизия, смена, устранение негерметичности НКТ

ТР 5-5

Очистка и пропарка НКТ

ТР 5-6

Ревизия, смена устьевого оборудования

ТР6

Ремонт фонтанных скважин

ТР6-1

Ревизия, смена, опрессовка и устранение негерметичности НКТ

ТР 6-2

Очистка и пропарка НКТ

ТР 6-3

Смена, ревизия устьевого оборудования

ТР7

Ремонт газлифтных скважин

ТР7-1

Ревизия, смена, опрессовка и устранение негерметичности НКТ

ТР 7-2

Очистка и пропарка НКТ

ТР 7-3

Ревизия, замена, очистка газлифтных клапанов

ТР 7-4

Ревизия, смена устьевого оборудования

ТР8

Ревизия и смена оборудования артезианских и поглощающих скважин

ТР9

Очистка, промывка забоя

ТР9-1

Промывка горячей нефтью (водой) с добавлением ПАВ

ТР 9-2

Обработка забоя химреагентами (ТГХВ, СКО, ГКО и т.д.)

ТР10

Опытные работы по испытанию новых видов подземного оборудования

ТР11

Прочие виды работ


Вышеприведенные работы выполняются бригадой текущего ремонта скважин, однако в промысловой практике их чаще называют бригадами подземного ремонта скважин, что не совсем правильно, так как подземный ремонт скважины включает в себя как текущий, так и капитальный ремонт, т.е. это понятие шире. Бригадами текущего ремонта скважин могут выполняться работы по устранению некоторых аварий (например, извлечение НКТ), не занимающих много времени.

6.2 Преимущества и недостатки прямой промывки песчаных пробок

Схема внутрискважинного оборудования при промывке забоя скважины: 1- жидкость с частицами песка, поднимающаяся на поверхность; 2 - полимерный гель, закачиваемый в скважину; 3 - песок

Появление песка на забое скважины может быть обусловлено оседанием частиц пласта, выносимых через перфорационные отверстия в эксплуатационной колонне во внутреннюю полость скважины. Этот процесс происходит практически во всех нефтяных и газовых скважинах, и его интенсивность определяется механическими свойствами продуктивного пласта. Песок может оказаться на забое скважины после проведения операций подземного ремонта скважины, связанных с использованием гидропескоструйных перфораторов, и после выполнения гидравлического разрыва пласта. Наконец, определенное количество песка может быть намыто при создании искусственного забоя и т.д.

Независимо от причин появления песка для обеспечения нормальной эксплуатации скважины его следует удалять. При этом отрицательное воздействие на пласт должно быть минимальным.

При выборе оборудования для выполнения подобных работ нужно иметь в виду, что длина колонны гибких труб, содержащихся на катушке барабана агрегата, должна быть не меньше глубины забоя скважины.

Очистку эксплуатационной колонны (или забоя) от песка осуществляют с помощью внутрискважинного оборудования, схема которого для выполнения данной операции показана на рисунке.

У устья скважины располагают агрегат с колонной гибких труб, насосный агрегат, буферную емкость для приема поднимающейся из скважины промывочной жидкости.

Основным требованием к последней является способность ее выносить твердые частицы из скважины, что необходимо и при бурении, и при подземном ремонте скважин. Во время работы с колоннами гибких труб выполнение этого требования приобретает особую важность, поскольку их использование накладывает определенные ограничения на эффективность данного процесса.

В качестве промывочных используют два типа жидкостей - ньютоновские и неньютоновские. К первой группе относятся вода, соляные растворы на воде, углеводородные жидкости (дизельное топливо, очищенная нефть и т.п.). Все они имеют постоянную вязкость.

Вторую группу составляют буровые растворы и гели. Для них характерно наличие зависимости вязкости от условий течения, они обладают ярко выраженными релаксационными свойствами, а зависимость между скоростью и напряжением сдвига у них нелинейна.

Помимо описанных используют сжимаемые жидкости, содержащие газ. К ним же, правда, с определенной условностью могут быть отнесены и пены, поскольку они представляют собой газожидкостную эмульсию. В качестве жидкости для образования пен используют воду или нефть, в качестве газа - азот. Для образования устойчивой пены добавляют небольшое количество ПАВ (до 5 - 6 %). Использование пен в качестве промывочных жидкостей обусловлено стремлением снизить гидростатическое давление на пласт при выполнении технологических операций. Важным свойством пены является ее способность удерживать во взвешенном состоянии крупные твердые частицы, что не удается другим типам промывочных жидкостей. При промывке скважин, имеющих угол наклона более 30°, применение пен нежелательно, так как при их распаде в процессе подъема по колонне лифтовых труб происходит образование застойных зон в местах, где колонна гибких труб соприкасается с внутренней поверхностью лифтовых труб. В ряде случаев может образовываться поток жидкости, направленный сверху вниз, который переносит частицы песка обратно на забой. Предотвратить это явление можно, если обеспечить турбулентный режим течения промывочной жидкости по всему поперечному сечению лифтовой колонны. Этому способствует подача в промывочную жидкость азота.

Жидкости, содержащие газ и пены, требуют более сложных режимов работы оборудования. При их использовании, как правило, необходимо обеспечивать дросселирование поднимающегося потока на выходе из устьевой арматуры.

Скорость восходящего потока при работе с КГТ, как и при любой промывке, должна превосходить скорость оседания в ней твердых частиц. Это условие справедливо для вертикальных скважин и наклонных участков в последних с отклонением от вертикали до 45°. Для более пологих и тем более горизонтальных участков скважины процесс выноса твердых частиц гораздо сложнее. В таких случаях происходит образование застойных зон в местах контакта гибкой трубы со стенкой скважины или эксплуатационной колонной. В этой зоне частицы песка оседают, несмотря на достаточную среднюю скорость течения. Для предотвращения этого явления или сведения его отрицательного эффекта к минимуму необходимо обеспечивать достаточную турбулентность потока восходящей жидкости.

Для оценки возможности выноса твердых частиц потоком жидкости используют понятие установившейся скорости оседания частиц.

Анализ показывает, что установившаяся скорость оседания для частиц песка размером 0,84 мм составляет 0,128 м/с, а для 2 мм - 0,274 м/с. Поскольку гранулометрический состав песка в пробке достаточно разнообразен, то расчеты следует проводить с учетом максимальных размеров песчинок, выносимых на поверхность. Считается, что для обеспечения подъема песка в вертикальной скважине скорость восходящего потока жидкости должна превышать установившуюся скорость оседания в 1,5 - 2 раза, а в горизонтальных участках - в 10 раз.

Если ньютоновская жидкость не обеспечивает выноса песка, необходимо использовать пену или газ.

Основным фактором, ограничивающим скорость движения промывочной жидкости в восходящем потоке, являются гидродинамические потери на трение в КГТ. Для их преодоления нужно развивать такое давление на входе в колонну, которое ограничено лишь прочностью труб.

В большинстве случаев основная доля гидродинамических потерь во внутрискважинном оборудовании приходится на колонну гибких труб. Гидравлическое сопротивление кольцевого пространства примерно на порядок меньше этих потерь. Следует иметь в виду, что при концентрации твердых частиц в жидкости до 360 кг/м3 вязкость последней практически не изменяется и при расчетах ее можно рассматривать как чистую жидкость. Свыше указанного предела необходимо учитывать изменяющиеся свойства жидкости.

Наличие твердых частиц в промывочной жидкости, поднимающейся по кольцевому пространству, приводит к повышению гидростатического давления на забой. Их присутствие обусловливает увеличение давления насоса, подающего технологическую жидкость в КГТ. При использовании для контроля за давлением стрелочных манометров со шкалой, рассчитанной на максимальные величины, этот прирост может быть и незаметен оператору. Однако если плотность жидкости подбиралась недостаточно точно и имеется опасность поглощения ее пластом, то может возникнуть следующая ситуация. При увеличении гидростатического давления технологическая жидкость будет уходить в пласт. При этом ее расход в восходящем потоке уменьшится, а плотность последнего будет все время возрастать, что повлечет за собой дальнейшее увеличение гидростатического давления. Этот процесс будет идти до тех пор, пока не произойдет полная потеря циркуляции, песок опустится по кольцевому пространству вниз и произойдет прихват колонны гибких труб. Подобная ситуация и ее развитие имеют прямые аналоги при проведении буровых работ.

Поэтому при планировании операций по удалению песчаных пробок необходимо предусматривать возможность утечки пластовой жидкости в пласт и иметь ее запас.

Концентрация твердых частиц, слагающих пробку в технологической жидкости, поднимающейся по кольцевому пространству, определяется скоростью перемещения КГТ в пробке.

При удалении одиночной рыхлой пробки концентрация твердых компонентов в поднимающейся жидкости мала и практически не оказывает влияния на гидростатическое давление. При очистке колонны достаточно большой длины с несколькими пробками следует контролировать расход технологической жидкости из кольцевого пространства. В том случае, если расход жидкости уменьшается или прекращается вообще, необходимо поднять колонну, продолжая закачку жидкости до возобновления циркуляции.

Специалисты американских и канадских фирм, выполняющих подобные работы, рекомендуют ограничивать скорость спуска КГТ до 9 - 12 м/мин, если положение пробки неизвестно. Если оно установлено, скорость может быть увеличена до 18 м/мин. В процессе спуска КГТ должна поддерживаться непрерывная циркуляция жидкости. Нежелательно также оставлять КГТ неподвижной в течение длительного времени.

После размыва пробки или ее участка нужно продолжать промывку без изменения глубины подвески КГТ до тех пор, пока из кольцевого пространства не будет вынесен весь объем песка. При дальнейшем спуске колонны следует контролировать нагрузку на транспортер - она должна монотонно увеличиваться пропорционально глубине спуска. Периодически через 300 м целесообразно проверять усилие, необходимое для подъема колонны.

При разрушении плотной пробки может возникнуть ситуация, когда пробка воспримет вес КГТ и ее перемещение прекратится. Такое положение однозначно отражается на показаниях индикатора веса колонны и манометра, регистрирующего давление, развиваемое насосом, - показания первого прибора уменьшаются, а второго увеличиваются. После определения верхней границы пробки колонну гибких труб приподнимают на 3 - 5 м и увеличивают подачу промывочного насоса до расчетной величины. Скорость перемещения колонны при разрушении подобной пробки составляет 1 - 3 см/с.

Если этот интервал достаточен для образования объема, в котором песок находится во взвешенном состоянии за счет турбулизации жидкости истекающим из КГТ потоком, то при входе в колонну лифтовых труб скорость подъема резко возрастает и процесс выноса песчаных частиц идет нормально. Если это условие не соблюдается, то верхняя граница расположения взвешенных частиц находится ниже башмака лифтовой колонны. В этом случае песок не будет выноситься на поверхность.

Для обеспечения эффективного выноса песка используют пены или полимерные гели, приготавливаемые на водяной основе и имеющие повышенные сопротивления сдвигу и низкую вязкость.

При достижении башмака лифтовой колонны и подходе к вероятной точке нахождения песка скорость спуска уменьшают до среднего значения. Момент соприкосновения наконечника гибкой трубы с песчаной пробкой определяют по индикатору нагрузки - величина усилия в точке подвеса трубы резко уменьшается, а давление, развиваемое промывочным насосом, возрастает.

Для повышения эффективности процесса разрушения пробки используют насадки на КГТ различной конструкции. Все они основаны на гидромониторном эффекте, а отличаются числом отверстий и направлением. Потери давления на подобных насадках могут достигать 17 МПа.

Для уменьшения гидростатического давления на пласт при удалении песчаных пробок существуют способы, основанные на применении струйного насоса, спускаемого на двух коаксиально расположенных колоннах гибких труб. При этом проблемы с выносом песка не возникает, так как скорости и нисходящего, и восходящего потоков промывочной жидкости достаточно велики. Положительным свойством данного способа является и то, что гидростатическое давление жидкости, находящейся в скважине и воздействующей на пласт, может быть сведено к минимуму.

Использование данного способа промывки может быть реализовано только при достаточном внутреннем диаметре труб, в которых происходит перемещение коаксиальных колонн гибких труб.

Все описанные выше проблемы возникают и решаются при прямом способе промывки, когда технологическая жидкость направляется к пробке через колонну гибких труб. Несмотря на советы не допускать попадания во внутреннюю полость песка и других компонентов пробки, есть мнение о целесообразности использования обратной промывки. Все вопросы о преимуществах и недостатках прямой и обратной схем промывок при удалении пробок достаточно хорошо разработаны для традиционных способов ПРС. В данном случае они остаются справедливыми.

Основным опасением и аргументом против использования схемы обратной промывки является возможность закупорки КГТ продуктами, слагающими пробку. Кроме того, при подаче жидкости в кольцевое пространство может произойти потеря устойчивости колонны гибких труб в верхней части и смятие. Практические эксперименты и предварительные расчеты режимов выполнения обратной промывки показывают, что в качестве технологических жидкостей в данном случае можно использовать только несжимаемые. Естественно, что обратные клапаны на КГТ и какие-либо другие устройства, пропускающие жидкость в одном направлении по колонне и всему тракту ее течения, устанавливаться не должны.

7. МЕТОДЫ ВОЗДЕЙСТВИЯ НА ПРИЗАБОЙНУЮ ЗОНУ ПЛАСТА

7.1 Технология гидроразрыва пласта

Создание в призабойной зоне скважины вибрационных волн при помощи специального вибратора, повышающего проницаемость призабойной зоны пласта. Этот метод разработанный в МИНХ и ГП (в настоящее время РГУНГ им. И.М. Губкина) используют в добывающих скважинах и в нагнетательных скважинах.

Для создания резких колебаний расхода жидкости (вибро-ударных волн) применяют гидравлические вибраторы золотникового типа - ГВЗ. В корпусе ГВЗ жёстко на резьбе закреплён ствол, имеющий щелевые отверстия по образующей цилиндра. На стволе на подшипнике качения свободно вращается цилиндрический золотник, так же имеющий щелевые отверстия выполненные под углом к образующей.

При прокачке золотник вращается и периодически то открывает, то закрывает проход потоку жидкости в результате создаются небольшие гидравлические удары, число которых может быть доведено до 30 000 в минуту. В качестве рабочей жидкости применяют нефть, раствор соляной кислоты, керосин или их смеси.

За длительный период разработки нефтяных месторождений в Нефтеюганском районе Тюменской области произошло значительное ухудшение структуры запасов. По состоянию на начало 1996 года 54 % остаточных запасов нефти содержится в низкопродуктивных пластах с проницаемостью менее 15 мД. Степень выработки их не превышает 5 %. Эти трудноизвлекаемые запасы требуют применения эффективных технологий разработки. Таковым в первую очередь является гидравлический разрыв пласта, поскольку традиционные методы интенсификации нефтеотдачи пластов недостаточно эффективны.

Технология гидроразрыва пласта является методом интенсификации текущей нефтедобычи для низкопроницаемых залежей и повышения в конечном итоге коэффициента нефтеотдачи по месторождению. Проведение гидроразрыва в отдельной скважине ведёт к увеличению её добывающих возможностей значительно выше естественной, обеспечивая дополнительную добычу нефти.

Идея гидравлического создания трещины в продуктивной зоне для повышения её производительности была разработана в 20-х годах Р.Ф. ФАРРИСОМ из компании»Stanolind Oil & Gas Corp.». Эту концепцию он разработал на основе изучения давлений, с которыми встречаются при задавливании цемента, воды и нефти в пласт. В 1947 году»Stanolind»(в настоящее время компания»АМОКО ПРОДАКШН КОРП.») осуществила первый экспери-ментальный гидроразрыв в скважине № 1 месторождения Клеппер в Грант Каунти, штат Канзас, США.

На нефтяных месторождениях АО»ЮГАНСКНЕФТЕГАЗ»технология гидроразрыва пласта стала внедряться с 1988 года (впервые в Западной Сибири) и к настоящему времени имеет стабильный эффект, приобретая большое распространение и на других предприятиях региона. В целом по Западной Сибири гидроразрыв пласта охватывает более 80-ти пластов почти 50-ти месторождений.

Наибольших успехов в проведении гидроразрыва пласта достигнуто на месторождениях АО»ЮГАНСКНЕФТЕГАЗ», где на 18-ти месторождениях, к 1996 году, выполнено более 1100 операций по гидроразрыву пласта (всего по Западной Сибири - более 1800 операций).

7.2 Схема расположения оборудования при ГРП

В помещении ГРП должен находиться пожарный инвентарь: ящик с песком, огнетушители, кошма и т. д.

Отключающие устройства устанавливают на вводе газопровода в ГРП и на выходном газопроводе на расстоянии не менее 5 м и не более 100 м.

Расположение и компоновка газового оборудования ГРП изображены на рис.1. В ГРП находится такое оборудование как:

регулятор, который снижает давление газа и автоматически поддерживает его на заданном уровне независимо от расхода газа потребителями;

приборный щит, на который вынесены контрольно-измерительные приборы; обводной газопровод (байпас), оборудованный двумя задвижками, которые при отключенной основной линии используют как ручной двухступенчатый регулятор давления газа; газовое оборудование основной линии. На основной линии газовое оборудование располагается в такой последовательности:

входная задвижка для отключения основной линии; фильтр для очистки газа от различных механических примесей; предохранительный клапан, автоматически отключающий подачу газа потребителям в случае выхода из строя регулятора давления газа;

гидрозатвор, присоединенный к газопроводу после выходной задвижки (служит для сброса в атмосферу части газа, когда неисправный регулятор начинает повышать выходное давление). Вместо гидрозатвора в ГРП могут применять другие сбросные устройства, например предохранительный сбросной клапан (ПСК). Таким образом, выходное давление газа контролируется предохранительным запорным клапаном (ПЗК) и предохранительным сбросным клапаном (ПСК).

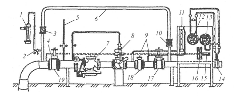
Рис. 7.1. Схема оборудования ГРП (ГРУ):

- гидрозатвор; 2 - кран к гидрозатвору; 3 - задвижка на байпасе; 4 - импульсная трубка конечного давления; 5 - продувочная свеча; б - обводная линия (байпас); 7 - регулятор давления; 8 - предохранительно-запорный клапан; 9 - импульсные трубки до и после фильтра; 10- кран на байпасе; 11 -дифференциальный манометр для замера перепада давления на фильтре; 12 - расходомер; 13 - регистрирующий манометр входного давления; 14 - диафрагма; 15 - показывающий манометр выходного давления; 16 - регистрирующий манометр выходного давления; 17 - входная задвижка; 18 - фильтр; 19 - выходная задвижка

С помощью предохранительного запорного клапана выполняется контроль верхнего и нижнего пределов давления газа, а ПСК - только верхний. При этом изначально срабатывает ПСК, а затем - ПЗК. По этой причине ПСК настраивают на меньшее давление, превышающее в пределе регулируемое на 15 %, а ПЗК настраивают на давление, превышающее регулируемое в пределе на 25 %.

8. СБОР И ПОДГОТОВКА СКВАЖИННОЙ ПРОДУКЦИИ

8.1 Назначение и оборудование дожимных насосных станций

Тип и число основных и вспомогательных насосов, состав помещений и набор вспомогательного оборудования, конструктивные особенности и предъявляемые к насосной станции технологические требования зависят от ее назначения. В зависимости от перекачиваемой жидкости насосные станции подразделяются на водопроводные и станции систем водоотведения (канализационные).

По своему назначению и расположению в общей схеме водоснабжения водопроводные насосные станции подразделяются на станции I подъема, II и последующих подъемов, повысительные и циркуляционные (рис. 1, а, б, в, г).

Насосные станции 1 подъема забирают воду из источника и подают ее на очистные сооружения или, если не требуется очистка воды, в аккумулирующие емкости (резервуары чистой воды, водонапорные башни, гидропневматинеские баки), а в некоторых случаях непосредственно в распределительную сеть. Характерной особенностью насосных станций 1 подъема является более или менее равномерная подача в течение суток.

Насосные станции 2 подъема подают воду потребителям из резервуаров чистой воды, которые позволяют регулировать подачу. Подача насосных станций 2 подъема в течение суток неравномерна. Ее по возможности приближают к графику водопотребления.

Повысительные насосные станции (станции подкачки) предназначены для повышения напора на участке сети или в водоводе. Они забирают воду не из резервуара, а из трубопроводов и поэтому не могут самостоятельно регулировать подачу.

Циркуляционные насосные станции входят в замкнутые системы технического водоснабжения промышленных предприятий и тепловых электростанций.

Насосные станции систем водоотведения (рис. 1, д) предназначены для подачи сточных вод на очистные сооружения. Районные насосные станции водоотведения часто перекачивают стоки не непосредственно на очистные сооружения, а из одного бассейна канализования в другой, когда соединение бассейнов самотечными коллекторами нецелесообразно.

Особый вид насосных станций представляют станции для перекачивания атмосферных вод (на сети ливневой канализации), осадков и ила (на канализационных и водопроводных очистных сооружениях), агрессивных промышленных сточных вод.

По степени обеспеченности подачи воды насосные станции подразделяются на три категории.

1 категория допускает перерыв в подаче воды только на время (неболее 10 мин), необходимое для выключения поврежденных и включения резервных элементов (оборудования, арматуры, трубопроводов), и снижение подачи воды на хозяйственно-питьевые нужды не более 30 % расчетного расхода и на производственные нужды до предела, установленного аварийным графиком работы предприятий, при длительности снижения не более 3 сут.

2 категория допускает перерыв в подаче для проведения ремонта не более, чем на б ч, а на канализационных станциях - на время, обусловленное аккумулирующей вместимостью подводящих сетей, и соответствующее снижение подачи не более, чем на 10 сут.

3 категория допускает перерыв в подаче не более, чем на 24 ч и соответствующее снижение подачи не более, чем на 15 сут.

К 1 категории относятся насосные станции, обслуживающие технический водопровод и системы водоотведения специальных производств; системы водоснабжения и водоотведения населенных пунктов с числом жителей свыше 50 000 чел. (ориентировочно, максимальное суточное водопотребление свыше 40 000 м3); подающие воду непосредственно в сеть противопожарного и объединенного хозяйственно-противопожарного водопроводов.

Ко 2 категории относятся насосные станции, обслуживающие водопровод населенных пунктов с числом жителей от 5000 до 50 000 чел., если подача воды на пожаротушение возможна и при временной остановке этих станций;

насосные станции систем водоотведения населенных пунктов с тем же числом жителей, если аккумулирующая вместимость подводящих сетей обеспечивает прием стоков на время отключения станции при ремонте; насосные станции водопроводов населенных пунктов с числом жителей до 600 чел. (ориентировочно, максимальное суточное водопотребление не более 3000 м3) и других объектов, указанных в нормах.

К 3 категории относятся насосные станции систем водоотведения, обслуживающие населенные пункты с числом жителей до 500 чел., и насосные станции поливочных водопроводов.

К насосным станциям различных категорий предъявляются соответствующие требования по надежности энергообеспечения (для насосных станций I и II категории подключение не менее, чем к двум независимым ЛЭП), по капитальности сооружений, по резерву технологического оборудования.

От категории насосной станции зависит число резервных агрегатов, число всасывающих и напорных линий и расчетные расходы для них, количество и размещение запорной арматуры на внутристанционных коммуникациях.

Наряду с обеспечением напора и подачи, предусмотренных графиком водопотребления или водоотведения, и удовлетворением требований по бесперебойности работы, при сооружении и оборудовании насосных станций необходимо при наименьших затратах на их строительство и эксплуатацию обеспечивать комфортные условия работы обслуживающего персонала, широкое применение автоматики и телемеханики. Не следует допускать излишеств в составе и размерах сооружений, кубатуре зданий, основном и вспомогательном оборудовании, архитектурном оформлении.

В то же время необходимо учитывать, что состав сооружений и оборудования, так же как и вся схема водоснабжения или водоотведения в целом, должны отвечать условиям будущей экспулатации при возрастающих объемах водопотребления.

Конструкция насосной станции должна предусматривать возможность модернизации и расширения, замены установленного оборудования на более мощное, обеспечивающее увеличение подач и напоров.

Дожимные насосные станции (ДНС) - предназначены для сбора, сепарации, предварительного обезвоживания, учета и дальнейшей транспортировки нефти и попутного газа на центральные пункты сбора. Сырьем для ДНС является продукция скважин нефтяных месторождений в виде газожидкостной смеси.

В составе ДНС предусматриваются следующие технологические объекты:

·        блок реагентного хозяйства,

·              нефтяные и газовые сепараторы,

·              буферные и дренажные емкости,

·              резервуары различного назначения,

·              насосные станции для перекачки нефти и подтоварной воды.

АСУ ДНС обеспечивает:

автоматический контроль и регулирование технологических параметров во всем диапазоне их рабочих значений - автоматическую защиту технологического оборудования во всех режимах работы - дистанционное или ручное управление исполнительными механизмами ДНС - отображение и архивирование всей технологической информации по работе ДНС

Компания выполняет проектные и конструкторские работы, включая проведение экспертиз выполненных проектов в органах надзора, а также осуществляет метрологическое обеспечение, включая:

·    поверку и калибровку систем измерения (СИ)

·        разработку методик выполнения измерений с использованием СИКН

·        испытание СИКН для целей утверждения типа СИ с получением сертификата и внесением в Государственный реестр средств измерения РФ.

В состав работ также входит: консультирование персонала Заказчика по вопросам работ с поставляемым оборудованием разработка эксплуатационной документации авторское сопровождение при проведении опытно-промышленной эксплуатации (ОПЭ) разработка, конфигурирование и отладка программного обеспечения АСУ ТП

8.2 Механический расчет стальных вертикальных резервуаров

Главным условием возможности безопасной эксплуатации резервуара на расчетных параметрах является удовлетворение параметров его элементов, работающих под нагрузкой, условиям прочности и устойчивости согласно СНиП 11-23-81* «Нормы проектирования. Стальные конструкции».

Значения расчетных параметров конструктивных элементов резервуара (геометрические размеры, толщины и др.) принимаются по данным технического обследования конструкций, а характеристики материалов - по нормативным прочностным показателям согласно проектным данным, либо по результатам исследований химического состава и механических свойств металла.

Расчеты конструктивных элементов на прочность (в том числа с учетом сопротивления стали хрупкому разрушению) и устойчивость производятся специализированной организацией (Приложение 1) в случае отклонения фактических толщин от проектных в сторону уменьшения и внесения в конструкцию при сооружении или ремонте отклонений от проекта, не согласованных с проектной организацией и неподтвержденных расчетом, при отклонениях геометрической формы элементов и сварных швов от нормативов на изготовление, а также в случае отсутствия проектной и исполнительной документации.

При выполнении расчетов используются минимальные толщины конструктивных элементов, полученные по данным выполненных замеров.

Расчеты на прочность и устойчивость при определении остаточного ресурса резервуаров должны выполняться с учетом эксплуатационной нагрузки (гидростатическое давление жидкости и избыточное давление газа, аварийный вакуум), концентрации напряжений, вызванных местными дефектами в сварных швах, отклонениями в геометрической форме стенки и другими дефектами, а также фактической (остаточной) толщины стенки.

Эксплуатация резервуара не допускается, когда по условиям прочности и устойчивости согласно СНиП 11-23-81* «Нормы проектирования. Стальные конструкции» при статических нагружениях отдельные элементы конструкции резервуара вследствие коррозионного износа, механических повреждений, снижения механических свойств металла и др., не соответствует расчетных эксплуатационным параметрам. В этом случае продление срока службы резервуара возможно при установлении пониженных эксплуатационных параметров (снижение уровня залива, уменьшение избыточного давления и вакуума) или после проведения комплексных мероприятий по ремонту и усилению металлических конструкций резервуара.

Если такие мероприятия экономически или технически не целесообразны, резервуар может быть исключен из эксплуатации.

Для резервуаров вместимостью более 10000 м³, имеющих отклонения образующих от вертикали, превышающих допускаемые (таблица П 4.1 Приложения 4) и дефекты в зонах монтажных сварных соединений, испытывающих циклические нагружения более 250 полных циклов в год, специализированной организацией выполняются поверочные расчеты на малоцикловую усталость для определения расчетного ресурса.

Для резервуаров, эксплуатирующихся при пониженных температурах, необходимо выполнение поверочных расчетов узлов с учетом хрупкого разрушения согласно СНиП 11-23-81* «Нормы проектирования. Стальные конструкции».

При снижении механических свойств основного металла или сварных соединений ниже требований нормативно-технической документации поверочный расчет на прочность должен это учитывать путем соответствующего уменьшения допускаемых напряжений.

Если по результатам расчета на устойчивость устанавливается необходимость снижения величины эксплуатационного вакуума производится соответствующая регулировка дыхательных и предохранительных клапанов.

9. ИСЛЕДОВАНИЕ СКВАЖИН И ПЛАСТОВ

9.1 Скважинный манометр МГН-2, назначение и конструкция

          Скважинные исследования большей частью заключаются в измерениях забойных давлений с помощью манометров. Существует много типов скважинных манометров, но наиболее простым и распространенным является манометр скважинный геликсный (МГН-2) с автономной регистрацией (рис. 6.11, а). Чувствительным элементом п этом манометре является многовитковая пустотелая плоская пружина-геликс 1, заполненная под вакуумом легким маслом. При давлении внутри пружины каждый виток, как и в обычном манометре, разворачивается па некоторый угол вокруг вертикальной оси. Последний верхний заглушенный виток поворачивается па угол, равный сумме углов поворота всех витков. На верхнем витке укреплено легкое царапающее перо 2, угол поворота которого пропорционален давлению. Нижний конец геликсной пружины сообщается с сильфоном 3 (эластичная металлическая гармошка), исполняющим роль разделителя жидкостей. Сильфон также заполнен маслом. Он омывается скважинной жидкостью, давление которой без потерь передается через сильфон жидкости внутри геликса.

Регистрирующая часть состоит из следующих элементов. Часовой механизм 4 приводит во вращательное движение ходовой винт 5, который сообщает регистрирующей каретке 6 равномерное поступательное движение. Поэтому вертикальное перемещение каретки пропорционально времени, истекшему с момента пуска часового механизма на поверхности перед герметизацией прибора.

Все детали манометра, за исключением сильфона, заключены в прочный герметичный корпус 7, внутри которого сохраняется атмосферное давление. Камера, где помещен сильфон, сообщается через отверстие с наружной средой. Обычно в нижней части прибора в специальной камере помещается обыкновенный максимальный термометр для регистрации температуры на забое скважин и внесения температурных поправок в показания манометра.

На внутренней стороне каретки (стакана) укладывается бланк из специальной бумаги, на которой острие царапающего пера оставляет тонкий след при ничтожно малом трении. Перо пишет дугу, пропорциональную давлению, при непрерывно перемещающейся каретке. Таким образом, на бумажном бланке остается запись в координатных осях Р и t (давление и время). Расшифровка записи, т. е. измерение ординат (Р), осуществляется на оптических столиках с микрометрическими винтами.

Скважинные манометры должны иметь малый диаметр и практически неограниченную длину. В то же время они должны обладать большой точностью измерений, так как не так важно знать точное абсолютное давление, как важно точно знать изменение этого давления при измерении, например, депрессии пли при снятии КВД.

Техническая характеристика манометра МГН-2

Диаметр, мм

32

Длина, мм:

 без утяжелителя

1565

 с утяжелителем

2285

Масса, кг

 без утяжелителя

6

 с утяжелителем

12,5

Пределы измеряемого давления в зависимости от установленного геликсного блока, МПа

10 - 100

Рабочая температура, °С

До 160

Рабочее перемещение пера, мм

До 55

Рабочее перемещение каретки, мм

До 120

Время рабочего перемещения каретки, ч

До 16

Порог чувствительности в % от предела измерения, не более %

0,2

Класс точности прибора (при отсчете на измерительном микроскопе с использованием тарировочных таблиц и введении температурных поправок)

От 0,25 до 0,4


Имеются манометры так называемого поршневого типа МГП (рис. 6.11, б), чувствительным элементом в которых является шток-поршень 1, растянутый пружиной 2. Шток проходит через сальник 3, разделяющий две камеры. В верхней камере А - атмосферное давление. Нижняя камера В сообщается с внешней средой. Разность давлений в камерах действует на сечение поршня-штока 1, который при своем перемещении растягивает пружину. В атмосферной камере на конце штока имеется перо 4, прочерчивающее на бумажном бланке вертикальную линию, равную перемещению штока, и пропорциональную давлению в нижней камере. Бумажный бланк укреплен на внутренней поверхности стакана-каретки 5, которая медленно вращается от часового механизма 6. Нижняя камера может быть заполнена маслом и отделена от скважинной жидкости сильфоном. Преимуществом такой конструкции манометра является возможность получения при малом диаметре прибора больших перемещений штока, а следовательно, и возможность получения более четких записей. Однако трение в самоуплотняющемся сальнике, выдерживающем весь перепад давления, препятствует перемещению штока и обусловливает погрешность. Для снижения трения в сальнике в некоторых конструкциях штоку придается постоянное вращательное движение.

Дифференциальный манометр предназначен для более точного измерения давления в скважине, начиная с заданной величины, зависящей от давления зарядки измерительной камеры прибора. В принципе это тот же поршневой манометр, в верхней камере которого не атмосферное давление, а давление зарядки. Очевидно, если давление зарядки сделать 10 МПа, то шток начнет перемещаться только при давлениях, превышающих 10 МПа. Таким образом, весь полезный ход штока останется для записи давления, превышающего 10 МПа.

9.2 Сущность исследования скважин при отборе жидкости

          Форсированный отбор жидкости (ФОЖ) является методом увеличения нефтеотдачи продуктивных пластов, реализация которого осуществляется за счёт увеличения градиента давления в прискважинной зоне пласта. В результате проведения этого мероприятия зачастую снижается обводненность продукции скважин с высокой базовой обводненностью [1, 2]. Наиболее яркие результаты получены при анализе результатов ФОЖ на водоплавающих залежах.

Форсирование отборов на скважинах месторождений Западной Сибири выявило тенденцию снижения обводненности продукции в результате этого мероприятия на многих водоплавающих залежах, таких как объект АС5-6 Южно-Балыкского месторождения, объект БС12 Майского месторождения; объекты АС4 и БС6 Петелинского месторождения, объект БС11 Ефремовского месторождения, объект БС8 Кудринского месторождения, объекты БП9 и БП10-11 Тарасовского месторождения. На рис. 9.1 представлена динамика суммарных эксплуатационных показателей скважин объекта АС4 Петелинского месторождения, на которых было проведено форсирование отборов. На рис. 9.2 изображена динамика показателей эксплуатации форсированной скважины № 1046 объекта БП10-11 Тарасовского месторождения. Начало форсирования отборов на рисунках отмечено стрелкой. Обе динамики характеризуются снижением обводненности продукции с ростом среднего дебита жидкости. На рис. 2 отмечается и обратная закономерность -рост обводненности продукции при снижении дебита жидкости.

Время, месяц, год

Рис. 9.1. Динамика суммарных эксплуатационных показателей скважин объекта АС4 Петелинского месторождения, на которых проведен форсированный отбор жидкости: 1 - средняя обводненность продукции; 2 - средний дебит жидкости; 3 - средний дебит нефти

Время, месяц, год

Рис.9.2. Динамика показателей эксплуатации скважины № 1046 объекта БП10-11 Тарасовского месторождения: 1 - обводненность продукции; 2 - дебит жидкости; 3 - дебит нефти; 4 - дебит воды

Положительное влияние форсированного отбора жидкости на нефтеотдачу пласта в виде снижения средней обводненности продукции на водоплавающих залежах без объяснения механизма этого явления отмечается в работе [3]. В работе [4] показано, что форсированный отбор жидкости достаточно эффективен на водонефтяных зонах, где имеются выдержанные глинистые перемычки между разнонасыщенными частями продуктивного разреза. Выдержанность глинистых перемычек является условием проявления описанной закономерности и подразумевается ниже при использовании терминов водоплавающей залежи и водонефтяной зоны (ВНЗ).

Целью данной работы является объяснение данной закономерности и на основании этого уточнение механизма форсированного отбора жидкости как метода увеличения нефтеотдачи для условий водоплавающих залежей и водонефтяных зон.

Поставленная цель была достигнута путем анализа согласно РД 153-39.0-110-01 [5] фактических данных геолого-промысловых исследований скважин с форсированным отбором жидкости, эксплуатирующих водоплавающие залежи и водонефтяные зоны, оценки вклада гидродинамической и физической составляющих в механизме форсированного отбора жидкости как метода увеличения нефтеотдачи по результатам расчетов.

Съемные штуцеры позволяют создавать (изменять) дизайн системы контроля притока непосредственно перед установкой хвостовика в скважине на основе данных каротажа, выполненного в процессе бурения.

Математические моделирование работы скважины при использовании различных систем заканчивания осуществляется на секторных гидродинамических моделях. Горизонтальная част скважины делится на несколько сегментов. Поток с каждого сегмента суммируется, и результатирующий поток проходит через забойный штуцер, площадь поперечного сечения которого равна суммарной площади сечения штуцеров на всех секциях ICD в данном сегменте. В результате в последнем создается дополнительное сопротивление потоку между горизонтальным стволом скважины и породой.

Рабочий процесс разделения пакерами скважины на зоны и подбора штуцеров следующий.

·    На основе детальной геологической модели строится гидродинамический сектор, который включает также соседние добывающие и нагнетательные скважины, входящие в систему поддерживания пластового давления (ППД).

·        Проводится предварительное моделирование скважины без установки ICD.

·        Рассматриваются полученные профили притока для выявления зон с риском раннего обводнения или прорыва газа.

·        На основе полученных профилей притока к горизонтальному стволу предлагаются варианты дизайна заканчивания скважины с разделением скважины на несколько сегментов и установкой систем контроля притока. При этом зоны, характеризующиеся повышенной вероятностью обводнения или прорыва газа, штуцируются в большей степени за счет использования меньшего числа и/или меньшего размера штуцеров.

·        Проводятся гидродинамические расчеты предложенных вариантов для выявления оптимального дизайна заканчивания скважины.

·        По данным каротажа, полученным в процессе бурения скважины, выполняется оперативное перестроение геологической модели.

·        После окончания бурения и перестроения геологической модели проводится окончательное моделирование вариантов заканчивания скважины с учетом распределения ФЕС по данным каротажа и фактической траектории пробуренной скважины.

·        Исходя из условия максимизации накопленной добычи нефти и минимизации накопленной добычи газа и воды, выбирается дизайн хвостовика, который передается инженерам для монтажа оборудования в скважине.

 

СПИСОК ИСПОЛЬЗАВАННОЙ ЛИТЕРАТУРЫ


1. Бухаленко Е. И., Абдуллаев Ю. Г. Монтаж, обслуживание и ремонт нефтепромыслового оборудования. М., Недра, 1974.

. Валиханов А. В., Хисамутдинов Н. И., Ибрагимов Г. 3. Подземный ремонт насосных скважин. М., Недра, 1978.

. Григорян А. Г. Прострелочные и взрывные работы в скважинах. М., Недра, 1980.

. Казак А. С., Рост Н. И., Чичеров Л. Г. Погружные бесштанговые насосы для добычи нефти. М., Недра, 1973.

. Казак А. С. Новое в развитии техники и технологии механизированных способов добычи нефти. М., изд. ВНИИОЭНГ, 1974.

. Муравьев В. М. Спутник нефтяника. М., Недра, 1977.

. Петров А. И. Глубинные приборы для исследования скважин. М., Недра, 1980.

. Справочная книга по добыче нефти. Под ред. проф. Ш. К. Гиматудинова. М., Недра, 1974.

. Справочная книга по текущему и капитальному ремонту скважин/ А. Д. Амиров, А. К. Карапетов, Ф. Д. Лемберанский. М., Недра, 1979.

. Техника и технология добычи нефти и газа/И. М. Муравьев, М. Н. Базлов, А. И. Жуков и др. М., Недра, 1971.

. Чекалюк Э. Б. Термодинамика нефтяного пласта. М., Недра, 1965.

. Шошин В. Д. Нефтяники страны. М., Недра, 1976.

. Журнал «Нефтяное хозяйство».

Похожие работы на - Разработка и эксплуатация нефтяных и газовых месторождений

 

Не нашли материал для своей работы?
Поможем написать уникальную работу
Без плагиата!
Без нейросетей!