Гидроразрыв пласта
Введение
В увеличении добычи нефти большое
значение, несомненно, имеют методы воздействия на призабойную зону скважин.
Для обеспечения высокого уровня добычи
нефти и газа, наряду с разведкой и освоением новых месторождений, особое
внимание уделяется увеличению нефтеотдачи и интенсификации добычи нефти.
Во многих случаях для этого необходимо проводить
интенсификацию притока, которая позволяет очистить призабойную зону,
загрязненную после бурения и цементирования, освоения и ремонта или после
продолжительной эксплуатации.
Восстановление проницаемости продуктивных отложений можно
достичь путем проведения химических и физико-химических операций, комплексно
воздействующих на призабойную зону пласта. В связи с тем, что существует
множество причин нарушения гидродинамической связи пласта со скважинами, в
настоящее время разработано и используется довольно большое число способов
устранения этих нарушений.
Одним из таких способов является гидравлический разрыв
пласта. Этот способ используется в пластах, представленных твердыми, плотными
породами (песчаники, известняки, доломиты и т.д.) с низкой проницаемостью.
Гидравлический разрыв, воздействуя на
пласты и призабойную зону, повышает производительность скважин, одновременно
ускоряет отбор нефти и увеличивает нефтеотдачу. Повышение производительности
скважин и нефтеотдачи пласта обусловливает широкое применение метода при
разведке и разработке нефтяных месторождений.
Гидравлический разрыв может быть определен как физический
процесс, при котором порода разрывается по плоскостям минимальной прочности
благодаря воздействию на пласт давления, создаваемого закачкой в скважину
флюида. После разрыва давление флюида увеличивает трещину, обеспечивая ее связь
с системой естественных, природных трещин, не вскрытых скважиной, а также с
зонами повышенной проницаемости, расширяя, таким образом площадь дренажа
скважины и способствуя значительному увеличению ее дебита.
Совершенствование теоретических знаний одновременно с
улучшением характеристик функционирования, жидкостей разрыва и расклинивающих
материалов обеспечили достижение коэффициента успешности операции
трещинообразования, близкого к 90%. Положительные результаты привели к общему
признанию этого способа в качестве необходимого этапа в освоении
эксплуатационных или нагнетательных скважин, которые вскрывают плотные пласты,
представленные твердыми породами.
В настоящее время накоплен достаточно
большой опыт по применению ГРП, обработка и анализ которого дадут возможность
усовершенствовать технику и технологию метода.
1. Геологическое строение Малодушинского
месторождения
1.1 Общие сведения о
месторождении
В административном отношении Малодушинское
нефтяное месторождение находится в Речицком районе Гомельской области.
Ближайшими к территории месторождения
населёнными пунктами являются Василевичи, Бабичи, Луки, ближайшие города ― Речица, Гомель. Ближайшей шоссейной дорогой является трасса Речица
― Хойники. Имеется сеть грунтовых дорог, трудно проходимых в
осеннее-весений дождливый период. К северо-западу от месторождения вдоль шоссейной
дороги Гомель―Калинковичи проходит нефтепровод «Дружба».
Территория Малодушинского месторождения
представляет слегка всхолмленную, заболоченную равнину, значительная часть
которой покрыта хвойным и лиственным лесом.
Абсолютные отметки поверхности земли
составляют +100 ― +130 м. Гидрографическая сеть
района представлена реками: Днепром и Березиной и их притоками, а также имеется
широкая сеть мелиоративных каналов и небольших водоёмов. Реки характеризуются
широкими заболоченными поймами и спокойным течением.
Климат умеренно-континентальный. Средняя
температура января -4,4ºС, июля +17ºС, среднегодовая температура воздуха +7ºС. Годовое количество осадков достигает 585―648 мм, причем наибольшее количество их выпадает в летнее время.
Месторождение введено в промышленную
разработку в 1979 г.
1.2 Краткая характеристика стратиграфии и
литологии осадочного разреза месторождения
Геологический разрез Малодушинского
месторождения сложен архейско-протерозойскими породами кристаллического
фундамента и осадочными образованиями, начиная с верхнего протерозоя и
заканчивая мезокайнозойскими отложениями. Полная мощность осадочного чехла
вскрыта тремя скважинами и составляет от 3344,2 м до 4430 м.
Архей-протерозойская группа. Породы
архей-протерозойской группы в пределах Малодушинского месторождения
представлены: биотитово-амфиболитовыми плагиогнейсами чёрными, трещиноватыми;
гранито-гнейсами, биотитовыми гнейсами с реликтами гранитов, в кровле ─
корой выветривания гранитов, т.е. глиноподобной гидрослюдистой монтмориллонитовой
ожелезненной массой (3,3 м). Вскрытая мощность составляет от 3 м до 37 м.
Верхнепротерозойская группа, эокембрий.
Эокембрийскими отложениями начинается осадочный чехол месторождения.
Литологически породы представлены песчаниками светло-серыми, кварцевыми,
слюдистыми, массивными, среднезернистыми с прослоями глин тёмно-серых,
песчанистых, массивных, и ангидритов светло-розовых крупнозернистых, массивных.
Вскрытая мощность составляет от 3 м до 15
м.
Палеозойская группа. Отложения
палеозойской группы залегают на нижележащих породах с резким угловым и
стратиграфическим несогласием. В пределах описываемого района палеозойская
группа представлена девонской, каменноугольной и пермской системами.
Девонская система. Представлена средним и
верхним отделами.
Средний отдел. Подразделяется на
эйфельский и живетский ярусы.
Эйфельский ярус. Включает
витебско-пярнуские и наровские отложения.
Витебско-пярнусский горизонт. На
описываемой территории отложения витебско-пярнусского горизонта распространены
повсеместно, на нижележащих отложениях залегают с несогласием. Представлены
глинами аргилитоподобными, зеленовато-серыми с тёмно-красными пятнами,
микрочешуйчатыми, гидрослюдистыми, не слоистыми, песчано-алевритовыми,
неравномерно доломитизированными. Ниже глины постепенно переходят в гравелиты
светло-серые, разнозернистые, полешпатово-кварцевые с глинисто-карбонатным
сульфатным цементом, с тонкими прослоями глины. В нижней части интервала
встречаются обломки розовато-серых гранитов. Мощность отложений составляет
16-17 м.
Породы наровского горизонта согласно
залегают на пярнуских, распространены по всей площади.
Отложения представлены в нижней части
мергелями доломитовыми, пестроцветными, с прослоями глин гидрослюдистых,
доломитовых, с примесью песчано-алевритового материала и ангидрита, с прослоями
песчаников и глин; выше по разрезу преобладающее положение постепенно занимают
глины красновато-бурые или тёмно-серые, доломитистые, слабослюдистые, с
прослоями песчаников и алевролитов. Мощность горизонта варьирует от 50 м до
62,2 м.
Живетский ярус. Отложения староскольского
горизонта с перерывом залегают на нижележащих породах, имеют повсеместное
распространение и представлены пестроцветными песчано-алевролитово-глинистыми
породами, равномерно чередующихся между собой. Мощность горизонта составляет 47
м―108,4 м.
Верхний отдел. Представлен отложениями
франского и фаменского ярусов.
Франский ярус. Включает ланский,
саргаевский, семилукский, речицкий, воронежский, евлановский и ливенский
горизонты.
Ланский горизонт имеет повсеместное распространение.
Представлен песчаниками, алевролитами, глинами аргилитоподобными. Мощность
горизонта меняется от 21 м до 60,6 м.
Саргаевский горизонт повсеместно
распространён на месторождении. Представлен карбонатными породами:
известняками, доломитами, мергелями. В нижней части горизонта наблюдается
переслаивание глинистых и слабоглинистых доломитов. Мощность горизонта меняется
от 37,2 м до 48 м.
Семилукский горизонт на описываемой
территории распространён повсеместно. Представлен в основном доломитами ангидритизированными,
кавернозными с многочисленными нефтяными признаками. Местами наблюдаются
глинистые прослои, встречаются остатки фауны. В нижней части горизонта
встречаются прослои известняков. Мощность горизонта составляет от 24,4 м до 28
м.
Речицкий горизонт регионально перекрывает
семилукские отложения. Представлен глинами слоистыми, гидрослюдистыми,
известняковыми, с растительными остатками и микрозёрнами пирита, в верхней
части горизонта встречаются прослои мергелей, а также известняков. Мощность горизонта
изменяется от 18 м до 35 м.
Воронежский горизонт имеет повсеместное
распространение, залегает согласно на отложениях речицкого горизонта. Отложения
горизонта подразделяются на две пачки: нижнюю и верхнюю.
Нижняя пачка представлена, в основном,
известняками серыми, глинистыми, неясно слоистыми с редкими остатками фауны.
Мощность пачки ― от 34 м до 42 м.
Верхняя пачка представлена известняками
тёмно-серыми, с прослоями ангидрита светло-серого; в нижней части пачки ― доломиты. Мощность пачки 40―42 м.
Общая мощность воронежского горизонта
меняется от 75 м до 95,6 м.
Евлановский горизонт повсеместно
перекрывает воронежские отложения. Литология горизонта довольно разнообразна.
Глинисто-ангидритовые породы переслаиваются с известняками, доломитами,
мергелями, песчаниками. Мощность горизонта составляет 124 м ― 174 м.
Ливенский горизонт распространён
повсеместно. Отложения ливенского горизонта представлены каменной солью с
прослоями глинистых, карбонатных и сульфатных пород. Мощность горизонта
меняется в пределах: от 299 м до 943 м.
Фаменский ярус. Подразделяется на
домановичский, задонский, елецкий, петриковский, лебедянский и полесский
горизонты.
Отложения домановичского, задонского,
елецкого и петриковского горизонтов в пределах площади отсутствуют в узкой полосе
простирающейся с северо-запада на восток. В северном и южном направлениях от
зоны отсутствия этих отложений происходит постепенное увеличение мощности
горизонта.
Отложения этих горизонт представлены
известняками, мергелями. Широко распространены прослои туфогенных пород.
Мощность отложений изменяется от 0 м до 842 м.
Лебедянский горизонт. Представлен
переслаиванием терригенно-карбонатных пород: ангидритов, песчаников, глин,
известняков, доломитов, мергелей с каменной солью. Мощность горизонта составляет
334―2643 м.
Нерасчленённые отложения каменноугольной
системы и дансковского горизонта верхнего девона залегают согласно на
нижележащих породах, представлены преимущественно глинами с прослоями различных
песчано-карбонатных пород: песчаников, алевролитов, доломитов, мергелей,
известняков. Мощность меняется от 59 м до 1534 м.
Пермская система представлена
переслаиванием песчаников, песков и алевролитов. Мощность варьирует от 34 м до
204 м.
Мезозойская группа включает отложения
триасовой, юрской и меловой систем.
Триасовая система. Представлена
пестроцветными глинами с редкими прослоями песчаников. Мощность― от 38 м до 361 м.
Юрская система. Нижняя часть ― песчано-глинистая; верхняя ― известково-мергелистая.
Мощность колеблется от 100 до 170 м.
Меловая система. Отложения представлены
внизу ― тёмно-серыми плотными глинами; выше ―
глауконитовыми
песчаниками; вверху ― писчим мелом. Мощность ― от 58 м до 184 м.
Кайнозойская группа. Палеогеновая и
четвертичная системы. Представлены кварцевыми песками с редкими прослоями серой
глины; выше―песками с галькой изверженных пород и
суглинками. Мощность меняется от 0 до 154 м.
1.3 Тектоническая
характеристика продуктивных горизонтов
Малодушинское месторождение относится к северной
тектонической зоне Припятской впадины.
В осадочном чехле в пределах Малодушинской структуры, как и
всей Северной тектонической зоне впадины, по данным структурно-формационных
исследований выделяются три структурных этажа, отражающие основные этапы её
развития: нижний, средний и верхний.
Нижний структурный этаж представлен подсолевыми отложениями,
соответствует платформенному этапу развития впадины. Он характеризуется
блоковым строением, сложившимся в результате тектонических подвижек фундамента
по разломам. Локальные структуры подсолевых отложений представляют собой
моноклинали или слабо выраженные гемиантиклинали. Моноклинальный блок обычно
ограничен субширотным региональным разломом и субмеридиальными разломами.
Малодушинское месторождение ограничено с запада, юга и востока региональным
сбросом. Амплитуда регионального субширотного сброса составляет 1000 м.
Поднятие характеризуется моноклинальным залеганием пород с
общим падением в северном направлении, угол падения пород составляет, в
среднем, 20º, амплитуда поднятия 400 м в пределах
изогипсы 3700 м, площадь поднятия составляет 15 км×1,4 км.
Средний структурный этаж объединяет нижнесоленосные,
межсолевые, верхнесоленосные, надсолевые девонские и каменноугольные отложения,
соответствует авлакогеновому этапу развития впадины. Он характеризуется пликативно-блоковыми
структурными формами, обусловленными как тектоническими движениями фундамента,
так и влиянием соляного тектогенеза нижней соленосной толщи.
Верхний структурный этаж включает пермские и
мезо-кайнозойские отложения, соответствует позднеплатформенному этапу развития
припятской впадины. Он характеризуется уменьшением степени дислоцированности
пород.
Палеогеновые и антропогеновые отложения залегают почти
горизонтально.
1.4 Нефтегазоносность
Промышленная нефтеносность Малодушинского месторождения
связана с подсолевыми отложениями (воронежский и семилукский горизонты).
Непромышленные притоки получены при испытании межсолевых отложений (скв. 31,
16).
Пласты-коллекторы семилукской залежи
представлены, в основном, доломитами трещиноватыми и кавернозными.
Тип залежи пластовая, тектонически
экранированная. Нефтенасыщенная толщина в среднем составляет 16 м, максимальные
её значения приурочены к северо-западной части залежи, закономерно увеличиваясь
от приконтурной зоны к её сводовой части.
В настоящее время залежь разрабатывается с
поддержанием пластового давления методом приконтурного заводнения.
Коллекторами воронежской залежи являются
доломитизированные известняки пористо-кавернозные, трещиноватые. Они выделены
только в нижней пачке воронежского горизонта. Максимальные нефтенасыщенные
толщины приурочены к приконтурной зоне западного блока воронежской залежи.
Залежь имеет линзовидное строение и разрабатывается единичными скважинами.
Разработка её осуществляется на естественном режиме.
Основным объектом разработки является
залежь семилукского горизонта. Залежь воронежского горизонта эксплуатируется
единичными скважинами.
Залежь нефти семилукского горизонта имеет
блоковое строение (центральный и восточный) и содержит основной объём (98,4%)
извлекаемых запасов.
Запасы нефти:
Воронежский горизонт
Балансовые 222 у. е.
Извлекаемые 44 у. е.
Семилукский горизонт
Балансовые 5792 у. е.
Извлекаемые 2675 у. е.
2. Описание технологии разрыва пластов для
различных условий
Гидравлический разрыв пласта (ГРП) - это
метод образования новых трещин или расширение некоторых существующих в пласте
вследствие нагнетания в скважину жидкости или пены под высоким давлением. Чтобы
обеспечить высокую проницаемость, трещины наполняют закрепляющим агентом,
например кварцевым песком. Под действием горного давления закрепленные трещины
смыкаются не полностью, в результате чего значительно увеличивается
фильтрационная поверхность скважины, а иногда включаются в работу и зоны пласта
с лучшей проницаемостью.
ГРП применяется для:
интенсификации скважин (в первую очередь с
загрязнённой призабойной зоной) путём увеличения эффективного радиуса за счёт
создания высокопроводящих трещин;
обеспечения гидродинамической связи
скважины с системой естественных трещин пласта и расширения зоны дренирования;
ввода в разработку низкопроницаемых
залежей с потенциальной производительностью скважин в 2―3 раза ниже уровня рентабельной добычи, и перевода забалансовых
запасов в промышленные;
разработки сложных расчленённых и
неоднородных пластов, характеризующихся высокой степенью прерывистости, путём
комплексной оптимизации системы разработки с целью увеличения темпа отбора
извлекаемых запасов и повышения нефтеотдачи за счёт вовлечения в активную
разработку слабо дренируемых зон и пропластков и увеличения охвата пласта.
Для проведения ГРП пласты должны иметь
следующие геолого-физические характеристики:
неоднородность по простиранию;
высокую расчленённость;
выдержанность и толщину литологических
экранов;
выработанность извлекаемых запасов не
более 30%;
запас пластовой энергии и достаточную
мощность пласта, обеспечивающие окупаемость ГРП.
Основными ограничениями на применение ГРП
являются:
водонефтяные и газонефтяные зоны
(опасность ускоренного конусообразования);
истощённые пласты с низкими остаточными
запасами и нефтенасыщенные линзы малого объёма (не обеспечивается окупаемость
ГРП).
Для проведения гидравлического разрыва
пласта применяют три технологические схемы:
однократный, когда воздействию
закачиваемой жидкости гидроразрыва подвергаются все пласты или пропластки,
эксплуатируемые скважиной;
многократный, когда последовательно
гидроразрыву подвергаются два или более пластов или пропластков, вскрытых
скважиной;
поинтервальный (направленный) гидроразрыв
пласта, когда разрыву преднамеренно подвергается один заранее определенный
пласт или пропласток из вскрытых скважиной.
Образование двух или более трещин в
пределах вскрытой толщины пласта может произойти и вследствие разрыва пласта по
технологической схеме однократного гидроразрыва, если пласт представлен
чередующимися пропластками, а давление разрыва приближается к геостатическому
давлению (полному горному). Однако методом многократного разрыва пласта принято
называть метод преднамеренного образования нескольких трещин. Практические
результаты показывают, что применение технологии однократного гидроразрыва
малоэффективно, особенно в скважинах, вскрывших два и более пластов.
Образование новых трещин или раскрытие существующих возможно, если давление,
созданное в пласте при нагнетании жидкости из поверхности, становится больше
местного горного давления. Заметим, что образование новых трещин
характеризуется резким снижением давления в устье скважины на 3-7 МПа.
Раскрытие существующих трещин происходит при постоянном давлении или его
незначительном увеличении. В обоих случаях возрастает коэффициент приемистости
скважины, который после ГРП должен увеличиться как минимум в 3-4 раза, что
считают критерием возможности закрепления трещин песком.
Трещины ГРП в неглубоких (до 900 м)
скважинах имеют горизонтальную ориентацию, а в глубоких - вертикальную,
наклонную, близкую к вертикальной. Трещины развиваются в той плоскости, где
отмечаются наименьшие силы сопротивления, т.е. наименьшее горное давление.
ГРП применяют в любых породах, кроме
пластичных сланцев и глин. Это метод не только восстановления природной
продуктивности скважин, но и значительного ее увеличения.
Применяемые технологии обычных ГРП
ньютоновскими жидкостями предполагают закрепление трещин (около 5-10 т песка
при концентрации 50-200 кг/м3) и обеспечивают двух ― трехкратное увеличение текущего дебита нефтяных, газовых или
приемистости нагнетательных скважин в низкопроницаемых пластах с загрязненной
призабойной зоной.
С увеличением количества песка до 20 т
проводят глубокопроникающий гидравлический разрыв (ГГРП), который
содействует значительному увеличению фильтрационной поверхности, изменяет
характер притока жидкости от радиального к линейному с подключением новых зон
пласта изолированных вследствие макронеоднородности. Трещины такого ГРП
достигают 100-150 м в длину при ширине 10-20 мм.
Технологии мощных ГРП (МГРП)
осуществляются неньютоновскими жидкостями - гелями, которые обладают очень
большой кажущейся вязкостью, меньшими гидравлическими потерями и высокой
несущей способностью закрепляющего агента - керамического проппанта (до 1000
кг/м3), обеспечивают увеличение проводимости широких закрепленных
трещин в несколько раз по сравнению с обычным ГРП. Увеличение проводимости
трещин МГРП достигается за счет значительного повышения концентрации
закрепляющего агента до 300-800 кг/м3 в гелях, а общее количество
закрепляющего агента может оставаться на уровне 6-20 т. Продолжительность
эффекта увеличения дебита скважин после МГРП обычно составляет 1,5-3 г.
В газоносных пластах проницаемостью до
0,001 мкм2 применяют массивный ГРП высоковязкими гелями, во время
которого развиваются трещины длиной до 1000 м, закрепленные проппантом в
количестве до 300 т. Массивный ГРП - очень дорогостоящий, поэтому он
предусмотрен в смете строительства скважины и увеличивает ее стоимость на 50%.
При мощных и массивных ГРП используют
дорогостоящую технику, при обычных ГРП могут применяться отечественные техника
и материалы (жидкости, закрепляющие агенты, пакеры, оборудование устья).
Сравнение показателей эффективности
обычных ГРП и МГРП, а также стоимости этих процессов свидетельствует, что,
несмотря на значительно меньшую добычу нефти после обычных ГРП, экономически
они вполне конкурентоспособны вследствие меньшей стоимости.
При обычных ГРП фильтрующейся жидкостью
развиваются глубокие (50-100 м) трещины небольшой ширины (3-5 мм) в глубь
продуктивного пласта (а не вверх или вниз, как при МГРП гелями). При этом
практически не возникают ситуации выпадания закрепляющего агента или упаковки
трещины, сопровождающейся ростом давления до допустимого. После этого в стволе
скважины остается большая пробка закрепителя. Таким образом, обычные ГРП
фильтрующими жидкостями имеют хорошие технико-экономические показатели,
осуществляются с меньшими осложнениями, и их следует применять в дальнейшем
наряду с новыми технологиями.
Технология обычных ГРП осуществляется по
следующей схеме.
Для проведения обычных ГРП в скважину на
НКТ опускают пакер, который делит ее ствол на две части и защищает верхнюю
часть эксплуатационной колонны от высокого давления. Устье скважины обустраивают
арматурой, например 2АУ-700, на рабочее давление до 70 МПа. Все насосные
агрегаты (до 10) для нагнетания жидкостей ГРП, например 4АН-700, обвязывают с
арматурой устья скважины через блок манифольда (1БМ-700). Жидкости для ГРП
транспортируют автоцистернами вместимостью по 20 м3 либо сливают в
стационарный резервуар (по 50 м3) общей вместимостью 100-300 м3.
Вспомогательные насосные агрегаты (ЦА-320М) закачивают жидкость в
пескосмеситель (4ПА), из которого центробежным насосом вначале только жидкость,
а затем жидкость с песком направляются на выход насосных агрегатов (4АН-700)
для нагнетания в скважину.
Чтобы провести ГРП, из скважины поднимают
НКТ и другое глубинное оборудование (насосное, газлифтное), шаблонируют
эксплуатационную колонну, спускают пакер на НКТ и спрессовывают их. Процесс ГРП
начинается с проверки приемистости скважины при наименьшем расходе жидкости
разрыва, которую постепенно увеличивают, например, от 250 до 450, 900, 1500 м3/сут,
вплоть до значения, при котором обеспечивается закрепление трещин (2000-3000 м3/сут).
Далее нагнетают жидкость-песконоситель, обычно концентрацией Сп песка
50-200 кг/м3. Концентрация зависит от вязкости жидкости. В
завершение процесса необходимо вытеснить смесь жидкости с песком из ствола
скважины в пласт продавливающей жидкостью и закрыть НКТ, пока давление в
скважине не снизится до атмосферного. После поднимают НКТ с пакером и спускают
глубинное оборудование для эксплуатации скважины. Обычные ГРП проводят
ньютоновскими жидкостями. Для проведения обычных ГРП требуется закрепляющий
агент (кварцевый песок) в количестве Qпс =
10÷20 т,
фракции 0,6…1 мм, жидкость разрыва пласта (Vр = 10÷ЗО м3), жидкость-песконоситель (Vп = 100÷300 м3), жидкость для продавливания в пласт (Vпр) песконосителя
в объеме той части полости скважины, по которой поступают жидкости. Небольшую
часть жидкости-песконосителя без закрепителя, нагнетаемую после жидкости
разрыва для предварительного раскрытия трещин, называют буферной жидкостью.
Жидкость разрыва пласта должна быть совместимой с пластовыми флюидами, хорошо
фильтроваться в низкопроницаемую породу, не уменьшать ее проницаемости, не
греть, быть доступной, недорогостоящей, поэтому часто используют водные
растворы ПАВ. Жидкость-песконоситель должна быть совместимой с пластовыми
флюидами, иметь свойство удерживать песок, плохо фильтроваться сквозь
поверхность трещин, не гореть, быть доступной и недорогостоящей. Для обычных
ГРП применяют водные растворы с добавкой 0,1-0,3% ПАВ и полимеров (ПАА, КМЦ,
ССБ). Например, в Предкарпатье применение 0,4%-водного раствора ПАА
обеспечивает развитие и закрепление трещин песком в количестве до 10т при
концентрации Сп = 100 кг/м3, объеме жидкости 100 м3
и расходе 2000-3000 м3/сут с применением раствора 0,4%-ного ПАА.
Возможно, также проведение процесса поэтапно в течение двух-трех дней с
закреплением трещин 24-72 т песка по технологии, осуществляемой в НГДУ
«Долинанефть».
Для глубокопроницаемых ГРП по технологии
ВНИИнефти применяют неньютоновские жидкости с динамической вязкостью 50-200
мПа-с при скорости сдвига 650-1100 с-1 (q = 2100÷3500 м3/сут) и температуре 20° С не менее
8 ч, стабильные (2 ч) при пластовой температуре. Также ВНИИКРнефтью предложена
рецептура на водной основе, содержащая 1-2,5% КМЦ, 1-3% хроматов, 0,2-0,7%
лигносульфата, 0,75-2,1% соли хлорноватой кислоты, которая применяется для
пластовых температур 60-150° С. Новые типы песконосителей разработаны на
Украине. Продавливающая жидкость должна быть маловязкой и не гореть. Обычно
применяют водные растворы с добавкой 0,1-0,3% ПАВ. Для закрепления трещин в
скважинах глубиной до 3000 м, как установлено практикой, пригоден кварцевый
песок. В скважинах большей глубины, где обычно горное давление превышает 50-70
МПа, следует использовать более крепкие закрепители-проппанты.
2.1 Технология разрыва пласта для терригенных
пород
Гидравлический разрыв пласта (ГРП) - процесс обработки
призабойной зоны скважины с целью расширения и углубления естественных и
образования новых трещин в породах призабойной зоны. Достигается это путем
создания высоких давлений на забоях скважин закачкой в пласт вязких жидкостей
при больших расходах, что обеспечивает быстрое повышение давления на забое.
Когда давление превысит гидростатическое примерно в 1,5-2,5 раза, произойдет
разрыв или расслоение пласта, т.е. расширятся естественные и образуются новые
трещины. Для сохранения трещин в раскрытом состоянии их заполняют песком,
который вводят вместе с вязкой жидкостью. В дальнейшем эта жидкость извлекается
из призабойной зоны в процессе эксплуатации скважины.
Создание в ПЗС одной или нескольких трещин, проникающих в
пласт на десятки метров, приводит к увеличению проницаемости пласта в зоне
распространения трещин и к значительному улучшению условий притока жидкости.
ГРП применяют для:
а) увеличения продуктивности нефтяных (газовых) и
приемистости нагнетательных скважин;
б) регулирования притоков и приемистости по продуктивной
толщине пласта;
в) создания водоизоляционных экранов в обводненных скважинах.
Различают три основных процесса ГРП:
а) однократный;
б) многократный;
в) поинтервальный (направленный).
При однократном разрыве предполагается образование одной
трещины в продуктивной толщине пласта, многократном - нескольких трещин по всей
вскрытой продуктивной толщине пласта; направленном - образование трещин в
заранее предусмотренных интервалах толщины пласта.
До начала работ по ГРП определяют глубину забоя скважины, при
необходимости промывают ее для удаления забойной пробки. Затем скважину
исследуют на приток. Иногда для снижения давления разрыва и повышения
эффективности процесса применяют гидропескоструйную перфорацию, солянокислотную
обработку или перестрел интервала фильтра. Поскольку при ГРП в большинстве
случаев (за исключением мелких скважин) давления превышают допустимые для
обсадных колонн, то в скважину на НКТ спускают пакер, изолирующий кольцевое
пространство и предохраняющий колонну от давления. Пакер спускают с якорем-устройством,
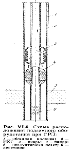
предупреждающим смещение пакера по колонне (рис. 2.1), и устанавливают его выше
верхних отверстий фильтра (кровли пласта). Устье оборудуют головкой, к которой
подключают агрегаты для нагнетания рабочих жидкостей (рис. 2.2). Процесс ГРП
состоит из следующих последовательных этапов (рис. 2.3):
) закачки в скважину жидкости разрыва для создания трещины в
пласте;
) закачки жидкости-песконосителя;
3) закачки продавочной жидкости для проталкивания песка в
трещины и предохранения их от смыкания.
По спущенным НКТ нагнетают сначала жидкость разрыва в таких
объемах, чтобы создать на забое давление, достаточное для разрыва пласта. При
этом непрерывно наблюдают за давлением и расходом жидкости на устье. Момент
разрыва на поверхности отмечается резким увеличением расхода жидкости
(поглотительной способности скважины) при одном и том же давлении на устье или
резким уменьшением давления на устье при одном и том же расходе. Обычно о
моменте гидроразрыва судят по условному коэффициенту
где Q - расход жидкости, м3/с;y-давление на устье, МПа.
При резком увеличении Кy в процессе закачки жидкости разрыва происходит гидроразрыв
пласта.
После разрыва пласта, не снижая давления, в скважину закачивают
жидкость-песконоситель - вязкую жидкость, смешанную с песком (180-400 кг песка
на 1 м3 жидкости), которая под воздействием продавочной жидкости
(маловязкой углеводородной жидкости) проталкивается в НКТ и в пласт.
Общую продолжительность процесса гидроразрыва (в часах) можно
определить по формуле
где Vp-объем жидкости разрыва, м3;
Vжп-объем жидкости-песконосителя м3;
Vпр-объем продавочной жидкости, м3;
Q - средний расход жидкости, м3/ч.
Потребное число агрегатов устанавливают, исходя из подачи
одного агрегата qаг и максимального расхода Qmax жидкости в процессе ГРП с учетом одного
резервного агрегата:
В неглубоких скважинах для разрыва пласта жидкость обычно
закачивают непосредственно в обсадную колонну.
При большой толщине продуктивного пласта проводят многократный
разрыв, т.е. несколько разрывов в пласте за одну операцию.
Многократный ГРП с применением упругих пластмассовых шариков
или закупоривающих материалов. Вначале проводят ГРП по обычной технологии, а
затем в нагнетаемый поток жидкости вводят пластмассовые шарики диаметром 12-18
мм и плотностью, примерно равной плотности нагнетаемой жидкости. Один шарик
может перекрыть одно перфорационное отверстие. Потоком жидкости шарики
устремляются в те перфорационные отверстия, где скорость потока наибольшая (против
интервала разрыва), упираются в них и перекрывают отверстия. Тем самым
достигается уменьшение или даже прекращение потока жидкости в образовавшуюся
трещину. Давление на забое возрастает, что вызывает образование новой трещины в
другом прослое. Это контролируется на поверхности увеличением условного
коэффициента Кy. Затем в поток снова вводят шарики без снижения давления (через
специальное лубрикаторное устройство) для закупорки второй образовавшейся
трещины. Таким образом осуществляют двух-, трех- или многократный разрыв
пласта.
Аналогичным образом производят многократный ГРП с
использованием временно закупоривающих веществ (например, зернистого парафина).
В этом случае после получения первой трещины в скважину вместе с жидкостью
вводят временно закупоривающие вещества, что приводит к закупорке
образовавшейся трещины, к повышению давления и разрыву пласта в другом
интервале. Затем в жидкость разрыва вновь вводят закупоривающее вещество и
добиваются разрыва в новом интервале. Таким образом осуществляют многократный
разрыв. При освоении скважины закупоривающие вещества либо растворяются в нефти
(нафталин) и удаляются из трещин, либо выносятся потоком на поверхность (шарики
из пластмассы).
Если в скважине общим фильтром разрабатывается несколько
пластов или пропластков, то применяют поинтервальный ГРП, т.е. в заданном
прослое. Такой гидроразрыв пласта осуществим, если эксплуатационные объекты
изолированы слоями непроницаемых пород (например, глин), имеющих толщину
нескольких метров, с хорошим перекрытием. Это необходимо для размещения пакеров
и якорей выше и ниже намеченного для ГРП интервала, а также для предотвращения
ухода жидкости в другие пласты.
В случае направленного разрыва интервал, предназначенный для
этой цели, разобщают двумя пакерами (сверху и снизу зоны разрыва), после чего
проводят разрыв.
Для определения глубины образовавшейся в процессе разрыва
трещины в последнюю порцию песка добавляют некоторое количество песка,
активированного радиоактивными изотопами. Сравнивая результаты гамма-каротажа
по диаграммам, снятым до и после ГРП, определяют глубину с повышенной по
сравнению с естественным фоном интенсивностью гамма-излучения, которая и
характеризует глубину образовавшейся трещины.
При значительной толщине пласта или при наличии в скважине
нескольких продуктивных горизонтов (пропластков) можно провести многократный
поинтервальный ГРП путем последовательной перфорации каждого продуктивного
интервала, проведения ГРП, последующей засыпки песком этого интервала, вскрытия
перфорацией вышележащего объекта, проведения ГРП в этом интервале и т.д.
На рис. 2.4 показана последовательность многократного
поинтервального ГРП в скважине, в которой планируется одновременная
эксплуатация трех пропластков одним общим фильтром.
В этом случае применяют избирательную перфорацию нижнего
пропластка в узком интервале, затем после установления пакера осуществляют
гидроразрыв этого пропластка (см. рис. 2.4, а), применяют избирательную
перфорацию среднего пропластка в узком интервале, засыпают песком скважину в
интервале нижнего пропластка и проводят гидроразрыв среднего пропластка (см.
рис. 2.4, б); применяют избирательную перфорацию верхнего пропластка в узком
интервале, засыпают песком средний пропласток и проводят гидроразрыв верхнего
пропластка (см. рис. 2.4, в). После этого промывают скважину до забоя,
спускают оборудование и пускают скважину в эксплуатацию (см. рис. 2.4, г).
При планировании процесса ГРП необходимо знать объем жидкости
разрыва, объем жидкости-песконосителя, концентрацию песка в ней и количество
песка.
Объем жидкости разрыва устанавливают исходя из конкретных
условий. По опытным данным при плотных породах (при вскрытой толщине пласта не
более 20 м) объем жидкости разрыва следует устанавливать из расчета 4-6 м3
на 1 м толщины пласта. При вскрытой толщине пласта более 20 м-на каждые 10 м
толщины количество жидкости разрыва должно быть увеличено на 1-2 м3.
Если пласт сложен из слабосцементированных пород, то
количество жидкости разрыва увеличивают в 1,5-2 раза по сравнению с указанными.
Объем жидкости-песконосителя (в м3)
где QП-количество
закачиваемого песка, кг;
С-концентрация песка в жидкости, кг/м3,
Концентрацию песка в жидкости-песконосителе определяют по
эмпирической формуле
C=4000/u
где С-оптимальная концентрация песка, кг/м3;
u-скорость падения зерен
песка, м/ч (эта скорость зависит от вязкости жидкости и определяется опытным
путем).
Для заполнения трещин при ГРП используют кварцевые пески с
размерами зерен 0,5 - 0,8 мм.
Количество песка Qn для закачки в пласт зависит от степени
трещиноватости пород. При определении Qn учитывают конкретные условия и обычно
основываются на опыте ранее проведенных ГРП. Обычно принимают Qn равным 8000 -
20000 кг.
В качестве рабочих жидкостей для ГРП используют
углеводородные жидкости (сырую вязкую нефть, керосин или дизельное топливо,
загущенные мылами, нефтекислотные эмульсии и др.) и водные растворы (вода,
сульфит-спиртовая барда, загущенные растворы соляной кислоты и др.).
Углеводородные жидкости применяют в нефтяных скважинах, а водные растворы-в
нагнетательных.
Жидкость разрыва выбирают в соответствии с
геолого-эксплуатационной характеристикой скважины, т.е. с учетом вязкости и
фильтруемости, а жидкости-песконосители - с учетом ее способности удерживать
песок во взвешенном состоянии.
На практике в качестве рабочей жидкости (жидкости разрыва,
жидкости-песконосителя и продавочной) широко используют эмульсии (гидрофобную и
гидрофильную водонефтяную, нефте-керосинокислотную и др.). Рабочая жидкость должна
удовлетворять следующим требованиям:
не снижать абсолютную и фазовую проницаемости породы;
не содержать механических примесей, а при соприкосновении с
пластовыми жидкостями и породой пласта не образовывать нерастворимых осадков;
обладать стабильной вязкостью в условиях обрабатываемого
пласта в процессе проведения ГРП.
В качестве жидкости-песконосителя в соответствии с
характеристикой пород пласта рекомендуется применять вязкие, слабофильтрующиеся
жидкости, а в качестве продавочной - сырые, маловязкие нефти или воду,
обработанную ПАВ. Продавочная жидкость при всех условиях должна обладать малой
вязкостью и способствовать отмыву пласта от жидкости-песконосителя.
Песок при ГРП применяют для закрепления трещин и сохранения
их высокой проницаемости после разрыва пласта и снижения давления.
Чтобы удержать трещину в раскрытом состоянии, песок должен
быть хорошо отсортирован, не содержать пылеватых, илистых, глинистых и
карбонатных частиц, а также обладать достаточной прочностью и не разрушаться во
время сжатия (смыкания) трещины. Поэтому твердость песка должна быть выше
твердости пород пласта.
2.2 Технология разрыва пласта для карбонатных
пород
В карбонатных породах проводят гидрокислотные разрывы. Они
пред-назначены для улучшения фильтрационных свойств пласта и призабойной зоны
путем создания сети трещин, пустот, каналов разъедания. При взаимодействии
соляной кислоты и карбонатных пород происходят следующие реакции:
для известняков
CaCO3 + 2HCl = CaCl2 + H2O
+ CO2,
для доломитов
CaMg(CO3)2 + 4HCl = CaCl2
+ MgCl2 + 2H2O + 2CO2.
Продукты реакции соляной кислоты с карбонатами - двухлористый
кальций (CaCl2) и двухлористый магний (MgCl2) - хорошо растворимые в воде, а также остаток
непрореагировавшей кислоты при промывке скважины извлекаются на поверхность. Углекислый
газ (CO2) в зависимости от давления либо растворяется в воде, либо
выделяется в виде свободного газа и легко удаляется из скважины.
Под действием соляной кислоты в породах ПЗС образуются
пустоты, каверны, каналы разъедания, вследствие чего увеличивается
проницаемость пород, а, следовательно, и производительность нефтяных (газовых)
скважин и приемистость нагнетательных скважин.
Концентрированную соляную кислоту разбавляют водой до
заданного содержания HCl (рабочий раствор) на месте ее хранения или непосредственно
у скважины перед началом операции.
Так как соляная кислота, поступающая с заводов, может иметь
различную концентрацию, необходимо определить количество воды, потребное для ее
разбавления до за данной концентрации.
Объем концентрированной товарной кислоты Vт, необходимо для
получения объема Vр рабочего раствора заданной концентрации (в м3),
определяют по формуле
Где р - плотность товарной кислоты, кг/м3;
р -
плотность готового рабочего раствора, кг/м3;
Зная объем концентрированной товарной кислоты нетрудно определить
количество воды, необходимое для смешивания с товарной кислотой для получения
рабочего раствора заданной концентрации:
Раствор заданной концентрации приготавливают следующим образом.
Соответственно расчету в емкость наливают воду, добавляют
ингибитор, стабилизатор и техническую соляную кислоту. После перемешивания
добавляют хлористый барий, снова перемешивают до исчезновения хлопьев этого
реагента, что контролируют анализом проб. Затем добавляют интенсификатор,
перемешивают и далее дают раствору отстоятся до полного осветления и осаждения
сернокислого бария.
Добавки ингибитора, стабилизатора и интенсификатора обычно
настолько незначительны, что поправки на объемы этих реагентов не вводят.
К рабочему раствору соляной кислоты, как указывалось, добавляют
следующие реагенты.
1. Ингибиторы-вещества,
снижающие коррозионное воздействие кислоты на оборудование. Обычно ингибиторы
добавляют в количестве до 1%.
В качестве ингибиторов используют: формалин (0,6%); уникод (0,1%);
реагент И-1-А (0,4%) в смеси с уротропином (0,8%); катапин А (0,1%) и др.
Указанные ингибиторы снижают коррозионную активность соляной кислоты от 7-8
(формалин) до 20 раз (катапин А).
2. Интенсификаторы-поверхностно-активные
вещества (ПАВ), снижающие в 3-5 раз поверхностное натяжение на границе нефть-нейтрализованная
кислота, ускоряющие и облегчающие очистку призабойной зоны от продуктов реакции
и от отреагировавшей кислоты.
В качестве интенсификаторов применяют некоторые ингибиторы, такие
как катамин А, ОП-10, ОП-7 и др.
3. Стабилизаторы-вещества,
необходимые для удержания в растворенном состоянии некоторых продуктов реакции
примесей раствора НСl с железом, цементом и песчаниками, а
также для удаления из раствора соляной кислоты, вредной примеси серной кислоты
и превращения ее в растворимую соль бария:
2SO4 + BaCl2 = BaSO4 + 2НС2.
В этом случае раствор НСl перед закачкой в скважину
обрабатывают раствором хлористого бария (ВаCl2). Образующийся сернокислый
барий (BaSO4) удерживается в растворе и удаляется в жидком состоянии
вместе с другими продуктами реакции.
В качестве стабилизатора используют уксусную и плавиковую
кислоты.
Соляная кислота, взаимодействуя с глинами, образует соли
алюминия, а с цементом и песчаником - гель кремниевой кислоты, выпадающие в
осадок. Для удержания во взвешенном состоянии солей алюминия и геля кремниевой
кислоты используют стабилизаторы-уксусную (СНзСООН) и плавиковую
(фтористоводородную-HF) кислоты.
В целом технология проведения солянокислотного разрыва пласта
аналогична простой, только вместо жидкости-песконосителя применяется соляная
кислота.
3. Анализ технологии процессов ГРП проведённых в
ПО «Белоруснефть»
В настоящее время наиболее актуальной задачей для ПО Белоруснефть
является поддержание добычи нефти на достигнутом уровне. Важнейшая роль при
этом отводится методам интенсификации притока нефти к забою скважины. Одним из
наиболее перспективных методов воздействия на пласт является гидравлический
разрыв пласта. В настоящее время в мировой практике накоплен большой опыт работ
по ГРП. Значительные объемы таких работ выполнены и в ряде нефтегазодобывающих
районов России, особенно в Западной Сибири.
Весь накопленный опыт может быть использован при внедрении
ГРП на скважинах, эксплуатирующих низкопродуктивные пласты месторождений ПО
Белоруснефть.
При рассмотрении перспектив внедрения ГРП в ПО Белоруснефть
рассматривались и прорабатывались два варианта работ:
Первый вариант - привлечение специализированных фирм для
выполнения работ по схеме сервисных услуг.
Второй вариант - закупка импортного оборудования и выполнение
работ по ГРП собственными силами.
.1 Выбор скважин и подготовка геолого-промысловых
данных для планирования ГРП
Оценка перспектив ГРП на нефтяных месторождениях ПО
Белоруснефть показала, что фонд скважин, по которому можно ожидать окупаемость
затрат, небольшой. Для установления соответствия выполненного прогноза
фактической успешности работ по ГРП было принято решение включить в число
первой группы опытных скважин, скважины как технологически успешные по
прогнозу, так и неуспешные.
В результате выбора и обсуждения в первую группу скважин для
выполнения опытных работ по ГРП включили следующие скважины: 238, 250
Речицкого, 72, 76 Мармовичского и 115 Вишанского месторождений. На выполнение
работ по этим скважинам был заключен контракт с фирмой «Довелл Шлюмберже».
В конце 1996 - начале 1997 года институтом БелНИПИнефть по
указанным скважинам для фирмы «Довелл Шлюмберже» была подготовлена исходная
геолого-техническая информация, необходимая для расчета технологических режимов
и процесса ГРП. В перечень информации входили сведения о пласте и скважине,
истории ее работы. В качестве примера в таблице 3.2.1 приведены данные, которые
институт БелНИПИнефть готовил и представлял фирме «Довелл Шлюмберже» по каждой
скважине.
По каждой из скважин были выполнены гидродинамические
исследования по оценке текущих фильтрационных свойств пласта, околоствольной
зоны и пластового давления. Вся подготовленная информация по факсу была передана
фирме «Довелл Шлюмберже».
Как показали гидродинамические исследования все выбранные для
ГРП скважины относятся к низкодебитному фонду. Дебит жидкости по ним не
превышает 6 т/сут., а нефти - 5 т/сут. (табл. 3.2.1). Околоствольная зона
скважин 72, 76 Мармовичского и 250 Речицкого месторождений в значительной
степени раздренирована. Показатель скин-эффекта по этим скважинам находится в
пределах минус 7. Только по скважинам 238-Речицкая и 115-Вишанская показатель
скин-эффекта - положительный (8,2 и 0,2 ед. соответственно). Замеры пластовых
давлений по залежам показали, что они в значительной степени снижены. Так, по
скважине 72-Мармовичская пластовое давление составляет 83% от
гидростатического, по скважине 76-Мармовичская - 76% от гидростатического. По скважинам
Речицкого месторождения эти показатели еще ниже - 59% по скважине 238 и 40% -
по скважине 250. Только по скважине 115-Вишанской пластовое давление на 12%
превышает гидростатическое.
Проницаемость пластов составляет (табл. 3.2.1.) по скважине
72-Мармовичская - 0,2 мД, по скважине 76-Мармовичская - 0,4 мД, по скважине
115-Вишанская - 11,4 мД, по скважине 238-Речицкая - 34 мД и по скважине
250-Речицкая - 0,8 мД.
После изучения фактического материала и выполнения
соответствующих расчетов специалисты фирмы Шлюмберже приняли решение на
скважинах 238-Речицкая (эксплуатирует ланский горизонт) и 250-Речицкая
(эксплуатирует воронежский горизонт) провести гидравлический разрыв пласта с
закачкой в трещины в качестве расклинивающего агента пропанта, а на скважинах
72 -, 76 - Мармовичская и 115 - Вишанская, работающих с задонского горизонта,
провести гидрокислотный разрыв с закачкой порций 24%-ной соляной кислоты.
Причем на скважинах 238 и 250-Речицкие перед основным разрывом для изучения
свойств пластов и корректировки технологических режимов его проведения
запланировали провести мини-разрыв.
3.2 Подготовка геолого-промысловых данных и выбор
скважин для проведения ГРП
месторождение скважина геологический гидроразрыв
В 1995 году совместно с представителями фирмы «Довел
Шлюмберже» специалистами института БелНИПИнефть была выполнена подготовка
геолого-промысловых данных, материалов гидродинамических исследований и
сведений о конструкции и качестве крепления по скважинам Южно-Тишковского,
Барсуковского, Мармовичского, Березинского, Речицкого, Вишанского,
Славаньского, Борисовского и Сосновского месторождений. Отобрано более 100
скважин, большинство из которых относится к категории низкопродуктивных. С
целью определения фильтрационных характеристик проанализировано 30 КВД по
скважинам рассматриваемых месторождений по методам Хорнера и наложения (двойных
логарифмических координат). Результаты анализа приведены в таблице 3.1.1.
Специалистами фирмы «Довел Шлюмберже» выполнен расчет и дана
оценка технологической эффективности внедрения ГРП по отдельным группам
низкопродуктивных скважин НГДУ «Речицанефть». В качестве примера в таблице
3.1.2 приведены результаты расчета технологического эффекта по скважинам
Речицкого месторождения. Следует отметить, что все проанализированные КВД
характеризуют фильтрационные свойства пластов и околоствольной зоны на дату
исследований. Между датой исследования и датой анализа прошло от 5 до 20 лет
(табл. 3.1.1). За этот период гидродинамическая обстановка в зоне дренирования
рассмотренных скважин значительно изменилась. Поэтому выполненные фирмой «Довел
Шлюмберже» расчеты и технологическая оценка эффективности не совсем корректны.
Кроме того, по ряду скважин гидродинамическая информация или не интепретируется
из-за низкого качества или вообще отсутствует. Поэтому по большинству скважин
из-за отсутствия качественных КВД показатель скин-эффекта приняли равным нулю.
Таблица 3.1.1. Результаты интерпретации кривых восстановления
давления (D. Schlumberger)
|
№№ пп
|
Номер скважины,
месторождение
|
Дата исследования
|
Проницаемость,
мд
|
Скин-эффект,
ед.
|
|
1
|
36, Ю.
Тишковское
|
15.10.85.
|
0,8
|
0,32
|
|
2
|
|
19.03.86.
|
0,4
|
1,0
|
|
3
|
|
04.04.86.
|
0,13
|
0,25
|
|
4
|
40, Ю.
Тишковское
|
14.04.87.
|
не интерпретир.
|
не интерпретир.
|
|
5
|
|
18.03.88.
|
не интерпретир.
|
не интерпретир.
|
|
6
|
|
03.03.91.
|
24
|
0,9
|
|
7
|
|
05.03.91.
|
не интерпретир.
|
не интерпретир.
|
|
8
|
42, Ю.
Тишковское
|
16.05.88.
|
0,3
|
0,55
|
|
9
|
43, Ю.
Тишковское
|
14.06.89.
|
0,2
|
2,7
|
|
10
|
32,
Барсуковское
|
19.02.75.
|
не интерпретир.
|
не интерпретир.
|
|
11
|
43,
Барсуковское
|
14.11.79
|
не интерпретир.
|
не интерпретир.
|
|
12
|
|
19.11.79.
|
30
|
13
|
|
13
|
|
17.04.80.
|
28
|
21
|
|
14
|
|
18.04.80.
|
28
|
17
|
|
15
|
80,
Барсуковское
|
25.12.85.
|
26
|
0,32
|
|
16
|
|
11.02.86.
|
4,5
|
-2,8
|
|
17
|
81,
Барсуковское
|
11.01.85.
|
не интерпретир.
|
не интерпретир.
|
|
18
|
82,
Барсуковское
|
04.07.85.
|
не интерпретир.
|
не интерпретир.
|
|
19
|
88, Барсуковское
|
27.08.85.
|
не интерпретир.
|
не интерпретир.
|
|
20
|
|
08.08.85.
|
не интерпретир.
|
не интерпретир.
|
|
Скв-ны
Мармовичского месторождения
|
отсутствуют КВД
|
|
|
|
21
|
128,
Березинское
|
16.12.83.
|
не интерпретир.
|
не интерпретир.
|
|
22
|
|
23.03.84.
|
не интерпретир.
|
не интерпретир.
|
|
23
|
|
19.06.85.
|
не интерпретир.
|
не интерпретир.
|
|
24
|
62, Славаньское
|
26.08.86.
|
3,9
|
4,6
|
|
25
|
|
03.02.88.
|
5,4
|
2,5
|
|
26
|
|
09.02.88.
|
6,1
|
3,4
|
|
27
|
63, Славаньское
|
не интерпретир.
|
не интерпретир.
|
|
28
|
|
16.02.88.
|
2,2
|
-4,5
|
|
29
|
|
18.02.88.
|
не интерпретир.
|
не интерпретир.
|
|
30
|
69, Славаньское
|
18.04.90.
|
1,17
|
0,14
|
В табл. 3.1.2 приведены результаты расчета для условия, что
при ГРП значения скин-эффекта от 0 до -4 - первый вариант и от 5 до -4 - второй
вариант. Как видно из приведенных результатов расчета эффективность работ по
ГРП в значительной степени определяется состоянием околоствольной зоны. Так,
расчетная накопленная добыча за первый календарный год эксплуатации скважин
после ГРП по первому варианту в 1,8-2,2 раза ниже, чем по второму,
соответственно отличаются и расчетные дебиты скважин.
Таблица
3.1.2. Технологическая эффективность ГРП (расчет Dowell Schlumberger).
|
Показатели
|
Речицкое (1
вариант)
|
Речицкое (2
вариант)
|
|
161
|
199
|
237
|
238
|
253
|
161
|
199
|
237
|
238
|
253
|
|
Скин-фактор до
ГРП, ед.
|
0
|
0
|
0
|
0
|
0
|
5
|
5
|
5
|
5
|
5
|
|
k, мд.
|
11
|
4
|
1,2
|
7,5
|
10
|
|
|
|
|
|
|
h, м
|
6,5
|
7,2
|
14,5
|
14.5
|
6,5
|
|
|
|
|
|
|
kh, мд*м
|
71
|
30
|
18
|
109
|
65
|
|
|
|
|
|
|
Q, куб. м/сут.
до ГРП
|
2,5
|
6,2
|
2,9
|
6,2
|
11,2
|
|
|
|
|
|
|
Скин-фактор
после ГРП, ед.
|
-4
|
-4
|
-4
|
-4
|
-4
|
-4
|
-4
|
-4
|
-4
|
-4
|
|
Q1
за 30 суток, куб. м/сут.
|
5,7
|
16,1
|
9,6
|
15.2
|
26
|
8.8
|
24,7
|
14.3
|
23,2
|
39,5
|
|
Q2
за 60 суток, куб. м/сут.
|
5,2
|
14,4
|
8,3
|
13,6
|
23
|
8
|
22,3
|
12,6
|
21,1
|
36
|
|
Q3 за
180 суток, куб. м/сут.
|
4,5
|
12,3
|
6,9
|
11,7
|
20
|
7
|
19,2
|
10,6
|
18,3
|
31,6
|
|
Q4
за 365 суток, куб. м/сут.
|
4,1
|
11,2
|
6,2
|
10,8
|
18
|
6,5
|
17,7
|
9,6
|
16,9
|
29,3
|
|
Накопленная
доп. добыча за 1 год, тонн
|
860
|
2660
|
1770
|
2420
|
3850
|
1850
|
5400
|
3240
|
5000
|
8360
|
Предложенная специалистами «Довел Шлюмберже» модель ГРП
предусматривала следующую стоимость обработки:
гидравлический разрыв пласта с закреплением трещин пропантом
по скважинам ланского горизонта, вскрывшим терригенный коллектор, - 125 тысяч
долларов США;
гидрокислотный разрыв пласта по скважинам задонского
горизонта, вскрывшим карбонатный коллектор, - 113 тысяч долларов США.
Принимая то, что чистая прибыль от реализации 1 тонны
товарной нефти в ПО Белоруснефть составляет 45 долларов США, для окупаемости
одного процесса ГРП с закреплением трещин пропантом необходимо получение не
менее 2780 тонн дополнительной добычи нефти на одну скважину для покрытия
затрат только зарубежного партнера, Для окупаемости одного гидрокислотного
разрыва пласта дополнительная добыча должна составлять не менее 2510 тонн
нефти.
В таблице 3.1.3 приведен список скважин, по которым по
расчетам «Довел Шлюмберже» гидравлический разрыв пласта может быть рентабельным.
Таблица 3.1.3. Список перспективных скважин для внедрения
гидравлического разрыва пласта (модель Dowel Schlumberger)
|
Месторождение
|
Номер скважины
|
Q нефти до ГРП, м3/сут.
|
Ожидаемая доп.
добыча нефти, тонн
|
|
Березинское
|
128
|
3,2
|
2600
|
|
Речицкое
|
199
|
6,2
|
2660
|
|
237
|
3,0
|
1770
|
|
238
|
6,2
|
2420
|
|
253
|
11,2
|
3850
|
|
Ю. Тишковское
|
36
|
9,8
|
3260
|
|
40
|
8,4
|
3870
|
|
ИТОГО
|
7 скважин
|
|
20430 тонн
|
Список перспективных скважин выбран после проведения «Довел
Шлюмберже» анализа исходной геолого-промысловой информации, представленной
институтом БелНИПИнефть, по 59 скважинам 9 месторождений ПО Белоруснефть.
Перечень скважин, по которым проводился анализ, приведен в таблице 3.1.4.
Таблица 3.1.4. Фонд скважин, включенных в анализ для оценки
перспектив ГРП
|
№ пп
|
Месторождение
|
Горизонт
|
Кол-во скв-н
|
Номера скважин
|
|
1
|
Мармовичское
|
zd, II блок
|
2
|
72, 76
|
|
2
|
Вишанское
|
ln
|
4
|
108, 109, 118,
201
|
|
3
|
Речицкое
|
ln
|
5
|
161, 199, 237,
238, 253
|
|
4
|
Борщевское
|
sm
|
3
|
4, 6, 11
|
|
5
|
Ю. Тишковское
|
zd
|
7
|
42, 43, 48, 49,
36, 40, 41
|
|
6
|
Березинское
|
zd
|
8
|
3,11, 124, 125,
126, 127, 140, 143
|
|
7
|
Сосновское
|
zd
|
7
|
36, 39, 54, 60,
66, 67, 68
|
|
8
|
Славаньское
|
zd
|
13
|
62, 63, 69, 71,
91, 97, 101, 8 9, 90, 73, 74, 80, 81
|
|
9
|
Барсуковское
|
ln
|
10
|
61, 80, 81, 82,
83, 88, 89, 90, 91, 92
|
|
ИТОГО
|
|
59
|
|
Из сопоставления данных таблиц 3.1.3 и 3.1.4 видно, что
только около 12% проанализированного фонда скважин могут быть перспективными
для внедрения ГРП.
Проработка стоимости комплекта оборудования для
гидравлического разрыва пласта, которое могла бы поставить фирма «Стюарт и
Стивенсон» на шасси «Кенворт» или «Мерседес» с комплектом реагентов для
проведения 40 скважино-операций по ГРП показало, что она может составить от 4,7
до 6,2 млн. долларов США. После уплаты налогов и регистрации автотранспорта в
ГАИ затраты по закупке оборудования возрастают и могут составить более 7 млн.
долларов США.
В связи с тем, что число перспективных объектов для ГРП
оказалось небольшим и, учитывая отсутствие опыта работ в этом направлении на
нефтяных месторождениях ПО Белоруснефть, было принято решение провести от 5 до
10 скважино-операций по разрыву с привлечением зарубежных специалистов и
оборудования. Более подробная информация о проработке перспектив внедрения ГРП
на нефтяных месторождениях ПО Белоруснефть приведена в работе.
3.3 Технологическая схема выполнения ГРП
Работы по гидравлическому разрыву пласта на скважинах 72, 76
Мармовичского, 238, 250 Речицкого и 115 Вишанского месторождений фирмой «Довелл
Шлюмберже» выполнялись с 26 августа по 15 сентября 1996 года.
При проведении мини-разрыва на скважине 238-Речицкая
намечалось закачать 70 куб. м жидкости разрыва и 2 тонны пропанта, а при
основном разрыве - 110 куб. м жидкости разрыва и 42 тонны пропанта.
Описание процесса ГРП на скв. 238 Речицкого
месторождения (26.08.97 г.)
Скв. 238-Речицкая введена в эксплуатацию в сентябре 1993 г.,
продуктивный горизонт - ланский песчаник. До ГРП дебит скважины составлял 6,7 м3/сут.
Зенитный угол в интервале перфорации составляет 13°. Перфорация пласта
выполнена в четырех интервалах. Сведения о конструкции обсадной колонны и
данные о перфорации приведены в таблице 3.3.1.
Таблица 3.3.1. Сведения о перфорации по скв. 238 Речицкого месторождения
|
Конструкция
обсадной колонны
|
|
Наружный диаметр, мм
|
Вес, кг/м
|
Внутренний диаметр, мм
|
Глубина, м
|
|
140,0
|
29,8
|
119,0
|
2693,0
|
|
Данные о
перфорации
|
|
Глубнна, верх
(по каротажу), м
|
Глубина, верх
((по вертикали), м
|
Глубина, низ
(по каротажу), м
|
Глубина, низ
(по вертикали), м
|
Плотность пе
перфорации, отв./пог. м.
|
Суммарное
количество о отверстий
|
Диаметр отв., мм
|
|
2648,0
|
2608,8
|
2650,0
|
2610,7
|
25,00
|
50
|
10,0
|
|
2653,0
|
2613,6
|
2657,0
|
2617,5
|
25,00
|
100
|
10,0
|
|
2661,0
|
2621,4
|
2665,0
|
2625,3
|
25,00
|
100
|
10,0
|
|
2669,0
|
2629,2
|
2672,4
|
2632,5
|
25,00
|
85
|
10,0
|
|
|
|
|
|
|
|
|
|
|
Процессы мини-разрыва и основного разрыва проводились в один
день. Процесс мини-разрыва проводился в три этапа.
Первый этап: нагнетание жидкости разрыва в пласт для
определения давления разрыва. Он проводился при расходе жидкости разрыва 3,0 -
3,14 куб. м/мин. При давлении 53,5 МПа получили разрыв пласта. Затем закачку
остановили и в течение 15 минут проследили характер падения давления.
Второй этап: нагнетание жидкости разрыва в полученную трещину
для получения графика зависимости давления нагнетания от скорости прокачки. На
этом этапе при максимальном расходе жидкости разрыва равном 2,85 - 2,97 куб.
м/мин. в течение двух минут давление закачки составляло 47,4 - 48,0 МПа, а
затем по мере снижения расхода до нуля снизилось до 17,3 МПа.
Третий этап: тест на закачку пропанта в трещину. Тест
проводился при интенсивности закачки жидкости разрыва в 3,1 - 3,2 куб. м/мин. В
начале закачки давление составляло 47,0 МПа. Затем снизилось до 40,6 МПа. При
закачке двух порций жидкости разрыва с пропантом давление на устье поднималось
до 46,0 - 46,5 МПа.

Рисунок 3.1. График мини-разрыва на скв. 238 Речицкого
месторождения
Присутствуют признаки наличия извилистых путей в
околоствольной зоне. Анализ мини-разрыва показал, что призабойная зона пласта
характеризуется множественностью трещин и наличием извилистости путей
фильтрации. Последний фактор весьма отрицательно влияет на процесс закачки
пропанта в трещину. Моделирование процесса основного ГРП на ПЭВМ показало, что
пласт примет не более 20 т пропанта.
Закачку жидкости разрыва начали при расходах 2,8-3,1 куб.
м/мин. При этом устьевое давление поднялось до 46,2 МПа, а затем постепенно
начало снижаться. После закачки в пласт с указанной выше производительностью 32
куб. м жидкости разрыва, давление снизилось до 39,2 МПа. В этот момент в
жидкость разрыва начали добавлять пропант с концентрацией 240 г./л. Постепенно
концентрацию пропанта увеличили до 560 г./л. Как только жидкость разрыва с
пропантом начала поступать в пласт начался рост устьевого давления, которое
через 10 минут закачки резко поднялось до 63,4 МПа. Так как НКТ были
опрессованы на 60 МПа, то пришлось срочно прекратить закачку и остановить
процесс ГРП. В НКТ осталось около 3 куб. м
жидкости разрыва с пропантом. Поэтому для предотвращения
возможности прихвата НКТ срочно сбросили давление, сорвали пакер и обратной
промывкой вымыли пропант.
Всего в пласт в скважину 238-Речицкая закачали:
при мини-разрыве - 84 куб. м разрыва и 3,3 т пропанта;
при основном разрыве - 70 куб. м жидкости разрыва и 16,4 т
пропанта.

Рисунок 3.2. График основного гидроразрыва на скв. 238
Речицкого месторождения
Описание процесса ГРП на скважине 250 Речицкого
месторождения
При проведении процесса мини-разрыва на скважине 250
планировалось закачать 70 куб. м жидкости разрыва и 2 т пропанта. В процессе
основного разрыва планировалось закачать 120 куб. м жидкости разрыва и 37 т
пропанта.
Процесс мини-разрыва, также как и на скважине 238, проводился
в три этапа. Его проводили 01.09.97 г.
На первом этапе при производительности жидкости разрыва
3,05-3,16 куб. м/мин. получили давление разрыва равное 57,6 МПа.
Таблица 3.3.2. Сведения о перфорации по скв. 250 Речнцкого
месторождения
|
Конструкция
обсадной колонны
|
|
Наружный
диаметр, мм
|
Вес, кг/м
|
Внутренний
диаметр, мм
|
Глубина, м
|
|
168,1
|
25,3
|
155,8
|
1108,0
|
|
140,0
|
29,8
|
119,0
|
2588,0
|
|
Данные о
перфорации
|
|
Верх глубина по
каротажу, м
|
Верх глубина по
в вертикали, м
|
Низ г глубина
по р каротажу, м
|
Низ глубина по
в вертикали, м
|
Плотность
прострела выстрел/м
|
Суммарное кол-во
о отверстий
|
Диаметр отв., мм
|
|
2563,0
|
2402,0
|
2573,0
|
2410,9
|
4,50
|
41
|
10,0
|
|
|
|
|
|
|
|
|
|
|
На втором этапе получили зависимость давления нагнетания
жидкости разрыва от производительности закачки.
На третьем этапе при проведении теста на закачку пропанта
после поступления в пласт первой порции пропанта с концентрацией 240 г./л
давление резко поднялось до 69,1 МПа. В результате проведение операции пришлось
прекратить. Было принято решение промыть скважину, провести гидропескоструйную
перфорацию пласта, а затем провести основной разрыв.
Основной разрыв проводился 15.09.97 г.
График мини-разрыва представлен на рисунке 3.3.

Рисунок 3.3. График мини-разрыва на скв. 250 Речнцкого
месторождения
В процессе основного разрыва, спланированного по результатам
мини-разрыва, предполагалось закачать 196 куб. м жидкости разрыва и 30,35 т
пропанта. Закачку пропанта предполагалось проводить порциями, постепенно
увеличивая его концентрацию.
После начала закачки в пласт жидкости разрыва с
производительностью 3 куб. м/мин. давление достигло 61,2 МПа. При этом давлении
был получен разрыв пласта. После этого давление закачки начало снижаться до
57,3 МПа. При этом в пласт закачали 80 куб. м жидкости разрыва: из них 22 куб. м
чистой жидкости разрыва и 58 куб. м - жидкости разрыва с пропантом,
концентрация которого постепенно увеличивалась от 30 до 240 г./л. Затем
увеличили концентрацию пропанта в жидкости разрыва до 360 г./л. Давление начало
подниматься до 59-60 МПа. После увеличения концентрации пропанта до 480 г./л
давление поднялось до 63-64 МПа, а затем резко выросло до 70-71 МПа. Операцию
вынуждены были прекратить.
Всего в скважину 250-Речицкая в пласт закачали:
в процессе мини-разрыва - 59 куб. м жидкости разрыва и 1,57 т
пропанта;
в процессе основного разрыва - 138,5 куб. м жидкости разрыва
и 14,3 т пропанта.
График основного разрыва представлен на рисунке 3.4.
Рисунок 3.4. График основного гидроразрыва на скв. 250 Речицкого
месторождения
Гидрокислотный разрыв пласта
Гидрокислотный разрыв пласта осуществлялся путем поочередной
закачки порций жидкости разрыва и кислоты. Первой закачивалась жидкость разрыва
объемом 40-70 куб. м и создавалась трещина. Затем закачивалась порция кислоты
объемом 24-26 куб. м для выщелачивания стенок трещины. Кислота продавливалась
вглубь трещины 30-40 куб. м жидкости разрыва. Затем закачивалась вторая порция
кислоты и т.д.
Описание процесса ГРП на скважине 72 Мармовичского месторождения
Скв. Мармовичская-72 была закончена строительством в ноябре 1987
года и введена в эксплуатацию в мае 1988 г. Начальное пластовое давление в
продуктивном задонском горизонте было 22 МПа, дебит 2 м3
безводной нефти. Коэффициент продуктивности по расчету составлял 0,123 м3/сут•МПа.
Задонский горизонт представляет собой естественно трещиноватый, доломитовый
резервуар, в котором часть трещин заполнена глинистым материалом. Ранее в
скважине проводились кислотные обработки, в результате которых был получен
отрицательный скин-эффект в околоствольной зоне. Сведения об интервале
перфорации приведены в таблице 3.3.3
Операция проводилась 03.09.97 г.
На этой скважине планировалось закачать в пласт 140 куб. м
жидкости разрыва и 60 куб. м выщелачивающего агента - 28% соляной кислоты.
Закачали 78 куб. м 15% соляной кислоты и 132,9 куб. м жидкости разрыва.
Интенсивность закачки составляла 2,5-2,8 куб. м/мин., начальное давление на
устье - 58,5 МПа. В процессе закачки первой порции жидкости разрыва, равной 40
куб. м, давление держалось на этом уровне. Затем при закачке 26 куб. м 15%
соляной кислоты оно упало до 52 МПа и в дальнейшем поднялось до 57,5 МПа.
После остановки закачки давление упало до 35 МПа и за 30 минут
снизилось 34,2 МПа, а затем за последующие 12 часов - до 32 МПа.
График гидрокислотного разрыва представлен на рисунке 3.5.
Рисунок 3.5. График гидрокислотного разрыва на скв. 72
Мармовичского месторождения
Таблица 3.3.3. Сведения о перфорации по скв. 72
Мармовического месторождения.
|
Конструкция
обсадной колонны
|
|
Наружный
диаметр, мм
|
Вес, кг/м
|
Глубина, м
|
|
139,7
|
29,8
|
121,4
|
2944,0
|
|
Данные о
перфорации
|
|
Глубина, Вер
(по каротажу), м
|
Глубина, Верх
(по вертикали), м
|
Глубина, Низ
(по каротажу), м
|
Глубина Низ (по
вертик.), м
|
Плотность ерфо
перфорации, отв./пог. м.
|
Суммар. кол-во
тверо отверстий
|
Диаметр отв, мм
|
|
2910,0
|
2872,9
|
2912,0
|
2974,9
|
24,0
|
48
|
8,1
|
|
2915,0
|
2877,9
|
2916,0
|
2878,9
|
24,0
|
24
|
8,1
|
|
2920,0
|
2882,8
|
2933,0
|
2895,7
|
24,0
|
312
|
8,1
|
|
|
|
|
|
|
|
|
|
|
Описание процесса ГРП на скважине 76
Мармовичского месторождения
Скв. 76-Мармовичская была освоена в июне 1986 г. и введена в
добычу в октябре 1986 г. Начальное пластовое давление составляло 22 МПа.
(продуктивный горизонт - задонский), дебит - 0,12 м3 безводной
нефти. Коэффициент продуктивности по расчету составлял 0,432 м3/сут•МПа.
Мощность задонского горизонта в скв. 76-Мармовичская составляет 231 м,
эффективная толщина - 17 м. Ранее были выполнены кислотные обработки пласта, в
результате которых был получен отрицательный скин-эффект в околоствольной зоне.
В таблице 3.3.4. приведены данные об интервале перфорации.
Таблица 3.3.4. Сведения о перфорации по скв. 76
Мармовического месторождения.
|
Конструкция
обсадной колонны
|
|
Наружный
диаметр, мм
|
Вес, кг/м
|
Внутренний
диаметр, мм
|
Глубина, м
|
|
139,7
|
29,8
|
121,4
|
2939,0
|
|
Данные о
перфорации
|
|
Глубина, верх
(по каротажу), м
|
Глубина, верх
(по вертикали), м
|
Глубина, низ
(по каротажу), м
|
Глубина, низ
(по вертикали), м
|
Плотность
перфорации, отв./пог. м.
|
Суммарное
количество отверстий
|
Диаметр отв., мм
|
|
2809,0
|
2790,8
|
2861
|
2842,5
|
24,0
|
1248
|
8,0
|
|
2891,0
|
2872,3
|
2918
|
2899,1
|
24,0
|
648
|
8,0
|
|
|
|
|
|
|
|
|
|
|
Операция проводилась 07.09.97 г.
Планировалось закачать в пласт 209 куб. м жидкости разрыва и
100 куб. м 28% соляной кислоты.
Фактически закачали 108 куб. м 15% соляной кислоты и 173 куб.
м жидкости разрыва.
Закачку начали с расходом жидкости разрыва 2,5 куб. м/мин.
Давление поднялось до 55 МПа, а затем снизилось до 43,4 МПа и постепенно начало
подниматься до 51,1 МПа. Последнее давление было получено при закачке в пласт
70 куб. м жидкости разрыва. После закачки 24 куб. м 15% соляной кислоты
давление снизилось до 44,6 МПа. В связи с низким давлением закачки расход
увеличили до 3 куб. м/мин. При этом при закачке порций жидкости разрыва
давление поднималось до 57-59 МПа. При закачке порций кислоты давление
снижалось до 51-52 МПа. При закачке 4 порции жидкости разрыва наблюдался
вторичный процесс разрыва, при котором давление снизилось с 60,3 МПа до 54,6
МПа. Конечное давление закачки составило 59,1 МПа. После остановки закачки
давление упало до 29 МПа. Затем за 30 минут ожидания - до 24 МПа и за
последующие 12 часов - до 12 МПа.
График гидрокислотного разрыва представлен на рисунке 3.6.
Рисунок 3.6. График гидрокислотного разрыва на скв. 76
Мармовичского месторождения
Описание процесса ГРП на скважине 115 Вишанского
месторождения
Скв. 115-Вишанская была освоена в ноябре 1993 г. Добыча
начата в сентябре 1994 г. фонтанным способом, продуктивные горизонты -
воронежский и задонский. В последствии переведена на добычу только с задонского
горизонта.
Добыча нефти из задонского горизонта до проведения
гидрокислотного разрыва составляла 2 м3/сут. через 6 мм штуцер
при пластовом давлении 27,5 МПа. Ввиду высокого пластового давления скважина
является кандидатом для высокой эффективности операции ГРП. Доломитовый
резервуар относительно однородный без расчленения на отдельные пропластки, за
исключением нескольких глинистых пропластков выше интервала перфорации.
Операция кислотного разрыва в скв. 115-Вишанской осложнялась
наличием близости интервала перфорации водонасыщенной части, находящейся в 57 м
ниже нижних дыр перфорации. Поэтому кислотная обработка спроектирована по
радиальной модели с максимальной половиной длины трещины, которая должна
составить примерно 30 м. В таблице 3.3.5. приведены данные об интервале
перфорации.
Таблица 3.3.5. Сведения о перфорации по скв. 115 Вишанского месторождения
|
Конструкция
обсадной колонны
|
|
Наружный
диаметр, мм
|
Вес, кг/м
|
Внутренний
диаметр, мм
|
Глубина, м
|
|
193,7
|
58,0
|
168,0
|
2300,0
|
|
152,4
|
22,3
|
140,0
|
2620,0
|
|
Данные о
перфорации
|
|
Верх глубина по
каротажу, м
|
Верх глубина по
вертикали, М
|
Низ глубина по
каротажу, м
|
Низ глубина по
в вертикали, м
|
Плотность
прострела выстрел/м
|
Суммарное к
количество о отверстий
|
Диаметр отв., мм
|
|
2510,0
|
2473,1
|
2537,1
|
2498,9
|
18,0
|
486
|
8,0
|
|
|
|
|
|
|
|
|
|
|
Процесс гидроразрыва проводили 11.09.97 г.
В пласт планировали закачать 140 куб. м жидкости разрыва и 70
куб. м 28% раствора соляной кислоты. Фактически закачали 72 куб. м 15% соляной
кислоты и 130 куб. м жидкости разрыва.
Интенсивность закачки на протяжении всего процесса составляла
2,5 куб. м/мин. Давление разрыва пласта составило 57,9 МПа и затем снизилось до
50-50,1 МПа. При закачке порций кислоты оно снижалось до 41-41,2 МПа. В
процессе закачки второй и третьей порции жидкости разрыва наблюдались второй и
третий разрыв пласта. При этом давление закачки снижалось на 5-8 МПа. Конечное
давление закачки составило 51,2 МПа. После прекращения закачки оно снизилось до
25,8 МПа, а затем за последующие 20 минут - до 23,6 МПа.
График гидрокислотного разрыва представлен на рисунке 3.7.
Рисунок 3.7. График гидрокислотного разрыва на скв. 115
Вишанского месторождения
3.4 Результаты ГРП
По оценке специалистов фирмы Шлюмберже в результате ГРП
получены следующие характеристики созданной трещины.
. На скважине 238 - Речицкая (ланский горизонт):
половина длины трещины - 61,7 м;
высота трещины в конце прокачки жидкости разрыва - 32,1 м;
средняя ширина трещины - 1,3 мм;
средняя проводимость - 782 мД*м.
. На скважине 250-Речицкая (воронежский горизонт):
половина длины трещины - 60,9 м;
высота трещины - 44,2 м;
средняя раскрытость трещины - 1,6 мм;
средняя проводимость трещины - 654 мД*м.
. На скважине 72-Мармовичская (задонский горизонт):
половина длины выщелоченной трещины - 16,7 м;
средняя раскрытость выщелоченной трещины - 2,1 мм;
средняя проводимость - 695 мД*м.
. На скважине 76-Мармовичская (задонский горизонт):
половина длины выщелоченной трещины - 13,1 м;
средняя раскрытость трещины - 2,1 мм;
средняя проводимость - 3540 мД*м.
. На скважине 115-Вишанская (задонский горизонт):
половина длины выщелоченной трещины - 31,9 м;
средняя раскрытость трещины - 0,8 мм;
средняя проводимость трещины - 5952 мД*м.
На скважине 72-Мармовичская после ГРП проведены
гидродинамические исследования пласта. Сопоставление результатов исследований
до ГРП и после показывают, что потенциальный коэффициент продуктивности вырос
от 0,013 куб. м/сут.*МПа до 0,022 куб. м/сут.*МПа, гидропроводность пласта - от
0,023 до 0,043 кв. мм*см/мПа*с (рис. 5.2).
.5 Анализ технологии проведения ГРП
Анализируя вышеизложенный материал, а так же графики
ГРП (рис. 3.1. - 3.7.), можно сделать вывод о несколько неточном планировании
процессов гидроразрыва.
По скв. 238 Речицкого месторождения основной разрыв был
проведен без корректировки технологии. Это привело к невозможности закачать в
пласт запланированное количество пропанта, в связи с резким ростом давления в
линии нагнетания.
В скв. 250 Речицкого месторождения, несмотря на проведенную
перед операцией основного разрыва гидропескоструйную перфорацию, так же не было
закачено запланированное количество пропанта.
При проведении гидрокислотных разрывов на скв. 72,76
Мармовичского месторождения и скв. 115 Вишанского месторождения, вместо
запланированной соляной кислоты с концентрацией 28%, в качестве выщелачивающего
агента была закачана 15%-ая соляная кислота. В результате, на этих скважинах
отмечался вторичный процесс трещинообразования, т.е. вместо запланированного
однократного гидроразрыва был произведен многократный гидроразрыв.
Результатом несоответствия фактического хода процесса ГРП
проектной технологии может быть несовпадение характеристик созданных трещин их
геометрическим моделям, созданным специалистами фирмы Шлюмберже. И, как
следствие - отличие действительных показателей работы скважин после ГРП от прогнозных.
4. Анализ эффективности процессов ГРП
.1 Оценка технологической эффективности операций
ГРП, проведённых на месторождениях ПО «Белоруснефть»
При планировании технологических режимов выполнения ГРП фирма
«Довелл Шлюмберже» не выполнила прогноза добывных возможностей скважин после
ГРП.
В связи с этим, институтом БелНИПИнефть предпринята первая
попытка сделать прогноз эффективности ГРП, попытка спрогнозировать возможные
дебиты скважин после ГРП.
Поскольку расчетной схемы для прогнозирования дебитов для
коллекторов нефтяных месторождений не имелось, то при расчете были приняты
следующие положения:
в основу расчета принят текущий дебит скважины как базовый и
текущие фильтрационные свойства пласта;
после ГРП при работе скважины будет задана та же депрессия на
пласт, что и до ГРП;
в результате ГРП произойдет изменение приведенного радиуса
скважины.
Тогда дебит после ГРП будет равен
где Qгрп - дебит скважины после ГРП, куб. м/сут.;m - текущий дебит скважины до ГРП, куб.
м/сут.;k - радиус контура питания, м;
rс.пр1 - приведенный радиус скважины до ГРП, м;
гc.пр1 - приведенный радиус скважины после ГРП, м.
Приведенный радиус скважины до ГРП определяли по результатам
гидродинамических исследований. Приведенный радиус после ГРП рассчитывали из
выражения Хавкинса
где S - скин-фактор, ед.;
г с пр - приведенный радиус зоны вокруг скважины с
измененной повышенной проницаемостью, м;
rс - радиус
скважины в метрах;
kпл -
проницаемость пласта, мкм2;
kз -
проницаемость зоны вокруг скважины, мкм2;
Преобразовывая последнее выражение, получим:
Учитывая. что проницаемость пласта после ГРП, как правило,
намного меньше проницаемости прискважинной зоны (проницаемость пласта равна
единицам миллидарси, а проницаемость прискважинной зоны - десяткам дарси),
принимаем k пл = 0. Тогда
Принимаем, что после ГРП показатель скин-эффекта становится
равным минус четырем. Тогда приведенный радиус будет равен 5,5 м.
В соответствии с изложенными соображениями был проведен
расчет прогнозных дебитов после ГРП, который приведен в табл. 5.7. Для
сравнения в табл. 5.8 приведены дебиты и дополнительная добыча, которую можно
было бы получить при оптимизации работы скважин без ГРП, а также фактические
дебиты, с которыми скважины, по которым провели ГРП, работали в ноябре 1997 г.
Как видно из табл. 5.8 расчетные дебиты близки к фактическим.
Так, по скважине 238-Речицкая прогнозный дебит жидкости равен 21,7 куб. м/сут.,
фактический - 15,2 куб. м/сут.; по скважине 250-Речицкая - прогнозный дебит 1,3
куб. м/сут., фактический - 1,6 куб. м/сут.; по скважине 72-Мармовичская -
прогнозный дебит 4,0 куб. м/сут., фактический - 1,1 куб. м/сут,; по скважине
76-Мармовичская - прогнозный дебит 6 куб. м/сут., фактический - 7 куб. м/сут.;
по скважине 115-Вишанская - прогнозный дебит 10,3 куб. м/сут., фактический -
15,8 куб. м/сут. Следует отметить, что прирост дебитов после ГРП получен в
2,5-3,4 раза по тем скважинам (238-Речицкая, 115-Вишанская), по которым до ГРП
наблюдались повышенные (положительные) значения скин-эффекта (табл. 5.7), т.е.
по тем скважинам, у которых фильтрационные свойства пласта в околоствольной
зоне были снижены (238-Речицкая) или близки к фильтрационным свойствам пласта
(скв. 115-Вишанская).
Анализируя показатели работы скважин после ГРП и сравнивая их
с показателями, которые можно было бы получить при оптимизации работы насосного
оборудования, следует отметить, что за счет оптимизации можно было бы получить
дополнительную добычу нефти по объему равную или даже больше той, которую
запланировали получить после ГРП.
В таблице 5.9 приведены показатели эксплуатации скважин после
ГРП. Как видно из этой таблицы, существенный эффект в виде дополнительной
добычи нефти наблюдается по скважинам 238-Речицкая - 634 тонны и 115-Вишанская
- 882 тонны. По скважинам 250-Речицкая и 76-Мармовичская объемы дополнительной
добычи нефти незначительны (63 и 110 тонн соответственно). По скважине
72-Мармовичская после ГРП вообще наблюдается снижение дебита как по нефти, так
и по жидкости. Суммарная дополнительная добыча нефти от операций по ГРП на
01.12.97 г. составила 1689 тонн. Успешность работ по ГРП составила 80%.
В заключение следует отметить, что целесообразность планирования
и проведения ГРП следует определять после проведения на скважинах детальных
гидродинамических исследований и оценки состояния околоствольной зоны. На
скважинах, где показатель скин-эффекта отрицательный, ГРП планировать вообще не
следует. Как правило, это скважины, эксплуатирующие карбонатные пласты, на
которых при интенсификации притока проводили по несколько кислотных обработок.
4.2 Оценка экономической эффективности процессов
по гидравлическому разрыву пласта по состоянию на 01.01.2003 года
В августе-сентябре 1997 года проведено 5 скважино-операций по
гидравлическому разрыву пласта. На скважинах 238 и 250 Речицкого месторождения
проведен гидроразрыв пласта с закачкой в трещину расклинивающего проппанта. На
скважинах 72 и 76 Мармовичского месторождения и 115 Вишанского месторождения
проведен гидрокислотный разрыв.
На графиках приведена динамика работы скважин до и после ГРП,
а таже динамика окупаемости затрат по годам. В таблице 4.2.1 приведены
технико-экономические показатели эффективности операций ГРП.
Из таблицы 4.2.1. и графиков 4.1-5. следует, что по состоянию
на 01.01.2003 г. эффект прекратился по всем скважинам. По скважине 72
Мармовичского месторождения превышение дебита над базовым незначительное, и
получено за счет нескольких смен насосов и режимов их работы. Скважина 76
Мармовичского месторождения отработала с эффектом 2 месяца и с 01.02.97 г.
переведена под нагнетание. По скважине 238 Речицкого месторождения эффект
прекратился с июля месяца 1998 г. После ремонта, связанного с обследованием
колонны вновь появилось небольшое превышение текущего дебита над базовым,
которое уже нельзя отнести к ГРП. Скважина 250 Речицкого месторождения
переведена с декабра 1998 г. под нагнетание.
На 01.01.2003 г. получена дополнительная добыча нефти в
объеме 18642 тонны. За весь период эффекта средний прирост дебита составил 5,63
т/сут.
Следует отметить, что на скважине 115-Вишанская наряду с
увеличением продуктивности за счет ГРП произошло существенное увеличение
депрессии за счет перевода скважины на мехдобычу. Это означает, что часть
дополнительной добычи по этой скважине получена за счет оптимизации ее работы.
По КВД от 20-21.05.97 г. (до ГРП) коэффициент продуктивности
скважины К1=0,75 т/(сут*МПа), при базовом дебите 2,5 т/сут депрессия
на пласт составляла dР1=3,33 МПа.
По КВУ от 6-9.10.97 г. (после ГРП) коэффициент продуктивности
скважины К2=1,93 т/(сут*МПа). По среднему значению разности
статического и динамического уровней средняя депрессия на пласт за весь период
после ГРП составила dР2=10,2 МПа. Исследования режима работы
скважины по диаграмме записанной системой СКАД от 3.11.98 г. показали, что
коэффициент продуктивности скважины на этот момент по крайней мере не
уменьшился. Поэтому отношение прироста дебита, который можно было бы получить
только за счет увеличения депрессии к приросту дебита только за счет увеличения
коэффициента продуктивности.
Таким образом, доля прироста дебита по скважине 115-Вишанская
за счет оптимизации режима работы составляет В / (1 + В) = 0,57, а доля
прироста дебита за счет увеличения коэффициента продуктивности - 1 / (1 + В) =
0,43. Дополнительную добычу нефти 16251 тонны по состоянию на 01.09.2002 г.
(эффект прекратился) по этой скважине можно приблизительно разделить следующим
образом: 6988 т - за счет увеличения коэффициента продуктивности и 9263 т - за
счет оптимизации режима работы.
По скважине 238-Речицкая наряду с ГРП также выполнена
оптимизация режима работы насосного оборудования. Поэтому по этой скважине
также следует разделить дополнительную добычу нефти в соответствии с приростом
коэффициента продуктивности и приростом депрессии.
По КВД от 25.09.96 г. (до ГРП) пластовое давление на глубине
замера 2594 м составляло 15,5 МПа. Средний динамический уровень до ГРП
составлял 960 м, что соответствует забойному давлению в 13.1 МПа. Депрессия на
пласт dР1=15,5-13.1=2,4 МПа, что при базовом дебите q1=4,81
т/сут. дает коэффициент продуктивности К1=2,0 т/(сут*МПа).
После ГРП средняя разность динамического и статического
уровня составила 350 м, что соответствует средней депрессии 2,8 МПа. Средний
прирост депрессии после ГРП составил dР2=2,8-2,4=0,4 МПа. Средний
дебит нефти (при нулевой обводнености) составил после ГРП q2=11,7 т,
откуда коэффициент продуктивности К2=4,18 т/(сут*МПа).
Таким образом доля прироста дебита по скважине 238-Речицкая
за счет оптимизации режима работы составляет В / (1 + В) = 0,47, а доля
прироста дебита за счет увеличения коэффициента продуктивности 1/(1+В) = 0,53.
Дополнительная добыча нефти 1343 тонн по состоянию на 01.04.1998 г. (эффект
прекратился) разделится следующим образом: 712 т - за счет увеличения
коэффициента продуктивности, 631 т - за счет оптимизации режима работы.
По скважине 250-Речицкая наряду с ГРП также выполнена
оптимизация режима работы насосного оборудования.
По КВД от 15.05.97 г. (до ГРП) пластовое давление на скважине
250-Речицкая на глубине замера 2517 м составляло 11,5 МПа. Средний динамический
уровень до ГРП составлял 1600 м, что соответствует забойному давлению в 7,34
МПа. Депрессия на пласт dР1=11,5-7.34=4,16 МПа, что при базовом
дебите q1=0,71 т/сут. дает коэффициент продуктивности К1=0,17
т/(сут*МПа).
После ГРП средний динамический уровень составил 1680 м, что
соответствует приросту депрессии по сравнению с приростом до ГРП 0,64 МПа.
Средняя депрессия после ГРП составляет dР2=4,16+0,64=4,8 МПа.
Средний дебит нефти после ГРП по октябрь 1998 г. составил q2=1,97
т/сут, откуда коэффициент продуктивности К2=0,41 т/(сут*МПа).
Доля прироста дебита на скважине по скважине 250-Речицкая за
счет оптимизации режима работы составляла В / (1 + В) = 0,10 а доля прироста
дебита за счет увеличения коэффициента продуктивности 1/(1+В) = 0,9.
Дополнительная добыча нефти 468 тонны по состоянию на 01.10.98 г. разделится
следующим образом: 421 т - за счет увеличения коэффициента продуктивности, 47 т
- за счет оптимизации режима работы.
Таким образом, дополнительная добыча нефти, полученная после
ГРП, обусловлена как увеличением коэффициента продуктивности в 2,57 раза по
скважине 115-Вишанская, в 2,09 раза - по скважине 238-Речицкая, в 2,4 раза - по
скважине 250-Речицкая за счет ГРП, так и оптимизацией работы насосного
оборудования. По скважинам 72 и 76 Мармовичского месторождения дополнительная
добыча условно отнесена к полученной за счет увеличения коэффициента
продуктивности, т.к. при определении долевых коэффициентов по этим скважинам
частично отсутствовала необходимая информация.
Таким образом за счет увеличения коэффициента продуктивности
дополнительная добыча нефти составила 8701 т, а за счет оптимизации - 9941 т.
Затраты на проведение 5-ти скважино-операций ГРП составили
около 1 200 000 $ США. Средняя чистая прибыль на 1 тонну дололнительно добытой
нефти за период 1997-2002 год составила 40,6 $ США. Прибыль от реализации всей
дополнительно добытой нефти составила 756877 $ США или 63,1% от затрат. Прибыль
от реализации дополнительно добытой нефти за счет увеличения коэффициента
продуктивности (непосредственно от ГРП) составила 353261 $ США или 29,4% от
затрат.
В среднем на одну выполненную скважино-операцию по ГРП на
01.01.2003 г. дополнительная добыча нефти за счет этой операции составила 3728
тонн, в том числе:
·
1740
тонн за счет собственно ГРП;
·
1647
тонн за счет оптимизации работы насосного оборудования.
Приведенный анализ показывает, что эффективность выполненных
ГРП низка и находится на уровне обыкновенных ОПЗ. Средняя дополнительная добыча
нефти с учетом эффекта по скважинам, на которых ОПЗ проведены в 1997 г.
составила 2113 тонны, по скважинам 1998 г. - 2037 тонн на одну выполненную
обработку. В то же время затраты на проведение ОПЗ кратно ниже затрат на ГРП.
Таблица 4.2.1.
5. Проведение
гидравлического разрыва пласта на Малодушинском месторождении
.1 Выбор скважин для гидравлического разрыва
пласта
При выборе скважин для гидравлического разрыва пласта
руководствуются прежде всего гидродинамическими характеристиками пласта,
призабойной зоны и скважины. При этом в случае многопластового объекта
разработки параметры определяются для каждого пласта или пропластка, вскрытого
скважиной, в отдельности посредством ее исследований методом установившихся
отборов и проведения замеров профилей притока или закачки на каждом режиме.
Для гидроразрыва предпочтительны слабопроницаемые
сцементированные, крепкие породы, т.е. гидроразрыву в первую очередь следует
подвергать скважины, в которых породы пластов при опробывании или эксплуатации
не разрушаются и в которых ненаблюдаются песчаные пробки.
Рекомендуется избегать разрывов в глинистых зонах, хотя
наличие глинистых линз не может существенно влиять на результат этого процесса.
Отмечается закономерность изменения результатов гидроразрыва
от степени выработанности горизонтов и по месторождениям в целом. Лучшие
результаты гидроразрывов в добывающих скважинах наблюдаются по пластам с
высоким давлением, меньшей степенью дренированности и более высокой нефтенасыщенности.
По горизонтам, которые разрабатываются с поддержанием
пластового давления, эффективность гидравлического разрыва оказывается выше,
чем по тем, которые эксплуатируются без поддержания пластового давления. Вместе
с тем гидравлический разрыв нецелесообразно проводить в добывающих скважинах,
расположенных вблизи очагов или линии нагнетания, а также водонефтяного
контура, так как при этом может произойти резкое увеличение притока воды и
уменьшение притока нефти.
Гидравлический разрыв может планироваться по скважинам,
работающим с высоким газовым фактором, с целью его снижения. Уменьшение
газового фактора вследствие гидравлического разрыва достигается в скважинах,
имеющих небольшую разгазированную область вокруг забоя, т.е. снижение высокого
газового фактора за счет гидроразрыва возможно в тех скважинах, где большой
приток газа не связан с прорывом его из повышенной газонасыщенной части пласта
или прорывом от газонагнетательных скважин. Гидравлический разрыв в последних
двух случаях проводить не следует, так как это может привести к еще большему
увеличению притока газа.
Считается, что разрыв пласта в скважинах с открытым забоем
менее благоприятен, чем в обсаженных и перфорированных скважинах.
Предпочтительная толщина продуктивной части пласта,
подвергаемого разрыву, составляет 2-15 м. В скважинах, вскрывших многоплановые
залежи или пласты толщиной более 15 м, проводят многократные или поинтервальиые
гидроразрывы.
Гидравлический разрыв не рекомендуется осуществлять в
технически неисправных скважинах (с нарушенной фильтровой частью, со сломом или
смятием колонны, при недостаточной высоте подъема цемента или плохом состоянии
цементного кольца за колонной). В скважинах, где в результате разрушения
цементного камня или неудовлетворительной цементировки за колонной возникла
циркуляция жидкости, необходимо провести цементировку для исправления кольца, а
затем уже планировать гидравлический разрыв. В скважинах, имеющих приток
пластовой воды, гидравлический разрыв целесообразно проводить после
предварительной изоляции ее притока.
При выборе скважин для проведения гидравлического разрыва
пласта полезно использовать данные электрокаротажа, анализы кернов, историю
эксплуатации скважины, данные по разрывам пласта на других скважинах одного и
того же месторождения и т.д. Эти данные должны быть тщательно проанализированы.
На малодушинском этом месторождении преобладают карбонатные
пласты, поэтому нам необходимо проводить кислотный гидроразрыв пласта. Для того
чтобы этот процесс был наиболее эффективен, скважина должна быть:
с плотным, непроницаемым коллектором;
отсутствие зон поглащения (при наличии таких зон, они должны
временно блокироваться - многоэтапный ГРП);
малая обводненность, низкий газовый фактор;
толщина глинистых пропластков, отделяющих от газо- и
водоносных пластов не менее 5 м;
вблизи скважины не должно быть очагов прорыва воды.
Перед проведением ГКРП предусматривается щелевая перфорация.
Толщина глинистых пластов, отделяющих от газо- и водоносных
пластов более 5 м, вблизи скважины нет очагов прорыва воды.
Исходя из всего этого, было бы целесообразно произвести
гидрокислотный разрыв пласта на скважине №32 семилукского горизонта.
5.2 Расчет технологических параметров ГРП
Эксплуатационный горизонт - Sm
Глубина - 3766 м.
Плотность пород - 2130 кг/м3
Е модуль упругости - 5,8•105 МПа
Коэффициент Пуассона - 0,3
Плотность жидкости ГРП: Вязкость жидкости ГРП:
. Водонефтяная эмульсия - 930 кг/м3 100 МПа•с
. Нефтекислотная эмульсия - 1090 кг/м3 1 МПа•с
. Вода - 1130 кг/м3 1 МПа•с
Темп закачки жидкости ГРП - 1555 м3/сут и 2160 м3/сут
Диаметр НКТ 73 мм
Эксплуатационная колонна 168х127, переход 2200 м.
Проницаемость пласта - 0.021 мкм2
Производительность агрегата 6,0 и 8,3 л/с
Рабочее забойное давление при ГРП определяется по формуле:
Pгрп.з=1,5•Рст
где: Pст - давление столба жидкости, МПа/м;
Pст=H•rж• g
Н = 3753 - вертикальная глубина до среднего уровня
перфорации, м;
g - ускорение свободного падения, м/с2
rж - плотность технической жидкости, rж =1020 кг/м3;
Pст=3753•1020•9,81=37553268 Па=37,55 МПа;
Тогда по формуле:
Pгрп.з=1,5•37,55=56,3 МПа.
Вертикальная составляющая горного давления
Рг.в=r п•g•L
rп - средневзвешенная плотность разреза, кг/м3
g - ускорение свободного падения, м/с2
L - глубина пласта, м
Рг.в=2130•9,81•3753•10-6=78,4 МПа
Горизонтальная
составляющая горного давления
Рг=Рг.в•n/(1-n)
Рг=78,4•0,3/(1-0,3)=33,6 МПа
Средний объем жидкости разрыва Vр=50 м3
Объем кислотного раствора Vк.р=20 м3
Объем продавочной жидкости
Vп=gтр•Нтр+gк•Нк
Vп=0,0028•3753+0,011•13=10,7 м3
Объем 1 п.м. НКТ=(p•d2/4)•1=(3,14•0,062/4)•1=0,0028
м3
Объем 1 п.м. НКТ=(3,14•(0,14-0,02)2/4)•1=0,011 м3
Ннкт=3753 м
Нэк=3766-3753=13 м
Число
Рейнольдса находим по формуле
Re=4•Q•rж/p•d•mж
Q - темп закачки, м3/с
rж - плотность закачиваемой жидкости, кг/м3
mж - вязкость закачиваемой жидкости, кг/м3
d - диаметр труб, м
Темп закачки жидкости 1555 м3/сут (18 л/с)
Reвнэ=4•18•10-3•930/3,14•0,06•0,1=3554
Reв=4•18•10-3•1130/3,14•0,06•0,001=431847
Reвкэ=4•18•10-3•1090/3,14•0,06•0,001=416560
Темп закачки жидкости 2160 м3/сут (25 л/с)
Reвнэ=4•25•10-3•930/3,140•06•0,1=4936
Reв=4•25•10-3•1130/3,14•0,06•0,001=599788
Reвкэ=4•25•10-3•1090/3,14•0,06•0,001=578556
Коэффициент гидравлического сопротивления
l=0,3164/4ÖRe
При темпе закачки 25 л/с При темпе закачки 18 л/с
l внэ=0,3164/4Ö4936=0,038 l внэ=0,3164/4Ö3554=0,041
lв=0,3164/4Ö599788=0,0114 lв=0,3164/4Ö431847=0,0123
lвкэ=0,3164/4Ö578556=0,0115 lвкэ=0,3164/4Ö416560=0,0124
Потери
давления на трение будут равны:
Ртр=l•16•Q2•L/2•p2•d5
При Q=18 л/с
Ртр.внэ=0,041•16•182•10-6•3753/2•3,142•0,065=17,2
МПа
Ртр.в=0,0123•16•182•10-6•3753/2•3,142•0,065=5,1
МПа
Ртр.вкэ=0,0124•16•182•10-6•3753/2•3,142•0,065=5,2
МПа
При Q=25 л/с
Ртр.внэ=0,038•16•252•10-6•3753/2•3,142•0,065=30,6
МПа
Ртр.в=0,0114•16•252•10-6•3753/2•3,142•0,065=9,2
МПа
Ртр.вкэ=0,0115•16•252•10-6•3753/2•3,142•0,065=9,3
МПа
Давление
на устье скважины
Ру=Ргрп з-rж•g•L+Ртр
При минимальном давлении разрыва Ргрп з=66,9 МПа
При Q=18 л/с
Ру.внэ=66,9-930•9,81•3753•10-6+17,2=49,9
МПа
Ру.в=66,9-1130•9,81•3753•10-6+5,1=30,4
МПа
Ру.вкэ=66,9-1090•9,81•3753•10-6+5,2=32
МПа
При Q=25 л/с
Ру.внэ=66,9-930•9,81•3753•10-6+30,6=63,3
МПа
Ру.в=66,9-1130•9,81•3753•10-6+9,2=34,5
МПа
Ру.вкэ=66,9-1090•9,81•3753•10-6+9,3=36,1
МПа
Время закачки жидкости разрыва находим по формуле:
t=Vp/Q
при Q=18 л/с (1,079 м3/мин) при Q=25 л/с (1,5 м3/мин)
t=50/1,079=46 мин t=50/1,5=33 мин
Радиус
трещины
rт=c•(Q•Öm•t/k)0,5
При закачке ВНЭ, при темпе 1555 м3/сут.
rт=0,013•(50•Ö100•46/5•10-6)0,5=16
м.
При закачке воды
rт=0,013•(50•Ö1•46/5•10-6)0,5=5,1
м.
При закачке ВКЭ
rт=0,013•(50•Ö1•46/5•10-6)0,5=5,1
м.
При темпе 2160 м3/сут.
При закачке ВНЭ
rт=0,013•(50•Ö100•33/5•10-6)0,5=14,73
м.
При закачке воды.
rт=0,013•(50•Ö1•33/5•10-6)0,5=4,66
м.
При закачке ВКЭ.
rт=0,013•(50•Ö1•33/5•10-6)0,5=4,66
м.
Длина
трещины равна:
l=ÖVж•E/5,6•(1-n2)•h•Ру-Рг
где h-толщина пласта.
При закачке ВНЭ (Q=18 л/с)
l=Ö50•5,8•105•106/5,6•(1-0,32)•27•
(44,9-33,6)•106=136,6 м.
При закачке ВНЭ (Q=25 л/с)
l=Ö50•5,8•105•106/5,6•(1-0,32)•27•(63,3-33,6)•106=84,2
м.
Толщина (раскрытость) трещины.
wо=4•(1-n2)•l•(Ргрп з-Рст)/Е
При Q=18 л/с
wо=4•(1-0,32)•136,6•(56,3-37,55)•106/5,8•105•106=0,016
м=16 мм.
При Q=25 л/с
wо=4•(1-0,32)•84,2•(56,3-37,55)•106/5,8•105•106=0,010
м=10 мм.
Необходимое число насосных агрегатов.
При производительности 6,0 л/с - давление 70 МПа
n=Pу•Q/Pа•Qа•Ктс
Ктс - коэффициент технического состояния агрегатов.
n=56,3•18/70•6,0•0,7+1=5 агрегатов
При производительности 8,3 л/с - давление 51МПа
n=56,3•25/51•8,3•0,7+1=6 агрегатов.
5.3 План проведения гидроразрыва пласта в скважине
№32 Малодушинского месторождения
. Геолого-техническая характеристика скважины.
1.1. Продуктивный горизонт - семилукскийский.
1.2. Эксплуатационная колонна диаметром 127*168 мм, переход диаметров
на глубине 2200 м.
1.3. Искусственный забой -3820 м,
1.4. Тип арматуры - АФК 3х65х210.
1.5. Давление опрессовки колонны - 210 атм.
1.6. Интервал перфорации - 3743-3766;
2. Жидкости гидроразрыва;
- жидкость разрыва - 50 м3;
кислотный раствор - 20 м3.
продавочная жидкость - 12 м3.
. Оборудование.
(максимальное допустимое внутреннее давление - 69,5 МПа;
максимальное допустимое внешнее давление - 62,5 МПа) 3753 м.
3.2. Гидравлический пакер фирмы BJ Service - 1 шт.
3.3. Скребок фирмы BJ Service - 1 шт.
3.4. Насосный агрегат фирмы BJ Service - 4 шт.
3.5. Блок манифольда фирмы BJ Service - 1 шт.
3.6. Емкость объемом 50 м3 для жидкости гидроразрыва - 2
шт.
3.7. Емкость для кислоты (30 м3) - 1 шт.
4. Подготовительные работы
4.1. Заглушить скважину.
4.2. Произвести опрессовку устья скважины и фонтанной арматуры на
давление 21 МПа
4.3. Поднять подземное оборудование,
4.4. Спустить воронку на НКТ и промыть забой скважины минерализованной
водой до чистой жидкости с допуском НКТ до искусственного забоя.
4.5. Произвести шаблонировку эксплуатационной колонны шаблоном
диаметром 116 мм и длиной 2 м до верхних дыр интервалов перфорации.
4.6. Произвести зачистку эксплуатационной колонны скрепером в
интервале посадки пакера 3743-3766 м.
4.7. Спустить воронку на НКТ и промыть забой скважины минерализованной
водой до чистой жидкости с допуском НКТ до искусственного забоя.
4.8. Завезти на скважину оборудование и материалы гидроразрыва.
5. Проведение работ по ГРП.
5.1. Спустить насосно-компрессорные трубы для гидроразрыва пласта
марки С-75 и диаметром 73 мм с опрессовочным устройством в башмаке НКТ и
пакером фирмы BJ Service. Спуск производить со скоростью не более 0,5 м/с. Произвести
привязку глубины установки пакера по локатору муфт.
5.2. Установить на планшайбу центральную задвижку, затем
герметизирующий узел для НКТ, оборудованный в верхней части быстросъемным
соединением. Обвязать нагнетательные линии и спрессовать наземные коммуникации
на давление = 60 МПа.
5.3. Закачать в пласт жидкость разрыва со скоростью прокачки 1,5 м3/мин.
При получении разрыва пласта (падение давления воздействия), закачать в пласт
20 м3 кислотного раствора с той же скоростью прокачки, а затем 12 м3
промывочной жидкости.
5.4. Постепенно (для предотвращения вымывания кислотного раствора)
сбросить избыточное давление на устье скважины и промыть ее минерализованной
водой до чистой жидкости.
5.5. Поднять компановку с пакером.
6. Заключительные работы.
6.1. Спустить в скважину НКТ с воронкой и промыть до искусственного
забоя минерализованной водой.
6.2. Освоить скважину с помощью глубинного насоса.
6.3. После отработки и выхода на режим произвести гидродинамические
исследования (по специальному плану).
6.4. По результатам отработки скважины и данным гидродинамических
исследований оценить эффективность обработки.
Все операции по монтажу и демонтажу емкостей,
погрузочно-разгрузочным работам с оборудованием, скважинные работы, выполняемые
бригадой капитального ремонта производить в соответствии с действующими нормами
и правилами техники безопасности. При выполнении работ по п.п. 5.3-5.4. на
скважине должны находиться запас пресной воды, передвижная медицинская
амбулатория и автомашина с пожарной бригадой.
5.3 Оценка экономической эффективности
гидроразрыва пласта на скважине №32 Малодушинского месторождения
Прогнозный дебит скв. №32, Малодушинского месторождения после
проведения ГРП составил 6 т/сут.
По данным многолетних наблюдений падение дебита после ГРП
будет происходить следующим образом:
|
Период, сут
|
Среднесуточный
дебит, т/сут
|
|
0-90
|
6
|
|
90-180
|
5,8
|
|
180-365
|
5,2
|
|
365-550
|
4,3
|
|
550-730
|
3,3
|
Исходя из этого определяем добычу нефти за время продолжения
эффекта от гидравлического разрыва. Продолжительность эффекта примем два
года.=90•6+(180-90)•5,8+(365-180)•5,2+(550-365)•4,3+(730-550)•3,3=3413,5 т
Рассчитаем добычу нефти по периодам и сносим результаты в
таблицу.
|
Период, сут
|
0-90
|
90-180
|
180-365
|
365-550
|
550-730
|
|
Добыча, т
|
540
|
522
|
962
|
795,5
|
594
|
Среднесуточный дебит полученный за счет проведения
гидроразрыва пласта на время продолжительности эффекта равен:
QСР=3413,5/730=4,67
т/сут
Экономическую эффективность ГРП определим исходя из размера
экономии, которая может быть получена в результате применения гидроразрыва на
скв. №32 Малодушинского месторождения.
Для этого найдем приведеные затраты:
ЗП=С2+DDКД•ЕН,
где ЗП - приведеные затраты;
С2 -себестоимость полученная за счет гидроразрыва
нефти;КД - удельные дополнительные затраты
ЕН =0,15.
Удельные дополнительные затраты будут равны:
КД=З1/Q,
где З1-затраты на проведение гидравлического разрыва
пласта. Затраты по производству гидроразрыва складываются из следующих величин:
а) подготовительные работы к гидроразрыву - обследование состояния
ствола скважины, исследования, дополнительное вскрытие пласта, спуск пакера и
якоря, промывка скважины, обустройство устья и т.д.;
б) производство разрыва - стоимость работы агрегатов и
вспомогательного оборудования, стоимость песка и рабочих жидкостей и их
транспортировки и т.д.;
в) заключительные работы, связанные с освоением и пуском скважины
в эксплуатацию после гидроразрыва.
Эти затраты равны 110000 $. В переводе на белорусские рубли на
период за май 2004 года (курс1:2145) затраты на проведение ГРП составили 235,95
млн. руб.;прогнозный дебит.КД=235950000/3413,5=69123 руб./т
Себестоимость полученная за счет гидроразрыва нефти определяется
по формуле:
С2=C1+DКД
где С1 - себестоимость, равная 72268,5 руб./т;
С2=72268,5+69123=141391,5 руб./т.
Тогда приведеные затраты будут равны:
ЗП=141391,5+69123•0,15=151759,95 руб./т
Количество добытой нефти за анализируемый период (2 года)
равно:=3413,5 т.
h=С2/С1•100%
h=141391,5/72268,5•100%=195,6%
По результатам проведенных расчетов об эффективности
гидравлического разрыва пласта, нами было получено следующее:
. Себестоимость добычи нефти резко возрастает, так как
требуются единовременные дополнительные затраты в сумме 110000-115000 у. е. на
проведение ГРП. Эти затраты возрастают на 195,6%.
. Но за счет проведения этого процесса нами было получено
3413,5 тонн нефти.