Расчет параметров для проведения гидроразрыва пласта в типовой добывающей скважине
Министерство образования и науки РФ
Департамент образования и науки
ХМАО-Югры
Бюджетное учреждение
Среднего профессионального
образования ХМАО-Югры
Урайский профессиональный колледж
КУРСОВАЯ РАБОТА
по Дисциплине: «Эксплуатация нефтяных
и газовых месторождений»
на тему: «Расчёт параметров для
проведения гидроразрыва пласта в типовой добывающей скважине»
Студент А.В. Ольков
Преподаватель Г.И. Исмулина
Урай - 2014г.
Содержание
Введение
1. Технологическая часть
1.1 Сущность метода ГРП
1.2 Технология проведения ГРП
1.3 Материалы, применяемые при ГРП
2. Расчетная часть
2.1 Методика расчета проведения ГРП в
типовой добывающей скважине
2.2 Расчет проведения ГРП в типовой
добывающей скважине
3. Техника безопасности и
противопожарные мероприятия
3.1 Правила безопасности нефтяной и
газовой промышленности
3.2 Правила устройства и безопасной
эксплуатации сосудов, работающих под давлением
3.3 Противопожарные мероприятия при
проведении ГРП в типовой добывающей скважине
Заключение и выводы
Список литературы
Приложения
Введение
гидроразрыв пласт скважина нефтяной
В промышленной разработке находится 1020
месторождений, текущие запасы нефти составляют 72% всех остаточных извлекаемых
запасов.
Из этих месторождений уже отобрано 50,4% начальных
извлекаемых запасов. Обводненность добываемой продукции составляет более 70%.
Ухудшение структуры запасов открываемых месторождений и истощение
высокопродуктивных месторождений приводит к возрастанию доли трудно извлекаемых
запасов с низкими дебитами, которые составляют уже более 50%. Поэтому
эффективная разработка залежей углеводородов с низкими коллекторскими
свойствами и повышение нефтеотдачи в настоящее время и ближайшие десятилетия
является одной из основных проблем энергообеспечения России. В мировой практике
операции по гидроразрыву пласта начали осуществляться с 1947 года, а с 1952 они
получили распространение и в нашей стране на промыслах Татарии, Башкирии,
Азербайджана, Краснодарского края и Куйбышевской области. Затем интерес к ГРП
несколько снизился и новое возрождение применения ГРП в нефтяной промышленности
России началось в конце 80-х годов в связи с появлением импортной техники и
технологии.
Нефтепромысловая практика показывает, что ГРП является
одним из наиболее эффективных методов восстановления продуктивности скважин при
обработке призабойной зоны или повышения естественной продуктивности при
глубокопроникающем воздействии на пласт.
1. Технологическая часть
1.1 Сущность метода ГРП
При разработке месторождений с низкопроницаемыми
пластами все большее применение находят технологии, связанные с ГРП. В
результате его использования, как правило, увеличиваются дебиты нефти и
жидкости обработанных скважин, улучшаются технико-экономические показатели их
последующей эксплуатации. В настоящее время ГРП проводят, как правило, в
одиночно выбираемых добывающих скважинах. При принятии решения о проведении ГРП
в конкретной скважине часто не учитывается ее возможное влияние на окружающие
скважины, не рассматривается эффективность гидроразрыва и возможные
отрицательные последствия этого мероприятия с учетом всей системы
нагнетательных и добывающих скважин.
Сущность метода ГРП заключается в том, что в
призабойную зону скважины при закачке специальной жидкости под высоким
давлением создается новая или же расширяется естественная трещина, или система
трещин, которые сохраняются в открытом состоянии введением в них
отсортированного кварцевого песка. В результате увеличивается проницаемость
призабойной зоны пласта или соединяются посредством этих трещин
высокопроницаемые участки пласта со стволом скважины и продуктивность ее резко
повышается.
В практике разрыва пласта различают два основных вида
процесса:
•однократный разрыв пласта;
•многократный разрыв пласта.
Максимальный эффект от ГРП обеспечивается:
•наибольшей шириной создаваемых в пласте трещин;
1.2 Технология проведения ГРП
а) подготавливается скважина и в нее спускаются на трубах пакер и якорь;
на устье устанавливается специальная арматура;
б) рассчитываются параметры ГРП: объемы жидкости разрыва,
жидкости-песконосителя, наполнителя и подаваемой жидкости;
в) в зависимости от этого устанавливается количество агрегатов,
необходимых для проведения ГРП;
г) процесс нагнетания в скважину жидкости разрыва следует вести с
производительностью, превышающей поглотительную способность скважины в 2-3
раза;
д) после разрыва пласта в скважину подается жидкость-песконоситель;
е) по окончании закачки жидкости-песконосителя в скважину подается
продавочная жидкость для продавки жидкости-песконосителя в пласт.
1.3 Материалы, применяемые при ГРП
В качестве рабочего реагента при проведении гидроразрыва пласта
применяются различные жидкости, обладающие разнообразными физическими
параметрами. К данным жидкостям применяются следующие требования:
1. Рабочие жидкости, нагнетаемые в
пласт, не должны уменьшать ни абсолютную, ни фазовую проницаемость породы
пласта. Поэтому, при ГРП в нефтяных скважинах могут применяться жидкости с
углеводородной основой, в нагнетательных - с водной.
2. Рабочие жидкости для ГРП не должны
содержать посторонних механических примесей и при соприкосновении с пластовыми
жидкостями и породой пласта не должны образовывать нерастворимых осадков.
3. Рабочие жидкости для ГРП не должны
обладать свойствами, обеспечивающими наиболее полное их удаление из созданных
трещин и порового пространства пород.
4. Вязкость рабочих жидкостей должна
быть стабильна в условиях обрабатываемого пласта в пределах времени проведения
процесса ГРП.
Жидкости гидроразрыва делятся на три категории: жидкость разрыва,
жидкость - песконоситель и продавочная жидкость.
а) Жидкость разрыва - является рабочим агентом, нагнетанием которого в
призабойной зоне пласта создается давление, обеспечивающее нарушение
целостности пород пласта с образованием новых трещин или расширением уже
существующих.
б) Жидкость - песконоситель - используется для транспортирования песка с
поверхности до трещины и заполнения последней песком. Эта жидкость должна быть
не фильтрующейся или обладать минимальной, быстро снижающейся фильтруемостью и
иметь высокую пескоудерживающую способность.
в) Продавочная жидкость - применяется для продавки из насосно -
компрессорных труб в обрабатываемый пласт жидкости разрыва и жидкости
песконосителя. Продавочная жидкость при всех условиях должна обладать
минимальной вязкостью.
2. Расчетная часть
2.1 Методика расчета проведения ГРП в типовой добывающей скважине
Для расчета забойного давления разрыва пласта Рзабр при
использовании нефильтрующейся жидкости можно воспользоваться следующей формулой
(при закачке 1м3 жидкости разрыва) :
(1.1)
Где
Ргг - горизонтальная составляющая горного давления, Мпа:
(1.2)
-
коэффициент Пуассона горных пород (
=0,2-0,3);
Ргв
- вертикальная составляющая горного давления, МПа:
(1.3)
-
плотность горных пород над продуктивным горизонтом, кг/м3 (
=2600кг/м3);
Е
- модуль упругости пород (Е=(1-2)104 МПа);
Q - темп закачки
жидкости разрыва, м3/с (в соответствии с характеристикой насосного
агрегата);
вязкость жидкости разрыва, Па * с.
Для
приближенной оценки забойного давления разрыва пласта при использовании
фильтрующейся жидкости можно использовать формулу
где
К - коэффициент, принимаемый равным (1,5-1,8) МПа/м.
При
закачке жидкости-песконосителя давление на устье скважины
, (1.5)
где
плотность жидкости-песконосителя, кг/м3:
, (1.6)
где
плотность жидкости, используемой в качестве
песконосителя, кг/м3;
плотность
песка, кг/м3 (
=2500 кг/м3);
объемная
концентрация песка в смеси
(1.7)
Сп
- концентрация песка в 1 м3 жидкости, кг/м3 (
250-300кг/м3).
Потери
давления на трение жидкости-песконосителя:
(1.8)
где
- коэффициент гидравлических сопротивлений:
(1.9)
(1.10)
Q - темп
закачки, м3/с;
вязкость
жидкости, используемой в качестве песконосителся, Па*с.
Если
Re > 200, то потери давления на трение увеличивают в
1,52 раза:
. (1.11)
Необходимое
число насосных агрегатов
(1.12)
где
рр - рабочее давление агрегата;
Qp -
подача агрегата при данном рр; КТС - коэффициент
технического состояния агрегата (КТС = 0,5-0,8).
Необходимый
объем продавочной жидкости (при закачке в НКТ)
(1.13)
Минимальный
темп закачки жидкости разрыва определяются по формулам:
для
горизонтальной трещины
(1.14)
для
вертикальной трещины
(1.15)
где
RT - радиус горизонтальной трещины, м;
ширина
(раскрытость) трещины на стенке скважины, м;
вязкость
жидкости разрыва, Па*с;
h - толщина
пласта, м.
В
случае проведения разрыва пласта нефильтрующейся жидкостью можно принять
фактический темп закачки жидкости Q равным Qmin.
При проведении разрыва фильтрующейся жидкостью фактический темп закачки
жидкости Q>Qmin.
Количество
песка Qп на один
гидравлический разрыв пласта принимается равным 8-10 т. При концентрации песка
в 1 м3 жидкости Сп объем жидкости
(1.16)
.2
Расчет проведения ГРП в типовой добывающей скважине
Задание:
Рассчитать
основные характеристики гидроразрыва пласта в добывающей скважине глубиной L =
2100 м. Вскрытая толщина пласта h = 14 м. Разрыв провести по НКТ с пакером,
внутренний диаметр НКТ d = 0,0759 м. В качестве жидкости разрыва и
песконосителя используется нефильтрующая амбарная нефть плотностью рж= 945 кг/м3
и вязкостью uж =0,285
Па *с. Предполагается закачать в скважину Qп=4,5 т песка диаметром зёрен 1 мм. Принимаем темп
закачки Q = 0,012 м3/с. Используем агрегат 4АН-700.
Решение.
Рассчитываем
вертикальную составляющую горного давления.
Ргв=2600*9,81*2100*10-6
= 53,5МПа
Принимая
V =0,3, рассчитываем горизонтальную составляющую горного давления.
Pгг=
=22,9 МПа
В
данных условиях предположительно образуются вертикальные или наклонные трещины.
Рассчитываем
забойное давление разрыва.
или
Рассчитываем
βn
(принимая Сn = 275
кг/м3)
Рассчитываем
плотность жидкости-песконосителя: жп= 945 * (1 - 0,1) + 2500 * 0,1=1100кг / м3.
Рассчитываем
вязкость жидкости с песком:
µжп=
0,285ехр(3,18*0,1)=0,392 Па*с.
Число
Рейнольдса Rе = 4*0,010*1100/(3,14*0,0759*0,392)=471.
Коэффициент
гидравлического сопротивления: λ = 64/471 = 0,136.
Рассчитываем
потери на трение:
Ртр=8
* 0,136(0,01)2 * 2270*1100/(3,142 * 0,07595) = 11 МПа.
Учитывая,
что Rе = 471 > 200,потери на трение составят:
Ртр=1,52*11
= 16,72 МПа.
Давление
на устье скважины при закачке жидкости - песконосителя,
Ру=
25,47 -1100*9,81* 2270* 10-6 +16,72 = 17,7 МПа.
При
работе агрегата 4АН-700 на 4 скорости рр=29 МПа, а Qp =
0,0146 м3/с.
Необходимое
число агрегатов:
Объём
продавочной жидкости Vп =0,785 *0,0759 * 2270 = 10,3 м3
Объём
жидкости для осуществления гидроразрыва (жидкость разрыва и жидкость песконоситель)
Vж =4500/275 =16,4 м3
Суммарная
время работы одного агрегата 4АН-700 на 4 скорости:
t=
(Vж + Vп)/Qр,
или=
(16,4+10,3)/0,0146=1829 с или 30,5 мин
В
случае образования горизонтальной трещины радиус её Rт (в м) можно
вычислить по следующей эмпирической формуле:
где
Q - темп закачки жидкости разрыва, м3 /с;
µжр
- вязкость жидкости разрыва, Па*с;
t - время закачки
жидкости разрыва, с;
k - проницаемость
призабойной зоны, м2.
Ширина
(раскрытость) трещины на стенке скважины ώ0 в случае
разрыва фильтрующейся жидкостью рассчитывается по формуле:
а
при разрыве нефильтрующейся жидкостью по формуле:
В
случае образования вертикальной трещины при разрыве пласта фильтрующейся
жидкостью:
Раскрытость
трещины:
где
m -
пористость пласта;
длина
трещины
В
случае разрыва пласта нефильтрующейся жидкостью:
Раскрытость
трещины
или 1,7
см.
Для
трещины:
Таким
образом, в результате проведения гидроразрыва в данной
скважине образуется вертикальная трещина длинной 69,3 м. и шириной на стенке
скважине 1,7 см.
3. Техника безопасности и противопожарные мероприятия.
3.1 Правила безопасности нефтяной и газовой промышленности
.1.1. Гидравлический разрыв пласта проводится под руководством
ответственного инженерно-технического работника по плану, утвержденному
организации.
.1.2. Во время проведения гидроразрыва пласта находиться персоналу возле
устья скважины и у нагнетательных трубопроводов запрещается.
.1.3. Напорный коллектор блока манифольдов должен быть оборудован
датчиками контрольно-измерительных приборов, предохранительными клапанами и линией
сброса жидкости, а нагнетательные трубопроводы - обратными клапанами.
.1.4. После обвязки устья скважины необходимо спрессовать нагнетательные
трубопроводы на ожидаемое давление при гидравлическом разрыве пласта с
коэффициентом запаса не менее 1,25.
.1.5. Применение пакерующих устройств при гидроразрывах пласта
обязательно.
.1.6. При проведении гидрокислотных разрывов необходимо применять
ингибиторы коррозии.
.2 Правила устройства и безопасной эксплуатации сосудов, работающих под
давлением
3.2.1 Общие положения
.2.1.1 Для управления работой и обеспечения безопасных условий
эксплуатации сосуды в зависимости от назначения должны быть оснащены:
запорной или запорно-регулирующей арматурой;
приборами для измерения давления;
приборами для измерения температуры;
предохранительными устройствами.
.2.1.2 Сосуды, снабженные быстросъемными крышками, должны иметь
предохранительные устройства, исключающие возможность включения сосуда под
давление при неполном закрытии крышки и открывании ее при наличии в сосуде
давления. Такие сосуды также должны быть оснащены замками с ключом-маркой.
.2.2. Запорная и запорно-регулирующая арматура
.2.2.1 Запорная и запорно-регулирующая арматура должна устанавливаться на
штуцерах, непосредственно присоединенных к сосуду, или на трубопроводах,
подводящих к сосуду и отводящих из него рабочую среду. В случае
последовательного соединения нескольких сосудов необходимость установки такой
арматуры между ними определяется разработчиком проекта.
.2.2.2 Арматура должна иметь следующую маркировку:
наименование или товарный знак изготовителя;
условный проход, мм;
условное давление, МПа (допускается указывать рабочее давление и
допустимую температуру);
направление потока среды;
марку материала корпуса.
.2.2.3. Количество, тип арматуры и места установки должны выбираться
разработчиком проекта сосуда исходя из конкретных условий эксплуатации и
требований Правил.
.2.2.4. На маховике запорной арматуры должно быть указано направление его
вращения при открывании или закрывании арматуры.
.2.2.5. Сосуды для взрывоопасных, пожароопасных веществ, веществ 1-го и
2-го классов опасности по ГОСТ 12.1.007-76, а также испарители с огневым или
газовым обогревом должны иметь на подводящей линии от насоса или компрессора
обратный клапан, автоматически закрывающийся давлением из сосуда. Обратный
клапан должен устанавливаться между насосом (компрессором) и запорной арматурой
сосуда.
.2.2.6. Арматура с условным проходом более 20 мм, изготовленная из
легированной стали или цветных металлов, должна иметь паспорт установленной формы,
в котором должны быть указаны данные по химсоставу, механическим свойствам,
режимам термообработки и результатам контроля качества изготовления
неразрушающими методами.
Арматуру, имеющую маркировку, но не имеющую паспорта, допускается
применять после проведения ревизии арматуры, испытания и проверки марки
материала. При этом владельцем арматуры должен быть составлен паспорт.
.2.3. Манометры
.2.3.1. Каждый сосуд и самостоятельные полости с разными давлениями
должны быть снабжены манометрами прямого действия. Манометр устанавливается на
штуцере сосуда или трубопроводе между сосудом и запорной арматурой.
.2.3.2. Манометры должны иметь класс точности не ниже: 2,5 - при рабочем
давлении сосуда до 2,5 МПа (25 кгс/см2), 1,5 - при рабочем давлении
сосуда выше 2,5 МПа (25 кгс/см2).
.2.3.3. Манометр должен выбираться с такой шкалой, чтобы предел измерения
рабочего давления находился во второй трети шкалы.
.2.3.4. На шкале манометра владельцем сосуда должна быть нанесена красная
черта, указывающая рабочее давление в сосуде. Взамен красной черты разрешается
прикреплять к корпусу манометра металлическую пластину, окрашенную в красный
цвет и плотно прилегающую к стеклу манометра.
.2.3.5. Манометр должен быть установлен так, чтобы его показания были
отчетливо видны обслуживающему персоналу.
.2.3.6. Номинальный диаметр корпуса манометров, устанавливаемых на высоте
до 2 м от уровня площадки наблюдения за ними, должен быть не менее 100 мм, на
высоте от 2 до 3 м - не менее 160 мм.
Установка манометров на высоте более 3 м от уровня площадки не
разрешается.
.2.3.7. Между манометром и сосудом должен быть установлен трехходовой
кран или заменяющее его устройство, позволяющее проводить периодическую
проверку манометра с помощью контрольного.
В необходимых случаях манометр в зависимости от условий работы и свойств
среды, находящейся в сосуде, должен снабжаться или сифонной трубкой, или
масляным буфером, или другими устройствами, предохраняющими его от
непосредственного воздействия среды и температуры и обеспечивающими его надежную
работу.
.2.3.8. На сосудах, работающих под давлением выше 2,5 МПа (25 кгс/см2)
или при температуре среды выше 250 град. С, а также со взрывоопасной средой или
вредными веществами 1-го и 2-го классов опасности по ГОСТ 12.1.007-76 вместо
трехходового крана допускается установка отдельного штуцера с запорным органом
для подсоединения второго манометра.
На стационарных сосудах при наличии возможности проверки манометра в
установленные Правилами сроки путем снятия его с сосуда установка трехходового
крана или заменяющего его устройства необязательна.
На передвижных сосудах необходимость установки трехходового крана
определяется разработчиком проекта сосуда.
.2.3.9. Манометры и соединяющие их с сосудом трубопроводы должны быть
защищены от замерзания.
.2.3.10. Манометр не допускается к применению в случаях, когда:
отсутствует пломба или клеймо с отметкой о проведении поверки;
просрочен срок поверки;
разбито стекло или имеются повреждения, которые могут отразиться на
правильности его показаний.
.2.3.11. Поверка манометров с их опломбированием или клеймением должна
производиться не реже одного раза в 12 месяцев. Кроме того, не реже одного раза
в 6 месяцев владельцем сосуда должна производиться дополнительная проверка
рабочих манометров контрольным манометром с записью результатов в журнал
контрольных проверок. При отсутствии контрольного манометра допускается
дополнительную проверку производить проверенным рабочим манометром, имеющим с
проверяемым манометром одинаковую шкалу и класс точности.
Порядок и сроки проверки исправности манометров обслуживающим персоналом
в процессе эксплуатации сосудов должны определяться инструкцией по режиму
работы и безопасному обслуживанию сосудов, утвержденной руководством
организации - владельца сосуда.
.2.4. Приборы для измерения температуры
.2.4.1. Сосуды, работающие при изменяющейся температуре стенок, должны
быть снабжены приборами для контроля скорости и равномерности прогрева по длине
и высоте сосуда и реперами для контроля тепловых перемещений.
Необходимость оснащения сосудов указанными приборами и реперами, а также
допустимая скорость прогрева и охлаждения сосудов определяются разработчиком
проекта и указываются изготовителем в паспорте сосуда или в руководстве по
эксплуатации.
.2.5. Предохранительные устройства от повышения давления
.2.5.1. Каждый сосуд (полость комбинированного сосуда) должен быть
снабжен предохранительными устройствами от повышения давления выше допустимого
значения.
.2.5.2. В качестве предохранительных устройств применяются:
пружинные предохранительные клапаны;
рычажно-грузовые предохранительные клапаны;
импульсные предохранительные устройства (ИПУ), состоящие из главного
предохранительного клапана (ГПК) и управляющего импульсного клапана (ИПК)
прямого действия;
предохранительные устройства с разрушающимися мембранами (мембранные
предохранительные устройства - МПУ);
другие устройства, применение которых согласовано с Госгортехнадзором
России.
Установка рычажно-грузовых клапанов на передвижных сосудах не
допускается.
.2.5.3. Конструкция пружинного клапана должна исключать возможность
затяжки пружины сверх установленной величины, а пружина должна быть защищена от
недопустимого нагрева (охлаждения) и непосредственного воздействия рабочей
среды, если она оказывает вредное действие на материал пружины.
.2.5.4. Конструкция пружинного клапана должна предусматривать устройство
для проверки исправности действия клапана в рабочем состоянии путем
принудительного открывания его во время работы.
Допускается установка предохранительных клапанов без приспособления для
принудительного открывания, если последнее нежелательно по свойствам среды
(взрывоопасная, горючая, 1-го и 2-го классов опасности по ГОСТ 12.1.007-76) или
по условиям технологического процесса. В этом случае проверка срабатывания
клапанов должна осуществляться на стендах.
.2.5.5. Если рабочее давление сосуда равно или больше давления питающего
источника и в сосуде исключена возможность повышения давления от химической
реакции или обогрева, то установка на нем предохранительного клапана и
манометра необязательна.
.2.5.6. Сосуд, рассчитанный на давление меньше давления питающего его
источника, должен иметь на подводящем трубопроводе автоматическое редуцирующее
устройство с манометром и предохранительным устройством, установленными на
стороне меньшего давления после редуцирующего устройства.
В случае установки обводной линии (байпаса) она также должна быть
оснащена редуцирующим устройством.
.2.5.7. Для группы сосудов, работающих при одном и том же давлении,
допускается установка одного редуцирующего устройства с манометром и
предохранительным клапаном на общем подводящем трубопроводе до первого
ответвления к одному из сосудов.
В этом случае установка предохранительных устройств на самих сосудах
необязательна, если в них исключена возможность повышения давления.
.2.5.8. В случае, когда автоматическое редуцирующее устройство вследствие
физических свойств рабочей среды не может надежно работать, допускается
установка регулятора расхода. При этом должна предусматриваться защита от
повышения давления.
.2.5.9. Количество предохранительных клапанов, их размеры и пропускная
способность должны быть выбраны по расчету так, чтобы в сосуде не создавалось
давление, превышающее расчетное более чем на 0,05 МПа (0,5 кгс/см2)
для сосудов с давлением до 0,3 МПа (3 кгс/см2), на 15% - для сосудов
с давлением от 0,3 до 6,0 МПа (от 3 до 60 кгс/см2) и на 10% - для
сосудов с давлением свыше 6,0 МПа (60 кгс/см2).
При работающих предохранительных клапанах допускается превышение давления
в сосуде не более чем на 25% рабочего при условии, что это превышение
предусмотрено проектом и отражено в паспорте сосуда.
.2.5.10. Пропускная способность предохранительного клапана определяется в
соответствии с НД.
.2.5.11. Предохранительное устройство изготовителем должно поставляться с
паспортом и инструкцией по эксплуатации.
В паспорте наряду с другими сведениями должен быть указан коэффициент
расхода клапана для сжимаемых и несжимаемых сред, а также площадь, к которой он
отнесен.
.2.5.12. Предохранительные устройства должны устанавливаться на патрубках
или трубопроводах, непосредственно присоединенных к сосуду.
Присоединительные трубопроводы предохранительных устройств (подводящие,
отводящие и дренажные) должны быть защищены от замерзания в них рабочей среды.
При установке на одном патрубке (трубопроводе) нескольких
предохранительных устройств площадь поперечного сечения патрубка (трубопровода)
должна быть не менее 1,25 суммарной площади сечения клапанов, установленных на
нем.
При определении сечения присоединительных трубопроводов длиной более 1000
мм необходимо также учитывать величину их сопротивлений.
Отбор рабочей среды из патрубков (и на участках присоединительных трубопроводов
от сосуда до клапанов), на которых установлены предохранительные устройства, не
допускается.
.2.5.13. Предохранительные устройства должны быть размещены в местах,
доступных для их обслуживания.
.2.5.14. Установка запорной арматуры между сосудом и предохранительным
устройством, а также за ним не допускается.
3.2.5.15.
Арматура перед (за) предохранительным устройством может быть установлена при
условии монтажа двух предохранительных устройств и блокировки, исключающей
возможность одновременного их отключения. В этом случае каждый из них должен
иметь пропускную способность, предусмотренную п. 5.5.9 Правил.
При
установке группы предохранительных устройств и арматуры перед (за) ними
блокировка должна быть выполнена таким образом, чтобы при любом предусмотренном
проектом варианте отключения клапанов остающиеся включенными предохранительные
устройства имели суммарную пропускную способность, предусмотренную п. 5.5.9
Правил.
.2.5.16.
Отводящие трубопроводы предохранительных устройств и импульсные линии ИПУ в
местах возможного скопления конденсата должны быть оборудованы дренажными
устройствами для удаления конденсата.
Установка
запорных органов или другой арматуры на дренажных трубопроводах не допускается.
Среда, выходящая из предохранительных устройств и дренажей, должна отводиться в
безопасное место.
Сбрасываемые
токсичные, взрыво- и пожароопасные технологические среды должны направляться в
закрытые системы для дальнейшей утилизации или в системы организованного
сжигания.
Запрещается
объединять сбросы, содержащие вещества, которые способны при смешивании
образовывать взрывоопасные смеси или нестабильные соединения.
.2.5.17.
Мембранные предохранительные устройства устанавливаются:
вместо
рычажно-грузовых и пружинных предохранительных клапанов, когда эти клапаны в
рабочих условиях конкретной среды не могут быть применены вследствие их
инерционности или других причин;
перед
предохранительными клапанами в случаях, когда предохранительные клапаны не
могут надежно работать вследствие вредного воздействия рабочей среды (коррозия,
эрозия, полимеризация, кристаллизация, прикипание, примерзание) или возможных
утечек через закрытый клапан взрыво- и пожароопасных, токсичных, экологически
вредных и т.п. веществ. В этом случае должно быть предусмотрено устройство,
позволяющее контролировать исправность мембраны;
параллельно
с предохранительными клапанами для увеличения пропускной способности систем
сброса давления;
на
выходной стороне предохранительных клапанов для предотвращения вредного
воздействия рабочих сред со стороны сбросной системы и для исключения влияния
колебаний противодавления со стороны этой системы на точность срабатывания
предохранительных клапанов.
Необходимость
и место установки мембранных предохранительных устройств и их конструкцию
определяет проектная организация.
.2.5.18.
Предохранительные мембраны должны быть маркированы, при этом маркировка не
должна оказывать влияния на точность срабатывания мембран.
Содержание
маркировки:
наименование
(обозначение) или товарный знак изготовителя;
номер
партии мембран;
тип
мембран;
условный
диаметр;
рабочий
диаметр;
материал;
минимальное
и максимальное давление срабатывания мембран в партии при заданной температуре
и при температуре 20 град. С.
Маркировка
должна наноситься по краевому кольцевому участку мембран либо мембраны должны
быть снабжены прикрепленными к ним маркировочными хвостовиками (этикетками).
.2.5.19.
На каждую партию мембран должен быть паспорт, оформленный изготовителем.
Содержание
паспорта:
наименование
и адрес изготовителя;
номер
партии мембран;
тип
мембран;
условный
диаметр;
рабочий
диаметр;
материал;
минимальное
и максимальное давление срабатывания мембран в партии при заданной температуре
и при температуре 20 град. С;
количество
мембран в партии;
наименование
нормативного документа, в соответствии с которым изготовлены мембраны;
наименование
организации, по техническому заданию (заказу) которой изготовлены мембраны;
порядок
допуска мембран к эксплуатации;
образец
журнала эксплуатации мембран.
Паспорт
должен быть подписан руководителем организации-изготовителя, подпись которого
скрепляется печатью.
К
паспорту должна быть приложена техническая документация на противовакуумные
опоры, зажимающие и другие элементы, в сборе с которыми допускаются к эксплуатации
мембраны данной партии. Техническая документация не прилагается в тех случаях,
когда мембраны изготовлены применительно к уже имеющимся у потребителя узлам
крепления.
.2.5.20.
Предохранительные мембраны должны устанавливаться только в предназначенные для
них узлы крепления.
Работы
по сборке, монтажу и эксплуатации мембран должны выполняться специально
обученным персоналом.
.2.5.21.
Предохранительные мембраны зарубежного производства, изготовленные
организациями, не подконтрольными Госгортехнадзору России, могут быть допущены
к эксплуатации лишь при наличии специальных разрешений на применение таких
мембран, выдаваемых Госгортехнадзором России в установленном им порядке.
.2.5.22.
Мембранные предохранительные устройства должны размещаться в местах, открытых и
доступных для осмотра и монтажа-демонтажа, присоединительные трубопроводы
должны быть защищены от замерзания в них рабочей среды, а устройства должны
устанавливаться на патрубках или трубопроводах, непосредственно присоединенных
к сосуду.
.2.5.23.
При установке мембранного предохранительного устройства последовательно с
предохранительным клапаном (перед клапаном или за ним) полость между мембраной
и клапаном должна сообщаться отводной трубкой с сигнальным манометром (для
контроля исправности мембран).
.2.5.24.
Допускается установка переключающего устройства перед мембранными
предохранительными устройствами при наличии удвоенного числа мембранных
устройств с обеспечением при этом защиты сосуда от превышения давления при
любом положении переключающего устройства.
.2.5.25.
Порядок и сроки проверки исправности действия предохранительных устройств в
зависимости от условий технологического процесса должны быть указаны в
инструкции по эксплуатации предохранительных устройств, утвержденной владельцем
сосуда в установленном порядке.
Результаты
проверки исправности предохранительных устройств, сведения об их настройке
записываются в сменный журнал работы сосудов лицами, выполняющими указанные
операции.
3.3. Противопожарные мероприятия
При выполнении работ во взрыво- или пожароопасных помещениях указываются
их категории, согласно ППБ 105-95 (А, Б, В - 1 - В - 4, Г, Д), степени
огнестойкости зданий; противопожарные разрывы между зданиями и сооружениями;
проезды для техники и пожарных машин: расположение основных и вспомогательных
въездов на территорию объекта.
Для ликвидации процесса горения необходимо прекратить
подачу в зону горения горючего вещества и окислителя или снизить их поступление
до значений, при которых горение не произойдет. Это достигается охлаждением зоны
горения ниже температуры самовоспламенения или понизить температуру горящего
вещества ниже температуры воспламенения; разбавить реагирующие вещества
негорючими веществами; изолировать горючие вещества от зоны горения.
Заключение и выводы
При выборе скважины для гидравлического разрыва пласта руководствуются,
прежде всего, гидродинамическими характеристиками пласта, призабойной зоны
скважины. При этом, в случае многопластового объекта разработки, параметры
определяются для каждого пласта или пропластка, вскрытого скважиной, в
отдельности, посредством исследований методом установившихся отборов и
проведения замеров профилей притока или закачки на каждом режиме.
Отмечается снижение результатов гидроразрыва от степени выработки
горизонтов и по месторождениям в целом. Лучшие результаты гидроразрывов в
добывающих скважинах отмечаются по пластам с высоким давлением, с меньшей
степенью дренированности и имеющим более высокую нефтенасыщенность.
Гидроразрыву в первую очередь подвергаются скважины, продуктивность которых
меньше чем у близлежащих. Вместе с тем, если производительность малодебитной
скважины обусловлена недостатком пластовой энергии, то гидроразрыв производится
в первую очередь в водонагнетательной скважине.
Гидроразрыв пласта рекомендуется производить на скважинах следующих
категорий:
·
скважины, давшие
при опробовании слабый приток нефти;
·
скважины с
высоким пластовым давлением, но с низкой проницаемостью коллектора;
·
скважины, имеющие
заниженный дебит по отношению к окружающим;
·
скважины с загрязненной
призабойной зоной;
·
скважины с
высоким газовым фактором для его снижения. Снижение газового фактора за счет
ГРП достигается в скважинах, имеющих разгазированную область вокруг забоя;
·
нагнетательные
скважины с неравномерной приемистостью по продуктивному разрезу.
Гидравлический разрыв не рекомендуется производить в следующих скважинах:
·
в нефтяных
скважинах, расположенных вблизи контура нефтеносности;
·
в скважинах с
нарушенной фильтровой частью;
·
в скважинах со
сломом или смятием колонны;
·
при недостаточной
высоте подъема цемента или при плохом состоянии цементного кольца за колонной.
В тех скважинах, в которых в результате разрушения цементного камня или
неудовлетворительной цементировки за колонной возникла циркуляция жидкости,
необходимо произвести цементировку для исправления кольца, а затем уже
планировать гидравлический разрыв пласта.
Считается, что разрыв пласта в скважинах с открытым забоем менее
благоприятен, чем в обсаженных и перфорированных скважинах.
По результатам проведенного анализа технологической и экономической
эффективности проведения гидроразрыва пласта с 1996 года на 64 скважинах
Северо-Даниловского месторождения можно сделать выводы о том, что данный метод
увеличения нефтеотдачи пластов является эффективным.
За счет применения ГРП дополнительно добыто 1283,142 тысяч тонн нефти,
эффективность на одну скважину составила 20,1 тыс. тонн. С 1996 года чистая
текущая стоимость данного проекта начала увеличиваться и в том же году
окупились затраты, что говорит о высокой экономической эффективности ГРП.
Анализ чувствительности проекта к риску также показал, что при изменении
внешних факторов метод ГРП остается эффективным.
В целом можно сделать заключение, что проведение ГРП на скважинах
Северо-Даниловского месторождения является технологически и экономически
эффективным способом повышения нефтеотдачи пластов, в результате которого
получили дополнительную добычу, реализация которой позволит получить чистую
прибыль в размере 1352950 тыс. рублей, при этом данный проект не имеет рисков
при изменении внешних условий.
Для нанесения минимального ущерба окружающей среде
необходимо:
·
ввести жесткие
ограничения на размещение нефтепромысловых объектов;
·
максимально
сократить количество нефтепромысловых объектов за счет рационального размещения
и применения наиболее щадящих и современных технологий эксплуатации;
· применять наиболее надежные
конструктивные и технологические решения при обустройстве промысла, особое
внимание следует обратить на обеспечение безаварийной эксплуатации трубопроводных
систем. Служба экомониторинга предприятия, эксплуатирующего месторождение нефти, должна осуществлять контроль за изменениями в
геологической среде, за состоянием окружающей природной среды и за состоянием
промысловых систем в пределах территории месторождения.
При соблюдении вышеуказанных требований и выполнении
всех мероприятий по охране окружающей среды освоение месторождения по
представленному варианту разработки нанесет минимальный ущерб природной среде.
Список литературы
1. Каневская Р.Д. Математическое моделирование
разработки месторождений нефти и газа с применением гидравлического разрыва
пласта. Москва. Недра. 1999 г.
2. Методические рекомендации по комплексной оценке
эффективности мероприятий, направленных на ускорение НТП в нефтяной промышленности.
РД 39-01 / 06-0001-89. 48 с.
3. Панов Г.Е., Лысяный Г.Н. Охрана окружающей
среды на предприятиях нефтяной и газовой промышленности. Москва. Недра. 1986 г.
242 с.
4. Регламент комплексного контроля за разработкой
нефтяных и газонефтяных месторождений. Тюмень. 1987 г. 98 с.
. Муравьев В.М. Эксплуатация нефтяных и газовых
скважин. Москва. Недра 1973 г.
6. Э.А. Махмудбеков, А.И. Волков. Интенсификация
добычи нефти. Москва. Недра. 1975 г. 223 с.
7. В.Н. Васильевский, А.И. Петров. Техника и технология
определения параметров скважин и пластов. Москва. Недра 1989 г. 149 с.
. Логинов Б.Г., Блажевич В.А. Гидравлический разрыв
пластов.
. Телков А.П., Грачёв С.И., Кучеров Г.Г., Ткачев
А.Е., Пазин А.Н. Интенсификация нефтегазодобычи и повышение компонентоотдачи
пластов. - Тюмень, 2002 г.
. Нефть России. 1997. №7
. Нефтяное хозяйство. 1997 г. №12
. Нефтяное обозрение. Schlumberger 1996 г.
. Технология повышения нефтеотдачи пластов. Халимов Э.М., Леви Б.И., и д.р.,
Недра, 1984 г.
. Моделирование разработки месторождений нефти и газа
с применением гидравлического разрыва пласта. - М.: Недра, 1999 г.
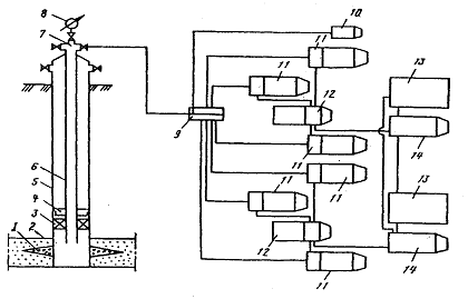
Приложение №1
Схема 1. Технологическая схема гидравлического разрыва пласта.
- трещина разрыва; 2 - продуктивный пласт; 3 - пакер; 4 - якорь;
- обсадная колонна; 6 - насосно-компрессорные трубы;
- арматура устья; 8 - манометр; 9 - блок манифольдов;
- станция контроля и управления процессом; 11 - насосные агрегаты;
- пескосмесители; 13 - емкости с технологическими жидкостями;
- насосные агрегаты;
Приложение №2
График 1.
Приложение №3
