|
Вал
|
Частота вращения, мин-1
|
Угловая скорость, рад/с
|
Вращающий момент, Н * м
|
|
1й
|
1444,5
|
151,3
|
36,1
|
|
2й
|
289
|
30,3
|
180,5
|
|
3й
|
80
|
8,3
|
602,4
|
. Подбор материала зубчатых колес
Выбираем материалы со средними механическими характеристиками [таблица
3.3, стр. 34]: для шестерни - сталь 45, термическая обработка - улучшение,
твердость - HB 230; для колеса - сталь 45,
термическая обработка - улучшение, твердость - HB 200.
Допускаемые контактные напряжения:
[2, с.
33]
где
- предел контактной выносливости при базовом числе
циклов;
KHL -
коэффициент долговечности;
[SH] - коэффициент безопасности.
[Таблица
3.2, стр. 34] предел контактной выносливости при базовом числе циклов для
углеродистых сталей с твердостью поверхностей зубьев менее HB
350 и термической обработкой - улучшением:
[2, с.
34]
Коэффициент
долговечности принимаем KHL =
1, т.к. число циклов нагружения каждого зуба колеса больше базового :
KHL = 
, [2, с.
33]
где

-
реальное число циклов;

-
базовое число циклов.
Для
шестерни :
KHL = 
= 0,478
Для
колеса:
KHL = 
= 0,621
Коэффициент
безопасности [SH] =1,10.
Для
косозубых колес допускаемое контактное напряжение рассчитывается по формуле:
[2, с.
35]
где
- допускаемые контактные напряжения для шестерни ,
-
допускаемые контактные напряжения для колеса.
МПа
МПа
Тогда
расчётное допускаемое контактное напряжение:
[
МПа
Требуемое
условие:
[2, с.
35]
выполнено
(410
525,44).
.
Расчёт зубчатых колес редуктора
Межосевое
расстояние из условия контактной выносливости активных поверхностей зубьев
вычисляется по формуле:
, [2, с.
32]
где
Ka = 43 - для косозубых передач;
-
коэффициент, учитывающий неравномерность распределения нагрузки по ширине
венца. Принимаем по таблице 3.1 (стр.32)
= 1,15;
=
(0,25ч0,63) - для косозубых передач. Принимаем
= 0,3.

141,4 мм
Ближайшее
значение межосевого расстояния по ГОСТ 2185-66 
= 140
мм.
Нормальный
модуль зацепления принимаем по следующей рекомендации:
mn=(0,01…0,02)
·
[2, с. 293]
mn=(0,01…0,02)
· 140 = (1,4…2,8) мм
принимаем
по ГОСТ 9563-60* mn=2.
Предварительно
примем угол наклона зубьев в=100 и определим числа зубьев шестерни и
колеса:
[2, с.
293]
Z1 = 
= 22,9
Принимаем
z1=23,
тогда:
Z2 = Z1 
u [2,
с. 293]
Z2 = 23 
5 = 115
Рассчитаем
уточненное значение угла наклона зубьев:
[2, с.
34]

= 
= 0,985
в
= 90 7
Основные
размеры шестерни и колеса:
Диаметры
делительные:
[2, с.
45]
d1 = 
= 46,7
мм
d2 = 
= 233,3
мм
Проверку
произведем по формуле:
[2, с.
45]
мм
Диаметры
вершин зубьев [2, с. 4]:
da1 = 46,7 + 2 
2 = 50,7
мм
мм
Диаметры
окружности впадин зубьев:
[2, с.
45]
Ширина
колеса:
[2, с.
294]
мм
Ширина
шестерни:
мм
Определяем
коэффициент ширины шестерни по диаметру:
[2, с.
294]
Принимаем
(стр. 39)
Определяем
окружную скорость колес и степень точности передачи [2, с. 294]:
= 3533
мм/с = 3,53 м/с
Для
косозубых колес при скорости
до 10 м/c
назначают 8-ю степень точности по ГОСТ 1643-81; при этом
=1,0ч1,05 (стр. 32).
Рассчитаем
коэффициент нагрузки по формуле:
где
- коэффициент, учитывающий неравномерность
распределения нагрузки между зубьями. Принимаем
=1,09 (по
таблице 3.4, стр. 39);
-
коэффициент, учитывающий неравномерность распределения нагрузки по ширине
венца. Принимаем
=1,04 (по таблице 3.5, стр. 39);
-
динамический коэффициент. Принимаем
=1,0 (по
таблице 3.6, стр. 40).
Проверка
контактных напряжений по формуле [2, с. 31]:
Рассчитаем
силы, действующие в зацеплении:
Окружная
сила [2, с. 294]:
Ft = 
= 1546 Н
Радиальная
[2, с. 158]:
где
б - угол зацепления в нормальном сечении.
Fr =
1546 

= 571,3
Н
Осевая
[2, с. 158]:
Fa =
1546
0.17 =
264,3 Н
Проверка
зубьев на выносливость по напряжениям изгиба:
[2, с. 46]
где
- коэффициент нагрузки;
-
коэффициент, учитывающий форму зуба и зависящий от эквивалентного числа зубьев Zv.
Найдём
коэффициент нагрузки :
[2, с.
42]
где
- коэффициент, учитывающий неравномерность
распределения нагрузки по длине зуба. Выбираем (по таблице (3.7), стр. 43)
= 1,10;
-
коэффициент, учитывающий динамическое действие нагрузки. Выбираем (по таблице
(3.8), стр.43)
= 1,1
Найдём
коэффициент, учитывающий форму зуба и зависящий от эквивалентного числа зубьев Zv:
[2, с.
46]
Для
шестерни [по ГОСТ 21354-75 (стр. 42)] YF1 = 3,90, т.к.:
Zv1 = 
= 24
Для
колеса [по ГОСТ 21354-75 (стр. 42)] YF2 = 3,6, т.к.:
Zv2 = 
= 120,3
Определяем
допускаемое напряжение по формуле :
[2, с.
43]
где
- коэффициент безопасности.
По
таблице (3.9) [стр. 44] для стали 45 улучшенной при твердости HB
350
=1,8HB: для шестерни:
=1,8 ·
230 = 415 МПа
для
колеса:
=1,8 · 200 = 360 МПа
Коэффициент
безопасности
:
где
- коэффициент, учитывающий нестабильность свойств
материала зубчатых колес. По таблице (3.9)
= 1,75
(стр. 44);
-
коэффициент, учитывающий способ получения заготовок зубчатого колеса. Для
поковок и штамповок
=1,0, тогда коэффициент безопасности
= 1,75.
Допускаемые
напряжения для шестерни и колеса равны:
МПа
МПа
Определяем
коэффициент
по формуле :
[2, с.
46]
где
- угол наклона делительной линии зуба
Определяем
коэффициент
по формуле :
[2, с.
47]
где
=1,5 - коэффициент торцевого перекрытия;
n=8 - степень
точности зубчатых колес
Проверяем
прочность зубьев на выносливость по напряжениям изгиба:
Условие
прочности выполнено.
.
Предварительный расчёт валов редуктора
Предварительный
расчёт проведём на кручение по пониженным допускаемым напряжениям:
[2, с.
161]
где
Т - крутящий момент,
-
допускаемое напряжение на кручение. Для ведущего вала
=25 МПа, для ведомого вала
=20 МПа.
Ведущий
вал:
dв1 = 
= 19,5 мм
У
подобранного электродвигателя марки 4А112М4У3 (по таблице П2) диаметр вала
может быть только dдв = 32
мм. Выбираем фланцевую муфту с расточками полумуфт под dдв = 32 мм и dв1 = 24 мм. Примем под подшипниками dп1 = 25 мм. Под шестерней dк1 = 27 мм.
Ведомый
вал:
dв2 = 
= 35,8 мм
Принимаем
ближайшее большее значение из стандартного ряда (стр. 162): dв2 = 36 мм. Диаметр вала под подшипниками принимаем dп2 = 40 мм, под зубчатым колесом dк2 = 45 мм.
.
Конструктивные размеры шестерни и колеса
Размеры
шестерни: d1 = 46,7
мм; dа1 = 50,7
мм; b1 = 47 мм.
Колесо
кованое, его размеры: d2 = 233,3
мм; dа2 = 237,3
мм; b2 = 42 мм.
Диаметр
ступицы:
dст = 1,6 dк2
dст = 1,6 
45 = 72
мм
Длина
ступицы:
lст = (1,2…1,5) dк2
lст = (1,2…1,5) 
45 =
(54…67,5) мм
Принимаем
длину ступицы lст =54,5
мм.
Толщина
обода:

=
(2,5…4) mn

=
(2,5…4) 
2 =
(5…8) мм
Принимаем

= 8 мм.
Толщина
диска:
C = 0,3 b2
С
= 0,3 
42 =
12,6 мм
Диаметр
центровой окружности :
Диаметр
отверстий:
мм
Толщина
рёбер:
s = 0,8C [2,
с. 233]
s = 0,8 
12,6 =
10,08 мм
.
Конструктивные размеры корпуса редуктора
Основные
элементы корпуса редуктора из чугуна определяем по таблице 20.2 [2, с. 241].
Толщина стенки одноступенчатого цилиндрического редуктора:
мм
Принимаем
мм.
Толщина
крышки редуктора:
мм
Принимаем
мм.
Толщина
верхнего пояса (фланца) корпуса:
мм
Толщина
нижнего пояса (фланца) крышки корпуса:
мм
Толщина
нижнего пояса корпуса:
мм
Принимаем
мм.
Диаметры
фундаментальных болтов:
Принимаем
болты с резьбой М20.
Диаметры
болтов, крепящих крышку к корпусу у подшипников:
мм
Принимаем
болты с резьбой М12.
Диаметры
болтов, соединяющих крышку с корпусом:
мм
Принимаем
болты с резьбой М10.
.
Расчёт параметров открытой передачи
Для
открытой зубчатой конической передачи выберем для изготовления шестерни
легированную сталь 40Х улучшенную с твердостью HB 270, а для
колеса сталь 40Х улучшенную с твердостью HB 245.
Допускаемые
контактные напряжения рассчитываем по формуле 13:
для
шестерни
МПа
для
колеса
МПа
И
допускаемое контактное напряжение по формуле 16:
[
МПа
Внешний
делительный диаметр колеса:
[2, с.
49]
где

коэффициент,
учитывающий неравномерность распределения нагрузки по ширине венца, при
консольном расположении одного из колес принимаем по таб. 3.1 (стр. 32)
= 1,35;

коэффициент
ширины венца по отношению к внешнему конусному расстоянию (принимаем
рекомендуемое значение
).
Для
колес прямозубых передач
=99.
мм
Ближайшее
значение
= 400 мм.
Примем
число зубьев шестерни z1 = 23,
число зубьев колеса z2 = 81,
тогда u = 3,52 (отклонение от стандартного значения составляет
0,84%).
Внешний
окружной модуль:
[2, с.
52]
мм 
5 мм
Углы
делительных конусов :
[2, с. 52]
Внешнее
конусное расстояние:
мм
Ширина
венца:
[2, с.
52]
мм
Внешний
делительный диаметр шестерни:
мм
Средний
делительный диаметр шестерни :
[2, с.
365]
мм
Средний
окружной модуль зубьев :
мм
Коэффициенты
ширины шестерни по среднему диаметру:
Средняя
окружная скорость и степень точности передачи:
[2, с.
366]
м/с
Принимаем
7-ю степень точности, назначаемую обычно для конических передач.
Коэффициент
нагрузки для проверки контактных напряжений:
по
табл. 3.5
=1,24
по
табл. 3.4
=1,0
по
табл. 3.6
=1,0
Таким
образом
=
Проверка
контактных напряжений:
[2, с.
47]
МПа<[
] = 460 МПа
Окружная сила:
[2, с.
366]
Н
Проверка
зубьев на выносливость по напряжениям изгиба:
[2, с.
366]
Коэффициент
нагрузки
=
=1,62
по
табл. 3.7 (стр. 43)
=1.62, по табл. 3.8 (стр. 43)
=1,0.
Коэффициент
выбирается следующим образом:
[2, с.
366]
Для
шестерни 
Для
колеса 
При
этом
= 3,75 и
=3,60.
Допускаемое
напряжение:

[2, с.
367]
По
табл. 3.9 для стали 40Х улучшенной при твердости НВ<350 предел выносливости
при отнулевом цикле изгиба
=1,8 НВ;
для шестерни
=1,8
270=486
МПа; для колеса
МПа.
Коэффициент
безопасности
, как и в основном расчете.
Допускаемые
напряжения и отношения
:
для
шестерни
МПа;
МПа;
для
колеса
МПа;
МПа.
Дальнейший
расчет ведем для зубьев колеса, так как
<
[2, с. 367]
Проверяем
зуб колеса:
МПа<
Условие
выполняется.
Параметры
конических зубчатых колёс приведены в таблице 4.
Таблица 4 - конические зубчатые колёса с круговыми зубьями
|
Параметры
|
Обозначение и значение
параметра
|
|
Внешний делительный диаметр
|
de1 = 115 мм; de2 =
400
мм
|
|
Внешний торцовый модуль
|
me = 5 мм
|
|
Внешнее конусное расстояние
|
Re = 210,5 мм
|
|
Ширина венца
|
b = 60 мм
|
|
Среднее конусное расстояние
|
R = 180,5мм
|
|
Средний окружной модуль
|
m = 4,3 мм
|
|
Внешняя высота зуба
|
he = 11 мм
|
|
Средний делительный диаметр
|
d1 =
90,3 мм; d2 = 348,3
мм
|
|
Внешняя высота головки зуба
|
hae = 5 мм;
|
|
Внешняя высота ножки зубы
|
hfe = 6 мм;
|
|
Угол делительного конуса
|
;
|
|
Угол ножки зуба
|
 f = 1,6
|
|
Угол головки зуба
|
 a = 1,6
|
|
Внешний диаметр вершин
зубьев
|
dae1 = 124,6 мм; dae2 = 402,73
мм;
|
. Первый этап компоновки редуктора
Компоновку обычно проводят в два этапа. Первый этап компоновки служит для
приближенного определения положения зубчатых колес и шестерни открытой
конической передачи относительно опор для последующего определения опорных
реакций и подбора подшипников.
Компоновочный чертеж выполняем в одной проекции - разрез по осям валов
при снятой крышке редуктора; желательный масштаб 1:1.
Учитывая межосевое расстояние аw=140 мм, вычерчиваем упрощенно
шестерню и колесо в виде прямоугольников, очерчиваем внутреннюю стенку корпуса.
Очерчиваем внутреннюю стенку корпуса, зазор от торца шестерни: А1
= 1,2∙д = 1,2∙8 = 10 мм, зазор от окружности вершин зубьев колеса
до внутренней стенки корпуса примем: А = 20 мм, остальные расстояния и зазоры
принимаем конструктивно.
Предварительно
намечаем радиально упорные однорядные шарикоподшипники легкой и особо легкой серии
(
;
габариты подшипников выбираем по диаметру вала в месте посадки подшипников dn1 = 25 мм
и dn2 = 40 мм.
Измерением
находим расстояния: на ведущем валу l1 = 41,5 мм и на ведомом l2 = 44,5 мм, l3 = 96,5 мм.
9. Выбор подшипников качения
Таблица 5 - шарикоподшипники радиально-упорные однорядные
|
Условное обозначение
подшипника
|
d
|
D
|
B
|
r
|
Грузоподъемность, кН
|
|
мм
|
мм
|
мм
|
мм
|
динамическая С
|
статическая С0
|
|
36105
|
25
|
47
|
12
|
1
|
11,8
|
6,29
|
|
36208
|
40
|
80
|
18
|
2
|
38,0
|
23,2
|
10. Проверка долговечности подшипников
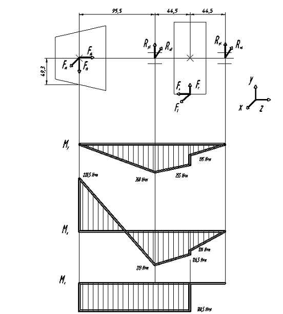
Ведущий вал (рисунок 2).
Из предыдущих расчетов и первого этапа компоновки Ft = 1546 H, Fr =
571,3 Н, Fa = 264,3 H, l1 = 41,5 мм.
Реакции опор:
в плоскости xz
в
плоскости yz
Рисунок 2. Расчетная схема ведущего вала
Проверка
Суммарные
реакции
Эквивалентная
нагрузка:
[2, с.
212]
где
радиальная нагрузка Рr1 = 801 H;
осевая нагрузка Ра = Fa =264,3;
V = 1 (вращается внутреннее кольцо); коэффициент
безопасности для приводов Кd = 1; КТ
= 1 [2, с. 214].
Отношение
, е = 0,39 [2,с. 212],
отношение
тогда X = 1; Y = 0
Расчетная
долговечность, млн. об
[2, с.
211]
Расчетная
долговечность, ч
[2, с.
211]
Ведомый
вал (рисунок 3).
На
колесе несет нагрузки: Ft = 1546 H, Fr = 571,3 Н, Fa = 264,3 H; На
коническом колесе: Ftk = 3652,7 H, Frk =
363,3 Н, Fak = 1278,8 H; Из первого этапа компоновки l2 = 44,5 мм, l3 = 96,5 мм, R=49,3 мм.
в плоскости хz:
Рисунок 3. Расчетная схема ведомого вала
в
плоскости уz:
Отношение
, е = 0,39 [2,с. 212], отношение
тогда X = 1; Y = 0.
Н;
млн.об.
Номинальная
долговечность в часах:
, [2,
с.307]
ч
Сроки
службы подшипников больше срока эксплуатации редуктора.
11. Второй этап компоновки редуктора
Второй этап компоновки имеет целью конструктивно оформить зубчатые
колеса, валы, корпус, подшипниковые узлы и подготовить данные для проверки
прочности валов и некоторых деталей.
Вычерчиваем шестерню и колесо по конструктивным размерам, найденным
ранее.
Конструируем узлы ведущего и ведомого валов. На ведущем и ведомом валах
применяем шпонки призматические со скругленными торцами по ГОСТ 233-78.
Вычерчиваем шпонки, принимая их длины на 5-10 мм меньше длин ступиц.
. Проверка прочности шпоночных соединений
Шпонки призматические со скругленными торцами. Размеры сечений шпонок и
пазов и длины шпонок по ГОСТ 23360-78. Материал шпонок - сталь 45
нормализованная.
Условие прочности:
[2,
с.310]
Допускаемые
напряжения смятия [sсм]=100¸120 МПа.
Ведущий
вал. Проверяем шпонку на быстроходном валу - под полумуфтой: d = 24 мм; сечение
шпонки b х h = 8 x 7 мм, t1 = 4 мм, длина шпонки l =
30 мм, момент на ведущем валу Т1 = 36,1 Н
м.
Условие
прочности выполнено. Полумуфту изготавливают из чугуна марки СЧ 20.
Проверяем
шпонку под шестерней: d = 27 мм; сечение шпонки b x h =8 x 7 мм, t1
= 4 мм; длина шпонки l = 38 мм, момент на валу Т1 = 36,1 Н
м.
Ступица
изготовлена из стали 45. Следовательно, условие прочности sсм<[sсм]
выполнено.
Ведомый
вал. Проверяем шпонку под колесом тихоходного вала: d = 45 мм; сечение шпонки b
x h =14 x 9 мм, t1 = 5,5 мм; длина шпонки l = 40 мм,
момент на ведомом валу Т2 = 180,5*103 Н
м.
Ступица
изготовлена из стали 45. Следовательно, условие прочности sсм<[sсм]
выполнено.
Проверяем
шпонку под коническим зубчатым колесом: d=36 мм; сечение шпонки bxh=10 x 8мм, t1
= 5 мм; длина шпонки l = 52 мм, момент на валу Т2 = 180,5*103
Н
м.
Условие
выполнено. Зубчатое колесо изготавливают из стали 45.
13. Уточненный расчет валов
Примем, что нормальные напряжения от изгиба изменяются по симметричному
циклу, а касательные от кручения - по отнулевому.
Уточненный расчет состоит в определении коэффициентов запаса прочности s
для опасных сечений и сравнении их с требуемыми (допускаемыми) значениями [s].
Прочность соблюдена при s³[s].
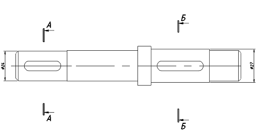
Ведущий вал (рисунок 4).
Материал вала сталь 45, термическая обработка - улучшение.
При диаметре заготовки до 90 мм (в нашем случае dв1 = 27мм) среднее значение sв
= 780 МПа [2, с. 34].
Рисунок 4. Сечения ведущего вала
Предел выносливости при симметричном цикле изгиба
Предел
выносливости при симметричном цикле касательных напряжений
Сечение А-А. Это сечение при передаче вращающего момента от
электродвигателя через муфту рассчитываем на кручение. Концентрацию напряжений
вызывает наличие шпоночной канавки.
Коэффициент запаса прочности [2, с.164]
где
амплитуда и среднее значение отнулевого цикла
При
d = 24мм, b = 8 мм, h = 7
мм, t1 = 4 мм
.
Принимаем
[2, c. 165, c. 166] kt = 1,68 [табл. 8.5]; et
= 0,77 [табл. 8.8]; yt = 0,1.
s = st - коэффициент запаса прочности по касательным
напряжениям.
ГОСТ
16162-78 указывает на то, чтобы конструкция редукторов предусматривала
возможность восприятия радиальной консольной нагрузки, приложенной в середине
посадочной части вала. Величина этой нагрузки для одноступенчатых зубчатых
редукторов на быстроходном валу должна быть
при
Приняв
у ведущего вала длину посадочной части под муфту равной длине полумуфты l =
40 мм, получим изгибающий момент в сечении А-А от консольной нагрузки
Амплитуда
нормальных напряжений изгиба [2. с. 314]
sm = 0 - среднее напряжение.
Коэффициент
запаса прочности по нормальным напряжениям [2, c. 165, 166] ks = 1,8, es =0,92.
Результирующий
коэффициент запаса прочности
Сечение
Б-Б. Диаметр вала в этом сечении 27 мм b = 8 мм, h = 7
мм, t1 = 4 мм.
Концентрация напряжений обусловлена наличием шпоночной канавки под шестерней.
Принимаем
[2, c. 165, c. 166] ks = 1,8, kt = 1,68 [табл. 8.5]; es
=0,92, et = 0,77 [табл. 8.8]; yt
= 0,1; крутящий момент Т1 = 36100 Н*мм.
Изгибающий момент в горизонтальной плоскости
Изгибающий
момент в вертикальной плоскости
Суммарный
изгибающий момент в сечении Б-Б
Момент
сопротивления кручению
Момент
сопротивления изгибу
Амплитуда
и среднее напряжение цикла касательных напряжений
Амплитуда
нормальных напряжений изгиба
МПа
Коэффициент
запаса прочности по нормальным напряжениям
Коэффициент
запаса прочности по касательным напряжениям
Результирующий
коэффициент запаса прочности в сечении Б-Б
Ведомый вал (рисунок 5).
Материал вала такой же, как у ведущего.
Рисунок 5. Сечения ведомого вала
Сечение А-А. Диаметр вала в этом сечении 36 мм. Концентрация напряжений
обусловлена наличием шпоночной канавки под коническим зубчатым колесом.
Принимаем [2, c. 165, c. 166] ks = 1,8, kt = 1,68 [табл. 8.5]; es =0,85, et = 0,73 [табл. 8.8]; yt = 0,1; крутящий момент Т2
= 180500 Н*мм.
Изгибающий момент в сечении А-А:
Момент
сопротивления кручению
Момент
сопротивления изгибу
Амплитуда
и среднее напряжение цикла касательных напряжений
Амплитуда
нормальных напряжений изгиба
МПа
Коэффициент
запаса прочности по нормальным напряжениям
Коэффициент
запаса прочности по касательным напряжениям
Результирующий
коэффициент запаса прочности в сечении А-А
Сечение
Б-Б. Диаметр вала в этом сечении 45 мм. Концентрация напряжений обусловлена
наличием шпоночной канавки под колесом. Принимаем [2, c. 165, c.
166] ks = 1,8, kt = 1,68 [табл. 8.5]; es
=0,83, et = 0,71 [табл. 8.8]; yt
= 0,1; крутящий момент Т2 = 180500 Н*мм.
Изгибающий момент в сечении Б-Б
Момент сопротивления кручению и момент
сопротивления изгибу
Амплитуда
и среднее напряжение цикла касательных напряжений
Амплитуда
нормальных напряжений изгиба
МПа
Коэффициент
запаса прочности по нормальным напряжениям
Коэффициент
запаса прочности по касательным напряжениям
Результирующий
коэффициент запаса прочности в сечении Б-Б
Таблица 6 - уточненный расчет валов
|
Ведущий вал
|
Ведомый вал
|
|
Сечение
|
А-А
|
Б-Б
|
А-А
|
Б-Б
|
|
Коэффициент запаса s
|
11,16
|
3,2
|
3,3
|
3,9
|
Во всех сечениях s > [s].
14. Выбор и анализ посадок
Посадки назначаются в соответствии с указаниями, данными в табл. 10.13
[2, с. 263] по ГОСТ 25347-82.
Таблица
7 Посадка зубчатого колеса на ведущий вал 
45H7/p6.
|
Деталь
|
max, мм
|
min, мм
|
|
Отверстие
|
45,025
|
45,000
|
|
Вал
|
45,042
|
45,026
|
Рис. 6
Nmax = 45,042 - 45,000 = 0,042 мм
Nmin = 45,026 - 45,025 = 0,001 мм
Рис. 7
Вывод: Посадка с натягом в системе отверстия.
Таблица
8 Посадка ведомый вал - распорная втулка 
25E9/k6.
|
Деталь
|
max, мм
|
min, мм
|
|
Отверстие
|
25,092
|
25,040
|
|
Вал
|
25,015
|
25,002
|
Рис. 8
Smax = 25,092 - 25,002 = 0,090 мм
Smin = 25,040 - 25,015 = 0,025 мм
Рис. 9
Вывод: Посадка с зазором в системе вала.
Таблица
9 Посадка крышка - корпус редуктора 
47H7/h8.
|
Деталь
|
max, мм
|
min, мм
|
|
Отверстие
|
47,025
|
47,000
|
|
Вал
|
47,000
|
46,961
|
Рис. 10
Smax = 45,042 - 45,000 = 0,064 мм
Smin = 47,000 - 47,000 = 0,000 мм
Рис. 11
Вывод: Посадка с зазором в системе отверстия.
. Выбор сорта масла
Смазывание
зубчатого зацепления производится окунанием зубчатого колеса в масло,
заливаемое внутрь корпуса до максимального уровня, объёмом 1 литр. По табл.
10.8 [2, с. 253] устанавливаем вязкость масла, она должна быть примерно равна
28
10-6
м2/с. Принимаем масло индустриальное И-30А.
16. Сборка редуктора
Перед сборкой редуктора выполняют все технические требования,
представленные на сборочном чертеже. Сборку производят в соответствии со
сборочным чертежом, начиная с узлов валов: в ведущий вал закладывают шпонку
8х7х38 и напрессовывают шестерню до упора в бурт вала. Затем надевают распорную
втулку и шарикоподшипники, предварительно нагретые в масле.
В ведомый вал, аналогично, закладывают шпонку 14х9х40 и напрессовывают
зубчатое колесо до упора в бурт вала. Затем надевают распорную втулку и
шарикоподшипники, предварительно нагретые в масле.
Собранные валы укладывают в основание корпуса, устанавливают крышку с
помощью двух конических штифтов, затягивают болты, крепящие крышку к корпусу
(после закрепления крышки болтами штифты можно убрать).
На валы надевают распорные кольца, ставят крышки подшипников,
предварительно подобрав регулировочные прокладки. Делают проверку на отсутствие
заклинания подшипников и окончательно закрепляют крышки подшипников.
Затем через смотровой люк заливают масло (в количестве 1 литр), с помощью
маслоуказательного жезла проверяют уровень масла, закрывают смотровой люк,
затягивают его болтами (между люком и корпусом укладывают прокладку из технического
картона). Собранный редуктор обрабатывают и подвергают испытаниям на стенде по
программе, установленной техническими условиями.
Заключение
В ходе проектирования невозможно было подобрать «экономически-выгодный»
радиально-упорный подшипник. Это, скорее всего, и является главным недостатком
редуктора. Для того, чтобы выбрать подшипник подешевле (или тот, который будет
выдерживать меньшую нагрузку), можно будет попробовать, к примеру, поставить
подшипники радиально однорядные особолегкой серии или уменьшить вал, выбрав
изначально другой электродвигатель, с меньшим диаметром вала. Хотя ведомый вал
подобран нормально, и мне кажется, что если взять вал с меньшим диаметром, то в
конечном итоге не выполнится условие в уточненном расчете вала.
На примере проектирования одноступенчатого цилиндрического редуктора я
приобрел навыки проектирования, основы конструирования, работы с учебной
литературой и справочными данными. Надеюсь, что это пригодится мне в дальнейших
работах.
электродвигатель редуктор шестерня подшипник
Список использованной литературы
1) Конструирование узлов и деталей машин: учеб. пособие для
студ. высш. учеб. заведений / П.Ф. Дунаев, О.П. Леликов. - 9-е изд., перераб. и
доп. - М.: Издательский центр «Академия», 2011. - 496 с.
) Курсовое проектирование деталей машин: Учебное пособие /
С.А. Чернавский, К.Н. Боков, И.М. Чернин, Г.М. Ицкович, В.П. Козинцов. - 3-е
изд., стереотипное. Перепечатка с издания 2013. - М.: ООО ТИД «Альянс», 2005. -
416 с.
) Атлас конструкций редукторов, Учеб. пособие. - 2-е изд.,
перераб. и доп. - К: Выща шк. 1990. - 151 с.: ил.
) Черчение: учебник для машиностроительных специальностей
средних специальных учебных заведений. - 2-е изд., перераб. и доп. - М.:
Машиностроение, 2012. - 303с. с ил.